Главная // Актуальные документы // ГОСТ (Государственный стандарт)
СПРАВКА
Источник публикации
М.: Издательство стандартов, 1986
Примечание к документу
По сведениям, размещенным на Информационном портале Росстандарта по адресу http://standard.gost.ru/, данный документ утратил силу на территории Российской Федерации с 01.01.2021 в связи с изданием Приказа Росстандарта от 18.11.2020 N 1134-ст. Взамен введен в действие ГОСТ Р 59198-2020.

С 1 июля 2003 года до вступления в силу технических регламентов акты федеральных органов исполнительной власти в сфере технического регулирования носят рекомендательный характер и подлежат обязательному исполнению только в части, соответствующей целям, указанным в пункте 1 статьи 46 Федерального закона от 27.12.2002 N 184-ФЗ.

Введен в действие с 1 июля 1987 года.

Взамен ГОСТ 6785-80 в части плит для жилых, общественных и вспомогательных зданий.
Название документа
"ГОСТ 26919-86. Плиты подоконные железобетонные для жилых, общественных и вспомогательных зданий. Технические условия"
(утв. Постановлением Госстроя СССР от 06.06.1986 N 77)

"ГОСТ 26919-86. Плиты подоконные железобетонные для жилых, общественных и вспомогательных зданий. Технические условия"
(утв. Постановлением Госстроя СССР от 06.06.1986 N 77)


Содержание


Утвержден и введен в действие
Постановлением Госстроя СССР
от 6 июня 1986 года N 77
ГОСУДАРСТВЕННЫЙ СТАНДАРТ СОЮЗА ССР
ПЛИТЫ ПОДОКОННЫЕ ЖЕЛЕЗОБЕТОННЫЕ ДЛЯ ЖИЛЫХ,
ОБЩЕСТВЕННЫХ И ВСПОМОГАТЕЛЬНЫХ ЗДАНИЙ
ТЕХНИЧЕСКИЕ УСЛОВИЯ
Reinforced concrete window boards for resideutial,
civil and auxiliary buildings. Specifications
ГОСТ 26919-86
Группа Ж33
ОКП 58 9420
Взамен ГОСТ 6785-80 в части
плит для жилых, общественных
и вспомогательных зданий
Дата введения
с 1 июля 1987 года
Разработан Государственным комитетом по гражданскому строительству и архитектуре при Госстрое СССР.
Исполнители: Э.Л. Шахова (руководитель темы); В.Н. Греков; Н.П. Каляпкина; А.А. Тучнин, канд. техн. наук; В.И. Деньщиков.
Внесен Государственным комитетом по гражданскому строительству и архитектуре при Госстрое СССР.
Зам. председателя М.П. Коханенко.
Утвержден и введен в действие Постановлением Государственного комитета СССР по делам строительства от 6 июня 1986 г. N 77.
Настоящий стандарт распространяется на подоконные железобетонные плиты (далее плиты), изготовляемые из тяжелого и плотного силикатного бетонов и предназначенные для применения в жилых и общественных зданиях, а также в вспомогательных зданиях и помещениях промышленных и сельскохозяйственных предприятий.
Допускается применять плиты в условиях воздействия агрессивной среды при соблюдении дополнительных требований, установленных проектной документацией в соответствии с требованиями СНиП 2.03.11-85 и СН 165-76 и указанных в заказе на изготовление плит.
1. ТИПЫ, ОСНОВНЫЕ ПАРАМЕТРЫ И РАЗМЕРЫ
1.1. Плиты в зависимости от отделки верхних лицевых поверхностей подразделяют на три типа:
ПОШ - с шлифованной мозаичной поверхностью;
ПОГ - с глянцевой поверхностью;
ПОО - с гладкой поверхностью, предназначенной под окраску.
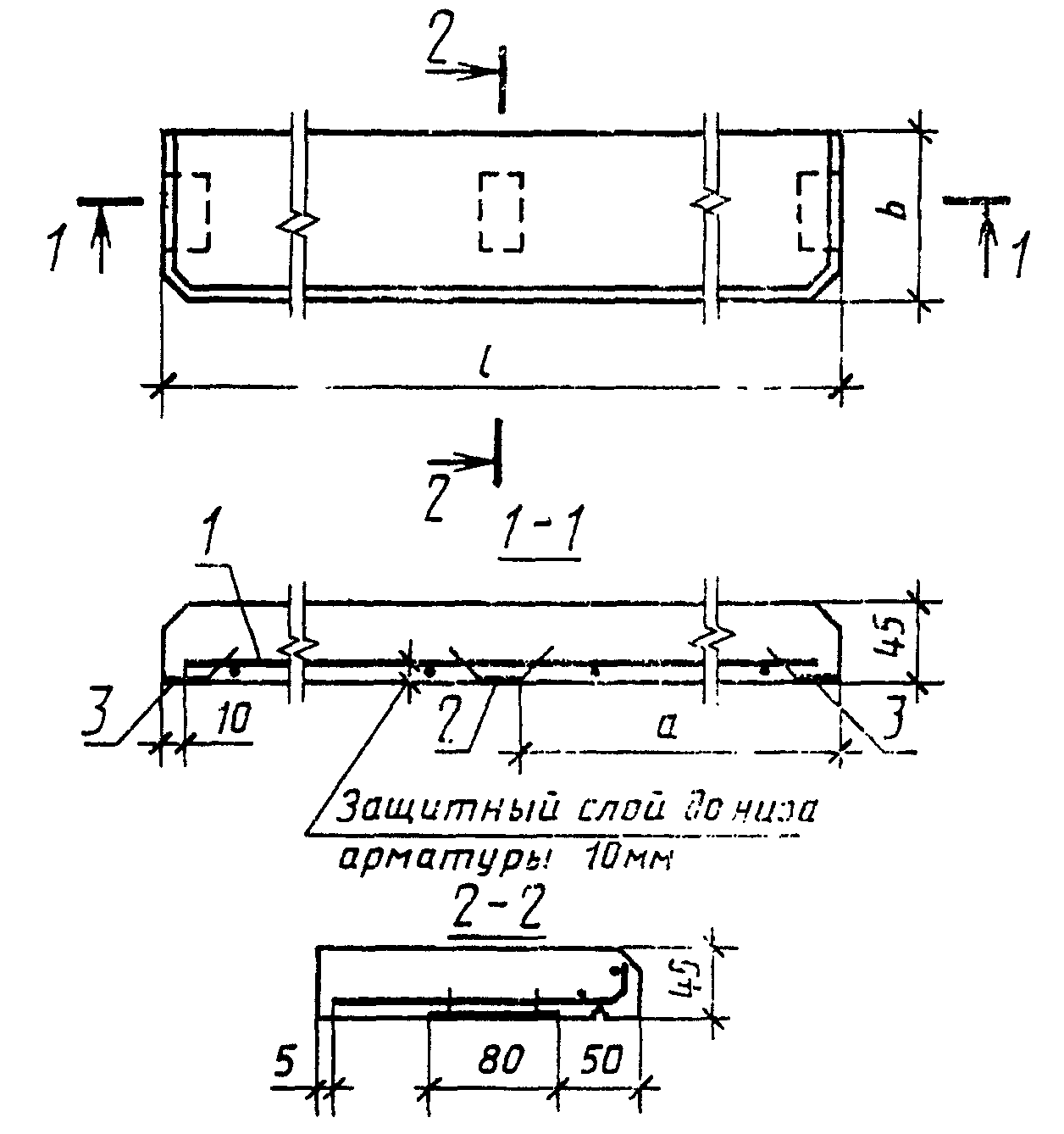
1.2. Форма и размеры плит, а также их показатели материалоемкости должны соответствовать указанным на черт. 1 и в табл. 1.
Подоконные плиты для жилых, общественных и
вспомогательных зданий
1 - вырез; 2 - срез торца; 3 - технологический уклон
не более 3 мм
Черт. 1.
Таблица 1
────────────┬──────────────┬─────────────┬───────────────┬────────
Код ОКП │ Марка плиты │Основные раз-│Расход мате- │Масса
│ │меры плиты, │риалов │плиты
│ │мм │ │(спра-
│ ├──────┬──────┼───────┬───────┤вочная),
│ │ l │ b │Бетон, │Сталь, │кг
│ │ │ │ м3 │ кг │
────────────┼──────────────┼──────┼──────┼───────┼───────┼────────
58 9421 1032│ПОШ7.15 │700 │150 │0,005 │0,17 │12
58 9421 1097│ПОГ7.15 │ │ │ │ │
58 9421 1162│ПОО7.15 │ │ │ │ │
────────────┼──────────────┤ │ │ │ ├────────
58 9424 0192│ПОШ7.15-С │ │ │ │ │9
58 9424 0257│ПОГ7.15-С │ │ │ │ │
58 9424 0322│ПОО7.15-С │ │ │ │ │
────────────┼──────────────┼──────┤ ├───────┼───────┼────────
58 9421 1034│ПОШ10.15 │1000 │ │0,007 │0,36 │17
58 9421 1099│ПОГ10.15 │ │ │ │ │
58 9421 1164│ПОО10.15 │ │ │ │ │
────────────┼──────────────┤ │ │ │ ├────────
58 9424 0194│ПОШ10.15-С │ │ │ │ │13
58 9424 0259│ПОГ10.15-С │ │ │ │ │
58 9424 0324│ПОО10.15-С │ │ │ │ │
────────────┼──────────────┼──────┤ ├───────┼───────┼────────
58 9421 1035│ПОШ13.15 │1300 │ │0,009 │0,48 │22
58 9421 1100│ПОГ13.15 │ │ │ │ │
58 9421 1165│ПОО13.15 │ │ │ │ │
────────────┼──────────────┤ │ │ │ ├────────
58 9424 0195│ПОШ13.15-С │ │ │ │ │17
58 9424 0260│ПОГ13.15-С │ │ │ │ │
58 9424 0325│ПОО13.15-С │ │ │ │ │
────────────┼──────────────┼──────┤ ├───────┼───────┼────────
58 9421 1036│ПОШ15.15 │1450 │ │0,010 │0,74 │24
58 9421 1101│ПОГ15.15 │ │ │ │ │
58 9421 1166│ПОО15.15 │ │ │ │ │
────────────┼──────────────┤ │ │ │ ├────────
58 9424 0196│ПОШ15.15-С │ │ │ │ │19
58 9424 0261│ПОГ15.15-С │ │ │ │ │
58 9424 0326│ПОО15.15-С │ │ │ │ │
────────────┼──────────────┼──────┤ ├───────┼───────┼────────
58 9421 1057│ПОШ16.15-1 │1600 │ │0,011 │0,70 │27
58 9421 1122│ПОГ16.15-1 │ │ │ │ │
58 9421 1187│ПОО16.15-1 │ │ │ │ │
────────────┼──────────────┤ │ │ │ ├────────
58 9424 0217│ПОШ16.15-С-1 │ │ │ │ │21
58 9424 0282│ПОГ16.15-С-1 │ │ │ │ │
58 9424 0347│ПОО16.15-С-1 │ │ │ │ │
────────────┼──────────────┼──────┤ ├───────┼───────┼────────
58 9421 1058│ПОШ19.15-1 │1900 │ │0,013 │0,75 │32
58 9421 1123│ПОГ19.15-1 │ │ │ │ │
58 9421 1188│ПОО19.15-1 │ │ │ │ │
────────────┼──────────────┤ │ │ │ ├────────
58 9424 0218│ПОШ19.15-С-1 │ │ │ │ │24
58 9424 0283│ПОГ19.15-С-1 │ │ │ │ │
58 9424 0348│ПОО19.15-С-1 │ │ │ │ │
────────────┼──────────────┼──────┤ ├───────┼───────┼────────
58 9421 1059│ПОШ22.15-1 │2200 │ │0,015 │0,81 │37
58 9421 1124│ПОГ22.15-1 │ │ │ │ │
58 9421 1189│ПОО22.15-1 │ │ │ │ │
────────────┼──────────────┤ │ │ │ ├────────
58 9424 0219│ПОШ22.15-С-1 │ │ │ │ │28
58 9424 0284│ПОГ22.15-С-1 │ │ │ │ │
58 9424 0349│ПОО22.15-С-1 │ │ │ │ │
────────────┼──────────────┼──────┤ ├───────┼───────┼────────
58 9421 1060│ПОШ25.15-1 │2500 │ │0,017 │1,00 │42
58 9421 1125│ПОГ25.15-1 │ │ │ │ │
58 9421 1190│ПОО25.15-1 │ │ │ │ │
────────────┼──────────────┤ │ │ │ ├────────
58 9424 0220│ПОШ25.15-С-1 │ │ │ │ │32
58 9424 0285│ПОГ25.15-С-1 │ │ │ │ │
58 9424 0350│ПОО25.15-С-1 │ │ │ │ │
────────────┼──────────────┼──────┤ ├───────┼───────┼────────
58 9421 1061│ПОШ28.15-1 │2800 │ │0,019 │1,07 │47
58 9421 1126│ПОГ28.15-1 │ │ │ │ │
58 9421 1191│ПОО28.15-1 │ │ │ │ │
────────────┼──────────────┤ │ │ │ ├────────
58 9424 0221│ПОШ28.15-С-1 │ │ │ │ │36
58 9424 0286│ПОГ28.15-С-1 │ │ │ │ │
58 9424 0351│ПОО28.15-С-1 │ │ │ │ │
────────────┼──────────────┼──────┼──────┼───────┼───────┼────────
58 9421 1037│ПОШ7.20 │700 │200 │0,006 │0,17 │16
58 9421 1102│ПОГ7.20 │ │ │ │ │
58 9421 1167│ПОО7.20 │ │ │ │ │
────────────┼──────────────┤ │ │ │ ├────────
58 9424 0197│ПОШ7.20-С │ │ │ │ │11
58 9424 0262│ПОГ7.20-С │ │ │ │ │
58 9424 0327│ПОО7.20-С │ │ │ │ │
────────────┼──────────────┼──────┤ ├───────┼───────┼────────
58 9421 1039│ПОШ10.20 │1000 │ │0,009 │0,36 │23
58 9421 1104│ПОГ10.20 │ │ │ │ │
58 9421 1169│ПОО10.20 │ │ │ │ │
────────────┼──────────────┤ │ │ │ ├────────
58 9424 0199│ПОШ10.20-С │ │ │ │ │17
58 9424 0264│ПОГ10.20-С │ │ │ │ │
58 9424 0329│ПОО10.20-С │ │ │ │ │
────────────┼──────────────┼──────┤ ├───────┼───────┼────────
58 9421 1040│ПОШ13.20 │1300 │ │0,012 │0,49 │29
58 9421 1105│ПОГ13.20 │ │ │ │ │
58 9421 1170│ПОО13.20 │ │ │ │ │
────────────┼──────────────┤ │ │ │ ├────────
58 9424 0200│ПОШ13.20-С │ │ │ │ │23
58 9424 0265│ПОГ13.20-С │ │ │ │ │
58 9424 0330│ПОО13.20-С │ │ │ │ │
────────────┼──────────────┼──────┤ ├───────┼───────┼────────
58 9421 1041│ПОШ15.20 │1450 │ │0,013 │0,76 │33
58 9421 1106│ПОГ15.20 │ │ │ │ │
58 9421 1171│ПОО15.20 │ │ │ │ │
────────────┼──────────────┤ │ │ │ ├────────
58 9424 0201│ПОШ15.20-С │ │ │ │ │25
58 9424 0266│ПОГ15.20-С │ │ │ │ │
58 9424 0331│ПОО15.20-С │ │ │ │ │
────────────┼──────────────┼──────┤ ├───────┼───────┼────────
58 9421 1062│ПОШ16.20-1 │1600 │ │0,014 │0,72 │36
58 9421 1127│ПОГ16.20-1 │ │ │ │ │
58 9421 1192│ПОО16.20-1 │ │ │ │ │
────────────┼──────────────┤ │ │ │ ├────────
58 9424 0222│ПОШ16.20-С-1 │ │ │ │ │26
58 9424 0287│ПОГ16.20-С-1 │ │ │ │ │
58 9424 0352│ПОО16.20-С-1 │ │ │ │ │
────────────┼──────────────┼──────┤ ├───────┼───────┼────────
58 9421 1062│ПОШ19.20-1 │1900 │ │0,017 │0,78 │43
58 9421 1128│ПОГ19.20-1 │ │ │ │ │
58 9421 1193│ПОО19.20-1 │ │ │ │ │
────────────┼──────────────┤ │ │ │ ├────────
58 9424 0223│ПОШ19.20-С-1 │ │ │ │ │32
58 9424 0288│ПОГ19.20-С-1 │ │ │ │ │
58 9424 0353│ПОО19.20-С-1 │ │ │ │ │
────────────┼──────────────┼──────┤ ├───────┼───────┼────────
58 9421 1064│ПОШ22.20-1 │2200 │ │0,020 │0,94 │50
58 9421 1129│ПОГ22.20-1 │ │ │ │ │
58 9421 1194│ПОО22.20-1 │ │ │ │ │
────────────┼──────────────┤ │ │ │ ├────────
58 9424 0224│ПОШ22.20-С-1 │ │ │ │ │38
58 9424 0289│ПОГ22.20-С-1 │ │ │ │ │
58 9424 0354│ПОО22.20-С-1 │ │ │ │ │
────────────┼──────────────┼──────┤ ├───────┼───────┼────────
58 9421 1065│ПОШ25.20-1 │2500 │ │0,023 │1,02 │56
58 9421 1130│ПОГ25.20-1 │ │ │ │ │
58 9421 1195│ПОО25.20-1 │ │ │ │ │
────────────┼──────────────┤ │ │ │ ├────────
58 9424 0225│ПОШ25.20-С-1 │ │ │ │ │44
58 9424 0290│ПОГ25.20-С-1 │ │ │ │ │
58 9424 0355│ПОО25.20-С-1 │ │ │ │ │
────────────┼──────────────┼──────┤ ├───────┼───────┼────────
58 9421 1066│ПОШ28.20-1 │2800 │ │0,025 │1,43 │63
58 9421 1131│ПОГ28.20-1 │ │ │ │ │
58 9421 1196│ПОО28.20-1 │ │ │ │ │
────────────┼──────────────┤ │ │ │ ├────────
58 9424 0226│ПОШ28.20-С-1 │ │ │ │ │48
58 9424 0291│ПОГ28.20-С-1 │ │ │ │ │
58 9424 0356│ПОО28.20-С-1 │ │ │ │ │
────────────┼──────────────┼──────┼──────┼───────┼───────┼────────
58 9421 1042│ПОШ7.25 │700 │250 │0,008 │0,18 │20
58 9421 1107│ПОГ7.25 │ │ │ │ │
58 9421 1172│ПОО7.25 │ │ │ │ │
────────────┼──────────────┤ │ │ │ ├────────
58 9424 0202│ПОШ7.25-С │ │ │ │ │15
58 9424 0267│ПОГ7.25-С │ │ │ │ │
58 9424 0332│ПОО7.25-С │ │ │ │ │
────────────┼──────────────┼──────┤ ├───────┼───────┼────────
58 9421 1044│ПОШ10.25 │1000 │ │0,011 │0,37 │28
58 9421 1109│ПОГ10.25 │ │ │ │ │
58 9421 1174│ПОО10.25 │ │ │ │ │
────────────┼──────────────┤ │ │ │ ├────────
58 9424 0204│ПОШ10.25-С │ │ │ │ │21
58 9424 0269│ПОГ10.25-С │ │ │ │ │
58 9424 0334│ПОО10.25-С │ │ │ │ │
────────────┼──────────────┼──────┤ ├───────┼───────┼────────
58 9421 1045│ПОШ13.25 │1300 │ │0,014 │0,51 │37
58 9421 1110│ПОГ13.25 │ │ │ │ │
58 9421 1175│ПОО13.25 │ │ │ │ │
────────────┼──────────────┤ │ │ │ ├────────
58 9424 0205│ПОШ13.25-С │ │ │ │ │26
58 9424 0270│ПОГ13.25-С │ │ │ │ │
58 9424 0335│ПОО13.25-С │ │ │ │ │
────────────┼──────────────┼──────┤ ├───────┼───────┼────────
58 9421 1046│ПОШ15.25 │1450 │ │0,016 │0,77 │41
58 9421 1111│ПОГ15.25 │ │ │ │ │
58 9421 1176│ПОО15.25 │ │ │ │ │
────────────┼──────────────┤ │ │ │ ├────────
58 9424 0206│ПОШ15.25-С │ │ │ │ │30
58 9424 0271│ПОГ15.25-С │ │ │ │ │
58 9424 0336│ПОО15.25-С │ │ │ │ │
────────────┼──────────────┼──────┤ ├───────┼───────┼────────
58 9421 1067│ПОШ16.25-1 │1600 │ │0,018 │0,73 │45
58 9421 1132│ПОГ16.25-1 │ │ │ │ │
58 9421 1197│ПОО16.25-1 │ │ │ │ │
────────────┼──────────────┤ │ │ │ ├────────
58 9424 0227│ПОШ16.25-С-1 │ │ │ │ │34
58 9424 0292│ПОГ16.25-С-1 │ │ │ │ │
58 9424 0357│ПОО16.25-С-1 │ │ │ │ │
────────────┼──────────────┼──────┤ ├───────┼───────┼────────
58 9421 1068│ПОШ19.25-1 │1900 │ │0,021 │0,89 │53
58 9421 1133│ПОГ19.25-1 │ │ │ │ │
58 9421 1198│ПОО19.25-1 │ │ │ │ │
────────────┼──────────────┤ │ │ │ ├────────
58 9424 0228│ПОШ19.25-С-1 │ │ │ │ │40
58 9424 0293│ПОГ19.25-С-1 │ │ │ │ │
58 9424 0358│ПОО19.25-С-1 │ │ │ │ │
────────────┼──────────────┼──────┤ ├───────┼───────┼────────
58 9421 1069│ПОШ22.25-1 │2200 │ │0,025 │0,97 │62
58 9421 1134│ПОГ22.25-1 │ │ │ │ │
58 9421 1199│ПОО22.25-1 │ │ │ │ │
────────────┼──────────────┤ │ │ │ ├────────
58 9424 0229│ПОШ22.25-С-1 │ │ │ │ │47
58 9424 0294│ПОГ22.25-С-1 │ │ │ │ │
58 9424 0359│ПОО22.25-С-1 │ │ │ │ │
────────────┼──────────────┼──────┤ ├───────┼───────┼────────
58 9421 1070│ПОШ25.25-1 │2500 │ │0,028 │1,33 │70
58 9421 1135│ПОГ25.25-1 │ │ │ │ │
58 9421 1200│ПОО25.25-1 │ │ │ │ │
────────────┼──────────────┤ │ │ │ ├────────
58 9424 0230│ПОШ25.25-С-1 │ │ │ │ │53
58 9424 0295│ПОГ25.25-С-1 │ │ │ │ │
58 9424 0360│ПОО25.25-С-1 │ │ │ │ │
────────────┼──────────────┼──────┤ ├───────┼───────┼────────
58 9421 1071│ПОШ28.25-1 │2800 │ │0,032 │1,46 │79
58 9421 1136│ПОГ28.25-1 │ │ │ │ │
58 9421 1201│ПОО28.25-1 │ │ │ │ │
────────────┼──────────────┤ │ │ │ ├────────
58 9424 0231│ПОШ28.25-С-1 │ │ │ │ │60
58 9424 0296│ПОГ28.25-С-1 │ │ │ │ │
58 9424 0361│ПОО28.25-С-1 │ │ │ │ │
────────────┼──────────────┼──────┼──────┼───────┼───────┼────────
58 9421 1047│ПОШ7.35 │700 │350 │0,011 │0,20 │28
58 9421 1112│ПОГ7.35 │ │ │ │ │
58 9421 1177│ПОО7.35 │ │ │ │ │
────────────┼──────────────┤ │ │ │ ├────────
58 9424 0207│ПОШ7.35-С │ │ │ │ │20
58 9424 0272│ПОГ7.35-С │ │ │ │ │
58 9424 0337│ПОО7.35-С │ │ │ │ │
────────────┼──────────────┼──────┤ ├───────┼───────┼────────
58 9421 1049│ПОШ10.35 │1000 │ │0,016 │0,33 │39
58 9421 1114│ПОГ10.35 │ │ │ │ │
58 9421 1179│ПОО10.35 │ │ │ │ │
────────────┼──────────────┤ │ │ │ ├────────
58 9424 0209│ПОШ10.35-С │ │ │ │ │30
58 9424 0274│ПОГ10.35-С │ │ │ │ │
58 9424 0339│ПОО10.35-С │ │ │ │ │
────────────┼──────────────┼──────┤ ├───────┼───────┼────────
58 9421 1050│ПОШ13.35 │1300 │ │0,020 │0,63 │51
58 9421 1115│ПОГ13.35 │ │ │ │ │
58 9421 1180│ПОО13.35 │ │ │ │ │
────────────┼──────────────┤ │ │ │ ├────────
58 9424 0210│ПОШ13.35-С │ │ │ │ │37
58 9424 0275│ПОО13.35-С │ │ │ │ │
58 9424 0340│ПОГ13.35-С │ │ │ │ │
────────────┼──────────────┼──────┤ ├───────┼───────┼────────
58 9421 1051│ПОШ15.35 │1450 │ │0,023 │0,72 │57
58 9421 1116│ПОГ15.35 │ │ │ │ │
58 9421 1181│ПОО15.35 │ │ │ │ │
────────────┼──────────────┤ │ │ │ ├────────
58 9424 0211│ПОШ15.35-С │ │ │ │ │43
58 9424 0276│ПОГ15.35-С │ │ │ │ │
58 9424 0341│ПОО15.35-С │ │ │ │ │
────────────┼──────────────┼──────┤ ├───────┼───────┼────────
58 9421 1072│ПОШ16.35-1 │1600 │ │0,025 │0,85 │63
58 9421 1137│ПОГ16.35-1 │ │ │ │ │
58 9421 1202│ПОО16.35-1 │ │ │ │ │
────────────┼──────────────┤ │ │ │ ├────────
58 9424 0232│ПОШ16.35-С-1 │ │ │ │ │47
58 9424 0297│ПОГ16.35-С-1 │ │ │ │ │
58 9424 0362│ПОО16.35-С-1 │ │ │ │ │
────────────┼──────────────┼──────┤ ├───────┼───────┼────────
58 9421 1073│ПОШ19.35-1 │1900 │ │0,030 │0,93 │75
58 9421 1138│ПОГ19.35-1 │ │ │ │ │
58 9421 1203│ПОО19.35-1 │ │ │ │ │
────────────┼──────────────┤ │ │ │ ├────────
58 9424 0233│ПОШ19.35-С-1 │ │ │ │ │56
58 9424 0298│ПОГ19.35-С-1 │ │ │ │ │
58 9424 0363│ПОО19.35-С-1 │ │ │ │ │
────────────┼──────────────┼──────┤ ├───────┼───────┼────────
58 9421-1074│ПОШ22.35-1 │2200 │ │0,035 │1,03 │87
58 9421 1139│ПОГ22.35-1 │ │ │ │ │
58 9421 1204│ПОО22.35-1 │ │ │ │ │
────────────┼──────────────┤ │ │ │ ├────────
58 9424 0234│ПОШ22.35-С-1 │ │ │ │ │65
58 9424 0299│ПОГ22.35-С-1 │ │ │ │ │
58 9424 0364│ПОО22.35-С-1 │ │ │ │ │
────────────┼──────────────┼──────┤ ├───────┼───────┼────────
58 9421 1075│ПОШ25.35-1 │2500 │ │0,039 │1,62 │98
58 9421 1140│ПОГ25.35-1 │ │ │ │ │
58 9421 1205│ПОО25.35-1 │ │ │ │ │
────────────┼──────────────┤ │ │ │ ├────────
58 9424 0235│ПОШ25.35-С-1 │ │ │ │ │73
58 9424 0300│ПОГ25.35-С-1 │ │ │ │ │
58 9424 0365│ПОО25.35-С-1 │ │ │ │ │
────────────┼──────────────┼──────┤ ├───────┼───────┼────────
58 9421 1076│ПОШ28.35-1 │2800 │ │0,040 │1,77 │110
58 9421 1141│ПОГ28.35-1 │ │ │ │ │
58 9421 1206│ПОО28.35-1 │ │ │ │ │
────────────┼──────────────┤ │ │ │ ├────────
58 9424 0236│ПОШ28.35-С-1 │ │ │ │ │75
58 9424 0301│ПОГ28.35-С-1 │ │ │ │ │
58 9424 0366│ПОО28.35-С-1 │ │ │ │ │
────────────┼──────────────┼──────┼──────┼───────┼───────┼────────
58 9421 1052│ПОШ7.45 │700 │450 │0,014 │0,21 │35
58 9421 1117│ПОГ7.45 │ │ │ │ │
58 9421 1182│ПОО7.45 │ │ │ │ │
────────────┼──────────────┤ │ │ │ ├────────
58 9424 0212│ПОШ7.45-С │ │ │ │ │26
58 9424 0277│ПОГ7.45-С │ │ │ │ │
58 9424 0342│ПОО7.45-С │ │ │ │ │
────────────┼──────────────┼──────┤ ├───────┼───────┼────────
58 9421 1054│ПОШ10.45 │1000 │ │0,020 │0,35 │51
58 9421 1119│ПОГ10.45 │ │ │ │ │
58 9421 1184│ПОО10.45 │ │ │ │ │
────────────┼──────────────┤ │ │ │ ├────────
58 9424 0214│ПОШ10.45-С │ │ │ │ │37
58 9424 0279│ПОГ10.45-С │ │ │ │ │
58 9424 0344│ПОО10.45-С │ │ │ │ │
────────────┼──────────────┼──────┤ ├───────┼───────┼────────
58 9421 1055│ПОШ13.45 │1300 │ │0,026 │0,65 │66
58 9421 1120│ПОГ13.45 │ │ │ │ │
58 9421 1185│ПОО13.45 │ │ │ │ │
────────────┼──────────────┤ │ │ │ ├────────
58 9424 0215│ПОШ13.45-С │ │ │ │ │48
58 9424 0280│ПОГ13.45-С │ │ │ │ │
58 9424 0345│ПОО13.45-С │ │ │ │ │
────────────┼──────────────┼──────┤ ├───────┼───────┼────────
58 9421 1056│ПОШ15.45 │1450 │ │0,029 │0,75 │73
58 9421 1121│ПОГ15.45 │ │ │ │ │
58 9421 1186│ПОО15.45 │ │ │ │ │
────────────┼──────────────┤ │ │ │ ├────────
58 9424 0216│ПОШ15.45-С │ │ │ │ │54
58 9424 0281│ПОГ15.45-С │ │ │ │ │
58 9424 0346│ПОО15.45-С │ │ │ │ │
────────────┼──────────────┼──────┤ ├───────┼───────┼────────
58 9421 1077│ПОШ16.45-1 │1600 │ │0,033 │0,96 │81
58 9421 1142│ПОГ16.45-1 │ │ │ │ │
58 9421 1207│ПОО16.45-1 │ │ │ │ │
────────────┼──────────────┤ │ │ │ ├────────
58 9424 0237│ПОШ16.45-С-1 │ │ │ │ │62
58 9424 0302│ПОГ16.45-С-1 │ │ │ │ │
58 9424 0367│ПОО16.45-С-1 │ │ │ │ │
────────────┼──────────────┼──────┤ ├───────┼───────┼────────
58 9421 1078│ПОШ19.45-1 │1900 │ │0,039 │1,08 │96
58 9421 1143│ПОГ19.45-1 │ │ │ │ │
58 9421 1208│ПОО19.45-1 │ │ │ │ │
────────────┼──────────────┤ │ │ │ ├────────
58 9424 0238│ПОШ19.45-С-1 │ │ │ │ │73
58 9424 0303│ПОГ19.45-С-1 │ │ │ │ │
58 9424 0368│ПОО19.45-С-1 │ │ │ │ │
────────────┼──────────────┼──────┤ ├───────┼───────┼────────
58 9421 1079│ПОШ22.45-1 │2200 │ │0,045 │1,31 │113
58 9421 1144│ПОГ22.45-1 │ │ │ │ │
58 9421 1209│ПОО22.45-1 │ │ │ │ │
────────────┼──────────────┤ │ │ │ ├────────
58 9424 0239│ПОШ22.45-С-1 │ │ │ │ │84
58 9424 0304│ПОГ22.45-С-1 │ │ │ │ │
58 9424 0369│ПОО22.45-С-1 │ │ │ │ │
────────────┼──────────────┼──────┤ ├───────┼───────┼────────
58 9421 1080│ПОШ25.45-1 │2500 │ │0,051 │1,68 │127
58 9421 1145│ПОГ25.45-1 │ │ │ │ │
58 9421 1210│ПОО25.45-1 │ │ │ │ │
────────────┼──────────────┤ │ │ │ ├────────
58 9424 0240│ПОШ25.45-С-1 │ │ │ │ │95
58 9424 0305│ПОГ25.45-С-1 │ │ │ │ │
58 9424 0370│ПОО25.45-С-1 │ │ │ │ │
────────────┼──────────────┼──────┤ ├───────┼───────┼────────
58 9421 1081│ПОШ28.45-1 │2800 │ │0,057 │2,40 │110
58 9421 1146│ПОГ28.45-1 │ │ │ │ │
58 9421 1211│ПОО28.45-1 │ │ │ │ │
────────────┼──────────────┤ │ │ │ ├────────
58 9424 0241│ПОШ28.45-С-1 │ │ │ │ │107
58 9424 0306│ПОГ28.45-С-1 │ │ │ │ │
58 9424 0371│ПОО28.45-С-1 │ │ │ │ │
────────────┼──────────────┼──────┼──────┼───────┼───────┼────────
58 9421 1082│ПОШ22.15-2 │2200 │150 │0,015 │1,59 │37
58 9421 1147│ПОГ22.15-2 │ │ │ │ │
58 9421 1212│ПОО22.15-2 │ │ │ │ │
────────────┼──────────────┤ │ │ │ ├────────
58 9424 0242│ПОШ22.15-С-2 │ │ │ │ │28
58 9424 0307│ПОГ22.15-С-2 │ │ │ │ │
58 9424 0372│ПОО22.15-С-2 │ │ │ │ │
────────────┼──────────────┼──────┤ ├───────┼───────┼────────
58 9421 1083│ПОШ25.15-2 │2500 │ │0,017 │1,78 │42
58 9421 1148│ПОГ25.15-2 │ │ │ │ │
58 9421 1213│ПОО25.15-2 │ │ │ │ │
────────────┼──────────────┤ │ │ │ ├────────
58 9424 0243│ПОШ25.15-С-2 │ │ │ │ │32
58 9424 0308│ПОГ25.15-С-2 │ │ │ │ │
58 9424 0373│ПОО25.15-С-2 │ │ │ │ │
────────────┼──────────────┼──────┤ ├───────┼───────┼────────
58 9421 1084│ПОШ28.15-2 │2800 │ │0,019 │1,85 │47
58 9421 1149│ПОГ28.15-2 │ │ │ │ │
58 9421 1214│ПОО28.15-2 │ │ │ │ │
────────────┼──────────────┤ │ │ │ ├────────
58 9424 0244│ПОШ28.15-С-2 │ │ │ │ │36
58 9424 0309│ПОГ28.15-С-2 │ │ │ │ │
58 9424 0374│ПОО28.15-С-2 │ │ │ │ │
────────────┼──────────────┼──────┼──────┼───────┼───────┼────────
58 9421 1085│ПОШ22.20-2 │2200 │200 │0,020 │1,72 │50
58 9421 1150│ПОГ22.20-2 │ │ │ │ │
58 9421 1215│ПОО22.20-2 │ │ │ │ │
────────────┼──────────────┤ │ │ │ ├────────
58 9424 0245│ПОШ22.20-С-2 │ │ │ │ │38
58 9424 0310│ПОГ22.20-С-2 │ │ │ │ │
58 9424 0375│ПОО22.20-С-2 │ │ │ │ │
────────────┼──────────────┼──────┤ ├───────┼───────┼────────
58 9421 1086│ПОШ25.20-2 │2500 │ │0,023 │1,80 │56
58 9421 1151│ПОГ25.20-2 │ │ │ │ │
58 9421 1216│ПОО25.20-2 │ │ │ │ │
────────────┼──────────────┤ │ │ │ ├────────
58 9424 0246│ПОШ25.20-С-2 │ │ │ │ │44
58 9424 0311│ПОГ25.20-С-2 │ │ │ │ │
58 9424 0376│ПОО25.20-С-2 │ │ │ │ │
────────────┼──────────────┼──────┤ ├───────┼───────┼────────
58 9421 1087│ПОШ28.20-2 │2800 │ │0,025 │2,21 │63
58 9421 1152│ПОГ28.20-2 │ │ │ │ │
58 9421 1217│ПОО28.20-2 │ │ │ │ │
────────────┼──────────────┤ │ │ │ ├────────
58 9424 0247│ПОШ28.20-С-2 │ │ │ │ │48
58 9424 0312│ПОГ28.20-С-2 │ │ │ │ │
58 9424 0377│ПОО28.20-С-2 │ │ │ │ │
────────────┼──────────────┼──────┼──────┼───────┼───────┼────────
58 9421 1088│ПОШ22.25-2 │2200 │250 │0,025 │1,75 │62
58 9421 1153│ПОГ22.25-2 │ │ │ │ │
58 9421 1218│ПОО22.25-2 │ │ │ │ │
────────────┼──────────────┤ │ │ │ ├────────
58 9424 0248│ПОШ22.25-С-2 │ │ │ │ │47
58 9424 0313│ПОГ22.25-С-2 │ │ │ │ │
58 9424 0378│ПОО22.25-С-2 │ │ │ │ │
────────────┼──────────────┼──────┤ ├───────┼───────┼────────
58 9421 1089│ПОШ25.25-2 │2500 │ │0,028 │2,11 │70
58 9421 1154│ПОГ25.25-2 │ │ │ │ │
58 9421 1219│ПОО25.25-2 │ │ │ │ │
────────────┼──────────────┤ │ │ │ ├────────
58 9424 0249│ПОШ25.25-С-2 │ │ │ │ │53
58 9424 0314│ПОГ25.25-С-2 │ │ │ │ │
58 9424 0379│ПОО25.25-С-2 │ │ │ │ │
────────────┼──────────────┼──────┤ ├───────┼───────┼────────
58 9421 1090│ПОШ28.25-2 │2800 │ │0,032 │2,24 │79
58 9421 1155│ПОГ28.25-2 │ │ │ │ │
58 9421 1220│ПОО28.25-2 │ │ │ │ │
────────────┼──────────────┤ │ │ │ ├────────
58 9424 0250│ПОШ28.25-С-2 │ │ │ │ │60
58 9424 0315│ПОГ28.25-С-2 │ │ │ │ │
58 9424 0380│ПОО28.25-С-2 │ │ │ │ │
────────────┼──────────────┼──────┼──────┼───────┼───────┼────────
58 9421 1091│ПОШ22.35-2 │2200 │350 │0,035 │1,91 │87
58 9421 1156│ПОГ22.35-2 │ │ │ │ │
58 9421 1221│ПОО22.35-2 │ │ │ │ │
────────────┼──────────────┤ │ │ │ ├────────
58 9424 0251│ПОШ22.35-С-2 │ │ │ │ │65
58 9424 0316│ПОГ22.35-С-2 │ │ │ │ │
58 9424 0381│ПОО22.35-С-2 │ │ │ │ │
────────────┼──────────────┼──────┤ ├───────┼───────┼────────
58 9421 1092│ПОШ25.35-2 │2500 │ │0,039 │2,40 │98
58 9421 1157│ПОГ25.35-2 │ │ │ │ │
58 9421 1222│ПОО25.35-2 │ │ │ │ │
────────────┼──────────────┤ │ │ │ ├────────
58 9424 0252│ПОШ25.35-С-2 │ │ │ │ │73
58 9424 0317│ПОГ25.35-С-2 │ │ │ │ │
58 9424 0382│ПОО25.35-С-2 │ │ │ │ │
────────────┼──────────────┼──────┤ ├───────┼───────┼────────
58 9421 1093│ПОШ28.35-2 │2800 │ │0,040 │2,55 │110
58 9421 1158│ПОГ28.35-2 │ │ │ │ │
58 9421 1223│ПОО28.35-2 │ │ │ │ │
────────────┼──────────────┤ │ │ │ ├────────
58 9424 0253│ПОШ28.35-С-2 │ │ │ │ │75
58 9424 0318│ПОГ28.35-С-2 │ │ │ │ │
58 9424 0383│ПОО28.35-С-2 │ │ │ │ │
────────────┼──────────────┼──────┼──────┼───────┼───────┼────────
58 9421 1094│ПОШ22.45-2 │2200 │450 │0,045 │2,09 │113
58 9421 1159│ПОГ22.45-2 │ │ │ │ │
58 9421 1224│ПОО22.45-2 │ │ │ │ │
────────────┼──────────────┤ │ │ │ ├────────
58 9424 0254│ПОШ22.45-С-2 │ │ │ │ │84
58 9424 0319│ПОГ22.45-С-2 │ │ │ │ │
58 9424 0384│ПОО22.45-С-2 │ │ │ │ │
────────────┼──────────────┼──────┤ ├───────┼───────┼────────
58 9421 1095│ПОШ25.45-2 │2500 │ │0,051 │2,46 │127
58 9421 1160│ПОГ25.45-2 │ │ │ │ │
58 9421 1225│ПОО25.45-2 │ │ │ │ │
────────────┼──────────────┤ │ │ │ ├────────
58 9424 0255│ПОШ25.45-С-2 │ │ │ │ │95
58 9424 0320│ПОГ25.45-С-2 │ │ │ │ │
58 9424 0385│ПОО25.45-С-2 │ │ │ │ │
────────────┼──────────────┼──────┤ ├───────┼───────┼────────
58 9421 1096│ПОШ28.45-2 │2800 │ │0,057 │3,18 │142
58 9421 1161│ПОГ28.45-2 │ │ │ │ │
58 9421 1226│ПОО28.45-2 │ │ │ │ │
────────────┼──────────────┤ │ │ │ ├────────
58 9424 0256│ПОШ28.45-С-2 │ │ │ │ │107
58 9424 0321│ПОГ28.45-С-2 │ │ │ │ │
58 9424 0386│ПОО28.45-С-2 │ │ │ │ │
Примечания. 1. В марках плит по табл. 1 не указаны варианты исполнения плит (п. 1.5).
2. В случае устройства в плитах вырезов в углах или срезов торцов (п. 1.3) расход бетона и стали на плиту, указанный в табл. 1, следует соответственно изменить.
3. Масса плит приведена для плит из тяжелого бетона средней плотности 2400 кгс/м3 и плотного силикатного бетона - 1800 кгс/м3.
1.3. В случаях, предусмотренных проектной документацией, плиты могут иметь:
лицевой профиль, отличающийся от указанного на черт. 1 (с валиком, без капельника, с закругленными углами);
вырезы в углах и срезы торцов.
1.4. Плиты длиной до 1450 мм включительно предусмотрены для опирания на стену (с заведением в паз коробки оконного блока) при вылете свободной консоли не более, мм:
100 - для плит шириной до 200 мм;
150 - для плит шириной более 200 мм.
Плиты длиной 1600 мм и более предусмотрены для опирания на стену и металлические кронштейны с приваркой к ним закладных изделий, расположенных в середине длины плиты или по торцам и в середине длины плиты (при ленточном остеклении).
1.5. Плиты, при необходимости, изготовляют в двух вариантах исполнения: правом и левом - с вырезом в углу (срезом торца), расположенным соответственно на правом или левом торце плиты.
1.6. Конструкции плит, а также арматурных и закладных изделий к ним приведены в обязательном Приложении.
1.7. Плиты следует обозначать марками в соответствии с требованиями ГОСТ 23009-78.
Марка плит состоит из буквенно-цифровых групп, разделенных дефисами.
Первая группа содержит обозначение типа плиты и ее габаритные размеры. Длину плиты указывают в дециметрах (значение которой округляют до целого числа), ширину - в сантиметрах.
Во второй группе для плит, изготовляемых из плотного силикатного бетона, указывают вид бетона, обозначаемый прописной буквой "С".
В третьей группе (или во второй группе марки плит, изготовляемых из тяжелого бетона) указывают:
наличие в плите закладных изделий, обозначаемых арабскими цифрами: 1 - для плит с закладными изделиями, расположенными в середине длины плиты; 2 - для плит с закладными изделиями, расположенными по торцам и в середине длины плиты;
наличие в плите вырезов в углах или срезов торцов, обозначаемых строчными буквами;
левый вариант исполнения плиты, обозначаемый строчной буквой "л";
дополнительные характеристики плит, применяемых в условиях воздействия агрессивных сред, - проницаемость бетона, обозначаемую прописными буквами: "Н" - нормальная, "П" - пониженная и "О" - особо низкая проницаемость.
Пример условного обозначения (марки) плиты типа ПОШ, длиной 1300 мм, шириной 150 мм, из тяжелого бетона:
ПОШ 13.15
То же, плиты типа ПОГ, длиной 1600 мм, шириной 250 мм, из тяжелого бетона, с закладным изделием в середине длины плиты:
ПОГ16.25-1
То же, плиты типа ПОО, длиной 2200 мм, шириной 350 мм, в правом варианте исполнения, из плотного силикатного бетона, с закладными изделиями по торцам и в середине длины плиты:
ПОО22.35-С-2
2. ТЕХНИЧЕСКИЕ ТРЕБОВАНИЯ
2.1. Плиты следует изготовлять в соответствии с требованиями настоящего стандарта и технологической документации, утвержденной в установленном порядке.
2.2. Плиты должны удовлетворять требованиям ГОСТ 13015.0-83:
по прочности;
по показателям фактической прочности бетона (в проектном возрасте и отпускной);
по морозостойкости бетона;
к качеству материалов, применяемых для приготовления бетона;
к бетону плит, применяемых в условиях воздействия агрессивных сред;
к качеству арматурных и закладных изделий и их положению в плите;
к маркам сталей для арматурных и закладных изделий;
по отклонению толщины защитного слоя бетона;
по защите от коррозии;
по применению форм для изготовления плит.
2.3. Плиты следует изготовлять из бетона класса по прочности на сжатие В15.
2.4. Коэффициент вариации прочности бетона по сжатию в партии для плит высшей категории качества не должен быть более:
9% - для тяжелого бетона;
10% - для плотного силикатного бетона.
2.5. Значение нормируемой отпускной прочности бетона плит в процентах от класса бетона по прочности на сжатие следует принимать равным:
70 - для плит из тяжелого бетона;
100 - для плит из плотного силикатного бетона.
При поставке плит из тяжелого бетона в холодный период года допускается повышать нормируемую отпускную прочность бетона, но не более 80% класса по прочности на сжатие. Значение нормируемой отпускной прочности тяжелого бетона следует принимать по проектной документации на конкретное здание в соответствии с требованиями ГОСТ 13015.0-83.
2.6. Плотный силикатный бетон должен иметь среднюю плотность (в высушенном до постоянной массы состоянии) не менее 1800 кг/м3.
2.7. Арматурная сталь должна удовлетворять требованиям:
стержневая арматурная сталь класса А-III - ГОСТ 5781-82;
проволока класса Вр-1 - ГОСТ 6727-80.
2.8. Форма и размеры сварных арматурных сеток, закладных изделий и их положение в плитах должны соответствовать указанным в обязательном Приложении.
2.9. Арматуру в плитах из плотного силикатного бетона, предназначенных для применения в помещениях с относительной влажностью внутреннего воздуха свыше 60%, следует защищать от коррозии. Способ защиты арматуры должен соответствовать установленному проектной документацией (согласно требованиям СН 165-76) и указанному в заказе на изготовление плит.
2.10. Значения действительных отклонений геометрических параметров плит не должны превышать предельных, указанных в табл. 2.
Таблица 2
мм
───────────────────────┬──────────────────────────────────┬───────
Наименование отклонения│ Наименование геометрического │ Пред.
геометрического │ параметра │ откл.
параметра │ │
───────────────────────┼──────────────────────────────────┼───────
Отклонения линейных │ Длина плиты │+/- 5
размеров │ Ширина плиты │+/- 3
│ Толщина плиты │+/- 2
│ Положение закладного изделия: │
│ в плоскости плиты │5
│ из плоскости плиты │2
Отклонение от прямоли- │ Прямолинейность лицевого профиля │+/- 2
нейности │поверхности плиты в любом сечении │
│на всей длине плиты длиной │
│700 - 1300 │
│ То же, плиты длиной 1450 - 2800 │+/- 3
Отклонение от плоскост-│ Плоскостность лицевой поверхности│3
ности │плиты относительно прилегающей │
│плоскости │
2.11. Устанавливаются следующие категории бетонных поверхностей плиты:
А0 или А1 - лицевой шлифованной или глянцевой;
А2 - лицевой гладкой, предназначенной под окраску;
А7 - нелицевой, невидимой в условиях эксплуатации.
Требования к качеству поверхностей и внешнему виду плит - по ГОСТ 13015.0-83 и настоящему стандарту.
2.11.1. Верхняя лицевая поверхность плит одной партии должна иметь одинаковый цвет и тон окраски.
Расположение мраморного щебня на лицевых шлифованных поверхностях плит должно быть равномерным или предусмотренным проектной документацией на конкретное здание и заказом. В первом случае участки без мраморного щебня площадью более 3 см2 не допускаются.
2.11.2. На поверхностях плит не допускаются трещины в бетоне, за исключением усадочных и других местных технологических шириной не более 0,1 мм на нижней поверхности плит.
2.11.3. Плиты высшей категории качества должны быть типов ПОШ или ПОГ.
3. ПРАВИЛА ПРИЕМКИ
3.1. Приемку плит следует проводить партиями в соответствии с требованиями ГОСТ 13015.1-81 и настоящего стандарта.
3.2. Приемку плит по показателям их прочности, морозостойкости бетона следует проводить по результатам периодических испытаний.
3.3. Приемку плит по показателям прочности бетона (классу бетона по прочности на сжатие и отпускной прочности бетона), средней плотности плотного силикатного бетона, соответствия арматурных и закладных изделий требованиям обязательного Приложения, прочности сварных соединений, точности геометрических параметров, толщины защитного слоя бетона до арматуры, ширины раскрытия усадочных трещин, категории бетонной поверхности следует проводить по результатам приемосдаточных испытаний.
3.4. При приемке плит по показателям точности геометрических параметров, толщины защитного слоя бетона до арматуры, ширины раскрытия усадочных трещин и категории бетонной поверхности следует применять одноступенчатый выборочный контроль.
3.5. Приемку плит по наличию закладных изделий, правильности нанесения маркировочных надписей и знаков, соответствию вида отделки установленным требованиям и эталону следует проводить путем сплошного контроля с отбраковкой плит, имеющих дефекты по указанным показателям.
4. МЕТОДЫ КОНТРОЛЯ
4.1. Испытания плит нагружением для определения их прочности следует проводить по достижении бетоном прочности, соответствующей классу по прочности на сжатие.
ИС МЕГАНОРМ: примечание.
Взамен ГОСТ 8829-85 Постановлением Госстроя России от 17.07.1997 N 18-39 с 1 января 1998 года введен в действие ГОСТ 8829-94.
Прочность плит следует контролировать по ГОСТ 8829-85.
4.1.1. Схема опирания и загружения плиты при испытании ее нагружением приведена на черт. 2, а значения контрольных нагрузок при проверке прочности плит указаны в табл. 3.
1 - подвижная опора; 2 - неподвижная опора;
3 - подоконная плита
Черт. 2
Таблица 3
────────────────┬─────────────────────────────────────────────────
Значение коэффи-│Контрольная нагрузка по проверке прочности плиты
циента С │ q, кПа (кгс/м2), при которой
├──────────────────────────┬──────────────────────
│ плита признается годной │ требуется повторное
│ │ испытание плиты
────────────────┼──────────────────────────┼──────────────────────
1,4 │1,23 (125) │1,04 (105)
────────────────┼──────────────────────────┼──────────────────────
1,6 │1,57 (160) │1,33 (135)
Примечания. 1. Значения контрольных нагрузок указаны без учета веса плиты.
2. Значение коэффициента С принимают в зависимости от возможного характера разрушения плиты согласно ГОСТ 8829-85.
4.2. Прочность бетона на сжатие следует определять по ГОСТ 10180-78 на серии образцов, изготовленных из бетонной смеси рабочего состава и хранившихся в условиях, установленных ГОСТ 18105.1-80.
ИС МЕГАНОРМ: примечание.
Взамен ГОСТ 17624-78 Постановлением Госстроя СССР от 26.12.1986 N 67 с 1 января 1988 года введен в действие ГОСТ 17624-87.
При испытании плит неразрушающими методами фактическую отпускную прочность бетона на сжатие следует определять ультразвуковым методом по ГОСТ 17624-78 или приборами механического действия по ГОСТ 22690.0-77 - ГОСТ 22690.4-77, а также другими методами, предусмотренными стандартами на методы испытания бетона.
ИС МЕГАНОРМ: примечание.
Взамен ГОСТ 10060-76 Постановлением Госстроя СССР от 31.12.1986 N 82 с 1 января 1988 года введен в действие ГОСТ 10060-87. Взамен ГОСТ 10060-87 Постановлением Минстроя России от 05.03.1996 N 18-17 с 1 сентября 1996 года введены в действие ГОСТ 10060.0-95, ГОСТ 10060.1-95, ГОСТ 10060.2-95, ГОСТ 10060.3-95, ГОСТ 10060.4-95.
4.3. Морозостойкость бетона следует определять по ГОСТ 10060-76 на серии образцов, изготовленных из бетонной смеси рабочего состава.
4.4. Среднюю плотность плотного силикатного бетона следует определять по ГОСТ 12730.0-78 и ГОСТ 12730.1-78 на серии образцов, изготовленных из бетонной смеси рабочего состава.
4.5. Методы контроля и испытаний сварных арматурных и закладных изделий - по ГОСТ 10922-75.
4.6. Положение арматурных и закладных изделий, а также толщину защитного слоя бетона до арматуры следует определять по ГОСТ 17625-83 и ГОСТ 22904-78.
4.7. Размеры плит, отклонения от прямолинейности и плоскостности верхних лицевых поверхностей, качество бетонных поверхностей, ширину раскрытия усадочных трещин и внешний вид плит следует проверять методами, установленными ГОСТ 13015-75.
5. МАРКИРОВКА, ТРАНСПОРТИРОВАНИЕ И ХРАНЕНИЕ
5.1. Маркировка плит - по ГОСТ 13015.2-81.
Маркировочные надписи и знаки следует наносить на нелицевой поверхности плит.
Допускается по соглашению изготовителя с потребителем и проектной организацией - автором проекта конкретного здания вместо марок наносить на плиты их сокращенные условные обозначения, принятые в проектной документации.
5.2. Требования к документу о качестве плит, поставляемых потребителю, - по ГОСТ 13015.3-81.
5.3. Транспортировать и хранить плиты следует в соответствии с требованиями ГОСТ 13015.4-84 и настоящего стандарта.
5.3.1. Плиты следует транспортировать и хранить в контейнерах или пакетах.
5.3.2. Плиты следует укладывать на нелицевую грань шириной 45 мм лицевыми поверхностями вплотную одна к другой. Подкладки под нижний ряд и прокладки между рядами плит должны быть толщиной не менее 25 мм и уложены на расстоянии от торцов плит:
100 мм - для плит длиной 700 - 1000 мм;
200 мм - для плит длиной 1300 - 2800 мм.
5.3.3. Грузовые стропы и другие захватные приспособления применяемые для погрузки, разгрузки и складирования плит, в местах соприкосновения их с плитами должны иметь мягкое покрытие.
Приложение
Обязательное
КОНСТРУКЦИЯ ПЛИТ, АРМАТУРНЫХ И ЗАКЛАДНЫХ
ИЗДЕЛИЙ К НИМ
1. Положение сварных арматурных сеток и закладных изделий в плитах должно соответствовать указанному:
на черт. 1 - для плит длиной 700 - 1450 мм;
на черт. 2 и в табл. 1 - для плит длиной 1600 - 2800 мм (с одним закладным изделием);
на черт. 3 и в табл. 2 - для плит длиной 2200 - 2800 мм (с тремя закладными изделиями).
Плиты длиной 700 - 1450 мм
Черт. 1.
Плиты длиной 1600 - 2800 мм
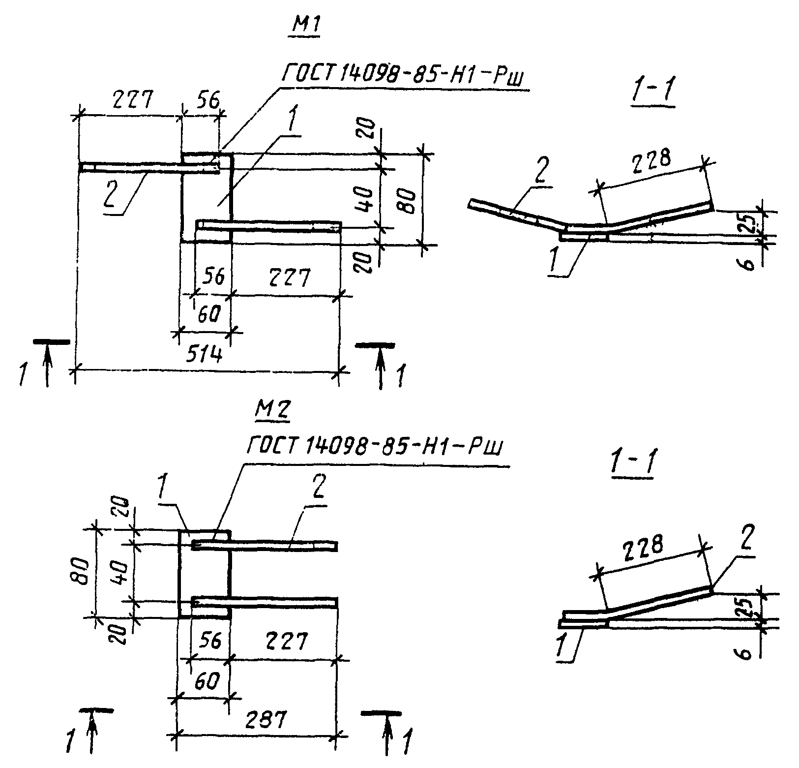
(с одним закладным изделием)
1 - сетка; 2 - закладное изделие М1
Черт. 2.
Таблица 1
Размеры в мм
────────────────────────────────────┬─────────────────────────────
Марка плиты │ а
────────────────────────────────────┼─────────────────────────────
ПО 16.15-1 │770
ПО 19.15-1 │920
ПО 22.15-1 │1070
ПО 25.15-1 │1220
ПО 28.15-1 │1370
ПО 16.20-1 │770
ПО 19.20-1 │920
ПО 22.20-1 │1070
ПО 25.20-1 │1220
ПО 28.20-1 │1370
ПО 16.25-1 │770
ПО 19.25-1 │920
ПО 22.25-1 │1070
ПО 25.25-1 │1220
ПО 28.25-1 │1370
ПО 16.35-1 │770
ПО 19.35-1 │920
ПО 22.35-1 │1070
ПО 25.35-1 │1220
ПО 28.35-1 │1370
ПО 16.45-1 │770
ПО 19.45-1 │920
ПО 22.45-1 │1070
ПО 25.45-1 │1220
ПО 28.45-1 │1370
Плиты длиной 2200-2800 мм
(с тремя закладными изделиями)
1 - сетка; 2 - закладное изделие М1;
3 - закладное изделие М2
Черт. 3.
Таблица 2
Размеры в мм
────────────────────────────────────┬─────────────────────────────
Марка плиты │ а
────────────────────────────────────┼─────────────────────────────
ПО 22.15-2 │1070
ПО 25.15-2 │1220
ПО 28.15-2 │1370
ПО 22.20-2 │1070
ПО 25.20-2 │1220
ПО 28.20-2 │1370
ПО 22.25-2 │1070
ПО 25.25-2 │1220
ПО 28.25-2 │1370
ПО 22.35-2 │1070
ПО 25.35-2 │1220
ПО 28.35-2 │1370
ПО 22.45-2 │1070
ПО 25.45-2 │1220
ПО 28.45-2 │1370
Спецификация арматурных и закладных изделий и выборка стали на одну плиту приведены в табл. 3.
Таблица 3
Спецификация арматурных и закладных изделий
и выборка стали на одну плиту
──────────┬───────────┬──────────┬──────────────────────────────────────────────────────
Марка │ Сетка │Закладное │ Выборка стали, кг
плиты ├─────┬─────┤ изделие ├───────────────────┬────────────────────────────┬─────
│Марка│Коли-├────┬─────┤Арматурное изделие │ Закладное изделие │Всего
│ │чест-│Мар-│Коли-├───────────────────┼───────────┬───────────┬────┤
│ │во │ка │чест-│ Арматурная сталь │Арматурная │ Полосовая │Ито-│
│ │ │ │во │ ГОСТ 6727-80 │ сталь по │ сталь по │го │
│ │ │ │ │ │ ГОСТ │ГОСТ 103-76│ │
│ │ │ │ │ │ 5781-82 │ │ │
│ │ │ │ ├───────────────────┼───────────┼───────────┤ │
│ │ │ │ │ Класс Вр-1 │Класс А-III│ Марка │ │
│ │ │ │ ├──────────────┬────┼─────┬─────┤ ВСт3кп2 │ │
│ │ │ │ │ Диаметр, мм │Ито-│Диа- │Ито- │ по ГОСТ │ │
│ │ │ │ │ │го │метр │го │ 380-71 │ │
│ │ │ │ ├────┬────┬────┤ │8 мм │ ├─────┬─────┤ │
│ │ │ │ │ 3 │ 4 │ 5 │ │ │ │-60х6│Итого│ │
──────────┼─────┼─────┼────┼─────┼────┼────┼────┼────┼─────┼─────┼─────┼─────┼────┼─────
ПО 7.15 │С1 │1 │- │- │0,17│- │- │0,17│- │- │- │- │- │0,17
ПО 10.15 │С2 │ │- │- │0,09│0,27│- │0,36│- │- │- │- │- │0,36
──────────┼─────┤ ├────┼─────┼────┼────┼────┼────┼─────┼─────┼─────┼─────┼────┼─────
ПО 13.15 │С12 │ │- │- │0,11│- │0,37│0,48│- │- │- │- │- │0,48
ПО 15.15 │С3 │ │- │- │0,13│- │0,62│0,75│- │- │- │- │- │0,75
──────────┼─────┤ ├────┼─────┼────┼────┼────┼────┼─────┼─────┼─────┼─────┼────┼─────
ПО 16.15-1│С13 │ │М1 │1 │0,31│- │- │0,31│0,22 │0,22 │0,17 │0,17 │0,39│0,70
ПО 19.15-1│С14 │ │ │ │0,36│- │- │0,36│0,22 │0,22 │0,17 │0,17 │0,39│0,75
ПО 22.15-1│С15 │ │ │ │0,42│- │- │0,42│0,22 │0,22 │0,17 │0,17 │0,39│0,81
ПО 25.15-1│С4 │ │ │ │0,60│- │- │0,60│0,22 │0,22 │0,17 │0,17 │0,39│0,99
ПО 28.15-1│С5 │ │ │ │0,68│- │- │0,68│0,22 │0,22 │0,17 │0,17 │0,39│1,07
──────────┼─────┤ ├────┼─────┼────┼────┼────┼────┼─────┼─────┼─────┼─────┼────┼─────
ПО 7.20 │С6 │ │- │- │0,18│- │- │0,18│- │- │- │- │- │0,18
ПО 10.20 │С7 │ │- │- │О,10│0,27│- │0,37│- │- │- │- │- │0,37
ПО 13.20 │С16 │ │- │- │0,12│- │0,37│0,49│- │- │- │- │- │0,49
ПО 15.20 │С8 │ │- │- │0,14│- │0,62│0,76│- │- │- │- │- │0,76
──────────┼─────┤ ├────┼─────┼────┼────┼────┼────┼─────┼─────┼─────┼─────┼────┼─────
ПО 16.20-1│С17 │ │М1 │1 │0,33│- │- │0,33│0,22 │0,22 │0,17 │0,17 │0,39│0,72
ПО 19.20-1│С18 │ │ │ │0,38│- │- │0,38│0,22 │0,22 │0,17 │0,17 │0,39│0,77
ПО 22.20-1│С9 │ │ │ │0,56│- │- │0,56│0,22 │0,22 │0,17 │0,17 │0,39│0,95
ПО 25.20-1│С10 │ │ │ │0,63│- │- │0,63│0,22 │0,22 │0,17 │0,17 │0,39│1,02
ПО 28.20-1│С11 │ │ │ │0,27│0,77│- │1,04│0,22 │0,22 │0,17 │0,17 │0,39│1,43
──────────┼─────┤ ├────┼─────┼────┼────┼────┼────┼─────┼─────┼─────┼─────┼────┼─────
ПО 7.25 │С19 │ │- │- │0,18│- │- │0,18│- │- │- │- │- │0,18
ПО 10.25 │С20 │ │- │- │0,11│0,27│- │0,38│- │- │- │- │- │0,38
ПО 13.25 │С21 │ │- │- │0,14│- │0,37│0,51│- │- │- │- │- │0,51
ПО 15.25 │С22 │ │- │- │0,16│- │0,62│0,78│- │- │- │- │- │0,78
──────────┼─────┤ ├────┼─────┼────┼────┼────┼────┼─────┼─────┼─────┼─────┼────┼─────
ПО 16.25-1│С23 │ │М1 │1 │0,34│- │- │0,34│0,22 │0,22 │0,17 │0,17 │0,39│0,73
ПО 19.25-1│С24 │ │ │ │0,50│- │- │0,50│0,22 │0,22 │0,17 │0,17 │0,39│0,89
ПО 22.25-1│С25 │ │ │ │0,58│- │- │0,58│0,22 │0,22 │0,17 │0,17 │0,39│0,97
ПО 25.25-1│С26 │ │ │ │0,27│0,68│- │0,95│0,22 │0,22 │0,17 │0,17 │0,39│1,34
ПО 28.25-1│С27 │ │ │ │0,30│0,77│- │1,07│0,22 │0,22 │0,17 │0,17 │0,39│1,46
──────────┼─────┤ ├────┼─────┼────┼────┼────┼────┼─────┼─────┼─────┼─────┼────┼─────
ПО 7.35 │С28 │ │- │- │0,20│- │- │0,20│- │- │- │- │- │0,20
ПО 10.35 │С29 │ │- │- │0,33│- │- │0,33│- │- │- │- │- │0,33
ПО 13.35 │С30 │ │- │- │0,16│0,47│- │0,63│- │- │- │- │- │0,63
ПО 15.35 │С31 │ │- │- │0,19│0,53│- │0,72│- │- │- │- │- │0,72
──────────┼─────┤ ├────┼─────┼────┼────┼────┼────┼─────┼─────┼─────┼─────┼────┼─────
ПО 16.35-1│С32 │ │М1 │1 │0,46│- │- │0,46│0,22 │0,22 │0,17 │0,17 │0,39│0,85
ПО 19.35-1│С33 │ │ │ │0,54│- │- │0,54│0,22 │0,22 │0,17 │0,17 │0,39│0,93
ПО 22.35-1│С34 │ │ │ │0,74│- │- │0,74│0,22 │0,22 │0,17 │0,17 │0,39│1,03
ПО 25.35-1│С35 │ │ │ │0,32│0,91│- │1,23│0,22 │0,22 │0,17 │0,17 │0,39│1,62
ПО 28.35-1│С36 │ │ │ │0,36│1,02│- │1,38│0,22 │0,22 │0,17 │0,17 │0,39│1,77
──────────┼─────┤ ├────┼─────┼────┼────┼────┼────┼─────┼─────┼─────┼─────┼────┼─────
ПО 7.45 │С37 │ │- │- │0,21│- │- │0,21│- │- │- │- │- │0,21
ПО 10.45 │С38 │ │- │- │0,35│- │- │0,35│- │- │- │- │- │0,35
ПО 13.45 │С39 │ │- │- │0,19│0,47│- │0,66│- │- │- │- │- │0,66
ПО 15.45 │С40 │ │- │- │0,22│0,53│- │0,75│- │- │- │- │- │0,75
──────────┼─────┤ ├────┼─────┼────┼────┼────┼────┼─────┼─────┼─────┼─────┼────┼─────
ПО 16.45-1│С41 │ │М1 │1 │0,58│- │- │0,58│0,22 │0,22 │0,17 │0,17 │0,39│0,97
ПО 19.45-1│С42 │ │ │ │0,68│- │- │0,68│0,22 │0,22 │0,17 │0,17 │0,39│1,07
ПО 22.45-1│С43 │ │ │ │0,33│0,60│- │0,93│0,22 │0,22 │0,17 │0,17 │0,39│1,32
ПО 25.45-1│С44 │ │ │ │0,37│0,91│- │1,28│0,22 │0,22 │0,17 │0,17 │0,39│1,67
ПО 28.45-1│С45 │ │ │ │0,41│- │1,60│2,01│0,22 │0,22 │0,17 │0,17 │0,39│2,40
──────────┼─────┤ ├────┼─────┼────┼────┼────┼────┼─────┼─────┼─────┼─────┼────┼─────
ПО 22.15-2│С15 │ │М1 │1 │0,42│- │- │0,42│0,66 │0,66 │0,51 │0,51 │0,17│1,59
ПО 25.15-2│С14 │ │М2 │2 │0,61│- │- │0,61│0,66 │0,66 │0,51 │0,51 │0,17│1,78
ПО 28.15-2│С5 │ │ │ │0,68│- │- │0,68│0,66 │0,66 │0,51 │0,51 │0,17│1,85
ПО 22.20-2│С9 │ │ │ │0,55│- │- │0,55│0,66 │0,66 │0,51 │0,51 │0,17│1,72
ПО 25.20-2│С10 │ │ │ │0,63│- │- │0,63│0,66 │0,66 │0,51 │0,51 │0,17│1,80
──────────┼─────┤ ├────┼─────┼────┼────┼────┼────┼─────┼─────┼─────┼─────┼────┼─────
ПО 28.20-2│С11 │ │М1 │1 │0,27│0,77│- │1,04│0,66 │0,66 │0,51 │0,51 │1,17│2,21
ПО 22.25-2│С25 │ │М2 │2 │0,58│- │- │0,58│0,66 │0,66 │0,51 │0,51 │1,17│1,75
ПО 25.25-2│С26 │ │ │ │0,27│0,67│- │0,94│0,66 │0,66 │0,51 │0,51 │1,17│2,11
ПО 28.25-2│С27 │ │ │ │0,30│0,77│- │1,07│0,66 │0,66 │0,51 │0,51 │1,17│2,24
ПО 22.35-2│С34 │ │ │ │0,74│- │- │0,74│0,66 │0,66 │0,51 │0,51 │1,17│1,91
ПО 25.35-2│С35 │ │ │ │0,32│0,91│- │1,23│0,66 │0,66 │0,51 │0,51 │1,17│2,40
ПО 28.35-2│С36 │ │ │ │0,36│1,02│- │1,38│0,66 │0,66 │0,51 │0,51 │1,17│2,55
ПО 22.45-2│С43 │ │ │ │0,33│0,59│- │0,92│0,66 │0,66 │0,51 │0,51 │1,17│2,09
ПО 25.45-2│С44 │ │ │ │0,37│0,92│- │1,29│0,66 │0,66 │0,51 │0,51 │1,17│2,46
ПО 28.45-2│С45 │ │ │ │0,41│- │1,60│2,01│0,66 │0,66 │0,51 │0,51 │1,17│3,18
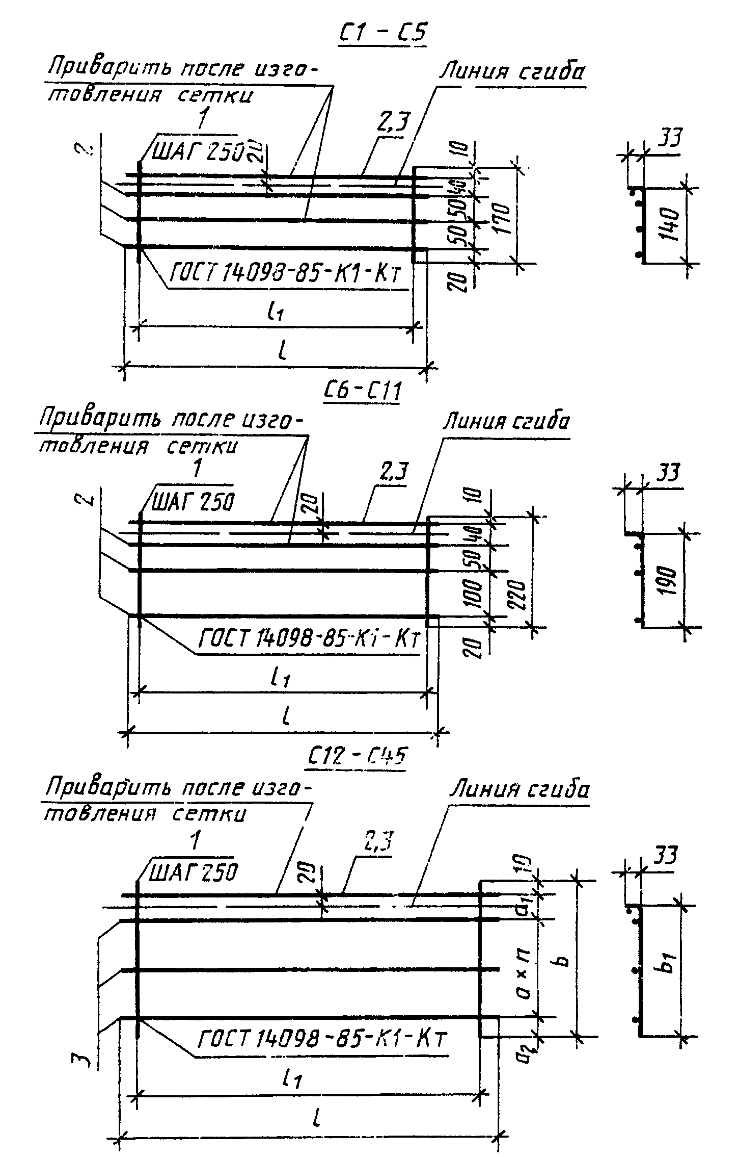
2. Форма и размеры арматурных сеток должны соответствовать указанным на черт. 4 и в табл. 4, а закладных изделий - на черт. 5.
Черт. 4
Таблица 4
Размеры арматурных сеток С1 - С45
─────┬─────────────────────────────────────────────────────────┬──
Марка│ Размеры в мм │n
сетки├────────┬────────┬───────┬───────┬───────┬───────┬───────┤
│ l │ l │ b │ b │ a │ a │ a │
│ │ 1 │ │ 1 │ │ 1 │ 2 │
─────┼────────┼────────┼───────┼───────┼───────┼───────┼───────┼──
С1 │680 │500 │- │- │- │- │- │-
С2 │980 │750 │ │ │ │ │ │
С3 │1430 │1250 │ │ │ │ │ │
С4 │2480 │2250 │ │ │ │ │ │
С5 │2780 │2500 │ │ │ │ │ │
─────┼────────┼────────┼───────┼───────┼───────┼───────┼───────┼──
С6 │690 │500 │- │- │- │- │- │-
С7 │980 │750 │ │ │ │ │ │
С8 │1430 │1250 │ │ │ │ │ │
С9 │2180 │2000 │ │ │ │ │ │
С10 │2480 │2250 │ │ │ │ │ │
С11 │2780 │2500 │ │ │ │ │ │
─────┼────────┼────────┼───────┼───────┼───────┼───────┼───────┼──
С12 │1280 │1000 │170 │140 │100 │40 │20 │-
С13 │1580 │1500 │ │ │ │ │ │
С14 │1880 │1750 │ │ │ │ │ │
С15 │2180 │2000 │ │ │ │ │ │
─────┼────────┼────────┼───────┼───────┤ ├───────┤ │
С16 │1280 │1000 │220 │190 │ │90 │ │
С17 │1580 │1500 │ │ │ │ │ │
С18 │1880 │1750 │ │ │ │ │ │
─────┼────────┼────────┼───────┼───────┤ ├───────┤ ├──
С19 │680 │500 │270 │240 │ │40 │ │2
С20 │980 │750 │ │ │ │ │ │
│ │ │ │ ├───────┤ │ ├──
С21 │1280 │1000 │ │ │200 │ │ │-
│ │ │ │ ├───────┤ │ ├──
С22 │1430 │1250 │ │ │100 │ │ │2
│ │ │ │ ├───────┤ │ ├──
С23 │1580 │1500 │ │ │200 │ │ │-
│ │ │ │ ├───────┤ │ ├──
С24 │1880 │1750 │ │ │100 │ │ │2
С25 │2180 │2000 │ │ │ │ │ │
С26 │2480 │2250 │ │ │ │ │ │
С27 │2780 │2500 │ │ │ │ │ │
─────┼────────┼────────┼───────┼───────┤ ├───────┼───────┼──
С28 │680 │500 │370 │340 │ │- │60 │3
│ │ │ │ │ ├───────┼───────┤
С29 │980 │750 │ │ │ │40 │20 │
С30 │1280 │1000 │ │ │ │ │ │
С31 │1430 │1250 │ │ │ │ │ │
│ │ │ │ │ ├───────┼───────┤
С32 │1580 │1500 │ │ │ │- │60 │
С33 │1880 │1750 │ │ │ │ │ │
│ │ │ │ │ ├───────┼───────┤
С34 │2180 │2000 │ │ │ │40 │20 │
С35 │2480 │2250 │ │ │ │ │ │
С36 │2780 │2500 │ │ │ │ │ │
─────┼────────┼────────┼───────┼───────┼───────┤ │ ├──
С37 │680 │500 │470 │440 │200 │ │ │2
│ │ │ │ ├───────┼───────┼───────┼──
С38 │980 │750 │ │ │100 │- │60 │4
С39 │1280 │1000 │ │ │ │ │ │
С40 │1430 │1250 │ │ │ │ │ │
С41 │1580 │1500 │ │ │ │ │ │
С42 │1880 │1750 │ │ │ │ │ │
│ │ │ │ ├───────┼───────┼───────┼──
С43 │2180 │2000 │ │ │200 │40 │20 │2
│ │ │ │ ├───────┼───────┼───────┼──
С44 │2480 │2250 │ │ │100 │- │60 │4
С45 │2780 │2500 │ │ │ │ │ │
Черт. 5
Спецификация и выборка стали на одну арматурную сетку приведены в табл. 5, а на одно закладное изделие - в табл. 6.
Таблица 5
Спецификация и выборка стали на одну
арматурную сетку
─────┬─────┬──────┬─────┬──────┬─────┬──────┬─────────────────────
Марка│Пози-│Эскиз │Диа- │Длина,│Коли-│Общая │ Выборка стали
сетки│ция │стерж-│метр,│ мм │чест-│длина,├─────┬──────┬────────
│ │ня │мм │ │во │ м │Диа- │Масса,│ Масса
│ │ │ │ │ │ │метр,│ кг │изделия,
│ │ │ │ │ │ │мм │ │ кг
─────┼─────┼──────┼─────┼──────┼─────┼──────┼─────┼──────┼────────
С1 │1 │- │3ВрI │170 │3 │0,51 │3ВрI │0,17 │0,17
│2 │ │3ВрI │680 │4 │2,72 │ │ │
─────┼─────┼──────┼─────┼──────┼─────┼──────┼─────┼──────┼────────
С2 │1 │- │3ВрI │170 │4 │0,68 │3ВрI │0,09 │0,36
│2 │ │4ВрI │980 │3 │2,94 │4ВрI │0,27 │
│3 │ │3ВрI │980 │1 │0,98 │ │ │
─────┼─────┼──────┼─────┼──────┼─────┼──────┼─────┼──────┼────────
С3 │1 │- │3ВрI │170 │6 │1,02 │3ВрI │0,13 │0,75
│2 │ │5ВрI │1430 │3 │4,29 │5ВрI │0,62 │
│3 │ │3ВрI │1430 │1 │1,43 │ │ │
─────┼─────┼──────┼─────┼──────┼─────┼──────┼─────┼──────┼────────
С4 │1 │- │3ВрI │170 │10 │1,70 │3ВрI │0,60 │0,60
│2 │ │3ВрI │2480 │4 │9,92 │ │ │
─────┼─────┼──────┼─────┼──────┼─────┼──────┼─────┼──────┼────────
С5 │1 │- │3ВрI │170 │11 │1,87 │3ВрI │0,68 │0,68
│2 │ │3ВрI │2780 │4 │11,12 │ │ │
─────┼─────┼──────┼─────┼──────┼─────┼──────┼─────┼──────┼────────
С6 │1 │- │3ВрI │220 │3 │0,66 │3ВрI │0,18 │0,18
│2 │ │3ВрI │680 │4 │2,72 │ │ │
─────┼─────┼──────┼─────┼──────┼─────┼──────┼─────┼──────┼────────
С7 │1 │- │3ВрI │220 │4 │0,88 │3ВрI │0,10 │0,37
│2 │ │4ВрI │980 │3 │2,94 │4ВрI │0,27 │
│3 │ │3ВрI │980 │1 │0,98 │ │ │
─────┼─────┼──────┼─────┼──────┼─────┼──────┼─────┼──────┼────────
С8 │1 │- │3ВрI │220 │6 │1,32 │3ВрI │0,14 │0,76
│2 │ │5ВрI │1430 │3 │4,29 │5ВрI │0,62 │
│3 │ │3ВрI │1430 │1 │1,43 │ │ │
─────┼─────┼──────┼─────┼──────┼─────┼──────┼─────┼──────┼────────
С9 │1 │- │3ВрI │220 │9 │1,98 │3ВрI │0,56 │0,56
│2 │ │3ВрI │2180 │4 │8,72 │ │ │
─────┼─────┼──────┼─────┼──────┼─────┼──────┼─────┼──────┼────────
С10 │1 │- │3ВрI │220 │10 │2,20 │3ВрI │0,63 │0,63
│2 │ │3ВрI │2480 │4 │9,92 │ │ │
─────┼─────┼──────┼─────┼──────┼─────┼──────┼─────┼──────┼────────
С11 │1 │- │3ВрI │220 │11 │2,42 │3ВрI │0,27 │1,04
│2 │ │4ВрI │2780 │3 │8,34 │4ВрI │0,77 │
│3 │ │3ВрI │2780 │1 │2,78 │ │ │
─────┼─────┼──────┼─────┼──────┼─────┼──────┼─────┼──────┼────────
С12 │1 │- │3ВрI │170 │5 │0,85 │3ВрI │0,11 │0,48
│2 │ │3ВрI │1280 │1 │1,28 │5ВрI │0,37 │
│3 │ │5ВрI │1280 │2 │2,56 │ │ │
─────┼─────┼──────┼─────┼──────┼─────┼──────┼─────┼──────┼────────
С13 │1 │- │3ВрI │170 │7 │1,19 │3ВрI │0,31 │0,31
│3 │ │3ВрI │1580 │3 │4,74 │ │ │
─────┼─────┼──────┼─────┼──────┼─────┼──────┼─────┼──────┼────────
С14 │1 │- │3ВрI │170 │8 │1,36 │3ВрI │0,36 │0,36
│3 │ │3ВрI │1880 │3 │5,64 │ │ │
─────┼─────┼──────┼─────┼──────┼─────┼──────┼─────┼──────┼────────
С15 │1 │- │3ВрI │170 │9 │1,53 │3ВрI │0,42 │0,42
│2 │ │3ВрI │2180 │3 │6,54 │ │ │
─────┼─────┼──────┼─────┼──────┼─────┼──────┼─────┼──────┼────────
С16 │1 │- │3ВрI │220 │5 │1,10 │3ВрI │0,12 │0,49
│2 │ │3ВрI │1280 │1 │1,28 │5ВрI │0,37 │
│3 │ │5ВрI │1280 │2 │2,56 │ │ │
─────┼─────┼──────┼─────┼──────┼─────┼──────┼─────┼──────┼────────
С17 │1 │- │3ВрI │220 │7 │1,54 │3ВрI │0,33 │0,33
│3 │ │3ВрI │1580 │3 │4,74 │ │ │
─────┼─────┼──────┼─────┼──────┼─────┼──────┼─────┼──────┼────────
С18 │1 │- │3ВрI │220 │8 │1,76 │3ВрI │0,38 │0,38
│3 │ │3ВрI │1880 │3 │5,64 │ │ │
─────┼─────┼──────┼─────┼──────┼─────┼──────┼─────┼──────┼────────
С19 │1 │- │3ВрI │270 │3 │0,81 │3ВрI │0,18 │0,18
│3 │ │3ВрI │680 │4 │2,72 │ │ │
─────┼─────┼──────┼─────┼──────┼─────┼──────┼─────┼──────┼────────
С20 │1 │- │3ВрI │270 │4 │1,08 │3ВрI │0,11 │0,38
│2 │ │3ВрI │980 │1 │0,98 │4ВрI │0,27 │
│3 │ │4ВрI │980 │3 │2,94 │ │ │
─────┼─────┼──────┼─────┼──────┼─────┼──────┼─────┼──────┼────────
С21 │1 │- │3ВрI │270 │5 │1,35 │3ВрI │0,14 │0,51
│2 │ │3ВрI │1280 │1 │1,28 │5ВрI │0,37 │
│3 │ │5ВрI │1280 │2 │2,56 │ │ │
─────┼─────┼──────┼─────┼──────┼─────┼──────┼─────┼──────┼────────
С22 │1 │- │3ВрI │270 │6 │1,62 │3ВрI │0,16 │0,78
│2 │ │3ВрI │1430 │1 │1,43 │5ВрI │0,62 │
│3 │ │5ВрI │1430 │3 │4,29 │ │ │
─────┼─────┼──────┼─────┼──────┼─────┼──────┼─────┼──────┼────────
С23 │1 │- │3ВрI │270 │7 │1,89 │3ВрI │0,34 │0,34
│3 │ │3ВрI │1580 │3 │4,74 │ │ │
─────┼─────┼──────┼─────┼──────┼─────┼──────┼─────┼──────┼────────
С24 │1 │- │3ВрI │270 │8 │2,16 │3ВрI │0,50 │0,50
│3 │ │3ВрI │1880 │4 │7,52 │ │ │
─────┼─────┼──────┼─────┼──────┼─────┼──────┼─────┼──────┼────────
С25 │1 │- │3ВрI │270 │9 │2,43 │3ВрI │0,58 │0,58
│3 │ │3ВрI │2180 │4 │8,72 │ │ │
─────┼─────┼──────┼─────┼──────┼─────┼──────┼─────┼──────┼────────
С26 │1 │- │3ВрI │270 │10 │2,70 │3ВрI │0,27 │0,95
│2 │ │3ВрI │2480 │1 │2,48 │4ВрI │0,68 │
│3 │ │4ВрI │2480 │3 │7,44 │ │ │
─────┼─────┼──────┼─────┼──────┼─────┼──────┼─────┼──────┼────────
С27 │1 │- │3ВрI │270 │11 │2,97 │3ВрI │0,30 │1,07
│2 │ │3ВрI │2780 │1 │2,78 │4ВрI │0,77 │
│3 │ │4ВрI │2780 │3 │8,34 │ │ │
─────┼─────┼──────┼─────┼──────┼─────┼──────┼─────┼──────┼────────
С28 │1 │- │3ВрI │370 │3 │1,11 │3ВрI │0,20 │0,20
│3 │ │3ВрI │680 │4 │2,72 │ │ │
─────┼─────┼──────┼─────┼──────┼─────┼──────┼─────┼──────┼────────
С29 │1 │- │3ВрI │370 │4 │1,48 │3ВрI │0,33 │0,33
│3 │ │3ВрI │980 │5 │4,90 │ │ │
─────┼─────┼──────┼─────┼──────┼─────┼──────┼─────┼──────┼────────
С30 │1 │- │3ВрI │370 │5 │1,85 │3ВрI │0,16 │0,63
│2 │ │3ВрI │1280 │1 │1,28 │4ВрI │0,47 │
│3 │ │4ВрI │1280 │4 │5,12 │ │ │
─────┼─────┼──────┼─────┼──────┼─────┼──────┼─────┼──────┼────────
С31 │1 │- │3ВрI │370 │6 │2,22 │3ВрI │0,19 │0,72
│2 │ │3ВрI │1430 │1 │1,43 │4ВрI │0,53 │
│3 │ │4ВрI │1430 │4 │5,72 │ │ │
─────┼─────┼──────┼─────┼──────┼─────┼──────┼─────┼──────┼────────
С32 │1 │- │3ВрI │370 │7 │2,59 │3ВрI │0,46 │0,46
│3 │ │3ВрI │1580 │4 │6,32 │ │ │
─────┼─────┼──────┼─────┼──────┼─────┼──────┼─────┼──────┼────────
С33 │1 │- │3ВрI │370 │8 │2,96 │3ВрI │0,54 │0,54
│3 │ │3ВрI │1880 │4 │7,52 │ │ │
─────┼─────┼──────┼─────┼──────┼─────┼──────┼─────┼──────┼────────
С34 │1 │- │3ВрI │370 │9 │3,33 │3ВрI │0,74 │0,74
│3 │ │3ВрI │2180 │5 │10,90 │ │ │
─────┼─────┼──────┼─────┼──────┼─────┼──────┼─────┼──────┼────────
С35 │1 │- │3ВрI │370 │10 │3,70 │3ВрI │0,32 │1,23
│2 │ │3ВрI │2480 │1 │2,48 │4ВрI │0,91 │
│3 │ │4ВрI │2480 │4 │9,92 │ │ │
─────┼─────┼──────┼─────┼──────┼─────┼──────┼─────┼──────┼────────
С36 │1 │- │3ВрI │370 │11 │4,07 │3ВрI │0,36 │1,38
│2 │ │3ВрI │2780 │1 │2,78 │4ВрI │1,02 │
│3 │ │4ВрI │2780 │4 │11,12 │ │ │
─────┼─────┼──────┼─────┼──────┼─────┼──────┼─────┼──────┼────────
С37 │1 │- │3ВрI │470 │3 │1,41 │3ВрI │0,21 │0,21
│3 │ │3ВрI │680 │4 │2,72 │ │ │
─────┼─────┼──────┼─────┼──────┼─────┼──────┼─────┼──────┼────────
С38 │1 │- │3ВрI │470 │4 │1,88 │3ВрI │0,35 │0,35
│3 │ │3ВрI │980 │5 │4,90 │ │ │
─────┼─────┼──────┼─────┼──────┼─────┼──────┼─────┼──────┼────────
С39 │1 │- │3ВрI │470 │5 │2,35 │3ВрI │0,19 │0,66
│2 │ │3ВрI │1280 │1 │1,28 │4ВрI │0,47 │
│3 │ │4ВрI │1280 │4 │5,12 │ │ │
─────┼─────┼──────┼─────┼──────┼─────┼──────┼─────┼──────┼────────
С40 │1 │- │3ВрI │470 │6 │2,82 │3ВрI │0,22 │0,75
│2 │ │3ВрI │1430 │1 │1,43 │4ВрI │0,53 │
│3 │ │4ВрI │1430 │4 │5,72 │ │ │
─────┼─────┼──────┼─────┼──────┼─────┼──────┼─────┼──────┼────────
С41 │1 │- │3ВрI │470 │7 │3,29 │3ВрI │0,58 │0,58
│3 │ │3ВрI │1580 │5 │7,90 │ │ │
─────┼─────┼──────┼─────┼──────┼─────┼──────┼─────┼──────┼────────
С42 │1 │- │3ВрI │470 │8 │3,76 │3ВрI │0,68 │0,68
│3 │ │3ВрI │1880 │5 │9,40 │ │ │
─────┼─────┼──────┼─────┼──────┼─────┼──────┼─────┼──────┼────────
С43 │1 │- │3ВрI │470 │9 │4,23 │3ВрI │0,33 │0,93
│2 │ │3ВрI │2180 │1 │2,18 │4ВрI │0,60 │
│3 │ │4ВрI │2180 │3 │6,54 │ │ │
─────┼─────┼──────┼─────┼──────┼─────┼──────┼─────┼──────┼────────
С44 │1 │- │3ВрI │470 │10 │4,70 │3ВрI │0,37 │1,28
│2 │ │3ВрI │2480 │1 │2,48 │4ВрI │0,91 │
│3 │ │4ВрI │2480 │4 │9,92 │ │ │
─────┼─────┼──────┼─────┼──────┼─────┼──────┼─────┼──────┼────────
С45 │1 │- │3ВрI │470 │11 │5,17 │3ВрI │0,41 │2,01
│2 │ │3ВрI │2780 │1 │2,78 │5ВрI │1,60 │
│3 │ │5ВрI │2780 │4 │11,12 │ │ │
Таблица 6
Спецификация и выборка стали на одно закладное изделие
─────┬─────┬───────────┬───────┬────┬─────┬────┬──────────────────
Марка│Пози-│ Эскиз │Диаметр│Дли-│Коли-│Мас-│ Выборка стали
изде-│ция │ стержня │или се-│на, │чест-│са, ├───────┬────┬─────
лия │ │(размеры в │чение, │мм │во │кг │Диаметр│Дли-│Масса
│ │ мм) │мм │ │ │ │или се-│на, │изде-
│ │ │ │ │ │ │чение, │м │лия,
│ │ │ │ │ │ │мм │ │кг
─────┼─────┼───────────┼───────┼────┼─────┼────┼───────┼────┼─────
М1 │1 │Полоса │-60 х 6│80 │1 │0,17│-60 х 6│0,08│0,39
├─────┼───────────┼───────┼────┼─────┼────┼───────┼────┤
М2 │2 │ │8AIII │284 │2 │0,22│8AIII │0,57│
│ │ │ │ │ │ │ │ │
│ │ │ │ │ │ │ │ │
3. Марки плит на чертежах и таблицах настоящего обязательного приложения приведены без указания вида бетона и отделки верхних лицевых поверхностей плит.