Главная // Актуальные документы // ГОСТ (Государственный стандарт)
СПРАВКА
Источник публикации
М.: Стандартинформ, 2017
Примечание к документу
Документ включен в Перечень международных и региональных (межгосударственных) стандартов, а в случае их отсутствия - национальных (государственных) стандартов, в результате применения которых на добровольной основе обеспечивается соблюдение требований технического регламента Таможенного союза "О безопасности низковольтного оборудования" (ТР ТС 004/2011), и в Перечень международных и региональных (межгосударственных) стандартов, а в случае их отсутствия - национальных (государственных) стандартов, содержащих правила и методы исследований (испытаний) и измерений, в том числе правила отбора образцов, необходимые для применения и исполнения требований технического регламента Таможенного союза "О безопасности низковольтного оборудования" (ТР ТС 004/2011) и осуществления оценки соответствия объектов технического регулирования (Решение Коллегии Евразийской экономической комиссии от 11.05.2023 N 55).

Текст данного документа приведен с учетом поправки, опубликованной в "ИУС", N 9, 2022.

Документ введен в действие с 01.07.2018.

Взамен ГОСТ 30011.7.2-2012 (IEC 60947-7-2:2002).
Название документа
"ГОСТ IEC 60947-7-2-2016. Межгосударственный стандарт. Аппаратура распределения и управления низковольтная. Часть 7-2. Электрооборудование вспомогательное. Колодки клеммные защитных проводников для присоединения медных проводников"
(введен в действие Приказом Росстандарта от 23.05.2017 N 406-ст)

"ГОСТ IEC 60947-7-2-2016. Межгосударственный стандарт. Аппаратура распределения и управления низковольтная. Часть 7-2. Электрооборудование вспомогательное. Колодки клеммные защитных проводников для присоединения медных проводников"
(введен в действие Приказом Росстандарта от 23.05.2017 N 406-ст)


Содержание


Введен в действие
Приказом Федерального
агентства по техническому
регулированию и метрологии
от 23 мая 2017 г. N 406-ст
МЕЖГОСУДАРСТВЕННЫЙ СТАНДАРТ
АППАРАТУРА РАСПРЕДЕЛЕНИЯ И УПРАВЛЕНИЯ НИЗКОВОЛЬТНАЯ
Часть 7-2
ЭЛЕКТРООБОРУДОВАНИЕ ВСПОМОГАТЕЛЬНОЕ.
КОЛОДКИ КЛЕММНЫЕ ЗАЩИТНЫХ ПРОВОДНИКОВ
ДЛЯ ПРИСОЕДИНЕНИЯ МЕДНЫХ ПРОВОДНИКОВ
Low-voltage switchgear and controlgear. Part 7-2.
Ancillary equipment. Protective conductor terminal
blocks for copper conductors
(IEC 60947-7-2:2009, IDT)
ГОСТ IEC 60947-7-2-2016
Группа Е17
МКС 29.240.30
Дата введения
1 июля 2018 года
Предисловие
Цели, основные принципы и основной порядок проведения работ по межгосударственной стандартизации установлены в ГОСТ 1.0-2015 "Межгосударственная система стандартизации. Основные положения" и ГОСТ 1.2-2015 "Межгосударственная система стандартизации. Стандарты межгосударственные, правила, рекомендации по межгосударственной стандартизации. Правила разработки, принятия, обновления и отмены"
Сведения о стандарте
1 ПОДГОТОВЛЕН Автономной некоммерческой организацией "НТЦ "Энергия" на основе собственного перевода на русский язык англоязычной версии стандарта, указанного в пункте 5
2 ВНЕСЕН Федеральным агентством по техническому регулированию и метрологии
3 ПРИНЯТ Межгосударственным советом по стандартизации, метрологии и сертификации (протокол от 25 октября 2016 г. N 92-П)
За принятие проголосовали:
Краткое наименование страны по МК (ИСО 3166) 004-97
Код страны по МК (ИСО 3166) 004-97
Сокращенное наименование национального органа по стандартизации
Беларусь
BY
Госстандарт Республики Беларусь
Грузия
GE
Грузстандарт
Казахстан
KZ
Госстандарт Республики Казахстан
Киргизия
KG
Кыргызстандарт
Россия
RU
Росстандарт
Таджикистан
TJ
Таджикстандарт
Узбекистан
UZ
Узстандарт
4 Приказом Федерального агентства по техническому регулированию и метрологии от 23 мая 2017 г. N 406-ст межгосударственный стандарт ГОСТ IEC 60947-7-2-2016 введен в действие в качестве национального стандарта Российской Федерации с 1 июля 2018 г.
5 Настоящий стандарт идентичен международному стандарту IEC 60947-7-2:2009 "Аппаратура распределения и управления низковольтная. Часть 7-2. Электрооборудование вспомогательное. Колодки клеммные защитных проводников для присоединения медных проводников" ("Low-voltage switchgear and controlgear - Part 7-2: Ancillary equipment - Protective conductor terminal blocks for copper conductors" IDT).
Международный стандарт IEC 60947-7-2:2009 разработан Международным техническим подкомитетом 17B "Низковольтная аппаратура распределения и управления" Технического комитета 17 "Аппаратура распределения и управления" Международной электротехнической комиссии (IEC).
При применении настоящего стандарта рекомендуется использовать вместо ссылочных международных стандартов соответствующие им межгосударственные стандарты, сведения о которых приведены в дополнительном приложении ДА
6 ВЗАМЕН ГОСТ 30011.7.2-2012 (IEC 60947-7-2:2002)
Информация об изменениях к настоящему стандарту публикуется в ежегодном информационном указателе "Национальные стандарты", а текст изменений и поправок - в ежемесячном информационном указателе "Национальные стандарты". В случае пересмотра (замены) или отмены настоящего стандарта соответствующее уведомление будет опубликовано в ежемесячном информационном указателе "Национальные стандарты". Соответствующая информация, уведомление и тексты размещаются также в информационной системе общего пользования - на официальном сайте Федерального агентства по техническому регулированию и метрологии в сети Интернет (www.gost.ru)
Введение
Настоящий стандарт входит в комплекс межгосударственных стандартов на низковольтную аппаратуру распределения и управления.
Основополагающий международный стандарт этого комплекса - IEC 60947-1 "Аппаратура распределения и управления низковольтная. Часть 1. Общие требования".
Настоящий стандарт устанавливает требования к клеммным колодкам защитных проводников для присоединения медных проводников и дополняет требования международного стандарта IEC 60947-7-1 "Аппаратура распределения и управления низковольтная. Часть 7-1. Колодки клеммные для медных проводников".
Настоящий стандарт может быть использован при оценке соответствия клеммных колодок защитных проводников требованиям технических регламентов.
1. Общие положения
1.1 Область применения
Настоящий стандарт устанавливает требования к клеммным колодкам защитных проводников с функцией PE сечением до 120 мм2 (250 kcmil) и к клеммным колодкам защитных проводников с функцией PEN номинальным сечением 10 мм2 (AWG 8) и свыше с выводными зажимами винтового или безвинтового типа преимущественно общепромышленного назначения.
Примечание - AWG - сокращенное наименование "Американский сортамент проводов" (сортаменты США и Великобритании одинаковы).
kcmil = 1000 cmil;
1 cmil = 1 круглую mil = сечению окружности диаметром 1 mil;
1 mil = 1/1000 дюйма.
Клеммные колодки защитных проводников (далее - клеммные колодки) служат средством электрического и механического соединения медных проводников с установочными панелями.
Настоящий стандарт распространяется на клеммные колодки для присоединения круглых медных проводников (со специальной подготовкой или без нее) номинального сечения от 0,2 до 120 мм2 (AWG 24 и 250 kcmil), применяемые в цепях переменного тока напряжением до 1000 В частотой до 1000 Гц и в цепях постоянного тока напряжением до 1500 В, как правило, в сочетании с клеммными колодками по IEC 60947-7-1.
Настоящий стандарт может применяться в качестве руководства к:
- клеммным колодкам защитных проводников, требующим соединения проводников со специальной подготовкой, например применения плоских быстросоединяемых наконечников, специальных наконечников и т.п.;
- клеммным колодкам защитных проводников, обеспечивающих прямой контакт с проводниками посредством проникания сквозь изоляцию, например соединители с проколом изоляции и т.п.
Для целей настоящего стандарта термин "зажим" аналогичен термину "вывод". Это следует учесть при ссылках на IEC 60947-1.
1.2 Нормативные ссылки
В настоящем стандарте использованы нормативные ссылки на следующие ссылочные стандарты. Для датированных ссылок применяют только указанное издание ссылочного стандарта, для недатированных ссылок применяют последнее издание ссылочного стандарта (включая все его изменения).
IEC 60439-1:1999 <1>, Low-voltage switchgear and controlgear assemblies - Part 1: Type-tested and partially type-tested assemblies (Аппаратура коммутационная и механизмы управления низковольтные комплектные. Часть 1. Общие правила)
--------------------------------
<1> Действует IEC 61439-1:2011. Однако, для однозначного соблюдения требования настоящего стандарта, выраженного в датированной ссылке, рекомендуется использовать только указанное в этой ссылке издание.
IEC 60715:1981, Dimensions of low-voltage switchgear and controlgear. Standardized mounting on rails for mechanical support of electrical devices in switchgear and controlgear installations (Аппараты коммутационные низковольтные и механизмы управления. Стандартизованные размеры для монтажа на направляющих для механической поддержки электроприборов)
IEC 60947-1:2007 <2>, Low-voltage switchgear and controlgear - Part 1: General rules (Устройство распределительное комплектное. Часть 1. Общие правила)
--------------------------------
<2> Действует IEC 60947-1:2014. Однако, для однозначного соблюдения требования настоящего стандарта, выраженного в датированной ссылке, рекомендуется использовать только указанное в этой ссылке издание.
IEC 60947-7-1 Low-voltage switchgear and controlgear - Part 7-1: Ancillary equipment - Terminal blocks for copper conductors (Аппаратура коммутационная и механизмы управления низковольтные комплектные. Часть 7-1. Вспомогательная аппаратура. Клеммные колодки для медных проводников)
2. Термины и их определения
В настоящем стандарте применены термины по IEC 60947-7-1, а также следующие термины с соответствующими определениями:
2.1 клеммная колодка защитных проводников (protective conductor terminal block): Устройство с одним или более фиксирующим узлом, предназначенное для присоединения и/или токоведущего соединения защитных проводников (PE и PEN) с установочными панелями, конструкцией которых могут быть предусмотрены фиксирующие устройства резьбового или безвинтового типа.
Примечания
1 Установочными панелями могут служить, например, монтажные рейки, листы металла с вырезками, монтажные плиты и т.п.
2 Клеммная колодка для защитных проводников может быть либо частично изолирована, либо не изолирована. Для нее не требуется рабочей изоляции.
2.2 частично изолированная клеммная колодка защитных проводников (partially insulated protective conductor terminal block): Клеммная колодка защитных проводников, изолированная только от частей, находящихся под напряжением, других устройств, но не от установочной панели.
2.3 проводник PEN (PEN conductor): Заземленный проводник, сочетающий в себе функции защитного и нейтрального проводников.
Примечание - Сочетание PEN - результат комбинации символа PE для защитных проводников и символа N для нейтральных проводников (см. IEC 60947-1, пункт 2.1.15).
3. Классификация
Клеммные колодки классифицируют по следующим признакам:
- способу крепления клеммной колодки защитных проводников к панели;
- типу выводного зажима: винтового типа или безвинтового типа;
- способности присоединять проводники со специальной подготовкой или без нее (например, кабельными наконечниками);
- аналогичным или различным зажимным узлам в выводном устройстве;
- числу выводов в каждом выводном устройстве;
- условиям эксплуатации;
- наличию функций PE или PEN.
4. Характеристики
4.1. Перечень характеристик
Применяют IEC 60947-7-1, подраздел 4.1.
4.2. Тип клеммной колодки защитных проводников
Применяют IEC 60947-7-1, подраздел 4.2.
4.3. Номинальные и предельные значения характеристик
4.3.1 Вакантный
4.3.2 Кратковременно выдерживаемый ток (клеммной колодки)
Применяют IEC 60947-7-1, подпункт 4.3.2.
4.3.3 Стандартные поперечные сечения
Применяют IEC 60947-7-1, подпункт 4.3.3 со следующим дополнением.
Согласно области применения настоящего стандарта, IEC 60947-7-1, таблица 1 действует только для сечений до 120 мм2 (250 kcmil).
4.3.4 Номинальное поперечное сечение
Применяют IEC 60947-7-1, подпункт 4.3.4.
4.3.5 Номинальная присоединительная способность
Применяют IEC 60947-7-1, подпункт 4.3.5, за исключением использования одного проводника, присоединяемого в один зажим, как указано в IEC 60439-1, подпункт 7.4.3.1.6 и в соответствии с таблицей 1.
Изготовитель должен указать типы, максимальное и минимальное поперечные сечения присоединяемых проводников и, если приемлемо, то число проводников, одновременно присоединяемых к каждому выводу. Изготовитель должен также предупредить о необходимости подготовки конца проводника.
5. Информация об аппарате
5.1. Маркировка
Клеммная колодка защитных проводников должна обеспечиваться прочной и четкой маркировкой, содержащей следующие данные:
a) наименование или товарный знак изготовителя для его идентификации:
b) обозначение типа изделия, позволяющее легко его идентифицировать для получения соответствующей информации от изготовителя или из каталогов изготовителя.
Таблица 1
Взаимосвязь между номинальным сечением и номинальной
присоединительной способностью клеммной колодки
защитных проводников
Номинальное сечение
Номинальная присоединительная способность
мм2
AWG
мм2
AWG
0,2
24
0,2
24
0,34
22
0,2 - 0,34
24 - 22
0,5
20
0,2 - 0,34 - 0,5
24 - 22 - 20
0,75
18
0,34 - 0,5 - 0,75
22 - 20 - 18
1
-
0,5 - 0,75 - 1
-
1,5
16
0,75 - 1 - 1,5
20 - 18 - 16
2,5
14
1 - 1,5 - 2,5
18 - 16 - 14
4
12
1,5 - 2,5 - 4
16 - 14 - 12
6
10
2,5 - 4 - 6
14 - 12 - 10
10
8
4 - 6 - 10
12 - 10 - 8
16
6
6 - 10 - 16
10 - 8 - 6
25
4
10 - 16 - 25
8 - 6 - 4
35
2
16 - 25 - 35
6 - 4 - 2
50
0
25 - 35 - 50
4 - 2 - 0
70
00
35 - 50 - 70
2 - 0 - 00
95
000
50 - 70 - 95
0 - 00 - 000
120
250
70 - 95 - 120
00 - 000 - 250
5.2. Дополнительная информация
Следующая информация должна быть указана изготовителем, если применимо, например, в техническом описании или каталоге изготовителя, или наноситься на элементы упаковки:
a) обозначение IEC 60947-7-2, если изготовитель заявляет о соответствии клеммной колодки данному стандарту;
b) номинальное поперечное сечение проводников;
c) номинальная присоединительная способность, если она не соответствует таблице 1;
d) условия эксплуатации, если они отличаются от указанных в разделе 6.
Если присоединительная способность клеммной колодки защитных проводников составляет не менее 10 мм2 (AWG 8), изготовитель должен маркировать, что она предназначена для присоединения только PE проводников.
Примечание - Маркировки, обозначающей пригодность для выполнения функций PE + PEN, не существует.
6. Условия нормальной эксплуатации, монтажа
и транспортирования
Применяют IEC 60947-1, раздел 6.
7. Требования к конструкции и работоспособности
7.1. Требования к конструкции
7.1.1 Выводные зажимы
Применяют IEC 60947-7-1, пункт 7.1.1 со следующими дополнениями.
Клеммные колодки защитных проводников должны обеспечивать надежный контакт между подсоединяемым проводом и выводным зажимом и между выводным зажимом и установочной панелью.
Выводные зажимы должны быть способны выдерживать усилия, которые могут быть приложены к присоединенным проводникам, когда колодка смонтирована на опоре.
Соответствие проверяют осмотром и испытаниями по IEC 60947-7-1, подпункты 8.3.3.1 - 8.3.3.3.
7.1.2 Крепление к установочной панели
Конструкция клеммных колодок защитных проводников должна обеспечивать их надежное крепление к установочной панели и исключать возникновение гальванической коррозии в месте крепления.
Конструкция клеммной колодки должна иметь элементы крепления, обеспечивающие надежное токопроводящее соединение с установочной панелью.
Отсоединение от установочной панели должно быть осуществимо только с помощью инструмента.
Испытание следует проводить в соответствии с IEC 60947-7-1, пункт 8.3.2.
Примечание - Информацию по монтажу на рейках можно найти в IEC 60715.
7.1.3 Воздушные зазоры и расстояния утечки
Для клеммных колодок защитных проводников не предъявляют требований к воздушным зазорам и расстояниям утечки.
Примечание - Значения воздушных зазоров и расстояний утечки между клеммными колодками защитных проводников и клеммными колодками, соответствующими IEC 60947-7-1, могут быть установлены в соответствии с IEC 60947-7-1, пункт 7.1.3.
7.1.4 Идентификация и маркировка выводов
Применяют IEC 60947-7-1, пункт 7.1.4 следующим дополнением.
Частично изолированная клеммная колодка защитных проводников должна иметь желто-зеленую окраску.
7.1.5 Стойкость к аномальному нагреву и огню
Применяют IEC 60947-7-1, пункт 7.1.5.
7.1.6 Способность к присоединению
Применяют IEC 60947-7-1, пункт 7.1.6.
7.1.7 Использование монтажных реек для защитных проводников
Монтажные рейки могут быть использованы в качестве токопроводящих шин для защитных проводников при условии, что значения теплового кратковременно выдерживаемого тока и теплового номинального тока не превышают значений, указанных в таблице А.1.
В таблице А.1 приведены примеры стандартизованных профильных монтажных реек.
Шины для стальных защитных проводников не разрешены к использованию в качестве проводников PEN.
Примечание - Требуются специальные испытания клеммных колодок с присоединением алюминиевых проводников к медным проводникам или алюминиевых проводников к проводникам из медного сплава.
7.2. Требования к работоспособности
7.2.1 Превышение температуры
Когда клеммные колодки защитных проводников для обеспечения PEN функции испытывают в соответствии с 8.4.5, превышение температуры выводов не должно быть более 45 °C.
7.2.2 Электроизоляционные свойства
Клеммные колодки защитных проводников, устанавливаемые непосредственно рядом с клеммными колодками, соответствующими IEC 60947-7-1, должны выдержать испытание на электрическую прочность изоляции согласно 8.4.3.
7.2.3 Номинальный кратковременно выдерживаемый ток
Клеммная колодка защитных проводников должна быть способна проводить в течение 1 с номинальный кратковременно выдерживаемый ток, который соответствует величине 120 А на 1 мм2 присоединяемого номинального поперечного сечения, согласно 8.4.6.
7.2.4 Падение напряжения
Значение падения напряжения, вызываемого присоединенными проводниками и присоединением к установочной панели клеммной колодки защитных проводников в соответствии с 8.4.4, не должно превышать значений, указанных в 8.4.4, и, если применимо, в 8.4.7.
7.2.5 Электрическая работоспособность после испытаний на температурный износ (только для клеммных колодок безвинтового типа)
Клеммные колодки защитных проводников должны быть способны выдерживать испытание на износ воздействием 192 температурных циклов согласно 8.4.7.
7.3. Электромагнитная совместимость (ЭМС)
Применяют IEC 60947-7-1, подраздел 7.3.
8. Испытания
8.1. Виды испытаний
Применяют IEC 60947-7-1, подраздел 8.1.
8.2. Общие положения
Применяют IEC 60947-7-1, подраздел 8.2.
8.3. Проверка механических характеристик
Применяют IEC 60947-7-1, подраздел 8.3, в котором 8.3.3.1 должен быть изменен следующим образом.
8.3.1 Испытания механических характеристик выводных зажимов
Применяют IEC 60947-1, пункты 8.2.4.1 и 8.2.4.2 со следующими дополнениями.
Испытание сначала проводят на двух центральных клеммных колодках защитных проводников из пяти клеммных колодок, установленных как для нормальных условий применения и закрепленных на установочной панели согласно инструкции изготовителя.
После проверки падения напряжения Ucc согласно 8.4.4 с присоединенными проводниками номинального сечения, указанного изготовителем и затем, если применимо, с проводниками минимального сечения, указанного изготовителем, жесткие проводники номинального сечения должны быть присоединены и отсоединены пять раз.
По окончании этого испытания клеммная колодка защитных проводников должна быть испытана на проверку падения напряжения Ucc согласно 8.4.4 с присоединенными жесткими проводниками номинального сечения, а затем, если применимо, с гибкими проводниками минимального сечения.
Затем падение напряжения Ucs измеряют на клеммной колодке защитных проводников с присоединенными жесткими проводниками номинального сечения.
Клеммная колодка защитных проводников должна быть установлена и снята с установочной панели пять раз.
После этого на клеммной колодке защитных проводников измеряют падение напряжения Ucs по 8.4.4.
8.4. Проверка электрических характеристик
8.4.1 Общие положения
Проверка электрических характеристик включает в себя:
- испытание на электрическую прочность (см. 8.4.3);
- проверку падения напряжения (см. 8.4.4);
- испытание на превышение температуры (см. 8.4.5);
- испытание на кратковременно выдерживаемый ток (см. 8.4.6);
- испытание на износ (только для клеммных колодок безвинтового типа) (см. 8.4.7).
8.4.2 Вакантный
8.4.3 Испытания изоляционных характеристик
Данному испытанию подвергают только клеммные колодки защитных проводников с частичной изоляцией, предназначенные для установки в непосредственной близости от клеммных колодок, соответствующих IEC 60947-7-1.
Испытания проводят на клеммных колодках защитных проводников одной серии и типоразмера, установленных согласно инструкции изготовителя.
a) Если изготовитель указал значение выдерживаемого импульсного напряжения Uimp, испытание на выдерживаемое импульсное напряжение проводится в соответствии с IEC 60947-1, подпункт 8.3.3.4.1, перечисление 2), исключая перечисление 2) c), если оно не применимо.
b) При указании значения номинального напряжения изоляции, испытания на проверку изоляции выдерживаемым напряжением промышленной частоты проводятся в соответствии с IEC 60947-1, подпункт 8.3.3.4.1, перечисление 3). Значения испытательных напряжений должны соответствовать IEC 60947-1, таблица 12А (приложение А) (см. IEC 60947-1, подпункт 8.3.3.4.1, перечисления 3) b) и 3) i)).
Клеммные колодки защитных проводников и клеммные колодки с подключенными проводниками должны быть смонтированы на металлическом основании в соответствии с рисунком 1 и условиями, указанными в IEC 60947-7-1, пункт 8.44.2.1, перечисления a), b) и c).
Испытательное напряжение прилагают между клеммной колодкой защитных проводников и клеммной колодкой.
8.4.4 Проверка падения напряжения
Падение напряжения проверяют:
ИС МЕГАНОРМ: примечание.
В официальном тексте документа, видимо, допущена опечатка: пункт 8.3.3.1 отсутствует.
a) до и после испытания на механическую прочность выводов (см. 8.3.3.1);
b) до и после испытания на превышение температуры (см. 8.4.5);
c) до и после испытания на кратковременно выдерживаемый ток (см. 8.4.6);
d) до, во время и после испытания на температурный износ (см. 8.4.7).
Условия соответствия указаны в 8.3.3.1, 8.4.5 - 8.4.7.
Если присоединяют защитный проводник к стальным панелям с хромированной поверхностью, хромовое покрытие следует снять в точках контакта перед присоединением, за исключением испытания на кратковременно выдерживаемый ток согласно 8.4.6, для которого падение напряжения измеряют только после испытания.
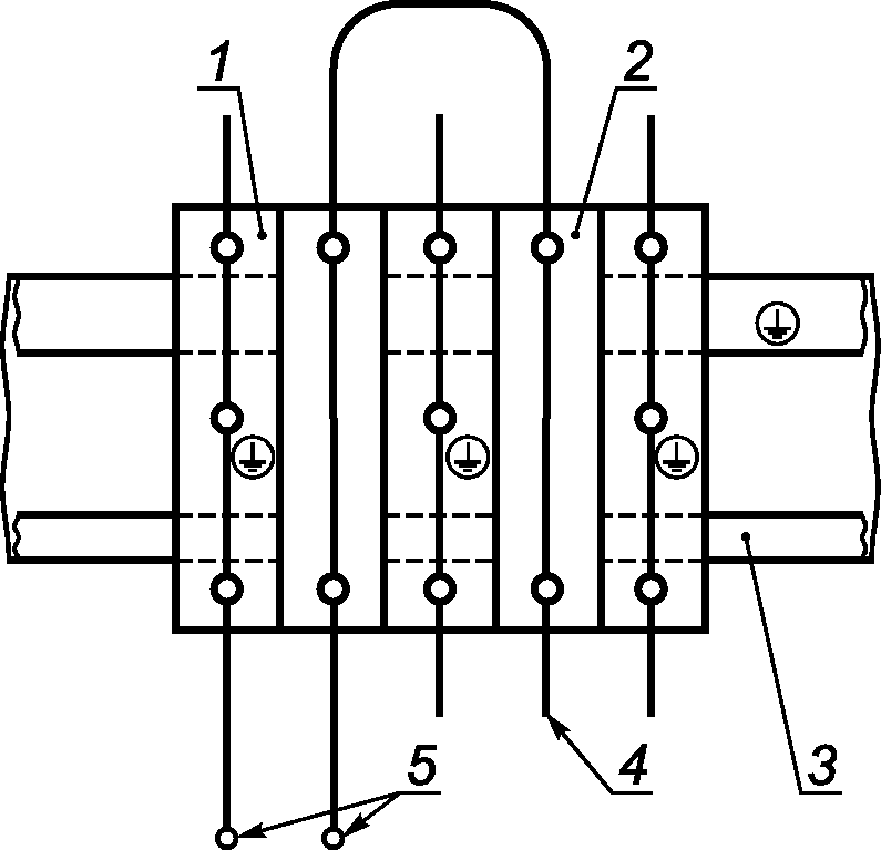
Падение напряжения измеряют на каждой клеммной колодке в соответствии с рисунком 2. Измерение проводят при нагрузке постоянным током, равным 0,1 указанного в IEC 60947-7-1, таблица 4 или таблица 5.
1 - клеммная колодка защитных проводников; 2 - клеммная
колодка; 3 - рейка крепления; 4 - концы проводников;
5 - прикладываемое напряжение
Рисунок 1 - Схема проверки изоляционных характеристик
1 - места измерения падения напряжения
Рисунок 2 - Схема измерений при испытаниях
падения напряжения
До испытаний по вышеуказанным перечислениям a), b), c) и d) падение напряжения Ucc не должно превышать 3,2 мВ, падение напряжения Ucs не должно превышать 6,4 мВ, с учетом того, что для металлического основания с хромированным покрытием измерения проводят после испытания по перечислению c).
Если измеренные падения напряжения Ucc и Ucs превышают 3,2 мВ или 6,4 мВ, необходимо провести измерения индивидуально на каждом выводном зажиме клеммных колодок, при этом полученные значения не должны превышать 1,6 мВ и 4,8 мВ соответственно.
После испытаний по вышеуказанным перечислениям a), b) и c), измеренные значения падения напряжения Ucc и Ucs не должны быть выше 4,8 мВ и 9,6 мВ соответственно, или 150% соответствующих значений, полученных при измерении до испытаний.
В процессе и после испытаний по вышеуказанному перечислению d), измеренные значения падения напряжения Ucc и Ucs не должны быть выше значений, указанных в 8.4.7.
8.4.5 Испытание на превышение температуры
Данному испытанию подвергают только клеммные колодки защитных проводников с функцией PEN номинального поперечного сечения 10 мм2 (AWG 8) и более. Применительно к таким клеммным колодкам значения теплового номинального тока, протекающего по рейкам, указанные в таблице А.1 следует рассматривать в качестве предельных значений.
Стальные панели не допускаются. Испытательная цепь должна быть расположена горизонтально, на деревянной поверхности (например, крышке стола или полу), как показано на рисунках 3 и 4. Проводники должны свободно лежать на поверхности.
При проведении испытаний следует использовать проводники в поливинилхлоридной изоляции номинального поперечного сечения.
Если возможно, присоединение проводников и крепление клеммной колодки к панели следует выполнять приложением крутящих моментов, значения которых указаны в IEC 60947-1, таблица 4 или, альтернативно, при установленных изготовителем максимальных крутящих моментах.
Минимальная длина L (см. рис. 3 и 4) проводников должна быть 1 м для номинальных сечений до 10 мм2 (AWG 8) включительно и 2 м для больших значений.
Проводники должны быть жесткими многожильными.
В течение испытаний винты выводных зажимов не должны подтягиваться.
1 - место измерения превышения температуры;
L - проводники длиною 1 м
Рисунок 3 - Схема измерений при испытаниях превышения
температуры при испытании по перечислению a)
1 - место измерения превышения температуры;
2 - рейка крепления колодок; L - проводники длиною 1 м
Рисунок 4 - Схема измерений при испытаниях превышения
температуры при испытании по перечислению b)
Предусмотрены испытания двух групп:
a) Пять клеммных колодок защитных проводников устанавливают рядом без панели (см. рисунок 3). Температуру измеряют на средней колодке.
b) Пять клеммных колодок защитных проводников устанавливают рядом на панели (см. рисунок 4), две внешние клеммные колодки защитных проводников соединяют через панель. Температуру измеряют на двух внешних клеммных колодках защитных проводников.
После проверки падения напряжения по 8.4.4, испытание проводят переменным однофазным током с соответствующими проводниками номинальных сечений, указанных в IEC 60947-7-1, таблицы 4 или 5 и продолжают до достижения установившейся температуры. Если разница между результатами двух из трех последовательных измерений, выполненных с интервалом в 5 мин, составляет менее 1 °C, температуру считают установившейся.
Превышение температуры любой части клеммной колодки, расположенной в центре, не должно выходить за пределы, указанные в 7.2.1.
По окончании испытания и охлаждении до температуры окружающей среды клеммные колодки без изменений в монтаже должны быть способны выдерживать испытание на падение напряжения согласно 8.4.4 в точках измерений, указанных на рисунке 2.
8.4.6 Испытание на кратковременно выдерживаемый ток
Цель данного испытания заключается в проверке способности клеммной колодки выдерживать тепловые нагрузки.
Испытание проводят на одной клеммной колодке, установленной согласно указанию изготовителя. К зажимам должны быть присоединены проводники номинального сечения с моментами затяжки винтов согласно IEC 60947-1, таблица 4, или, альтернативно, в соответствии с значением максимального крутящего момента указанного изготовителем.
Проводники номинальных сечений менее 10 мм2 (AWG 8) должны быть одножильными; проводники номинальных сечений не менее 10 мм2 (AWG 8) должны быть жесткими многожильными.
Испытательный ток подают один раз по пути тока 1-1 и второй раз по пути тока 2-2 согласно рисунку 5.
Рисунок 5 - Схема испытания на тепловой кратковременно
выдерживаемый ток
Между импульсами тока выдерживают паузу не менее 6 мин.
По окончании испытания не должно быть повреждений частей клеммной колодки, способных нарушить ее дальнейшую эксплуатацию. После охлаждения до температуры окружающей среды, без внесения изменений в испытательную установку клеммная колодка защитных проводников должна быть способна выдержать испытание на падение напряжения согласно 8.4.4.
8.4.7 Испытание на температурный износ клеммных колодок безвинтового типа
Пять клеммных колодок защитных проводников устанавливают рядом без крепления на панели (см. рисунок 3).
Проводники сечением менее 10 мм2 (AWG 8) должны быть одножильными, сечением не менее 10 мм2 (AWG 8) - жесткими многожильными.
Минимальная длина проводников-перемычек должна быть 300 мм.
Если присоединение к панели предусмотрено без резьбовых элементов крепления, пять клеммных колодок устанавливают рядом на профильной рейке (см. рисунок 4).
ИС МЕГАНОРМ: примечание.
Текст дан в соответствии с официальным текстом документа.
При испытании применяют термостойкие изолированные или неизолированные проводниками номинального сечения.
Клеммные колодки защитных проводников помещают в камеру тепла, выдерживают при температуре (20 +/- 2) °C и затем измеряют падение напряжения согласно 8.4.4.
Испытательная установка (собранная схема) не должна перемещаться до окончания измерений падения напряжения.
Клеммные колодки защитных проводников подвергают воздействию 192 температурных циклов в следующем порядке.
При испытании клеммных колодок защитных проводников, предназначенных для "нормальных условий эксплуатации", температуру в камере тепла повышают до 85 °C.
При испытании клеммных колодок защитных проводников, указанных изготовителем как колодки для "максимальных условий эксплуатации" с температурой выше 40 °C, температуру в камере тепла повышают на 45 °C сверх значения предельной температуры, указанной изготовителем.
Температуру поддерживают на этом уровне с точностью +/- 5 °C в течение 10 мин.
Затем клеммные колодки защитных проводников охлаждают до температуры приблизительно 30 °C, допускается принудительное охлаждение; колодки выдерживают при этой температуре около 10 мин, если в данном цикле необходимо измерение падения напряжения, то колодки охлаждают до температуры (20 +/- 5) °C.
Примечание - За основу принимаются скорость подъема температуры или охлаждения в камере тепла приблизительно 1,5 °C/мин.
Измерение падения напряжения клеммных колодок проводят по 8.4.4 после каждого 24-го температурного цикла и после 192-го температурного цикла при температуре (20 +/- 5) °C.
Падение напряжения Ucc не должно превышать 4,8 мВ или 1,5 значения, измеренного после 24-го цикла в зависимости от того, что ниже.
В месте контакта колодки с основанием, падение напряжения Ucs не должно превышать 9,6 мВ или 1,5 значения, измеренного после 24-го цикла в зависимости от того, что ниже.
После испытания осмотр не должен выявить таких изменений, нарушающих дальнейшую эксплуатацию, как трещины, деформации и т.п.
После этого проводят испытание на вытягивание по IEC 60947-7-1, пункт 8.3.3.3.
8.5. Проверка тепловых характеристик
Применяют IEC 60947-7-1, подраздел 8.5.
8.6. Проверка характеристик электромагнитной совместимости (ЭМС)
Применяют IEC 60947-7-1, подраздел 8.6.
Приложение А
(обязательное)
МАКСИМАЛЬНЫЕ ЗНАЧЕНИЯ КРАТКОВРЕМЕННО ВЫДЕРЖИВАЕМЫХ ТОКОВ,
ПРИЛОЖЕННЫХ К ПРОФИЛЬНЫМ РЕЙКАМ КРЕПЛЕНИЯ
И НОМИНАЛЬНЫХ ТЕРМИЧЕСКИХ ТОКОВ НА ШИНАХ PEN
Таблица А.1
Максимальные кратковременно выдерживаемые токи, приложенные
к профильным рейкам, и номинальные тепловые токи PEN шин
Тип профильной рейки
Материал
Эквивалентное сечение медного проводника, мм2
Кратковременно выдерживаемый ток в течение 1 с, кА
Номинальный тепловой ток PEN шины, А
Рейка TH-типа
IEC 60715/TH 15-5,5
Сталь
10
1,2
-
Медь <*>
25
3,0
101
Алюминий <*>
16
1,92
78
Рейка G-типа
IEC 60715/G32
Сталь
35
4,2
-
Медь <*>
120
14,4
269
Алюминий <*>
70
8,4
192
Рейка TH-типа
IEC 60715/TH 35-7,5
Сталь
16
1,92
-
Медь <*>
50
6,0
150
Алюминий <*>
35
4,2
125
Рейка TH-типа
IEC 60715/TH 35-15
Сталь
50
6,0
-
Медь <*>
150
18
309
Алюминий <*>
95
11,4
232
<*> Медные или алюминиевые сплавы, выбранные изготовителем, должны соответствовать параметрам, указанным в таблице.
Приложение ДА
(обязательное)
СВЕДЕНИЯ О СООТВЕТСТВИИ ССЫЛОЧНЫХ МЕЖДУНАРОДНЫХ СТАНДАРТОВ
МЕЖГОСУДАРСТВЕННЫМ СТАНДАРТАМ
Таблица ДА.1
Обозначение ссылочного международного стандарта
Степень соответствия
Обозначение и наименование соответствующего межгосударственного стандарта
IEC 60439-1:1999
-
ИС МЕГАНОРМ: примечание.
Взамен ГОСТ IEC 60715-2013 Приказом Росстандарта от 22.10.2021 N 1276-ст с 01.03.2022 введен в действие ГОСТ IEC 60715-2021.
IEC 60715:1981
IDT
ГОСТ IEC 60715-2013 "Аппаратура распределения и управления низковольтная. Установка и крепление на направляющих электрических аппаратов в устройствах распределения и управления"
IEC 60947-1:2007
IDT
ГОСТ IEC 60947-1-2014 "Аппаратура распределения и управления низковольтная. Часть 1. Общие правила"
IEC 60947-7-1
IDT
ГОСТ IEC 60947-7-1-2016 "Аппаратура распределения и управления низковольтная. Часть 7-1. Электрооборудование вспомогательное. Колодки клеммные для медных проводников"
<*> Соответствующий межгосударственный стандарт отсутствует. До его утверждения рекомендуется использовать перевод на русский язык данного международного стандарта.
Примечание - В настоящей таблице использовано следующее условное обозначение степени соответствия стандартов:
- IDT - идентичные стандарты.