Главная // Актуальные документы // ГОСТ (Государственный стандарт)
СПРАВКА
Источник публикации
М.: Стандартинформ, 2013
Примечание к документу
Документ утратил силу с 1 июля 2018 года в связи с изданием Приказа Росстандарта от 23.05.2017 N 406-ст. Взамен введен в действие ГОСТ IEC 60947-7-2-2016.

Документ включен в Перечень стандартов, в результате применения которых на добровольной основе обеспечивается соблюдение требований технического регламента Таможенного союза "О безопасности низковольтного оборудования" (ТР ТС 004/2011) и в Перечень стандартов, содержащих правила и методы исследований (испытаний) и измерений, в том числе правила отбора образцов, необходимые для применения и исполнения требований технического регламента Таможенного союза "О безопасности низковольтного оборудования" (ТР ТС 004/2011) и осуществления оценки (подтверждения) соответствия продукции (Решение Комиссии Таможенного союза от 16.08.2011 N 768).

Документ введен в действие с 1 января 2014 года.
Название документа
"ГОСТ 30011.7.2-2012 (IEC 60947-7-2:2002). Межгосударственный стандарт. Аппаратура распределения и управления низковольтная. Часть 7. Электрооборудование вспомогательное. Раздел 2. Клеммные колодки защитных проводников для присоединения медных проводников"
(введен в действие Приказом Росстандарта от 15.11.2012 N 833-ст)

"ГОСТ 30011.7.2-2012 (IEC 60947-7-2:2002). Межгосударственный стандарт. Аппаратура распределения и управления низковольтная. Часть 7. Электрооборудование вспомогательное. Раздел 2. Клеммные колодки защитных проводников для присоединения медных проводников"
(введен в действие Приказом Росстандарта от 15.11.2012 N 833-ст)


Содержание


Введен в действие
Приказом Федерального
агентства по техническому
регулированию и метрологии
от 15 ноября 2012 г. N 833-ст
МЕЖГОСУДАРСТВЕННЫЙ СТАНДАРТ
АППАРАТУРА РАСПРЕДЕЛЕНИЯ И УПРАВЛЕНИЯ НИЗКОВОЛЬТНАЯ
ЧАСТЬ 7
ЭЛЕКТРООБОРУДОВАНИЕ ВСПОМОГАТЕЛЬНОЕ
РАЗДЕЛ 2
КЛЕММНЫЕ КОЛОДКИ ЗАЩИТНЫХ ПРОВОДНИКОВ
ДЛЯ ПРИСОЕДИНЕНИЯ МЕДНЫХ ПРОВОДНИКОВ
Low-voltage switchgear and controlgear. Part 7.
Ancillary equipment. Section 2. Protective conductor
terminal blocks for copper conductors
(IEC 60947-7-2:2002, MOD)
ГОСТ 30011.7.2-2012
(IEC 60947-7-2:2002)
Группа Е71
МКС 29.120.20
29.120.99
ОКП 34 2490
Дата введения
1 января 2014 года
Предисловие
Цели, основные принципы и порядок проведения работ по международной стандартизации установлены ГОСТ 1.0-92 "Межгосударственная система стандартизации. Основные положения" и ГОСТ 1.2-2009 "Межгосударственная система стандартизации. Стандарты межгосударственные, правила и рекомендации по межгосударственной стандартизации. Правила разработки, принятия, применения, обновления и отмены"
Сведения о стандарте
1 ПОДГОТОВЛЕН Обществом с ограниченной ответственностью "ВНИИэлектроаппарат"
2 ВНЕСЕН Федеральным агентством по техническому регулированию и метрологии Российской Федерации (Росстандарт)
3 ПРИНЯТ Межгосударственным советом по стандартизации, метрологии и сертификации (протокол от 24 мая 2012 г. N 41)
За принятие стандарта проголосовали:
Краткое наименование страны по МК (ИСО 3166) 004-97
Код страны по МК (ИСО 3166) 004-97
Сокращенное наименование национального органа по стандартизации
Азербайджан
AZ
Азстандарт
Беларусь
BY
Госстандарт Республики Беларусь
Казахстан
KZ
Госстандарт Республики Казахстан
Киргизия
KG
Кыргызстандарт
Россия
RU
Росстандарт
Таджикистан
TJ
Таджикстандарт
Узбекистан
UZ
Узстандарт
4 Приказом Федерального агентства по техническому регулированию и метрологии от 15 ноября 2012 г. N 833-ст межгосударственный стандарт ГОСТ 30011.7.2-2012 (IEC 60947-7-2:2002) введен в действие в качестве национального стандарта Российской Федерации с 1 января 2014 г.
Настоящий стандарт модифицирован по отношению к международному стандарту IEC 60947-7-2:2002 Low-voltage switchgear and controlgear - Part 7-2: Ancillary equipment - Protective conductor terminal blocks for copper conductors (Аппаратура распределения и управления низковольтная. Часть 7-2. Электрооборудование вспомогательное. Раздел 2. Клеммные колодки защитных проводников для присоединения медных проводников).
Перечень технических отклонений приведен в приложении ДА.
Международный стандарт разработан техническим комитетом по стандартизации IEC/TC 17 "Аппаратура распределения и управления" Международной электротехнической комиссии (IEC).
Перевод с английского языка (en).
Официальный экземпляр международного стандарта, на основе которого подготовлен настоящий межгосударственный стандарт, имеется в Федеральном информационном фонде технических регламентов и стандартов.
Степень соответствия - модифицированный (MOD).
Стандарт подготовлен на основе применения ГОСТ Р 50030.7.2-2009 (МЭК 60947-7-2:2002)
5 ВВЕДЕН ВПЕРВЫЕ
Информация об изменениях к настоящему стандарту публикуется в ежегодном информационном указателе "Национальные стандарты", а текст изменений и поправок - в ежемесячном информационном указателе "Национальные стандарты". В случае пересмотра (замены) или отмены настоящего стандарта соответствующее уведомление будет опубликовано в ежемесячном информационном указателе "Национальные стандарты". Соответствующая информация, уведомление и тексты размещаются также в информационной системе общего пользования - на официальном сайте Федерального агентства по техническому регулированию и метрологии в сети Интернет
Введение
Настоящий стандарт входит в комплекс межгосударственных стандартов на низковольтную аппаратуру распределения и управления. Основополагающий межгосударственный стандарт этого комплекса - ГОСТ 30011.1-2012 "Аппаратура распределения и управления низковольтная. Часть 1. Общие требования".
Настоящий стандарт устанавливает требования к конструкции клеммных колодок защитных проводников, дополняя требования к клеммным колодкам для медных проводников по ГОСТ 30011.7.1-2012.
Настоящий стандарт классифицирует данные изделия как колодки клеммные защитных проводников.
Настоящий стандарт может быть использован при оценке соответствия клеммных колодок защитных проводников для присоединения медных проводников требованиям технических регламентов.
1 Область применения
Настоящий стандарт устанавливает требования к клеммным колодкам защитных проводников с функцией PE сечением до 120 мм2 (250 kcmil) и к клеммным колодкам защитных проводников с функцией PEN номинальным сечением не менее 10 мм2 (AWG 8) с выводными зажимами резьбового или безрезьбового типа преимущественно общепромышленного назначения.
Примечание - AWG - сокращенное наименование термина "американский сортамент проводов" (сортаменты США и Великобритании одинаковы).
kcmil = 1000 cmil;
1 cmil = 1 круглая mil = сечение окружности диаметром 1 mil;
1 mil = 1/1000 дюйма.
Клеммные колодки защитных проводников (далее - изделия) служат средством электрического и механического соединений медных проводников с установочными панелями.
Настоящий стандарт распространяется на клеммные колодки для присоединения круглых медных проводников (со специальной подготовкой или без нее) номинального сечения от 0,2 до 120 мм2 (AWG 24 и 250 kcmil), применяемые в цепях переменного тока напряжением до 1000 В частотой до 1000 Гц и в цепях постоянного тока напряжением до 1500 В, как правило, в сочетании с клеммными колодками по ГОСТ 30011.7.1.
Настоящий стандарт не распространяется:
- на клеммные колодки защитных проводников, требующие соединения проводников со специальной подготовкой, например применения плоских быстросоединяемых наконечников, специальных наконечников и т.п.;
- на клеммные колодки защитных проводников, обеспечивающие прямой контакт с проводниками посредством проникания через изоляцию, например соединители с проколом изоляции и т.п.
Для целей настоящего стандарта термин "зажим" аналогичен термину "вывод". Это следует учесть при ссылках на ГОСТ 30011.1.
2 Нормативные ссылки
В настоящем стандарте использованы нормативные ссылки на следующие стандарты:
ГОСТ 30011.1-2012 (IEC 60947-1:2004) Аппаратура распределения и управления низковольтная. Часть 1. Общие требования
ГОСТ 30011.7.1-2012 (IEC 60947-7-1:2002) Аппаратура распределения и управления низковольтная. Часть 7. Электрооборудование вспомогательное. Раздел 1. Клеммные колодки для медных проводников
ГОСТ Р 51321.1-2007 (МЭК 60439-1:2004) Устройства комплектные низковольтные распределения и управления. Часть 1. Устройства, испытанные полностью или частично. Общие технические требования и методы испытаний
ГОСТ Р МЭК 60715-2003 Аппаратура распределения и управления низковольтная. Установка и крепление на рейках электрических аппаратов в низковольтных комплектных устройствах распределения и управления
Примечание - При пользовании настоящим стандартом целесообразно проверить действие ссылочных стандартов в информационной системе общего пользования - на официальном сайте Федерального агентства по техническому регулированию и метрологии в сети Интернет или по ежегодному информационному указателю "Национальные стандарты", который опубликован по состоянию на 1 января текущего года, и по выпускам ежемесячного информационного указателя "Национальные стандарты" за текущий год. Если ссылочный стандарт заменен (изменен), то при пользовании настоящим стандартом следует руководствоваться заменяющим (измененным) стандартом. Если ссылочный стандарт отменен без замены, то положение, в котором дана ссылка на него, применяется в части, не затрагивающей эту ссылку.
3 Термины и определения
В настоящем стандарте применены термины по ГОСТ 30011.1, а также следующие термины с соответствующими определениями:
3.1 клеммная колодка защитных проводников: Устройство с одним или более фиксирующим узлом, предназначенное для присоединения и/или токоведущего соединения защитных проводников (PE и PEN) с установочными панелями, конструкцией которых могут быть предусмотрены фиксирующие устройства резьбового или безрезьбового типа.
Примечания
1. Установочными панелями могут служить, например, монтажные рейки, листы металла с вырезками, монтажные плиты и т.п.
2. Клеммная колодка для защитных проводников может быть либо частично изолирована, либо не изолирована. Для нее не требуется рабочей изоляции.
3.2 частично изолированная клеммная колодка защитных проводников: Клеммная колодка защитных проводников, изолированная только от частей, находящихся под напряжением, других устройств, но не от установочной панели.
3.3 проводник PEN: Заземленный проводник, сочетающий в себе функции защитного и нейтрального проводников.
Примечание - Сочетание PEN означает комбинацию символа PE для защитных проводников и символа N для нейтральных проводников (ГОСТ 30011.1, пункт 2.1.15).
4 Классификация
Клеммные колодки классифицируют по следующим признакам:
- способу крепления клеммной колодки защитных проводников к панели;
- типу выводного зажима: резьбового типа или безрезьбового типа;
- способности присоединять проводники со специальной подготовкой или без нее (например, кабельными наконечниками);
- аналогичным или различным зажимным узлам в выводном устройстве;
- числу выводов в каждом выводном устройстве;
- условиям эксплуатации;
- наличию функций PE или PEN.
5 Характеристики
5.1 Перечень характеристик
ИС МЕГАНОРМ: примечание.
В официальном тексте документа, видимо, допущена опечатка: подраздел 4.1 в ГОСТ 30011.7.1-12 отсутствует. Возможно, имеется в виду подраздел 5.1.
Применяют ГОСТ 30011.7.1, подраздел 4.1.
5.2 Тип клеммной колодки защитных проводников
ИС МЕГАНОРМ: примечание.
В официальном тексте документа, видимо, допущена опечатка: подраздел 4.2 в ГОСТ 30011.7.1-12 отсутствует. Возможно, имеется в виду подраздел 5.2.
Применяют ГОСТ 30011.7.1, подраздел 4.2.
5.3 Номинальные и предельные значения характеристик
5.3.1 Вакантный
5.3.2 Кратковременно выдерживаемый ток (клеммной колодки)
ИС МЕГАНОРМ: примечание.
В официальном тексте документа, видимо, допущена опечатка: пункт 4.3.2 в ГОСТ 30011.7.1-12 отсутствует. Возможно, имеется в виду пункт 5.3.2.
Применяют ГОСТ 30011.7.1, пункт 4.3.2.
5.3.3 Стандартные поперечные сечения
ИС МЕГАНОРМ: примечание.
В официальном тексте документа, видимо, допущена опечатка: пункт 4.3.3 в ГОСТ 30011.7.1-12 отсутствует. Возможно, имеется в виду пункт 5.3.3.
Применяют ГОСТ 30011.7.1, пункт 4.3.3 со следующим дополнением.
Согласно области применения настоящего стандарта требования, изложенные в ГОСТ Р 50030.7.1, таблица 1, действуют только для сечений до 120 мм2 (250 kcmil).
5.3.4 Номинальное поперечное сечение
ИС МЕГАНОРМ: примечание.
В официальном тексте документа, видимо, допущена опечатка: пункт 4.3.4 в ГОСТ 30011.7.1-12 отсутствует. Возможно, имеется в виду пункт 5.3.4.
Применяют ГОСТ 30011.7.1, пункт 4.3.4.
ИС МЕГАНОРМ: примечание.
В официальном тексте документа, видимо, допущена опечатка: пункт 4.3.5 в ГОСТ 30011.7.1-12 отсутствует. Возможно, имеется в виду пункт 5.3.5.
5.3.5 Номинальная присоединительная способность
Применяют ГОСТ 30011.7.1, пункт 4.3.5, за исключением использования одного проводника, присоединяемого в один зажим, как указано в ГОСТ Р 51321.1, пункт 7.4.3.1.6, и в соответствии с таблицей 1.
Таблица 1
Взаимосвязь между номинальным сечением
и номинальной присоединительной способностью
клеммной колодки защитных проводников
Номинальное сечение
Номинальная присоединительная способность
мм2
AWG
мм2
AWG
0,2
24
0,2
24
0,34
22
0,2 - 0,34
24 - 22
0,5
20
0,2 - 0,34 - 0,5
24 - 22 - 20
0,75
18
0,34 - 0,5 - 0,75
22 - 20 - 18
1
-
0,5 - 0,75 - 1
-
1,5
16
0,75 - 1 - 1,5
20 - 18 - 16
2,5
14
1 - 1,5 - 2,5
18 - 16 - 14
4
12
1,5 - 2,5 - 4
16 - 14 - 12
6
10
2,5 - 4 - 6
14 - 12 - 10
10
8
4 - 6 - 10
12 - 10 - 8
16
6
6 - 10 - 16
10 - 8 - 6
25
4
10 - 16 - 25
8 - 6 - 4
35
2
16 - 25 - 35
6 - 4 - 2
50
0
25 - 35 - 50
4 - 2 - 0
70
00
35 - 50 - 70
2 - 0 - 00
95
000
50 - 70 - 95
0 - 00 - 000
120
250
70 - 95 - 120
00 - 000 - 250
Изготовитель должен указать типы, максимальное и минимальное поперечные сечения присоединяемых проводников и, если приемлемо, то число проводников, одновременно присоединяемых к каждому выводу. Изготовитель должен также предупредить о необходимости подготовки конца проводника.
6 Информация об изделии
6.1 Маркировка
Клеммная колодка защитных проводников должна иметь прочную и четкую маркировку, содержащую следующие данные:
a) наименование или товарный знак изготовителя для его идентификации;
b) обозначение типа изделия, позволяющее легко его идентифицировать для получения соответствующей информации от изготовителя, в том числе содержащейся в каталогах.
6.2 Дополнительная информация
Следующие данные должны быть маркированы на клеммной колодке, если на ней достаточно места, или приведены в каталоге изготовителя, или нанесены на этикетку упаковки:
a) обозначение настоящего стандарта, если изготовитель заявляет о соответствии клеммной колодки настоящему стандарту;
b) номинальное сечение проводников;
c) номинальную присоединительную способность, если она не соответствует указанной в таблице 1;
d) условия эксплуатации, если они отличаются от указанных в разделе 6.
Если присоединительная способность клеммной колодки защитных проводников составляет не менее 10 мм2 (AWG 8), изготовитель должен маркировкой отметить, что эта клеммная колодка предназначена для присоединения только PE проводников.
Примечание - Маркировки, обозначающей пригодность для выполнения функций PE + PEN, не существует.
7 Условия нормальной эксплуатации, монтажа и транспортирования
Применяют ГОСТ 30011.1 (раздел 6).
8 Требования к конструкции и работоспособности
8.1 Требования к конструкции
8.1.1 Выводные зажимы
ИС МЕГАНОРМ: примечание.
В официальном тексте документа, видимо, допущена опечатка: пункт 7.1.1 в ГОСТ 30011.7.1-12 отсутствует. Возможно, имеется в виду пункт 8.1.1.
Применяют ГОСТ 30011.7.1, пункт 7.1.1 со следующими дополнениями.
Клеммные колодки защитных проводников должны обеспечивать надежный контакт между подсоединяемым проводом и выводным зажимом и между выводным зажимом и установочной панелью.
Выводные зажимы должны быть способны выдерживать усилия, которые могут быть приложены к присоединенным проводникам, когда колодка смонтирована на опоре.
ИС МЕГАНОРМ: примечание.
В официальном тексте документа, видимо, допущена опечатка: пункт 9.3.3.3 отсутствует.
Соответствие проверяют осмотром и испытаниями по 9.3.3.1 - 9.3.3.3.
8.1.2 Крепление к установочной панели
Конструкция клеммных колодок защитных проводников должна обеспечивать их надежное крепление к установочной панели и исключать возникновение гальванической коррозии в месте крепления.
Конструкцией клеммной колодки должны быть предусмотрены элементы крепления, обеспечивающие надежное токопроводящее соединение с установочной панелью.
Отсоединение от установочной панели должно быть осуществимо только с помощью инструмента.
Испытание следует проводить в соответствии с ГОСТ 30011.1, пункт 8.3.2.
Примечание - Информация, относящаяся к монтажу на рейках, содержится в ГОСТ Р МЭК 60715.
8.1.3 Воздушные зазоры и расстояния утечки
Для клеммных колодок защитных проводников не предъявляют требований к воздушным зазорам и расстояниям утечки.
8.1.4 Идентификация и маркировка выводов
По ГОСТ 30011.7.1, пункт 8.1.4 со следующим дополнением:
Частично изолированная клеммная колодка защитных проводников должна иметь желто-зеленую окраску.
8.1.5 Стойкость частей из изоляционных материалов к аномальному нагреву и огню
Применяют ГОСТ 30011.7.1, пункт 8.1.5.
8.1.6 Способность к присоединению
Применяют ГОСТ 30011.7.1, пункт 8.1.6.
Использование монтажных реек для защитных проводников
8.1.7 Монтажные рейки могут быть использованы в качестве токопроводящих шин для защитных проводников при условии, что значения теплового кратковременно выдерживаемого тока и теплового номинального тока не превышают значений, указанных в таблице A.1 (приложение A).
В таблице A.1 (приложение A) приведены примеры стандартизованных профильных монтажных реек.
Шины для стальных защитных проводников не разрешены к использованию в качестве проводников PEN.
Примечание - Требуются специальные испытания клеммных колодок с присоединением алюминиевых проводников к медным или алюминиевых - к проводникам из медного сплава.
8.2 Требования к работоспособности
8.2.1 Превышение температуры
Клеммные колодки следует испытывать в соответствии с 9.4.5, превышение температуры выводов не должно быть более 45 К.
8.2.2 Электроизоляционные свойства
Клеммные колодки, устанавливаемые непосредственно рядом с клеммными колодками, на которые распространяется действие ГОСТ 30011.7.1, должны выдерживать испытание на электрическую прочность изоляции согласно 9.4.3.
8.2.3 Номинальный кратковременно выдерживаемый ток
Клеммная колодка защитных проводников должна быть способна выдерживать в течение 1 с номинальный кратковременно выдерживаемый ток, который соответствует 120 А на 1 мм2 ее номинального поперечного сечения, согласно 9.4.6.
8.2.4 Падение напряжения
Значение падения напряжения, вызываемого присоединенными проводниками и присоединением к установочной панели клеммной колодки защитных проводников в соответствии с 9.4.4, не должно превышать значений, указанных в 9.4.4, и, если применимо, в 9.4.7.
8.2.5 Электрическая работоспособность после испытаний на температурный износ (только для клеммных колодок защитных проводников безрезьбового типа)
Клеммные колодки защитных проводников должны быть способны выдерживать испытание на износ воздействием 192 температурных циклов согласно 9.4.7.
8.3 Электромагнитная совместимость (ЭМС)
Применяют ГОСТ 30011.1, подраздел 7.3.
9 Испытания
9.1 Виды испытаний
Применяют ГОСТ 30011.7.1, подраздел 9.1.
9.2 Общие положения
Применяют ГОСТ 30011.7.1, подраздел 9.2.
9.3 Проверка механических характеристик
Применяют ГОСТ 30011.7.1, подраздел 9.3, в котором 9.3.3.1 должен быть изменен следующим образом.
9.3.3.1 Испытания механических характеристик выводных зажимов
Применяют ГОСТ 30011.1, подпункты 8.2.4.1 и 8.2.4.2 со следующими дополнениями.
Испытания по ГОСТ 30011.1, подпункт 8.2.4.2 применяют для зажимов резьбового типа.
Испытания сначала должны быть проведены на двух центральных клеммных колодках защитных проводников из пяти клеммных колодок, установленных как для нормальных условий применения и закрепленных на установочной панели согласно инструкции изготовителя.
Для зажимов резьбового типа с диаметром резьбы не более 2,8 мм момент затяжки принимают по таблице B.1 (приложение B) или 110% момента затяжки, указанного изготовителем, при этом выбирают большее значение.
После проверки падения напряжения Ucc согласно 9.4.4 с присоединенными проводниками номинального сечения, указанного изготовителем, и затем, если применимо, с проводниками минимального сечения, указанного изготовителем, жесткие проводники номинального сечения должны быть присоединены и отсоединены пять раз.
По окончании этого испытания клеммная колодка защитных проводников должна быть испытана на проверку падения напряжения Ucc согласно 9.4.4 с присоединенными жесткими проводниками номинального сечения, а затем, если применимо, с гибкими проводниками минимального сечения.
Затем падение напряжения Ucs измеряют на клеммной колодке защитных проводников с присоединенными жесткими проводниками номинального сечения.
Клеммная колодка защитных проводников должна быть установлена и снята с установочной панели пять раз.
После этого на клеммной колодке защитных проводников измеряют падение напряжения Ucs по 9.4.4.
9.4 Проверка электрических характеристик
9.4.1 Общие положения
Проверка электрических характеристик включает в себя:
- испытание на электрическую прочность изоляции (между рядом расположенной клеммной колодкой, соответствующей ГОСТ 30011.7.1) (см. 9.4.3);
- проверку падения напряжения (см. 9.4.4);
- испытание на превышение температуры (для клеммных колодок защитных проводников с функцией PEN) (см. 9.4.5);
- испытание на кратковременно выдерживаемый ток (см. 9.4.6);
- испытание на износ клеммных колодок безрезьбового типа (см. 9.4.7).
9.4.2 Вакантный
9.4.3 Испытания изоляционных характеристик
Данному испытанию подвергают только клеммные колодки защитных проводников с частичной изоляцией, предназначенные для установки в непосредственной близости от клеммных колодок, соответствующих ГОСТ 30011.7.1.
Испытания проводят на клеммных колодках защитных проводников одной серии и одного типоразмера, установленных согласно инструкции изготовителя.
a) Если изготовитель указал значение номинального выдерживаемого импульсного напряжения Uimp, то испытание на выдерживаемое импульсное напряжение проводят в соответствии с ГОСТ 30011.1, перечисление 2) подпункт 8.3.3.4.1, исключая перечисление c).
b) Проверку твердой изоляции выдерживаемым напряжением промышленной частоты проводят в соответствии с ГОСТ 30011.1, перечисление 3) подпункт 8.3.3.4.1. Значение прилагаемого напряжения выбирают из ГОСТ 30011.1, таблица 12А [см. ГОСТ 30011.1, подпункт 8.3.3.4.1, перечисление 3), пункты b) и i)].
ИС МЕГАНОРМ: примечание.
В официальном тексте документа, видимо, допущена опечатка: подпункт 8.4.2.1 в ГОСТ 30011.7.1-12 отсутствует. Возможно, имеется в виду подпункт 9.4.2.1.
Клеммные колодки защитных проводников и клеммные колодки с подключенными проводниками должны быть смонтированы на металлическом основании в соответствии с рисунком 1 и условиями, указанными в ГОСТ 30011.7.1, подпункт 8.4.2.1, перечисления a), b) и c).
1 - клеммная колодка защитных проводников;
2 - клеммная колодка; 3 - испытательное напряжение;
4 - концы проводников; 5 - металлическое основание
Рисунок 1 - Схема испытания изоляционных характеристик
Испытательное напряжение прилагают между клеммной колодкой защитных проводников и клеммной колодкой, соответствующей ГОСТ 30011.7.1.
9.4.4 Проверка падения напряжения
Падение напряжения проверяют:
a) до и после испытания на механическую прочность выводов (см. 9.3.3.1);
b) до и после испытания на превышение температуры (см. 9.4.5);
c) до и после испытания на кратковременно выдерживаемый ток (см. 9.4.6);
d) до, в течение и после испытания на температурный износ (см. 9.4.7).
Условия соответствия указаны в 9.3.3.1, 9.4.5 - 9.4.7.
ИС МЕГАНОРМ: примечание.
В официальном тексте документа, видимо, допущена опечатка: пункт 9.3.4 отсутствует.
Если присоединяют защитный проводник к стальным панелям с хромированной поверхностью, хромовое покрытие следует снять в местах контакта перед присоединением, за исключением испытания на кратковременно выдерживаемый ток согласно 9.3.4, для которого падение напряжения измеряют только после испытания.
Падение напряжения измеряют на каждой клеммной колодке в соответствии с рисунком 2. Измерение проводят при нагрузке постоянным током, равным 0,1 указанного в ГОСТ 30011.7.1 (таблица 4 или 5).
Рисунок 2 - Схема измерений падения напряжения
До испытаний по перечислениям a) - d) падение напряжения Ucc не должно превышать 3,2 мВ, падение напряжения Ucs не должно превышать 6,4 мВ, с учетом того, что для металлического основания с хромированным покрытием измерения проводят после испытания по перечислению c).
Если измеренные падения напряжения Ucc и Ucs превышают 3,2 или 6,4 мВ, необходимо провести измерения индивидуально на каждом выводном зажиме клеммных колодок, при этом полученные значения не должны превышать 1,6 и 4,8 мВ соответственно.
После испытаний по перечислениям a) - c) измеренные значения падения напряжения Ucc и Ucs не должны быть выше 4,8 и 9,6 мВ соответственно или 150% соответствующих значений, полученных при измерении до испытаний.
В процессе и после испытаний по перечислению d) измеренные значения падения напряжения Ucc и Ucs не должны быть выше значений, указанных в 9.4.7.
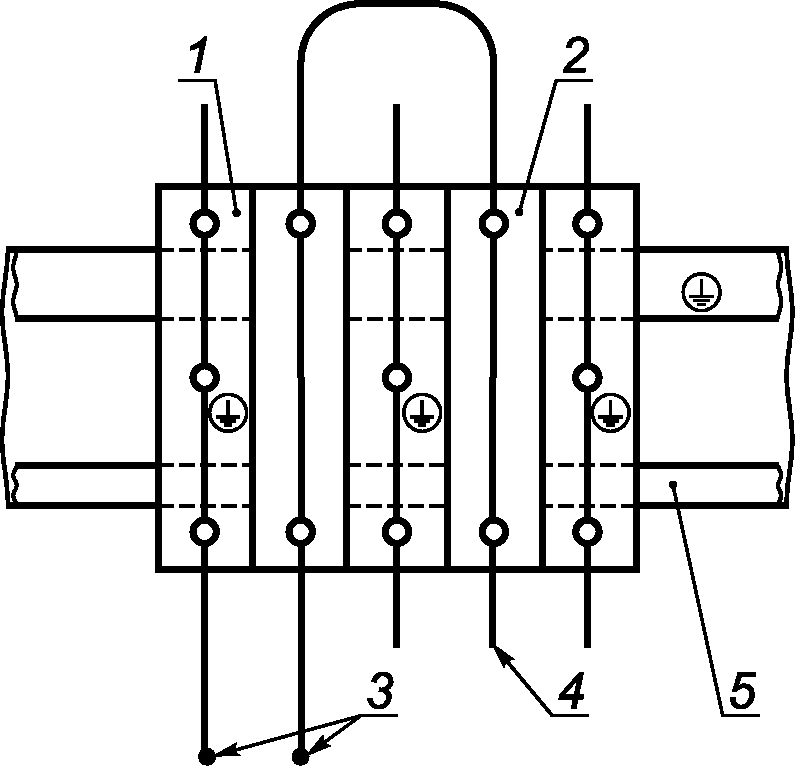
9.4.5 Испытание на превышение температуры
Данному испытанию подвергают только клеммные колодки защитных проводников с функцией PEN номинального поперечного сечения не менее 10 мм2 (AWG 8). Применительно к таким клеммным колодкам указанные в таблице A.1 значения теплового номинального тока, протекающего по рейкам, следует рассматривать в качестве предельных значений.
Стальные панели не допускаются. Испытательная цепь должна быть расположена горизонтально, на деревянной поверхности (например, крышке стола или полу), как показано на рисунках 3 и 4. Проводники должны свободно лежать на поверхности.
При проведении испытаний следует использовать проводники в поливинилхлоридной изоляции номинального поперечного сечения.
Если возможно, то присоединение проводников и крепление клеммной колодки к панели следует выполнять приложением крутящих моментов, значения которых указаны в ГОСТ 30011.1 (таблица 4), с учетом значений таблицы B.1 (приложение B) для резьбовых зажимов с диаметром резьбы не более 2,8 мм или обусловленных изготовителем максимальных крутящих моментов.
Минимальная длина L (см. рисунки 3 и 4) проводников должна быть 1 м для номинальных сечений до 10 мм2 (AWG 8) включительно и 2 м - для больших значений.
Проводники должны быть жесткими многожильными.
В течение испытаний винты выводных зажимов не следует подтягивать.
Предусмотрены испытания двух групп:
a) пять клеммных колодок защитных проводников устанавливают рядом без панели (см. рисунок 3). Температуру измеряют на средней колодке;
b) пять клеммных колодок защитных проводников устанавливают рядом на панели (см. рисунок 4), две внешние клеммные колодки защитных проводников соединяют через панель. Температуру измеряют на двух внешних клеммных колодках защитных проводников.
Рисунок 3 - Схема для испытания на превышение
температуры группы a)
Рисунок 4 - Схема для испытания на превышение
температуры группы b)
После проверки падения напряжения по 9.4.4 проводят испытание переменным однофазным током с соответствующими проводниками номинальных сечений, указанных в ГОСТ 30011.7.1 (таблица 4 или 5), и продолжают до достижения установившейся температуры. Если разница между результатами двух из трех последовательных измерений, выполненных с интервалом в 5 мин, составляет менее 1 К, температуру считают установившейся.
Превышение температуры любой части клеммной колодки, расположенной в центре, не должно выходить за пределы, указанные в 8.2.1.
После окончания испытания и охлаждения до температуры окружающей среды клеммные колодки без изменений в монтаже должны быть способны выдерживать испытание на падение напряжения согласно 9.4.4 в точках измерений, указанных на рисунке 2.
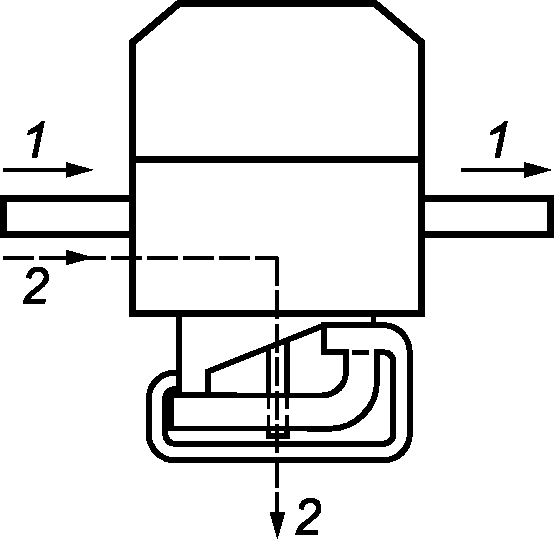
9.4.6 Испытание на кратковременно выдерживаемый ток
Цель данного испытания - проверка способности выдерживать тепловые нагрузки.
Испытание проводят на одной клеммной колодке защитных проводников, установленной согласно указанию изготовителя. К зажимам должны быть присоединены проводники номинального сечения с крутящими моментами затяжки винтов согласно ГОСТ 30011.1 (таблица 4), с учетом таблицы B.1 для зажимов резьбового типа с диаметром резьбы не более 2,8 мм или обусловленным изготовителем максимальным крутящим моментом в зависимости от того, что применимо.
Проводники номинальных сечений менее 10 мм2 (AWG 8) должны быть одножильными; проводники номинальных сечений не менее 10 мм2 (AWG 8) должны быть жесткими многожильными.
После проверки падения напряжения по 9.4.4 подают испытательный ток значением и продолжительностью согласно 8.2.3.
Максимальные кратковременно выдерживаемые токи, протекающие по профильным рейкам, указанные в таблице A.1, следует рассматривать в качестве предельных значений.
Испытательный ток подают один раз по пути тока 1-1 и второй раз по пути тока 2-2 согласно рисунку 5.
Между импульсами тока допускается пауза не менее 6 мин.
Рисунок 5 - Схема испытания на тепловой кратковременно
выдерживаемый ток
После окончания испытания не должно быть повреждений частей клеммной колодки, способных нарушить ее дальнейшую эксплуатацию. После охлаждения до температуры окружающей среды без внесения изменений в испытательную установку клеммная колодка защитных проводников должна быть способна выдержать испытание на падение напряжения согласно 9.4.4.
9.4.7 Испытание на температурный износ клеммных колодок безрезьбового типа
Пять клеммных колодок защитных проводников устанавливают рядом без крепления на панели (см. рисунок 3).
Проводники сечением до 10 мм2 (AWG 8) должны быть одножильными, сечением не менее 10 мм2 (AWG 8) - жесткими многожильными.
Минимальная длина подсоединяемых проводников должна быть 300 мм.
Если присоединение к панели предусмотрено без резьбовых элементов крепления, пять клеммных колодок устанавливают рядом на профильной рейке (см. рисунок 4).
При испытании применяют термостойкие изолированные или неизолированные проводники номинального сечения.
Клеммные колодки защитных проводников помещают в камеру тепла, выдерживают при температуре (20 +/- 2) °C и затем измеряют падение напряжения согласно 9.4.4.
Испытательная установка (собранная схема) не должна перемещаться до окончания измерений падения напряжения.
Клеммные колодки защитных проводников подвергают воздействию 192 температурных циклов в следующей последовательности.
При испытании клеммных колодок защитных проводников, предназначенных для "нормальных условий эксплуатации", температуру в камере тепла повышают до 85 °C.
При испытании клеммных колодок защитных проводников, указанных изготовителем как колодки для "максимальных условий эксплуатации с температурой выше 40 °C, температуру в камере тепла повышают на 45 К сверх значения предельной температуры, указанной изготовителем.
Температуру поддерживают на этом уровне с точностью +/- 5 °C в течение 10 мин.
В данном периоде цикла подают ток согласно 9.4.5.
Затем клеммные колодки защитных проводников охлаждают до температуры приблизительно 30 °C, допускается принудительное охлаждение; колодки выдерживают при этой температуре около 10 мин, если в данном цикле необходимо измерение падения напряжения, то колодки охлаждают до температуры (20 +/- 5) °C.
Примечание - За основу принимают скорость подъема температуры или охлаждения в камере тепла приблизительно 1,5 °C/мин.
Измерение падения напряжения клеммных колодок проводят по 9.4.4 после каждого 24-го температурного цикла и после 192-го температурного цикла при температуре (20 +/- 5) °C.
Падение напряжения Ucc не должно превышать 4,8 мВ или 1,5 значения, измеренного после 24-го цикла в зависимости от того, что ниже.
В месте контакта колодки с основанием падение напряжения Ucs не должно превышать 9,6 мВ или 1,5 значения, измеренного после 24-го цикла в зависимости от того, что ниже.
Если одна из клеммных колодок защитных проводников не выдержала испытание, испытание повторяют на втором комплекте клеммных колодок защитных проводников. Все колодки должны выдержать повторное испытание.
После испытания осмотр не должен выявить изменений, нарушающих дальнейшую эксплуатацию, как трещины, деформации и т.п.
ИС МЕГАНОРМ: примечание.
В официальном тексте документа, видимо, допущена опечатка: подпункт 8.3.3.3 в ГОСТ 30011.7.1-12 отсутствует. Возможно, имеется в виду подпункт 9.3.3.3.
После этого проводят испытание на вытягивание по ГОСТ 30011.7.1, подпункт 8.3.3.3.
9.5 Проверка тепловых характеристик
ИС МЕГАНОРМ: примечание.
В официальном тексте документа, видимо, допущена опечатка: подраздел 8.5 в ГОСТ 30011.7.1-12 отсутствует. Возможно, имеется в виду подраздел 9.5.
Применяют ГОСТ 30011.7.1, подраздел 8.5.
9.6 Проверка характеристик электромагнитной совместимости (ЭМС)
ИС МЕГАНОРМ: примечание.
В официальном тексте документа, видимо, допущена опечатка: подраздел 8.6 в ГОСТ 30011.7.1-12 отсутствует. Возможно, имеется в виду подраздел 9.6.
Применяют ГОСТ 30011.7.1, подраздел 8.6.
Приложение A
(обязательное)
МАКСИМАЛЬНЫЕ КРАТКОВРЕМЕННО ВЫДЕРЖИВАЕМЫЕ ТОКИ, ПРИЛОЖЕННЫЕ
К ПРОФИЛЬНЫМ РЕЙКАМ, И НОМИНАЛЬНЫЕ ТЕПЛОВЫЕ ТОКИ PEN ШИН
Таблица A.1
Тип профильных реек по ГОСТ Р МЭК 60715
Материал
Эквивалентное сечение медного проводника, мм2
Кратковременно выдерживаемый ток в течение 1 с, кА
Номинальный тепловой ток PEN шины, А
TH 15-5,5
Сталь
10
1,2
-
медь <*>
25
3,0
101
алюминий <*>
16
1,92
78
G32
Сталь
35
4,2
-
медь <*>
120
14,4
269
алюминий <*>
70
8,4
192
TH 35-7,5
Сталь
16
1,92
-
медь <*>
50
6,0
150
алюминий <*>
35
4,2
125
TH 35-15
Сталь
50
6,0
-
медь <*>
150
18
309
алюминий <*>
95
11,4
232
<*> Медные или алюминиевые сплавы, выбранные изготовителем, должны соответствовать параметрам, указанным в таблице.
Приложение B
(обязательное)
КРУТЯЩИЕ МОМЕНТЫ ЗАТЯЖКИ ВИНТОВ ПРИ ИСПЫТАНИЯХ
МЕХАНИЧЕСКИХ ХАРАКТЕРИСТИК РЕЗЬБОВЫХ ЗАЖИМОВ
Таблица B.1
Крутящие моменты затяжек винтов при испытаниях
механических характеристик резьбовых зажимов
Диаметр резьбы, мм
Момент затяжки, Н·м
Стандартная резьба
Резьба испытуемых зажимов
I <a>
II <b>
III <c>
1,6
<= 1,6
0,05
0,1
0,1
2,0
Св. 1,6 до 2 включительно
0,1
0,2
0,2
2,5
Св. 2 до 2,8 включительно
0,2
0,4
0,4
<a> Колонку I применяют для винтов без головок, когда затяжку производят инструментом, входящим в отверстие винта, а также для винтов, у которых затягивание не может быть выполнено отверткой, лезвие которой больше диаметра резьбы.
<b> Колонку II применяют для винтов и гаек, затягиваемых отверткой.
<c> Колонку III применяют для винтов и гаек, затягиваемых инструментом иным, чем отвертка.
Приложение ДА
(справочное)
ПЕРЕЧЕНЬ ТЕХНИЧЕСКИХ ОТКЛОНЕНИЙ
Таблица ДА.1
Структурный элемент (раздел, подраздел, пункт, подпункт, таблица, приложение
Модификация
Нормативные ссылки
Ссылка на IEC 60947-1:2004 "Аппаратура распределения и управления низковольтная. Часть 1. Общие требования и методы испытаний" заменена ссылкой на ГОСТ 30011.1-2012 <1> (IEC 60947-1:2004) "Аппаратура распределения и управления низковольтная. Часть 1. Общие требования и методы испытаний"
Ссылка на IEC 60947-7-1:2002 "Аппаратура распределения и управления низковольтная. Часть 7. Электрооборудование вспомогательное. Раздел 1. Клеммные колодки для медных проводников" заменена ссылкой на ГОСТ 30011.7.1-2012 <1> (IEC 60947-7-1:2002) "Аппаратура распределения и управления низковольтная. Часть 7. Электрооборудование вспомогательное. Раздел 1. Клеммные колодки для медных проводников"
Ссылка на IEC 60439-1:2004 "Аппаратура коммутационная и механизмы управления низковольтные комплектные. Часть 1. Узлы, подвергаемые полным и частичным типовым испытаниям" заменена ссылкой на ГОСТ Р 51321.1-2007 (МЭК 60439-1:2004) <1> "Устройства комплектные низковольтные распределения и управления. Часть 1. Устройства, испытанные полностью или частично. Общие технические требования и методы испытаний"
Ссылка на IEC 60715 (1980) "Аппараты коммутационные низковольтные и механизмы управления. Стандартизованные размеры для монтажа на направляющих для механической поддержки электроприборов" заменена ссылкой на ГОСТ Р МЭК 60715-2003 <1> "Аппаратура распределения и управления низковольтная. Установка и крепление на рейках электрических аппаратов в низковольтных комплектных устройствах распределения и управления"
<1> Степень соответствия - MOD.