Главная // Актуальные документы // ГОСТ (Государственный стандарт)СПРАВКА
Источник публикации
М.: ФГБУ "РСТ", 2021
Примечание к документу
Документ
введен в действие с 01.03.2022.
Взамен ГОСТ IEC 60715-2013.
Название документа
"ГОСТ IEC 60715-2021. Межгосударственный стандарт. Аппаратура распределения и управления низковольтная. Установка и крепление на направляющих электрических аппаратов в устройствах распределения и управления"
(введен в действие Приказом Росстандарта от 22.10.2021 N 1276-ст)
"ГОСТ IEC 60715-2021. Межгосударственный стандарт. Аппаратура распределения и управления низковольтная. Установка и крепление на направляющих электрических аппаратов в устройствах распределения и управления"
(введен в действие Приказом Росстандарта от 22.10.2021 N 1276-ст)
Приказом Федерального
агентства по техническому
регулированию и метрологии
от 22 октября 2021 г. N 1276-ст
МЕЖГОСУДАРСТВЕННЫЙ СТАНДАРТ
АППАРАТУРА РАСПРЕДЕЛЕНИЯ И УПРАВЛЕНИЯ НИЗКОВОЛЬТНАЯ
УСТАНОВКА И КРЕПЛЕНИЕ НА НАПРАВЛЯЮЩИХ ЭЛЕКТРИЧЕСКИХ
АППАРАТОВ В УСТРОЙСТВАХ РАСПРЕДЕЛЕНИЯ И УПРАВЛЕНИЯ
Low-voltage switchgear and controlgear.
Mounting on rails for mechanical support of electrical
devices in switchgear and controlgear installations
(IEC 60715:2017, Dimensions of low-voltage switchgear
and controlgear - Standardized mounting on rails
for mechanical support of switchgear, controlgear
and accessories, IDT)
ГОСТ IEC 60715-2021
Дата введения
1 марта 2022 года
Цели, основные принципы и общие правила проведения работ по межгосударственной стандартизации установлены
ГОСТ 1.0 "Межгосударственная система стандартизации. Основные положения" и
ГОСТ 1.2 "Межгосударственная система стандартизации. Стандарты межгосударственные, правила и рекомендации по межгосударственной стандартизации. Правила разработки, принятия, обновления и отмены"
1 ПОДГОТОВЛЕН Акционерным обществом "Диэлектрические кабельные системы" (АО "ДКС") на основе собственного перевода на русский язык англоязычной версии стандарта, указанного в
пункте 5
2 ВНЕСЕН Федеральным агентством по техническому регулированию и метрологии
3 ПРИНЯТ Межгосударственным советом по стандартизации, метрологии и сертификации (протокол от 30 сентября 2021 г. N 143-П)
За принятие проголосовали:
Краткое наименование страны по МК (ИСО 3166) 004-97 | Код страны по МК (ИСО 3166) 004-97 | Сокращенное наименование национального органа по стандартизации |
Армения | AM | ЗАО "Национальный орган по стандартизации и метрологии" Республики Армения |
Беларусь | BY | Госстандарт Республики Беларусь |
Казахстан | KZ | Госстандарт Республики Казахстан |
Киргизия | KG | Кыргызстандарт |
Россия | RU | Росстандарт |
Узбекистан | UZ | Узстандарт |
4 Приказом Федерального агентства по техническому регулированию и метрологии от 22 октября 2021 г. N 1276-ст межгосударственный стандарт ГОСТ IEC 60715-2021 введен в действие в качестве национального стандарта Российской Федерации с 1 марта 2022 г.
5 Настоящий стандарт идентичен международному стандарту IEC 60715:2017 "Аппаратура распределения и управления низковольтная. Стандартизованные размеры для установки и крепления на направляющих устройств распределения и управления и их арматуры" ("Dimensions of low-voltage switchgear and controlgear - Standardized mounting on rails for mechanical support of switchgear, controlgear and accessories", IDT).
Международный стандарт разработан Подкомитетом 121A "Аппаратура коммутационная и управления низковольтная" Технического комитета 121 "Аппаратура коммутационная, аппаратура" Международной электротехнической комиссии (IEC).
Наименование настоящего стандарта изменено относительно наименования указанного международного стандарта для приведения в соответствие с ГОСТ 1.5
(подраздел 3.6).
При применении настоящего стандарта рекомендуется вместо ссылочных международных стандартов применять соответствующие им межгосударственные стандарты, сведения о которых приведены в дополнительном
приложении ДА
6 ВЗАМЕН ГОСТ IEC 60715-2013
Информация о введении в действие (прекращении действия) настоящего стандарта и изменений к нему на территории указанных выше государств публикуется в указателях национальных стандартов, издаваемых в этих государствах, а также в сети Интернет на сайтах соответствующих национальных органов по стандартизации.
В случае пересмотра, изменения или отмены настоящего стандарта соответствующая информация будет опубликована на официальном интернет-сайте Межгосударственного совета по стандартизации, метрологии и сертификации в каталоге "Межгосударственные стандарты"
Настоящий стандарт включает следующие существенные технические изменения по сравнению с предыдущим изданием:
- рассмотрена электрическая функция рейки для защитного заземления;
- стандарт был редакционно обновлен, чтобы привести его в соответствие с директивами ИСО/МЭК, часть 2:2016, а чертежи были обновлены, чтобы привести их в соответствие со стандартами допуска и чертежей ИСО.
Для монтажа аппаратуры (переключателей, автоматических выключателей, реле, соединителей, клеммных колодок и т.д.) внутри низковольтных комплектных устройств распределения и управления (далее - НКУ) используют направляющие определенных размеров (например, стальные или алюминиевые). Такой способ монтажа аппаратуры позволяет быстро ее крепить, снимать или переставлять.
Для крепления аппаратуры применяют следующие способы:
- непосредственную фиксацию на направляющих (используется для направляющих T-образного ("top hat", TH) или G-образного профилей);
- с помощью различной арматуры, такой как скользящие гайки или болты с изогнутыми или T-образными головками (используется для направляющих C-образного профиля).
В случае G-образных направляющих первый способ в основном применяют при монтаже блоков, которые закрепляют внутри и снаружи рядами с помощью защелок и регулируемых концевых ограничителей.
Для крепления аппаратуры допускается, при необходимости, применить одну или несколько направляющих.
Направляющая стандартного сечения может являться частью несущей конструкции.
Применяют также направляющие комбинированного сечения, в которых сочетают, например, T-образный и C-образный профили, что дает возможность устанавливать аппаратуру с различным способом крепления.
Так как монтаж на направляющих может влиять на характеристики устанавливаемой аппаратуры, то ее изготовитель в эксплуатационной документации должен привести сведения о пригодности к монтажу этого типа.
Настоящий стандарт устанавливает размеры и функциональные требования к монтажу на направляющих различных электрических аппаратов внутри низковольтных комплектных устройств распределения и управления.
Цель настоящего стандарта - установить размеры, необходимые при проектировании направляющих и оборудования. В настоящем стандарте описаны следующие профили направляющих:
- T-образный профиль (TH);
- C-образный профиль (C);
- G-образный профиль (G).
Примечание - Совместимость при креплении не означает функциональную взаимозаменяемость.
В приложениях приведены требования к конкретным типам стальных направляющих, удовлетворяющим условиям настоящего стандарта, а также дополнительные сведения, относящиеся к их размерам и нагрузочной способности.
Примечания:
1 Конкретные сведения о конструкции и материале для стальных направляющих приведены в приложениях.
2 Допускается применять другие типы (формы) направляющих, соответствующие настоящему стандарту, которые не описаны в
приложении A.
Монтажные рейки, используемые в качестве защитного проводника с применением проводящего соединения их с клеммным блоком для подключения защитного проводника, указаны в IEC 60947-7-2. В других случаях, когда монтажная рейка используется в качестве заземляющего проводника, применяется соответствующий стандарт продукта.
Этот стандарт имеет статус горизонтального в соответствии с IEC Guide 108:2006.
Данный горизонтальный стандарт в первую очередь предназначен для применения техническими комитетами при подготовке стандартов в соответствии с принципами, изложенными в Руководстве IEC 108.
Одной из обязанностей технического комитета является применение горизонтальных стандартов (где это применимо) при подготовке своих публикаций. Содержание горизонтального стандарта не будет применяться в случае, если это не указано, в том числе в соответствующих публикациях.
В настоящем стандарте применена нормативная ссылка на следующий стандарт. Для датированной ссылки применяют только указанное издание, для недатированной - последнее издание ссылочного стандарта (включая все изменения).
IEC 60947-7-2, Low-voltage switchgear and controlgear - Part 7-2: Ancillary equipment - Protective conductor terminal blocks for copper conductors (Аппаратура распределения и управления низковольтная. Часть 7-2. Электрооборудование вспомогательное. Колодки клеммные защитных проводников для присоединения медных проводников)
В настоящем стандарте применены следующие термины с соответствующими определениями:
3.1 монтажная рейка (mounting rail): Стандартизированный профиль из любого материала, используемого в целях крепления аппаратуры для распределения, управления и их принадлежностей.
3.2 расчетная плоскость (для измерения) (reference plane): Плоскость, расположенная на фронтальной части.
4 Функциональные требования
Основным функциональным требованием к направляющим является то, что они должны служить достаточной опорой для электрической аппаратуры.
Необходимо чтобы направляющие имели необходимую механическую прочность и жесткость, чтобы выдерживать статическую и динамическую нагрузки от аппаратуры с учетом расстояния между точками опоры и характера самих опор.
Примечание - Для обеспечения нормального функционирования аппаратуры, монтируемой на направляющих, проверяют ее эксплуатационные характеристики.
Из-за большого разнообразия аппаратуры, вариантов ее сочетаний и размещения в НКУ невозможно установить конкретные требования, которые обеспечили бы правильность функционирования в любых условиях. Опыт показывает, что размеры направляющих и требования к ним, приведенные в
приложениях A и
B, могут быть применены для крепления различной аппаратуры, такой как соединители, предохранители, переключатели, клеммные колодки и автоматические выключатели.
Ответственность за правильную конструкцию и выбор материалов лежит на производителе полной сборки НКУ. Монтаж на рейке влияет на производительность оборудования, и техническим комитетам по продукту рекомендуется в своих публикациях давать указания о пригодности для монтажа на рейке.
Если не указано иное, размеры даны в миллиметрах. Только размеры и углы, которые имеют решающее значение для правильной конструкции рельса, указаны на
рисунках 1 -
8.
Замечание "снять фаску" могут быть реализованы в соответствии с соглашением между изготовителем и потребителем, чтобы обеспечить надлежащую установку в практических случаях.
5.2 Монтажная T-образная рейка
Рисунок 1 - T-образная монтажная рейка TH 15
Рисунок 2 - T-образная монтажная рейка TH 35
Рисунок 3 - T-образная монтажная рейка TH 75
На
рисунках 1a),
2a) и
3a) штриховкой выделено максимальное пространство, отведенное для направляющей, ее несущей конструкции и средств крепления. Остальное - максимальное пространство, которое может занимать аппаратура, устанавливаемая на направляющих.
На
рисунках 1b),
2b) и
3b) в увеличенном масштабе показаны ребра направляющих с допусками на изготовление (технологическими допусками). Направляющие симметричны, включая приведенные допуски.
Угловые допуски являются односторонними и должны находиться в пределах от нуля до указанных значений. В значение допуска входят допуски конструкции.
5.3 Монтажная C-образная рейка
Рисунок 4 - C-образная монтажная рейка C 20
Рисунок 5 - C-образная монтажная рейка C 30
Рисунок 6 - C-образная монтажная рейка C 40
Рисунок 7 - C-образная монтажная рейка C 50
На
рисунках 4a),
5a),
6a) и
7a) штриховкой выделено максимальное пространство, занимаемое сечением направляющей и ее несущей конструкцией (не учтены средства крепления направляющей). Остальное - максимальное пространство, которое может занимать аппаратура, устанавливаемая на направляющих.
На
рисунках 4b),
5b),
6b) и
7b) в увеличенном масштабе показаны ребра направляющих с допусками на изготовление (технологическими допусками). Направляющие симметричны, включая приведенные допуски. Угловые допуски являются односторонними и должны находиться в пределах от нуля до указанных значений. В значение допуска входят допуски конструкции и показывают увеличенные детали края рельса, включая производственные допуски. Рельсы симметричны в пределах заданных допусков. Указанные угловые допуски являются односторонними и должны оставаться между нулем и указанными значениями. Они включают проектные допуски.
5.4 Монтажная G-образная рейка
Рисунок 8 - G-образная монтажная рейка G 32
На
рисунке 8a) штриховкой выделено максимальное пространство, занимаемое сечением направляющей и ее несущей конструкцией (не учтены средства крепления направляющей). Остальное - максимальное пространство, которое может занимать аппаратура, устанавливаемая на направляющих.
На
рисунке 8b) в увеличенном масштабе показаны ребра направляющих с допусками на изготовление (технологическими допусками). Угловые допуски являются односторонними и должны находиться в пределах от нуля до указанных значений. В значение допуска входят допуски конструкции.
(обязательное)
СПЕЦИАЛЬНЫЕ СТАЛЬНЫЕ МОНТАЖНЫЕ РЕЙКИ
В настоящем приложении приведены руководство по выбору марки стали и покрытия поверхности, а также размеры и технологические допуски стальных монтажных реек, соответствующих требованиям настоящего стандарта.
Для изготовления монтажных реек используют холоднокатаную листовую углеродистую сталь со следующими характеристиками:
- дрессировочная прокатка с предшествующим ей отжигом;
- полированная поверхность;
- предел прочности на растяжение от 320 до 420 Н/мм2;
- относительное растяжение не менее 30%;
- способность к изгибу на 180° вдоль направления прокатки и перпендикулярно ему.
Для покрытия поверхности используют цинкование и хромирование, при этом толщина слоя покрытия должна быть не менее 6 мкм, за исключением торцевых поверхностей в местах вырубки.
Другие характеристики стали и покрытий поверхности допускается устанавливать по соглашению между изготовителем и потребителем.
Если не указано иное, размеры выражаются в миллиметрах.
Указание "торец заусенца" может быть сделано в соответствии с соглашением между изготовителем и потребителем, чтобы обеспечить надлежащую установку в практических случаях.
A.2 T-образная монтажная рейка TH 15-5,5
A.2.1 Габаритные размеры
Размеры, приведенные на рисунке A.1, необходимо соблюдать по всей длине монтажной рейки, но проверять на расстоянии не менее 10 мм от ее концов.
Рисунок A.1 - T-образная монтажная рейка шириной 15 мм
для крепления аппаратуры
A.2.2 Допуски
Значения допусков монтажных реек, поставляемых в виде отдельных деталей, должны соответствовать дополнительным допускам, указанным на рисунке A.2.
Рисунок A.2 - Допуски (TH 15-5,5)
A.3 T-образные монтажные рейки TH 35-7,5 и TH 35-15
A.3.1 Габаритные размеры
Размеры, приведенные на рисунке A.3. должны соблюдаться по всей длине монтажной рейки, но проверяться на расстоянии не менее 10 мм от ее концов.
Рисунок A.3 - T-образные монтажные рейки шириной 35 мм
для крепления аппаратуры
A.3.2 Допуски
Значения допусков монтажных реек, поставляемых в виде отдельных деталей, должны соответствовать дополнительным допускам, указанным на рисунке A.4.
Рисунок A.4 - Допуски (TH 35-7,5 и TH 35-15)
A.4 T-образная монтажная рейка TH 75-25
A.4.1 Габаритные размеры
Размеры, приведенные на рисунке A.5, необходимо соблюдать по всей длине монтажной рейки, но проверять на расстоянии не менее 25 мм от ее концов.
Рисунок A.5 - T-образная монтажная рейка шириной 75 мм
для крепления аппаратуры на защелках
A.4.2 Допуски
Значения допусков монтажных реек, поставляемых в виде отдельных деталей, должны соответствовать дополнительным допускам, указанным на рисунке A.6.
Рисунок A.6 - Допуски (TH 75-25)
A.5 C-образные монтажные рейки C 20, C 30, C 40 и C 50
A.5.1 Габаритные размеры
Размеры, приведенные на рисунке A.7 и в
таблице A.1, необходимо соблюдать по всей длине монтажной рейки, но проверять на расстоянии не менее 10 мм от ее концов.
Рисунок A.7 - Монтажные C-образные рейки
Таблица A.1
Размеры монтажных C-образных реек
Форма профиля | b +/- 0,75 | h +/- 0,75 | c | Rmax | s +/- 0,1 | t +/- 1,2 |
C 20 | 20 | 10 | 11 +/- 0,3 | 1 | 1 | - |
C 30 | 30 | 15 | 16 +/- 0,5 | 1,5 | 1,5 | - |
C 40 | 40 | 22,5 | 18 +/- 0,5 | 2 | 2 | 5,5 |
C 50 | 50 | 30 | 22 +/- 0,5 | 3 | 3 | 7 |
A.5.2 Допуски
Значения допусков монтажных реек, поставляемых в виде отдельных деталей, должны соответствовать дополнительным допускам, указанным на рисунке A.8.
Рисунок A.8 - Допуски (C 20, C 30, C 40 и C 50)
A.6 G-образная монтажная рейка G 32
A.6.1 Габаритные размеры
Размеры, приведенные на рисунке A.9, необходимо соблюдать по всей длине монтажной рейки, но проверять на расстоянии не менее 10 мм от ее концов.
Рисунок A.9 - Размеры монтажной G-образной рейки
A.6.2 Допуски
Значения допусков монтажных реек, поставляемых в виде отдельных деталей, должны соответствовать дополнительным допускам, указанным на рисунке A.10.
Рисунок A.10 - Допуски (G 32)
(справочное)
РУКОВОДСТВО ПО ПРИМЕНЕНИЮ
Для определения допустимой нагрузки на монтажные рейки в условиях их нормальной эксплуатации наиболее важным фактором всегда является деформация, возникающая при повороте (кручении). Напряжение на изгиб невелико и им можно пренебречь.
При подготовке монтажных реек к креплению следует обратить особое внимание на возможную потерю жесткости и механической прочности.
B.2 Руководство по применению T-образных монтажных реек
B.2.1 Нагрузка на стальные монтажные рейки, приведенные в приложении A
B.2.1.1 Общие требования
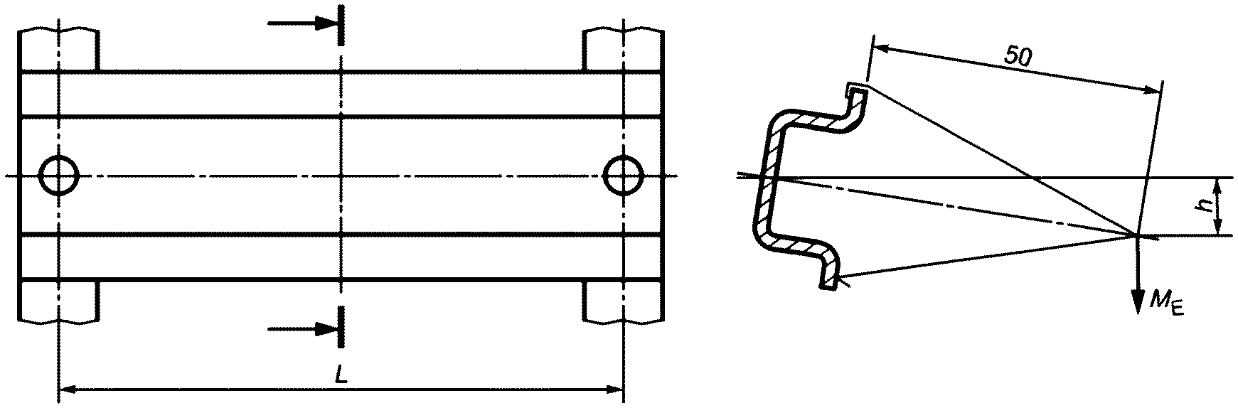
Исследования показали, что при креплении монтажных реек двумя винтами возникает крутящее усилие т > 50 Н/мм2, которое может привести их к остаточной деформации. Максимально допустимый крутящий момент, возникающий при этом, не зависит от расстояния между точками крепления монтажных реек, например, 750 Н·мм для T-образной монтажной рейкой TH 35-7,5. Для расстояний между точками крепления, применяемых на практике, и при такой нагрузке обычно возникает чрезмерно большой прогиб в середине T-образной монтажной рейки.
Оценка этой деформации показана на рисунке B.1.
ME - суммарный крутящий момент в Н·мм, действующий в середине профиля направляющей вследствие нескольких отдельных крутящих моментов от отдельных аналогичных аппаратов (приборов, блоков), рассчитывают по формуле

, (B.1)
где M - крутящий момент аппарата, равный его весу, умноженному на расстояние между центром тяжести и монтажной плоскостью аппарата в Н·мм (с учетом возможных ударов);
h - деформация направляющей на 50 мм от поверхности крепления оборудования определяется по формуле

, (B.2)
где IE - осевой момент инерции направляющей в мм4;
G - модуль сдвига (для листовой стали 80 000 Н/мм2);
L - расстояние между точками крепления, мм.
Рисунок B.1 - Оценка прогиба T-образной монтажной рейки
B.2.1.2 Нагрузка на T-образную монтажную рейку
Пользуясь этим методом, можно вычислить допустимую нагрузку
ME в зависимости от расстояния
L между точками крепления для трех значений деформации
h направляющих обоих типов TH 35-15 и TH 35-7,5, представленных на
рисунке B.2, и направляющей TH 75-25, представленной на
рисунке B.3.
B.2.1.3 Нагрузка на направляющие TH 35-15 и TH 35-7,5
Рисунок B.2 - Допустимая нагрузка
ME =
f(
L·
h)
Примеры
1 Монтажная рейка TH 35-7,5 длиной L = 300 мм может быть нагружена до крутящего момента ME = 330 Н·мм при h = 1,0 мм.
2 Для аппаратов с ME = 480 Н·мм при h = 1,0 мм требуется монтажная рейка длиной 800 мм.
Первый вариант: монтажная рейка TH 35-15.
Согласно рисунку B.2 при длине монтажной рейки L ~ 800 мм соответствующий крутящий момент ME < 2100 Н·мм.
Второй вариант: монтажная рейка TH 35-7,5.
Согласно рисунку B.2 при ME = 2120 Н·мм длина монтажной рейки L = 800 мм, но при ME < 250 Н·мм L = 400 мм. Поскольку 250 Н·мм > 480/2 Н·мм, достаточно промежуточного закрепления в одной точке при L = 400 мм.
B.2.1.4 Нагрузка на монтажные рейки TH 75-25
Рисунок B.3 - Допустимая нагрузка
ME =
f(
L,
h)
B.2.2 Нагрузка на монтажные рейки из других материалов
Для не стальных монтажных реек допустимая нагрузка может быть определена в соответствии с
рисунками B.2 и
B.3 на основании оценки деформации, приведенной на
рисунке B.1.
B.3 Руководство по применению C-образных монтажных реек
B.3.1 Общие требования
Для определения допустимой нагрузки на монтажные рейки в условиях их нормальной эксплуатации наиболее важным фактором всегда является деформация, возникающая при повороте (кручении). Напряжение на изгиб невелико и им можно пренебречь.
B.3.2 Нагрузка на стальные монтажные рейки, приведенные в приложении A
B.3.2.1 Общие требования
Исследования показали, что при креплении двумя винтами возникает крутящее усилие т > 50 Н/мм2, которое может привести к остаточной деформации направляющей. Максимальный допустимый крутящий момент при этом напряжении (см. таблицу B.1) не зависит от расстояния между точками крепления реек.
Таблица B.1
Максимальный крутящий момент Mmax
Профиль монтажной рейки | C 20 | C 30 | C 40 | C 50 |
Н·м | 700 | 2400 | 6400 | 20000 |
Для расстояний между точками крепления, применяемых на практике, и при такой нагрузке обычно возникает чрезмерно большой прогиб в середине монтажной рейки.
Оценка этой деформации показана на рисунке B.4.
ME - суммарный крутящий момент в Н·мм, действующий в середине профиля монтажной рейки в течение нескольких отдельных крутящих моментов M отдельных аналогичных аппаратов (приборов, блоков), рассчитывают по формуле

, (B.3)
где M - крутящий момент аппарата равен произведению массы на расстояние между центром тяжести и монтажной плоскостью аппарата в Н·мм (с учетом возможных ударов);
h - деформация монтажной рейки на 100 мм от поверхности крепления оборудования определяется по формуле

, (B.4)
где IE - осевой момент инерции монтажной рейки в мм4;
G - модуль сдвига (для листовой стали 80 000 Н/мм2);
L - расстояние между точками крепления, мм.
Рисунок B.4 - Оценка деформации C-образной монтажной рейки
B.3.2.2 Нагрузка на одну C-образную монтажную рейку
Пользуясь этим методом, можно рассчитать максимально допустимый крутящий момент в зависимости от расстояния
L между точками крепления при деформации
h = 1 мм (см.
рисунок B.5).
При других значениях h* крутящий момент ME* можно рассчитать из отношения

(B.5)
при любом значении, не превышающем значения во избежание остаточной деформации направляющей.
На практике встречаются промежуточные варианты, отличающиеся от рассчитанных теоретических значений. Измерения показали, что деформация величиной h = 1 мм достигается при крутящих моментах ME, приведенных на рисунке B.5, для расстояний L от 800 до 1000 мм. При меньших значениях L деформация h может быть уменьшена до 0,5 мм, а при больших значениях L - увеличена до 2 мм.
Рисунок B.5 - Допустимая нагрузка
ME =
f(
L)
B.3.2.3 Нагрузка на две монтажные C-образные рейки
Для определения допустимой нагрузки конструкции из двух одинаковых монтажных C-образных реек в условиях их нормальной эксплуатации наиболее важным фактором всегда является деформация этой конструкции, возникающая при кручении (деформации) f каждой рейки. Вертикальный прогиб невелик, и им можно пренебречь.
Исследования показали, что при креплении каждой монтажной рейки двумя винтами возникает крутящее усилие t = 50 Н/мм2, которое может привести к их остаточной деформации.
Максимальный допустимый крутящий момент
ME, возникающий при этом (см.
рисунок B.7), не зависит от расстояния
L между точками крепления рейки.
Оценка деформации конструкции показана на рисунке B.6.
Рисунок B.6 - Оценка деформации конструкции
ME - суммарный крутящий момент в Н·мм, действующий в середине монтажной рейки вследствие нескольких отдельных крутящих моментов M от отдельных аналогичных аппаратов (приборов, блоков), рассчитывают по формуле

, (B.6)
где J - момент инерции отдельных монтажных реек, мм4 <1>;
--------------------------------
<1> Момент инерции - скалярная физическая величина, мера инертности тела при вращении вокруг оси.
E - модуль упругости (для листовой стали E = 210000 Н/мм2);
L - расстояние между точками крепления, мм;
H - расстояние между монтажными рейками, мм;
f - деформация отдельных монтажных реек, мм;
h - значение деформации конструкции на расстоянии 100 мм от поверхности крепления аппаратуры, мм.
Пользуясь этим методом, можно вычислить допустимый крутящий момент установки
ME на расстоянии
H = 100 мм при деформации
h = 1 мм в зависимости от расстояния
L между точками крепления монтажных реек (см.
рисунок B.7).
В зависимости от качества винтовых креплений, их числа и шага между ними, а также расстояния между аппаратурой и монтажными рейками значение деформации может незначительно отличаться от 1 мм.
При различных расстояниях H* допустимый крутящий момент ME* и максимальный крутящий момент Mmax* могут быть вычислены по формуле

. (B.7)
При меньшей или большей деформации h* крутящий момент ME* может быть получен из отношения

, (B.8)
без превышения соответствующего максимального крутящего момента Mmax или Mmax* во избежание остаточной деформации направляющих.
B.3.3 Нагрузка на монтажные рейки из других материалов
Для монтажных реек, изготовленных не из стали, допустимая нагрузка может быть определена в соответствии с
рисунками B.5 и B.7 на основании оценки деформации, приведенной на
рисунках B.4 и
B.6.
Рисунок B.7 - Сборка двух одинаковых секций "C".
Допустимое напряжение ME = f(L) для H = 100 мм
(справочное)
СВЕДЕНИЯ О СООТВЕТСТВИИ ССЫЛОЧНЫХ МЕЖДУНАРОДНЫХ СТАНДАРТОВ
МЕЖГОСУДАРСТВЕННЫМ СТАНДАРТАМ
Таблица ДА.1
Обозначение ссылочного международного стандарта | Степень соответствия | Обозначение и наименование соответствующего межгосударственного стандарта |
IEC 60947-7-2 | IDT | ГОСТ IEC 60947-7-2-2016 "Аппаратура распределения и управления низковольтная. Часть 7-2. Электрооборудование вспомогательное. Колодки клеммные защитных проводников для присоединения медных проводников" |
Примечание - В настоящей таблице применено следующее условное обозначение степени соответствия стандартов: - IDT - идентичный стандарт. |
IEC GUIDE 108 | Guidelines for ensuring the coherency of IEC publications - Application of horizontal standards (Руководство по обеспечению согласованности публикаций IEC. Применение горизонтальных стандартов) |
ISO 1101:2012:2017 | Geometrical product specifications (GPS) - Geometrical tolerancing - Tolerances of form, orientation, location, and run-out (Геометрические характеристики изделий (GPS). Установление геометрических допусков. Допуски формы, ориентации, месторасположения и биения) |
УДК 621.316.3.027.2:006.354 | |
Ключевые слова: низковольтная аппаратура распределения и управления, электрические аппараты, направляющие, размеры, низковольтные комплектные устройства |