Главная // Актуальные документы // ГОСТ (Государственный стандарт)СПРАВКА
Источник публикации
М.: Стандартинформ, 2017
Примечание к документу
Документ включен в
Перечень международных и региональных (межгосударственных) стандартов, а в случае их отсутствия - национальных (государственных) стандартов, в результате применения которых на добровольной основе обеспечивается соблюдение требований технического
регламента Таможенного союза "О безопасности низковольтного оборудования" (ТР ТС 004/2011), и в
Перечень международных и региональных (межгосударственных) стандартов, а в случае их отсутствия - национальных (государственных) стандартов, содержащих правила и методы исследований (испытаний) и измерений, в том числе правила отбора образцов, необходимые для применения и исполнения требований технического
регламента Таможенного союза "О безопасности низковольтного оборудования" (ТР ТС 004/2011) и осуществления оценки соответствия объектов технического регулирования (
Решение Коллегии Евразийской экономической комиссии от 11.05.2023 N 55).
Текст данного документа приведен с учетом
поправки, опубликованной в "ИУС", N 9, 2022.
Документ
введен в действие с 01.07.2018.
Название документа
"ГОСТ IEC 60947-7-1-2016. Межгосударственный стандарт. Аппаратура распределения и управления низковольтная. Часть 7-1. Электрооборудование вспомогательное. Колодки клеммные для медных проводников"
(введен в действие Приказом Росстандарта от 23.05.2017 N 405-ст)
"ГОСТ IEC 60947-7-1-2016. Межгосударственный стандарт. Аппаратура распределения и управления низковольтная. Часть 7-1. Электрооборудование вспомогательное. Колодки клеммные для медных проводников"
(введен в действие Приказом Росстандарта от 23.05.2017 N 405-ст)
агентства по техническому
регулированию и метрологии
от 23 мая 2017 г. N 405-ст
МЕЖГОСУДАРСТВЕННЫЙ СТАНДАРТ
АППАРАТУРА РАСПРЕДЕЛЕНИЯ И УПРАВЛЕНИЯ НИЗКОВОЛЬТНАЯ
ЧАСТЬ 7-1
ЭЛЕКТРООБОРУДОВАНИЕ ВСПОМОГАТЕЛЬНОЕ.
КОЛОДКИ КЛЕММНЫЕ ДЛЯ МЕДНЫХ ПРОВОДНИКОВ
Low-voltage switchgear and controlgear. Part 7-1.
Ancillary equipment. Terminal blocks for copper conductors
(IEC 60947-7-1:2009, IDT)
ГОСТ IEC 60947-7-1-2016
Дата введения
1 июля 2018 года
Цели, основные принципы и основной порядок проведения работ по межгосударственной стандартизации установлены в
ГОСТ 1.0-2015 "Межгосударственная система стандартизации. Основные положения" и
ГОСТ 1.2-2015 "Межгосударственная система стандартизации. Стандарты межгосударственные, правила, рекомендации по межгосударственной стандартизации. Правила разработки, принятия, обновления и отмены"
1 ПОДГОТОВЛЕН Автономной некоммерческой организацией "НТЦ "Энергия" на основе собственного перевода на русский язык англоязычной версии стандарта, указанного в
пункте 5
2 ВНЕСЕН Федеральным агентством по техническому регулированию и метрологии
3 ПРИНЯТ Межгосударственным советом по стандартизации, метрологии и сертификации (протокол от 25 октября 2016 г. N 92-П)
За принятие проголосовали:
Краткое наименование страны по МК (ИСО 3166) 004-97 | Код страны по МК (ИСО 3166) 004-97 | Сокращенное наименование национального органа по стандартизации |
Беларусь | BY | Госстандарт Республики Беларусь |
Грузия | GE | Грузстандарт |
Казахстан | KZ | Госстандарт Республики Казахстан |
Киргизия | KG | Кыргызстандарт |
Россия | RU | Росстандарт |
Таджикистан | TJ | Таджикстандарт |
Узбекистан | UZ | Узстандарт |
4
Приказом Федерального агентства по техническому регулированию и метрологии от 23 мая 2017 г. N 405-ст межгосударственный стандарт ГОСТ IEC 60947-7-1-2016 введен в действие в качестве национального стандарта с 1 июля 2018 г.
5 Настоящий стандарт идентичен международному стандарту IEC 60947-7-1:2009 "Аппаратура распределения и управления низковольтная. Часть 7-1. Электрооборудование вспомогательное. Колодки клеммные для медных проводников" ("Low-voltage switchgear and controlgear - Part 7-1: Ancillary equipment - Terminal blocks for copper conductors", IDT).
При применении настоящего стандарта рекомендуется использовать вместо ссылочных международных стандартов соответствующие им межгосударственные стандарты, сведения о которых приведены в дополнительном
приложении ДА.
Информация об изменениях к настоящему стандарту публикуется в ежегодном (по состоянию на 1 января текущего года) информационном указателе "Национальные стандарты", а текст изменений и поправок - в ежемесячном информационном указателе "Национальные стандарты". В случае пересмотра (замены) или отмены настоящего стандарта соответствующее уведомление будет опубликовано в ежемесячном информационном указателе "Национальные стандарты". Соответствующая информация, уведомление и тексты размещаются также в информационной системе общего пользования - на официальном сайте Федерального агентства по техническому регулированию и метрологии в сети Интернет (www.gost.ru)
Настоящий стандарт входит в серию межгосударственных стандартов на низковольтную аппаратуру распределения и управления.
Основополагающий международный стандарт этого комплекса - IEC 60947-1 "Аппаратура распределения и управления низковольтная. Часть 1. Общие требования".
Настоящий стандарт устанавливает требования к клеммным колодкам для присоединения медных проводников и дополняет требования международного стандарта IEC 60947-1 "Аппаратура распределения и управления низковольтная. Часть 1. Общие требования".
Настоящий стандарт может быть использован при оценке соответствия клеммных колодок требованиям технических регламентов.
Настоящий стандарт формулирует требования к клеммным колодкам с выводами винтового или безвинтового типа преимущественно общепромышленного или аналогичного назначения с креплением к панели, обеспечивающим электрическое и механическое соединение медных проводников. Стандарт распространяется на клеммные колодки, предназначенные для присоединения круглых медных проводников со специальной подготовкой или без нее, номинальным сечением от 0,2 до 300 мм2 (AWG 24/600 kcmil), применяемые в цепях на номинальное напряжение до 1000 В переменного тока частотой до 1000 Гц или 1500 В постоянного тока.
Примечание: AWG - сокращенное наименование "Американский сортамент проводов" (сортаменты США и Великобритании одинаковы)
kcmil = 1000 cmil;
1 cmil = 1 круглую mil = сечению окружности диаметром 1 mil;
1 mil = 1/1000 дюйма.
Настоящий стандарт может применяться в качестве руководства к:
- клеммным колодкам, требующим соединения проводников со специальной подготовкой, например, применения плоских быстросоединяемых наконечников, специальных наконечников и т.п.;
- клеммным колодкам, обеспечивающим прямой контакт с проводниками посредством проникновения сквозь изоляцию, например соединители с проколом изоляции и т.п.;
- к клеммным колодкам специального назначения, например клеммные колодки с функцией разъединения и т.п.
Для целей настоящего стандарта, термин "зажим" аналогичен термину "вывод". Это следует учесть при ссылках на стандарт IEC 60947-1.
В настоящем стандарте использованы нормативные ссылки на следующие стандарты. Для датированных ссылок применяют только указанное издание ссылочного международного стандарта (включая все его изменения).
IEC 60695-11-5:2004, Fire hazard testing - Part 11-5: Test flames - Needle-flame test method - Apparatus, confirmatory test arrangement and guidance (Испытание на пожарную опасность. Часть 11-5. Испытательные пламена. Метод испытания игольчатым пламенем. Аппаратура, поверочное устройство и руководство)
IEC 60947-1:2007, Low-voltage switchgear and controlgear - Part 1: General rules (Устройство распределительное комплектное. Часть 1. Общие правила)
ISO 4046-4:2002, Paper, board, pulp and terms - Vocabulary - Part 4: Paper and boards grades and coverted products (Бумага, картон, целлюлоза и относящиеся к ним термины. Словарь. Часть 4. Сорта бумаги и картона и продукты переработки)
В настоящем стандарте применены термины по IEC 60947-1, а также следующие термины с соответствующими определениями:
2.1 клеммная колодка (terminal block): Изолирующая часть, служащая носителем для одной или нескольких групп выводов, изолированных друг от друга, и предназначенная для крепления на панели.
2.2 номинальное сечение проводника (rated cross-section): Заявленное изготовителем значение максимального сечения жесткого (одножильного или жесткого многожильного) и гибкого проводников, присоединяемых к зажиму, обеспечивающее необходимые электрические и механические характеристики вывода.
2.3 номинальная присоединительная способность (rated connecting capacity): Диапазон присоединяемых сечений и, если допустимо, количество одновременно присоединяемых проводников к зажиму для данной конструкции клеммной колодки.
2.4 группа выводов (terminal assembly): Два или более вывода, прикрепляемых к одной и той же токоведущей части.
Клеммные колодки классифицируют по следующим признакам:
- способу крепления клеммной колодки к панели;
- числу полюсов;
- типу выводов: винтовому или безвинтовому;
- способности приема подготовленных проводников (см. IEC 60947-1, подпункт 2.3.27);
- группам выводов с разными или одинаковыми фиксирующими узлами;
- числу выводов в каждой группе;
- условиям эксплуатации.
4.1. Перечень характеристик
Характеристики клеммной колодки:
- тип клеммной колодки (см. 4.2);
- номинальные и предельные значения параметров (см.
4.3).
4.2. Тип клеммной колодки
Следует указать:
- тип вывода (винтовой, безвинтовой);
- число выводов.
4.3. Номинальные и предельные значения параметров
4.3.1 Номинальные напряжения
Применяют IEC 60947-1, подпункты 4.3.1.2 и 4.3.1.3.
4.3.2 Кратковременно выдерживаемый ток (клеммной колодки)
Заданное действующее значение тока, который клеммная колодка способна выдерживать в течение установленного кратковременного периода в заданных условиях эксплуатации (см.
7.2.3 и
8.4.6).
4.3.3 Стандартные поперечные сечения
Применяемые значения стандартных сечений круглых медных проводников указаны в
таблице 1.
4.3.4 Номинальное поперечное сечение
Номинальное поперечное сечение выбирают из стандартных сечений, указанных в
таблице 1.
4.3.5 Номинальная присоединительная способность
Для клеммных колодок номинальным сечением от 0,2 до 35 мм
2 включительно применяют минимальные значения, указанные в
таблице 2. Проводники могут быть жесткими (одно- или многожильными) или гибкими.
Изготовитель должен указать типы, максимальное и минимальное поперечные сечения присоединяемых проводников и, если приемлемо, то число проводников, одновременно присоединяемых к каждому выводу. Изготовитель должен также предупредить о необходимости подготовки конца проводника.
Таблица 1
Стандартные номинальные сечения круглых медных проводников
Метрические размеры ИСО, мм2 | Соотношение между размерами AWG/kcmil и метрическими размерами |
Размер AWG/kcmil | Эквивалентная метрическая площадь поперечного сечения, мм2 |
0,20 | 24 | 0,205 |
0,34 | 22 | 0,324 |
0,50 | 20 | 0,519 |
0,75 | 18 | 0,820 |
1,00 | - | - |
1,50 | 16 | 1,300 |
2,50 | 14 | 2,100 |
4,00 | 12 | 3,300 |
6,00 | 10 | 5,300 |
10,00 | 8 | 8,400 |
16,00 | 6 | 13,300 |
25,00 | 4 | 21,200 |
35,00 | 2 | 33,600 |
50,00 | 0 | 53,500 |
70,00 | 00 | 67,400 |
95,00 | 000 | 85,000 |
- | 0000 | 107,200 |
120,00 | 250 | 127,000 |
150,00 | 300 | 152,000 |
185,00 | 350 | 177,000 |
240,00 | 500 | 253,000 |
300,00 | 600 | 304,000 |
Таблица 2
Взаимосвязь между номинальным сечением проводников
и номинальной способностью к присоединению
клеммных колодок
Номинальное сечение | Номинальная присоединительная способность |
мм2 | AWG | мм2 | AWG |
0,20 | 24 | 0,20 | 24 |
0,34 | 22 | 0,20 - 0,34 | 24 - 22 |
0,50 | 20 | 0,20 - 0,34 - 0,50 | 24 - 22 - 20 |
0,75 | 18 | 0,20 - 0,50 - 0,75 | 24 - 20 - 18 |
1,00 | - | 0,50 - 0,75 - 1,00 | - |
1,50 | 16 | 0,75 - 1,00 - 1,50 | 20 - 18 - 16 |
2,50 | 14 | 1,00 - 1,50 - 2,50 | 18 - 16 - 14 |
4,00 | 12 | 1,50 - 2,50 - 4,00 | 16 - 14 - 12 |
6,00 | 10 | 2,50 - 4,00 - 6,00 | 14 - 12 - 10 |
10,00 | 8 | 4,00 - 6,00 - 10,00 | 12 - 10 - 8 |
16,00 | 6 | 6,00 - 10,00 - 16,00 | 10 - 8 - 6 |
25,00 | 4 | 10,00 - 16,00 - 25,00 | 8 - 6 - 4 |
35,00 | 2 | 16,00 - 25,00 - 35,00 | 6 - 4 - 2 |
5. Информация об аппарате
Колодка выводов для плавких предохранителей должна обеспечиваться прочной и четкой маркировкой, содержащей следующие данные:
a) наименование или товарный знак изготовителя для его идентификации;
b) обозначение типа изделия, позволяющее легко его идентифицировать для получения соответствующей информации от изготовителя или из каталогов изготовителя.
5.2. Дополнительная информация
Следующая информация должна быть указана изготовителем, если применимо, например, в техническом описании или каталоге изготовителя, или наноситься на элементы упаковки:
a) обозначение IEC 60947-7-1, если изготовитель заявляет о соответствии клеммной колодки данному стандарту;
b) номинальное поперечное сечение проводников;
c) номинальная присоединительная способность, если она не соответствует значениям, указанным в
таблице 2, включая число одновременно присоединяемых проводников;
d) номинальные напряжения изоляции Ui;
e) номинальное импульсное выдерживаемое напряжение Uimp;
f) условия эксплуатации, если они отличаются от указанных в
разделе 6;
g) условный тепловой ток на открытом воздухе Ith.
Примечание - Условный тепловой ток на открытом воздухе Ith - это максимальное значение испытательного тока, примененного при испытании превышения температуры аппарата, установленного на открытом воздухе (вне оболочки), см. IEC 60947-1, подпункт 4.3.2.1.
6. Условия нормальной эксплуатации,
монтажа и транспортирования
Применяют IEC 60947-1.
7. Требования к конструкции и работоспособности
7.1. Требования к конструкции
7.1.1 Выводные зажимы
Применяют IEC 60947-1, подпункт 7.1.8.1 со следующими дополнениями:
Конструкция выводных зажимов должна допускать присоединение проводников с помощью частей, обеспечивающих контакт и выполненных из металла достаточной механической прочности.
Примечание - Резьбовые выводные зажимы не предназначены для присоединения гибких проводников с пропаянными жилами.
Выводные зажимы должны быть способны выдерживать усилия, которые могут быть приложены через присоединяемые проводники.
Контактное давление не должно передаваться через изоляционный материал, кроме керамики или другого материала с аналогичными характеристиками, если металлические части не обладают достаточной эластичностью для компенсации любой возможной усадки изоляционного материала.
Соответствующий метод испытаний находится в стадии рассмотрения.
7.1.2 Монтаж
Клеммные колодки должны оснащаться устройствами, позволяющими им надежно крепиться к рейке или установочной поверхности.
Испытания следует проводить в соответствии с
8.3.2.
Примечание - Информацию по монтажу на рейках можно найти в IEC 60715.
7.1.3 Воздушные зазоры и расстояния утечки
Для клеммных колодок с указанными изготовителем значениями номинального импульсного выдерживаемого напряжения Uimp и номинального напряжения изоляции Ui, значения минимальных воздушных зазоров и расстояний утечек следует выбирать по IEC 60947-1, таблицы 13 и 15.
Для клеммных колодок с не указанными изготовителем значениями номинального импульсного выдерживаемого напряжения Uimp при назначении минимальных воздушных зазоров и расстояний утечки следует руководствоваться IEC 60947-1, приложение H.
Электрические характеристики установлены в
7.2.2.
7.1.4 Идентификация и маркировка выводов
Применяют IEC 60947-1, подпункт 7.1.8.4 со следующими дополнениями.
На клеммной колодке должно быть предусмотрено место для нанесения идентификационных знаков или номеров на каждый вывод или группу выводов соответствующей цепи, частью которой она является.
Для целей идентификации клеммной колодки не должна применяться комбинация желто-зеленого цвета.
Примечание - Маркировка может иметь вид отдельных ярлыков, этикеток и т.п.
7.1.5 Стойкость к аномальному нагреву и огню
Изоляционные материалы клеммных колодок должны быть устойчивыми к воздействию аномального нагрева и огнестойкими.
IEC 60947-1, подпункт 7.1.2.2 не применяют, исключая примечание.
Соответствие проверяют испытанием игольчатым пламенем по IEC 60695-11-5, как указано в
8.5 настоящего стандарта.
7.1.6 Способность к присоединению
Конструкцией клеммных колодок должен быть обеспечен зажим проводников номинального поперечного сечения и/или клеммные колодки должны соответствовать требованиям номинальной присоединительной способности.
Соответствие проверяют испытанием по
8.3.3.4.
Соответствие номинальной присоединительной способности проверяют специальными испытаниями по
8.3.3.5.
7.2. Требования к работоспособности
7.2.1 Превышение температуры
Клеммные колодки следует испытывать в соответствии с
8.3.3. Превышение температуры выводов не должно быть более 45 °C.
7.2.2 Электроизоляционные свойства
Если изготовитель указал значение номинального импульсного выдерживаемого напряжения
Uimp (см. IEC 60947-1, подпункт 4.3.1.3), действительны требования IEC 60947-1, подпункты 7.2.3 и 7.2.3.2. Если применимо, испытания импульсным выдерживаемым напряжением должны быть проведены согласно
8.4.3, перечисление a).
Для проверки изоляционных характеристик применяются требования IEC 60947-1, подпункты 7.2.3, 7.2.3.2 и 7.2.3.5. Испытания электрической прочности изоляции переменным током промышленной частоты должны быть проведены по
8.4.3, перечисление b).
Проверка воздушных зазоров и расстояний утечки проводят в соответствии с
8.4.2.
Если изготовитель не указал значение номинального импульсного выдерживаемого напряжения Uimp, руководство для минимальных значений дано в IEC 60947-1, приложение H.
7.2.3 Номинальный кратковременно выдерживаемый ток
Клеммная колодка должна быть способна проводить в течение 1 с номинальный кратковременно выдерживаемый ток, который соответствует 120 А на 1 мм
2 присоединяемого номинального поперечного сечения, согласно
8.4.6.
7.2.4 Падение напряжения
Значение падения напряжения, вызываемого введением проводника в клеммную колодку, измеряемого согласно
8.4.4, не должно превышать значений, указанных в
8.4.4 и, где применимо, в
8.4.7.
7.2.5 Электрическая работоспособность после испытаний на температурный износ (только для клеммных колодок безвинтового типа)
Клеммные колодки должны быть способны выдерживать испытание на износ воздействием 192 температурных циклов согласно
8.4.7.
7.3. Электромагнитная совместимость (ЭМС)
Применяют IEC 60947-1, подраздел 7.3.
Применяют IEC 60947-1, пункт 8.1.1 со следующим дополнением.
Испытания не указанных видов обуславливают. Соответствие номинальной присоединительной способности проверяют специальными испытаниями по
8.3.3.5. После этого проводят типовые испытания.
Если иное не обусловлено, испытаниям подвергают новые, не бывшие в употреблении чистые клеммные колодки, установленные как в нормальных условиях применения (см. IEC 60947-1, подраздел 6.3) и при температуре окружающей среды (20 +/- 5) °C.
Примечание - "Нормальные условия применения" означают установку пяти клеммных колодок на общей панели, оставшуюся открытую сторону крайней колодки закрывают пластиной, прикрепляемой к концу кронштейна крепления, если применимо.
Испытания проводят в последовательности, указанной далее.
Каждое испытание проводят на новых отдельных образцах.
Контактирующие поверхности применяемых проводников не должны иметь загрязнений и коррозии, ухудшающих характеристики при испытаниях.
При скручивании концов проводников следует исключить их надломы, надрезы, пережатия и другие повреждения жил.
Если изготовитель обуславливает необходимость предварительной подготовки концов проводников, в протоколе испытаний должен быть описан способ подготовки.
Испытания проводят с типом проводника (жесткий или гибкий), который указал изготовитель.
Если один из образцов не выдержал испытание, его повторяют на втором образце клеммной колодки, при повторном испытании не должно быть несоответствия. Если это испытание является частью испытательного цикла, то повторяют испытание на соответствие испытательному циклу.
8.3. Проверка механических характеристик
8.3.1 Общие положения
Проверка механических характеристик включает следующие испытания:
- крепления клеммной колодки к панели (см.
8.3.2);
- механической прочности выводов колодки (см.
8.3.3.1);
8.3.2 Крепление колодки выводов для плавких предохранителей к основанию
Испытания проводят на двух выводных зажимах центральной клеммной колодки из группы пяти клеммных колодок, закрепленных на установочной панели согласно инструкции изготовителя.
Стальной стержень длиной 150 мм и диаметром согласно
таблице 3 последовательно прикрепляют к каждому зажиму. Значение крутящего момента должно соответствовать значениям IEC 60947-1, таблица 4 или, альтернативно, в соответствии со значением крутящего момента, указанного изготовителем. Силу, значение которой соответствует значениям
таблицы 3, равномерно без рывков прилагают к стержню на расстоянии 100 мм от центра зажимного узла согласно рисунку 1.
1 - прилагаемые усилия; 2 - рейка крепления или панель
Рисунок 1 - Испытание по
8.3.2
Во время испытания клеммная колодка не должна смещаться с рейки или панели или получать повреждения.
8.3.3 Механические свойства выводов клеммной колодки
8.3.3.1 Испытания механических характеристик выводов клеммной колодки
Таблица 3
Параметры испытания на крепление
Номинальное поперечное сечение клеммной колодки | Усилие, Н | Диаметр стержня, мм |
мм2 | AWG/kcmil |
0,20 | 24 | 1 | 1,0 |
0,50 | 20 |
0,75 | 18 |
1,00 | - |
1,50 | 16 |
2,50 | 14 |
4,00 | 12 |
6,00 | 10 | 5 | 2,8 |
10,00 | 8 |
16,00 | 6 |
25,00 | 4 | 10 | 5,7 |
35,00 | 2 |
50,00 | 0 |
70,00 | 00 |
95,00 | 000 | 15 | 12,8 |
- | 0000 |
120,00 | 250 |
150,00 | 300 |
185,00 | 350 |
240,00 | 500 | 20 | 20,5 |
300,00 | 600 |
Применяют IEC 60947-1, подпункты 8.2.4.1 и 8.2.4.2 со следующими дополнениями.
Испытание должно быть проведено на двух центральных колодках из пяти клеммных колодок, установленных как для нормальных условий применения и закрепленных на монтажном основании согласно инструкции изготовителя.
После проверки падения напряжения согласно
8.4.4 с присоединенными проводниками номинального сечения, указанного изготовителем, и затем, если применимо, с проводниками минимального сечения, указанного изготовителем, жесткие проводники номинального сечения должны быть присоединены и отсоединены пять раз.
По окончании испытания клеммная колодка должна быть испытана на проверку падения напряжения согласно
8.4.4 с присоединенными жесткими проводниками номинального сечения, а затем, если применимо, с гибкими проводниками минимального сечения.
8.3.3.2 Испытание на повреждение и случайное ослабление (на изгиб) присоединенных проводников к колодке выводов для плавких предохранителей.
Применяют IEC 60947-1, подпункты 8.2.4.1 и 8.2.4.3 со следующими уточнениями.
Испытание должно быть проведено на двух выводных зажимах одной клеммной колодки.
Значение крутящего момента должно соответствовать значениям IEC 60947-1, таблица 4 или, альтернативно, в соответствии со значением крутящего момента, указанного изготовителем.
Испытание проводят на том типе (жестком и/или гибком) и количестве проводников, присоединяемых к зажиму, которые обусловил изготовитель, со следующими уточнениями:
- с наименьшим сечением проводника из указанных изготовителем (к зажиму присоединяют один проводник);
- с номинальным сечением проводника из указанных изготовителем (к зажиму присоединяют один проводник);
и, если применимо,
- с наибольшим сечением проводника из указанных изготовителем (к зажиму присоединяют один проводник);
- с максимальным числом одновременно присоединяемых к зажиму проводников наименьшего сечения из указанных изготовителем;
- с максимальным числом одновременно присоединяемых к зажиму проводников наибольшего сечения из указанных изготовителем;
- с максимальным числом одновременно присоединяемых к зажиму проводников наименьшего и наибольшего сечений из указанных изготовителем.
8.3.3.3 Испытание на вытягивание
Применяют IEC 60947-1, подпункт 8.2.4.4.
8.3.3.4 Проверка возможности присоединения проводника номинального сечения и проверка способности к присоединению.
Испытания должны быть проведены на каждом зажиме одной клеммной колодки.
Для проводников номинального сечения и зажимов с номинальной подключающей способностью свыше 35 мм2 один проводник или два проводника меньшего сечения должны входить в гнездо зажима и быть присоединены к выводу.
Теоретические диаметры проводников наибольших сечений приведены в IEC 60947-1, таблица 7a.
8.3.3.5 Проверка присоединения номинального сечения (специальные испытания калибром)
Применяют IEC 60947-1, подпункт 8.2.4.5 со следующим дополнением.
Испытания должны быть проведены на каждом зажиме одной клеммной колодки.
8.4. Проверка электрических характеристик
8.4.1 Общие положения
Проверка электрических характеристик включает в себя:
- проверку воздушных зазоров и расстояний утечек (см.
8.4.2);
- испытание на электрическую прочность (см.
8.4.3);
- проверку падения напряжения (см.
8.4.4);
- испытание на превышение температуры (см.
8.4.5);
- испытание на кратковременно выдерживаемый ток (см.
8.4.6);
- испытание на износ (только для клеммных колодок безрезьбового типа) (см.
8.4.7).
8.4.2 Проверка воздушных зазоров и расстояний утечек
8.4.2.1 Общие положения
Измерения должны быть проведены между двумя рядом расположенными клеммными колодками и между клеммной колодкой и металлическим основанием, на котором установлена колодка.
Воздушные зазоры и расстояния утечек должны быть измерены при следующих условиях:
a) клеммные колодки должны быть оснащены самыми неблагоприятными для получения результатов измерений проводниками из состава типов и сечений проводников, которые указал изготовитель;
b) проводники должны быть освобождены от изоляции на длину, указанную изготовителем;
c) при указании изготовителем различных способов установки колодок на металлическую панель должен быть применен самый неблагоприятный для получения результатов измерений вариант.
Методы измерений воздушных зазоров и расстояний утечек принимают по IEC 60947-1, приложение G.
8.4.2.2 Воздушные зазоры
Измеренные воздушные зазоры должны быть не менее, чем приведенные в IEC 60947-1, таблица 13 для случая B - однородное поле (см. IEC 60947-1, подпункт 7.2.3.3), соотнесенные к выдерживаемому импульсному напряжению Uimp и степени загрязнения среды, указанным изготовителем.
Испытание на номинальное выдерживаемое импульсное напряжение в соответствии с
8.4.3, перечисление a) не проводят, если измеренные воздушные зазоры равны или более указанных в IEC 60947-1, таблица 13 для случая A - неоднородная среда (см. IEC 60947-1, подпункт 8.3.3.4.1, перечисление 2)).
8.4.2.3 Расстояния утечек
Измеренные расстояния утечек должны быть не менее указанных в IEC 60947-1, таблица 15 с учетом IEC 60947-1, подпункт 7.2.3.4, перечисления a) и b), соотнесенные к номинальному напряжению изоляции, группе материалов и степени загрязнения среды, указанным изготовителем.
8.4.3 Испытания изоляционных характеристик
a) Если изготовитель указал значение выдерживаемого импульсного напряжения
Uimp, испытание на выдерживаемое импульсное напряжение проводится в соответствии с IEC 60947-1, подпункт 8.3.3.4.1, перечисление 2), исключая перечисление 2) c), если оно не применимо.
b) При указании значения номинального напряжения изоляции, испытания на проверку изоляции выдерживаемым напряжением промышленной частоты проводятся в соответствии с IEC 60947-1, подпункт 8.3.3.4.1, перечисление 3).
Значения испытательных напряжений должны соответствовать IEC 60947-1, таблица 12A (приложение A) (см. IEC 60947-1, подпункт 8.3.3.4.1 перечисления 3) b) и 3) i)).
Каждое испытание должно быть проведено на пяти совместно установленных на металлическом основании клеммных колодках в условиях, соответствующих
перечислениям a),
b) и
c) 8.4.2.1.
Вначале прилагают напряжение между смежными колодками, а затем между всеми колодками, соединенными вместе, и панелью, на которой установлены колодки.
8.4.4 Проверка падения напряжения
Падение напряжения проверяют:
a) до и после испытания на механическую прочность выводов (см.
8.3.3.1);
b) до и после испытания на превышение температуры (см.
8.4.5);
c) до и после испытания на кратковременно выдерживаемый ток (см.
8.4.6);
d) до, во время и после испытания на температурный износ (см.
8.4.7).
Падение напряжения измеряют на каждой клеммной колодке в соответствии с рисунком 2. Измерение проводят при нагрузке постоянным током, равным 0,1 А указанного в
таблице 4 или
5.
1 - места измерения падения напряжения;
2 - места измерения температуры
Рисунок 2 - Схема измерений при испытаниях согласно
До испытаний по вышеуказанным
перечислениям a),
b),
c) и
d) измеренное падение напряжения не должно превышать 3,2 мВ или 1,6 мВ на каждом индивидуальном зажиме измеренном отдельно, только в случае, если общее измеренное значение согласно рисунку 2 превышает 3,2 мВ.
Если измеренное падение напряжения превышает 3,2 мВ, необходимо провести измерения индивидуально на каждом выводном зажиме клеммной колодки, при этом значения измеренного падения напряжения не должны превышать 1,6 мВ.
После испытаний по вышеуказанным
перечислениям a),
b) и
c) значения измеренного падения напряжения не должны быть выше 150% соответствующих значений, полученных при измерении до испытаний.
В процессе и после испытаний по вышеуказанному
перечислению d) значения измеренного падения напряжения не должны быть выше значения, указанного в
8.4.7.
Таблица 4
Значения испытательного тока для испытаний
на превышение температуры, износ и падение напряжения
для метрических размеров сечений проводников
Номинальное поперечное сечение, мм2 | Испытательный ток, А | Номинальное поперечное сечение, мм2 | Испытательный ток, А |
0,20 | 4,0 | 25 | 101 |
0,34 | 5,0 | 35 | 125 |
0,50 | 6,0 | 50 | 150 |
0,75 | 9,0 | 70 | 192 |
1,00 | 13,5 | 95 | 232 |
1,50 | 17,5 | 120 | 269 |
2,5 | 24 | 150 | 309 |
4,0 | 32 | 185 | 353 |
6 | 41 | 240 | 415 |
10 | 57 | 300 | 520 |
16 | 76 | - | - |
Таблица 5
Значения испытательного тока для испытаний
на превышение температуры, износ и падение напряжения
для размеров сечений проводников в системе AWG/kcmil
Номинальное поперечное сечение AWG/kcmil | Испытательный ток, А | Номинальное поперечное сечение AWG/kcmil | Испытательный ток, А |
24 | 4,0 | 2 | 121 |
22 | 6,0 | 1 | 139 |
20 | 8,0 | 0 | 162 |
18 | 10,0 | 00 | 185 |
16 | 16 | 000 | 217 |
14 | 22 | 0000 | 242 |
12 | 29 | 250 | 271 |
10 | 38 | 300 kcmil | 309 |
8 | 50 | 350 kcmil | 353 |
6 | 67 | 500 kcmil | 415 |
4 | 90 | 600 kcmil | 520 |
8.4.5 Испытание на превышение температуры
Испытание выполняют одновременно на пяти смежных клеммных колодках, соединенных последовательно проводниками поливинилхлоридной (далее - ПВХ) изоляцией номинального поперечного сечения, как указано на
рисунке 2.
Проводники должны быть зажаты крутящими моментами, значения которых приведены в IEC 60947-1, таблица 4, или, альтернативно, в соответствии со значением крутящего момента, указанного изготовителем. Минимальная длина каждого из шести проводников должна быть 1 м для номинальных сечений до 10 мм
2 включительно и 2 м - для

номинальных сечений.
Испытательную цепь (см.
рисунок 2) располагают горизонтально на деревянной поверхности (например, крышке стола или полу), клеммные колодки надежно прикрепляют к панели, проводники свободно располагают на ней.
Проводники номинальных сечений менее 10 мм2 (AWG 8) должны быть одножильными; проводники номинальных сечений 10 мм2 (AWG 8) и более должны быть жесткими многожильными.
Во время испытаний винты выводных зажимов не должны подтягиваться.
После проверки падения напряжения по
8.4.4, испытание проводят переменным однофазным током, значение которого указано в
таблице 4 или
5, соответственно номинальному сечению и продолжительностью до достижения установившейся температуры. Если разница между результатами двух из трех последовательных измерений, выполненных с интервалом в 5 мин, составляет менее 1 °C, температуру считают установившейся.
Испытания многоярусных клеммных колодок проводят переменным однофазным током, значение которого приведено в
таблице 4 или
5, либо при значении условного теплового тока на открытом воздухе
Ith, указанного изготовителем.
Превышение температуры любой части клеммной колодки, расположенной в центре, не должно выходить за пределы, указанные в
7.2.1 (см.
рисунок 2).
По окончании испытания и охлаждении до температуры окружающей среды клеммные колодки без изменений в монтаже должны быть способны выдерживать испытание на падение напряжения согласно
8.4.4.
8.4.6 Испытание на кратковременно выдерживаемый ток
Цель данного испытания заключается в проверке способности клеммной колодки выдерживать тепловые нагрузки.
Испытание проводят на одной клеммной колодке, установленной согласно указанию изготовителя. К зажимам должны быть присоединены проводники номинального сечения с моментами затяжки винтов согласно IEC 60947-1, таблица 4, или, альтернативно, в соответствии со значением крутящего момента, указанного изготовителем.
Проводники номинальных сечений менее 10 мм2 (AWG 8) должны быть одножильными; проводники номинальных сечений 10 мм2 (AWG 8) и более должны быть жесткими многожильными.
После проверки падения напряжения по
8.4.4, подают испытательный ток значением и продолжительностью согласно
7.2.3.
По окончании испытания не должно быть повреждений частей клеммной колодки, способных нарушить ее дальнейшую эксплуатацию. После охлаждения до температуры окружающей среды без внесения изменений в испытательную установку клеммная колодка должна быть способна выдержать испытание на падение напряжения согласно
8.4.4.
8.4.7 Испытание на температурный износ клеммных колодок безвинтового типа
Испытание проводят на пяти клеммных колодках, установленных согласно
рисунку 2 и соединенных одна с другой последовательно проводниками номинального сечения.
Проводники сечением менее 10 мм2 (AWG 8) должны быть одножильными, сечением не менее 10 мм2 (AWG 8) - жесткими многожильными.
Для клеммных колодок, предназначенных для "нормальных условий эксплуатации" (максимальная температура 40 °C согласно IEC 60947-1, пункт 6.1.1) должны быть применены проводники с ПВХ изоляцией.
Для клеммных колодок, предназначенных по указанию изготовителя для "предельных условий эксплуатации" (максимальной температурой выше 40 °C согласно IEC 60947-1, примечание 1) к пункту 6.1.1 должны быть применены теплостойкие изолированные или неизолированные проводники.
Минимальная длина проводников-перемычек должна быть 300 мм.
Клеммные колодки помещают в камеру тепла, выдерживают при температуре (20 +/- 2) °C и затем измеряют падение напряжения.
Испытательная установка (собранная схема) не должна перемещаться до окончания измерений падения напряжения.
Клеммные колодки подвергают воздействию 192 температурных циклов в следующем порядке.
Температуру в камере тепла повышают до 40 °C согласно IEC 60947-1, подпункт 8.3.3.3.1 или до температуры, указанной изготовителем как температура "предельных условий эксплуатации".
Температуру поддерживают на этом уровне с точностью +/- 5 °C в течение 10 мин.
В данном периоде цикла значение тока устанавливают согласно
8.4.5.
Затем клеммные колодки охлаждают до температуры приблизительно 30 °C, допускается принудительное охлаждение; клеммные колодки выдерживают при этой температуре около 10 мин, если в данном цикле необходимо измерение падения напряжения, то клеммные колодки охлаждают до температуры (20 +/- 5) °C.
Примечание - За основу принимаются скорость подъема температуры или охлаждения в камере тепла приблизительно 1,5 °C/мин.
Измерение падения напряжения клеммных колодок проводят по
8.4.4 после каждого 24-го температурного цикла и после 192-го температурного цикла при температуре (20 +/- 5) °C.
Падение напряжения не должно превышать 4,8 мВ или 1,5-кратного значения, измеренного после 24-го цикла, в зависимости от того, что ниже.
Если один из образцов не выдержал испытание, испытание повторяют на втором комплекте клеммных колодок. Все клеммные колодки должны выдержать повторное испытание.
После испытания осмотр не должен выявить таких изменений, нарушающих дальнейшую эксплуатацию, как трещины, деформации и т.п.
После этого проводят испытание на вытягивание по
8.3.3.3.
8.5. Проверка тепловых характеристик
Тепловые характеристики проверяют воздействием игольчатого пламени.
Испытания проводят по IEC 60695-11-5 последовательно на каждой из трех клеммных колодок в области одного выводного зажима.
Испытательное помещение должно быть без сквозняков, размерами, обеспечивающими обновление воздуха в зоне испытаний.
Перед испытанием образцы клеммных колодок выдерживают 24 ч при температуре окружающей среды от 15 °C до 35 °C и относительной влажности воздуха от 45% до 75%.
После выдержки в указанных условиях клеммные колодки устанавливают на подходящее основание и фиксируют соответствующими элементами так, чтобы одна из изоляционных стенок была параллельна расположенной ниже панели (см. рисунок 3).
Проводники не подсоединяют.
Нижерасположенную панель, изготовленную из сосновой доски толщиной 10 мм, покрывают слоем папиросной бумаги плотностью от 12 до 30 г/м2 в соответствии с ИСО 4046-4:2002, пункт 4.215, расстояние от панели до клеммной колодки должно быть (200 +/- 5) мм.
1 - клеммная колодка; 2 - деталь крепления колодки;
3 - боковая изоляционная стенка; 4 - фиксирующая часть;
5 - папиросная бумага; 6 - сосновая доска
Рисунок 3 - Испытательная установка для испытания по
8.5
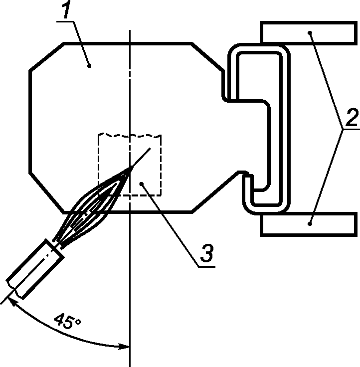
Испытательное пламя, соответствующее IEC 60695-11-5, рисунок 2, направляют под углом 45° к боковой изоляционной стенке.
Конец пламени должен иметь контакт с изоляционной стенкой в районе выводного зажима (см.
рисунок 4).
Пламя должно воздействовать в течение 10 с. Если толщина стенки менее 1 мм и/или ее площадь менее 100 мм2, пламя должно воздействовать в течение 5 с.
После этого пламя отводят, в случае воспламенения измеряют продолжительность горения корпуса клеммной колодки.
Продолжительность горения составляет интервал времени от момента отвода пламени горелки до момента затухания пламени на клеммной колодке.
Клеммную колодку считают выдержавшей испытания, если время горения корпуса составляет не более 30 с.
Папиросная бумага не должна загораться от падающих горящих частиц, отделяющихся от клеммной колодки.
1 - клеммная колодка; 2 - фиксирующие части;
3 - часть колодки в области выводного зажима
Рисунок 4 - Место воздействия игольчатого пламени
(вид с нижней стороны клеммной колодки)
8.6. Проверка характеристик электромагнитной совместимости (ЭМС)
Применяют IEC 60947-1, подраздел 8.4 со следующим дополнением.
8.6.1 Помехоустойчивость
Клеммные колодки, рассматриваемые настоящим стандартом, не содержат электронных компонентов, и испытания на помехоустойчивость не проводят.
8.6.2 Помехоэмиссия
Клеммные колодки, рассматриваемые настоящим стандартом, не содержат генерирующих электронных компонентов, и испытания на помехоэмиссию не проводят.
(вакантное)
(справочное)
ВОПРОСЫ, ТРЕБУЮЩИЕ СОГЛАСОВАНИЯ
МЕЖДУ ИЗГОТОВИТЕЛЕМ И ПОЛЬЗОВАТЕЛЕМ
Примечание - Для целей настоящего приложения термин "согласование" имеет широкое значение, термин "пользователь" включает в себя испытательную лабораторию.
Применяют требования IEC 60947-1, приложение J, относящиеся к подразделам, пунктам и подпунктам настоящего стандарта, со следующими дополнениями:
Таблица B.1
Подразделы, пункты и подпункты настоящего стандарта | Вопрос, требующий согласования |
| Условия испытаний: - специальная подготовка концов проводников, если необходимо; - тип проводника (жесткий или гибкий) |
| Минимальное присоединяемое сечение для проверки падения напряжения |
| Момент затяжки для испытания проводников без повреждений, если есть различия с выбираемым по IEC 60947-1, таблица 4 |
| Специальные испытания |
| Температура при проведении испытаний, если отличается от 40 °C |
Примечание - Все перечисленное выше, где применимо, устанавливается изготовителем. |
(вакантное)
(обязательное)
ДОПОЛНИТЕЛЬНЫЕ ТРЕБОВАНИЯ
К ИСПЫТАТЕЛЬНЫМ РАЗЪЕДИНЯЕМЫМ КЛЕММНЫМ КОЛОДКАМ
D.1 Общие положения
Настоящее приложение устанавливает дополнительные требования к испытаниям разъединяемых клеммных колодок, предназначенных для присоединения проводников с поперечными сечением от 0,2 до 35 мм2. Данные клеммные колодки предназначены для использования в силовых цепях и цепях управления, разъединяемых без нагрузки и наличия напряжения при выполнении испытаний и настроек.
D.2 Термины и определения
Применяют
раздел 2 со следующими дополнениями:
D.2.1 испытательная разъединяемая клеммная колодка (test disconnected terminal block): Клеммная колодка с одним или более выводом и частью, разъединяющей токовую цепь (цепи) для временного разъединения и соединения силовой цепи или цепи управления без нагрузки или наличия напряжения для целей испытаний и измерений.
D.2.2 продольное разъединение (longitudinal disconnection): Разъединение цепи в клеммной колодке или отсоединение клеммной колодки от шины внутри единой конструкции (см.
рис. D.1a).
D.2.3 смежное разъединение (perpendicular disconnection): Разъединение параллельных цепей посредством смежных испытательных разъединяемых колодок или клеммных колодок (см.
рис. D.1b).
D.3 Классификация
Применяют
раздел 3 со следующими дополнениями:
- продольное разъединение;
- смежное разъединение.
D.4 Характеристики
Применяют
раздел 4 со следующими дополнениями.
D.4.2 Тип клеммной колодки
- тип разъединения/функции разъединения (т.е. разъединение резьбового скользящего типа, разъединение безрезьбового скользящего типа, разъединение ножевого типа и т.п.).
D.5 Информация об изделии
Применяют
раздел 5 со следующими дополнениями.
h) число циклов износостойкости.
D.6 Условия нормальной эксплуатации, монтажа и транспортирования
D.7 Требования к конструкции и работоспособности
Применяют
раздел 7 со следующими дополнениями.
D.7.1 Требования к конструкции
D.7.1.3 Воздушные зазоры и расстояния утечки
Воздушные зазоры и расстояния утечки не нормируются при разомкнутом состоянии контактов (рск).
Однако значение номинального импульсного выдерживаемого напряжения Uimp, указанное изготовителем в соответствии с IEC 60947-1, таблица 13, без учета корректирующего коэффициента на барометрическое давление, должно учитываться для разомкнутого состояния контактов (рск).
D.7.1.7 Для продольного и смежного разъединения испытательные разъединяющие клеммные колодки должны быть снабжены разъединяющими частями, например следующих типов:
- штепсельного;
- ножевого;
- скользящего (с или без шины).
Разъединяющая часть не должна самопроизвольно менять своего нормального положения.
D.7.2 Требования к работоспособности
D.7.2.1 Превышение температуры
Испытательные разъединяющие клеммные колодки следует испытывать в соответствии с
D.8.4.5. Превышение температуры любой части клеммной колодки не должно быть более 45 °C.
D.7.2.2 Электроизоляционные свойства
Применяют
7.2.2 со следующими условиями к разомкнутому состоянию контактов (рск).
Значение номинального импульсного выдерживаемого напряжения Uimp, указанное изготовителем, должно соответствовать импульсному выдерживаемому испытательному напряжению по IEC 60947-1, таблица 13 без учета корректирующего коэффициента на барометрическое давление.
Если изготовитель не указал значение номинального импульсного выдерживаемого напряжения Uimp, следует руководствоваться минимальными значениями, указанными в IEC 60947-1, приложение H.
D.7.2.3 Номинальный кратковременно выдерживаемый ток
Текст
7.2.3 дополняется следующим:
Если изготовитель указал значение условного теплового тока на открытом воздухе
Itn, для испытательных разъединяемых клеммных колодок должно быть указано значение тока короткого замыкания, выдерживаемого в течение 1 с, с учетом значения плотности тока 120 А/мм
2, исходя из сечения проводников по
D.8.4.6.
D.7.2.4 Падение напряжения
Падение напряжения на испытательных разъединяемых клеммных колодках, измеряемое согласно D.8.4.4, не должно превышать значений, указанных в D.8.4.4 и, где применимо, в
D.8.4.7.
D.7.2.5 Электрическая работоспособность после испытаний на температурный износ (только для клеммных колодок безвинтового типа)
Применяют
7.2.5 со следующими дополнениями.
Если изготовитель указал значение тока для испытательных разъединяемых клеммных колодок, применяют
D.8.4.7.
D.7.2.6 Срок службы (износостойкость)
Для испытательных разъединяемых клеммных колодок должны быть указаны условия механических и тепловых воздействий для нормальной эксплуатации.
Изготовителем должна быть указана износостойкость разъединяющих частей. Предпочтительные значения числа циклов износостойкости указаны в таблице D.1.
Соответствие проверяется по
D.8.5.1.
Таблица D.1
Число циклов износостойкости
Предпочтительное число циклов |
10 |
50 |
100 |
500 |
1000 |
D.8 Испытания
Применяют
раздел 7 со следующими дополнениями и уточнениями.
Текст
8.4.4 изложить в новой редакции.
Падение напряжения проверяют:
a) до и после испытания на механическую прочность выводов (см.
8.3.3.1);
b) до и после испытания на превышение температуры (см.
8.4.5);
c) до и после испытания на кратковременно выдерживаемый ток (см.
8.4.6 или
D.8.4.6, если изготовитель указал значение тока);
d) во время испытания на электрическую работоспособность и после испытания на износ (см.
8.4.7 или
D.8.4.7, если изготовитель указал значение тока);
e) до и после испытаний на срок службы (износостойкость) (см.
D.8.5.1).
Падение напряжения измеряется на каждой клеммной колодке в соответствии с
рисунком D.1. Измерение проводят при нагрузке постоянным током. Испытательный ток должен быть равен 0,1 от указанного в
таблице D.2 или
таблице D.3.
До испытаний по
перечислениям a),
b),
c) и
d), измеренное падение напряжения не должно превышать 1,6 мВ, умноженное на количество выводных зажимов и контактов разъединяющей части клеммной колодки.
Если измеренное падение напряжения превысит расчетное, необходимо провести измерения индивидуально на каждом выводном зажиме клеммной колодки, и каждом контакте разъединяющей части. При этом измеренные значения на каждой точке не должны превышать 1,6 мВ.
После испытаний по
перечислениям a),
b),
c) и
e), измеренные значения падения напряжения не должны быть выше 150% соответствующих значений, измеренных до испытаний.
В процессе и после испытаний по вышеуказанному
перечислению d), измеренные значения падения напряжения не должны быть выше значения, указанного в
D.8.4.7.
1 - места измерения падения напряжения;
2 - место измерения температуры
Рисунок D.1a - Измерение падения напряжения
клеммной колодки продольного разъединения
1 - места измерения падения напряжения;
2 - место измерения температуры
Рисунок D.1b - Измерение падения напряжения
клеммной колодки смежного разъединения
1 - места измерения падения напряжения;
2 - место измерения температуры; 3 - шина
Рисунок D.1c - Измерение падения напряжения
клеммной колодки для непосредственного продольного
разъединения с шиной
Рисунки D.1 - Испытания, проводимые по D.8.4.4
по измерению падения напряжения
Таблица D.2
Значения испытательного тока для испытаний на превышение
температуры, износ и падение напряжения для метрических
размеров сечений проводников
Номинальное поперечное сечение, мм2 | 0,20 | 0,50 | 0,75 | 1,00 | 1,50 | 2,5 | 4,0 | 6 | 10 | 16 | 25 | 35 |
Испытательный ток, А | 4 | 6 | 9 | 13,5 | 17,5 | 24 | 32 | 41 | 57 | 76 | 101 | 125 |
Таблица D.3
Значения испытательного тока для испытаний на превышение
температуры, износ и падение напряжения для размеров
сечений проводников в системе AWG
Номинальное поперечное сечение, AWG | 24 | 22 | 20 | 18 | 16 | 14 | 12 | 10 | 8 | 6 | 4 | 2 |
Испытательный ток, А | 4 | 6 | 8 | 10 | 16 | 22 | 29 | 38 | 50 | 67 | 90 | 121 |
D.8.4.5 Испытание на превышение температуры
Применяют
8.4.5 со следующими дополнениями и уточнениями первого абзаца.
Испытание выполняют одновременно на смежных испытательных разъединяемых клеммных колодках, соединенных последовательно проводниками с поливинилхлоридной изоляцией номинального поперечного сечения, как указано на
рисунке D.1. В клеммных колодках с зажимами винтового типа и разъединяемыми частями винтового типа проводники должны быть затянуты крутящими моментами, значения которых приведены в IEC 60947-1, таблица 4, или с максимальным моментом, указанным изготовителем. Если изготовитель указывает значение условного теплового тока на открытом воздухе (
Ith) для испытательных разъединяемых клеммных колодок, испытание проводят однофазным переменным током при указанном значении. Другие испытания проводят однофазным переменным током согласно
таблице D.2 и
таблице D.3.
D.8.4.6 Испытание на кратковременно выдерживаемый ток
Цель испытания - проверка способности выдерживать тепловые нагрузки.
Испытание проводят на одной испытательной разъединяемой клеммной колодке, установленной согласно указанию изготовителя.
В клеммных колодках с зажимами винтового типа и разъединяемыми частями винтового типа винты должны быть затянуты крутящими моментами, значения которых приведены в IEC 60947-1, таблица 4, или с максимальным моментом, указанным изготовителем.
Проводники номинальных сечений менее 10 мм2 (AWG 8) должны быть одножильными; проводники номинальных поперечных сечений 10 мм2 (AWG 8) и более должны быть жесткими многожильными.
После проверки падения напряжения по D.8.4.4, подают кратковременно выдерживаемый испытательный ток величиной и продолжительностью согласно
D.7.2.3.
По окончании испытания не должно быть повреждений частей клеммной колодки, способных нарушить ее дальнейшую эксплуатацию. После охлаждения до температуры окружающего воздуха, без внесения изменений в испытательную установку клеммная колодка должна быть способна выдержать испытание на падение напряжения согласно D.8.4.4.
Таблица D.4
Соотношения между кратковременно
выдерживаемым током и сечением проводников
Значение тока, указанное изготовителем, А | Сечение проводника, соответствующее значению тока, мм2 | Значение кратковременно выдерживаемого тока (из расчета 120 А/мм2), А |
0 < I <= 4 | 0,2 | 24 |
4 < I <= 5 | 0,34 | 40,4 |
5 < I <= 6 | 0,5 | 60 |
6 < I <= 9 | 0,75 | 90 |
9 < I <= 13,5 | 1 | 120 |
13,5 < I <= 17,5 | 1,5 | 180 |
17,5 < I <= 24 | 2,5 | 300 |
24 < I <= 32 | 4 | 480 |
32 < I <= 41 | 6 | 720 |
41 < I <= 57 | 10 | 1200 |
57 < I <= 76 | 16 | 1920 |
76 < I <= 101 | 25 | 3000 |
101 < I <= 125 | 35 | 4200 |
Таблица D.5
Соотношения между кратковременно выдерживаемым
током и сечением проводников в системе AWG
Значение тока, указанное изготовителем, А | Сечение проводника в системе AWG, соответствующее значению тока | Значение кратковременно выдерживаемого тока (из расчета 120 А/мм2), А |
0 < I <= 4 | 24 | 24,6 |
4 < I <= 6 | 22 | 38,9 |
6 < I <= 8 | 20 | 62,3 |
8 < I <= 10 | 18 | 98,4 |
10 < I <= 16 | 16 | 156 |
16 < I <= 22 | 14 | 252 |
22 < I <= 29 | 12 | 396 |
29 < I <= 38 | 10 | 636 |
38 < I <= 50 | 8 | 1008 |
50 < I <= 67 | 6 | 1596 |
67 < I <= 90 | 4 | 2544 |
90 < I <= 121 | 2 | 4032 |
D.8.4.7 Испытание на температурный износ клеммных колодок безвинтового типа
Применяют
8.4.7 со следующими дополнениями.
Во время данного испытания ток устанавливают согласно
D.8.4.5. Разъединяемые части винтового типа должны быть затянуты крутящими моментами, значения которых приведены в IEC 60947-1, таблица 4 или с максимальным моментом, указанным изготовителем.
При проведении данного испытания падение напряжения должно быть измерено индивидуально на каждом выводном зажиме согласно
рисунку D.1.
Падение напряжения на каждом выводном зажиме не должно превышать 2,4 мВ или 1,5 значения, измеренного после 24-го цикла, что ниже.
D.8.5 Проверка тепловых характеристик
Применяют
8.5 со следующим дополнением.
D.8.5.1 Срок службы (износостойкость)
Испытания должны проводиться на смежных испытательных разъединяемых клеммных колодках, соединенных последовательно проводниками номинального сечения в соответствии с
рисунком D.1.
Разъединяемые части винтового типа должны быть затянуты крутящими моментами, значения которых приведены в IEC 60947-1, таблице 4 или с максимальным моментом, указанным изготовителем.
После измерения падения напряжения согласно D.8.4.4 разъединяемые части образцов должны быть разъединены и соединены последовательно, как в нормальных условиях применения, при отсутствии напряжения в цепи с количеством циклов, указанных изготовителем.
Затем образцы выдерживают 168 ч в камере сухого тепла при температуре 85 °C.
В конце испытания, после охлаждения до температуры окружающего воздуха, без внесения изменений в испытательную установку клеммная колодка должна быть способна выдержать испытание на падение напряжения согласно D.8.4.4.
D.8.6 Проверка характеристик электромагнитной совместимости (ЭМС)
(справочное)
СВЕДЕНИЯ О СООТВЕТСТВИИ ССЫЛОЧНЫХ МЕЖДУНАРОДНЫХ
СТАНДАРТОВ МЕЖГОСУДАРСТВЕННЫМ СТАНДАРТАМ
Таблица ДА.1
Обозначение ссылочного международного стандарта | Степень соответствия | Обозначение и наименование соответствующего межгосударственного стандарта |
IEC 60695-11-5:2004 | IDT | ГОСТ IEC 60695-11-5-2013 "Испытания на пожароопасность. Часть 11-5. Метод испытания игольчатым пламенем. Аппаратура, руководство и порядок испытания на подтверждение соответствия" |
IEC 60947-1:2007 | IDT | |
ISO 4046-4:2002 | - | <*> |
<*> Соответствующий межгосударственный стандарт отсутствует. До его принятия рекомендуется использовать перевод на русский язык данного международного стандарта. Официальный перевод данного международного стандарта находится в Федеральном информационном фонде технических регламентов и стандартов. Примечание - В настоящей таблице использовано следующее условное обозначение степени соответствия стандартов: - IDT - идентичные стандарты. |
IEC 60228 | Conductors of insulated cables (Проводники изолированных кабелей) |
IEC/TR 60344 | Calculation of d.c. resistance if plain and coated cooper conductors of low-frequency cables and wires - Application guade (Расчет электрического сопротивления постоянного тока медных проводников с покрытием и без него для низкочастотных кабелей и проводов. Руководство по применению) |
IEC 60715 | Dimensions of low-voltage switchgear and controlgear. Standardized mounting on rails for mechanical support of electrical devices in switchgear and controlgear installations (Аппараты коммутационные низковольтные и механизмы управления. Стандартизованные размеры для монтажа на направляющих для механической поддержки электроприборов) |
ASTM B 172-71 (Re-approved 1985) | Standard specification for rope - Lay-stranded copper conductors having bunch-stranded members, for electrical energy (Стандартные требования для жил. Витые медные проводники, имеющие память скручивания, для электрической энергии) |
ICEA Publication S-19-81 (6nd edition)/ NEMA Publication WC 3-1980 | Rubber insulated wire and cable for the transmission and distribution of electrical energy (Жилы проводов и кабели в резиновой изоляции для передачи и распределения электрической энергии) |
ICEA Publication S-66-524 (2nd edition)/ NEMA Publication WC 7-1982 | Cross-linked thermosetting polyethylene insulated wire and cable for the transmission and distribution of electrical energy (Сплетенные жилы проводов и кабели в термоусаживающейся полиэтиленовой изоляции для передачи и распределения электрической энергии) |
ICEA Publication S-68-516/ NEMA Publication WC 8-1976 | Ethylene polyethylene-rubber-insulated wire and cable for the transmission and distribution of electrical energy (Жилы проводов и кабели в этиленовой, полиэтиленовой, резиновой изоляции для передачи и распределения электрической энергии) |