Главная // Актуальные документы // ГОСТ (Государственный стандарт)СПРАВКА
Источник публикации
М.: Стандартинформ, 2018
Примечание к документу
Текст данного документа приведен с учетом
поправки, опубликованной в "ИУС", N 9, 2023.
Документ
введен в действие с 01.03.2019.
Название документа
"ГОСТ 34331-2017 (EN 14543+A1:2007). Межгосударственный стандарт. Приборы отопительные, работающие на сжиженном нефтяном газе. Обогреватели террасные. Обогреватели лучистые без дымохода для применения на открытом воздухе или в помещениях с хорошей вентиляцией. Технические условия"
(введен в действие Приказом Росстандарта от 02.10.2018 N 686-ст)
"ГОСТ 34331-2017 (EN 14543+A1:2007). Межгосударственный стандарт. Приборы отопительные, работающие на сжиженном нефтяном газе. Обогреватели террасные. Обогреватели лучистые без дымохода для применения на открытом воздухе или в помещениях с хорошей вентиляцией. Технические условия"
(введен в действие Приказом Росстандарта от 02.10.2018 N 686-ст)
агентства по техническому
регулированию и метрологии
от 2 октября 2018 г. N 686-ст
МЕЖГОСУДАРСТВЕННЫЙ СТАНДАРТ
ПРИБОРЫ ОТОПИТЕЛЬНЫЕ, РАБОТАЮЩИЕ НА СЖИЖЕННОМ НЕФТЯНОМ ГАЗЕ
ОБОГРЕВАТЕЛИ ТЕРРАСНЫЕ.
ОБОГРЕВАТЕЛИ ЛУЧИСТЫЕ БЕЗ ДЫМОХОДА ДЛЯ ПРИМЕНЕНИЯ
НА ОТКРЫТОМ ВОЗДУХЕ ИЛИ В ПОМЕЩЕНИЯХ С ХОРОШЕЙ ВЕНТИЛЯЦИЕЙ
ТЕХНИЧЕСКИЕ УСЛОВИЯ
Heating appliances for working on liquefied petroleum gas.
Parasol patio heaters. Radiant flueless heaters for outdoor
or amply ventilated area use. Specifications
(EN 14543:2005+A1:2007, Specification for dedicated
liquefied petroleum gas appliances - Parasol patio
heaters - Flueless radiant heaters for outdoor
or amply ventilated area use, MOD)
ГОСТ 34331-2017
(EN 14543+A1:2007)
Дата введения
1 марта 2019 года
Цели, основные принципы и основной порядок проведения работ по межгосударственной стандартизации установлены в
ГОСТ 1.0-2015 "Межгосударственная система стандартизации. Основные положения" и в
ГОСТ 1.2-2015 "Межгосударственная система стандартизации. Стандарты межгосударственные, правила и рекомендации по межгосударственной стандартизации. Правила разработки, принятия, обновления и отмены"
1 ПОДГОТОВЛЕН Федеральным государственным унитарным предприятием "Всероссийский научно-исследовательский институт стандартизации и сертификации в машиностроении" (ВНИИНМАШ) на основе собственного перевода на русский язык немецкоязычной версии стандарта, указанного в
пункте 5
2 ВНЕСЕН Федеральным агентством по техническому регулированию и метрологии
3 ПРИНЯТ Межгосударственным советом по стандартизации, метрологии и сертификации (протокол от 30 ноября 2017 г. N 52)
За принятие проголосовали:
Краткое наименование страны по МК (ИСО 3166) 004-97 | Код страны по МК (ИСО 3166) 004-97 | Сокращенное наименование национального органа по стандартизации |
Азербайджан | AZ | Азстандарт |
Армения | AM | Минэкономики Республики Армения |
Беларусь | BY | Госстандарт Республики Беларусь |
Киргизия | KG | Кыргызстандарт |
Россия | RU | Росстандарт |
Узбекистан | UZ | Узстандарт |
4
Приказом Федерального агентства по техническому регулированию и метрологии от 2 октября 2018 г. N 686-ст межгосударственный стандарт ГОСТ 34331-2017 (EN 14543+A1:2007) введен в действие в качестве национального стандарта Российской Федерации с 1 марта 2019 г.
5 Настоящий стандарт является модифицированным по отношению к европейскому стандарту EN 14543:2005+A1:2007 "Требования, предъявляемые к приборам, работающим исключительно на сжиженном нефтяном газе. Обогреватели террасные. Обогреватели лучистые без дымохода для применения на открытом воздухе или в хорошо проветриваемых помещениях" ("Specification for dedicated liquefied petroleum gas appliances - Parasol patio heaters - Flueless radiant heaters for outdoor or amply ventilated area use", MOD), включая изменение A1:2007, путем изменения отдельных фраз (слов, значений показателей, ссылок), которые выделены в тексте курсивом.
Наименование настоящего стандарта изменено относительно наименования указанного европейского стандарта для приведения в соответствие с ГОСТ 1.5
(подраздел 3.6).
Сведения о соответствии ссылочных межгосударственных стандартов международным стандартам, использованным в качестве ссылочных в примененном европейском стандарте, приведены в дополнительном
приложении ДА
6 ВВЕДЕН ВПЕРВЫЕ
Информация об изменениях к настоящему стандарту публикуется в ежегодном информационном указателе "Национальные стандарты", а текст изменений и поправок - в ежемесячном информационном указателе "Национальные стандарты". В случае пересмотра (замены) или отмены настоящего стандарта соответствующее уведомление будет опубликовано в ежемесячном информационном указателе "Национальные стандарты". Соответствующая информация, уведомление и тексты размещаются также в информационной системе общего пользования - на официальном сайте Федерального агентства по техническому регулированию и метрологии в сети Интернет (www.gost.ru)
Настоящий стандарт устанавливает требования к конструкции, безопасности, методам испытаний и маркировки для инфракрасных террасных обогревателей с отражателем, не подключаемых к дымоходу, для использования только на открытом воздухе или в помещениях с хорошей вентиляцией.
Требования, сформулированные в настоящем стандарте, также применимы для аналогичных приборов с номинальной тепловой мощностью <= 4,2 кВт (хотя на них и не распространяется данный стандарт), если они применяются внутри помещений и соответствуют
[1].
Эти устройства работают только с газами третьего семейства, как определено в
разделе 4.
Настоящий стандарт применяют для устройств с номинальной тепловой мощностью не более 17 кВт (исходя из теплотворной способности):
- стационарных;
- передвижных, включая любые приборы, которые оборудованы отсеком для размещения многоразовых или одноразовых баллонов со сжиженным газом.
Настоящий стандарт не применяют к приборам, которые оборудованы вентилятором для подачи воздуха для сжигания или для циркуляции конвекционных потоков воздуха.
Настоящий стандарт не применяют к баллонам со сжиженным газом, соответствующим устройствам регулирования давления, а также трубопроводам и соединительным шлангам.
Настоящий стандарт не содержит конкретных требований по тепловому КПД для приборов этого типа, однако предусматривает требования к автоматам горения, которые представляют собой защитные компоненты безопасности и обеспечивают эффективное сгорание газа. Тем не менее, метод измерения теплового КПД описан в
приложении C.
Настоящий стандарт не распространяется на приборы, подпадающие под действие
ГОСТ 32441,
[1],
[2],
[3] и
[4]. Настоящий стандарт охватывает требования только к испытаниям типовых образцов.
В настоящем стандарте не рассматривают вопросы, связанные с системами обеспечения качества, производственными испытаниями и сертификатами соответствия на вспомогательные устройства.
В настоящем стандарте использованы нормативные ссылки на следующие стандарты:
ГОСТ ЕН 125-2009 <1> Устройства контроля пламени для газовых приборов. Термоэлектрические устройства контроля пламени. Общие технические требования и методы испытаний
--------------------------------
<1> В Российской Федерации действует
ГОСТ Р 51843-2013 (ЕН 125:1991/А1:1996) "Устройства контроля пламени для газовых аппаратов. Термоэлектрические устройства контроля пламени. Общие технические требования и методы испытаний".
--------------------------------
<1> В Российской Федерации действует
ГОСТ Р 51983-2002 "Устройства многофункциональные регулирующие для газовых аппаратов. Общие технические требования и методы испытаний".
ГОСТ EN 298-2015 Автоматические системы контроля горения для горелок и аппаратов, сжигающих газообразное или жидкое топливо
ГОСТ EN 437-2012 <2> Испытательные газы, испытательные давления. Категории приборов
--------------------------------
<2> В Российской Федерации действуют
ГОСТ 5542-2014 "Газы горючие природные промышленного и коммунально-бытового назначения. Технические условия" и
ГОСТ 20448-90 "Газы углеводородные сжиженные топливные для коммунально-бытового потребления. Технические условия".
ГОСТ 32028-2012 (EN 161:2001) Клапаны автоматические отсечные для газовых горелок и аппаратов. Общие технические требования и методы испытаний
ГОСТ 32029-2012 (EN 257:1992) Термостаты (терморегуляторы) механические для газовых приборов. Общие технические требования и методы испытаний
ГОСТ 32441-2013 (EN 461:1999) Аппараты отопительные бездымоходные небытового назначения для сжиженных углеводородных газов тепловой мощностью не более 10 кВт
ГОСТ IEC 60335-1-2015 Бытовые и аналогичные электрические приборы. Безопасность. Часть 1. Общие требования
ГОСТ IEC 60335-2-102-2014 Бытовые и аналогичные электрические приборы. Безопасность. Часть 2-102. Дополнительные требования к приборам, работающим на газовом, жидком и твердом топливе и имеющим электрические соединения
Примечание - При пользовании настоящим стандартом целесообразно проверить действие ссылочных стандартов в информационной системе общего пользования - на официальном сайте Федерального агентства по техническому регулированию и метрологии в сети Интернет или по ежегодному информационному указателю "Национальные стандарты", который опубликован по состоянию на 1 января текущего года, и по выпускам ежемесячного информационного указателя "Национальные стандарты" за текущий год. Если ссылочный стандарт заменен (изменен), то при пользовании настоящим стандартом следует руководствоваться заменяющим (измененным) стандартом. Если ссылочный стандарт отменен без замены, то положение, в котором дана ссылка на него, применяется в части, не затрагивающей эту ссылку.
В настоящем стандарте применены следующие термины с соответствующими определениями:
3.1
стационарный инфракрасный обогреватель (ortsfester heizstrahler): Инфракрасный обогреватель, который может быть закреплен на стене, на полу или подвешен к потолку.
3.2
передвижной инфракрасный обогреватель (

heizstrahler): Инфракрасный обогреватель с установленным внутри, в специальном отсеке, газовым баллоном, который можно перемещать с одного места на другое без поднятия.
3.3
хорошо вентилируемое помещение (gut

raum): Помещение, в котором не менее 25% площади одной стены соединено с наружным пространством.
3.4
запальное устройство (

): Устройство, которое прямо или косвенно поджигает одну или несколько горелок, например, перекрестным огнем пилотной горелки. Для воспламенения могут быть использованы электрические элементы (сопротивление, генератор искры и т.д.) или термические элементы (пилот и т.д.).
3.5
устройство контроля пламени (

): Устройство, включающее в себя чувствительный элемент, который обеспечивает открытие или закрытие подачи газа на основную горелку, при наличии или отсутствии пламени на контролируемой пилотной или основной горелке.
3.6
устройство контроля атмосферы (

): Устройство, обеспечивающее закрытие подачи газа, если концентрация CO
2 в атмосфере помещения превышает заданное значение. Устройства такого типа обычно состоят из преобразователя запального пламени, срабатывающего от воздуха, содержащего CO
2 в сочетании с соответствующим устройством контроля пламени.
3.7
форсунка (

): Деталь, через которую газ поступает в горелку. Существуют форсунки двух типов:
-
нерегулируемая форсунка (

): Форсунка, имеющая выходное отверстие одного заданного размера;
-
регулируемая форсунка (

): Форсунка с изменяемым размером выходного отверстия.
3.8 горелка (brenner): Устройство, предназначенное для сжигания газообразного топлива.
3.9
время открытия (

): Время между моментом, когда воспламеняется газ на пилотной горелке (или на основной горелке, если отсутствует пилотная горелка), и моментом, когда устройство контроля пламени отреагирует на это воспламенение.
3.10
время закрытия (

): Время между моментом, когда пилотная горелка и другие горелки потушены путем отключения подачи газа, и моментом, когда после повторного открытия подачи газа к аппарату газовый поток прерывается под действием устройства контроля пламени.
3.11
теплотворная способность (

)
H,
МДж/м3;
МДж/кг: количество тепла, выделяемое от полного сгорания объемной или массовой единицы газа при постоянном давлении
101,325 кПа. При этом составные части топливовоздушной смеси приводятся к стандартным условиям испытаний, а продукты сгорания приводятся к аналогичным условиям.
Различают следующие понятия:
- Высшая теплота сгорания, Hs: учитывает теплоту конденсации водяных паров, образующиеся водяные пары в продуктах сгорания конденсируются;
- Низшая теплота сгорания, Hi: не учитывает теплоту парообразования водяных паров, образующаяся вода в продуктах сгорания находится в виде пара.
Примечания:
1 Низшая теплота сгорания выражается в следующих единицах:
- мегаджоули на кубический метр сухого газа (МДж/м3) в стандартных условиях испытаний;
- мегаджоули на килограмм (МДж/кг) в пересчете на сухой газ.
2 В настоящем стандарте применяется только высшая теплота сгорания.
3.12 относительная плотность (relative dichte) d: Соотношение масс равных объемов сухого газа и сухого воздуха, приведенное к одинаковым условиям температуры и давления: 15 °C или 0 °C и 101,325 кПа.
3.13 число Воббе (wobbeindex) W, МДж/кг: Отношение теплоты сгорания газа к корню квадратному из его относительной плотности. Число Воббе может быть высшим или низшим в зависимости от используемой при расчете высшей или низшей теплоты сгорания газа.
Высшее число Воббе - Ws. Низшее число Воббе - Wi.
Примечание - Число Воббе измеряется:
- в мегаджоулях на кубический метр сухого газа в стандартных условиях испытаний (МДж/м3);
- в мегаджоулях на килограмм в пересчете на сухой газ (МДж/кг).
3.14
тепловая мощность (

)
Q,
кВт: количество тепла, подаваемое на устройство в единицу времени, соответствующего объема или массы потока, который используется для теплосодержания или теплотворной способности.
Примечание - Тепловая мощность в киловаттах (кВт).
3.15
номинальная тепловая мощность (

)
Qn,
кВт: значение тепловой мощности, указанное производителем.
3.16 массовый расход газа (massenstrom) M, кг/ч или г/ч: Масса газа, подаваемая в устройство при эксплуатации в единицу времени.
3.17 объемный расход газа (volumenstrom) V, м3/ч, л/ч или дм3/ч: Объем газа, подаваемый на устройство в установившемся режиме в единицу времени.
3.18 холодное состояние (kalter zustand): Состояние устройства при температуре окружающей среды.
3.19
стандартные условия испытаний (

): Температура 15 °C, давление
101,325 кПа, если не указано иное.
4 Классификация и обозначение
Аппараты, рассматриваемые в настоящем стандарте, классифицированы согласно ГОСТ EN 437, пункт 6.1.2.3 и относятся к газам третьего семейства.
В
приложении A приведены требования, действующие в разных странах.
5 Требования к конструкции
Если не указано иное, выполнение требований в отношении конструкции подтверждается проверкой аппарата и его инструкции по эксплуатации.
В зависимости от высоты и в соответствии с
таблицей 1:
- террасный нагреватель не должен превышать указанную номинальную тепловую мощность;
- террасный нагреватель должен быть оснащен одним или двумя предохранительными устройствами безопасности (защитной сеткой) от случайного контакта с рабочей поверхностью и/или отражателем.
Таблица 1
Номинальная тепловая мощность и защитная сетка
в зависимости от высоты размещения аппарата
Минимальная высота размещения h, м | Максимальная номинальная тепловая мощность ( Hs) <a>, кВт | Сетка необходима, чтобы предотвратить контакт с рабочей поверхности <a> (см. 5.7.6) | Сетка необходима, чтобы предотвратить контакт с отражателем <b> (см. 5.10) |
h <= 1,3 | 6 | да | да |
1,3 < h <= 1,6 | 10 | да | да |
1,6 < h <= 2,0 | 15 | да | нет |
h > 2,0 | 17 | нет | нет |
<a> Минимальная высота размещения h - высота нижнего края рабочей поверхности от земли. <b> Минимальная высота размещения h - высота нижнего края отражателя над землей. Примечание - Для аппаратов, которые установлены на столе, высота h является суммой высоты стола и аппарата. |
Для регулируемых аппаратов необходимо учитывать наименьшую высоту установки.
5.2 Переналадка на другие виды газа
Аппарат разработан и предназначен для работы на одной категории газа и одном рабочем давлении или одной паре рабочего давления. Перенастройка на другую категорию газа, другое давление или другую пару давлений не допускается.
В конструкции аппарата не должно быть никакой возможности изменить настройку любой его части, предварительно установленную изготовителем.
Качество и толщина материалов, используемых для производства аппарата, должны быть такими, чтобы во время работы не изменялись характеристики и показатели безопасности аппарата.
Все компоненты должны выдерживать механические, химические и тепловые нагрузки, которые могут возникнуть в процессе эксплуатации.
При нормальных условиях эксплуатации, а также при очистке или регулировке аппарата материалы не должны деформироваться таким образом, чтобы это оказывало отрицательное влияние на их характеристики. Металлические детали должны быть надежно защищены от коррозии.
Во время эксплуатации и чистки аппарата доступные компоненты, его внешние края и части, которые могут вступать в контакт со шлангом для сжиженного газа, не должны иметь острых углов или краев. В аппарате запрещено использовать материалы, содержащие асбест.
Конструкция аппарата должна быть такой, чтобы при нормальных условиях эксплуатации, содержания, а для передвижных аппаратов при обычных перемещениях не появлялись смещения, деформации или повреждения деталей, влияющих на нормальную работу аппарата.
В частности, аппараты, рабочая высота которых может быть отрегулирована, должны иметь устройство для блокировки блока горелка/отражатель для предотвращения его случайного ослабления.
5.5 Устойчивость аппарата
5.5.1 Для аппаратов, монтируемых на стене, подвесных аппаратов и аппаратов, устанавливаемых на пол, лаборатория должна иметь возможность оценить их устойчивость путем визуального осмотра и надлежащего манипулирования ими.
5.5.2 Портативные аппараты или аппараты, которые будут размещены на полу или на столе, не должны опрокинуться, когда они находятся в наименее выгодном положении на наклонной поверхности с углом наклона 10°.
Для аппаратов с подачей сжиженного газа из установленного баллона устойчивость проверяют последовательно: без баллона, с полным баллоном, с пустым баллоном; соответственно, аппарат должен быть запущен при наибольшей и наименьшей заправке баллона сжиженным газом. Во время этого испытания баллон со сжиженным газом не должен изменять своего положения.
Для аппаратов, которые должны быть смонтированы на столе:
- если аппарат поставляют от изготовителя вместе со столом, весь блок должен быть проверен на устойчивость на наклонной плоскости с углом наклона 10°;
- если аппарат может быть отсоединен от стола, то он должен быть проверен на устойчивость на наклонной поверхности с углом наклона 10° без стола;
- если стол не входит в комплект поставки, то аппарат должен быть проверен на устойчивость на наклонной поверхности с углом наклона 10°;
- аппараты, монтируемые на столе, должны быть отправлены изготовителем в лабораторию вместе со столом для испытания всего блока на наклонной поверхности с углом наклона 10° в соответствии с худшими условиями (касательно веса, размеров), описанными в инструкции.
Руководство по эксплуатации и маркировка на упаковке должны содержать информацию, относящуюся к столу (см.
8.3 и
8.4).
5.5.3 За исключением аппаратов, упомянутых в
3.1, все аппараты должны быть оснащены дополнительным предохранительным устройством, которое отключает подачу газа в горелку, если устройство накренилось.
5.5.4 Портативный аппарат с колесами или роликами должен иметь устройство для предотвращения случайного изменения расположения аппарата во время нормальной работы.
Существующее тормозное устройство не должно самопроизвольно отключаться.
5.5.5 Требования, указанные в данном разделе, рассматриваются в соответствии с условиями испытаний по
7.2.1.
5.6 Части газового тракта
Работа предохранительных устройств не должна быть нарушена никакими устройствами управления.
Части, которые устанавливаются в процессе производства и не должны управляться оператором, должны быть надлежащим образом защищены.
Отверстия для винтов, болтов и т.п. для монтажа компонентов форсунок горелок не должны проникать в подводящие газ полости.
Герметичность клапанов и деталей с резьбовым соединением с проводящими газ деталями должна быть обеспечена механическими уплотнениями (например, металлические шайбы, уплотнительные кольца и т.д.), необходимо убедиться, что на резьбу не нанесен герметик.
Для частей, которые не должны быть разобраны при обычном обслуживании, например, клапанов и форсунок, допускается использование подходящих уплотнительных материалов в соответствии с
[5],
[6] или
[7] для нанесения на резьбу.
Для целей обеспечения безопасности допускается применять уплотнительные материалы согласно
[8], которые в обычных условиях эксплуатации не стареют и не деформируются (объемное расширение и сжатие).
Для обеспечения герметичности частей, проводящих газ, соединенных пайкой или другим способом, не должны быть использованы материалы с температурой плавления ниже 450 °C.
Съемные части должны оставаться герметичными после разборки и повторной сборки; если это необходимо и указано в инструкции, после замены уплотнений.
Прокладки, согласно
[8], а также гибкие трубопроводы из неметаллических материалов должны быть пригодны для использования по назначению, в частности, в отношении их устойчивости к воздействию сжиженного газа и температур, возникающих во время работы аппарата.
Используемый шланг должен соответствовать признанному стандарту в соответствии с действующими национальными правилами и использоваться в соответствии с утвержденными условиями эксплуатации.
В зависимости от различных национальных условий (см.
приложение A), подключение прибора должно осуществляться по выбору следующим образом:
- через патрубок, позволяющий соединение с трубопроводом, который может быть фиксированным либо съемным;
- через фиксированное или съемное колено трубы цилиндрической формы, длиной не менее 300 мм, имеющей гладкую чистую поверхность, для возможности подключения через газонепроницаемый обжимной патрубок;
- с помощью резьбы согласно
[9] или
[10].
В нормальных условиях эксплуатации соединения не должны терять плотность и герметичность.
Соединительные шланги устанавливаются длиной, рекомендованной изготовителем и согласно инструкциям; они не должны прикасаться к частям прибора, температура которых превышает температуру, установленную изготовителем соединительных шлангов.
Ослабление внутренних соединений труб для целей сборки или подключение устройства допускается в том случае, если в инструкциях по установке указаны меры предосторожности, которые должны соблюдаться в ходе соответствующих работ, в частности, для обеспечения герметичности компонентов газового тракта.
5.7.1 Конструкция горелки
Расположение горелки должно быть фиксированным по отношению к корпусу прибора; горелку невозможно установить в положении, отличном от указанного производителем. Компоненты горелки должны быть выполнены из материалов, которые при эксплуатации горелки не поддаются плавлению, деформациям и повреждениям, которые могут отрицательно повлиять на нормальную работу горелки (включая после испытания на образование пламени внутри горелки согласно
7.3.3.1).
5.7.2 Форсунка
Форсунки должны быть нерегулируемыми; если форсунки сменные, они должны иметь соответствующую маркировку.
5.7.3 Подача первичного воздуха
Настройка подачи первичного воздуха пользователем должна быть невозможна. Отверстия для подачи первичного воздуха должны быть расположены так, чтобы они не могли случайно перекрываться.
5.7.4 Устройство зажигания
Горелка или (при наличии) запальная горелка должны быть легко доступны в любое время так, чтобы их можно было зажечь спичкой, даже если прибор оборудован автоматическим устройством зажигания.
Все компоненты устройства зажигания должны иметь конструкцию, исключающую возможность повреждения или смещения во время эксплуатации прибора. Расположение устройства зажигания не должно изменяться по отношению к горелке.
Максимальная тепловая мощность во время зажигания не должна быть выше 5 кВт (
Hs согласно условиям испытаний по
7.3.2.2).
5.7.5 Видимость при эксплуатации
Правильное зажигание и работа горелки должны быть видны в любое время без демонтажа каких-либо компонентов прибора.
5.7.6. Устройство для защиты от случайного контакта с горелкой
5.7.6.1 Общие сведения
Рабочая поверхность всех приборов должна быть оборудована защитной сеткой. Это требование не применимо к приборам с нерегулируемой рабочей поверхностью, расстояние от нижнего края которой до пола должно составлять не менее 2 м, для приборов с регулируемой рабочей поверхностью это требование относится к минимальной регулируемой высоте.
Защитная сетка не считается рабочей поверхностью.
Любой размер отверстий в защитной сетке или расстояние от сетки до защищаемой поверхности должен быть не более 30 мм, или площадь такого отверстия не должна превышать 9 см2.
Если расстояние между каким-либо участком сетки и краем защищаемого отверстия меньше 3 мм, принимается, что этот участок сетки доходит до этого края защищаемого отверстия.
Любое из выпускных отверстий для отвода продуктов сгорания должно иметь размеры не более 30 мм, а площадь поперечного сечения отверстия должно быть не более 9 см2.
5.7.6.3 Испытание с помощью конуса
Должна быть исключена возможность контакта между излучающими компонентами или пламенем неизлучающей горелки и какой-либо частью испытательного конуса (см.
рис. 1) даже после приложения испытательной нагрузки, указанной в
7.2.2.2.
5.7.6.4 Испытание на растяжение
После испытания согласно
7.2.2.3 сетка не должна выйти из креплений, быть смещена или постоянно деформироваться.
5.8 Вспомогательные устройства
5.8.1 Устройства настройки
Выключение пламени может достигаться:
- устройством регулировки на приборе (если имеется). Различные положения устройства регулировки прибора должны иметь однозначную маркировку, и значения маркировки должны быть указаны в инструкции по эксплуатации;
- устройством регулировки или переключателем в линии подачи газа, устройством регулировки на баллоне со сжиженным газом либо регулятором, который должен быть легко доступен;
- путем отключения подачи резервной энергии на приборе или путем дистанционного управления.
Если один рычаг управления активирует защитное устройство как для горелки, так и для запальной горелки, маркировка не требуется, так как запуск не того устройства невозможен. Во всех других случаях положение "закрыто" должно быть обозначено кругом или окружностью диаметром не менее 3 мм.
Если ручка управления активируется с поворотом, перевод в положение "закрыто" осуществляется по часовой стрелке (если смотреть спереди).
5.8.2 Устройство контроля пламени
Каждый прибор должен быть оборудован устройством контроля пламени согласно
ГОСТ ЕН 125, которое при отсутствии пламени прерывает подачу газа на горелку и на запальную горелку (при наличии). Устройство в случае отказа любого компонента, важного для эксплуатации прибора, должно автоматически прерывать дальнейшую подачу газа на горелку.
Прибор не должен быть оборудован устройствами, которые не требуют постоянного нажатия руки, что в результате шунтирует устройство контроля пламени. Тем не менее, во время зажигания в условиях испытания согласно
7.3.3.9 допускается кратковременная подача газа без наличия пламени.
Соответствующие механизмы имеющейся запальной горелки, устройства контроля пламени и горелки должны быть строго определены.
5.8.3 Воздушно-газовый анализатор
Если прибор оборудован воздушно-газовым анализатором или аналогичным устройством, позволяющим блокировать выбросы продуктов сгорания в опасном количестве, то такое устройство должно соответствовать требованиям
6.3.9.
5.8.4 Электрооборудование
Конструкция и исполнение электрооборудования прибора должны обеспечивать защиту от поражения электрическим током. Электрооборудование прибора должно отвечать требованиям ГОСТ IEC 60335-2-102.
5.8.5 Термостат
Если устройство оборудовано термостатом, то он должен отвечать требованиям
ГОСТ 32029.
5.9 Отсек для газовых баллонов
Если прибор имеет отсек для установки газового баллона, то его размеры должны быть такими, чтобы вмещать газовый баллон, содержащий не более 20 кг сжиженного газа.
Размеры отверстия и внутреннего пространства отсека для газового баллона должны быть достаточно большими, чтобы газовый баллон с регулятором давления газа можно было легко ставить, эксплуатировать и вынимать.
Конструкция соединительного шланга между газовым баллоном и прибором не должна отрицательно влиять на нормальную работу и безопасность.
Отсек для газового баллона по конструкции должен быть таким, чтобы:
- обеспечивалась эффективная вентиляция через вентиляционные отверстия у основания и в верхней части отсека, при этом общая площадь отверстий в верхней части должна составлять не менее 1/100 площади основания отсека, а общая площадь отверстий у основания - не менее 1/50 площади основания отсека;
- плоскость, на которую ставится газовый баллон, должна иметь достаточную механическую прочность, чтобы противостоять деформации под весом полного газового баллона, размещение газового баллона непосредственно на полу не допускается;
- порожек секции для газового баллона должен быть вровень с поверхностью, на которую ставится газовый баллон;
- газовый баллон должен легко ставиться в отсек и выниматься из него;
- отсечной клапан газового баллона при установленном баллоне должен быть легко доступен и легко обслуживаться;
- при подключении шланг не должен прикасаться к острым кромкам.
5.10 Защита от контакта с отражателем
5.10.1 Общие сведения
Чтобы не допустить случайный контакт с поверхностью отражателя или его краев, на всех приборах должны быть установлены защитные сетки, за исключением устройств, у которых отражатель (в самом нижнем положении у приборов с регулируемой высотой) находится под прибором на высоте не ниже 1,6 м над уровнем пола.
5.10.2 Размеры и расположение
Отверстия в сетке либо между сеткой и отражателем могут иметь наибольший размер не более 150 мм и наименьший размер не более 35 мм при диагонали не более 154 мм.
Сетка должна стоять на расстоянии не менее 25 мм от отражателя.
5.10.3 Прочее защитное оборудование
Допускается использовать другие защитные устройства (дополнительные защитные экраны или другие средства, обеспечивающие такую же защиту) в качестве замены или дополнения к описанной выше защитной сетке.
В таком случае повышение температуры в каждой части этого устройства должно отвечать требованиям
6.3.2.1.
6 Эксплуатационные требования
6.1 Герметичность газового тракта
Газовый тракт должен быть герметичным. Это требование считается выполненным, если в условиях испытания согласно
7.3.1 утечка не превышает 0,07 дм
3/ч.
6.2 Контрольная проверка номинальной тепловой мощности
Номинальная тепловая мощность выражается как высшая теплота сгорания газа.
Горелки при испытаниях согласно
7.3.2.1 должны достигать номинальной тепловой мощности, указанной изготовителем. Допустимое отклонение +/- 10%.
6.3 Безопасность эксплуатации
6.3.1 Устойчивость горелки к перегреву
В условиях испытаний по
7.3.3.1 части горелки не должны получать повреждения, которые могут помешать работе.
6.3.2 Повышение температуры
6.3.2.1 Температура различных частей прибора
В условиях испытания согласно
7.3.3.2 температура частей прибора, к которым можно прикасаться руками, не должна превышать температуру окружающей среды не более чем на:
- 35 °C - для металлов и аналогичных материалов;
- 45 °C - для фарфора и аналогичных материалов;
- 60 °C - для пластмасс и аналогичных материалов.
Если в одинаковых условиях выход линии подачи газа может быть оснащен форсункой, которая соответствует национальным условиям согласно
приложению A, форсунка должна подсоединяться так, чтобы ее температура превышала температуру окружающей среды не более чем на 30 °C.
Если на приборе установлено устройство, отличное от защитной сетки отражателя (см.
5.10.3), то в условиях испытания согласно
7.3.3.2 температура любой части этого устройства не должна превышать температуру окружающей среды более чем на 80 °C.
6.3.2.2 Температура поверхности в месте установки, стен и прилегающих компонентов
Температура поверхности, на которую устанавливается прибор, а для стационарных устройств - температура стенок, расположенных в непосредственной близости от прибора и, где это применимо, потолка, полок и шкафов над прибором, не должна превышать температуру окружающей среды в условиях испытаний согласно
7.3.3.2 и при соблюдении минимальных расстояний, указанных изготовителем в своих инструкциях, более чем на 50 °C.
6.3.2.3 Температура устройств регулировки приборов и их компонентов
В условиях испытаний согласно
7.3.3.2, температура корпусов устройств регулировки и компонентов прибора не должна превышать температуру окружающей среды более чем на 20 °C от значения, указанного изготовителем.
6.3.2.4 Температура поверхностей, контактирующих с соединительными шлангами
Температура патрубков и других поверхностей, которые прикасаются к шлангам, не должна превышать максимальную температуру, гарантированную производителем шлангов.
6.3.2.5 Перегрев баллонов со сжиженным газом
В условиях испытания согласно
7.3.3.3 не должен происходить перегрев баллона со сжиженным газом, вызывающий повышение давления пара внутри газового баллона более чем на значение, указанное в
таблице 2:
- спустя 1 час работы, при работе всех горелок на максимальном расходе газа;
- в течение 30 мин после полного гашения прибора.
Таблица 2
Максимально допустимое повышение давления
в баллоне со сжиженным газом
Температура окружающего воздуха, °C | Давление, кПа |
Бутан | Пропан |
15 | 40 | 110 |
20 | 45 | 117 |
25 | 50 | 128 |
Примечание - Данное повышение соответствует увеличению температуры на 5 °C при условии соответствующей температуры окружающей среды. |
6.3.3 Зажигание, перенос зажигания, устойчивость пламени
В условиях испытания согласно
7.3.3.4 горелка должна зажигаться легко.
Перенос зажигания должен быть полным и без чрезмерного шума.
Горелка должна работать устойчиво и тихо. При зажигании допускается незначительный отрыв пламени, однако через минуту работы факел пламени должен восстановить устойчивость при нормальных условиях эксплуатации.
6.3.4 Устойчивость к ветровому напору
В условиях испытаний согласно
7.3.3.5 прибор не должен гаснуть при скорости потока воздуха 3 м/с.
6.3.5 Устойчивость к атмосферным воздействиям
В условиях испытания согласно
7.3.3.6 устройство должно продолжать надежно работать или отключаться.
Конструкция прибора должна быть такой, чтобы после испытаний на устойчивость к воздействию дождя не допускалось скопление воды в устройствах управления и защитных устройствах, которые могут заржаветь, а также в отсеке для газового баллона. Прибор должен быть в состоянии снова запуститься через пять минут после окончания попадания воды внутрь прибора, если возможно, при сушке пламенем.
6.3.6 Скопление сажи
В условиях испытания согласно
7.3.3.7 не должна скапливаться сажа, которая может отрицательно повлиять на безопасную эксплуатацию прибора.
6.3.7 Зажигание при низкой температуре воздуха
Прибор должен зажигаться при температуре воздуха 5 °C.
Горелки и принадлежности должны иметь такую конструкцию, чтобы обеспечивался поток газа при температуре окружающего воздуха 5 °C. Данное требование должно выполняться согласно условиям испытания по
7.3.3.8.
6.3.8 Эксплуатация устройства контроля пламени
В условиях испытания согласно
7.3.3.9 время открывания и время закрывания клапана не должно превышать:
- 20 с - время открывания клапана;
- 90 с - время закрывания клапана.
6.3.9 Устройство контроля воздуха в помещении (при наличии)
В условиях испытания согласно
7.3.3.10 устройство контроля воздуха в помещении должно отключать подачу газа на прибор прежде, чем объемная концентрация CO в окружающем воздухе превысит 200 ppm.
6.3.10 Электрическая безопасность
В случае нормальных колебаний в подаче резервного питания зажигание должно быть удовлетворительным.
В случае аномальных колебаний в подаче резервного питания прибор должен продолжать устойчиво работать, или переключиться в безопасный режим.
Если во время запуска или работы прибора происходит прерывание подачи питания, в случае немедленного восстановления подачи резервного питания прибор должен продолжать устойчиво работать, или переключиться в безопасный режим.
Эти требования должны выполняться согласно условиям испытания по
7.3.3.11.
В условиях испытания согласно
7.3.4 содержание CO в нейтральных продуктах сгорания не должно быть выше 0,2%.
6.5 Пригодность к эксплуатации
Газы, используемые в испытаниях, и значения давления должны соответствовать ГОСТ EN 437 для категорий третьего семейства газов.
Прибор должен быть оснащен форсунками, рассчитанными на применяемые газы и значения давления.
Если не указано иное, прибор должен устанавливаться в помещении с температурой окружающего воздуха от 15 °C до 25 °C.
7.2 Испытания на соответствие требованиям к конструкции
7.2.1 Устойчивость устройства
Соответствие требованиям, указанным в
5.5.1,
5.5.2 и
5.5.4, должно проверяться внешним осмотром и соответствующими манипуляциями.
Выполнение требований, указанных в
5.5.3, должно подтверждаться при наклоне работающего прибора; подача газа должна отключаться прежде, чем угол наклона прибора к горизонтали превысит 45°.
7.2.2 Защита от случайного контакта с горелкой
7.2.2.1 Габариты
Механический контроль и контроль габаритов.
7.2.2.2 Испытательный конус
Прибор должен штатно работать на эталонном испытательном газе при номинальном давлении
pn. Испытательный конус, изображенный на
рисунке 1, прижимают с усилием 5 Н к отверстиям в сетке.
Рисунок 1 - Испытательный конус
Прибор охлаждают до температуры окружающей среды, а затем укладывают так, чтобы центральная часть сетки была горизонтальной.
В центре между точками крепления сетки укладывают груз, представляющий собой плоский диск диаметром 100 мм и весом 5 кг. Через одну минуту груз убирают. После чего прибор повторно запускают на эталонном испытательном газе при номинальном давлении pn, а испытательный конус прижимают к отверстиям сетки.
7.2.2.3 Испытание на растяжение
Усилие в 20 Н прилагается в любой точке сетки и в любом направлении.
7.3 Проверка соответствия эксплуатационным требованиям
7.3.1 Герметичность газового тракта
Компоненты газового тракта испытываются следующим образом:
- Испытание N 1. Все устройства регулировки и отсечные устройства закрыты;
- Испытание N 2. Все устройства регулировки и (при наличии) все отсечные устройства (например, устройства регулировки предохранительного устройства) открыты, а форсунки горелок и запальной горелки перекрывают на короткое время.
Примечание - В некоторых компонентах невозможно перекрыть все отверстия для выхода газа в их соответствующем положении. В таком случае для испытания их следует снять, однако их следует проверить на герметичность сжатым воздухом при приложенном давлении с мыльной водой как средством для испытаний.
Испытания проводят перед прибором в холодном состоянии сжатым воздухом под давлением 15 кПа.
Испытания проводятся на приборе сначала в состоянии поставки, как если бы прибор продавался, а затем повторно проводятся все испытания согласно настоящему стандарту.
Метод, используемый для этого испытания, должен давать погрешность измерений не более 0,005 дм3/ч.
7.3.2 Тепловая мощность
7.3.2.1 Номинальная тепловая мощность
7.3.2.1.1 Общие положения
Проверка номинальной тепловой мощности должна проводиться после того, как прибор проработает на эталонном газе при давлении pn в течение 15 минут, причем все клапаны и подвижные элементы переключателей должны быть в полностью открытом положении.
Тепловая мощность рассчитывается по одной из следующих формул в зависимости от того, измеряется объемный расход:
Q = 0,278·V0·Hs, (1)
или массовый расход газа:
Q = 0,278·M0·Hs, (2)
где Q - тепловая мощность (кВт);
V0 - объемный расход газа (м3/ч) в стандартных условиях;
M0 - массовый расход газа (кг/ч) в стандартных условиях;
Hs - высшая теплота сгорания газа (МДж/м
3 либо МДж/кг) для эталонного газа, определенного в
п. 3.11.
Массовый расход газа рассчитывается по формуле:

(3)
Объемный расход газа рассчитывается по формуле:

(4)
где M - массовый расход газа в условиях испытания, кг/ч;
V - объемный расход газа в условиях испытания, м3/ч;
pa - атмосферное давление;
p - давление подачи газа на входе устройства, кПа;
tg - температура газа на входе устройства, °C;
dr - отношение плотности сухого газа в пересчете на сухой воздух;
d - отношение плотности эталонного газа в пересчете на сухой воздух.
7.3.2.1.2 Использование мокрого или сухого газового счетчика с мокрым газом
Если будет применен мокрый газовый счетчик или сухой газовый счетчик с насыщенным или частично насыщенным газом, на первом этапе расчетов (т.е. при расходе эталонного газа в условиях испытаний), то значение относительной плотности сухого испытательного газа dr заменяется на уравнение для относительной плотности мокрого испытательного газа:

(5)
где W - давление насыщенного пара воды в точке росы испытательного газа, который в случае мокрого газового счетчика равен tg, кПа.
7.3.2.1.3 Состояние с разными значениями давления на выходе газового счетчика и на входе прибора
Если по практическим соображениям между выходом газового счетчика и входом устройства имеется значительный перепад давлений, необходимо измеренный объем умножить на следующий коэффициент, чтобы получить искомый объем V в условиях испытания (давление на входе устройства):
где pm - давление на газовом счетчике, кПа.
7.3.2.2 Тепловая мощность запальной горелки
Проверка тепловой мощности запальной горелки проводится через 15 минут работы на эталонном газе при давлении
pn и клапане или подвижном элементе переключателя в пусковом положении, с применением формулы из
п. 7.3.2.1.
7.3.3 Безопасность эксплуатации
7.3.3.1 Устойчивость горелки к перегреву
Проверка выполняется на предельном газе для проскока пламени в диапазоне от pmin до pmax для определения максимального расхода газа, при котором газ горит на форсунке и, если возможно, внутри горелки.
Длительность испытания 15 минут.
7.3.3.2 Повышение температуры
Прибор устанавливается в соответствии с инструкциями производителя, с применением специальных испытательных стенок на указанном в инструкциях минимальном расстоянии.
Если прибор регулируется по высоте, то он устанавливается в самое низкое рабочее положение.
Испытательные стенки состоят из древесины толщиной 25 мм с поверхностью, покрытой матовой черной краской. Термопары прикрепляются в середине квадратов с длиной стороны 100 мм на каждой испытательной стенке. Термопары вставляются с обратной стороны так, чтобы их точки соединения находились на расстоянии 3 мм от поверхности, обращенной к прибору.
Прибор работает на эталонном испытательном газе номинальной тепловой мощности в течение, по крайней мере, 20 мин.
Температура измеряется контактными термопарами либо другими аналогичными устройствами.
7.3.3.3 Перегрев баллонов со сжиженным газом
Прибор работает на эталонном испытательном газе при температуре окружающей среды и номинальном давлении pn, подающемся из отсека с газовым баллоном (при наличии) максимального размера, рекомендованного изготовителем. Газовый баллон заполнен на 4/5 своего объема водоизмещения.
Давление в газовом баллоне будет определено через 5 минут непрерывной работы на полной мощности, затем через один час на полной мощности и в течение 30 мин после выключения прибора.
Температура патрубка и стенок отсека с газовым баллоном измеряется контактными термопарами.
Далее манометром измеряют повышение давления в газовом баллоне по сравнению с давлением, измеренным через 5 мин (см. пример на
рисунке 2).
1 - манометр для измерения давления в газовом баллоне;
2 - регулятор давления газа; 3 - баллон со сжиженным газом;
4 - подключение к внешним горелкам; 5 - манометр
для измерения давления в системе подачи газа
Рисунок 2 - Испытательное устройство для измерения
повышения давления насыщенного пара
7.3.3.4 Зажигание, перенос зажигания, устойчивость пламени
Прибор зажигают в соответствии с инструкциями производителя в следующем порядке: с подачей эталонного испытательного газа при pn, с подачей предельного газа для проскока пламени при pmin, с подачей предельного газа для отрыва пламени при pmax, в холодном состоянии и через 15 мин работы.
7.3.3.5 Устойчивость к ветровому напору
Прибор работает на эталонном испытательном газе при номинальной тепловой мощности и давлении pn, в нормальном рабочем режиме. Затем подается равномерный поток воздуха по горизонтали со скоростью 3 м/с в наихудших для горелки условиях. Поток воздуха прерывают таким образом, чтобы получить пять порывов ветра длительностью 10 с каждый с 10-секундными паузами.
7.3.3.6 Устойчивость к атмосферным воздействиям
Прибор должен быть установлен на испытательном стенде в наихудшем положении.
Устройство для испытаний на воздействие дождя должно состоять из блока разбрызгивателя, находящегося на высоте 1 м над крышкой (см.
рисунок 3).
Рисунок 3 - Испытание на устойчивость к действию дождя
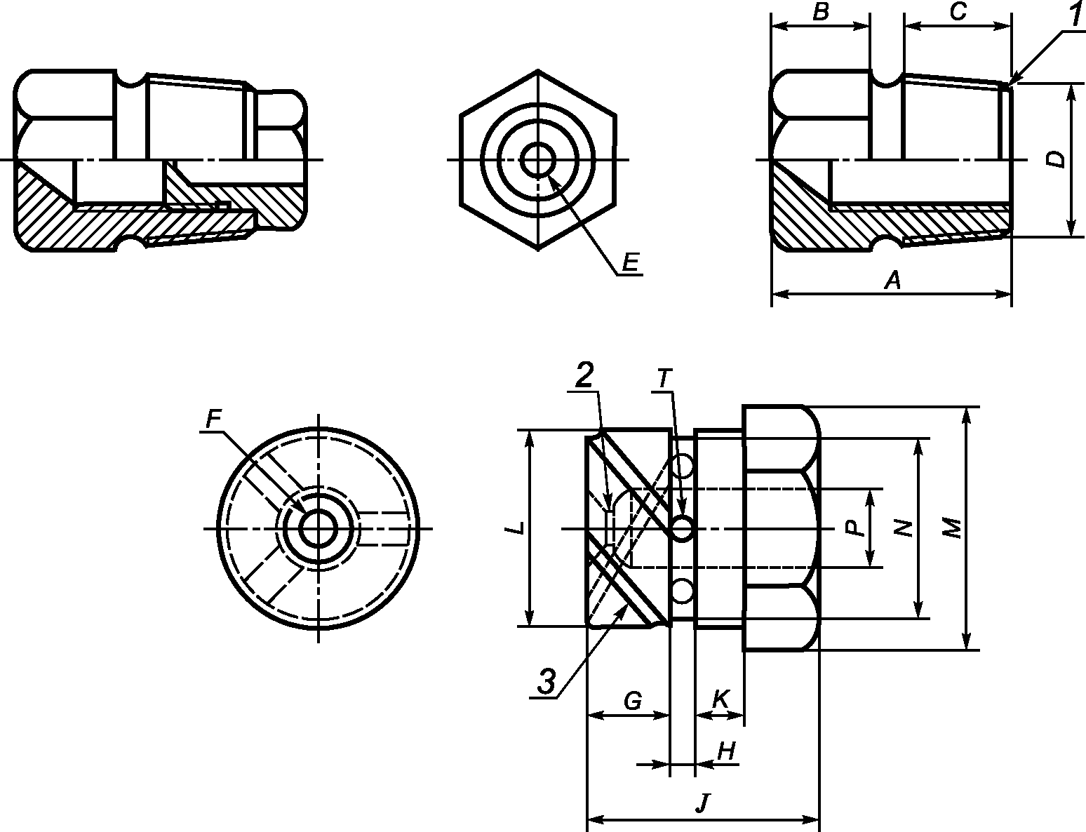
Вода с давлением 35 кПа через блок разбрызгивателя (см.
рисунок 4) создает расширяющуюся разбрызгивающую струю с углом распыления 90°. Каждую горелку запускают на эталонном испытательном газе при номинальном давлении и зажигают, после чего на 15 минут включают блок разбрызгивателя.
1 - конусная резьба размером

по Британской
классификации сечения труб (BSP); 2 - цилиндрическое
горлышко, длиной не больше 0,8 мм, переходящее в конус
с углом 115° глубиной 0,8 мм; 3 - три шлица глубиной S
и с поперечником шириной R, расположенные под углом 120°
по спирали в 60°, передние кромки которых направлены
касательно к радиальным краям
Габариты | A | B | C | D | E | F | G | H | J | K | L | M | N | P | R | S | T |
мм | 31,0 | 11,0 | 14,0 | 14,7 | 5,0 | 2,5 | 6,4 | 2,4 | 18,3 | 4,0 | 14,6 | 16,0 | 11,5 | 6,4 | 1,5 | 1,5 | 2,8 |
Рисунок 4 - Блок разбрызгивателя
Прибор оценивают на сажеобразование через 8 ч работы в максимальном положении и при номинальном давлении pn на предельном газе (G30 для категорий I3+, I3B и I3B/P и, а также G31 для категории I3P).
7.3.3.8 Зажигание при низкой температуре воздуха
Горелку устанавливают на 12 ч в помещении при температуре (5 +/- 2) °C. Горелку зажигают согласно инструкциям производителя, причем подают испытательный газ при давлении pn и температуре (5 +/- 2) °C.
7.3.3.9 Эксплуатация устройств контроля пламени
Прибор зажигают при температуре окружающей среды и давлении pn и проверяют, открывает ли устройство подачу газа на горелку.
Время открывания измеряют с момента, когда зажигается горелка или запальная горелка, до момента, когда устройство автоматически открывает подачу газа на горелку.
Через 15 мин работы измеряют время закрывания с момента, в который гаснет горелка или запальная горелка, до момента, когда устройство отключает подачу газа.
Длительности переключения устройства не должны превышать значения, указанные в
6.3.8.
7.3.3.10 Устройство контроля воздуха в помещении
7.3.3.10.1 Общие положения
Устройство устанавливают в герметичную испытательную камеру (см.
рисунок 5) и запускают с подачей эталонного испытательного газа (газов) при номинальном давлении
pn. Баллон со сжиженным газом устанавливают за пределами испытательной камеры.
Пример герметичной испытательной камеры:
Требования к размерам:
- объем - 17,5 +/- 1 м3;
- длина - 3,5 +/- 0,2 м;
- ширина - 2,0 +/- 0,2 м;
- высота - 2,5 +/- 0,2 м.
a) Вид сбоку
b) Вид сверху
1 - прибор; 2 - отбор проб на содержание CO/CO2;
3 - измерительные приборы; 4 - газоснабжение
Рисунок 5 - Пример герметичной испытательной камеры
При условии, что ничто не повлияло на результаты испытаний, могут использоваться другие размеры.
Камера должна быть настолько герметична, что объемное содержание CO2 в однородном воздухе испытательной камеры, насыщенной CO2 с концентрацией (4,0 +/- 0,2)% через 2 ч снижается не более чем на 0,1% CO2.
Примечание - Распределение концентрации в воздухе помещения можно сделать равномерным с помощью вентилятора или насоса. CO2 можно получать от любого источника помимо сгорания.
Испытательная камера должна быть устроена так, чтобы:
- пламя горелки наблюдалось в любой момент;
- точка отбора для измерения концентрации CO2 и CO находилась в геометрическом центре испытательной камеры, причем чтобы трубопровод измерительной системы был как можно короче;
- температура, измеренная в геометрическом центре испытательной камеры, находилась в диапазоне от 20 до 40 °C;
- поддерживалась равномерная смесь воздуха в помещении.
7.3.3.10.2 Методы испытаний
Данное испытание проводится при номинальной тепловой мощности, и, если это применимо, при частичной нагрузке.
Прибор зажигают при давлении pn, при этом дверь испытательной камеры должна быть открыта, а вытяжка работать.
После периода прогрева в течение 20 мин дверь закрывают и герметизируют камеру.
Концентрацию CO в воздухе камеры измеряют непрерывно, пока концентрация CO не начнет падать из-за выключения прибора. Записывают максимальную концентрацию CO.
Для целей испытания в прибор можно вносить изменения при условии, что изменения не будут касаться верхней части, горелки, устройств регулировки и защитных устройств.
7.3.3.11 Электрическая безопасность
Безопасная работа оценивается для случая нормальных колебаний напряжения питания от 110% до 85% фактического напряжения. При этом прибор эксплуатируют при номинальном давлении pn поочередно с эталонным испытательным газом, предельным газом для проскока пламени и предельным газом для отрыва пламени.
Безопасность эксплуатации для случая с аномальными колебаниями в подаче резервного питания оценивают в следующем испытании.
Прибор эксплуатируют с эталонным испытательным газом при давлении pn. Все устройства регулирования (например, термостат) настраивают на максимальный расход газа, и следят, чтобы все устройства регулирования и предохранительные устройства в ходе этого испытания находились в полностью открытом положении. Напряжение питания постепенно уменьшают до тех пор, пока прибор не перейдет в безопасное состояние.
Репрезентативную пробу продуктов сгорания отбирают через 15 мин работы прибора при номинальной тепловой мощности на предельном газе для неполного сгорания при максимальном давлении, соответствующем категории документа.
Для приборов с тепловой мощностью выше указанной проводят второе измерение при давлении pn на предельном газе для неполного сгорания при минимальной производительности, указанной изготовителем.
Условия отбора проб должны допускать, что содержание CO2 можно регулировать в диапазоне от 1% до 4%.
7.3.5 Пригодность к эксплуатации
8 Маркировка, упаковка, инструкции
Информация, касающаяся маркировки согласно
8.2 -
8.4, должна указываться на языке (языках) страны (стран) назначения прибора.
Для маркировки на приборе и на упаковке устройства рекомендуется применять буквенные обозначения согласно
[11], раздел 5.
На приборе должна быть указана (нестираемым, четким и различимым текстом) следующая информация (в случае необходимости после снятия упаковки или крышки):
a) наименование завода-изготовителя и/или товарный знак.
Товарные знаки могут представлять собой логотип или номер с указанием официального органа, который отвечает за надзор за производством прибора;
b) торговое наименование прибора;
c) тип газа, соответствующее давление газа и/или пара давлений газа, на которые рассчитан устанавливаемый прибор, страна (страны) назначения; любые данные по давлению должны приводиться в сочетании с указанием категории прибора;
d) категория прибора;
e) номинальная тепловая мощность для всех горелок (в кВт/ч и г/ч);
Примечание - Расход газа из газового баллона с бутаном и пропаном при температуре окружающего газа указан в
приложении B.
f) при наличии электрических соединений указать тип, напряжение (В) и силу тока (А) электрического соединения и максимальную производительность (кВт) для всех возможных электрических соединений;
h) указания: "После использования закройте клапан газового баллона или регулятора".
Маркировка должна наноситься непосредственно на прибор, или, в случае необходимости, на одной или нескольких заводских табличках и/или наклейках, прочно прикрепленных на приборе.
Запрещается указывать на приборе другие сведения, если в результате может возникнуть неясность касательно текущего состояния настройки прибора и его соответствующей категории.
Стойкость маркировки должна быть подтверждена при испытаниях согласно
ГОСТ IEC 60335-1,
пункт 7.14.
Непосредственно на приборе или на табличке, прикрепленной к прибору и различимой для оператора, должны быть нанесены следующие предупредительные надписи, выполненные разборчивым и нестираемым шрифтом:
- "Использование этого оборудования в замкнутом помещении может быть опасным и ЗАПРЕЩАЕТСЯ!"
Примечание - Эта формулировка не является обязательной для приборов с тепловой мощностью не выше 4,2 кВт в соответствии с
[1].
- "Перед использованием прибора прочитайте инструкции. Устройство должно размещаться в соответствии с инструкциями и местными правилами".
На приборе должны быть предусмотрены следующие предупредительные надписи:
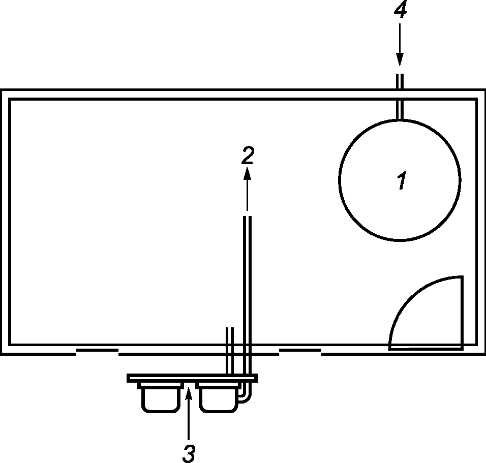
1) Для эксплуатации прибора на открытом воздухе или в хорошо проветриваемых помещениях.
2) В хорошо проветриваемом помещении по меньшей мере 25% ограждающей поверхности должно быть открыто.
3) Ограждающая поверхность является суммой площади всех стенок прибора.
8.3 Маркировка на упаковке
На упаковку должна быть нанесена маркировка, содержащая следующие данные:
a) тип газа, соответствующее давление газа и/или пара давлений газа, на которые рассчитан устанавливаемый прибор, и страна назначения. Любые данные по давлению должны приводиться в сочетании с указанием категории прибора;
b) категория прибора;
c) "Использование оборудования этого прибора в замкнутом помещении может быть опасным и ЗАПРЕЩАЕТСЯ!"
Примечание - Эта формулировка не является обязательной для приборов с тепловой мощностью не более 4,2 кВт в соответствии с
[1].
d) "Перед использованием прибора прочитайте инструкции. Устройство должно размещаться в соответствии с инструкциями и местными правилами".
На приборе должно быть нанесено изображение, показанное на
рисунке 6, а также следующие предупредительные надписи:
1) Для эксплуатации прибора на открытом воздухе или в хорошо проветриваемых помещениях.
2) В хорошо проветриваемом помещении, как минимум 25% ограждающей поверхности должно быть открыто.
3) Ограждающая поверхность является суммой площади всех стенок прибора.
Рисунок 6 - Общий вид прибора
Указанная на приборе информация, которая после упаковки остается видимой и читаемой, должна соответствовать этим требованиям.
Запрещается указывать на упаковке другие сведения, если в результате может возникнуть неясность касательно текущего состояния настройки прибора и его соответствующей категории.
Для приборов, рассчитанных на установку на столе, надписи на упаковке должны однозначно указывать, что для прибора требуется определенный тип стола.
8.4 Инструкции по установке и руководство по эксплуатации
Инструкции по установке и руководство по эксплуатации должны быть приложены к каждому прибору. В дополнение к сведениям, указанным в
8.2 [за исключением
перечисления g)] и
8.3, должна быть приведена информация, необходимая для правильной и надежной эксплуатации прибора.
Если установка прибора требует участия специалиста, то должна быть предоставлена соответствующая информация.
В дополнение к требованиям по установке, сборке, пусконаладочным работам, техническому обслуживанию и транспортировке руководство по эксплуатации прибора должно содержать следующие сведения:
- адреса и номера телефонов дистрибьютора на случай возможных ошибок или проблем со сборкой или эксплуатацией прибора;
- тип газа, соответствующее давление газа и/или пара давлений газа, на которые рассчитан устанавливаемый прибор; любые данные по давлению должны приводиться в сочетании с указанием категории прибора;
- типы допустимых баллонов со сжиженным газом;
- сведения о типе устройств регулирования с особым указанием регулируемого давления;
- тип и длина соответствующих соединительных шлангов;
- маркировка сменных форсунок;
- обязательное минимальное расстояние от незащищенных воспламеняемых материалов;
- минимальное расстояние между прибором и баллоном со сжиженным газом для приборов, не оборудованных отсеком для газового баллона.
Руководство по эксплуатации должно включать следующие рекомендации:
a) замена газового баллона должна проводиться в хорошо проветриваемом помещении, вдали от открытого огня (свечи, сигареты, другие устройства с открытым пламенем);
b) проверяйте, правильно ли установлено уплотнение регулятора давления, и выполняет ли уплотнение свои функции;
c) не допускается перекрывать вентиляционные отверстия в помещении для установки баллона со сжиженным газом;
d) после окончания эксплуатации вентиль на газовом баллоне или на регуляторе давления необходимо закрыть;
e) инструкции на случай утечки газа, например: "В случае утечки газа прибор эксплуатировать запрещается; если прибор уже работает, необходимо отключить подачу газа, проверить и привести в порядок прибор, прежде чем использовать его далее";
f) рекомендуемая частота проверки соединительных шлангов (по крайней мере один раз в месяц и каждый раз при замене баллона со сжиженным газом). Если у соединительных шлангов появляются признаки ломкости или повреждения, их необходимо заменить на новые такой же длины и соответствующего качества;
g) порядок проверки герметичности соединений.
Инструкции также должны содержать следующие предупредительные формулировки:
- "Прочитайте инструкции до установки и эксплуатации";
- "Установку прибора и установку/хранение баллонов со сжиженным газом следует осуществлять в соответствии с применимыми правилами";
- "Не допускается перекрывать вентиляционные отверстия помещения для установки баллона со сжиженным газом";
- "Не допускается перемещать работающий прибор";
- "Перед перемещением прибора необходимо перевести вентиль на баллоне со сжиженным или на регуляторе давления в положение "закрыто";
- "Соединительные шланги должны заменяться в предписанные сроки";
- "Должны применяться только типы газов и газовых баллонов, указанные изготовителем";
- "При сильном ветре следует особо следить, чтобы прибор не опрокинулся".
Инструкции должны содержать следующее предложение: "Сохраняйте инструкции для применения в будущей работе". Тем не менее, на приборе должны быть предусмотрены следующие предупредительные надписи:
1) Для эксплуатации прибора на открытом воздухе или в хорошо проветриваемых помещениях.
2) В хорошо проветриваемом помещении, как минимум 25% ограждающей поверхности должно быть открыто.
3) Ограждающая поверхность является суммой площадей всех стен помещения.
Если прибор рассчитан на установку на столе, то на отражателе прибора должна иметься следующая предупреждающая надпись:
"Будьте осторожны, доступные части могут быть очень горячими. Не подпускайте детей к прибору".
Для приборов, которые устанавливаются на столе, в инструкциях приводятся особые требования по столам (материал, вес, габаритные размеры).
(обязательное)
Таблица A.1
Номинальное давление прибора
Категория | I3P(37) | I3P(50) | I3B | I3+ | I3B/P(50) | I3B/P(30) |
Давление, кПа | 3,7 | 5,0 | 2,8 | 3,0 | Пара давлений 2,8/3,7 | Пара давлений 3,0/3,7 | 5,0 | 3,0 |
Код страны | |
AT | | X | | | | | X | |
BE | | | | | | | | X |
CH | | X | | | X | | X | |
CY | | | | | | | | |
CZ | X | | | | | | | X |
DE | | X | | | | | X | |
DK | | | | | | | | X |
EE | | | | | | | | |
ES | | | | | X | | | |
FI | | | | | | | | X |
FR | X | | X | | X | | | |
GB | X | | X | | X | | | |
GR | X | | | | X | | | X |
HU | | | | | | | | |
IE | X | | X | | X | | | |
IS | | | | | | | | |
IT | | | | | | X | | X |
LT | | | | | | | | |
LU | | | | | | | | |
LV | | | | | | | | |
MT | | | | | | | | |
NL | | X | | | | | | X |
NO | | | | | | | | X |
PO | | | | | | | | |
PT | X | | | X | | X | | |
SE | | | | | | | | |
SI | | | | | | | | |
SK | | | | | | | | |
Таблица A.2
Категории приборов в продаже в различных странах
<a>
Код страны | Приборы, в комплект которых входят баллоны со сжиженным газом | Прочие приборы |
I3+ | I3B/P(30) | I3B/P(50) | I3B | IP(37) | I3+ | I3B/P(30) | I3B/P(50) | I3B | IP(37) |
AT | | | X | | | | | X | | X |
BE | | | | | | | | | | |
CH | X | | X | | | X | | X | | |
CY | | | | | | | | | | |
CZ | | X | | | X | | X | | X | |
DE | | | X | | | | | X | | X |
DK | | X | | | | | X | | | |
EE | | | | | | | | | | |
ES | X | | | | | | | | | |
FI | | X | | | | | X | | | |
FR | X | | | X | X | X | | | X | |
GB | | | | X | X | X | X | | X | |
GR | X | X | | | X | X | X | | X | |
HU | | | | | | | | | | |
IE | | | | X | X | X | | | X | |
IS | | | | | | | | | | |
IT | X | X | | | | X | X | | | |
LT | | | | | | | | | | |
LU | | | | | | | | | | |
LV | | | | | | | | | | |
MT | | | | | | | | | | |
NL | | | | | | | | | | |
NO | | X | | | | | X | | | |
PO | | | | | | | | | | |
PT | X | | | X | X | X | | | X | |
SE | | | | | | | | | | |
SI | | | | | | | | | | |
SK | | | | | | | | | | |
<a> Сведения в этой таблице запрещают изготовление и распространение приборов, принадлежащих к другим категориям, и предназначенным для распространения в других странах. |
Таблица A.3
Входные соединения, допускающиеся в разных странах
Коды страны | Категория I3+, I3P, I3B, I3B/P |
Резьбовые соединения | |
| |
AT | да | | |
BE | да | да | |
CH | да | да | F, H |
CY | | | |
CZ | да | да | F, H |
DE | да | | H |
DK | да | да | C |
EE | | | |
ES | | | C |
FI | да | да | B, F  |
FR | | да | F  |
GB | да | | F  |
GR | да | | |
HU | | | |
IE | да | | A, C |
IS | | | |
IT | да | | F  и F  |
LT | | | |
LU | | | |
LV | | | |
MT | | | |
NL | да | | |
NO | да | да | A |
PO | | | |
PT | да | да | |
SE | | | |
SI | | | |
SK | | | |
<a> Только для стационарных нагревателей. <b> При d 1 = 5 мм, d 2 = 9 мм, l = 24 мм. <c> При d 1 = 5,5 мм, d 2 = 6,5 мм. |
Примечание - В некоторых странах газовые приборы продаются в комплекте с гибким шлангом либо соединительными шлангами, а в особых случаях - с регулятором давления. Для получения дополнительной информации следует руководствоваться соответствующими местными правилами использования.
Рисунок A.1 - Соединительные патрубки
(справочное)
СКОРОСТЬ ОТБОРА ГАЗА ИЗ БАЛЛОНОВ СО СЖИЖЕННЫМ ГАЗОМ
Скорость отбора газа из имеющихся в коммерческой продаже газовых баллонов с бутаном или пропаном существенно зависит от температуры окружающей среды и времени эксплуатации.
Таблица B.1
Температура окружающего воздуха, °C | Средняя скорость отбора из баллона со сжиженным газом (5 - 13 кг) в зависимости от времени эксплуатации, г/ч |
15 мин | 30 мин | 1 ч | 2 ч | непрерывно |
+5 | 1250 | 850 | 500 | 350 | 200 |
+15 | 1600 | 1100 | 800 | 600 | 400 |
Таблица B.2
Температура окружающего воздуха, °C | Средняя скорость отбора из баллона со сжиженным газом (5 - 13 кг) в зависимости от времени эксплуатации, г/ч |
15 мин | 30 мин | 1 ч | 2 ч | непрерывно |
+10 | 5000 | 3250 | 2150 | 1550 | 1000 |
+5 | 4350 | 2800 | 1800 | 1350 | 800 |
-5 | 2900 | 2100 | 1450 | 1000 | 600 |
-15 | 2000 | 1650 | 1200 | 850 | 450 |
(справочное)
ПРИГОДНОСТЬ К ЭКСПЛУАТАЦИИ
C.1 Введение
Данное приложение имеет справочный характер. Приложение было создано для того, чтобы позволить производителю указать характеристики прибора в части экономного расходования энергии.
Выбранный метод измерений не дает значение фактического КПД прибора. Приводится согласованное значение, показывающее излучение, получаемое условной поверхностью, применяемой для сравнения приборов в соответствии с настоящим стандартом.
C.2 Методика испытания
Ниже приводятся граничные условия, требующиеся для испытания:
- отсутствие ветра (скорость ветра ниже 0,5 м/с);
- температура окружающей среды от 15 °C до 25 °C.
Для приборов с регулируемой высотой пригодность к эксплуатации определяется при максимальной высоте установки.
Измерение проводится через 1 час работы прибора при номинальной тепловой мощности с подачей на прибор испытательного газа, рекомендованного изготовителем.
Измерения проводятся с помощью соответствующих датчиков, которые позволяют измерять излучение (при необходимости после пересчета) в Вт/м2. Датчики должны быть расположены горизонтально в точках измерения.
Предусматривается пять точек измерения, находящихся на высоте 1 м от пола на расстоянии от вертикальной оси горелки 0,5 м; 1,0 м; 1,5 м; 2,0 м и 2,5 м (см.
рисунок C.1).
Примечание - Для приборов, рассчитанных на установку на столе, плоскость измерений соответствует уровню, на котором установлен прибор.
Рисунок C.1 - Точки измерения
Излучение, поглощаемое условной поверхностью, рассчитывают по формуле:
где Pr - суммарное согласованное излучение на условной поверхности диаметром 5 м, Вт;
P0,5 - излучение, измеренное на расстоянии 0,5 м по вертикальной оси горелки, Вт/м2;
P1,0 - излучение, измеренное на расстоянии 1,0 м по вертикальной оси горелки, Вт/м2;
P1,5 - излучение, измеренное на расстоянии 1,5 м по вертикальной оси горелки, Вт/м2;
P2,0 - излучение, измеренное на расстоянии 2,0 м по вертикальной оси горелки, Вт/м2;
P2,5 - излучение, измеренное на расстоянии 2,5 м по вертикальной оси горелки, Вт/м2.
Для приборов без цилиндрической формы симметрии значения P0,5, P1,0 ... заменяются на средние значения, которые учитывают симметрию прибора.
C.3 Объявление
Если в инструкциях, на упаковке или на приборе приводятся сведения о пригодности прибора к эксплуатации, т.е. к энергосберегающему использованию, применяется следующая таблица:
Номинальная тепловая мощность (кВт) | x |
Излучение, поглощаемое условной поверхностью диаметром 5 м (кВт) | y |
Согласно ГОСТ | -201 |
где x - номинальная тепловая мощность, кВт;
y - величина Pr согласно приведенным выше расчетам, кВт.
(справочное)
СВЕДЕНИЯ О СООТВЕТСТВИИ ССЫЛОЧНЫХ МЕЖГОСУДАРСТВЕННЫХ
СТАНДАРТОВ ЕВРОПЕЙСКИМ И МЕЖДУНАРОДНЫМ СТАНДАРТАМ,
ИСПОЛЬЗОВАННЫМ В КАЧЕСТВЕ ССЫЛОЧНЫХ В ПРИМЕНЕННОМ
ЕВРОПЕЙСКОМ СТАНДАРТЕ
Таблица ДА.1
Обозначение ссылочного межгосударственного стандарта | Степень соответствия | Обозначение и наименование ссылочного международного стандарта |
| IDT | EN 125:1991+A1:1996 "Устройства контроля пламени для газовых приборов. Термоэлектрические типы" |
| IDT | EN 126:2012 "Устройства регулирующие многофункциональные для газовых нагревательных приборов" |
| IDT | EN 298:2003 "Системы контроля автоматические газовых горелок и приборов с вентилятором или без него" |
ГОСТ EN 437-2012 | IDT | EN 437:2003+A1:2009 "Испытательные газы, испытательные давления. Категории приборов" |
(EN 161:2001) | MOD | EN 161:2001 "Клапаны автоматические отсечные для газовых горелок и газовых приборов" |
(EN 257:1992) | MOD | EN 257:1992 "Терморегуляторы механические для газовых приборов" |
(EN 461:1999) | MOD | EN 461:1999 "Приборы нагревательные, работающие исключительно на сжиженном нефтяном газе. Технические условия. Нагревательные приборы без дымоходов небытового назначения мощностью до 10 кВт" |
| IDT | IEC 60335-1 (2015) "Приборы электрические бытового и аналогичного назначения. Безопасность. Часть 1. Общие требования" |
ГОСТ IEC 60335-2-102-2014 | IDT | IEC 60335-2-102 (2009) "Приборы электрические бытового и аналогичного назначения. Безопасность. Часть 2-102. Частные требования к приборам для сжигания газа, жидкого и твердого топлива, имеющим электрические соединения" |
Примечание - В настоящей таблице использованы следующие условные обозначения степени соответствия стандартов: - IDT - идентичные стандарты; - MOD - модифицированные стандарты. |
(справочное)
ВЗАИМОСВЯЗЬ МЕЖДУ НАСТОЯЩИМ СТАНДАРТОМ И ОСНОВНЫМИ
ТРЕБОВАНИЯМИ ТЕХНИЧЕСКОГО РЕГЛАМЕНТА ТАМОЖЕННОГО СОЮЗА
ТР ТС 016/2011 "О БЕЗОПАСНОСТИ АППАРАТОВ, РАБОТАЮЩИХ
НА ГАЗООБРАЗНОМ ТОПЛИВЕ"
Настоящий стандарт разработан в целях подготовки средств для выполнения основополагающих требований Технического регламента Таможенного союза ТР ТС 016/2011 "О безопасности аппаратов, работающих на газообразном топливе".
После публикации настоящего стандарта в официальном печатном органе в соответствии с указанным техническим регламентом Таможенного союза и внедрением стандарта в качестве национального, соответствие с пунктами настоящего стандарта, указанными в таблице ДБ.1, создает в рамках области применения настоящего стандарта презумпцию соответствия применяемым основополагающим требованиям этого технического регламента.
Таблица ДБ.1
Соответствие между настоящим стандартом и Техническим
регламентом Таможенного союза "О безопасности аппаратов,
работающих на газообразном топливе"
Разделы технического регламента | Существенные требования технического регламента | Разделы и подразделы настоящего стандарта |
1 | Общие условия |
1.1 | Безопасность эксплуатации | 1, 6, 7 |
Прил. 2 | Инструкции | 9.2, 9.3 |
Прил. 2, п. 2 | Инструкции по монтажу | 9.2 |
Прил. 2, п. 3 | Инструкции по эксплуатации | 9.2 |
1.2.3 | Предупреждения | 9.3 |
1.3 | Безотказная эксплуатация | 7, 9.2 |
2 | Материалы |
2.1, 2.2 | Пригодность согласно требованиям по технике безопасности и предполагаемому назначению | 6.2, 6.3 |
3 | Конструкция и изготовление | |
3.1 | Общие сведения | |
4.18 | Механическая прочность | 6.1, 6.2, 6.3, 6.4 |
4.15, 4.16 | Конденсация | Н/А |
4.1 | Опасность взрыва | 7.2, 7.3 |
3.1.4 | Проникновение воды | Н/А |
3.1.5 | Нормальные колебания подачи энергии с резервного источника | 7.1 |
3.1.6 | Аномальные колебания подачи энергии с резервного источника | 7.101, 8 |
3.1.7 | Опасности, связанные с электрическим током | 8 |
4.19 | Компоненты, находящиеся под давлением | 6.1, приложения F, G и H |
3.1.9 | Отказы предохранительных, контрольно-измерительных и регулирующих устройств | Н/А |
3.1.10 | Безопасность/настройка | Н/А |
4.28 | Заводская защита компонентов | 6.2 |
3.1.12 | Устройства управления и настройки | 6.2 |
4.9 | Утечка несгоревшего газа | |
4.5 | Утечка газа | 6.2.3, 6.2.4, 6.3.2, 6.3.3, 7.2, 7.3 |
3.2.2, 3.2.3 | Скопление газа | Н/А |
3.3 | Зажигание | Н/А |
3.4 | Сгорания | Н/А |
3.5 | Хозяйственное применение энергии | Н/А |
3.6 | Температуры | 7.1 |
3.7 | Продукты питания и вода для гигиенических целей | Н/А |
Н/А - требований в стандарте нет |
Предупреждение: В отношении продукции, входящей в область применения настоящего стандарта, могут действовать дополнительные требования и другие технические регламенты Таможенного союза.
| EN 449:2002 | Specification for dedicated liquefied petroleum gas appliances - Domestic fuelless space heaters (including diffusive catalytic combustion heaters) [Приборы нагревательные, работающие исключительно на сжиженном нефтяном газе. Технические условия. Бытовые нагревательные приборы без дымоходов (включая нагреватели с диффузионным каталитическим сгоранием)] |
| EN 416-1:2009 | Single burner gas-fired overhead radiant tube heaters for non-domestic use - Part 1: Safety (Нагреватели газовые трубчатые радиационные потолочные с одной горелкой для небытового использования. Часть 1. Безопасность) |
| EN 419-1:2009 | Non-domestic gas-fired overhead luminous radiant heaters - Part 1: Safety (Обогреватели излучающие подвесные газовые производственные. Часть 1. Безопасность) |
| EN 521:2006 | Specifications for dedicated liquefied petroleum gas appliances - Portable vapour pressure liquefied petroleum gas appliances (Приборы, работающие на сжиженном специфическом нефтяном газе. Приборы переносные, работающие на парах сжиженного нефтяного газа, находящегося под давлением) |
| EN 751-1:1996 | Sealing materials for metallic threaded joints in contact with 1st, 2nd and 3rd family gases and hot water - Part 1: Anaerobic jointing compounds (Герметики для металлических резьбовых соединений в контакте с газами 1-го, 2-го и 3-го семейств и горячей водой. Часть 1. Анаэробные герметики) |
| EN 751-2:1996 | Sealing materials for metallic threaded joints in contact with 1st, 2nd and 3rd family gases and hot water - Part 2: Non-hardening jointing compounds (Герметики для металлических резьбовых соединений в контакте с газами 1-го, 2-го и 3-го семейств и горячей водой. Часть 2. Неотверждающиеся герметики) |
| EN 751-3:1996 | Sealing materials for metallic threaded joints in contact with 1st, 2nd and 3rd family gases and hot water - Part 3: Unsintered PTFE tapes (Герметики для металлических резьбовых соединений в контакте с газами 1-го, 2-го и 3-го семейств и горячей водой. Часть 3. Ленты из неслипающегося PTFE) |
| EN 549:1994 | Rubber materials for seals and diaphragms for gas appliances and gas equipment (Материалы резиновые для уплотнителей и мембран газовых приборов и оборудования. Технические условия) |
| EN ISO 228-1:2003 | Pipe threads where pressure-tight joints are not made on the threads - Part 1: Dimensions, tolerances and designation (Резьбы трубные, не обеспечивающие герметичность соединения. Часть 1. Размеры, допуски и обозначения) |
| ISO 7-1:1994 | Pipe threads where pressure-tight joints are made on the threads - Part 1: Dimensions, tolerances and designation (Резьбы трубные, обеспечивающие герметичность соединения. Часть 1. Размеры, допуски и обозначение) |
| CR 1472:1998 | General guidance for the marking of gas appliances (Общее руководство для маркировки газовой аппаратуры) |