Главная // Актуальные документы // ГОСТ (Государственный стандарт)СПРАВКА
Источник публикации
М.: Стандартинформ, 2017
Примечание к документу
Документ
введен в действие с 1 января 2018 года.
Название документа
"ГОСТ 34021-2016. Межгосударственный стандарт. Краны грузоподъемные. Измерение погрешности установки ходовых колес"
(введен в действие Приказом Росстандарта от 17.03.2017 N 155-ст)
"ГОСТ 34021-2016. Межгосударственный стандарт. Краны грузоподъемные. Измерение погрешности установки ходовых колес"
(введен в действие Приказом Росстандарта от 17.03.2017 N 155-ст)
агентства по техническому
регулированию и метрологии
от 17 марта 2017 г. N 155-ст
МЕЖГОСУДАРСТВЕННЫЙ СТАНДАРТ
КРАНЫ ГРУЗОПОДЪЕМНЫЕ
ИЗМЕРЕНИЕ ПОГРЕШНОСТИ УСТАНОВКИ ХОДОВЫХ КОЛЕС
Cranes. Measurement of wheel alignment
(ISO 11630:1997, NEQ)
ГОСТ 34021-2016
Дата введения
1 января 2018 года
Цели, основные принципы и основной порядок проведения работ по межгосударственной стандартизации установлены в
ГОСТ 1.0-2015 "Межгосударственная система стандартизации. Основные положения" и
ГОСТ 1.2-2015 "Межгосударственная система стандартизации. Стандарты межгосударственные, правила и рекомендации по межгосударственной стандартизации. Правила разработки, принятия, обновления и отмены"
Сведения о стандарте
1 РАЗРАБОТАН Акционерным обществом "РАТТЕ" (АО "РАТТЕ")
2 ВНЕСЕН Федеральным агентством по техническому регулированию и метрологии
3 ПРИНЯТ Межгосударственным советом по стандартизации, метрологии и сертификации (протокол от 22 ноября 2016 г. N 93-П)
За принятие проголосовали:
Краткое наименование страны по МК (ИСО 3166) 004-97 | Код страны по МК (ИСО 3166) 004-97 | Сокращенное наименование национального органа по стандартизации |
Армения | AM | Минэкономики Республики Армения |
Беларусь | BY | Госстандарт Республики Беларусь |
Грузия | GE | Грузстандарт |
Казахстан | KZ | Госстандарт Республики Казахстан |
Киргизия | KG | Кыргызстандарт |
Россия | RU | Росстандарт |
Таджикистан | TJ | Таджикстандарт |
Узбекистан | UZ | Узстандарт |
4
Приказом Федерального агентства по техническому регулированию и метрологии от 17 марта 2017 г. N 155-ст межгосударственный стандарт ГОСТ 34021-2016 введен в действие в качестве национального стандарта Российской Федерации с 1 января 2018 г.
5 Настоящий стандарт разработан с учетом основных нормативных положений международного стандарта ISO 11630:1997 "Краны. Измерение погрешности установки ходовых колес" ("Cranes - Measurement of wheel alignment", NEQ)
6 ВВЕДЕН ВПЕРВЫЕ
Информация об изменениях к настоящему стандарту публикуется в ежегодном информационном указателе "Национальные стандарты", а текст изменений и поправок - в ежемесячном информационном указателе "Национальные стандарты". В случае пересмотра (замены) или отмены настоящего стандарта соответствующее уведомление будет опубликовано в ежемесячном информационном указателе "Национальные стандарты". Соответствующая информация, уведомление и тексты размещаются также в информационной системе общего пользования - на официальном сайте Федерального агентства по техническому регулированию и метрологии в сети Интернет (www.gost.ru)
| | ИС МЕГАНОРМ: примечание. Текст дан в соответствии с официальным текстом документа. | |
Настоящий стандарт устанавливает общие требования к методам измерений погрешности установки ходовых колес грузоподъемных кранов и тележек, передвигающихся по рельсовым путям, по классификации стандарта
ГОСТ 33709.1-2015 с учетом нормативных положений, содержащихся в международном стандарте стандартов ISO 11630:1997 "Cranes - Measurement of wheel alignment" (Краны. Измерение погрешности установки ходовых колес).
Методы, описываемые в стандарте, основаны на использовании визуально-оптических методов измерений. При измерении погрешности установки колес возможно использование других методов при условии обеспечения эквивалентной или более высокой точности измерений.
Настоящий стандарт не распространяется на краны и грузовые тележки, передвигающиеся более чем на четырех колесах, а также на краны, передвигающиеся по железнодорожным путям.
Применение положений данного стандарта на добровольной основе может быть использовано при подтверждении и оценке соответствия грузоподъемных кранов требованиям Технического регламента Таможенного союза
ТР ТС 010/2011 "О безопасности машин и оборудования".
Настоящий стандарт устанавливает общие требования к методам измерений погрешности установки ходовых колес грузоподъемных кранов и грузовых тележек, передвигающихся по рельсовым путям на четырех колесах, при изготовлении, установке и эксплуатации для повышения уровня безопасности при работе и исключения увеличения нагрузок на механизмы передвижения.
Настоящий стандарт распространяется на все виды кранов в соответствии с
ГОСТ 33709.1, кроме кранов и грузовых тележек, передвигающихся более чем на четырех колесах, а также кранов, передвигающихся по железнодорожным путям.
Невыполнение требований настоящего стандарта может привести к увеличению риска использования кранов.
Этот стандарт применим ко всем новым кранам и грузовым тележкам, изготовленным после истечения одного года после его утверждения. Стандарт не имеет цель требовать замены или модернизации существующего оборудования. Однако при модернизации оборудования, требования к его свойствам должны быть пересмотрены в соответствии с данным стандартом. Если выполнение требований стандарта при модернизации вызывает существенные изменения конструкции, то возможность и необходимость приведения оборудования в соответствие с требованиями данного стандарта должна определяться изготовителем (проектировщиком), а при его отсутствии - экспертом.
В настоящем стандарте использованы нормативные ссылки на следующие стандарты:
ГОСТ 29266-91 Краны грузоподъемные. Требования к точности измерений параметров при испытаниях
ГОСТ 34020-2016 Краны грузоподъемные. Допуски для колес, рельсовых путей кранов и их грузовых тележек
Примечание - При пользовании настоящим стандартом целесообразно проверить действие ссылочных стандартов в информационной системе общего пользования - на официальном сайте Федерального агентства по техническому регулированию и метрологии в сети Интернет или по ежегодному информационному указателю "Национальные стандарты", который опубликован по состоянию на 1 января текущего года, и по выпускам ежемесячного информационного указателя "Национальные стандарты" за текущий год. Если ссылочный стандарт заменен (изменен), то при пользовании настоящим стандартом следует руководствоваться заменяющим (измененным) стандартом. Если ссылочный стандарт отменен без замены, то положение, в котором дана ссылка на него, применяется в части, не затрагивающей эту ссылку.
В настоящем стандарте применены термины по
ГОСТ 33709.1,
ГОСТ 34020, а также следующий термин с соответствующим определением:
3.1 погрешность установки колес: Отклонение положения колес от проектного положения.
4. Измерение погрешности установки колес в плане
4.1 Измерение погрешности установки колес в плане состоит из следующих этапов:
- выбор базы для системы координат.
Примечание - Для облегчения расчета фактических погрешностей необходимо задать базовую систему координат и в дальнейшем все замеры производить в этой системе;
- построение геодезического прямоугольника;
- выполнение замеров расстояний от геодезического прямоугольника до колес;
- вычисление фактической погрешности установки колес.
Примечание - Замеры выполняются в соответствии с требованиями
ГОСТ 29266 и
[1]. Величина допусков принимается в соответствии с
ГОСТ 34020.
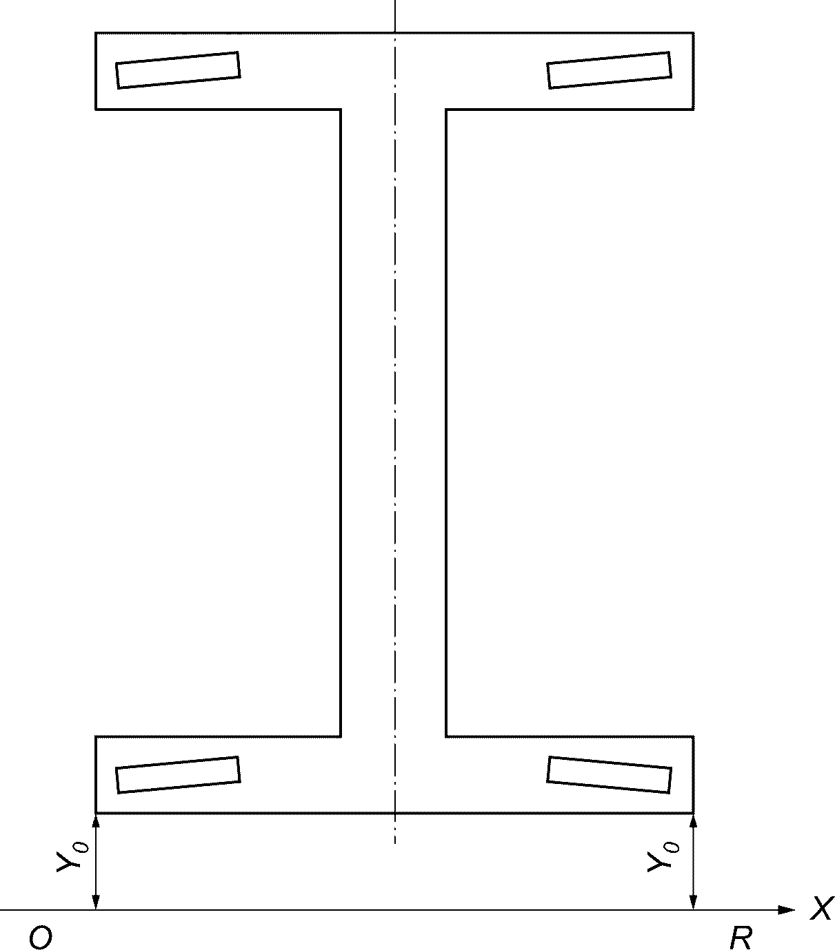
4.2 Выбор базы для системы координат (рисунок 1):
Рисунок 1 - Выбор базовой линии
- из двух точек по торцам концевой балки перпендикулярно к ней отложить два равных отрезка Y0;
- расположить теодолит в точке O так, чтобы его луч проходил через концы отрезков Y0;
- отметить точку R на луче теодолита вне пределов габарита крана;
- точка O принимается за начальную точку отсчета, а направление от O к точке R определяет направление оси X и служит базовой линией для построения геодезического прямоугольника;
- построение геодезического прямоугольника (рисунок 2):
Рисунок 2 - Геодезический прямоугольник и измерения размеров
- из точек O и R построить при помощи теодолита прямоугольник (как показано на рисунке 2) и обозначить вершины прямоугольника P и Q. Допуск на построение прямого угла - не более 6";
- измерить расстояния OP, QR, PQ и OR. Разница в размерах (OP - QR) и (PQ - OR) не должна превышать:
- для кранов с пролетом (колеей) S <= 10 м - +/- 2 мм;
- для кранов с пролетом (колеей) S > 10 м - +/- (2 + 0,1(S - 10)) мм.
4.3 Выполнение замеров расстояний от геодезического прямоугольника до колес:
- измерить расстояния от сторон геодезического прямоугольника PQ и OR до колес, как показано на
рисунке 2;
- полученные расстояния следует записать в таблицу 1.
Таблица 1
Результаты измерений для вычисления погрешности
установки колес в плане
В миллиметрах
Размеры сторон геодезического прямоугольника | Расстояние до колес по оси X | Расстояние до колес по оси Y | |
OP | PQ | QR | OR | XO | XP | XQ | XR | YO1 | YO2 | YP1 | YP2 | YQ1 | YQ2 | YR1 | YR2 | DOH | DPH | DQH | DRH |
| | | | | | | | | | | | | | | | | | | |
<*> Величины DOH, DPH, DQH, DRH должны быть той же величины, что и действительные размеры. |
4.4 Вычисление фактической погрешности установки колес в плане:
- используя данные из
таблицы 1, рассчитать фактическое отклонение положения оси колеса в горизонтальной плоскости (углы отклонения в градусах, радианах или процентах) по формулам:
где
- используя данные из
таблицы 1 и базу крана
B (рисунок 4), указанную в его технических характеристиках, рассчитать погрешность (отклонение от проектной величины) базы крана для каждой стороны крана по формулам:
- используя данные из
таблицы 1, рассчитать величину отклонения продольной оси колес от продольной оси рельса по формулам:
- используя данные из
таблицы 1, величину пролета (колеи) крана
S и ширину колеса
SW, указанные в его технических характеристиках, рассчитать величину отклонения пролета (колеи) крана

для каждой стороны крана по формулам:
- используя данные из
таблицы 1, рассчитать величину взаимного смещения осей колес, двигающихся по противоположным рельсам, вдоль оси рельса

по формулам:
5. Измерение погрешности установки колес
от вертикальной плоскости
5.1 Измерение отклонений положения колес от вертикальной плоскости (отклонение плоскости, проходящей через центр дорожки качения колеса от вертикальной плоскости) должно состоять из следующих этапов:
- построение геодезического прямоугольника в соответствии с указаниями предыдущего раздела;
- выполнение замеров расстояний от геодезического прямоугольника до колес;
- вычисление фактической погрешности установки колес (фактических отклонений положений колес от проектного положения).
Примечание - Замеры выполняются в соответствии с требованиями
ГОСТ 29266 и
[1]. Величина допусков принимается в соответствии с
ГОСТ 34020.
5.2 Выполнение замеров расстояний от геодезического прямоугольника до колес:
- измерить расстояния от сторон геодезического прямоугольника до каждого из колес как показано на рисунке 3.
Рисунок 3 - Измерения отклонений положения колес
от вертикальной плоскости
- полученные расстояния записать в таблицу 2.
Таблица 2
Результаты измерений для вычисления отклонений положения
колес в вертикальной плоскости (размеры в мм)
TO1 | TO2 | TP1 | TP2 | TQ1 | TQ2 | TR1 | TR2 | DOV | DRV | DPV | DQV |
| | | | | | | | | | | |
5.3 Вычисление фактической погрешности установки колес:
- используя данные из таблицы 2, рассчитываются углы отклонения положения колес в вертикальной плоскости (углы отклонения в градусах, радианах или процентах) по формулам:
6. Измерение погрешности установки колес
от горизонтальной плоскости
6.1 Измерение отклонений положения колес от общей горизонтальной плоскости должно выполняться на специально подготовленном участке рельсового пути длиной не меньшей, чем база крана с разницей по высоте головки рельса не более 1 мм.
6.2 Измерение отклонений положения колес от общей горизонтальной плоскости производится в следующей последовательности:
Примечание - Замеры выполняются в соответствии с требованиями
ГОСТ 29266 и
[1]. Величина допусков принимается в соответствии с
ГОСТ 34020;
- поднять одну сторону крана так, чтобы оба колеса оторвались от рельса так, как показано на
рисунке 4;
- измерить вертикальные размеры ZO и ZR от головки рельса до низа поверхности катания колеса;
- опустить колеса в исходное положение и поднять вторую сторону крана;
- измерить вертикальные размеры ZP и ZQ от головки рельса до низа поверхности катания колеса.
Примечание - Погрешность измерительного прибора не должна превышать 0,1 мм;
- полученные результаты записать в таблицу 3.
Таблица 3
Результаты измерений для вычисления отклонений положения
колес от общей горизонтальной плоскости (размеры в мм)
Рисунок 4 - Измерение отклонений положения колес от общей
горизонтальной плоскости
- используя данные из
таблицы 3 рассчитать величины отклонений положения колес от общей горизонтальной плоскости по вертикали:
| ISO 4310:2009 | Cranes - Test code and procedures Подъемные краны. Методика и процедуры проведения испытания |