Главная // Актуальные документы // ГОСТ (Государственный стандарт)
СПРАВКА
Источник публикации
М.: Стандартинформ, 2017
Примечание к документу
Документ введен в действие с 1 января 2018 года.
Название документа
"ГОСТ 34020-2016. Межгосударственный стандарт. Краны грузоподъемные. Допуски для колес, рельсовых путей кранов и их грузовых тележек"
(введен в действие Приказом Росстандарта от 17.03.2017 N 154-ст)


"ГОСТ 34020-2016. Межгосударственный стандарт. Краны грузоподъемные. Допуски для колес, рельсовых путей кранов и их грузовых тележек"
(введен в действие Приказом Росстандарта от 17.03.2017 N 154-ст)


Содержание


Введен в действие
Приказом Федерального
агентства по техническому
регулированию и метрологии
от 17 марта 2017 г. N 154-ст
МЕЖГОСУДАРСТВЕННЫЙ СТАНДАРТ
КРАНЫ ГРУЗОПОДЪЕМНЫЕ
ДОПУСКИ ДЛЯ КОЛЕС, РЕЛЬСОВЫХ ПУТЕЙ КРАНОВ
И ИХ ГРУЗОВЫХ ТЕЛЕЖЕК
Cranes. Tolerances for wheels, travel and traversing tracks
(ISO 12488-1:2012, NEQ)
(ISO 12488-4:2004, NEQ)
ГОСТ 34020-2016
МКС 53.020.20
Дата введения
1 января 2018 года
Предисловие
Цели, основные принципы и основной порядок проведения работ по межгосударственной стандартизации установлены в ГОСТ 1.0-2015 "Межгосударственная система стандартизации. Основные положения" и ГОСТ 1.2-2015 "Межгосударственная система стандартизации. Стандарты межгосударственные, правила и рекомендации по межгосударственной стандартизации. Правила разработки, принятия, обновления и отмены"
Сведения о стандарте
1 РАЗРАБОТАН Акционерным обществом "РАТТЕ" (АО "РАТТЕ")
2 ВНЕСЕН Федеральным агентством по техническому регулированию и метрологии
3 ПРИНЯТ Межгосударственным советом по стандартизации, метрологии и сертификации (протокол от 22 ноября 2016 г. N 93-П)
За принятие проголосовали:
Краткое наименование страны по МК (ИСО 3166) 004-97
Код страны по МК (ИСО 3166) 004-97
Сокращенное наименование национального органа по стандартизации
Армения
AM
Минэкономики Республики Армения
Беларусь
BY
Госстандарт Республики Беларусь
Грузия
GE
Грузстандарт
Казахстан
KZ
Госстандарт Республики Казахстан
Киргизия
KG
Кыргызстандарт
Россия
RU
Росстандарт
Таджикистан
TJ
Таджикстандарт
Узбекистан
UZ
Узстандарт
4 Приказом Федерального агентства по техническому регулированию и метрологии от 17 марта 2017 г. N 154-ст межгосударственный стандарт ГОСТ 34020-2016 введен в действие в качестве национального стандарта Российской Федерации с 1 января 2018 г.
5 В настоящем стандарте учтены основные нормативные положения международных стандартов: ISO 12488-1:2012 "Краны. Допуски для колес и рельсовых путей рабочего хода крана и передвижения тележки. Часть 1. Общие положения" ("Cranes - Tolerances for wheels and travel and traversing tracks - Part 1: General", NEQ) и ISO 12488-4:2004 "Краны. Допуски для колес и рельсовых путей рабочего хода крана и передвижения тележки. Часть 4. Стреловые краны ("Cranes - Tolerances for wheels and travel and traversing tracks - Part 4: Jib cranes", NEQ)
6 ВВЕДЕН ВПЕРВЫЕ
Информация об изменениях к настоящему стандарту публикуется в ежегодном информационном указателе "Национальные стандарты", а текст изменений и поправок - в ежемесячном информационном указателе "Национальные стандарты". В случае пересмотра (замены) или отмены настоящего стандарта соответствующее уведомление будет опубликовано в ежемесячном информационном указателе "Национальные стандарты". Соответствующая информация, уведомление и тексты размещаются также в информационной системе общего пользования - на официальном сайте Федерального агентства по техническому регулированию и метрологии в сети Интернет (www.gost.ru)
Введение
Настоящий стандарт устанавливает общие требования к допустимым отклонениям от номинальных размеров при проектировании, установке и контроле при эксплуатации рельсовых путей и связанных с ними колес для передвижения грузоподъемных кранов и их тележек по классификации стандарта ГОСТ 33709.1-2015 с учетом нормативных положений, содержащихся в международных стандартах ISO 12488-1:2012 "Cranes - Tolerances for wheels and travel and traversing tracks - Part 1: General" ("Краны. Допуски для колес и рельсовых путей рабочего хода крана и передвижения тележки. Часть 1. Общие положения") и ISO 12488-4:2004 "Cranes - Tolerances for wheels and travel and traversing tracks - Part 4: Jib cranes" ("Краны. Допуски для колес и рельсовых путей рабочего хода крана и передвижения тележки. Часть 4. Стреловые краны").
Применение положений настоящего стандарта на добровольной основе может быть использовано при подтверждении и оценке соответствия грузоподъемных кранов требованиям Технического регламента Таможенного союза ТР ТС 010/2011 "О безопасности машин и оборудования".
1. Область применения
Настоящий стандарт устанавливает общие требования к допустимым отклонениям от номинальных размеров при проектировании, изготовлении, установке и эксплуатации рельсовых путей и ходовых колес грузоподъемных кранов и их тележек для повышения уровня безопасности при работе и исключения увеличения нагрузок на механизмы передвижения.
Значения отклонений, приведенные в настоящем стандарте, являются максимально допустимыми.
Настоящий стандарт не учитывает величины упругих деформаций, возникающих при передвижении кранов и их тележек по рельсовым путям.
В некоторых случаях специальные требования для различных типов кранов могут не соответствовать общим требованиям и могут быть установлены в соответствующих стандартах.
Настоящий стандарт распространяется на все виды грузоподъемных кранов в соответствии с ГОСТ 33709.1.
Невыполнение требований настоящего стандарта может привести к увеличению риска использования кранов.
Настоящий стандарт применим ко всем новым кранам и крановым рельсовым путям, изготовленным после истечения одного года после его утверждения. Настоящий стандарт не имеет целью требовать замены или модернизации существующего оборудования. Однако при модернизации оборудования, требования к его свойствам должны быть пересмотрены в соответствии с настоящим стандартом. Если выполнение требований стандарта при модернизации вызывает существенные изменения конструкции, то возможность и необходимость приведения оборудования в соответствие с требованиями настоящего стандарта должен определять изготовитель (проектировщик), а при его отсутствии - эксперт, а последующие изменения должны быть выполнены владельцем (пользователем) в течение одного года.
2. Нормативные ссылки
В настоящем стандарте использованы нормативные ссылки на следующие межгосударственные стандарты:
ГОСТ 25346-2013 (ISO 286-1:2010) Основные нормы взаимозаменяемости. Характеристики изделий геометрические. Система допусков на линейные размеры. Основные положения, допуски, отклонения и посадки
ГОСТ 32579.1-2013 Краны грузоподъемные. Принципы формирования расчетных нагрузок и комбинаций нагрузок. Часть 1. Общие положения
ГОСТ 33709.1-2015 Краны грузоподъемные. Словарь. Часть 1. Общие положения
ГОСТ 34017-2016 Краны грузоподъемные. Классификация режимов работы
Примечание - При пользовании настоящим стандартом целесообразно проверить действие ссылочных стандартов в информационной системе общего пользования - на официальном сайте Федерального агентства по техническому регулированию и метрологии в сети Интернет или по ежегодному информационному указателю "Национальные стандарты", который опубликован по состоянию на 1 января текущего года, и по выпускам ежемесячного информационного указателя "Национальные стандарты" за текущий год. Если ссылочный стандарт заменен (изменен), то при пользовании настоящим стандартом следует руководствоваться заменяющим (измененным) стандартом. Если ссылочный стандарт отменен без замены, то положение, в котором дана ссылка на него, применяется в части, не затрагивающей эту ссылку.
3. Термины и определения
В настоящем стандарте применены термины по ГОСТ 33709.1, ГОСТ 25346, а также следующие термины с соответствующими определениями:
3.1 допуск: Разность между номинальным и действительным размерами, значение которой указывается в проектной документации, на которую допускается изменение (отклонение, несовпадение) размера, фактически полученного после монтажа, ремонта или реконструкции рельсовых путей или крана, от номинального размера.
Примечание - Величина допуска может быть выражена либо значением разности между фактическим и номинальным размерами, либо в процентах от номинального размера.
3.2 конструктивный допуск: Допуск размера до начала эксплуатации.
Примечание - Определение применяется к новым, отремонтированным или реконструированным (модернизированным) кранам и рельсовым путям.
3.3 эксплуатационный допуск: Допуск размера в процессе эксплуатации рельсовых путей или крана.
4. Обозначения
4.1 Обозначения, принятые в настоящем стандарте, приведены в таблице 1.
Таблица 1
Принятые обозначения
Обозначение
Определение
A
Допуск на колею (пролет) крана или тележки, измеренный по оси рельсов рельсового пути или по центру поверхности катания крановых или тележечных колес
B
Допуск на прямолинейность рельса в горизонтальной плоскости в любой точке рельсового пути
b
Допуск на прямолинейность рельса в горизонтальной плоскости на определенном участке (например, длиной 2 м) в любой точке головки рельса
C
Допуск на прямолинейность рельса в вертикальной плоскости в любой точке рельсового пути
c
Допуск на прямолинейность рельса в вертикальной плоскости на определенном участке (например, длиной 2 м) в любой точке рельсового пути
a
Межцентровое расстояние между боковыми направляющими горизонтальными роликами, измеренное вдоль рельса
e
Межцентровое расстояние между двумя колесами или балансирными (ходовыми тележками) измеренное вдоль рельса
hF
Расстояние между верхней плоскостью рельса и нижним краем боковых направляющих горизонтальных роликов
S
Пролет (колея) крана
D
Диаметр ходового колеса
E
Допуск на превышение одного рельса над другим, измеренное в любой плоскости, перпендикулярной к направлению рельсового пути
F
Допуск на отклонение от общей вертикальной плоскости упоров или буферов
G
Допуск на отклонение вертикальной оси поперечного сечения рельса относительно вертикали
HF
Допуск на взаимное вертикальное смещение торцов рельсов в сварном соединении
Hs
Допуск на взаимное горизонтальное смещение торцов рельсов
Hx
Допуск на плоскостность поверхности рельса вблизи стыкового соединения после исправления участка Hs
K
Допуск на смещение вертикальной оси рельса относительно вертикальной оси стенки подрельсовой металлоконструкции
Допуск на диаметр колес крана или грузовой тележки механизма передвижения
Допуск на величину базы крана или тележки
Допуск на отклонение продольной оси колес от продольной оси рельса
Допуск на отклонение точки (линии) касания дорожки катания колеса подкранового рельса от общей плоскости дорожек катания всех колес
Допуск на взаимное смещение осей колес или ходовых тележек, двигающихся по противоположным рельсам, вдоль оси рельса
Допуск на параллельность вертикальных осей боковых направляющих горизонтальных роликов в направлении, перпендикулярном к оси рельса
Допуск на параллельность вертикальных осей боковых направляющих горизонтальных роликов в направлении вдоль оси рельса
Допуск на отклонение положения оси отверстия под установку колеса в горизонтальной плоскости
Допуск на отклонение положения оси колеса в горизонтальной плоскости
Допуск на отклонение положения оси отверстия под установку колеса в вертикальной плоскости
Допуск на отклонение положения оси колеса в вертикальной плоскости
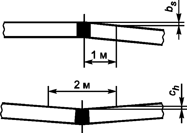
bs
Допуск прямолинейности рельса в плане на участке длиной 1 м от сварного стыка рельса (в одну сторону)
ch
Допуск прямолинейности рельса по высоте на участке общей длиной 2 м (по 1 м по обе стороны от сварного стыка рельса)
4.2 При использовании обозначений из таблицы 1 для обозначения эксплуатационных допусков (например, в руководствах по эксплуатации) к ним следует добавлять нижний индекс "w" (например, Aw Bw и т.д.). При необходимости, следует добавлять дополнительный нижний индекс, например:
Aw1 - эксплуатационный допуск на колею рельсового пути крана;
Aw2 - эксплуатационный допуск на колею рельсового пути тележки;
Aw3 - эксплуатационный допуск на пролет крана;
Aw4 - эксплуатационный допуск на колею тележки.
5. Классификация допусков
5.1 Основным критерием определения класса допуска является суммарный путь L, проходимый краном за срок службы. При определении класса допуска следует также принимать во внимание чувствительность системы "кран-путь". Класс допусков следует определять по таблице 2.
Таблица 2
Классы допусков
Класс допуска
Суммарный путь, проходимый краном или тележкой за срок службы, км
1
50000 <= L
2
10000 <= L < 50000
3
L < 10000, для постоянных рельсовых путей
4
Для временных путей (смонтированных, например, для выполнения строительных или монтажных работ)
Примечание - Путь L определяется как произведение номинальной скорости передвижения и установленного времени работы соответствующего механизма передвижения, либо путем экспертной оценки, проведенной заказчиком крана, либо в соответствии с заданным режимом работы в соответствии с ГОСТ 34017.
Примечание - В настоящем стандарте чувствительность системы характеризуется величиной дополнительной реакции, которую вызывают отклонения пути в месте контакта колеса с рельсом. Более чувствительными являются системы, имеющие большую статическую неопределимость и большую жесткость. Для высокочувствительных систем следует выбирать более высокий класс допуска, чем рекомендованный в таблице 2.
6. Допуски
6.1 Допуски на рельсовые пути и ходовые колеса должны соответствовать данным, приведенным в таблицах 3 - 8.
6.2 Величины допусков, приведенные в настоящем стандарте, заданы для средней температуры окружающей среды 20 °C. В случаях, когда средняя температура окружающей среды отличается, допуски должны быть скорректированы.
6.3 Допуски для кранов и грузовых тележек, приведенные в таблицах 3 и 4, относятся к относительно жестким конструкциям (например, для кранов с коробчатыми металлоконструкциями). Для менее жестких кранов (например, металлоконструкции которых изготовлены из открытых профилей - уголков, швеллеров и т.п.) допуски могут быть уменьшены на один-два класса.
7. Конструктивный допуск
7.1 Контроль допусков следует выполнять для кранов и путей в полностью смонтированном, исправном состоянии без нагрузки. Соответствующие допуски приведены в таблицах 3 - 6.
7.2 В случаях, когда техническая документация требует различать допуски, следует использовать нижний индекс, например:
A1 - конструктивный допуск на величину пролета крана;
A2 - конструктивный допуск на величину колеи этого крана.
7.3 Конструктивные допуски на стыковые соединения рельсов приведены в таблице 7.
8. Эксплуатационный допуск
8.1 Эксплуатационные допуски на отклонения рельсовых путей кранов приведены в таблицах 7 - 10.
8.2 Контроль эксплуатационных допусков выполняют при ненагруженном кране (следует исключить влияние просадки рельса под нагрузкой в случае применения упругих прокладок под рельс).
Примечания
1 Выявленные отклонения номинальных размеров на значения, чем приведены в таблице 7, могут быть как следствием ошибок при проектировании рельсовых путей или механизмов передвижения, так и следствием возникших дополнительных нагрузок, приводящих к повышенному износу рельсовых путей, колес, направляющих роликов, а также возможным повреждениям несущих подкрановых конструкций. В таких случаях требуется установить причину с привлечением соответствующих специалистов, а затем ее устранить.
2 При оценке отклонений планового положения рельсового пути следует вместо проектной величины пролета S использовать фактически измеренную колею, установленного на пути крана Sф. В случае установки на одном пути нескольких кранов эта величина осредняется.
3 При отсутствии участков, препятствующих плавному и свободному передвижению крана (кранов), а также ускоренного износа реборд ходовых колес или головок рельса допускается не проводить измерение отклонений рельсового пути от прямолинейности в горизонтальной плоскости.
9. Особенности выбора допусков для стреловых кранов
9.1 Классификация допусков
9.1.1 Для стреловых кранов с жесткой металлоконструкцией ходового устройства (портала) допуски принимаются по 2-му классу.
9.1.2 Для остальных стреловых кранов допуски должны приниматься по 3-му классу.
Примечание - Применение других классов допусков возможно по согласованию между заказчиком и изготовителем крана.
9.2 Допуски для стреловых кранов
Для стреловых кранов, имеющих на одной опоре от 2 до 16 колес в ряд, установленных на тележках, балансирах и т.п., применяют допуски, приведенные в таблицах 5 и 6, при этом:
- допуск A распространяется на каждую пару противолежащих колес;
- допуск распространяется на базу кранов, грузовых тележек, ходовых тележек и балансиров;
- допуск относится к середине поверхности катания колеса в точке контакта с рельсом и учитывает накопленные погрешности положения колес, ходовых тележек и балансиров;
- допуски , , , относятся ко всем колесам и учитывают накопленные погрешности положения и балансиров в соединениях между собой и с ходовой частью.
Таблица 3
Конструктивные допуски для рельсовых путей кранов
Параметр допуска
Допуск
Обозначение
Описание
Графическое представление отклонения
Класс допусков 1
Класс допусков 2
Класс допусков 3
Класс допусков 4
Единица измерения
A
Допуск размера колеи (пролета), измеренной по осям рельсов в любой точке рельсового пути
+A = Smax - S
-A = Smin - S
Для пролетов
S <= 16
+/- 3.
Для пролетов
S <= 16
+/- 5.
Для пролетов
S <= 16
+/- 8.
Для пролетов
S <= 16
+/- 12,5.
мм
Для пролетов
S > 16
+/- [3 + 0,25(S - 16)],
но не более +/- 10
Для пролетов
S > 16
+/- [5 + 0,25(S - 16)],
но не более +/- 15
Для пролетов
S > 16
+/- [8 + 0,25(S - 16)], но не более +/- 20
Для пролетов
S > 16
+/- [12,5 + 0,25(S - 16)],
но не более +/- 25
B
Допуск на прямолинейность рельса в горизонтальной плоскости в любой точке рельсового пути
Расположение рельса в плане
+/- 5
+/- 10
+/- 20
+/- 40
мм
b
Допуск на прямолинейность рельса в горизонтальной плоскости на длине 2 м в любой точке рельсового пути
1
1
2
4
мм
C
Допуск на прямолинейность рельса в вертикальной плоскости в любой точке рельсового пути
Расположение рельса по высоте
+/- 5
+/- 10
+/- 20
+/- 40
мм
c
Допуск на прямолинейность рельса в вертикальной плоскости на длине 2000 мм
1
2
4
8
мм
E
Допуск на превышение одного рельса над другим, измеренное в любой плоскости, перпендикулярной к направлению рельсового пути
+/- 0,5S,
но не более +/- 5
+/- S,
но не более +/- 10
+/- 2S,
но не более +/- 20
+/- 4S,
но не более +/- 40
мм
F
Допуск на отклонение от общей вертикальной плоскости упоров или буферов
Расположение упоров в плане
+/- 0,8S,
но не более +/- 8
+/- S,
но не более +/-10
+/- 1,25S,
но не более +/- 12,5
+/- 1,6S,
но не более +/- 16
мм
G
Допуск на отклонение вертикальной оси поперечного сечения рельса от вертикали на всей длине рельсового пути
4
6
9
12
0/00
Допуск на отклонение точки (линии) касания дорожки катания колеса подкранового рельса от общей плоскости дорожек катания всех колес
0,5S
или 0,5e,
но не более 5.
S
или
e,
но не более 10.
1,6S
или
1,6e,
но не более 15.
2S
или
2e,
но не более 20.
мм
Для расчета выбирается меньший размер
(S или e)
Для расчета выбирается меньший размер (S или e)
Для расчета выбирается меньший размер
(S или e)
Для расчета выбирается меньший размер
(S или e)
K
Допуск на смещение вертикальной оси рельса относительно вертикальной оси стенки подкрановой стальной балки
tmin - минимальная толщина стенки подкрановой стальной балки
+/- 0,5tmin
-
мм
Примечание - Размер S указан в метрах.
Таблица 4
Конструктивные допуски для грузовых тележек
Параметр допуска
Допуск
Обозначение
Описание
Графическое представление отклонения
Класс допусков 1
Класс допусков 2
Класс допусков 3
Класс допусков 4
Единица измерения
A
Допуск на колею грузовой тележки, измеренный по оси рельсов рельсового пути или по центру поверхности катания тележечных колес
+/- 3
для всех пролетов
S <= 16
+/- 5
для всех пролетов
S <= 16
+/- 8
для всех пролетов
S <= 16
+/- 12,5
для всех пролетов
S <= 16
мм
b
Допуск на прямолинейность рельса в горизонтальной плоскости на определенном участке (например, длиной 2 м)
Расположение рельса в плане
1
1
2
4
мм
E
Допуск на превышение одного рельса над другим, измеренное в любой плоскости перпендикулярной к направлению рельсового пути тележки
Для колеи
S <= 2
+/- 3,2.
Для колеи
S <= 2
+/- 4,2.
Для колеи
S <= 2
+/- 5.
Для колеи
S <= 2
+/- 6,3.
мм
Для колеи
S > 2
+/- 1,6S,
но не более
+/- 6,3
Для колеи
S > 2
+/- 2S,
но не более
+/- 8
Для колеи
S > 2
+/- 2S,
но не более
+/- 10
Для колеи
S > 2
+/- 3,2S,
но не более
+/- 12,5
E <= Emax
E <= Emax
E <= Emax
E <= Emax
F
Допуск на отклонение от общей вертикальной плоскости упоров или буферов тележки
Расположение упоров в плане
+/- 0,8S,
но не более
+/- 8
+/- S,
но не более
+/- 10
+/- 1,25S,
но не более
+/- 12,5
+/- 1,6S,
но не более
+/- 16
мм
G
Допуск на отклонение вертикальной оси поперечного сечения рельса относительно вертикали на всей длине рельсового пути тележки (наклон рельса)
4
6
9
12
0/00
K
Допуск на смещение вертикальной оси рельса относительно вертикальной оси стенки подрельсовой металлоконструкции
tmin - минимальная толщина стенки подрельсовой металлоконструкции
+/- 0,5tmin
-
мм
Примечание - Параметр G применим только к подтележечным рельсам с плоской головкой. Для рельсов с выпуклой головкой он не применяется. Размеры e и S указаны в метрах.
Таблица 5
Конструктивные допуски для ходовых колес кранов
Параметр допуска
Допуск
Обозначение
Описание
Графическое представление отклонения
Класс допусков 1
Класс допусков 2
Класс допусков 3
Класс допусков 4
Единица измерения
A
Допуск на пролет крана, измеренный по центру дорожки катания ходового колеса для колес с ребордами
Для пролетов
S <= 10,
+/- 2.
Для пролетов
S <= 10,
+/- 2,5.
Для пролетов
S <= 10,
+/- 3,2.
Для пролетов
S <= 10,
+/- 4.
мм
Для пролетов
S > 10
+/- [2 + 0,1(S - 10)]
Для пролетов
S > 10
+/- [2,5 + 0,1(S - 10)]
Для пролетов
S > 10
+/- [3,2 + 0,1(S - 10)]
Для пролетов
S > 10
+/- [4 + 0,1(S - 10)]
A
Допуск на пролет крана, измеренный по центру дорожки катания ходового колеса для безребордных колес с боковыми направляющими роликами с одной стороны
Для пролетов
S <= 10,
+/- 3,2.
Для пролетов
S <= 10,
+/- 4.
Для пролетов
S <= 10,
+/- 5.
Для пролетов
S < 10,
+/- 6,3.
мм
Для пролетов
S > 10
+/- [3,2 + 0,1(S - 10)]
Для пролетов
S > 10
+/- [4 + 0,1(S - 10)]
Для пролетов
S > 10
+/- [5 + 0,1(S - 10)]
Для пролетов
S > 10
+/- [6,3 + 0,1(S - 10)]
Допуск на величину базы крана
Для e <= 3
+/- 3,2.
Для e <= 3
+/- 4.
Для e <= 3
+/- 5.
Для e <= 3
+/- 6,3.
мм
Для e > 3
+/- e
Для e > 3
+/- 1,25e
Для e > 3
+/- 1,6e
Для e > 3
+/- 2e
Допуск на взаимное смещение осей колес крана или его ходовых тележек, двигающихся по противоположным рельсам, вдоль оси рельса
+/- 5
для независимого привода.
+/- 6,3
для независимого привода.
+/- 8
для независимого привода.
+/- 10
для независимого привода.
мм
+/- 2
для зависимого привода при
S <= 20.
+/- 2,5
для зависимого привода при
S <= 20.
+/- 3,2
для зависимого привода при
S <= 20.
+/- 4
для зависимого привода при
S <= 20.
+/- [2 + 0,2(S - 20)]
для зависимого привода
при S > 20
+/- [2,5 + 0,2(S - 20)]
для зависимого привода
при S > 20
+/- [3,2 + 0,2(S - 20)]
для зависимого привода
при S > 20
+/- [4 + 0,2(S - 20)]
для зависимого привода
при S > 20
Допуск на отклонение продольной оси ходовых колес крана от продольной оси рельса
+/- 0,32a.
+/- 0,4e
+/- 0,4a.
+/- 0,5e
+/- 0,5a.
+/- 0,63e
+/- 0,63a.
+/- 0,8e
мм
Допуск на отклонение точки (линии) касания дорожки катания колеса подкранового рельса от общей плоскости дорожек катания всех колес.
- это расстояние между точками контакта колеса и рельса, величина e определяется для точки, находящейся в плоскости опорных точек трех колес, находящихся в контакте с рельсом.
может приниматься для крана с металлоконструкцией моста определенной жесткости и грузовой тележкой с грузом, установленной посередине пролета так, чтобы давление на приводные колеса не изменялось больше, чем на +/-5%.
В случае если такой расчет не проводился, значения принимают по настоящей таблице.
Для статически определимых металлоконструкций кранов может быть использовано значение 
Не более 2
для S <= 10.
Не более 2,5
для S <= 10.
Не более 3,2
для S <= 10.
Не более 4
для S <= 10.
мм
+/- [2 + 0,1(S - 10)]
для S > 10
+/- [2,5 + 0,1(S - 10)]
для S > 10
+/- [3,2 + 0,1(S - 10)]
для S > 10
+/- [4 + 0,1(S - 10)]
для S > 10
Допуск на диаметр колес крана механизма передвижения:
a/S - для безребордных колес;
e/S для колес с ребордами
; D = (D1 + D2)/2; D1 > D2
Если колеса механически или электрически соединены между собой (например, в случае зависимого привода), следует проверить отсутствие необходимости увеличения значений a и e, при этом полученное значение следует разделить на 1,4
Для диаметров D1 и D2 допуски принимаются по h9 в соответствии с ГОСТ 25346:
(1,6aD)/S;
(1,6eD)/S
Для диаметров D1 и D2 допуски принимаются по h9 в соответствии с ГОСТ 25346:
(1,6aD)/S;
(1,6eD)/S
Для диаметров D1 и D2 допуски принимаются по h9 в соответствии с ГОСТ 25346:
(1,6aD)/S;
(1,6eD)/S
Для диаметров D1, и D2 допуски принимаются по h9 в соответствии с ГОСТ 25346:
(1,6aD)/S;
(1,6eD)/S
мм
Допуск на отклонение положения оси отверстия под установку колеса в горизонтальной плоскости
+/- 0,3
+/- 0,4
+/- 0,5
+/- 0,63
0/00
Допуск на отклонение положения оси колеса в горизонтальной плоскости
+/- 0,4
+/- 0,5
+/- 0,63
+/- 0,8
0/00
Допуск на отклонение положения оси отверстия под установку колеса в вертикальной плоскости.
Допуск назначается для ненагруженного кранового моста (без тележки) так, чтобы под номинальной нагрузкой (тележка с номинальным грузом, установленная в середине пролета) ось заняла примерно горизонтальное положение вследствие упругой деформации моста
+1,9
-0,4
+2,6
-0,5
0/00
Допуск на отклонение положения оси колеса в вертикальной плоскости.
Допуск назначается для ненагруженного кранового моста (без тележки) так, чтобы под номинальной нагрузкой (тележка с номинальным грузом, установленная в середине пролета) ось заняла примерно горизонтальное положение вследствие упругой деформации моста
+2
-0,5
+2,6
-0,6
0/00
F
Допуск на отклонение от общей вертикальной плоскости упоров или буферов крана
+/- 0,8S,
но не более
+/- 8
+/- S,
но не более
+/- 10
+/- 1,25S,
но не более
+/- 12,5
+/- 1,6S,
но не более
+/- 16
мм
Допуск на параллельность вертикальных осей боковых направляющих горизонтальных роликов в направлении, перпендикулярном к оси рельса
+/- 0,5
+/- 0,63
+/- 0,8
+/- 1
0/00
Допуск на параллельность вертикальных осей боковых направляющих горизонтальных роликов в направлении вдоль оси рельса
+/- 0,3
+/- 0,4
+/- 0,5
+/- 0,63
0/00
Допуск на расстояние между верхней плоскостью рельса и нижним краем боковых направляющих горизонтальных роликов
+0
-1
+0
-1,6
+0
-2,5
+0
-4
мм
Примечание - Размеры D, D1, D2, a, e и S указаны в метрах.
Таблица 6
Конструктивные допуски для ходовых колес грузовых тележек
Параметр допуска
Допуск
Обозначение
Описание
Графическое представление отклонения
Класс допусков 1
Класс допусков 2
Класс допусков 3
Класс допусков 4
Единица измерения
A
Допуск на колею тележки, измеренный по центру дорожки катания ходового колеса для колес с ребордами
Для колеи
S <= 2
+/- 1.
Для колеи
S <= 2
+/- 2.
Для колеи
S <= 2
+/- 2,5.
Для колеи
S <= 2
+/- 3,2.
мм
Для колеи
S > 2
+/- [1 + 0,1(S - 2)]
Для колеи
S > 2
+/- [2 + 0,1(S - 2)]
Для колеи
S > 2
+/- [2,5 + 0,1(S - 2)]
Для колеи
S > 2
+/- [3,2 + 0,1(S - 2)]
A
Допуск на колею тележки, измеренный по центру дорожки катания ходового колеса для безребордных колес с боковыми направляющими роликами с одной стороны
Для колеи
S <= 2
+/- 1,6.
Для колеи
S > 2
+/- [1,6 + 0,1(S - 2)]
Для колеи
S <= 2
+/- 3,2.
Для колеи
S > 2
+/- [3,2 + 0,1(S - 2)]
Для колеи
S <= 2
+/- 4.
Для колеи
S > 2
+/- [4 + 0,1(S - 2)]
Для колеи
S <= 2
+/- 5.
Для колеи
S > 2
+/- [5 + 0,1(S - 2)]
мм
Допуск на величину базы тележки
Для e <= 3
+/- 3,2.
Для e <= 3
+/- 4.
Для e <= 3
+/- 5.
Для e <= 3
+/- 6,3.
мм
Для e > 3
e
Для e > 3
1,25e
Для e > 3
1,6e
Для e > 3
2e
Допуск на взаимное смещение осей колес тележки или ее ходовых тележек, двигающихся по противоположным рельсам, вдоль оси рельса
Для независимого привода
+/- 5.
Для независимого привода
+/- 6,3.
Для независимого привода
+/- 8.
Для независимого привода
+/- 10.
мм
Для зависимого привода
+/- 2
Для зависимого привода
+/- 2,5
Для зависимого привода
+/- 3,2
Для зависимого привода
+/- 4
Допуск на отклонение продольной оси ходовых колес тележки от продольной оси рельса
+/- 0,32a;
+/- 0,4e
+/- 0,4a;
+/- 0,5e
+/- 0,5a;
+/- 0,63e
+/- 0,63a;
+/- 0,8e
мм
Допуск на отклонение точки (линии) касания дорожки катания колеса подтележечного рельса от общей плоскости дорожек катания всех колес
Не более 1,6
для S <= 2.
Не более 2
для S <= 2.
Не более 2,5
для S <= 2.
Не более 3,2
для S <= 2.
мм
+/- [1,6 + 0,1(S - 2)]
для S > 2
+/- [2 + 0,1(S - 2)]
для S > 2
+/- [(2,5 + 0,1(S - 2)]
для S > 2 м
+/- [(3,2 + 0,1(S - 2)]
для S > 2
Допуск на диаметр колес тележки
Допуски на диаметр ходового колеса принимаются по h9 в соответствии с ГОСТ 25346
Допуски на диаметр ходового колеса принимаются по h9 в соответствии с ГОСТ 25346
Допуски на диаметр ходового колеса принимаются по h9 в соответствии с ГОСТ 25346
Допуски на диаметр ходового колеса принимаются по h9 в соответствии с ГОСТ 25346
мм
Допуск на отклонение положения оси отверстия под установку колеса в горизонтальной плоскости
+/- 0,3
+/- 0,4
+/- 0,5
+/- 0,63
0/00
Допуск на отклонение положения оси колеса в горизонтальной плоскости
+/- 0,4
+/- 0,5
+/- 0,63
+/- 0,8
0/00
Допуск на отклонение положения оси отверстия под установку колеса в вертикальной плоскости
+1,9
-0,4
+2,4
-0,5
-
-
0/00
Допуск на отклонение положения оси колеса в вертикальной плоскости
+2
-0,5
+2,6
-0,6
0/00
F
Допуск на отклонение от общей вертикальной плоскости упоров или буферов тележки
+/- 0,8S,
но не более
+/- 8
+/- S
но не более
+/- 10
+/- 1,25S,
но не более
+/- 12,5
+/- 1,6S,
но не более
+/- 16
мм
Примечание - Размеры a, e и S указаны в метрах. Допуски на установку боковых направляющих горизонтальных роликов принимаются по таблице 5.
Таблица 7
Конструктивные допуски для сварных и разъемных стыковых
соединений рельсовых путей крана и грузовой тележки
Параметр допуска
Допуск
Обозначение
Описание
Графическое представление отклонения
Класс допусков 1
Класс допусков 2
Класс допусков 3
Класс допусков 4
Единица измерения
HF
Допуск на взаимное вертикальное смещение торцов рельсов в сварном соединении
HF подлежит удалению шлифовкой
0 - при выполнении сварки на предприятии-изготовителе;
1 макс - при выполнении сварки на месте установки крана
мм
Hs
Допуск на взаимное горизонтальное смещение торцов рельсов
Вид в плане
1 макс при условии обеспечения плавности перехода шлифованием с уклоном 1:50
мм
bs
Допуск прямолинейности рельса в плане на участке длиной 1 м от сварного стыка рельса (в одну сторону)
2
мм
ch
Допуск прямолинейности рельса по высоте на участке общей длиной 2 м (по 1 м по обе стороны от сварного стыка рельса)
2
мм
Hx
Допуск на плоскостность поверхности рельса вблизи стыкового соединения после исправления участка Hs.
Чистовая обработка не требуется, если стыки параллельных рельсов в плане разнесены относительно друг друга
-
0,5
мм
Таблица 8
Эксплуатационные допуски для рельсовых путей кранов,
грузовых тележек, ходовых колес кранов и грузовых тележек
Параметр допуска
Допуск
Обозначение
Описание
Графическое представление отклонения
Класс допусков 1
Класс допусков 2
Класс допусков 3
Класс допусков 4
Единица измерения
Aw1
Допуск на колею рельсового пути крана, измеренный по оси рельсов в любой точке пути
+A = Smax - S
-A = Smin - S
Для пролетов
S <= 16
+/- 10.
Для пролетов
S <= 16
+/- 16.
Для пролетов
S <=16
+/- 25.
Для пролетов
S <= 16
+/- 40.
мм
Для пролетов
S > 16 м
+/- [10 + 0,25(S - 16)]
Для пролетов
S > 16
+/- [16 + 0,25(S - 16)]
Для пролетов
S > 16
+/- [25 + 0,25(S - 16)]
Для пролетов
S > 16
+/- [40 + 0,25(S - 16)]
Bw1
Допуск на прямолинейность оси рельса в горизонтальной плоскости в любой точке рельсового пути крана
Расположение рельса в плане
+/- 10
+/- 20
+/- 40
+/- 80
мм
Ew1
Допуск на превышение одного рельса над другим, измеренное в любой плоскости, перпендикулярной к направлению рельсового пути крана
+/- 10
+/- 20
+/- 40
+/- 80
мм
Aw2
Допуск на колею рельсового пути грузовой тележки, измеренный по оси рельсов в любой точке пути
Для колеи
S <= 16
+/- 6
Для колеи
S <= 16
+/- 10
Для колеи
S <= 16
+/- 16
Для колеи
S <= 16
+/- 25
мм
Ew2
Допуск на превышение одного рельса над другим, измеренное в любой плоскости, перпендикулярной к направлению рельсового пути грузовой тележки в любой его точке
+/- 12,5
+/- 16
+/- 20
+/- 25
0/00
Aw3
Допуск на пролет крана, измеренный по центру дорожки катания ходового колеса для колес с ребордами
Для пролетов
S <= 10
+/- 5.
Для пролетов
S <= 10
+/- 8.
Для пролетов
S <= 10
+/- 12,5.
Для пролетов
S <= 10
+/- 20.
мм
Для пролетов
S > 10
+/- [5 + 0,1(S - 10)]
Для пролетов
S > 10
+/- [8 + 0,1(S - 10)]
Для пролетов
S > 10
+/- [12,5 + 0,1(S - 10)]
Для пролетов
S > 10
+/- [20 + 0,1(S - 10)]
Допуск на пролет крана, измеренный по центру дорожки катания ходового колеса для безребордных колес с боковыми направляющими роликами с одной стороны
Для пролетов
S <= 10
+/- 12,5.
Для пролетов
S <= 10
+/- 14.
Для пролетов
S <= 10
+/- 16.
Для пролетов
S <= 10
+/- 20.
мм
Для пролетов
S > 10
+/- [12,5 + 0,1(S - 10)]
Для пролетов
S > 10 м
+/- [14 + 0,1(S - 10)]
Для пролетов
S > 10
+/- [16 + 0,1(S - 10)]
Для пролетов
S > 10
+/- [20 + 0,1(S - 10)]
Допуск на диаметр колес крана для независимого привода механизма передвижения
Допуски на диаметр ходового колеса принимаются по h18 в соответствии с ГОСТ 25346
Допуски на диаметр ходового колеса принимаются по h18 в соответствии с ГОСТ 25346
Допуски на диаметр ходового колеса принимаются по h18 в соответствии с ГОСТ 25346
Допуски на диаметр ходового колеса принимаются по h18 в соответствии с ГОСТ 25346
мм
Допуск на диаметр колес крана для зависимого привода механизма передвижения
Допуски на диаметр ходового колеса принимаются по IT12 в соответствии с ГОСТ 25346
Допуски на диаметр ходового колеса принимаются по IT13 в соответствии с ГОСТ 25346
Допуски на диаметр ходового колеса принимаются по IT14 в соответствии с ГОСТ 25346
Допуски на диаметр ходового колеса принимаются по IT14 в соответствии с ГОСТ 25346
мм
Aw4
Допуск на колею тележки измеренный по центру дорожки катания ходового колеса для колес с ребордами
Для колеи
S <= 2
+/- 3.
Для колеи
S <= 2
+/- 6.
Для колеи
S <= 2
+/- 8.
Для колеи
S <= 2
+/- 12.
мм
Для колеи
S > 2
+/- [3 + 0,1(S - 2)]
Для колеи
S > 2
+/- [6 + 0,1(S - 2)]
Для колеи
S > 2
+/- [8 + 0,1(S - 2)]
Для колеи
S > 2
+/- [12 + 0,1(S - 2)]
Допуск на колею тележки, измеренный по центру дорожки катания ходового колеса для безребордных колес с боковыми направляющими роликами с одной стороны
Для колеи
S <= 2
+/- 5.
Для колеи
S <= 2
+/- 10.
Для колеи
S <= 2
+/- 12.
Для колеи
S <= 2
+/- 16.
мм
Для колеи
S > 2
+/- [5 + 0,1(S - 2)]
Для колеи
S > 2
+/- [10 + 0,1(S - 2)]
Для колеи
S > 2
+/- [12 + 0,1(S - 2)]
Для колеи
S > 2
+/- [16 + 0,1(S - 2)]
Допуск на диаметр колес грузовой тележки для независимого привода механизма передвижения
Допуски на диаметр ходового колеса принимаются по h18 в соответствии с ГОСТ 25346
Допуски на диаметр ходового колеса принимаются по h18 в соответствии с ГОСТ 25346
Допуски на диаметр ходового колеса принимаются по h18 в соответствии с ГОСТ 25346
Допуски на диаметр ходового колеса принимаются по h18 в соответствии с ГОСТ 25346
мм
Допуск на диаметр колес грузовой тележки для зависимого привода механизма передвижения
Допуски на диаметр ходового колеса принимаются по IT12 в соответствии с ГОСТ 25346
Допуски на диаметр ходового колеса принимаются по IT13 в соответствии с ГОСТ 25346
Допуски на диаметр ходового колеса принимаются по IT14 в соответствии с ГОСТ 25346
Допуски на диаметр ходового колеса принимаются по IT14 в соответствии с ГОСТ 25346
мм
Примечание - Размеры a, e и S указаны в метрах.
Таблица 9
Эксплуатационные допуски на отклонения размеров
и планово-высотного положения рельсовых путей опорных
и подвесных кранов, спроектированных и сданных
в эксплуатацию до введения настоящего стандарта
Обозначение
Параметр допуска
Графическое изображение
Допуск
Единица измерения
P1
Допуск на превышение одного рельса над другим, измеренное в любой плоскости, перпендикулярной к направлению рельсового пути
0,002S,
но не более 40
мм
Для полукозловых и полупортальных кранов не более 0,002 проектной разности уровней головок рельсов верхней и нижней рельсовых нитей
Для подвесных кранов
iS,
где i - допускаемый изготовителем уклон пути тали
P2
Отклонение от прямолинейности рельса в вертикальной плоскости, измеренное на соседних колоннах рельсового пути
10
мм
Для наземной рельсовой нити полукозловых и полупортальных кранов не более 0,003 расстояния между соседними точками измерения, равного расстоянию между колоннами надземной части рельсового пути
Для подвесных кранов
0,001l.
Для талей
il,
где i - допускаемый изготовителем уклон пути тали.
Для монорельсовых тележек
0,002l
l - расстояние между соседними точками крепления рельса
P3
Отклонение размера колеи (пролета), измеренной по осям рельсов в любой точке рельсового пути
0,002S,
но не более 15
мм
Для подвесных кранов
где и - зазоры между краями ездовой полки двутавра и ребордами ходовых катков крана с левой и правой сторон соответственно
P3
Отклонение расстояния между осями симметрии рельсов (двутавров) одно- и двухпролетных крановых путей.
Примечание - При двух и более пролетах два одинаковых знака в одном поперечном сечении не допускается
0,002S
мм
P4
Взаимное смещение торцов стыкуемых рельсов в плане и по высоте
2
мм
P5
Отклонение полки нижнего пояса двутавра от вертикальной оси
5
градусы
Примечание - Размер S указан в метрах.
Таблица 10
Предельные значения износа рельсов путей опорных и подвесных
кранов при эксплуатации
Характеристика износа
Графическое представление износа
Значение допустимого износа
Износ головки рельса [вертикальный, горизонтальный или приведенный (вертикальный плюс половина горизонтального)] P6, %
Не более 15 соответствующего размера неизношенного профиля (см. также таблицу 11 для стандартных типов рельсов)
Уменьшение ширины пояса двутавра вследствие износа P7, мм
Уменьшение толщины полки двутавра вследствие износа P8, мм
при одновременном отгибе полки 
Отгиб g полки двутавра P9, мм
при одновременном отгибе полки
Уменьшение толщины t стенки двутавра P10, мм
Не более 0,03t
Таблица 11
Минимальные значения размеров изношенных рельсов
В миллиметрах
Тип рельса
b2
H2
hr
Приведенный износ
Р43
59,5
133,7
42
10,5
Р50
61,2
145,7
42
11
Р65
63,75
173,25
45
11,5
Р75
61,3
183,75
55
12
КР80
73,95
124,75
35
10,5
ИС МЕГАНОРМ: примечание.
Текст дан в соответствии с официальным текстом документа.
КР100
918
140
40
12
КР120
109,65
163,25
45
14,5
КР140
127,5
162,5
50
16,5
Примечание - Обозначение размеров приведено по таблице 10.