Главная // Актуальные документы // ГОСТ (Государственный стандарт)СПРАВКА
Источник публикации
М.: Стандартинформ, 2014
Примечание к документу
Текст данного документа приведен с учетом
поправки, опубликованной в "ИУС", N 12, 2021.
Документ
введен в действие с 01.07.2015.
Название документа
"ГОСТ 25346-2013 (ISO 286-1:2010). Межгосударственный стандарт. Основные нормы взаимозаменяемости. Характеристики изделий геометрические. Система допусков на линейные размеры. Основные положения, допуски, отклонения и посадки"
(введен в действие Приказом Росстандарта от 18.02.2014 N 28-ст)
"ГОСТ 25346-2013 (ISO 286-1:2010). Межгосударственный стандарт. Основные нормы взаимозаменяемости. Характеристики изделий геометрические. Система допусков на линейные размеры. Основные положения, допуски, отклонения и посадки"
(введен в действие Приказом Росстандарта от 18.02.2014 N 28-ст)
агентства по техническому
регулированию и метрологии
от 18 февраля 2014 г. N 28-ст
МЕЖГОСУДАРСТВЕННЫЙ СТАНДАРТ
ОСНОВНЫЕ НОРМЫ ВЗАИМОЗАМЕНЯЕМОСТИ
ХАРАКТЕРИСТИКИ ИЗДЕЛИЙ ГЕОМЕТРИЧЕСКИЕ
СИСТЕМА ДОПУСКОВ НА ЛИНЕЙНЫЕ РАЗМЕРЫ.
ОСНОВНЫЕ ПОЛОЖЕНИЯ, ДОПУСКИ, ОТКЛОНЕНИЯ И ПОСАДКИ
Basic norms of interchangeability. Geometrical product
specifications. Code system for tolerances on linear sizes.
General provisions, tolerances, deviations and fits
(ISO 286-1:2010, MOD)
ГОСТ 25346-2013
(ISO 286-1:2010)
Дата введения
1 июля 2015 года
Цели, основные принципы и основной порядок проведения работ по межгосударственной стандартизации установлены
ГОСТ 1.0-92 "Межгосударственная система стандартизации. Основные положения" и
ГОСТ 1.2-97 "Межгосударственная система стандартизации. Стандарты межгосударственные, правила и рекомендации по межгосударственной стандартизации. Порядок разработки, принятия, применения, обновления и отмены".
1. Разработан Открытым акционерным обществом "Научно-исследовательский и конструкторский институт средств измерений в машиностроении" (ОАО "НИИизмерения").
2. Внесен Техническим комитетом по стандартизации ТК 242 "Допуски и средства контроля".
3. Принят Межгосударственным советом по стандартизации, метрологии и сертификации (Протокол от 14 ноября 2013 г. N 44-2013).
За принятие стандарта проголосовали:
Краткое наименование страны по МК (ИСО 3166) 004-97 | Код страны по МК (ИСО 3166) 004-97 | Сокращенное наименование национального органа по стандартизации |
Беларусь | BY | Госстандарт Республики Беларусь |
Казахстан | KZ | Госстандарт Республики Казахстан |
Киргизия | KG | Кыргызстандарт |
Россия | RU | Росстандарт |
Таджикистан | TJ | Таджикстандарт |
Туркмения | TM | Главгосслужба "Туркменстандартлары" |
Украина | UA | Минэкономразвития Украины |
4. Настоящий стандарт модифицирован по отношению к международному стандарту ISO 286-1:2010 Geometrical Product Specifications (GPS) - ISO code system for tolerances on linear sizes - Part 1: Basis of tolerances, deviations and fits (Геометрические характеристики изделий. Система допусков ИСО на линейные размеры. Часть 1. Основные положения, допуски, отклонения и посадки).
Степень соответствия - модифицированная (MOD).
В настоящий стандарт относительно примененного международного стандарта внесены следующие редакционные изменения и технические отклонения.
Наименование стандарта изменено для приведения в соответствие с требованиями ГОСТ 1.5-2001
(подраздел 3.6).
В основную часть стандарта не включено справочное приложение C "Связь с матричной моделью GPS" международного стандарта в связи с тем, что оно содержит сведения о матричной модели системы стандартов ИСО "Геометрические характеристики изделий (GPS)" и месте международного стандарта в ней, не относящиеся к объекту стандартизации. Содержание исключенного приложения приведено в дополнительном
Приложении Д.А.
Ссылки на международные стандарты, которые приняты в качестве межгосударственных стандартов, заменены в разделе "Нормативные ссылки" и тексте стандарта ссылками на соответствующие модифицированные межгосударственные стандарты. Информация о замене ссылок приведена в
Приложении Д.Б.
Элемент "Библиография" приведен в соответствие с содержанием настоящего стандарта и требованиями ГОСТ 1.3-2008
(пункт 8.2.8).
5.
Приказом Федерального агентства по техническому регулированию и метрологии от 18 февраля 2014 г. N 28-ст межгосударственный стандарт ГОСТ 25346-2013 (ISO 286-1:2010) введен в действие в качестве национального стандарта Российской Федерации с 1 июля 2015 г.
Информация об изменениях к настоящему стандарту публикуется в ежегодном информационном указателе "Национальные стандарты", а текст изменений и поправок - в ежемесячном информационном указателе "Национальные стандарты". В случае пересмотра (замены) или отмены настоящего стандарта соответствующее уведомление будет опубликовано в ежемесячном информационном указателе "Национальные стандарты". Соответствующая информация, уведомление и тексты размещаются также в информационной системе общего пользования - на официальном сайте Федерального агентства по техническому регулированию и метрологии в сети Интернет.
Международный стандарт ИСО 286 состоит из объединенных общим наименованием "Геометрические характеристики изделий. Система допусков ИСО на линейные размеры" следующих частей:
- Часть 1. Основные положения, допуски, отклонения и посадки;
- Часть 2. Таблицы стандартных классов допусков и предельных отклонений отверстий и валов.
Международный стандарт ИСО 286-1:2010 является второй редакцией международного стандарта ИСО 286-1 и разработан техническим комитетом ИСО/ТК 213 "Размерные и геометрические требования к изделиям и их проверка" взамен международных стандартов ИСО 286-1:1988 и ИСО 1829:1975.
Необходимость установления предельных размеров и посадок для деталей механической обработки была вызвана преимущественно требованием обеспечения взаимозаменяемости деталей массового производства, а также неточностью, присущей способам обработки, в совокупности с обнаружением того факта, что собственно точность выполнения размера не является необходимой для большинства элементов детали. Выяснилось, что для выполнения деталью своего назначения, достаточно, чтобы ее размер находился между двумя допустимыми пределами (т.е. в допуске), которые гарантируют соответствие детали предъявляемым к ней функциональным требованиям.
Аналогично там, где конкретные требования предъявляются к посадке, образуемой двумя деталями, необходимо для размера каждой из деталей предусмотреть допустимые отклонения от номинального размера, обеспечивающие достижение требуемого зазора или натяга. Международный стандарт ИСО 286-1:2010 устанавливает систему допусков и отклонений на линейные размеры, применимую к двум типам размерных элементов: цилиндр и две параллельные противолежащие плоскости. Основное назначение этой системы - обеспечение взаимозаменяемости деталей в сборочных единицах и изделиях.
Термины "отверстие" и "вал" применяют для описания следующих размерных элементов: цилиндр (например, при установлении допуска на диаметр отверстия или вала) и две параллельные противолежащие плоскости (например, для установления допуска на толщину шпонки или ширину шлицевого паза).
Применение системы допусков ИСО на линейные размеры подразумевает, что номинальные размеры вала и отверстия, образующих посадку, одинаковы.
В предыдущей версии международного стандарта ИСО 286-1 (опубликована в 1988 году) для интерпретации размера размерного элемента по умолчанию применялось требование прилегания (размер по сопряжению ограничен пределом максимума материала, а любой местный размер ограничен пределом минимума материала), однако положения стандарта
[1] изменили эту интерпретацию на правило двухточечного измерения (любой местный размер ограничен верхним и нижним предельными размерами). Это означает, что, при задании допуска размера по умолчанию, на отклонения формы теперь не накладывается каких-либо ограничений.
В тех случаях, когда установления допуска на размер согласно международному стандарту ИСО 286-1:2010 оказывается недостаточно для обеспечения выполнения посадкой своего функционального назначения, могут быть дополнительно установлены требование прилегания согласно стандарту
[1], допуски геометрической формы, а также требования к шероховатости поверхности.
Настоящий стандарт устанавливает систему допусков ИСО на линейные размеры следующих геометрических элементов:
a) цилиндр;
b) две параллельные противолежащие плоскости.
В стандарте изложены основные положения и терминология, относящиеся к этой системе допусков, и приведены классы допусков предпочтительного применения.
Стандарт также содержит термины и определения, относящиеся к посадкам, образуемым двумя размерными элементами, без ограничения ориентации и месторасположения этих элементов, и поясняет понятия "основной вал" и "основное отверстие".
В настоящем стандарте использованы ссылки на следующие нормативные документы:
ГОСТ 25347-2013 (ISO 286-2:2010) Основные нормы взаимозаменяемости. Характеристики изделий геометрические. Система допусков на линейные размеры. Ряды допусков, предельные отклонения отверстий и валов
ГОСТ 31254-2004 (ИСО 14660-1:1999, ИСО 14660-2:1999) Основные нормы взаимозаменяемости. Геометрические элементы. Общие термины и определения
ИСО 14405-1:2010 <*> Геометрические характеристики изделий. Установление размерных допусков. Часть 1: Линейные размеры (ISO 14405-1:2010, Geometrical product specifications (GPS) - Dimensional tolerancing - Part 1: Linear sizes)
--------------------------------
<*> Действует до введения ГОСТ, разработанного на основе ISO 14405-1:2010. Перевод стандарта имеется в Федеральном информационном фонде технических регламентов и стандартов Российской Федерации.
Примечание. При пользовании настоящим стандартом целесообразно проверить действие ссылочных стандартов в информационной системе общего пользования - на официальном сайте Федерального агентства по техническому регулированию и метрологии в сети Интернет или по ежегодному информационному указателю "Национальные стандарты", который опубликован по состоянию на 1 января текущего года, и по выпускам ежемесячного информационного указателя "Национальные стандарты" за текущий год. Если ссылочный стандарт заменен (изменен), то при пользовании настоящим стандартом следует руководствоваться заменяющим (измененным) стандартом. Если ссылочный стандарт отменен без замены, то положение, в котором дана ссылка на него, применяется в части, не затрагивающей эту ссылку.
В настоящем стандарте применены термины и определения, установленные в
ГОСТ 31254 и ИСО 14405-1, а также нижеследующие термины и определения. При этом некоторые из терминов применяют в более узком смысле, чем в общем случае.
3.1.1.
Размерный элемент (feature of size): геометрическая форма, определяемая линейным или угловым размером. |
Примечание 1. Размерными элементами могут быть цилиндр, сфера, две параллельные противолежащие плоскости.
Примечание 2. В предыдущих версиях стандартов ИСО 286-1 и
[1] термины "гладкая деталь" и "гладкий элемент детали" применялись примерно в том же значении, что и термин "размерный элемент".
Примечание 3. Положения настоящего стандарта распространяются только на такие определяемые линейным размером размерные элементы, как цилиндр и две параллельные противолежащие плоскости.
3.1.2.
Полный номинальный геометрический элемент (nominal integral feature): точный, полный геометрический элемент, определенный чертежом или другими средствами. |
3.1.3. Отверстие (hole): внутренний размерный элемент детали (включая внутренние размерные элементы, не являющиеся цилиндрическими).
3.1.4. Основное отверстие (basic hole): отверстие, выбранное за базовое для посадок в системе отверстия.
Примечание 2. В системе допусков ИСО на линейные размеры основным является отверстие, нижнее предельное отклонение которого равно нулю.
3.1.5. Вал (shaft): наружный размерный элемент детали (включая наружные размерные элементы, не являющиеся цилиндрическими).
3.1.6. Основной вал (basic shaft): вал, выбранный за базовый для посадок в системе вала.
Примечание 2. В системе допусков ИСО на линейные размеры основным является вал, верхнее предельное отклонение которого равно нулю.
3.2. Термины, связанные с допусками и отклонениями
3.2.1. Номинальный размер (nominal size): размер геометрического элемента идеальной формы, определенной чертежом.
Примечание 1. Номинальный размер используют для расчета предельных размеров путем его сложения с верхним и/или нижним предельным отклонением.
Примечание 2. Ранее в международной практике термин "номинальный размер" (nominal size) обозначался как "основной размер" (basic size).
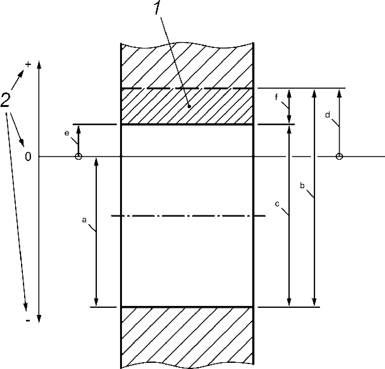
1 - интервал допуска; 2 - правило знаков для отклонений;
a - номинальный размер; b - верхний предельный размер;
c - нижний предельный размер; d - верхнее предельное
отклонение; e - нижнее предельное отклонение
(в данном случае оно является и основным отклонением);
f - допуск
Примечание. Непрерывная горизонтальная линия, ограничивающая интервал допуска, показывает основное отклонение, а штриховая - другое (не основное) предельное отклонение отверстия.
Рисунок 1. Графическое пояснение терминов
(на примере отверстия)
3.2.2. Действительный размер (actual size): размер присоединенного полного элемента.
Примечание 1.
Присоединенный полный элемент: полный элемент правильной формы, присоединенный (совмещенный) к выявленному полному элементу при соблюдении согласованных условий. |
Примечание 2. Действительный размер получают путем измерения.
3.2.3. Предельные размеры (limits of size): предельно допустимые размеры размерного элемента.
Примечание. Удовлетворяющий допуску действительный размер находится между предельными размерами или равен им.
3.2.3.1. Верхний предельный размер (upper limit of size; ULS): наибольший допустимый размер размерного элемента.
3.2.3.2. Нижний предельный размер (lower limit of size; LLS): наименьший допустимый размер размерного элемента.
3.2.4. Отклонение (deviation): разность между значением и опорным значением.
Примечание. Для отклонений размеров опорным значением является номинальный размер, а значением - действительный размер.
3.2.5. Предельное отклонение (limit deviation): верхнее предельное отклонение или нижнее предельное отклонение от номинального размера.
3.2.5.1. Верхнее предельное отклонение (upper limit deviation; ES; es): алгебраическая разность между верхним предельным размером и номинальным размером (обозначение ES применяют для внутренних, a es - для наружных размерных элементов).
Примечание. Верхнее предельное отклонение - отрицательное, равное нулю или положительное число.
3.2.5.2. Нижнее предельное отклонение (lower limit deviation; EI; ei): алгебраическая разность между нижним предельным размером и номинальным размером (обозначение EI применяют для внутренних, а ei - для наружных размерных элементов).
Примечание. Нижнее предельное отклонение - отрицательное, равное нулю или положительное число.
3.2.6. Основное отклонение (fundamental deviation): предельное отклонение, определяющее расположение интервала допуска относительно номинального размера.
Примечание 1. Основным отклонением является то из предельных отклонений, которое соответствует ближайшему к номинальному предельному размеру (см.
рисунок 1 и
4.1.2.5).
Примечание 2. Основное отклонение обозначают буквой латинского алфавита (например, B, d).
3.2.7.

поправка (

value): поправка, прибавляемая к табличному значению отклонения для получения основного отклонения внутреннего размерного элемента.
3.2.8. Допуск (tolerance): разность между верхним и нижним предельными размерами.
Примечание 1. Допуск - положительное число.
Примечание 2. Допуск также может быть определен как разность между верхним и нижним предельными отклонениями.
3.2.8.1. Пределы допуска (tolerance limits): установленные значения, определяющие верхнюю и нижнюю границы допустимых значений.
3.2.8.2. Стандартный допуск; IT (standard tolerance): допуск, установленный системой допусков ИСО на линейные размеры.
Примечание. Буквы в аббревиатуре IT являются сокращением от словосочетания "Международный допуск" ("International Tolerance").
3.2.8.3. Квалитет (standard tolerance grade): группа допусков на линейные размеры, характеризующаяся общим обозначением.
Примечание 1. В системе допусков ИСО на линейные размеры обозначение квалитета состоит из номера, следующего за аббревиатурой IT (например, IT7); см.
4.1.2.3.
Примечание 2. Каждый конкретный квалитет соответствует одному уровню точности для любых номинальных размеров.
3.2.8.4. Интервал допуска (tolerance interval): совокупность значений размера между пределами допуска, включая эти пределы.
Примечание 1. Прежний термин "поле допуска" (по
ГОСТ 25346-89), применявшийся ранее для линейных размеров, изменен на термин "интервал допуска" в связи с тем, что термин "интервал допуска" указывает на диапазон чисел, в то время как термин "поле допуска" в отношении геометрических характеристик изделий указывает на область в плоскости или пространстве, например при установлении допусков согласно стандарту
[2].
Примечание 2. Согласно настоящему стандарту интервал допуска заключен между верхним и нижним предельными размерами. Он определяется значением допуска и его расположением относительно номинального размера (см.
рисунок 1).
Примечание 3. Номинальный размер необязательно находится внутри интервала допуска (см.
рисунок 1). Пределы допуска могут располагаться как по обе стороны (двусторонние пределы), так и по одну сторону (односторонние пределы) относительно номинального размера.
3.2.8.5. Класс допуска (tolerance class): сочетание основного отклонения и квалитета.
Примечание. В системе допусков ИСО на линейные размеры класс допуска указывают комбинацией символов, состоящей из обозначения основного отклонения и следующего за ним номера квалитета (например, D13; h9 и т.д.), см.
4.2.1.
3.3. Термины, связанные с посадками
Приведенные в этом подразделе термины относятся только к номинальным размерным элементам (идеальной формы). Определение модели номинального размерного элемента приведено в стандарте
[3].
3.3.1. Зазор (clearance): разность между размерами отверстия и вала, когда диаметр вала меньше диаметра отверстия.
Примечание. Зазор - положительное число (см.
B.2, Приложение B).
3.3.1.1. Наименьший зазор (minimum clearance): разность между нижним предельным размером отверстия и верхним предельным размером вала.
1 - интервал допуска отверстия; 2 - интервал допуска вала,
случай 1: верхний предельный размер вала ниже, чем нижний
предельный размер отверстия, наименьший зазор больше нуля;
3 - интервал допуска вала, случай 2: верхний предельный
размер вала совпадает с нижним предельным размером
отверстия, наименьший зазор равен нулю; a - наименьший
зазор; b - наибольший зазор; c - номинальный размер, равный
нижнему предельному размеру отверстия
Примечание. Сплошные горизонтальные линии, ограничивающие интервалы допусков, показывают основные отклонения, а штриховые - другие (не основные) предельные отклонения отверстия и вала.
Рисунок 2. Графическое представление посадки с зазором
3.3.1.2. Наибольший зазор (maximum clearance): разность между верхним предельным размером отверстия и нижним предельным размером вала.
3.3.2. Натяг (interference): разность размеров отверстия и вала до сборки, когда диаметр вала больше диаметра отверстия.
Примечание. Натяг - отрицательное число (см.
B.2, Приложение B).
3.3.2.1. Наименьший натяг (minimum interference): разность между верхним предельным размером отверстия и нижним предельным размером вала.
1 - интервал допуска отверстия; 2 - интервал допуска вала,
случай 1: нижний предельный размер вала совпадает с верхним
предельным размером отверстия, наименьший натяг равен нулю;
3 - интервал допуска вала, случай 2: нижний предельный
размер вала больше, чем верхний предельный размер
отверстия, наименьший натяг больше нуля; a - наибольший
натяг; b - наименьший натяг; c - номинальный размер, равный
нижнему предельному размеру отверстия
Примечание. Сплошные горизонтальные линии, ограничивающие интервалы допусков, показывают основные отклонения, а штриховые - другие (не основные) предельные отклонения отверстия и вала.
Рисунок 3. Графическое представление посадки с натягом
3.3.2.2. Наибольший натяг (maximum interference): разность между нижним предельным размером отверстия и верхним предельным размером вала.
1 - интервал допуска отверстия; 2 - 4 - интервал допуска
вала (показано несколько возможных расположений);
a - наибольший зазор; b - наибольший натяг; c - номинальный
размер, равный нижнему предельному размеру отверстия
Примечание. Сплошные горизонтальные линии, ограничивающие интервалы допусков, показывают основные отклонения, а штриховые - другие (не основные) предельные отклонения отверстия и вала.
Рисунок 4. Графическое представление переходной посадки
3.3.3. Посадка (fit): соединение наружного размерного элемента и внутреннего размерного элемента (отверстия и вала), участвующих в сборке.
3.3.3.1. Посадка с зазором (clearance fit): посадка, при которой в соединении отверстия и вала всегда образуется зазор, т.е. нижний предельный размер отверстия больше или равен верхнему предельному размеру вала.
3.3.3.2. Посадка с натягом (interference fit): посадка, при которой в соединении отверстия и вала всегда образуется натяг, т.е. верхний предельный размер отверстия меньше или равен нижнему предельному размеру вала.
3.3.3.3. Переходная посадка (transition fit): посадка, при которой в соединении отверстия и вала возможно получение как зазора, так и натяга.
Примечание. В переходной посадке интервал допуска отверстия и интервал допуска вала перекрываются частично или полностью, поэтому наличие зазора или натяга в соединении зависит от действительных размеров отверстия и вала.
3.3.4. Диапазон посадки (span of a fit): арифметическая сумма допусков размеров двух размерных элементов, образующих посадку.
Примечание 1. Диапазон посадки - положительное число.
Примечание 2. Диапазон посадки с зазором также может быть определен как разность между наибольшим и наименьшим зазорами. Диапазон посадки с натягом также может быть определен как разность между наибольшим и наименьшим натягами. Диапазон переходной посадки также может быть определен как сумма наибольшего зазора и наибольшего натяга (см.
Приложение B).
3.4. Термины, связанные с системой посадок ИСО
3.4.1. Система посадок ИСО (ISO fit system): система посадок, образующихся при соединении валов и отверстий, допуски на линейные размеры которых установлены в соответствии с системой допусков ИСО на линейные размеры.
Примечание. При применении системы допусков ИСО на линейные размеры подразумевают, что номинальные размеры вала и отверстия, образующих посадку, одинаковы.
3.4.1.1. Посадка в системе отверстия (hole-basis fit system): посадка, в которой основное отклонение (нижнее предельное отклонение) отверстия равно нулю.
Примечание. Посадки в системе отверстия - посадки, в которых нижний предельный размер отверстия равен номинальному размеру. Требуемые зазоры или натяги образуются сочетанием валов, имеющих различные классы допуска, с основными отверстиями, класс допуска которых имеет нулевое основное отклонение.
1 - деталь с основным отверстием; 2 - интервал допуска
основного отверстия; 3 - интервал допуска различных валов;
a - номинальный размер
Примечание 1. Сплошные горизонтальные линии, ограничивающие интервалы допусков, показывают основные отклонения основного отверстия и различных валов.
Примечание 2. Штриховые линии, ограничивающие интервалы допусков, показывают другие (не основные) предельные отклонения.
Примечание 3. На рисунке показаны возможные сочетания основного отверстия с валами, соответствующими различным классам допуска.
Примечание 4. Примеры посадок в системе отверстия: H7/h6, H6/k5, H6/p4.
Рисунок 5. Посадки в системе отверстия
3.4.1.2. Посадка в системе вала (shaft-basis fit system): посадка, в которой основное отклонение (верхнее предельное отклонение) вала равно нулю.
Примечание. Посадки в системе вала - посадки, в которых верхний предельный размер вала равен номинальному размеру. Требуемые зазоры или натяги образуются сочетанием отверстий, имеющих различные классы допуска, с основными валами, класс допуска которых имеет нулевое основное отклонение.
1 - основной вал; 2 - интервал допуска основного вала;
3 - интервал допуска различных отверстий;
a - номинальный размер
Примечание 1. Сплошные горизонтальные линии, ограничивающие интервалы допусков, показывают основные отклонения основного вала и различных отверстий.
Примечание 2. Штриховые линии, ограничивающие интервалы допусков, показывают другие (не основные) предельные отклонения.
Примечание 3. На рисунке показаны возможные сочетания основного вала с отверстиями, соответствующими различным классам допуска.
Примечание 4. Примеры посадок в системе вала: G7/h6, H6/h6, M6/h6.
Рисунок 6. Посадки в системе вала
4. Система допусков ИСО на линейные размеры
4.1. Основные понятия и обозначения
4.1.1. Связь с ИСО 14405-1
Допуск на размерный элемент может быть установлен согласно описываемой в настоящем стандарте системе допусков ИСО на линейные размеры или по ИСО 14405-1 - указанием предельных отклонений. Оба варианта эквивалентны.
Пример 1 - Обозначение

эквивалентно обозначению 32 "class",
где: 32 - номинальный размер;
x - верхнее предельное отклонение;
y - нижнее предельное отклонение;
"class" - класс допуска согласно
4.2.1.
В дополнение к допуску сопрягаемого размера может быть указано требование прилегания по ИСО 14405-1 (см.
A.2, Приложение A).
Пример 2 - Обозначение

эквивалентно обозначению 32 "class"

.
4.1.2. Класс допуска
4.1.2.1. Общее
Класс допуска содержит информацию о значении допуска и положении интервала допуска относительно номинального размера размерного элемента.
4.1.2.2. Значение допуска
Класс допуска определяет значение допуска. Значение допуска зависит от номера квалитета и номинального размера размерного элемента.
Обозначение квалитета состоит из номера квалитета, следующего за аббревиатурой международного допуска IT, например IT7.
Значения стандартных допусков приведены в
таблице 1. Графы таблицы содержат значения допусков для квалитетов с IT01 до IT18 включительно. Каждая строка таблицы соответствует интервалу размеров, границы которого указаны в первой графе таблицы.
Примечание 1. Если номер квалитета входит в обозначение класса допуска, т.е. связан с буквой (или буквами), обозначающей основное отклонение, то аббревиатуру IT опускают, например H7.
Примечание 2. В квалитетах, начиная с IT6, значения допусков увеличиваются в 10 раз при переходе с данного квалитета на пять квалитетов грубее. Это правило распространяется на все допуски системы и может быть применено для получения значений допусков квалитетов, отсутствующих в таблице 1.
Таблица 1
Значения допусков для номинальных размеров до 3150 мм
Номинальный размер, мм | Значение стандартного допуска |
мкм | мм |
Св. | До включ. | для квалитета |
IT01 | IT0 | IT1 | IT2 | IT3 | IT4 | IT5 | IT6 | IT7 | IT8 | IT9 | IT10 | IT11 | IT12 | IT13 | IT14 | IT15 | IT16 | IT17 | IT18 |
- | 3 | 0,3 | 0,5 | 0,8 | 1,2 | 2 | 3 | 4 | 6 | 10 | 14 | 25 | 40 | 60 | 0,1 | 0,14 | 025 | 0,4 | 0,6 | 1 | 1,4 |
3 | 6 | 0,4 | 0,6 | 1 | 1,5 | 2,5 | 4 | 5 | 8 | 12 | 18 | 30 | 48 | 75 | 0,12 | 0,18 | 0,3 | 0,48 | 0,75 | 1,2 | 1,8 |
6 | 10 | 0,4 | 0,6 | 1 | 1,5 | 2,5 | 4 | 6 | 9 | 15 | 22 | 36 | 58 | 90 | 0,15 | 0,22 | 0,36 | 0,58 | 0,9 | 1,5 | 2,2 |
10 | 18 | 0,5 | 0,8 | 1,2 | 2 | 3 | 5 | 8 | 11 | 18 | 27 | 43 | 70 | 110 | 0,18 | 0,27 | 0,43 | 0,7 | 1,1 | 1,8 | 2,7 |
18 | 30 | 0,6 | 1 | 1,5 | 2,5 | 4 | 6 | 9 | 13 | 21 | 33 | 52 | 84 | 130 | 0,21 | 0,33 | 0,52 | 0,84 | 1,3 | 2,1 | 3,3 |
30 | 50 | 0,6 | 1 | 1,5 | 2,5 | 4 | 7 | 11 | 16 | 25 | 39 | 62 | 100 | 160 | 0,25 | 0,39 | 0,62 | 1 | 1,6 | 2,5 | 3,9 |
50 | 80 | 0,8 | 1,2 | 2 | 3 | 5 | 8 | 13 | 19 | 30 | 46 | 74 | 120 | 190 | 0,3 | 0,46 | 0,74 | 1,2 | 1,9 | 3 | 4,6 |
80 | 120 | 1 | 1,5 | 2,5 | 4 | 6 | 10 | 15 | 22 | 35 | 54 | 87 | 140 | 220 | 0,35 | 0,54 | 0,87 | 1,4 | 2,2 | 3,5 | 5,4 |
120 | 180 | 1,2 | 2 | 3,5 | 5 | 8 | 12 | 18 | 25 | 40 | 63 | 100 | 160 | 250 | 0,4 | 0,63 | 1 | 1,6 | 2,5 | 4 | 6,3 |
180 | 250 | 2 | 3 | 4,5 | 7 | 10 | 14 | 20 | 29 | 46 | 72 | 115 | 185 | 290 | 0,46 | 0,72 | 1,15 | 1,85 | 2,9 | 4,6 | 7,2 |
250 | 315 | 2,5 | 4 | 6 | 8 | 12 | 16 | 23 | 32 | 52 | 81 | 130 | 210 | 320 | 0,52 | 0,81 | 1,3 | 2,1 | 3,2 | 5,2 | 8,1 |
315 | 400 | 3 | 5 | 7 | 9 | 13 | 18 | 25 | 36 | 57 | 89 | 140 | 230 | 360 | 0,57 | 0,89 | 1,4 | 2,3 | 3,6 | 5,7 | 8,9 |
400 | 500 | 4 | 6 | 8 | 10 | 15 | 20 | 27 | 40 | 63 | 97 | 155 | 250 | 400 | 0,63 | 0,97 | 1,55 | 2,5 | 4 | 6,3 | 9,7 |
500 | 630 | | | 9 | 11 | 16 | 22 | 32 | 44 | 70 | 110 | 175 | 280 | 440 | 0,7 | 1,1 | 1,75 | 2,8 | 4,4 | 7 | 11 |
630 | 800 | | | 10 | 13 | 18 | 25 | 36 | 50 | 80 | 125 | 200 | 320 | 500 | 0,8 | 1,25 | 2 | 3,2 | 5 | 8 | 12,5 |
800 | 1000 | | | 11 | 15 | 21 | 28 | 40 | 56 | 90 | 140 | 230 | 360 | 560 | 0,9 | 1,4 | 2,3 | 3,6 | 5,6 | 9 | 14 |
1000 | 1250 | | | 13 | 18 | 24 | 33 | 47 | 66 | 105 | 165 | 260 | 420 | 660 | 1,05 | 1,65 | 2,6 | 4,2 | 6,6 | 10,5 | 16,5 |
1250 | 1600 | | | 15 | 21 | 29 | 39 | 55 | 78 | 125 | 195 | 310 | 500 | 780 | 1,25 | 1,95 | 3,1 | 5 | 7,8 | 12,5 | 19,5 |
1600 | 2000 | | | 18 | 25 | 35 | 46 | 65 | 92 | 150 | 230 | 370 | 600 | 920 | 1,5 | 2,3 | 3,7 | 6 | 9,2 | 15 | 23 |
2000 | 2500 | | | 22 | 30 | 41 | 55 | 78 | 110 | 175 | 280 | 440 | 700 | 1100 | 1,75 | 2,8 | 4,4 | 7 | 11 | 17,5 | 28 |
2500 | 3150 | | | 26 | 36 | 50 | 68 | 96 | 135 | 210 | 330 | 540 | 860 | 1350 | 2,1 | 3,3 | 5,4 | 8,6 | 13,5 | 21 | 33 |
Пример - Для интервала номинальных размеров свыше 120 мм до 180 мм включительно значение допуска квалитета IT20 вычисляют по формуле IT20 = IT15 x 10 = 1,6 мм x 10 = 16 мм.
4.1.2.4. Положение интервала допуска
Интервал допуска (прежний термин "поле допуска") - множество значений размера, ограниченное верхним и нижним предельными размерами. Класс допуска определяет положение интервала допуска относительно номинального размера посредством основного отклонения, входящего в обозначение класса допуска. Положение интервала допуска, т.е. основное отклонение, определяется одной или несколькими буквами, называемыми идентификаторами основного отклонения.
Возможные случаи расположения интервалов допуска относительно номинального размера и правило знаков ["+" (плюс) или "-" (минус)] для основных отклонений отверстий и валов приведены на
рисунках 7 -
9.
a) Отверстия (внутренние размерные элементы)
b) Валы (наружные размерные элементы)
EI, ES - основные отклонения отверстий (примеры);
ei, es - основные отклонения валов (примеры);
a - номинальный размер
Примечание 1. Основным отклонением является то из предельных отклонений, которое устанавливает предельный размер, ближайший к номинальному.
Примечание 2. Подробности, касающиеся основных отклонений J/j, K/k, M/m и N/n, показаны на
рисунках 8 и
9.
Рисунок 7. Положения интервала допуска относительно
номинального размера
Примечание 1. Значения IT приведены в
таблице 1.
Примечание 2. Изображенные на рисунке интервалы допуска примерно соответствуют интервалу номинальных размеров свыше 10 мм до 18 мм включительно.
1 - от K1 до K3 и от K4 до K8 для номинальных размеров
в интервале до 3 мм включительно; 2 - от K4 до K8
для номинальных размеров в интервале свыше 3 мм до 500 мм
включительно; 3 - от K9 до K18 и от K4 до K8
для номинальных размеров свыше 500 мм; 4 - от M1 до M6;
5 - от M9 до M18, M7 и M8 для номинальных размеров свыше
500 мм; 6 - от N1 до N8 и от N9 до N18 для номинальных
размеров в интервалах свыше 1 мм до 3 мм включительно
и свыше 500 мм; 7 - от N9 до N18 для номинальных размеров
в интервале свыше 3 мм до 500 мм включительно
Рисунок 8. Предельные отклонения отверстий
1 - j5, j6; 2 - от k1 до k3 и от k4 до k7 для номинальных
размеров в интервале свыше 1 мм до 3 мм включительно;
3 - от k4 до k7 для номинальных размеров в интервале
свыше 3 мм до 500 мм включительно; 4 - от k8 до k18
и от k4 до k7 для номинальных размеров свыше 500 мм
Рисунок 9. Предельные отклонения валов
4.1.2.5. Основное отклонение
Основным отклонением является то из предельных отклонений, которое устанавливает предельный размер, ближайший к номинальному (см.
рисунок 7).
Основные отклонения обозначают:
- прописной буквой (буквами) латинского алфавита (A ... ZC) для отверстий;
- строчной буквой (буквами) латинского алфавита (a ... zc) для валов.
Примечание 1. Для обозначения основных отклонений не применяют следующие буквы: I, i; L, l; O, o; Q, q; W, w.
Примечание 2. Основное отклонение устанавливают для интервала номинальных размеров.
Значение основного отклонения определяется идентификатором основного отклонения (буквы или букв) и номинального размера элемента, в отношении которого устанавливают допуск.
Числовые значения основных отклонений отверстий приведены в таблицах 2 и
3, а числовые значения основных отклонений валов - в
таблицах 4 и
5.
Таблица 2
Значения основных отклонений отверстий от A до M
Номинальный размер, мм | Значение основного отклонения, мкм |
Нижнее предельное отклонение EI | Верхнее предельное отклонение ES |
Св. | До включ. | Для всех квалитетов | IT6 | IT7 | IT8 | До IT8 включ. | Св. IT8 | До IT8 включ. | Св. IT8 |
| | C | CD | D | E | EF | F | FG | G | | JS | J | | |
- | 3 | +270 | +140 | +60 | +34 | +20 | +14 | +10 | +6 | +4 | +2 | 0 | Отклонения - +/- IT n/2, где n - номер квалитета | +2 | +4 | +6 | 0 | 0 | -2 | -2 |
3 | 6 | +270 | +140 | +70 | +46 | +30 | +20 | +14 | +10 | +6 | +4 | 0 | +5 | +6 | +10 | | | | -4 |
6 | 10 | +280 | +150 | +80 | +56 | +40 | +25 | +18 | +13 | +8 | +5 | 0 | +5 | +8 | +12 | | | | -6 |
10 | 14 | +290 | +150 | +95 | +70 | +50 | +32 | +23 | +16 | +10 | +6 | 0 | +6 | +10 | +15 | | | | -7 |
14 | 18 |
18 | 24 | +300 | +160 | +110 | +85 | +65 | +40 | +28 | +20 | +12 | +7 | 0 | +8 | +12 | +20 | | | | -8 |
24 | 30 |
30 | 40 | +310 | +170 | +120 | +100 | +80 | +50 | +35 | +25 | +15 | +9 | 0 | +10 | +14 | +24 | | | | -9 |
40 | 50 | +320 | +180 | +130 |
50 | 65 | +340 | +190 | +140 | | +100 | +60 | | +30 | | +10 | 0 | +13 | +18 | +28 | | | | -11 |
65 | 80 | +360 | +200 | +150 |
80 | 100 | +380 | +220 | +170 | | +120 | +72 | | +36 | | +12 | 0 | +16 | +22 | +34 | | | | -13 |
100 | 120 | +410 | +240 | +180 |
120 | 140 | +460 | +260 | +200 | | +145 | +85 | | +43 | | +14 | 0 | +18 | +26 | +41 | | | | -15 |
140 | 160 | +520 | +280 | +210 |
160 | 180 | +580 | +310 | +230 |
180 | 200 | +660 | +340 | +240 | | +170 | +100 | | +50 | | +15 | 0 | +22 | +30 | +47 | | | | -17 |
200 | 225 | +740 | +380 | +260 |
225 | 250 | +820 | +420 | +280 |
250 | 280 | +920 | +480 | +300 | | +190 | +110 | | +56 | | +17 | 0 | +25 | +36 | +55 | | | | -20 |
280 | 315 | +1050 | +540 | +330 |
315 | 355 | +1200 | +600 | +360 | | +210 | +125 | | +62 | | +18 | 0 | +29 | +39 | +60 | | | | -21 |
355 | 400 | +1350 | +680 | +400 |
400 | 450 | +1500 | +760 | +440 | | +230 | +135 | | +68 | | +20 | 0 | +33 | +43 | +66 | | | | -23 |
450 | 500 | +1650 | +840 | +480 |
500 | 560 | | | | | +260 | +145 | | +76 | | +22 | 0 | | | | 0 | | -26 |
560 | 630 |
630 | 710 | | | | | +290 | +160 | | +80 | | +24 | 0 | | | | 0 | | -30 |
710 | 800 |
800 | 900 | | | | | +320 | +170 | | +86 | | +26 | 0 | | | | 0 | | -34 |
900 | 1000 |
1000 | 1120 | | | | | +350 | +195 | | +98 | | +28 | 0 | | | | 0 | | -40 |
1120 | 1250 |
1250 | 1400 | | | | | +390 | +220 | | +110 | | +30 | 0 | | | | 0 | | -48 |
1400 | 1600 |
1600 | 1800 | | | | | +430 | +240 | | +120 | | +32 | 0 | | | | 0 | | -58 |
1800 | 2000 |
2000 | 2240 | | | | | +480 | +260 | | +130 | | +34 | 0 | | | | 0 | | -68 |
2240 | 2500 |
2500 | 2800 | | | | | +520 | +290 | | +145 | | +36 | 0 | | | | 0 | | -76 |
2800 | 3150 |
<a> Основные отклонения A и B не применяют для номинальных размеров до 1 мм включительно. <b> Специальный случай: для класса допуска M6 в интервале размеров свыше 250 до 315 мм включительно, ES= -9 мкм (а не -11 мкм согласно вычислению). <c> Для определения значений основных отклонений K и M см. 4.3.2.5. |
Таблица 3
Значения основных отклонений отверстий от N до ZC
и значения

Номинальный размер, мм | Значение основного отклонения, мкм Верхнее предельное отклонение ES | Значение  , мкм, для квалитетов |
Св. | До включ. | До IT8 включ. | Св. IT8 | До IT7 включ. | Для квалитетов св. IT7 |
| | P | R | S | T | U | V | X | Y | Z | ZA | ZB | ZC | IT3 | IT4 | IT5 | IT6 | IT7 | IT8 |
- | 3 | -4 | -4 | Значения, как для квалитетов свыше IT7, увеличенные на  | -6 | -10 | -14 | | -18 | | -20 | | -26 | -32 | -40 | -60 | 0 | 0 | 0 | 0 | 0 | 0 |
3 | 6 | | 0 | -12 | -15 | -19 | | -23 | | -28 | | -35 | -42 | -50 | -80 | 1 | 1,5 | 1 | 3 | 4 | 6 |
6 | 10 | | 0 | -15 | -19 | -23 | | -28 | | -34 | | -42 | -52 | -67 | -97 | 1 | 1,5 | 2 | 3 | 6 | 7 |
10 | 14 | | 0 | -18 | -23 | -28 | | -33 | | -40 | | -50 | -64 | -90 | -130 | 1 | 2 | 3 | 3 | 7 | 9 |
14 | 18 | -39 | -45 | | -60 | -77 | -108 | -150 |
18 | 24 | | 0 | -22 | -28 | -35 | | -41 | -47 | -54 | -63 | -73 | -98 | -136 | -188 | 1,5 | 2 | 3 | 4 | 8 | 12 |
24 | 30 | -41 | 48 | -55 | -64 | -75 | -88 | -118 | -160 | -218 |
30 | 40 | | 0 | -26 | -34 | -43 | -48 | -60 | -68 | -80 | -94 | -112 | -148 | -200 | -274 | 1,5 | 3 | 4 | 5 | 9 | 14 |
40 | 50 | -54 | -70 | -81 | -97 | -114 | -136 | -180 | -242 | -325 |
50 | 65 | | 0 | -32 | -41 | -53 | -66 | -87 | -102 | -122 | -144 | -172 | -226 | -300 | -405 | 2 | 3 | 5 | 6 | 11 | 16 |
65 | 80 | -43 | -59 | -75 | -102 | -120 | -146 | -174 | -210 | -274 | -360 | -480 |
80 | 100 | | 0 | -37 | -51 | -71 | -91 | -124 | -146 | -178 | -214 | -258 | -335 | -445 | -585 | 2 | 4 | 5 | 7 | 13 | 19 |
100 | 120 | -54 | -79 | -104 | -144 | -172 | -210 | -254 | -310 | -400 | -525 | -690 |
120 | 140 | | 0 | -43 | -63 | -92 | -122 | -170 | -202 | -248 | -300 | -365 | -470 | -620 | -800 | 3 | 4 | 6 | 7 | 15 | 23 |
140 | 160 | -65 | -100 | -134 | -190 | -228 | -280 | -340 | -415 | -535 | -700 | -900 |
160 | 180 | -68 | -108 | -146 | -210 | -252 | -310 | -380 | -465 | -600 | -780 | -1000 |
180 | 200 | | 0 | -50 | -77 | -122 | -166 | -236 | -284 | -350 | -425 | -520 | -670 | -880 | -1150 | 3 | 4 | 6 | 9 | 17 | 26 |
200 | 225 | -80 | -130 | -180 | -258 | -310 | -385 | -470 | -575 | -740 | -960 | -1250 |
225 | 250 | -84 | -140 | -196 | -284 | -340 | -425 | -520 | -640 | -820 | -1050 | -1350 |
250 | 280 | | 0 | -56 | -94 | -158 | -218 | -315 | -385 | -475 | -580 | -710 | -920 | -1200 | -1550 | 4 | 4 | 7 | 9 | 20 | 29 |
280 | 315 | -98 | -170 | -240 | -350 | -425 | -525 | -650 | -790 | -1000 | -1300 | -1700 |
315 | 355 | | 0 | -62 | -108 | -190 | -268 | -390 | -475 | -590 | -730 | -900 | -1150 | -1500 | -1900 | 4 | 5 | 7 | 11 | 21 | 32 |
355 | 400 | -114 | -208 | -294 | -435 | -530 | -660 | -820 | -1000 | -1300 | -1650 | -2100 |
400 | 450 | | 0 | -68 | -126 | -232 | -330 | -490 | -595 | -740 | -920 | -1100 | -1450 | -1850 | -2400 | 5 | 5 | 7 | 13 | 23 | 34 |
450 | 500 | -132 | -252 | -360 | -540 | -660 | -820 | -1000 | -1250 | -1600 | -2100 | -2600 |
Окончание таблицы 3
Номинальный размер, мм | Значение основного отклонения, мкм, для квалитетов Верхнее предельное отклонение ES |
Св. | До включ. | До IT8 включ. | Св. IT8 | До IT7 включ. | св. IT7 |
| | P | R | S | T | U |
500 | 560 | -44 | Значения для квалитетов свыше IT7, увеличенные на  | -78 | -150 | -280 | -400 | -600 |
560 | 630 | -155 | -310 | -450 | -660 |
630 | 710 | -50 | -88 | -175 | -340 | -500 | -740 |
710 | 800 | -185 | -380 | -560 | -840 |
800 | 900 | -56 | -100 | -210 | -430 | -620 | -940 |
900 | 1000 | -220 | -470 | -680 | -1050 |
1000 | 1120 | -66 | -120 | -250 | -520 | -780 | -1150 |
1120 | 1250 | -260 | -580 | -840 | -1300 |
1250 | 1400 | -73 | -140 | -300 | -640 | -960 | -1450 |
1400 | 1600 | -330 | -720 | -1050 | -1600 |
1600 | 1800 | -92 | -170 | -370 | -820 | -1200 | -1850 |
1800 | 2000 | -400 | -920 | -1350 | -2000 |
2000 | 2240 | -110 | -195 | -440 | -1000 | -1500 | -2300 |
2240 | 2500 | -460 | -1100 | -1650 | -2500 |
2500 | 2800 | -135 | 240 | -550 | -1250 | -1900 | -2900 |
2800 | 3150 | -580 | -1400 | -2100 | -3200 |
a) Для определения значений основных отклонений N и от P до ZC см. 4.3.2.5. b) Основные отклонения N для квалитетов свыше IT8 не применяются для номинальных размеров до 1 мм. |
Таблица 4
Значения основных отклонений валов от a до j
Номинальный размер, мм | Значение основного отклонения, мкм |
Верхнее предельное отклонение es | Нижнее предельное отклонение ei |
Св. | До включ. | Для всех квалитетов | IT5 и IT6 | IT7 | IT8 |
| | c | cd | d | e | ef | | fg | g | h | js | j |
- | 3 | -270 | -140 | -60 | -34 | -20 | -14 | -10 | -6 | -4 | -2 | 0 | | -2 | -4 | -6 |
3 | 6 | -270 | -140 | -70 | -46 | -30 | -20 | -14 | -10 | -6 | -4 | 0 | Отклонения - +/- IT n/2, где n - номер квалитета | -2 | -4 | |
6 | 10 | -280 | -150 | -80 | -56 | -40 | -25 | -18 | -13 | -8 | -5 | 0 | -2 | -5 | |
10 | 14 | -290 | -150 | -95 | -70 | -50 | -32 | -23 | -16 | -10 | -6 | 0 | -3 | -6 | |
14 | 18 |
18 | 24 | -300 | -160 | -110 | -85 | -65 | -40 | -28 | -20 | -12 | -7 | 0 | -4 | -8 | |
24 | 30 |
30 | 40 | -310 | -170 | -120 | -100 | -80 | -50 | -35 | -25 | -15 | -9 | 0 | -5 | -10 | |
40 | 50 | -320 | -180 | -130 |
50 | 65 | -340 | -190 | -140 | | -100 | -60 | | -30 | | -10 | 0 | -7 | -12 | |
65 | 80 | -360 | -200 | -150 |
80 | 100 | -380 | -220 | -170 | | -120 | -72 | | -36 | | -12 | 0 | -9 | -15 | |
100 | 120 | -410 | -240 | -180 |
120 | 140 | -460 | -260 | -200 | | -145 | -85 | | -43 | | -14 | 0 | -11 | -18 | |
140 | 150 | -520 | -280 | -210 |
160 | 180 | -580 | -310 | -230 |
180 | 200 | -660 | -340 | -240 | | -170 | -100 | | -50 | | -15 | 0 | -13 | -20 | |
200 | 225 | -740 | -380 | -260 |
225 | 250 | -820 | -420 | -280 |
250 | 280 | -920 | -480 | -300 | | -190 | -110 | | -56 | | -17 | 0 | -16 | -26 | |
280 | 315 | -1050 | -540 | -330 |
315 | 355 | -1200 | -600 | -360 | | -210 | -125 | | -62 | | -18 | 0 | -18 | -28 | |
355 | 400 | -1350 | -680 | -400 |
400 | 450 | -1500 | -760 | -440 | | -230 | -135 | | -68 | | -20 | 0 | -20 | -32 | |
450 | 500 | -1650 | -840 | -480 |
500 | 560 | | | | | -260 | -145 | | -76 | | -22 | 0 | | | |
560 | 630 |
630 | 710 | | | | | -290 | -160 | | -80 | | -24 | 0 | | | |
710 | 800 |
800 | 900 | | | | | -320 | -170 | | -86 | | -26 | 0 | | | |
900 | 1000 |
1000 | 1120 | | | | | -350 | -195 | | -98 | | -28 | 0 | | | |
1120 | 1250 |
1250 | 1400 | | | | | -390 | -220 | | -110 | | -30 | 0 | | | |
1400 | 1600 |
1600 | 1800 | | | | | -430 | -240 | | -120 | | -32 | 0 | | | |
1800 | 2000 |
2000 | 2240 | | | | | -480 | -260 | | -130 | | -34 | 0 | | | |
2240 | 2500 |
2500 | 2800 | | | | | -520 | -290 | | -145 | | -38 | 0 | | | |
2800 | 3150 |
<a> Основные отклонения a и b не применяют для номинальных размеров до 1 мм включ. |
Таблица 5
Значения основных отклонений валов от k до zc
Номинальный размер, мм | Значение основного отклонения, мкм Нижнее предельное отклонение ei |
Св. | До включ. | Св. IT4 до IT7 включ. | До IT3 включ. и св. IT7 | Для всех квалитетов |
k | m | n | p | r | s | t | u | v | x | y | z | za | zb | zc |
- | 3 | 0 | 0 | +2 | +4 | +6 | +10 | +14 | | +18 | | +20 | | +26 | +32 | +40 | +60 |
3 | 6 | +1 | 0 | +4 | +8 | +12 | +15 | +19 | | +23 | | +28 | | +35 | +42 | +50 | +80 |
6 | 10 | +1 | 0 | +6 | +10 | +15 | +19 | +23 | | +28 | | +34 | | +42 | +52 | +67 | +97 |
10 | 14 | +1 | 0 | +7 | +12 | +18 | +23 | +28 | | +33 | | +40 | | +50 | +64 | +90 | +130 |
14 | 18 | +39 | +45 | | +60 | +77 | +108 | +150 |
18 | 24 | +2 | 0 | +8 | +15 | +22 | +28 | +35 | | +41 | +47 | +54 | +63 | +73 | +98 | +136 | +188 |
24 | 30 | +41 | +48 | +55 | +64 | +75 | +88 | +118 | +160 | +218 |
30 | 40 | +2 | 0 | +9 | +17 | +26 | +34 | +43 | +48 | +60 | +68 | +80 | +94 | +112 | +148 | +200 | +274 |
40 | 50 | +54 | +70 | +81 | +97 | +114 | +136 | +180 | +242 | +325 |
50 | 65 | +2 | 0 | +11 | +20 | +32 | +41 | +53 | +66 | +87 | +102 | +122 | +144 | +172 | +226 | +300 | +405 |
65 | 80 | +43 | +59 | +75 | +102 | +120 | +146 | +174 | +210 | +274 | +360 | +480 |
80 | 100 | +3 | 0 | +13 | +23 | +37 | +51 | +71 | +91 | +124 | +146 | +178 | +214 | +258 | +335 | +445 | +585 |
100 | 120 | +54 | +79 | +104 | +144 | +172 | +210 | +254 | +310 | +400 | +525 | +690 |
120 | 140 | +3 | 0 | +15 | +27 | +43 | +63 | +92 | +122 | +170 | +202 | +248 | +300 | +365 | +470 | +620 | +800 |
140 | 160 | +65 | +100 | +134 | +190 | +228 | +280 | +340 | +415 | +535 | +700 | +900 |
160 | 180 | +68 | +108 | +146 | +210 | +252 | +310 | +380 | +465 | +600 | +780 | +1000 |
180 | 200 | +4 | 0 | +17 | +31 | +50 | +77 | +122 | +166 | +236 | +284 | +350 | +425 | +520 | +670 | +880 | +1150 |
200 | 225 | +80 | +130 | +180 | +258 | +310 | +385 | +470 | +575 | +740 | +960 | +1250 |
225 | 250 | +84 | +140 | +196 | +284 | +340 | +425 | +520 | +640 | +820 | +1050 | +1350 |
250 | 280 | +4 | 0 | +20 | +34 | +56 | +94 | +158 | +218 | +315 | +385 | +475 | +580 | +710 | +920 | +1200 | +1550 |
280 | 315 | +98 | +170 | +240 | +350 | +425 | +525 | +650 | +790 | +1000 | +1300 | +1700 |
315 | 355 | +4 | 0 | +21 | +37 | +62 | +108 | +190 | +268 | +390 | +475 | +590 | +730 | +900 | +1150 | +1500 | +1900 |
355 | 400 | +114 | +208 | +294 | +435 | +530 | +650 | +820 | +1000 | +1300 | +1650 | +2100 |
400 | 450 | +5 | 0 | +23 | +40 | +68 | +126 | +232 | +330 | +490 | +595 | +740 | +920 | +1100 | +1450 | +1850 | +2400 |
450 | 500 | +132 | +252 | +360 | +540 | +660 | +820 | +1000 | +1250 | +1600 | +2100 | +2600 |
500 | 560 | 0 | 0 | +26 | +44 | +78 | +150 | +280 | +400 | +600 | | | | | | | |
560 | 630 | +155 | +310 | +450 | +660 | | | | | | | |
630 | 710 | 0 | 0 | +30 | +50 | +88 | +175 | +340 | +500 | +740 | | | | | | | |
710 | 800 | +185 | +380 | +560 | +840 | | | | | | | |
800 | 900 | 0 | 0 | +34 | +56 | +100 | +210 | +430 | +620 | +940 | | | | | | | |
900 | 1000 | +220 | +470 | +680 | +1050 | | | | | | | |
1000 | 1120 | 0 | 0 | +40 | +66 | +120 | +250 | +520 | +780 | +1150 | | | | | | | |
1120 | 1250 | +260 | +580 | +840 | +1300 | | | | | | | |
1250 | 1400 | 0 | 0 | +48 | +78 | +140 | +300 | +640 | +960 | +1450 | | | | | | | |
1400 | 1600 | +330 | +720 | +1050 | +1600 | | | | | | | |
1600 | 1800 | 0 | 0 | +58 | +92 | +170 | +370 | +820 | +1200 | +1850 | | | | | | | |
1800 | 2000 | +400 | +920 | +1350 | +2000 | | | | | | | |
2000 | 2240 | 0 | 0 | +68 | +110 | +195 | +440 | +1000 | +1500 | +2300 | | | | | | | |
2240 | 2500 | +460 | +1100 | +1650 | +2500 | | | | | | | |
2500 | 2800 | 0 | 0 | +76 | +135 | +240 | +550 | +1250 | +1900 | +2900 | | | | | | | |
2800 | 3150 | +580 | +1400 | +2100 | +3200 | | | | | | | |
Основное отклонение считают положительным [знак "+" (плюс)], если определяемый им предел допуска располагается выше номинального размера, и считают отрицательным [знак "-" (минус)], если соответствующий предел допуска располагается ниже номинального размера.
Каждая графа
таблиц 2 -
5 содержит числовые значения основных отклонений для одного буквенного идентификатора основного отклонения. Каждая строка в таблицах соответствует одному интервалу размеров, границы которого приведены в ее первой графе.
Другое (не основное) предельное отклонение (верхнее или нижнее) определяют по основному отклонению и допуску (IT) в соответствии с
рисунками 8 и
9.
Примечание 3. Понятие "основное отклонение" не распространяется на отклонения JS и js, т.к. пределы допуска в этом случае расположены симметрично относительно номинального размера (см.
рисунки 8 и
9).
Примечание 4. Интервалы размеров, указанные в
таблице 1, в
таблицах 2 -
5 в некоторых случаях (для отклонений a - c и r - zc или A - C и R - ZC) подразделяют на несколько интервалов.
Последние шесть граф в правой части
таблицы 3 содержат

.

зависит от квалитета и номинального размера элемента, в отношении которого устанавливается допуск. Это относится только к отклонениям K - ZC и квалитетам IT3 - IT7/IT8.
При вычислении значения основного отклонения, во всех случаях, когда в таблице указано

, числовое значение

прибавляют к постоянному значению, указанному в основной таблице.
4.2. Обозначение класса допуска (правила написания)
Класс допуска обозначают сочетанием идентификатора основного отклонения [прописной буквы (букв) латинского алфавита для отверстий и строчной буквы (букв) для валов] и номера квалитета.
Пример - H7 (отверстия), h7 (валы).
4.2.2. Размер и его допуск
Размер и его допуск указывают сочетанием номинального размера и класса допуска или сочетанием номинального размера и предельных отклонений согласно ИСО 14405-1.
Обозначение класса допуска и предельные отклонения указывают после номинального размера.
В приведенных ниже примерах указание предельных отклонений эквивалентно указанию класса допуска.
Пример 1 -
ИСО 286 | | ИСО 14405-1 |
32 H7 | эквивалентно | |
80 js5 | эквивалентно | 80 +/- 0,6 |
100 g6  | эквивалентно | |
Примечание. Если предельные отклонения соответствуют классу допуска, разрешается дополнительно к предельным отклонениям указывать в скобках класс допуска и наоборот, после обозначения класса допуска указывать в скобках предельные отклонения.
Пример 2 -

или

4.2.3. Назначение класса допуска
Класс допуска назначают исходя из требований к посадке (зазоров, натягов), см.
5.3.4 настоящего стандарта.
4.3. Определение предельных отклонений (правила прочтения)
4.3.1. Общие положения
Определение предельных отклонений для заданного размера с допуском, например перевод класса допуска в предельные отклонения, выполняют с помощью:
4.3.2. Определение предельных отклонений по таблицам настоящего стандарта
4.3.2.1. Общие положения
Обозначение класса допуска состоит из идентификатора основного отклонения и номера квалитета.
Пример - Размер отверстия с допуском: 90F7

, размер вала с допуском: 90f7

,
где 90 - номинальный размер;
F - идентификатор основного отклонения для отверстия;
f - идентификатор основного отклонения для вала;
7 - номер квалитета;

- требование прилегания по ИСО 14405-1 (при необходимости).
Обозначение квалитета формируют из номера квалитета (ITx, где x - номер квалитета).
Числовое значение стандартного допуска находят в
таблице 1 по номинальному размеру и обозначению квалитета.
Пример 1 - Размер отверстия с допуском: 90F7

, размер вала с допуском: 90f7

.
Номер квалитета - 7, следовательно, обозначение квалитета - IT7.
Числовое значение стандартного допуска находят в
таблице 1 на пересечении строки с интервалом размеров свыше 80 до 120 мм включительно с колонкой квалитета IT7.
Следовательно, числовое значение стандартного допуска составляет 35 мкм.
Пример 2 - Размер отверстия с допуском: 28P9

.
Номер квалитета - 9, следовательно, обозначение квалитета - IT9.
Числовое значение стандартного допуска находят в
таблице 1 на пересечении строки с интервалом размеров свыше 18 до 30 мм включительно с колонкой квалитета IT9.
Следовательно, числовое значение стандартного допуска составляет 52 мкм.
4.3.2.3. Положение интервала допуска
Основное отклонение (верхнее или нижнее предельное отклонение) находят в
таблицах 2 и
3 или в
таблицах 4 и
5 по номинальному размеру и идентификатору основного отклонения.
Пример 1 - Размер отверстия с допуском: 90F7

.
Идентификатор основного отклонения - F, следовательно, речь идет об отверстии и применении
таблицы 2.
В
таблице 2 на пересечении строки с интервалом размеров "свыше 80 до 100 мм" с графой "F" находят числовое значение нижнего предельного отклонения EI: +36 мкм.
Пример 2 - Размер вала с допуском: 90f7

.
Идентификатор основного отклонения - f, следовательно, речь идет о вале и применении
таблицы 4.
В
таблице 4 на пересечении строки с интервалом размеров "свыше 80 до 100 мм" с графой "f" находят числовое значение верхнего предельного отклонения es: -36 мкм.
Пример 3 - Размер отверстия с допуском: 28P9

.
Идентификатор основного отклонения - P, следовательно, речь идет об отверстии и применении
таблицы 3.
В
таблице 3 на пересечении строки с интервалом размеров "свыше 24 до 30 мм" с графой "P" находят числовое значение верхнего предельного отклонения ES: -22 мкм.
4.3.2.4. Предельные отклонения
Одно из предельных отклонений (верхнее или нижнее) является основным и определяется согласно
4.3.2.3. Другое предельное отклонение (верхнее или нижнее) получают путем вычисления по формулам, приведенным на
рисунках 8 и
9, применяя числовые значения стандартных допусков (см.
таблицу 1).
Пример 1 - Размер отверстия с допуском: 90F7

.
Нижнее предельное отклонение EI = +36 мкм (см.
4.3.2.3).
Верхнее предельное отклонение ES = EI + IT = +36 + 35 = +71 мкм (по формуле на
рисунке 8).
Следовательно,

.
Пример 2 - Размер вала с допуском: 90f7

.
Верхнее предельное отклонение es = -36 мкм (см.
4.3.2.3).
Нижнее предельное отклонение ei = es - IT = -36 - 35 = -71 мкм (по формуле на
рисунке 9).
Следовательно,

.
Пример 3 - Размер отверстия с допуском: 28P9

.
Верхнее предельное отклонение ES = -22 мкм (см.
4.3.2.3).
Нижнее предельное отклонение EI = ES - IT = -22 - 52= -74 мкм (по формуле на
рисунке 8).
Следовательно,

.
4.3.2.5. Определение предельных отклонений с применением

При вычислении значений основных отклонений K, M и N для квалитетов до 8-го включительно и основных отклонений от P до ZC для квалитетов до 7-го включительно следует применять значения поправок

, приведенные в
таблице 3.
Пример 1 - Размер отверстия с допуском: 20K7

.
IT7 = 21 мкм (для интервала размеров свыше 18 до 30 мм включительно по
таблице 1).

(для интервала размеров свыше 18 до 24 мм включительно для квалитета IT7 по
таблице 3).
Для K (для интервала размеров свыше 18 до 24 мм включительно):
- верхнее предельное отклонение

;
- нижнее предельное отклонение EI = ES - IT = +6 - 21 = -15 мкм.
Следовательно,

.
Пример 2 - Размер отверстия с допуском: 40U6.
IT6 = 16 мкм (для интервала размеров свыше 30 до 50 мм включительно по
таблице 1).

(для интервала размеров свыше 30 до 40 мм включительно для квалитета IT6 по
таблице 3).
Для U (для интервала размеров свыше 30 до 40 мм включительно):
- верхнее предельное отклонение

;
- нижнее предельное отклонение EI = ES - IT = -55 - 16 = -71 мкм.
Следовательно,

.
Примечание. Требование прилегания в приведенной в
примере 2 посадке с натягом не было указано намеренно. Для посадок с большим натягом это требование не является необходимым.
4.3.3. Определение предельных отклонений по
ГОСТ 25347
Предельные отклонения для размера с допуском можно получить из таблиц
ГОСТ 25347.
Пример - Указанный размер с допуском: 60M6

.
Предельные отклонения находят в
таблице 9 ГОСТ 25347 на пересечении строки с интервалом размеров свыше 50 мм до 80 мм включительно с графой, соответствующей квалитету 6.
Следовательно, предельные отклонения следующие:
- верхнее предельное отклонение ES = -5 мкм;
- нижнее предельное отклонение EI = -24 мкм.
Следовательно,

.
4.4. Выбор класса допуска
По возможности класс допуска выбирают из тех классов допусков отверстий и валов, которые изображены на
рисунках 10 и
11 соответственно. В первую очередь следует применять предпочтительные классы допусков (их обозначение заключено в рамки).
Примечание 1. Система допусков и посадок предоставляет возможность выбора из широкого набора классов допусков (см.
таблицы 2 -
5), даже если этот выбор ограничен классами допусков, приведенными в
ГОСТ 25347. Ограничение в выборе класса допуска позволяет избежать существования избыточного числа инструмента и калибров, применяемых при изготовлении изделий.
Примечание 2. Классы допусков на
рисунках 10 и
11 являются классами допусков общего применения, когда не требуется выбор из специальных классов допусков (например, для шпоночного паза).
Примечание 3. В случае необходимости отклонения js и JS могут быть заменены на отклонения j и J соответственно.
Система посадок базируется на системе допусков ИСО на линейные размеры, согласно которой устанавливают допуск на размер размерного элемента. Классы допусков размеров двух сопрягаемых деталей, участвующих в посадке, предпочтительно выбирать в соответствии с рекомендациями
4.4 и
5.2.
5.2. Общие сведения о посадках
5.2.1. Обозначение посадок на чертежах (правила написания)
Обозначение посадки сопрягаемых элементов состоит из:
- общего номинального размера;
- класса допуска отверстия;
- класса допуска вала.
5.2.2. Установление предельных отклонений (правила прочтения)
Для расшифровки обозначения посадки (например, 52 H7/g6

) применяют правила, изложенные в
4.3. Примеры определения зазоров и натягов приведены в
Приложении B.
5.3.1. Общие положения
Существуют два способа выбора посадки. Посадку назначают, ориентируясь на известные соединения с аналогичными условиями работы (см.
5.3.4), или определяют по результатам вычисления допустимых зазоров и/или натягов исходя из функциональных требований к сопрягаемым деталям и возможности их изготовления (см.
5.3.5).
5.3.2. Практические рекомендации по выбору посадки
На функционирование посадки оказывают влияние не только размеры сопрягаемых деталей и их допуски, но и другие параметры. Для полной технической оценки посадки необходимо принимать во внимание и иные влияющие факторы. Такими факторами могут быть, например, отклонения формы, ориентации и месторасположения, шероховатость поверхности, плотность материала, термическая обработка и материал деталей, образующих посадку.
Для того чтобы посадка выполняла свое функциональное назначение, в дополнение к допускам размеров сопрягаемых размерных элементов могут потребоваться допуски формы, ориентации и месторасположения.
Дополнительные сведения о выборе посадки приведены в
Приложении B.
5.3.3. Выбор системы посадок
Сначала необходимо выбрать систему, в которой будет назначена посадка - "система отверстия" или "система вала". Так как технических отличий, касающихся выполнения деталями своих функций, при этом не существует, то выбор системы посадок должен быть сделан исходя из экономических соображений.
Для общего применения выбирают систему отверстия. Выбор системы отверстия позволяет избежать чрезмерного числа инструмента (например, протяжек) и калибров, применяемых при изготовлении изделия.
Систему вала следует применять в экономически обоснованных случаях (например, если на одном гладком валу необходимо установить несколько деталей с отверстиями, имеющими разные отклонения, то применение системы вала позволит упростить обработку вала).
5.3.4. Назначение посадки по аналогичным соединениям
В выбранной системе посадок квалитеты и основное отклонение (положение интервала допуска) отверстия и вала следует назначать таким образом, чтобы обеспечить минимальный и максимальный зазоры (или натяги), которые наилучшим образом удовлетворяют требуемым условиям эксплуатации.
Для предпочтительного применения из всей совокупности возможных посадок выделено небольшое их число. Посадки предпочтительного применения в системе отверстия и в системе вала приведены на
рисунках 12 и
13 соответственно. По экономическим соображениям, в первую очередь, следует выбирать те из посадок, обозначение которых на этих рисунках заключены в рамки.
Рисунок 12. Предпочтительные посадки в системе отверстия
Рисунок 13. Предпочтительные посадки в системе вала
5.3.5. Определение посадки путем расчета
В некоторых случаях существует необходимость вычисления допустимых зазоров и/или натягов (исходя из функциональных требований к сопрягаемым деталям). Зазоры и/или натяги в посадке и диапазон посадки получают путем таких вычислений, результаты которых затем преобразуют в предельные отклонения и (если это возможно) в классы допуска.
Дополнительные сведения об определении классов допуска приведены в
B.4 (Приложение B).
(справочное)
ДОПОЛНИТЕЛЬНЫЕ СВЕДЕНИЯ О СИСТЕМЕ ДОПУСКОВ
И ПОСАДОК ИСО И УСТАРЕВШИЕ ПРАВИЛА
A.1. Линейный размер по умолчанию в прежней практике
В международном стандарте ИСО 286-1:1998 определение диаметров с допуском, обозначение которого содержит класс допуска ИСО (например,

), было по умолчанию основано на правиле Тейлора (размер по сопряжению ограничен пределом максимума материала, а любой местный диаметр ограничен пределом минимума материала), что соответствовало требованиям
[1].
Это означает, что для любого размерного элемента с допуском, обозначение которого содержит класс допуска ИСО, наличие требования прилегания подразумевалось по умолчанию без указания на чертеже, даже если элемент, в отношении размера которого установлен допуск, не образует посадку.
Пример - Для цилиндрической головки винта с указанным размером

требование прилегания предъявлялось автоматически.
A.2. Подробная интерпретация размера с допуском
Интерпретация размера с допуском по международным стандартам ИСО 286-1:1998 и
[1] в пределах заданной длины была следующая:
a) для отверстий
Диаметр вписанного цилиндра (наибольшего воображаемого цилиндра, который может быть вписан в отверстие так, чтобы плотно контактировать с наиболее выступающими точками поверхности) не должен быть меньше предела максимума материала.
Любой местный диаметр отверстия не должен быть больше предела минимума материала;
b) для валов
Диаметр описанного цилиндра (наименьшего воображаемого цилиндра, который может быть описан вокруг вала так, чтобы плотно контактировать с наиболее выступающими точками поверхности) не должен быть больше предела максимума материала.
Любой местный диаметр вала не должен быть меньше предела минимума материала.
Эти интерпретации означают, что если размер размерного элемента везде равен пределу максимума материала, то элемент должен иметь идеальную цилиндрическую форму.
Теперь подобная интерпретация имеет место только тогда, когда на чертеже размер с допуском дополнен требованием прилегания (символ

согласно международному стандарту ИСО 14405-1).
A.3. Изменение в определении линейного размера по умолчанию
Определение линейного размера по умолчанию изменено согласно международному стандарту ИСО 14405-1 на местный размер между двумя противоположными точками. Определение местного размера выявленного элемента приведено в
ГОСТ 31254.
Для указания на чертеже какого-либо иного требования установленный допуск должен быть дополнен (по ИСО 14405-1) модификатором сопрягаемого размера, например символом требования прилегания (правило Тейлора по стандарту
[1]).
Пример -


.
(справочное)
ПРИМЕРЫ ОПРЕДЕЛЕНИЯ ПОСАДОК И КЛАССОВ ДОПУСКА
B.1. Общие положения
Настоящее приложение содержит примеры применения системы допусков и посадок ИСО при определении зазоров и/или натягов в посадке, а также примеры определения класса допуска безотносительно посадок.
B.2. Расчет посадок по предельным отклонениям
Исходя из определений зазора и натяга, вычисление наименьшего зазора и наибольшего натяга выполняют по одной и той же формуле
нижний предельный размер отверстия - верхний предельный размер вала.
Для вычисления наибольшего зазора и наименьшего натяга применяют формулу:
верхний предельный размер отверстия - нижний предельный размер вала.
Результат вычисления имеет положительное или отрицательное значение. Из определений следует, что зазоры положительны, а натяги отрицательны.
После интерпретации результатов вычислений берут абсолютные значения и рассматривают их совместно в качестве характеристики зазоров и натягов.
Пример 1 - Расчет посадки:

ES = +0,039 мм, следовательно, верхний предельный размер = 36,039 мм;
EI = 0, следовательно, нижний предельный размер = 36,000 мм.
es = -0,025 мм, следовательно, верхний предельный размер = 35,975 мм;
ei = -0,050 мм, следовательно, нижний предельный размер = 35,950 мм.
Следовательно:
нижний предельный размер отверстия - верхний предельный размер вала = 36,000 - 35,975 = 0,025 мм;
верхний предельный размер отверстия - нижний предельный размер вала = 36,039 - 35,950 = 0,089 мм.
Оба результата вычислений имеют положительные значения. Это означает, что посадка имеет наибольший зазор 0,089 мм, наименьший зазор 0,025 мм и является посадкой с зазором.
Пример 2 - Расчет посадки:

ES = +0,025 мм, следовательно, верхний предельный размер = 36,025 мм;
EI = 0, следовательно, нижний предельный размер = 36,000 мм.
es = +0,033 мм, следовательно, верхний предельный размер = 36,033 мм;
ei = +0,017 мм, следовательно, нижний предельный размер = 36,017 мм.
Следовательно:
нижний предельный размер отверстия - верхний предельный размер вала = 36,000 - 36,033 = -0,033 мм;
верхний предельный размер отверстия - нижний предельный размер вала = 36,025 - 36,017 = +0,008 мм.
Результаты вычислений имеют положительное и отрицательное значения. Это означает, что посадка имеет наибольший зазор 0,008 мм, наибольший натяг 0,033 мм и является переходной посадкой.
Пример 3 - Расчет посадки:

ES = +0,025 мм, следовательно, верхний предельный размер = 36,025 мм;
EI = 0, следовательно, нижний предельный размер = 36,000 мм.
es = +0,059 мм, следовательно, верхний предельный размер = 36,059 мм;
ei = +0,043 мм, следовательно, нижний предельный размер = 36,043 мм.
Следовательно:
нижний предельный размер отверстия - верхний предельный размер вала = 36,000 - 36,059 = -0,059 мм;
верхний предельный размер отверстия - нижний предельный размер вала = 36,025 - 36,043 = -0,018 мм.
Оба результата вычислений имеют отрицательные значения. Это означает, что посадка имеет наибольший натяг 0,059 мм, наименьший натяг 0,018 мм и является посадкой с натягом.
B.3. Расчет диапазона посадки
Диапазон посадки, исходя из интерпретации результатов вычислений, определяют по формулам (см.
3.3.4):
диапазон посадки с зазором = наибольший зазор - наименьший зазор;
диапазон переходной посадки = наибольший зазор + наибольший натяг;
диапазон посадки с натягом = наибольший натяг - наименьший натяг.
диапазон посадки с зазором (пример 1) = 0,089 мм - 0,025 мм = 0,064 мм;
диапазон переходной посадки (пример 2) = 0,008 мм + 0,033 мм = 0,041 мм;
диапазон посадки с натягом (пример 3) = 0,059 мм - 0,018 мм = 0,041 мм.
наибольший зазор |  ,  |
наименьший зазор | d = 0,025 мм |
диапазон посадки с зазором | |
диапазон переходной посадки | |
диапазон посадки с натягом | |
наибольший натяг |  ,  |
наименьший натяг | g = 0,018 мм |
a - зазоры; b - натяги
Рисунок B.1. Диапазон посадки
B.4. Определение класса допуска для рассчитанных посадок
Для перевода рассчитанной посадки в предельные отклонения и (если есть возможность) в класс допуска сначала определяют значения допусков по
таблице 1 настоящего стандарта по следующему правилу - расчетный диапазон посадки должен быть больше или равен сумме значений допусков отверстия и вала.
Пример. Рассчитанная посадка:
- номинальный размер = 40 мм;
- расчетный наименьший зазор = 24 мкм;
- расчетный наибольший зазор = 92 мкм;
- расчетный диапазон посадки с зазором = 68 мкм.
Сумма двух выбранных значений допуска должна быть меньше или равна расчетному диапазону посадки.
Одна вторая расчетного диапазона посадки равна 34 мкм. По
таблице 1 в строке с интервалом размеров свыше 30 до 50 мм включительно значение 34 мкм располагается между значениями 25 мкм и 39 мкм. Сумма табличных значений равна 64 мкм (меньше чем 68 мкм).
Следовательно, один из допусков равен 25 мкм и соответствует квалитету IT7, второй из допусков равен 39 мкм и соответствует квалитету IT8.
B.4.2. Определение отклонений и класса допуска
После определения значений допусков размерных элементов принимают решение о выборе для посадки системы отверстия или системы вала или других сочетаний основных отклонений (см.
5.3.3).
В приведенном ниже примере выбрана система отверстия. Поэтому идентификатор основного отклонения отверстия "H" и для определения класса допуска применяют
таблицу 2.
Пример - Рассчитанная посадка (см. пример
B.4.1):
- номинальный размер = 40 мм;
- выбранный квалитет отверстия - IT8 (IT = 39 мкм);
- выбранный квалитет вала - IT7 (IT = 25 мкм);
- расчетный наименьший зазор 24 мкм = 0,024 мм.
Выбранная система посадок - система отверстия (идентификатор основного отклонения отверстия - H).
a) Определение класса допуска отверстия
Верхнее предельное отклонение ES = EI + IT = 0 + 39 = +39 мкм.
Следовательно:
- нижний предельный размер отверстия равен 40 мм;
- верхний предельный размер отверстия равен 40,039 мм;
- отверстие имеет класс допуска H8, размер элемента 40H8.
b) Определение класса допуска вала
По определению наименьшего зазора (см.
3.3.1.1): наименьший зазор = нижний предельный размер отверстия - верхний предельный размер вала. Следовательно, верхний предельный размер вала = нижний предельный размер отверстия - наименьший зазор.
Верхний предельный размер вала = 40 мм - 0,024 мм = 39,976 мм.
По определению верхнего предельного отклонения (см.
3.2.5.1): верхнее предельное отклонение = верхний предельный размер - номинальный размер.
Верхнее предельное отклонение es = 39,976 - 40 = -0,024 мм = -24 мкм.
В строке с интервалом размеров свыше 30 до 50 мм включительно
таблицы 4 в графе "f" находят ближайшее к расчетному значение es, равное -25 мкм.
Следовательно:
- принятое верхнее предельное отклонение es = -0,025 мм соответствует идентификатору основного отклонения "f";
- нижнее предельное отклонение ei = es - IT7 = -25 - 25 = -50 мкм;
- вал имеет класс допуска f7, размер элемента 40f7.
c) Контроль посадки
Обозначение посадки 40H8/f7.
- наименьший зазор равен 25 мкм;
- наибольший зазор равен 89 мкм.
Вычисления, основанные на функциональных требованиях к посадке, дали следующие результаты:
- расчетный наименьший зазор равен 24 мкм;
- расчетный наибольший зазор равен 92 мкм.
Инженер-разработчик должен решить, допустимы ли отклонения от первоначальных расчетных значений зазоров в посадке или наибольший и наименьший зазоры должны быть соблюдены точно.
Для рассмотренной в примерах
раздела B.4 посадки в первом случае размер вала указывают с классом допуска [40f7 или

], во втором - с индивидуальными отклонениями

. Размер отверстия в любом случае указывают с классом допуска [40H8 или

].
(справочное)
ПРИЛОЖЕНИЕ C ИСО 286-1:2010, НЕ ВКЛЮЧЕННОЕ
В НАСТОЯЩИЙ СТАНДАРТ
(справочное)
СВЯЗЬ С МАТРИЧНОЙ МОДЕЛЬЮ GPS
C.1. Общие сведения
Более подробно о матричной модели GPS см. стандарт
[4].
C.2. Информация о стандарте и его применении
Настоящая часть международного стандарта ИСО 286 устанавливает кодовую систему допусков, применяемую при указании размеров номинальных полных размерных элементов, а также определяет основные положения этой системы и связанные с ней термины и определения. Стандарт также содержит термины и определения посадок и поясняет понятия "основное отверстие" и "основной вал".
C.3. Положение в матричной модели GPS
Настоящий международный стандарт является общим стандартом GPS (см.
[4]); его положения следует учитывать в связующих звеньях 1 и 2 цепочек стандартов на размеры в общей матрице GPS, как это показано на рисунке C.1.
Рисунок C.1. Положение в матричной модели GPS
C.4. Связанные стандарты
Связанные стандарты являются стандартами цепочек стандартов, выделенных на рисунке C.1.
(справочное)
ПЕРЕЧЕНЬ ТЕХНИЧЕСКИХ ОТКЛОНЕНИЙ
Структурный элемент | Модификация |
Раздел 2. Нормативные ссылки | Ссылка на ИСО 286-2:2010 "Геометрические характеристики изделий (GPS). Система допусков ИСО на линейные размеры. Часть 2. Таблицы стандартных классов допусков и предельных отклонений отверстий и валов" заменена ссылкой на ГОСТ 25347 (ISO 286-2:2010) <1> "Основные нормы взаимозаменяемости. Характеристики изделий геометрические. Система допусков на линейные размеры. Ряды допусков, предельные отклонения отверстий и валов". Ссылки на ИСО 14660-1:1999 "Геометрические характеристики изделий. Геометрические элементы. Часть 1: Общие термины и определения" и ИСО 14660-2:1999 "Геометрические характеристики изделий. Геометрические элементы. Часть 2: Выявленная средняя линия цилиндра и конуса, выявленная средняя поверхность, местный размер выявленного элемента" заменены ссылкой на ГОСТ 31254-2004 (ИСО 14660-1:1999, ИСО 14660-1:1999) <1> "Основные нормы взаимозаменяемости. Геометрические элементы. Общие термины и определения" |
<1> Степень соответствия - MOD. |
Примечание. Остальные технические отклонения идентифицированы и разъяснены в предисловии к настоящему стандарту.
| ISO/R1938:1971 | ISO system of limits and fits - Part II. Inspection of plain workpieces |
| ISO 1101:2012 | Geometrical Product Specifications (GPS) - Geometrical tolerancing - Tolerances of form, orientation, location and run-out |
| ISO 17450-1:2011 | Geometrical product specifications (GPS) - General concepts - Part 1: Model for geometrical specification and verification |
| ISO/TR 14638:1995 | Geometrical product specifications (GPS) - Masterplan |