Главная // Актуальные документы // ГОСТ (Государственный стандарт)СПРАВКА
Источник публикации
М.: ФГБУ "РСТ", 2022
Примечание к документу
Документ включен в
Перечень международных и региональных (межгосударственных) стандартов, а в случае их отсутствия - национальных (государственных) стандартов, в результате применения которых на добровольной основе обеспечивается соблюдение требований технического
регламента Таможенного союза "О безопасности низковольтного оборудования" (ТР ТС 004/2011) и в
Перечень международных и региональных (межгосударственных) стандартов, а в случае их отсутствия - национальных (государственных) стандартов, содержащих правила и методы исследований (испытаний) и измерений, в том числе правила отбора образцов, необходимые для применения и исполнения требований технического
регламента Таможенного союза "О безопасности низковольтного оборудования" (ТР ТС 004/2011) и осуществления оценки соответствия объектов технического регулирования (
Решение Коллегии Евразийской экономической комиссии от 11.05.2023 N 55).
Отдельные положения данного документа включены в
Перечень документов в области стандартизации, в результате применения которых на добровольной основе обеспечивается соблюдение требований Федерального
закона от 22.07.2008 N 123-ФЗ "Технический регламент о требованиях пожарной безопасности" (
Приказ Росстандарта от 13.02.2023 N 318).
Текст данного документа приведен с учетом
поправки, опубликованной в "ИУС", N 3, 2023.
Документ
введен в действие с 01.01.2023.
Название документа
"ГОСТ IEC 60320-1-2021. Межгосударственный стандарт. Соединители приборные бытового и аналогичного назначения. Часть 1. Общие требования"
(введен в действие Приказом Росстандарта от 20.07.2022 N 658-ст)
"ГОСТ IEC 60320-1-2021. Межгосударственный стандарт. Соединители приборные бытового и аналогичного назначения. Часть 1. Общие требования"
(введен в действие Приказом Росстандарта от 20.07.2022 N 658-ст)
агентства по техническому
регулированию и метрологии
от 20 июля 2022 г. N 658-ст
МЕЖГОСУДАРСТВЕННЫЙ СТАНДАРТ
СОЕДИНИТЕЛИ ПРИБОРНЫЕ БЫТОВОГО И АНАЛОГИЧНОГО НАЗНАЧЕНИЯ
ЧАСТЬ 1
ОБЩИЕ ТРЕБОВАНИЯ
Appliance couplers for household and similar
general purposes. Part 1. General requirements
(IEC 60320-1:2015, IDT)
ГОСТ IEC 60320-1-2021
Дата введения
1 января 2023 года
Цели, основные принципы и общие правила проведения работ по межгосударственной стандартизации установлены
ГОСТ 1.0 "Межгосударственная система стандартизации. Основные положения" и
ГОСТ 1.2 "Межгосударственная система стандартизации. Стандарты межгосударственные, правила и рекомендации по межгосударственной стандартизации. Правила разработки, принятия, обновления и отмены"
1 ПОДГОТОВЛЕН Научно-производственным республиканским унитарным предприятием "Белорусский государственный институт стандартизации и сертификации" (БелГИСС) на основе собственного перевода на русский язык англоязычной версии стандарта, указанного в
пункте 5
2 ВНЕСЕН Государственным комитетом по стандартизации Республики Беларусь
3 ПРИНЯТ Межгосударственным советом по стандартизации, метрологии и сертификации (протокол от 30 июня 2021 г. N 141-П)
За принятие проголосовали:
Краткое наименование страны по МК (ИСО 3166) 004-97 | Код страны по МК (ИСО 3166) 004-97 | Сокращенное наименование национального органа по стандартизации |
Армения | AM | ЗАО "Национальный орган по стандартизации и метрологии" Республики Армения |
Беларусь | BY | Госстандарт Республики Беларусь |
Казахстан | KZ | Госстандарт Республики Казахстан |
Киргизия | KG | Кыргызстандарт |
Россия | RU | Росстандарт |
Таджикистан | TJ | Таджикстандарт |
Узбекистан | UZ | Узстандарт |
4
Приказом Федерального агентства по техническому регулированию и метрологии от 20 июля 2022 г. N 658-ст межгосударственный стандарт ГОСТ IEC 60320-1-2021 введен в действие в качестве национального стандарта Российской Федерации с 1 января 2023 г.
5 Настоящий стандарт идентичен международному стандарту IEC 60320-1:2015 "Соединители электроприборов бытового и аналогичного общего назначения. Часть 1. Общие требования" ("Appliance couplers for household and similar general purposes. Part 1: General requirements", IDT).
Изменения и технические поправки к указанному международному стандарту, принятые после его официальной публикации, внесены в текст настоящего стандарта и выделены двойной вертикальной линией, расположенной на полях напротив соответствующего текста, а обозначение и год принятия изменения (технической поправки) приведены в скобках после соответствующего текста.
Международный стандарт разработан подкомитетом SC 23B "Штепсели, розетки и выключатели" Технического комитета IEC/TC 23 "Электрооборудование" Международной электротехнической комиссии (IEC).
При применении настоящего стандарта рекомендуется использовать вместо ссылочных международных стандартов соответствующие им межгосударственные стандарты, сведения о которых приведены в дополнительном
приложении ДА
Информация о введении в действие (прекращении действия) настоящего стандарта и изменений к нему на территории указанных выше государств публикуется в указателях национальных стандартов, издаваемых в этих государствах, а также в сети Интернет на сайтах соответствующих национальных органов по стандартизации.
В случае пересмотра, изменения или отмены настоящего стандарта соответствующая информация будет опубликована на официальном интернет-сайте Межгосударственного совета по стандартизации, метрологии и сертификации в каталоге "Межгосударственные стандарты"
Настоящий стандарт устанавливает общие требования к двухполюсным приборным соединителям с заземляющим контактом или без него для подключения электрических устройств бытового и аналогичного назначения к источнику питания.
Настоящий стандарт также применяют для приборных вводов/приборных выводов, интегрированных или встроенных в устройства.
Номинальное напряжение не превышает 250 В (а.с.), а номинальный ток - 16 А.
Приборные соединители, соответствующие настоящему стандарту, пригодны для работы при температуре окружающей среды, не превышающей 40 °C, их средняя температура за 24 ч не должна превышать 35 °C, при этом нижний предел температуры окружающего воздуха составляет минус 5 °C.
Приборные соединители устройства не подходят для:
- использования вместо вилочных и розеточных систем в соответствии с IEC 60884-1;
- использования вместо устройств для подключения светильников (DCL) согласно IEC 61995 или для подключения светильников (LSC).
Примечание - Требования для постоянного тока находятся на рассмотрении.
В настоящем стандарте использованы нормативные ссылки на следующие стандарты [для датированных ссылок применяют только указанное издание ссылочного стандарта, для недатированных - последнее издание (включая все изменения)]:
IEC 60068-2-31, Environmental testing - Part 2-31: Tests - Test Ec: Rough handling shocks, primarily for equipment-type specimens (Испытание на воздействие внешних факторов. Часть 2-31. Испытания. Испытания Ec. Удары, толчки в результате небрежного обращения в основном для образцов оборудования)
IEC 60068-2-60, Environmental testing - Part 2-60: Tests - Test Ke: Flowing mixed gas corrosion test (Испытание на воздействие внешних факторов. Часть 2-60. Испытания. Испытания Ke. Коррозионные испытания в потоке смешанных газов)
IEC 60068-2-75, Environmental testing - Part 2-75: Tests - Test Eh: Hammer tests (Испытание на воздействие внешних факторов. Часть 2-75. Испытания. Испытание Eh. Испытание молотком)
IEC 60112, Method for the determination of the proof and the comparative tracking indices of solid insulating materials (Метод определения контрольного и сравнительного индексов трекингостойкости твердых изоляционных материалов)
IEC 60227 (all parts), Polyvinyl chloride insulated cables of rated voltages up to and including 450/750 V (Кабели с поливинилхлоридной изоляцией на номинальное напряжение до 450/750 В включительно)
IEC 60245 (all parts), Rubber insulated cables - Rated voltages up to and including 450/750 V (Кабели с резиновой изоляцией на номинальное напряжение до 450/750 В включительно)
IEC 60320 (all parts), Appliance couplers for household and similar general purposes (Соединители электрические бытового и аналогичного назначения)
IEC 60320-3:2014, Appliance couplers for household and similar general purposes - Part 3: Standard sheets and gauges) (Разветвители устройства для домашних и подобных общих целей. Часть 3. Стандартные листы и приборы)
IEC 60417, Graphical symbols for use on equipment (available from: http://www.graphicalsymbols. Info/equipment) (Графические символы на оборудование)
IEC 60664-1:2007 <*>, Insulation coordination for equipment within low voltage systems - Part 1: Principles, requirements and tests (Координация изоляции для оборудования в низковольтных системах. Часть 1. Принципы, требования и испытания)
--------------------------------
<*> Заменен на IEC 60664-1:2020. Однако для однозначного соблюдения требования настоящего стандарта, выраженного в датированной ссылке, рекомендуется использовать только указанное в этой ссылке издание.
IEC 60695-2-10:2000 <**>, Fire hazard testing - Part 2-10: Glowing/hot-wire based test methods - Glow-wire apparatus and common test procedure (Испытание на пожароопасность. Часть 2-10. Методы испытаний раскаленной/горячей проволокой. Оборудование для испытания с раскаленной проволокой и общий порядок проведения испытания)
--------------------------------
<**> Заменен на IEC 60695-2-10:2013. Однако для однозначного соблюдения требования настоящего стандарта, выраженного в датированной ссылке, рекомендуется использовать только указанное в этой ссылке издание.
IEC 60695-2-11:2000 <***>, Fire hazard testing - Part 2-11: Glowing/hot-wire based test methods - Glow-wire flammability test method for end-products (GWEPT) (Испытание на пожароопасность. Часть 2-11. Методы испытаний раскаленной/горячей проволокой. Испытание конечной продукции на воспламеняемость раскаленной проволокой)
--------------------------------
<***> Заменен на IEC 60695-2-11:2014. Однако для однозначного соблюдения требования настоящего стандарта, выраженного в датированной ссылке, рекомендуется использовать только указанное в этой ссылке издание.
IEC 60695-2-12:2000 <*4>, Fire hazard testing - Part 2-12: Glowing/hot-wire based test methods - Glow-wire flammability index (GWFI) test method for materials (Испытание на пожароопасность. Часть 2-12. Методы испытаний раскаленной/горячей проволокой. Методы испытаний на воспламеняемость раскаленной проволокой)
--------------------------------
<*4> Заменен на IEC 60695-2-12:2010. Однако для однозначного соблюдения требования настоящего стандарта, выраженного в датированной ссылке, рекомендуется использовать только указанное в этой ссылке издание.
IEC 60695-2-13:2000 <*5>, Fire hazard testing - Part 2-13: Glowing/hot-wire based test methods - Glow-wire ignition temperature (GWIT) test method for materials (Испытание на пожароопасность. Часть 2-13. Методы испытаний раскаленной/горячей проволокой. Методы испытаний материалов на возгорание раскаленной проволокой)
--------------------------------
<*5> Заменен на IEC 60695-2-13:2010. Однако для однозначного соблюдения требования настоящего стандарта, выраженного в датированной ссылке, рекомендуется использовать только указанное в этой ссылке издание.
IEC 60695-10-2, Fire hazard testing - Part 10-2: Abnormal heat - Ball pressure test method (Испытание на пожароопасность. Часть 10-2. Чрезмерный нагрев. Испытание давлением шарика)
IEC 60730-2-11, Automatic electrical controls for household and similar use - Part 2-11: Particular requirements for energy regulators (Автоматические электрические управляющие устройства бытового и аналогичного назначения. Часть 2-11. Частные требования к регуляторам энергии)
IEC 60999-1, Connecting devices - Electrical copper conductors - Safety requirements for screw-type and screwless-type clamping units - Part 1: General requirements and particular requirements for clamping units for conductors from 0,2 mm2 up to 35 mm2 (included) (Соединительные устройства. Требования безопасности к контактным зажимам. Часть 1. Требования к винтовым и безвинтовым контактным зажимам для соединения медных проводников с номинальным сечением от 0,2 до 35 мм2)
IEC 61032, Protection of persons and equipment by enclosures - Probes for verification (Защита людей и оборудования, обеспечиваемая оболочками. Щупы испытательные)
IEC 61058 (all parts), Switches for appliances (Выключатели для электроприборов)
В настоящем стандарте применены следующие термины с соответствующими определениями:
3.1 приборный соединитель (appliance coupler): Устройство, допускающее произвольное присоединение и отсоединение электроприбора или другого электрооборудования к источнику питания.
См. рисунок 1.
1 - штепсельная вилка;
2 - приборная вилка (см.
3.1.1);
3 - приборный ввод (см.
3.1.2);
4 - приборный вывод
(см.
3.2.2);
5 - вилочный соединитель (см.
3.2.1);
6 - шнур-соединитель (см.
3.5);
7 - взаимосоединяющий шнур (см.
3.6)
Рисунок 1 - Предполагаемое использование
приборных соединителей
3.1.1
приборная вилка (connector): Часть приборного соединителя, составляющая единое целое со шнуром, подключаемая к источнику питания или предназначенная для соединения с ним.
[ИСТОЧНИК: IEC 60050-442:1998, 442-07-02]
3.1.2
приборный ввод (appliance inlet): Часть приборного соединителя, интегрированная в качестве части устройства, встроенная в качестве отдельной части в устройство или оборудование или предназначенная для прикрепления к нему.
3.2 взаимоподключающий соединитель (interconnection coupler): Устройство, допускающее произвольное присоединение устройства или оборудования к гибкому кабелю, ведущему к другому устройству или оборудованию, и отсоединение от него.
Примечание - Взаимоподключающий соединитель - это тип приборного соединителя.
3.2.1
вилочный соединитель (plug connector): Часть взаимоподключающего соединителя, представляющая единое целое с гибким кабелем или предназначенная для присоединения к нему.
[ИСТОЧНИК: IEC 60050-442:1998, 442-07-09]
3.2.2
приборный вывод (appliance outlet): Часть взаимоподключающего соединителя, составляющая единое целое с устройством или оборудованием или встроенная в него и предназначенная для установки на нем, от которой получают питание.
[ИСТОЧНИК: IEC 60050-442:1998, 442-07-08]
3.3 аксессуар со сменяемым шнуром (rewirable accessory): Аксессуар, конструкция которого предусматривает замену питающего гибкого кабеля или шнура.
3.4 аксессуар с несменяемым шнуром (non-rewirable accessory): Аксессуар, конструкция которого образует единый блок с гибким питающим кабелем или шнуром после присоединения и сборки изготовителем аксессуара.
3.5
шнур-соединитель (cord set): Комплект, состоящий из гибкого кабеля или шнура, укомплектованного несменяемой штепсельной вилкой и несменяемой приборной вилкой, и предназначенный для присоединения электрического устройства или оборудования к сети питания.
3.6
взаимосоединяющий шнур (interconnection cord set): Устройство, состоящее из гибкого кабеля или шнура, укомплектованного одним несменяемым вилочным соединителем и одной несменяемой приборной вилкой, предназначенное для соединения между двумя электроприборами.
[ИСТОЧНИК: IEC 60050-442:1998, 442-07-06, терминологическая статья модифицирована: артикул "a" был заменен на слово "один" в двух местах и был дополнен ссылкой на
рисунок 1]
3.7 интегрированный приборный соединитель (integrated appliance coupler): Приборный соединитель, который состоит из корпуса устройства или оборудования и не может быть испытан отдельно.
3.8 встроенный приборный соединитель (incorporated appliance coupler): Приборный соединитель, встроенный или прикрепленный к устройству или оборудованию, но который может быть испытан отдельно.
3.9 основание штыря (base of a pin): Часть штыря, где он выступает из поверхности зацепления.
3.10 удерживающее устройство (retaining device): Механическое приспособление, которое удерживает приборную вилку в положении, когда она надлежащим образом контактирует с приборным вводом, и предотвращает ее непреднамеренное извлечение.
3.11 номинальное напряжение (rated voltage): Напряжение, установленное изготовителем для заданных условий оперирования аксессуара.
[ИСТОЧНИК: IEC 60050-442:1998, 442-01-03]
3.12 номинальный ток (rated current): Электрический ток, установленный изготовителем для заданных условий оперирования аксессуара.
[ИСТОЧНИК: IEC 60050-442:1998, 442-01-02]
3.13 вывод (terminal): Часть аксессуара, к которой присоединяют проводник и которая обеспечивает многократное соединение.
[ИСТОЧНИК: IEC 60050-442:1998, 442-06-05]
3.14 наконечник (termination): Часть аксессуара, к которой проводник присоединен постоянно.
[ИСТОЧНИК: IEC 60050-442:1998, 442-06-06]
3.15 резьбонарезающий винт (thread-cutting screw): Винт, который имеет прерывистую резьбу и при ввинчивании создает резьбу посредством удаления материала из полости.
[ИСТОЧНИК: IEC 60050-442:1998, 442-06-03]
3.16 типовое испытание (type test): Испытание на одном устройстве или более, проведенное для определенной конструкции, чтобы показать, что она удовлетворяет определенным характеристикам.
[ИСТОЧНИК: IEC 60050-811:1991, 811-10-04]
3.17 приемо-сдаточное испытание (routine test): Испытание, которому подвергается каждое индивидуальное устройство во время и/или после изготовления, для определения того, соответствует ли оно определенным критериям.
[ИСТОЧНИК: IEC 60050-811:1991, 811-10-05]
Приборные соединители должны иметь такую конструкцию, которая при нормальных условиях эксплуатации обеспечивала бы их надежную работу и была бы безопасной для потребителя и окружающей среды.
Нестандартные приборные соединители должны соответствовать всем требованиям безопасности настоящего стандарта и должны быть испытаны вместе со своим аналогом.
Проверку соответствия осуществляют путем проведения всех указанных испытаний.
Приборные соединители устройств в соответствии с настоящим стандартом не предназначены для использования в портативных устройствах, которые включены в IEC TC 23.
5 Общие примечания по испытаниям
Испытания проводят для подтверждения соответствия требованиям, изложенным в настоящем стандарте, там, где это применимо.
Испытания следующие:
- испытания типа должны проводиться на отобранных образцах каждого приспособления;
- приемо-сдаточные испытания должны проводиться изготовителем и на каждом приспособлении;
- если нет других указаний, испытания проводят в порядке, указанном в разделах настоящего стандарта;
- если нет других указаний, приборные соединители одного типа испытывают в соответствии с настоящим стандартом;
- приборный ввод и приборный вывод, интегрированные или встроенные в устройство или оборудование, испытывают в условиях использования оборудования, при этом количество испытуемых образцов соответствует количеству испытуемых образцов оборудования, требуемых согласно соответствующему стандарту на оборудование;
- считается, что приборные соединители соответствуют настоящему стандарту, если в одном из испытаний произошло не более одного отказа одного испытуемого образца. В случае отказа одного испытуемого образца в испытании данное испытание и предшествующие испытания, которые могли повлиять на результаты испытания, повторяют на другом наборе испытуемых образцов, причем они все должны соответствовать повторным испытаниям.
К испытаниям типа применимы 5.2 и
5.3. Количество образцов и последовательностей испытаний см. в
приложении C.
Если нет других указаний, образцы испытывают в состоянии поставки в нормальном рабочем режиме при температуре окружающей среды (20 +/- 5) °C; испытания проводят при напряжении переменного тока частотой 50 или 60 Гц. Испытания должны начинаться не ранее чем через 168 ч после изготовления.
Приборные вилки/вилочные соединители с несменяемым шнуром, кроме тех, которые составляют часть шнура-соединителя, должны иметь шнур длиной не менее 1 м.
Достаточно повторить только то испытание, которое образец не прошел, если:
a) произошел отказ одного из трех испытуемых образцов при испытании в соответствии с
разделами 19,
20 или
21, в этом случае испытания повторяют начиная с
раздела 16 и далее; или
b) произошел отказ одного из трех испытуемых образцов при испытании в соответствии с
разделом 22 или
23 (за исключением
22.3), в этом случае испытания повторяют начиная с
раздела 18 и далее.
Заказчик имеет право вместе с первой партией образцов предоставить дополнительную, которую следует использовать в случае отказа одного из образцов. Тогда в испытательном центре без повторного требования проводят испытания дополнительных образцов и отказываются от дальнейших испытаний только в том случае, если один из образцов не прошел испытания. Если дополнительная партия образцов не была поставлена одновременно, то не выдержанное одним образцом испытание может быть причиной браковки образцов.
5.4 Приемо-сдаточные испытания
6 Стандартные номинальные значения
6.1 Максимально допустимое номинальное напряжение - 250 В.
6.2 Максимально допустимый номинальный ток - 16 А.
Предпочтительными номинальными токами для приборных соединителей являются 0,2; 2,5; 6; 10 и 16 А.
Примечание - Для получения подробной информации о номинальных значениях стандартных типов см. IEC 60320-3.
7 Классификация приборных соединителей
7.1 В соответствии с максимальной температурой штырей у основания соответствующего приборного ввода или контактов соответствующего приборного вывода:
a) приборные соединители для холодных условий при температуре штырей не более 70 °C;
b) приборные соединители для горячих условий при температуре штырей не более 120 °C;
c) приборные соединители для очень горячих условий при температуре штырей не более 155 °C.
Примечание - Приборные соединители для горячих условий также могут использоваться в холодных условиях; приборные соединители для очень горячих условий могут также использоваться в холодных или горячих условиях.
7.2 В зависимости от типа подключаемого оборудования:
a) приборные соединители для оборудования класса I;
b) приборные соединители для оборудования класса II.
Примечание 1 - Описание классов см. в IEC 61140.
Примечание 2 - Приборные соединители для 0,2 А предназначены только для подключения небольшого ручного оборудования класса II, если это разрешено соответствующим стандартом на оборудование.
7.3 Приборные вилки/вилочные соединители согласно способу присоединения:
a) со сменяемым шнуром;
b) с несменяемым шнуром.
Приборные соединители должны иметь маркировку:
- наименование, товарный знак или идентификационный знак изготовителя или ответственного продавца;
- ссылка на тип.
Примечание - Ссылка на тип может быть номером каталога.
8.2 Дополнительная маркировка
Приборные вилки и вилочные соединители должны быть дополнительно маркированы:
- номинальный ток в амперах, кроме приборных вилок на 0,2 А;
- номинальное напряжение в вольтах;
- символ источника питания;
- маркировка, указанная в IEC 60999-1, для обозначения типа проводников, подходящих для безвинтовых выводов.
8.3 Приборные соединители для оборудования класса II
Приборные соединители для оборудования класса II не должны иметь маркировку для конструкции класса II.
8.4 Символы или буквенно-цифровые обозначения
Если используют символы или буквенно-цифровые обозначения, они должны быть следующими:
амперы - А;
вольты - В;
переменный ток - AC или ~;
защитное заземление

[IEC 60417-5019 (2006-08)] или PE;
заземление

[IEC 60417-5017 (2006-08)];
нейтральный вывод - N.
Для обозначения номинального тока и напряжения можно использовать только числовые значения, номинальное значение тока располагают перед или над номинальным значением напряжения и отделяют от него чертой. Символ рода тока должен помещаться сразу после маркировки номинального тока и напряжения.
Примечание 1 - Примеры маркировки тока, напряжения и характера питания:
10 А 250 В ~, или 10/250 ~, или

, или

Примечание 2 - Линии, образованные конструкцией инструмента, не рассматривают как часть маркировки.
8.5 Разборчивость маркировки
Маркировка в соответствии с
8.1 приборных вилок/вилочных соединителей должна быть легко заметна, когда приборная вилка/вилочный соединитель подключены и готовы к использованию.
Примечание - Термин "готов к использованию" не означает, что приборная вилка находится в зацеплении с приборным вводом.
8.6 Маркировка выводов и инструкции по подключению
В приборных вилках/вилочных соединителях со сменяемым шнуром без изменения полярности вывод маркируют следующим образом:
- заземляющий вывод - символ "

" или PE;
- нейтральный вывод - буква N.
В приборных вилках/вилочных соединителях с несменяемым шнуром, имеющим полярность, нет необходимости маркировать контакты, но жилы шнуров должны присоединяться в соответствии с требованиями
22.1.
Приборный ввод/приборный вывод, отличные от интегрированных или встроенных в устройство или оборудование, для использования с приборными вилками/вилочными соединителями в соответствии с 8.6 должны иметь маркировку выводов, соответствующую 8.6.
Приборные вилки/вилочные соединители со сменяемым шнуром должны поставляться со следующими инструкциями:
a) схема, показывающая способ соединения проводников, в частности избыточную длину заземляющего проводника;
b) схема, показывающая способ работы крепления шнура;
c) схема, показывающая длину спинки и изоляции, подлежащей снятию;
d) размеры и типы подходящего кабеля или шнура.
Примечание - Приборные вилки/вилочные соединители, поставляемые непосредственно производителю оборудования, не нуждаются в этих инструкциях для каждого блока, но должны быть доступны производителю оборудования.
Маркировка, предусмотренная настоящим стандартом, должна быть удобочитаемой и нестираемой.
Маркировка не должна наноситься на винты, шайбы или другие съемные детали.
Соответствие требованиям
8.1 -
8.7 проверяют осмотром и следующим испытанием.
Маркировку протирают вручную куском ткани, смоченной водой, в течение 15 с и затем в течение 15 с куском ткани, смоченной бензином.
После этого испытания и других испытаний стандарта маркировка должна оставаться разборчивой. Этикетки не должны легко сниматься, и не должно быть скручивания.
Маркировку, изготовленную формованием, прессованием или гравировкой, не подвергают этому испытанию.
9 Размеры и совместимость
Приборные соединители должны быть сконструированы и собраны таким образом, чтобы предотвратить непреднамеренное неправильное соединение.
Проверку соответствия требованию осуществляют осмотром и при возникновении сомнений испытанием в соответствии с 9.2 -
9.5.
9.2 Однополюсные соединения
Нельзя устанавливать однополюсные соединения между приборными вилками/приборным выводом и приборным вводом/вилочными соединителями.
Проверку соответствия требованию осуществляют испытанием вручную.
Не могут быть возможными следующие соединения:
- приборные вилки для оборудования класса II в приборный ввод/вилочный соединитель для оборудования класса I;
- вилочный соединитель для устройств класса I защиты в приборную вилку/приборный вывод устройств класса II защиты;
- приборные вилки для холодных условий в приборный ввод/вилочный соединитель для горячих или очень горячих условий;
- вилочный соединитель для холодных условий в приборный вывод для горячих или очень горячих условий;
- приборная вилка для горячих условий в приборный ввод/вилочный соединитель для очень горячих условий;
- вилочный соединитель для горячих условий в приборный вывод для очень горячих условий;
- приборные вилки в приборный ввод/вилочный соединитель, имеющие более высокий номинальный ток, чем приборная вилка;
- вилочный соединитель в приборный вывод, имеющий более низкий номинальный ток, чем вилочный соединитель.
Подключение приборной вилки или вилочного соединителя предпринимают в любой непреднамеренной конфигурации с использованием усилия 60 Н в течение 60 с.
Во время испытания штыри не должны контактировать.
Проверку соответствия требованию осуществляют путем осмотра, испытания вручную в соответствии с 9.4 и использования всех компонентов, поставляемых изготовителем.
9.4 Размеры стандартных приборных соединителей
Приборные соединители должны соответствовать стандартным листам согласно IEC 60320-3.
Размеры проверяют с помощью калибров или измерением. В случае сомнения используют соответствующие калибры.
9.5 Размеры нестандартных приборных соединителей
Отклонения от размеров, указанных в стандартных листах согласно IEC 60320-3, допускаются, если они не влияют на назначение и безопасность приборных соединителей, соответствующих стандартным листам, особенно в том, что касается взаимозаменяемости и незаменяемости.
Небольшие отклонения от размеров, указанных в стандартных листах, которые создают впечатление стандартного приборного соединителя и можно спутать со стандартными приборными соединителями, не допускаются.
Не допускается изменение конструкции, уменьшающее зажимную силу контактов.
Не допускается включение нестандартного приборного соединителя в дополнительную часть приборного соединителя, соответствующего стандартным листам, в любой части IEC 60320.
Не должно быть возможности устанавливать неправильные соединения, отличные от предполагаемого положения или частичных соединений, вызывающих деформацию, которая может повлиять на дальнейшее использование приборного соединителя для:
- приборной вилки и соответствующего приборного ввода;
- приборного вывода с соответствующим вилочным соединителем.
Проверку соответствия требованию осуществляют испытанием вручную.
10 Защита от поражения электрическим током
10.1 Доступность частей под напряжением
Приборные соединители должны иметь такую конструкцию, чтобы части, находящиеся под напряжением, не были доступны при частичном или полном сочленении.
Приборные вилки/приборный вывод должны иметь такую конструкцию, чтобы части, находящиеся под напряжением, не были доступны, когда приборные вилки/приборный вывод правильно собраны и подключены для нормальной эксплуатации.
Соответствие требованию проверяют испытанием со стандартным испытательным пальцем B по IEC 61032.
Испытание осуществляют с помощью стандартного испытательного пальца, который прикладывают во всех возможных направлениях, а возможные контакты с соответствующими частями обнаруживают электрическим путем. Для приборных вилок с корпусом из резины или термопластичного материала испытательный палец прикладывают с силой 20 Н в течение 30 с ко всем точкам, где прогиб или разрушение изоляционного материала могут вызвать нарушение электробезопасности.
Примечание - Электрический индикатор с напряжением 24 - 50 В используют для отображения контакта с соответствующей деталью.
10.2 Защита от однополюсного соединения
Не допускается возможность контакта между одним штырем приборного ввода/вилочного соединителя и контактом приборной вилки/приборного вывода, в то время как другой штырь оказывается доступным для прикосновения.
Контроль осуществляют испытанием вручную и испытанием по
10.1.
10.3 Защита от доступа к частям под напряжением
Не допускается возможность снятия без инструмента частей устройства, закрывающих доступ к частям под напряжением. Детали, с помощью которых прикреплены эти части, должны быть изолированы от частей под напряжением.
Гильзы, расположенные около отверстий для входа штырей, должны быть прочно закреплены. Не допускается возможность их снятия без разборки приборной вилки/приборного вывода.
Контроль осуществляют осмотром и испытанием вручную.
Наружные элементы приборных вилок, приборных выводов и вилочных соединителей, за исключением крепящих винтов и аналогичных элементов, должны выполняться из изоляционного материала.
Контроль осуществляют осмотром.
Кожух и корпус приборных вводов без защитного контакта, а также кожух приборных вводов/приборных выводов на 2,5 А с защитным контактом должны быть из изоляционного материала.
Контроль осуществляют осмотром.
Примечание - Проверку пригодности изоляционного материала проводят в ходе испытаний изоляции согласно
разделу 15.
Приборные соединители с заземляющим контактом должны иметь такую конструкцию, чтобы в момент включения заземление обеспечивалось до того, как токопроводящие контакты окажутся под напряжением.
Контроль осуществляют осмотром.
Для выводов и наконечников устройств применяют требования соответствующего стандарта IEC.
Устройства, фиксирующие выводы, не должны служить для закрепления других деталей, но они должны фиксировать выводы на месте и не давать им проворачиваться.
12.2 Приборные соединители со сменяемым шнуром
Приборные соединители со сменяемым шнуром должны быть снабжены зажимными элементами безрезьбового типа или резьбовыми зажимными элементами в соответствии с IEC 60999-1.
Проверку соответствия требованию осуществляют осмотром.
12.3 Приборные соединители с несменяемым шнуром
Приборные соединители с несменяемым шнуром, выполненные сваркой, пайкой, обжатием или другими способами, которые должны исключать возможность отсоединения жилы проводника.
Проверку соответствия требованию осуществляют осмотром.
13.1 Риск случайного контакта
Приборные соединители должны быть сконструированы таким образом, чтобы не было риска случайного контакта между заземляющим контактом приборного ввода/вилочного соединителя и токопроводящими контактами приборной вилки/приборного вывода.
13.2 Расположение контактов
В нереверсивных приборных вилках/вилочных соединителях положения контакта должны быть установлены, если смотреть на поверхность зацепления приборной вилки/вилочных соединителей, как показано в обзоре стандартных листов в IEC 60320-3:2014 (раздел 4).
Их положение должно быть таким, как указано в таблице 1.
Таблица 1
Положение контактов
Тип контактов | Положение контактов |
Нереверсивные приборные вилки | Нереверсивные вилочные соединители |
Контакт заземления | Предпочтительно в симметричном расположении | Предпочтительно в симметричном расположении |
Контакт линии | Нижнее правое положение | Нижнее левое положение |
Нейтральный контакт | Нижнее левое положение | Нижнее правое положение |
В нереверсивных приборных соединителях, которые не соответствуют стандартным листам, приведенным в обзоре IEC 60320-3:2014 (раздел 4), проверяют правильную полярность.
Проверку соответствия требованию осуществляют осмотром.
Примечание - Соответствие стандартным листам обеспечивает соответствие данному требованию.
13.3 Части, обеспечивающие защиту частей, находящихся под напряжением
Части, обеспечивающие защиту от прикосновения к частям, находящимся под напряжением, должны быть эффективно защищены от ослабления.
Проверку соответствия требованию осуществляют осмотром и испытаниями по
разделам 18,
20 и
23.
13.4.1 Предотвращение проворачивания
Штыри приборных выводов/вилочных соединителей и контакты приборных вилок/приборных выводов должны быть защищены от проворачивания.
Проверку соответствия требованию осуществляют осмотром и ручным испытанием.
Примечание - Зажимные винты могут служить для предотвращения проворачивания контактов.
13.4.2 Фиксация штырей
Штыри приборных выводов/вилочных соединителей должны закрепляться надежно и иметь достаточную механическую прочность, а также должна быть обеспечена возможность их демонтажа только при помощи инструмента. Штыри должны быть защищены буртиком после монтажа на прибор.
Допускаются ограниченно подвижные штыри при условии соблюдения требований настоящего стандарта.
В сомнительных случаях проводят следующее испытание: образец нагревают до соответствующей ему температуры нагрева штырей, приведенной в
7.1, в течение 1 ч и сохраняют эту температуру на всем протяжении испытания, включая и пятиминутный период после снятия испытательной нагрузки.
Приборный ввод/вилочный соединитель прочно удерживают таким образом, чтобы не было никаких ненормальных сдавливаний или деформаций корпуса, и это удерживающее приспособление не должно помогать сохранению штырям их исходного положения.
На каждый штырь действует сила (60 +/- 0,6) Н, которую прикладывают без рывков вдоль оси штыря в течение 60 с.
Для всех штырей силу прикладывают сначала в направлении от основания приборных выводов/вилочных соединителей, а затем в направлении к основанию приборных выводов/вилочных соединителей.
Крепление штырей считается удовлетворительным, если при испытании любого штыря не было смещения более чем на 2,5 мм и при условии, что в течение 5 мин после окончания действия выталкивающей испытательной силы все штыри остаются в пределах допусков, установленных в соответствующем стандартном листе или производителем для нестандартных приборных соединителей.
Проверку соответствия требованию осуществляют осмотром и испытанием вручную.
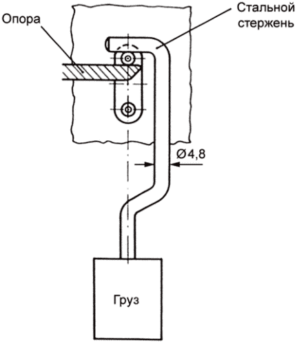
13.4.3 Несплошные штыри
В случае применения несплошных штырей проводят следующее испытание, проводимое после всех остальных: буртик приборного ввода/вилочного соединителя снимают, штырь помещают на опору, как указано на рисунке 2.
Рисунок 2 - Испытательное устройство для несплошных штырей
К штырю в течение 1 мин прикладывают усилие 100 Н в направлении, перпендикулярном к его оси, при помощи стального стержня диаметром 4,8 мм, ось которого тоже перпендикулярна к оси штыря.
После испытания штыри не должны быть заметно деформированы.
Контакты приборных вилок/приборных выводов должны обладать достаточной упругостью для обеспечения необходимого контактного нажатия.
Пружинящие свойства контактов не должны зависеть от сборки корпуса и от упругости изоляционного материала, за исключением приборных вилок/приборных выводов на 0,2 А.
Проверку соответствия требованию осуществляют осмотром и испытаниями по
разделам 16 -
21.
13.6.1 Общие положения
Детали корпуса приборных вилок/вилочных соединителей должны надежно крепиться друг к другу и не допускать разборки без инструмента.
Проверку соответствия требованию осуществляют осмотром, ручным испытанием и испытанием
23.6.
13.6.2 Приборные вилки/вилочные соединители со сменяемым шнуром
Не допускается разборка приборных вилок/вилочных соединителей без инструмента.
Корпус приборных вилок/вилочных соединителей со сменяемым шнуром должен полностью охватывать выводы и концы шнура до точки, в которой должна быть извлечена оболочка.
Конструкция корпуса должна обеспечивать правильное присоединение шнура и удержание жил в положении, исключающем возможность соприкосновения, и в том случае, когда приборная вилка/вилочный соединитель смонтированы как при нормальной эксплуатации:
- жилы шнура не должны контактировать друг с другом;
- жила шнура, соединенная с выводом под напряжением, не должна касаться доступных металлических деталей;
- жила шнура, соединенная с заземляющим выводом, не должна касаться деталей под напряжением.
Не допускается возможность сборки приборных вилок со сменяемым шнуром таким образом, чтобы винтовые выводы были закрыты, а контакты доступны.
Примечание - Это требование исключает использование отдельных фронтальных деталей, закрывающих только контакты.
В приборных вилках/вилочных соединителях со сменяемым шнуром крепление и положение одной детали корпуса по отношению к другой обеспечиваются двумя независимыми друг от друга средствами, одно из которых (например, одни винт) не может быть ослаблено без инструмента; самонарезающие винты для этого не должны применяться.
Сборка корпуса не должна влиять на пружинящие свойства контактов.
Частичное ослабление винтов или другого элемента крепления не должно допускать разделения частей, обеспечивающих защиту от соприкосновения с токопроводящими частями.
Соответствие требованию проверяют осмотром и испытанием вручную.
13.6.3 Приборные вилки/вилочные соединители с несменяемым шнуром
Аксессуары с несменяемым шнуром должны быть такими, чтобы:
- гибкий кабель или шнур нельзя было отделить от аксессуара, не повредив его, и
- аксессуар нельзя было открыть вручную или с помощью инструмента общего назначения.
Примечание - Аксессуар считается полностью испорченным, если для его повторной сборки необходимо использовать детали и материалы, кроме тех, из которых он изготовлен.
Проверку соответствия требованию осуществляют осмотром и испытанием вручную.
В приборных вилках/вилочных соединителях заземляющий контакт должен быть прикреплен к корпусу. Если элементы защитной цепи выполнены не как одно целое, то они должны быть надежно соединены между собой клепкой, пайкой или другими способами.
Металлические части приборных соединителей должны быть сконструированы таким образом, чтобы коррозия не наносила ущерба защите в отношении электрических и механических характеристик.
Соединение между заземляющим контактом и заземляющим выводом должно быть металлическим и стойким к коррозии.
Проверку соответствия требованию осуществляют осмотром.
13.8 Расположение выводов и наконечников
13.8.1 Общие положения
Выводы аксессуаров со сменяемым шнуром и наконечники аксессуаров с несменяемым шнуром должны быть расположены или защищены от выпадения проволок проводника в аксессуаре так, чтобы не представлять риска поражения электрическим током.
Для литых аксессуаров с несменяемым шнуром должны быть предусмотрены средства, предотвращающие уменьшение минимального расстояния изоляции между такими шнурами и всеми доступными внешними поверхностями приспособления, за исключением поверхности зацепления впускного отверстия.
Соответствие требованиям проверяют следующим образом:
- для аксессуаров со сменяемым шнуром - испытанием по
13.8.2;
- для нелитых аксессуаров с несменяемым шнуром - испытанием по
13.8.3;
- для литых аксессуаров с несменяемым шнуром - путем проверки и осмотра в соответствии с
13.8.4.
13.8.2 Испытание свободного шнура для аксессуаров со сменяемым шнуром
С конца гибкого шнура с жилой 0,75 мм2 снимают участок изоляции длиной 6 мм; одну проволоку жилы гибкого шнура оставляют незакрепленной, а остальные полностью вводят в контактный вывод и закрепляют в нем.
Незакрепленный шнур проводника изгибают во всех возможных направлениях. При этом должен быть исключен разрыв изоляции.
Примечание - Запрет на резкие изгибы вокруг барьеров не означает, что незакрепленная проволока должна оставаться прямой во время испытания. Острые изгибы, кроме того, выполняют, если считается вероятным, что такие изгибы могут происходить во время обычной сборки приспособления, например, когда на него надевается крышка.
Незакрепленный шнур проводника, присоединенный к клемме заземления, не должен касаться частей, находящихся под напряжением.
При необходимости испытание повторяют со свободным (или незакрепленным) проводом в другом положении.
13.8.3 Проверка незакрепленного шнура для нелитых аксессуаров с несменяемым шнуром
Длину изоляции, эквивалентную максимальной расчетной длине зачистки, заявленной изготовителем, плюс 2 мм снимают с конца гибкого проводника, имеющего площадь поперечного сечения, заявленную изготовителем. Один шнур гибкого проводника оставляют незакрепленным в наихудшем положении, в то время как остальные шнуры закрепляют способом, предусмотренным конструкцией аксессуара.
Незакрепленный шнур проводника изгибают во всех возможных направлениях. При этом должен быть исключен разрыв изоляции.
Примечание - Запрет на резкие изгибы вокруг барьеров не означает, что свободная проволока должна оставаться прямой во время испытания. Острые изгибы, кроме того, выполняют, если считается вероятным, что такие изгибы могут происходить во время обычной сборки приспособления, например, когда на него надевается крышка.
Незакрепленный шнур проводника, подключенного к токоприемнику, не должен касаться любой доступной металлической детали или уменьшать расстояние утечки и зазор через любой конструктивный зазор до наружной поверхности менее 1,5 мм.
Незакрепленный шнур проводника, подключенного к заземляющему наконечнику, не должен касаться каких-либо частей, находящихся под напряжением.
13.8.4 Проверка свободного шнура для литых аксессуаров со сменяемым шнуром
Литые аксессуары со сменяемым шнуром должны быть проверены на предмет наличия средств для предотвращения утечки шнуров проводника и/или токопроводящих частей, снижающих минимальное расстояние через изоляцию до внешней доступной поверхности (за исключением поверхности зацепления впускных отверстий) ниже 1,5 мм.
Примечание - Проверка средств может потребовать проверки конструкции изделия или способа сборки.
13.9 Приборные вилки/вилочные соединители без заземляющего контакта
Приборные вилки/вилочные соединители без заземляющего контакта и приборные вилки/вилочные соединители на 2,5 А с заземляющим контактом должны быть составными частями взаимосоединяющего шнура.
Проверку соответствия требованию осуществляют осмотром.
13.10 Плавкие предохранители, реле, термостаты, термовыключатели и выключатели
Предохранители, реле, термостаты и термовыключатели не должны устанавливаться в приборные вилки и вилочные соединители, соответствующие стандартным листам IEC 60320-3.
Предохранители, реле, термостаты и термовыключатели, включенные в приборный ввод и приборный вывод, должны соответствовать соответствующим стандартам IEC.
Переключатели, вмонтированные в приборный соединитель, должны соответствовать IEC 61058.
Регуляторы энергии, включенные в приборный соединитель, должны соответствовать IEC 60730-2-11.
Соответствие требованию проверяют испытанием выключателей, предохранителей, реле, термостатов, термических переключателей или регуляторов энергии по соответствующим стандартам IEC.
Приборные соединители должны быть устойчивыми к условиям относительной влажности окружающего воздуха, которые могут иметь место при их нормальной эксплуатации.
Для приборных соединителей, находящихся на оборудовании, на которое при нормальной эксплуатации может попадать жидкость, защита от проникновения влаги должна обеспечиваться прибором.
Соответствие проверяют испытанием на влагостойкость, описанным в разделе 14, за которым следует испытание, описанное в
разделе 15.
При испытании на влагостойкость приборные вилки/вилочные соединители должны быть извлечены из приборных вводов/приборных выводов, а приборные вилки/вилочные соединители со сменяемым шнуром должны быть без шнура.
Испытание на влагостойкость проводят в климатической камере с относительной влажностью воздуха в пределах 91% - 95%. Температуру воздуха в любом месте, где помещают образцы, поддерживают с погрешностью +/- 1 °C при любом значении t от 20 °C до 30 °C.
Перед помещением в климатическую камеру образцы доводят до температуры, находящейся в пределах между температурой испытания и температурой испытания плюс 4 °C.
Образцы выдерживают в климатической камере:
- 168 ч (7 сут) - для приборных соединителей с заземляющим контактом, представленных как отдельные изделия, не встроенные в другое оборудование;
- 48 ч (2 сут) - во всех других случаях.
Примечание 1 - В большинстве случаев образцы можно довести до определенной температуры, выдерживая их при этой температуре не менее 4 ч перед помещением в климатическую камеру.
Примечание 2 - Относительная влажность от 91% до 95% может быть получена путем помещения в климатическую камеру насыщенного раствора сульфата натрия Na2SO4 или нитрата калия KNO3 в воде, имеющего достаточно большую поверхность контакта с воздухом.
После этого испытания образцы не должны иметь никаких повреждений и соответствовать требованиям настоящего стандарта.
15 Сопротивление и электрическая прочность изоляции
Приборные соединители должны обладать необходимым сопротивлением и электрической прочностью изоляции.
Соответствие требованию устанавливают при помощи испытаний по
15.2 и
15.3. Эти испытания проводят сразу после испытания по
разделу 14 во влажной среде.
Индикаторы, которые в противном случае могут быть повреждены в результате испытаний по
15.2 и
15.3, например неоновые лампы, необходимо разъединить в одном полюсе перед испытанием.
Сопротивление изоляции измеряют с учетом следующих условий:
a) для приборных вводов, сочлененных с приборными вилками, - между всеми токопроводящими контактами, соединенными вместе, и корпусом;
b) для приборных вводов, сочлененных с приборными вилками, - поочередно между каждым токопроводящим штырем и другими, соединенными вместе;
c) для приборных выводов, сочлененных с вилочными соединителями, - между токопроводящими контактами, соединенными вместе, и корпусом;
d) для приборных выводов, не сочлененных с вилочными соединителями, - между токопроводящими контактами, соединенными вместе, и корпусом;
e) для приборных выводов, сочлененных с вилочными соединителями, - между каждым штырем поочередно и другими соединенными вместе;
f) для приборных вилок - между токопроводящими контактами, соединенными вместе, и корпусом;
g) для приборных вилок - поочередно между каждым контактом и другими, соединенными вместе;
h) для вилочных соединителей - между токопроводящими контактами, соединенными вместе, и корпусом;
i) для вилочных соединителей - поочередно между каждым контактом и другими, соединенными вместе.
Дополнительное испытание для приборных вилок и вилочных соединителей со сменяемым шнуром:
j) для приборных вилок со сменяемым шнуром - между любой металлической частью крепления шнура, включая зажимные винты, и заземляющим контактом или заземляющим выводом;
k) для приборных вилок со сменяемым шнуром - между любой металлической частью крепления шнура, за исключением зажимных винтов, и металлического стержня с максимальным диаметром гибкого проводника, как указано в
таблице 2, установленного на его место (проводника);
l) для вилочных соединителей со сменяемым шнуром - между любой металлической частью крепления шнура, включая зажимные винты, и заземляющим контактом или заземляющим выводом;
m) для вилочных соединителей со сменяемым шнуром - между любой металлической частью крепления шнура, за исключением зажимных винтов, и металлическим стержнем с максимальным диаметром гибкого проводника, как указано в
таблица 2, установленного на его место (проводника).
В
перечислениях a),
c),
d),
f),
h) под термином "корпус" подразумевают все доступные металлические части, крепежные винты, наружные крепежные винты или сходные с ними соединения и металлическую фольгу, которой оборачивают поверхности изоляционного материала, в
перечислениях d),
f) и
h) включена лицевая часть приборных вилок или приборных выводов, но исключена лицевая часть вилочных соединителей.
Металлическая фольга, соприкасающаяся с внешней стороной наружных частей из изоляционного материала, не должна вдавливаться в отверстия.
Таблица 2
Максимальные диаметры гибкого шнура для испытания
Тип шнура | Число жил и номинальное сечение, мм2 | Максимальный диаметр, мм |
60227 IEC 53 | 3 x 0,75 | 7,6 |
3 x 1 | 8,0 |
3 x 1,5 | 9,4 |
60245 IEC 53 | 3 x 0,75 | 8,1 |
3 x 1 | 8,5 |
3 x 1,5 | 10,4 |
Испытательное напряжение в соответствии с
15.2 и
15.3 подают в случае:
- функциональной изоляции между различными полюсами приборного соединителя;
- основной изоляции между всеми токопроводящими частями, соединенными вместе, и металлической фольгой, покрывающей внешнюю поверхность основной изоляции и/или открытых токопроводящих частей;
- дополнительной изоляции между двумя металлическими листами фольги, покрывающими отдельно внутреннюю, обычно недоступную поверхность дополнительной изоляции и ее доступную поверхность;
- усиленной изоляции между всеми соединяемыми под напряжением частями и металлической фольгой, покрывающей доступную поверхность усиленной изоляции.
При подготовке образца к данному испытанию должны учитываться воздушные зазоры и расстояния утечки.
В тех случаях, когда основная и дополнительная изоляция не может быть испытана отдельно, предусмотренная изоляция подвергается испытательным напряжениям, указанным для усиленной изоляции.
15.2 Сопротивление изоляции
Сопротивление изоляции измеряют при напряжении постоянного тока около

, каждое измерение проводят через (60 +/- 5) с после подачи напряжения.
Сопротивление изоляции должно быть не менее сопротивления, указанного в таблице 3.
Таблица 3
Минимальное сопротивление изоляции
Изоляция, подлежащая испытанию | Сопротивление изоляции, МОм |
Функциональная | 2 |
Основная | 2 |
Дополнительная | 5 |
Усиленная | 7 |
Примечание - Материалы, такие как стеклообразная керамика или фарфор, считают имеющими сопротивление изоляции и не подвергают испытаниям на сопротивление изоляции.
15.3 Электрическая прочность
Для проверки электрической прочности напряжение синусоидальной формы частотой 50 или 60 Гц в течение (60 +/- 5) с прикладывают между частями, перечисленными в
таблице 4.
Первоначально подают не более половины предписанного напряжения, а затем его быстро поднимают до полного значения. Никаких вспышек или поломок не должно происходить. Свечение разрядов без падения напряжения игнорируют.
Таблица 4
Изоляция или разъединение, подлежащие испытанию <b> | Среднеквадратическое значение испытательного напряжения <a> |
Номинальное напряжение до 50 В включ. | Номинальное напряжение от 50 до 130 В включ. | Номинальное напряжение выше 130 включ. до 250 В |
Функциональная изоляция <c> | 500 | 1 300 | 1 500 |
| 500 | 1 300 | 1 500 |
Дополнительная изоляция <d> | 500 | 1 300 | 1 500 |
| 500 | 2 600 | 3 000 |
Примечание 1 - До 50 В: не предназначено для непосредственного подключения к сети и не должно подвергаться временным перенапряжениям, как определено в IEC 60364-4-44. Примечание 2 - Более 50 В: значения основаны на IEC 60364-4-44. Для функциональной, основной и дополнительной изоляции значения рассчитывают по формуле: U0 + 1 200 В и округляют. В настоящем стандарте максимальное напряжение между линией и землей составляет U0 = 300 В. <a> Высоковольтный трансформатор, используемый для испытания, должен быть сконструирован таким образом, чтобы, когда выходные выводы короткозамкнуты после регулировки выходного напряжения до испытательного напряжения, выходной ток составлял не менее 200 мА. Реле сверхтока не должно отключаться, когда выходной ток меньше 100 мА. Необходимо соблюдать осторожность, чтобы среднеквадратическое значение испытательного напряжения измерялось в пределах +/- 3%. <b> Специальные элементы, которые могут сделать испытание непрактичным, такие как разрядные лампы, катушки, обмотки или конденсаторы, отсоединяют на одном полюсе или соединяют мостами в зависимости от испытуемой изоляции. <c> Примером является изоляция между полюсами. <d> Для испытания все живые части соединяют вместе и принимают меры для обеспечения того, чтобы все подвижные части находились в наиболее обременительном положении. <e> Для приборных соединителей, включающих усиленную изоляцию, а также двойную изоляцию, принимают во внимание, чтобы напряжение, приложенное к усиленной изоляции, не превышало основные или дополнительные части двойной изоляции. |
16 Усилия, необходимые для включения и выключения приборной вилки/приборного вывода
Конструкцией приборного соединителя должно быть предусмотрено легкое включение и выключение приборной вилки/приборного вывода, а также исключение самопроизвольного выключения приборной вилки/приборного вывода из приборного ввода/вилочного соединителя в условиях нормальной эксплуатации.
Соответствие требованиям для приборной вилки/приборного вывода проверяют следующими испытаниями:
- по
16.2 необходимо убедиться в том, что максимальное усилие, необходимое для извлечения приборной вилки/приборного вывода из приборного ввода/вилочного соединителя, не должно превышать максимального усилия, указанного в
таблице 5. Для целей испытания должен использоваться соответствующий аналог приборной вилки/приборного вывода (многоконтактный калибр);
- по
16.3 необходимо убедиться в том, что минимальное усилие, необходимое для извлечения одного штыря из индивидуального контактного узла, не должно быть ниже минимального усилия, указанного в таблице 5.
Таблица 5
Максимум и минимум усилия извлечения
Тип приборных вилок/приборных выводов | Извлекающее усилие, Н |
Многоконтактный калибр, максимум | Одноконтактный калибр, минимум |
0,2; 2,5; 6 и 10 А | 50 | 1,5 |
16 А | 60 | 2 |
Проверку приспособлений с удерживающими устройствами осуществляют в нерабочем состоянии.
16.2 Определение максимального усилия
Максимальное и минимальное усилия, необходимые для извлечения вилки из приборного ввода/вилочного соединителя, определяют при помощи установки, изображенной на рисунке 3. Установка состоит из держателя и испытательной вилки, расположенной так, чтобы оси контактных штырей находились в вертикальной плоскости и их свободные концы были направлены вниз, а оси контактных гильз были ориентированы вверх.
Рисунок 3 - Установка для определения
максимального извлекающего усилия
Перед каждым испытанием штыри очищают от смазки с помощью холодного химического обезжиривателя.
Примечание 1 - При использовании жидкости, указанной для испытания, могут быть приняты надлежащие меры предосторожности для предотвращения вдыхания пара.
Приборную вилку/приборный вывод вставляют до конца и извлекают из приборного ввода/вилочного соединителя 10 раз. Затем приборную вилку вновь вставляют в приборный вывод, при этом носитель E для основной массы F и дополнительную массу G прикрепляют к нему посредством подходящего вывода D. Дополнительная масса такова, что она прикладывает силу, равную одной десятой максимального усилия извлечения, указанного в
таблице 5, и она должна быть выполнена в виде одной детали.
Основной груз навешивают таким образом, чтобы не вызвать сотрясений вилки, а дополнительный груз падает на основной груз с высоты 5 см. По окончании испытания приборная вилка/приборный вывод не должны оставаться в приборном вводе/вилочном соединителе.
Для стандартных типов:
Приборный ввод/вилочный соединитель должны быть снабжены штырями из закаленной стали с шероховатостью поверхности не более 0,8 мкм. Длина штырей и расстояние между их осями должны соответствовать выбранной конструкции по стандартному листу настоящего стандарта. Допускаемые значения отклонения размеров расстояния между штырями должны быть не более

.
Размеры штыря должны иметь максимальные размеры с допускаемым значением отклонения

, а буртик - минимальные внутренние размеры с допускаемым значением отклонения

согласно соответствующему стандартному листу.
Примечание 2 - Максимальное значение - номинальный размер плюс максимальный допуск. Минимальное значение - номинальный размер минус максимальный допуск.
Для нестандартных типов используют аналог, указанный изготовителем.
16.3 Определение минимального усилия
Испытуемый штыревой калибр, изображенный на рисунке 4, применяют к каждому индивидуальному контакту приборной вилки/приборного вывода с вертикальными осями контакта, а калибр - вертикально вниз.
Масса должна быть равномерно расположена
вокруг центральной(ых) линии (линий) штыря.
Рисунок 4 - Калибр для определения
минимального извлекающего усилия
Общая масса испытательного оборудования должна быть такой, чтобы оно прилагало соответствующее усилие, приведенное в
таблице 5.
Перед каждым испытанием штырь очищают от смазки с помощью холодного химического обезжиривателя.
Затем испытуемый штыревой калибр вставляют в контактный узел. Испытательное оборудование применяют аккуратно и при проверке минимального усилия извлечения соблюдают осторожность, чтобы не стучать в узел.
Испытательное оборудование не должно выпадать из контактного узла в течение 3 с.
Для стандартных типов:
Испытуемый штыревой калибр должен быть выполнен из закаленной стали с неровностями поверхности не более 0,8 мкм. Штырь должен иметь минимальные размеры с допускаемым значением отклонения от номинального значения

согласно соответствующему стандартному листу.
Для нестандартных типов:
Испытуемый штырь представляет собой один штырь с минимальными размерами, указанными изготовителем.
Гнезда и штыри приборных соединителей должны создавать скользящие контакты, обеспечивать достаточное контактное нажатие и не должны выходить из строя при нормальной эксплуатации.
Контактное нажатие между гнездами и штырями защиты не должно зависеть от упругости изоляционного материала, на котором они крепятся.
Соответствие требованию проверяют осмотром с учетом требований
разделов 16, 18,
19,
20 и
21.
18 Нагревостойкость приборных соединителей для горячих и очень горячих условий
Приборные соединители, классифицированные в соответствии с
7.1, должны выдерживать нагрев, которому они могут подвергаться при работе с устройством или другим оборудованием.
Приборные вилки/вилочные соединители для горячих и очень горячих условий должны иметь конструкцию, обеспечивающую защиту наружной оболочки шнура от чрезмерного нагрева.
Контроль осуществляют испытанием по 18.2 для приборных вилок/вилочных соединителей и по
18.3 для приборных вводов/приборных выводов.
18.2 Испытание на нагревание приборных вилок/вилочных соединителей
Приборные вилки/вилочные соединители со сменяемым шнуром снабжают гибким трехжильным кабелем, имеющим минимально допустимую площадь поперечного сечения, а приборные вилки/вилочные соединители с несменяемым шнуром испытывают в состоянии поставки.
Приборные вилки/вилочные соединители вводят в соответствующий приборный ввод/приборный вывод испытуемого прибора и выдерживают в климатической камере в течение 96 ч при температуре:
- (120 +/- 2) °C - для приборных вилок/вилочных соединителей для горячих условий, классифицированных в
перечислении b) 7.1;
- (155 +/- 2) °C - для приборных вилок/вилочных соединителей для очень горячих условий, классифицированных в
перечислении c) 7.1.
После того как приборную вилку/вилочный соединитель извлекли из климатической камеры, их охлаждают до температуры окружающей среды, после чего 10 раз вставляют в приборный ввод/приборный вывод и извлекают из нее.
Испытуемые образцы не должны иметь:
- повреждений, представляющих опасность при прикосновении к деталям, находящимся под напряжением;
- отхождения или ослабления электрических контактов или механических повреждений;
- трещин, разбуханий, усадок и т.п.
18.3 Испытание на нагревание для приборных вводов/приборных выводов
Приборный ввод/приборный вывод для горячих и очень горячих условий, кроме выполненных как одно целое с электроприбором или вмонтированных в электроприборы, выдерживают в климатической камере в течение 96 ч при температуре:
- (120 +/- 2) °C - для приборных вводов/приборных выводов для горячих условий, классифицированных в
перечислении b) 7.1;
- (155 +/- 2) °C - для приборных вводов/приборных выводов для очень горячих условий, классифицированных в
перечислении c) 7.1.
После испытания на образце не должно быть никаких повреждений, влияющих на их последующее использование.
19 Отключающая способность
Приборные соединители должны иметь соответствующую отключающую способность.
Проверку соответствия приборных вилок/приборных выводов требованию проводят следующим испытанием.
Приборную вилку или приборный вывод устанавливают в соответствующем испытательном устройстве, которое содержит соответствующий приборный ввод или вилочный соединитель.
Для стандартных типов приборные выводы или вилочные соединители должны иметь полированные закаленные стальные штыри и размеры, указанные в соответствующем стандартном листе. Концы штырей должны быть закругленными для прямоугольных штырей и полусферическими для круглых штырей, как показано на стандартных листах.
Для нестандартных типов используют аналог, указанный изготовителем.
Приборную вилку и приборный вывод на 0,2 А на отключающую способность не испытывают.
Приборный ввод/вилочный соединитель располагают таким образом, чтобы плоскость, проходящая через оси штырей, была горизонтальной, а заземляющий штырь, при его наличии, находился сверху.
Испытательное устройство должно быть спроектировано и отрегулировано таким образом, чтобы имитировать максимально возможное разъединение при нормальном использовании (см. рисунок 5 для принципиальной схемы).
C - переключатель
Рисунок 5 - Схема цепи для испытания
на отключающую способность
Для приборных вилок на 10 и 16 А с заземляющим контактом буртик приборного ввода должен быть металлическим, в остальных случаях - из изолирующего материала.
Значения для испытаний взяты из таблицы 6.
Таблица 6
Допустимые значения для испытаний согласно
разделу 19
Номинальный ток, А | Испытательное напряжение, В | Испытательный ток, А | Коэффициент мощности  | Количество повторений |
> 0,2 до < 10 | 1,1 x номинальное напряжение | 1,25 x номинальный ток | 0,6 +/- 0,05 | 100 |
>= 10 | 1,1 x номинальное напряжение | 1,25 x номинальный ток | 0,95 +/- 0,05 | 100 |
Примечание 1 - От 28 до 30 повторений в минуту с непрерывным движением. Примечание 2 - Период электрического тока составляет (1,5 +/- 0,5) с. Примечание 3 - Повторение представляет собой зацепление или расцепление испытуемого образца в аналоге. Примечание 4 - В течение каждого повторения испытуемый образец полностью вставляют и извлекают из его аналога. |
Ток не должен пропускаться через цепь заземления при ее наличии.
Переключатель C, соединяющий цепь заземления и доступные металлические детали, подключают к одному из полюсов источника питания - для одной половины нормируемых испытательных повторений и к другому полюсу - для другой половины повторений при номинальном токе.
Во время испытания не должен проходить электрический разряд ни между токопроводящими частями разной полярности, ни между этими частями и частями контакта заземления, если они имеются, а также не должна наблюдаться устойчивая электрическая дуга.
После испытания образцы не должны иметь никаких повреждений, препятствующих их дальнейшей работе.
Приборные соединители без чрезмерного износа или других неблагоприятных результатов должны выдерживать механические, электрические и термические нагрузки, проявляющиеся при нормальной эксплуатации.
Соответствие требованию приборных вилок проверяют путем испытания на установке, описанного в
разделе 19.
Приборные вводы и вилочные соединители на работоспособность не испытывают.
Переключатель C, соединяющий цепь заземления и доступные металлические детали, подключают к одному из полюсов источника питания - для одной половины нормируемых испытательных повторений и к другому полюсу - для другой половины повторений при номинальном токе.
Таблица 7
Номинальный ток, А | Испытательное напряжение, В | Испытательный ток, А | Коэффициент мощности,  | Количество повторений |
<= 0,2 | - | Нет тока | - | 4 000 |
> 0,2 до < 10 | Номинальное напряжение | Номинальный ток | 0,6 +/- 0,05 | 2 000 |
- | Нет тока | - | 6 000 |
>= 10 | Номинальное напряжение | Номинальный ток | 0,95 +/- 0,05 | 2 000 |
- | Нет тока | - | 6 000 |
Примечание 1 - От 28 до 30 повторений в минуту с непрерывным движением. Примечание 2 - Период электрического тока составляет (1,5 +/- 0,5) с. Примечание 3 - Повторение представляет собой зацепление или расцепление испытуемого образца в аналоге. Примечание 4 - В течение каждого повторения испытуемый образец полностью вставляют и извлекают из его аналога. |
После испытания образец должен выдержать испытание на электрическую прочность по
15.3. Испытательное напряжение снижают до 50% от значения, приведенного в
таблице 4, испытание на влагостойкость не повторяют перед электрическим испытанием по настоящему разделу.
В результате испытаний на образцах не должно быть:
- износа, который препятствовал бы их дальнейшей работе;
- ухудшения качества кожуха или перегородок;
- повреждений вводных отверстий для штырей вилок, препятствующих дальнейшей работе;
- ослабления электрических или механических соединений;
- утечки заливочной массы.
Электрическая безопасность не должна нарушаться.
21 Превышение температуры
Контакты и другие токопроводящие части должны быть сконструированы таким образом, чтобы предотвратить чрезмерный нагрев вследствие прохождения тока.
Проверку соответствия требованию для приборных вилок/приборных выводов осуществляют следующим испытанием.
Приборные вилки со сменяемым шнуром оснащают гибким шнуром с поливинилхлоридной изоляцией длиной 1 м, площадь поперечного сечения - согласно
таблице 8.
Приборные выводы снабжены изолированными проводниками согласно
таблице 8.
Винтовые выводы затягиваются с крутящим моментом, равным 2/3 указанного в таблице 13. | |
(Amd 1:2018)
Таблица 8
Шнуры и проводники для испытаний согласно
разделу 21
Тип приборных вилок | Номинальный ток, А | Проводник, мм2 | Испытательный ток, А |
Приборные вилки | <= 0,2 | - | Не испытывается |
Приборные вилки с несменяемым шнуром | > 0,2 до <= 16 | С гибким шнуром в состоянии поставки | 1,25 x номинальный ток |
Приборные вилки со сменяемым шнуром | <= 10 | 1,0 | 1,25 x номинальный ток |
> 10 | 1,5 |
Приборный вывод | > 0,2 до <= 6 | 0,75 | 1,25 x номинальный ток |
> 6 до <= 10 | 1,0 |
> 10 | 1,5 |
Приборную вилку вставляют в соответствующий приборный ввод с латунными штырями с минимальными размерами, указанными в соответствующем стандартном листе с отклонением плюс 0,02 мм; межосевое расстояние штырей соответствует стандартному листу.
Приборные выводы соединяют с вилочными соединителями.
Для нестандартных приборных соединителей используют аналог, указанный изготовителем.
По токопроводящим контактам пропускают переменный ток, в 1,25 раза больше номинального, в течение 1 ч.
Для приборных вилок/приборных выводов с заземляющим контактом в течение 1 ч пропускают ток по одному токопроводящему контакту и заземляющему контакту.
Превышение температуры выводов и контактов не должно превышать 45 К.
После данного испытания партия образцов должна выдержать испытание по
разделу 16.
22 Шнуры и их присоединения
22.1 Шнуры для приборных вилок/вилочных соединителей с несменяемым шнуром
Приборные вилки/вилочные соединители с несменяемым шнуром должны быть снабжены шнуром в соответствии с
таблицей 9 или эквивалентным ему.
Приборные вилки/вилочные соединители с несменяемым шнуром должны иметь тип шнура, соответствующий стандарту, указанному в таблице 9 для типа приборной вилки/вилочного соединителя, и, кроме того, площадь поперечного сечения шнура должна быть не меньше площади поперечного сечения, указанного в таблице 9.
Таблица 9
Тип и номинальная площадь поперечного сечения шнуров
Тип приборной вилки/вилочного соединителя | | Номинальное сечение, мм2 |
0,2 А | | - |
2,5 А для приборов класса I | 60227 IEC 52 | 0,75 |
2,5 А для приборов класса II | 60227 IEC 52 | |
6 А | 60227 IEC 52 | 0,75 |
10 А для холодных условий | 60227 IEC 53 или 60245 IEC 53 | |
10 А для горячих условий | 60245 IEC 53 или 60245 IEC 89 | |
10 А для очень горячих условий | 60227 IEC 53 или 60245 IEC 53 | |
16 А для холодных условий | 60245 IEC 53 или 60245 IEC 89 | |
16 А для очень горячих условий | 60245 IEC 53 или 60245 IEC 89 | |
Примечание - Площадь поперечного сечения с использованием Американского калибра шнуров (AWG) см. в приложении D. <a> Можно также использовать другой кабель или шнур с эквивалентными свойствами. <c> Если длина шнура не превышает 2 м, то допускается номинальная площадь поперечного сечения 0,5 мм 2. <d> Если длина шнура превышает 2 м, номинальная площадь поперечного сечения должна быть минимальной: - 1,0 мм2 - для приборных вилок 10 А; - 1,5 мм2 - для приборных вилок 16 А. |
Приборные вилки/вилочные соединители с несменяемым шнуром с заземляющим контактом должны быть снабжены трехжильным кабелем или шнуром.
В нереверсивных приборных вилках/вилочных соединителях с несменяемым шнуром жилы шнура должны быть присоединены к контактам следующим образом:
- зелено-желтая жила к заземляющему контакту;
- коричневая жила к линейному контакту;
- синяя жила к нейтральному контакту.
Проверку соответствия требованию осуществляют осмотром и измерением.
Приборные вилки/вилочные соединители должны быть снабжены креплением шнура для того, чтобы проводники были защищены от деформации, включая скручивание, где они соединены с выводами и наконечниками, и чтобы их внешнее покрытие было защищено от износа.
Примечание - Допускаются крепления шнуров типа "лабиринт" при условии, что они выдерживают соответствующие испытания.
22.2.2 Дополнительные требования для приборных вилок/вилочных соединителей со сменяемым шнуром
Дополнительные требования к приборным вилкам/вилочным соединителям со сменяемым шнуром:
- должен быть предусмотрен способ защиты от натяжения и скручивания;
- защитное устройство должно быть выполнено вместе с одним из элементов приборной вилки/вилочного соединителя или прикреплено к нему;
- не допускается применять такие временные средства, как связывание шнуров узлом или перевязывание их концов проволокой;
- устройства защиты от натяжения и скручивания должны быть эффективными для гибких шнуров или шнуров разных типов, которые могут быть присоединены. Их эффективность не должна зависеть от сборки деталей корпуса;
- устройства защиты от натяжения и скручивания должны изготавливаться из изоляционного материала или иметь стабильное изолирующее покрытие, нанесенное на металлические части;
- должна быть исключена возможность контакта гибкого шнура или шнура с крепежным винтом устройства защиты от натяжения и скручивания;
- металлические детали устройства, защищающего от натяжения и скручивания, включая их винты, должны быть изолированы от цепи защиты.
22.2.3 Испытание на натяжение для крепления кабеля
Соответствие требованиям
22.2.1 и
22.2.2 проверяют путем осмотра и испытания на натяжение в устройстве, аналогичном приведенному на рисунке 6, с последующим испытанием на крутящий момент.
Рисунок 6 - Прибор для испытания устройства
защиты от растяжения и скручивания
Приборные вилки/вилочные соединители с несменяемым шнуром испытывают при поставке шнура; приборные вилки/вилочные соединители со сменяемым шнуром испытывают сначала с одним, а затем с другим типом шнура, как указано в таблице 10.
Таблица 10
Типы шнуров для испытания приборной вилки/вилочного
соединителя со сменяемым шнуром
Тип приборной вилки/вилочного соединителя | | Номинальное сечение, мм2 |
Испытание на натяжение в соответствии с 22.2.3 | Испытание на изгиб в соответствии с 22.3 |
10 А для холодных условий | 60227 IEC 53 | 0,75 | 1,0 |
60227 IEC 53 | 1,0 |
10 А для горячих условий | 60245 IEC 53 | 0,75 | 1,0 |
60245 IEC 53 | 1,0 |
10 А для очень горячих условий | 60245 IEC 53 | 0,75 | 1,0 |
60245 IEC 53 | 1,0 |
16 А для холодных условий | 60227 IEC 53 | 1,0 | 1,5 |
60227 IEC 53 | 1,5 |
16 А для очень горячих условий | 60245 IEC 53 | 1,0 | 1,5 |
60245 IEC 53 | 1,5 |
<a> Можно также использовать другой кабель с эквивалентными свойствами. |
Проводники шнура приборных вилок/вилочных соединителей со сменяемым шнуром вводят в зажимные элементы, а винты зажимных элементов, если таковые имеются, затягивают достаточно сильно, чтобы предотвратить легкое изменение положения проводников.
Зажимные винты устройства для защиты шнуров от натяжения и скручивания затягивают с крутящим моментом, равным двум третям значения, указанного в таблице 13. После разборки образца его составные части должны плотно соединяться между собой и должна быть исключена возможность проникновения шнура внутрь приборной вилки/вилочного соединителя на значительное расстояние. | |
(Amd 1:2018)
Образец закрепляют в испытательном приборе так, чтобы ось шнура была вертикальной в месте входа приборной вилки/вилочного соединителя.
Затем к шнуру 100 раз прикладывают растягивающее усилие 50 Н для приборных вилок/вилочных соединителей, имеющих номинальный ток не более 2,5 А и 60 Н для других приборных вилок/вилочных соединителей. Вытягивания применяют без рывков, каждый раз в течение 1 с.
Приборные вилки/вилочные соединители на плоских двухжильных шнурах для легких ручных приборов не должны подвергаться испытанию на скручивание.
Сразу вслед за испытанием на растяжение шнур подвергают испытанию на скручивание крутящим моментом:
- 0,1 Н·м - для всех шнуров с номинальным сечением не более 0,5 мм2, за исключением плоских двухжильных шнуров для легких ручных аппаратов;
- 0,15 Н·м - для гибких двухжильных шнуров с номинальным сечением 0,75 мм2;
- 0,25 Н·м - во всех остальных случаях.
Во время испытаний гибкий кабель или шнур не должны быть повреждены.
После испытаний не должно быть отмечено перемещения гибкого кабеля или шнура более чем на 2 мм. В приборных вилках/вилочных соединителях со сменяемым шнуром концы жил не должны быть заметно сдвинуты в выводах; в приборных вилках/вилочных соединителях с несменяемым шнуром не должно быть нарушено ни одно электрическое соединение.
Чтобы измерить продольное перемещение перед испытаниями на гибком шнуре или шнуре, подверженном предварительному усилию натяжения указанного значения, на расстоянии 2 см от конца приборной вилки/вилочного соединителя или защитного устройства делают отметку. Если в случае использования приборной вилки/вилочного соединителя с несменяемым шнуром конец приборной вилки/вилочного соединителя или защитного устройства четко не определен, делают дополнительную отметку на корпусе приборной вилки/вилочного соединителя и измеряют расстояние, разделяющее эти две отметки.
После испытания измеряют перемещение отметки на гибком шнуре по отношению к приборной вилке/вилочному соединителю или защитному устройству, гибкий кабель натягивают с усилием, соответствующим одному из указанных выше значений.
Приборные вилки/вилочные соединители должны быть устроены так, чтобы гибкий кабель в месте входа приборной вилки/вилочного соединителя не подвергался чрезмерному изгибу.
Устройства для этих целей должны быть из изоляционного материала и должны быть установлены соответствующим способом.
Витки металлической проволоки, оголенной или покрытой изоляцией, не считают защитными устройствами.
Контроль осуществляют наблюдением и следующим испытанием.
Для приборных вилок/вилочных соединителей со сменяемым шнуром перед началом данного испытания защитные устройства должны подвергаться испытанию на ускоренное старение:
- по
24.2.2, если они выполнены из резины;
- по
24.2.3, если они выполнены из поливинилхлорида.
Приборные вилки/вилочные соединители подвергают испытанию на изгиб в установке с качающимся элементом, приведенной на
рисунке 7.
Приборные вилки/вилочные соединители оборудованы сменяемым шнуром соответствующей длины в соответствии с
таблицей 10 и жилами наибольшего диаметра, допустимого для данного типа шнура. Защитное устройство должно быть на своем месте.
Приборные вилки/вилочные соединители с несменяемым шнуром испытывают со шнуром в состоянии поставки.
Образец закрепляют на качающемся элементе установки таким образом, чтобы при прохождении его через середину траектории ось гибкого шнура была вертикальной в месте входа приборной вилки/вилочного соединителя и проходила через ось качания.
Часть приборной вилки/вилочного соединителя, которую при нормальной эксплуатации вводят в приборный ввод/приборный вывод, закрепляют на установке.
Далее качающуюся часть регулируют так, чтобы расстояние d, показанное на рисунке 7, менялось с минимальным боковым перемещением шнура, когда качающаяся часть (головка) перемещается с максимальной амплитудой.
Рисунок 7 - Установка для испытания на изгиб
Образцы с плоским гибким шнуром устанавливают так, чтобы главная ось сечения гибкого шнура была параллельна оси качания.
Шнур нагружают грузом, обеспечивающим следующие усилия:
- 20 Н - для приборных вилок/вилочных соединителей со сменяемым шнуром и приборных вилок/вилочных соединителей с несменяемым шнуром, номинальное сечение которого более 0,75 мм2;
- 10 Н - для других приборных вилок/вилочных соединителей с несменяемым шнуром.
Через шнур пропускают ток, равный номинальному току для приборных вилок/вилочных соединителей при номинальном напряжении. Через проводник заземления, если он есть, ток не пропускают.
Качающийся элемент совершает переменные движения с двойной амплитудой 90° (45° с одной и другой стороны от вертикали). Таким образом, производится 10 000 изгибов с частотой 60 изгибов в минуту.
Образцы с гибким шнуром круглого сечения поворачивают на 90° в качающемся элементе после половины предусмотренного числа изгибов; образцы с плоским гибким шнуром подвергают изгибам только в одном направлении, перпендикулярном плоскости, в которой находятся оси проводников.
Во время испытания не должны происходить ни разрыв испытательного тока, ни короткое замыкание между проводниками.
После испытания не должно быть повреждений образцов, нарушающих требования настоящего стандарта, отделения устройства защиты от буртика и повреждения изоляции гибкого шнура. Для приборных вилок/вилочных соединителей с несменяемым шнуром допускается разрыв отдельных проволок шнура без выхода их из оболочки.
Примечание 1 - Изгибом считают движение в одном или другом направлении.
Примечание 2 - Данное испытание проводят на образцах, не прошедших другие испытания.
Примечание 3 - Коротким замыканием между проводниками гибкого шнура считают момент, когда ток достигает двойного значения номинального тока для данной приборной вилки.
23 Механическая прочность
Приборные соединители должны иметь достаточную механическую прочность.
Проверку проводят:
- для приборных вилок/вилочных соединителей - испытаниями по
23.2;
- для приборных вилок/вилочных соединителей более 0,2 А - испытаниями по
23.3 и
23.6;
- для приборных соединителей для монтажа на поверхности и вилочных соединителей с буртиком - испытаниями по
23.4;
- для приборных вилок по типу стандартного листа C7 IEC 60320-3 - дополнительным испытанием по
23.5.
23.2 Испытание на свободное падение
Приборные вилки/вилочные соединители со сменяемым шнуром испытывают с гибким шнуром, указанным в
22.3, с минимальным сечением и длиной 100 мм, измеренной от наружного конца устройства защиты.
Винтовые и сборочные выводы должны затягиваться крутящим моментом, равным 2/3 значения, указанного в таблице 13. | |
(Amd 1:2018)
Приборные вилки/вилочные соединители с несменяемым шнуром испытывают в состоянии поставки, длина гибкого шнура должна составлять 100 мм от конца устройства защиты.
Образцы должны падать в соответствии с IEC 60068-2-31, при этом число падений должно быть:
- 500 - если масса образца без шнура и устройства защиты не превышает 200 г;
- 100 - во всех остальных случаях.
После испытания не должно быть повреждений, нарушающих требования настоящего стандарта, особенно отделения или ослабления отдельных элементов.
Примечание 1 - Допускаются небольшие зазубрины и сколы при условии сохранения требований защиты от поражения электрическим током.
Примечание 2 - Повреждение покрытия и небольшие вмятины, не приводящие к уменьшению путей тока утечки или воздушных зазоров ниже минимальных значений, указанных в
разделе 26, не учитывают.
Примечание 3 - Длина приблизительно 100 мм может быть уменьшена для обеспечения свободного падения.
23.3 Испытание на боковое натяжение
После испытания по
23.2 приборную вилку/вилочный соединитель вводят в соответствующий приборный ввод/приборный вывод.
Приборный ввод/приборный вывод устанавливают в соответствующем испытательном устройстве, причем штыри располагают вертикально вверх.
Пример испытательного устройства приведен на
рисунке 8, a).
Силу бокового натяжения прикладывают под углом (90 +/- 5)°, как показано на
рисунке 8, a), b), c), d) и e), параллельно плоскости, содержащей оси токопроводящих контактов, и параллельно поверхности зацепления приборных вилок/вилочных соединителей.
Эту силу натяжения согласно
таблице 11 повторяют 50 раз в каждом направлении к шнуру в течение (1 +/- 0,5) с.
Рисунок 8 - Пример устройства для испытания на натяжение
Таблица 11
Значения для примененных боковых натяжений
Номинальный ток приборных вилок/вилочных соединителей, А | Сила натяжения, Н (+/- 5%) |
2,5 | 6 |
6 | 35 |
10 | 35 |
16 | 50 |
При необходимости приборную вилку/вилочный соединитель удерживают на месте, чтобы предотвратить ее разъединение от приборного ввода/приборного вывода, но она должна свободно перемещаться внутри.
После испытания приборная вилка/вилочный соединитель не должны иметь никаких повреждений и должны соответствовать требованиям
16.3.
Приборный ввод, предназначенный для поверхностного монтажа, и кожух вилочного соединителя и приборного вывода из изоляционного материала, отличного от эластомерного материала, испытывают с помощью вертикального или пружинного молотка согласно IEC 60068-2-75.
Головка молотка должна иметь полусферическую поверхность с радиусом 10 мм. Энергия удара должна составлять (0,5 +/- 0,05) Дж. Головка молотка должна иметь полусферическую поверхность из полиамида, имеющую твердость по Роквеллу от HR 85 до 100.
Испытуемый образец жестко фиксируют и наносят 12 ударов молотком, по три раза на каждое из четырех мест, выбирая так, чтобы попасть в наиболее слабые области.
После испытания испытуемый образец не должен иметь повреждений согласно разделам настоящего стандарта.
23.5 Испытание на деформацию
Для приборных вилок на 2,5 А класса II в соответствии со стандартным листом C7 IEC 60320-3 зона, в которой бегунок (бегунки) переключателя может (могут) касаться приборной вилки, должна быть достаточно стойкой к деформации.
Примечание - Эта зона обозначается цифрой 3 в стандартном листе C7.
Проверку осуществляют следующим испытанием, проводимым на установке с прямоугольным резцом, как указано в IEC 60320-3:2014 (рисунок 9). Испытание проводят последовательно с резцами A и B, упирающимися в корпус приборной вилки в испытуемой зоне с усилием, указанным в IEC 60320-3:2014 (рисунок 9). | |
(Amd 1:2018)
Устройство с образцом помещают в нагревательную камеру и выдерживают 2 ч при температуре (70 +/- 2) °C на 2 ч.
Затем образец снимают с устройства и охлаждают до температуры окружающего воздуха в течение 10 с, погружая в холодную воду.
Толщину корпуса приборной вилки измеряют непосредственно в точке давления. Разница между значениями толщины до и после испытания не должна превышать 0,2 мм.
23.6 Испытание на растяжение и натяжение
Наружные части приборных вилок/вилочных соединителей с отдельной передней частью, охватывающей контакты, должны быть надежно закреплены друг с другом.
Соответствие требованиям для всех приборных вилок и вилочных соединителей проверяют следующим испытанием. | |
(Amd 1:2018)
Передняя и задняя части приборных вилок/вилочных соединителей надежно прикрепляют к двум выводам, которые расположены таким образом, что они могут отдаляться друг от друга по прямой линии. Тяговую силу, приведенную в таблице 12, прикладывают в осевом направлении без рывков к выводам в течение 1 мин. После окончания воздействия силы растяжение, приведенное в таблице 12, применяют к приборной вилке дважды, сначала в течение 1 мин поворачивают приборную вилку в направлении, перпендикулярном оси предыдущей приложенной силы, а затем в течение 1 мин изгибают приборную вилку в направлении, перпендикулярном оси предыдущей приложенной силы и крутящего момента.
Таблица 12
Значения испытаний на растяжение и натяжение
Номинальный ток, А | Растяжение, Н·мм2 | Натяжение, Н/м |
0,2 | 0,2 +/- 0,02 | 75 +/- 2 |
2,5 | 0,2 +/- 0,02 | 75 +/- 2 |
6 | 0,5 +/- 0,02 | 75 +/- 2 |
10 | 0,5 +/- 0,02 | 100 +/- 2 |
16 | 0,5 +/- 0,02 | 100 +/- 2 |
После испытания обе части приборных вилок/вилочных соединителей не должны быть рассоединены, а части, обеспечивающие защиту от поражения электрическим током, не должны утратить свою функцию, токопроводящие части не должны быть доступными.
24 Устойчивость к нагреву и старению
24.1 Устойчивость к нагреву
Приборные соединители должны иметь достаточную теплостойкость.
Данному испытанию не подвергают части устройства крепления шнура и устройства защиты шнура, части, непосредственно не окружающие контакты разъемов приборных вилок/вилочных соединителей 0,2 А, отлитые вместе со шнуром, и керамические детали.
Соответствие проверяют на новых образцах, используя испытание давлением шарика, в соответствии с IEC 60695-10-2 при следующих температурах:
- (155 +/- 2) °C - для частей, классифицированных в соответствии с
перечислением c) 7.1 (для очень горячих условий);
- (125 +/- 2) °C - для частей, классифицированных в соответствии с перечислением b) 7.1 (для горячих условий); - (125 +/- 2) °C - для частей, классифицированных в соответствии с перечислением a) 7.1 (для холодных условий), которые поддерживают токопроводящие части и части цепи заземления (за исключением приборных вводов для устройств 0,2 А); | |
- (75 +/- 2) °C - для частей, классифицированных в соответствии с
перечислением a) 7.1 (для холодных условий) и всех частей приборных вводов устройств 0,2 А.
(Cor 2:2019)
Измеряют диаметр оттиска от шарика, который не должен быть более 2 мм.
24.2 Устойчивость к старению
24.2.1 Общие положения
Приборные вилки/вилочные соединители из эластомерного или термопластичного материала должны обладать достаточной стойкостью к старению.
Соответствие проверяют:
- для приборных вилок/вилочных соединителей из эластомерного материала - испытаниями по
24.2.2 и
24.2.4;
- для приборных вилок/вилочных соединителей из термопластичного материала - испытаниями по 24.2.3 и 24.2.4. Для проведения испытаний по 24.2.2 - 24.2.4 используют один новый тестовый образец.; | |
(Amd 1:2018)
Для испытаний
24.2.2 и
24.2.3 рекомендуют использовать климатическую камеру с электрическим подогревом.
Примечание 1 - Естественную циркуляцию воздуха можно обеспечить наличием отверстий в стенках камеры.
Примечание 2 - Температуру можно измерять термометрами.
24.2.2 Испытание на стойкость к старению приборных соединителей из эластомерного материала
Приборные вилки/вилочные соединители из эластомерного материала подвергают испытанию на ускоренное старение в атмосфере, имеющей такие же свойства и давление, как окружающий воздух. Образцы свободно подвешивают в климатической камере с естественной циркуляцией воздуха. Температура в климатической камере должна быть (70 +/- 2) °C, продолжительность испытаний - 240 ч (10 сут).
24.2.3 Испытание на стойкость к старению приборных соединителей из термопластичного материала
Приборные вилки/вилочные соединители из термопластичного материала или аналогичного материала испытывают на ускоренное старение в атмосфере, имеющей такие же свойства и давление, как окружающий воздух. Образцы свободно подвешивают в климатической камере с естественной циркуляцией воздуха. Температура в климатической камере должна быть (80 +/- 2) °C, продолжительность испытаний - 168 ч (7 сут).
Во время данного испытания приборные вилки/вилочные соединители сочленяют с соответствующим приборным вводом/приборным выводом по прилагаемому стандартному листу.
24.2.4 Оценка испытаний на стойкость к старению
После испытаний по
24.2.2 или
24.2.3 образцы доводят до температуры окружающей среды и осматривают их. На них не должно быть заметных трещин, видимых невооруженным глазом, образцы не должны быть липкими или жирными, что проверяют следующим образом: испытатель обматывает указательный палец сухой грубой тканью и прикладывает его к образцу с усилием 5 Н; ткань не должна оставлять следов на образце, материал образца не должен прилипать к ткани.
После данного испытания на образце не должно быть никаких повреждений, нарушающих требования настоящего стандарта.
Примечание - Чтобы воздействовать с усилием 5 Н, поступают следующим образом.
Образец помещают на чашу весов, на другую чашу помещают груз, превышающий массу образца на 500 г. Затем пальцем, обмотанным тканью, устанавливают равновесие.
25 Винты, токопроводящие части и соединения
Механическая сборка и электрические соединения должны быть стойкими к механическим нагрузкам, возникающим при нормальной эксплуатации.
Винты и гайки для соединения проводников должны ввинчиваться в металлическую резьбу. Винты для монтажа деталей приборных соединителей не должны быть самонарезающего типа.
Винты или гайки для крепления основания приборных вводов/приборных выводов на устройстве могут быть любого типа. Винты из изоляционного материала не должны использоваться в тех случаях, когда замена металлическими винтами может повредить изоляцию приборного соединителя.
Проверку соответствия осуществляют осмотром и следующим испытанием.
Винты и гайки затягивают и отпускают:
- 10 раз - для металлических винтов, которые ввинчиваются в изоляционный материал, и для винтов из изоляционного материала;
- 5 раз - во всех остальных случаях.
Винты, ввинчиваемые в изоляционный материал, полностью снимают и ввинчивают вновь каждый раз.
Испытание проводят с помощью соответствующей испытательной отвертки или соответствующего ключа с использованием крутящего момента, заявленного изготовителем. В случае если изготовителем не указано, то используют значения, приведенные в таблице 13.
Таблица 13
Крутящий момент, приложенный
для испытания на зажим и ослабление
Номинальный диаметр резьбы, мм | Крутящий момент, Н·м |
I | II |
До 2,8 включ. | 0,2 | 0,4 |
От 2,8 до 3,0 включ. | 0,25 | 0,5 |
От 3,0 до 3,2 включ. | 0,3 | 0,6 |
От 3,2 до 3,6 включ. | 0,4 | 0,8 |
От 3,6 до 4,1 включ. | 0,7 | 1,2 |
От 4,1 до 4,7 включ. | 0,8 | 1,8 |
От 4,7 до 5,3 включ. | 0,8 | 2,0 |
В случае испытания винтовых выводов приборных вилок/вилочных соединителей в зажим помещают гибкий проводник. После каждого ослабления винта или гайки проводник перемещают.
Номинальное сечение проводника равно 1 мм2 для приборных вилок/вилочных соединителей на 10 А и 1,5 мм2 для приборных вилок/вилочных соединителей на 16 А.
Винты и гайки должны затягиваться плавно.
Колонку I применяют к винтам без головки, которые в момент закручивания не выступают из отверстия и по отношению к гайке, или если нельзя при закручивании применить отвертку с лезвием шире диаметра винта.
Колонку II применяют к остальным винтам и гайкам.
Для винтов, имеющих шестигранную головку со шлицем, делают только испытание с отверткой.
Во время испытания резьбовое соединение не должно работать свободно и не должно иметь повреждений, таких как поломка винтов или повреждение пазов головки, резьбы, шайб или мешалок, что может повлиять на дальнейшее использование приспособления.
25.2 Электрические соединения
Электрические соединения следует располагать так, чтобы контактное давление не передавалось через изоляционные материалы, кроме керамики и других материалов с аналогичными безусадочными характеристиками, за исключением тех случаев, когда металлические элементы обладают достаточной упругостью для компенсации возможной усадки изоляционного материала.
Контроль осуществляют осмотром.
Примечание - Для электрических соединений до 0,2 А контактное давление может быть получено изолирующим материалом, обеспечивающим надежный и постоянный контакт при любых условиях нормального использования.
25.3 Крепление соединений
Винты и заклепки, используемые одновременно в качестве электрических и механических соединений, должны быть защищены от самоотвинчивания.
Соединения между выводами и другими частями должны быть сконструированы таким образом, чтобы они не расшатывались при нормальной эксплуатации.
Проверку соответствия требованию осуществляют осмотром и испытанием вручную.
Примечание 1 - В качестве устройства от ослабления и самоотвинчивания может служить пружинная шайба.
Примечание 2 - Для заклепок может быть достаточно некруглой ножки или канавки.
25.4 Металлические детали
Токопроводящие части и заземляющие контакты должны быть изготовлены из металла, имеющего при условиях, существующих в приборном соединителе, достаточную механическую прочность и защиту от коррозии.
Детали, которые могут подвергаться механическому износу в процессе эксплуатации, недопустимо изготавливать из стали с гальваническим покрытием.
Проверку соответствия требованию осуществляют осмотром и при необходимости химическим анализом.
Во влажных условиях металлы, имеющие большие различия в электрохимическом потенциале по отношению друг к другу, не должны использоваться в контакте друг с другом.
Примечание 1 - Примерами подходящих металлов при их использовании в пределах допустимого температурного диапазона и при нормальных условиях химического загрязнения являются (настоящий перечень не является исчерпывающим):
- медь;
- сплав, содержащий не менее 58% меди для обрабатываемых холодных деталей или не менее 50% меди для других деталей;
- нержавеющая сталь, содержащая не менее 13% хрома и не более 0,09% углерода;
- сталь, снабженная покрытием из цинка согласно ISO 2081, причем покрытие имеет толщину не менее 5 мкм (условия обслуживания ISO N 1);
- сталь, снабженная покрытием из никеля и хрома в соответствии с ISO 1456, причем покрытие имеет толщину не менее 20 мкм (условия обслуживания ISO N 2);
- сталь, снабженная покрытием из олова в соответствии с ISO 2093, причем покрытие имеет толщину, равную не менее 12 мкм (условия обслуживания ISO N 2).
Примечание 2 - Винты, гайки, шайбы, зажимные пластины и подобные части зажимов не относятся к токопроводящим деталям.
26 Пути утечки тока, расстояния по изоляционному материалу и воздушные зазоры
Приборные соединители должны быть сконструированы таким образом, чтобы зазоры, расстояния утечки и твердая изоляция были подходящими для того, чтобы выдерживать электрические, механические и тепловые напряжения при воздействии окружающей среды, которые могут возникнуть в течение ожидаемого срока службы приборных соединителей и взаимоподключающих соединителей.
Соответствие требованию проверяют осмотром и испытаниями по
26.2,
26.3 и
26.4.
Примечание - Требования и испытания основаны на IEC 60664-1.
26.2.1 Определение размеров
Размеры зазоров должны соответствовать номинальному импульсному напряжению, заявленному изготовителем.
Для стандартного приборного соединителя минимальное номинальное импульсное напряжение составляет 2 500 В. Для других номинальных импульсных напряжений см. таблицу 14.
Таблица 14
Допустимое выдерживаемое импульсное напряжение для приборных
соединителей, питаемых непосредственно от низковольтной сети
Напряжение переменного тока, полученное между фазой и нейтралью, до и включ., В | Допустимое выдерживаемое импульсное напряжение, кВ |
Категория перенапряжения |
I | II | III |
50 | 0,33 | 0,5 | 0,8 |
100 | 0,5 | 0,8 | 1,5 |
150 | 0,8 | 1,5 | 2,5 |
300 | 1,5 | 2,5 | 4,0 |
Примечание 1 - Для получения более подробной информации см. IEC 60664-1. Например, для категории перенапряжений см. IEC 60664-1:2007 (пункт 4.3.3.2). Примечание 2 - Приборные соединители считаются относящимися к категории перенапряжений II. Категорию перенапряжений I применяют в случае принятия специальных мер предосторожности против временных перенапряжений. |
Для измерений:
Части, которые могут быть удалены без использования инструмента, должны быть удалены, а части, которые в процессе сборки могут быть установлены в различные положения, должны быть помещены в наиболее неблагоприятное положение.
Примечание - Подвижные детали представляют собой, например, шестигранные гайки, положение которых невозможно контролировать при сборке.
Измеряют расстояния через пазы или отверстия в поверхностях изоляционного материала до металлической фольги, контактирующей с поверхностью. Фольгу проталкивают в углы и т.п. с помощью испытательного зонда 11 согласно IEC 61032, но не вдавливают в отверстия.
Усилие 2 Н прикладывают к непокрытым проводникам и 30 Н для доступных поверхностей, чтобы попытаться уменьшить зазоры при проведении измерения.
Усилие прикладывают с помощью испытательного зонда 11 согласно IEC 61032.
26.2.2 Минимальные значения зазоров
Зазор для основной, дополнительной и функциональной изоляции не должен быть меньше значений, указанных в
таблице 15.
За исключением случаев, когда размеры, указанные в соответствующем стандартном листе согласно серии стандартов IEC 60320, приводят к меньшим расстояниям, зазоры для усиленной изоляции не должны быть меньше значений, указанных для основной изоляции в таблице 15, но с использованием следующей более высокой ступени для номинального выдерживаемого импульсного напряжения. | |
Соответствие требованию проверяют измерением.
(Cor 1:2016)
Таблица 15
Минимальные зазоры для основной изоляции
Номинальное выдерживаемое импульсное напряжение <a>, В | Минимальные зазоры в воздухе до 2 000 м над уровнем моря <b>, мм |
Степень загрязнения 1 | Степень загрязнения 2 |
500 | 0,04 | 0,2 |
800 | 0,10 | 0,2 |
1 500 | 0,5 | 0,5 |
2 500 | 1,5 | 1,5 |
| 3 | 3 |
- для функциональной изоляции - максимальное импульсное напряжение, ожидаемое в зазоре; - для основной изоляции, непосредственно подверженной переходному перенапряжению сети низкого напряжения или подвергающейся значительному влиянию переходного перенапряжения, - номинальное импульсное выдерживаемое напряжение приборных соединителей и взаимоподключающих соединителей; - для другой основной изоляции - наибольшее импульсное напряжение, которое может возникнуть в цепи. <b> Зазоры на высотах выше 2 000 м над уровнем моря умножают на коэффициент коррекции высоты согласно IEC 60664-1. <c> Это напряжение применимо только при определении усиленной изоляции для номинального выдерживаемого импульсного напряжения 2,5 кВ. |
26.3.1 Определение размеров
Пути утечки должны быть определены для напряжения, которое наблюдается при нормальной эксплуатации, с учетом степени загрязнения 2 и группы материалов. Степень локального загрязнения 1 может быть достигнута путем герметизации расстояний утечки.
Для измерений:
Части, которые могут быть удалены без использования инструмента, должны быть удалены, а части, которые в процессе сборки могут быть установлены в различные положения, должны быть помещены в наиболее неблагоприятное положение.
Примечание 1 - Подвижные детали представляют собой, например, шестигранные гайки, положение которых невозможно контролировать при сборке.
Измеряют расстояния через пазы или отверстия в поверхностях изоляционного материала до металлической фольги, контактирующей с поверхностью. Фольга проталкивается в углы и т.п. с помощью испытательного зонда 11 согласно IEC 61032, но не вдавливается в отверстия.
Усилие 2 Н прикладывают к непокрытым проводникам и 30 Н для доступных поверхностей, чтобы попытаться уменьшить расстояния утечки при проведении измерения.
Усилие прикладывают с помощью испытательного зонда 11 согласно IEC 61032.
Примечание 2 - Расстояние утечки не может быть меньше соответствующего зазора.
26.3.2 Минимальные пути утечки
Пути утечки для основной, дополнительной и функциональной изоляции не должны быть меньше, чем значения, определенные в таблице 16. За исключением случаев, когда размеры, указанные в соответствующем стандартном листе согласно серии стандартов IEC 60320, приводят к меньшим расстояниям, пути утечки для дополнительной изоляции не должны быть меньше значений, указанных для основной изоляции в таблице 16. Соответствие требованиям проверяют измерением. | |
(Cor 1:2016)
Таблица 16
для основной и функциональной изоляции
Среднеквадратическое значение напряжения, В <a> | Пути утечки, мм |
Степень загрязнения 1 <b> | Степень загрязнения 2 <b> |
Группа материалов |
I | II | |
50 | 0,18 | 0,6 | 0,85 | 1,2 |
63 | 0,2 | 0,63 | 0,9 | 1,25 |
80 | 0,22 | 0,67 | 0,95 | 1,3 |
100 | 0,25 | 0,74 | 1 | 1,4 |
125 | 0,28 | 0,75 | 1,05 | 1,5 |
160 | 0,32 | 0,8 | 1,1 | 1,6 |
200 | 0,42 | 1 | 1,4 | 2 |
250 | 0,56 | 1,25 | 1,8 | 2,5 |
<a> Это напряжение является напряжением, рационализированным в IEC 60664-1:2007 (таблица F.4). Допускается интерполяция для промежуточных значений. <b> Степень загрязнения 1: загрязнение отсутствует или происходит только сухое проводящее загрязнение. Загрязнение не оказывает никакого влияния. Степень загрязнения 2: возникает только проводящее загрязнение, за исключением того, что иногда возможна временная проводимость, вызванная конденсацией. <c> Материалы группы III включают IIIa и IIIb. |
Твердая изоляция должна выдерживать длительные электрические и механические напряжения, а также воздействия тепла и окружающей среды, которые могут возникнуть в течение предполагаемого срока службы приборных соединителей.
Проверку соответствия требованию осуществляют измерением и в ходе испытаний по
разделу 15.
Расстояние через доступную дополнительную твердую изоляцию должно быть не менее 0,8 мм.
Расстояние через доступную усиленную твердую изоляцию должно иметь следующие минимальные значения:
- для номинального выдерживаемого импульсного напряжения 1 500 В - 0,8 мм;
- для номинального выдерживаемого импульсного напряжения 2 500 В - 1,5 мм.
Примечание - Минимальная толщина не указана для функциональной, основной, недоступной дополнительной и недоступной усиленной твердой изоляции.
Проверку соответствия требованию осуществляют осмотром и измерением.
27 Теплостойкость, огнестойкость и стойкость к токам поверхностного разряда
27.1 Теплостойкость и огнестойкость
27.1.1 Общие положения
Детали, изготовленные из изоляционного материала, которые могут подвергаться воздействию термических напряжений в результате электрического воздействия и ухудшение которых может снизить безопасность, не должны подвергаться чрезмерному воздействию тепла и огня, возникающих внутри приспособления.
Для приборных соединителей на номинальный ток выше 0,2 А соответствие требованию проверяют испытанием раскаленной проволокой в соответствии с
27.1.2 -
27.1.11.
Приборный ввод/приборный вывод, интегрированные или встроенные в устройство или оборудование, испытывают согласно соответствующему стандарту на устройства.
Испытание раскаленной проволокой проводят, чтобы убедиться, что раскаленная проволока в определенных условиях испытания не приведет к воспламенению частей, а если данные части воспламенятся, то будут гореть ограниченное время без распространения огня из-за пламени или из-за горящих или раскаленных частиц, падающих из испытуемого образца.
27.1.3 Общее описание испытания
Испытание проводят только на одном испытуемом образце.
В случае возникновения сомнений испытание повторяют на двух других испытуемых образцах.
Испытание выполняют только однократным применением раскаленной проволоки. Во время испытания испытуемый образец устанавливают в наиболее неблагоприятное положение по назначению (при этом испытуемая поверхность находится в вертикальном положении).
Наконечник раскаленной проволоки прикладывают к указанной поверхности испытуемого образца с учетом условий предполагаемого использования, при которых горячая часть может контактировать с испытуемым образцом.
Если испытание нельзя провести на собранном образце, то из него может быть вырезана подходящая часть.
Если указанные испытания проводят в нескольких местах на одном и том же испытуемом образце, то следует проверить, чтобы любой дефект, возникший во время предыдущих испытаний, не повлиял на результаты следующего испытания.
Небольшие детали, определенные в IEC 60695-2-11, не подвергают данному испытанию.
27.1.4 Описание испытательной аппаратуры
Применяют IEC 60695-2-10:2000 (раздел 5). Используют плиту из древесной массы, покрытую слоем оберточной ткани.
Применяют следующие испытательные температуры, выбранные из предпочтительных испытательных температур, указанных в IEC 60695-2-11:2000 (раздел 6), IEC 60695-2-12:2000 (раздел 6) и IEC 60695-2-13:2000 (раздел 6):
- 750 °C - для деталей из изоляционного материала, предназначенных для закрепления токопроводящих деталей и деталей цепи заземления;
- 650 °C - для всех остальных деталей из изоляционного материала.
27.1.6 Проверка термопары
Применяют IEC 60695-2-10:2000 (пункт 6.2).
27.1.7 Предварительная подготовка
Применяют IEC 60695-2-10:2000 (раздел 7).
27.1.8 Первоначальные измерения
Применяют IEC 60695-2-11:2000 (раздел 8), IEC 60695-2-12:2000 (раздел 8) и IEC 60695-2-13:2000 (раздел 8).
27.1.9 Процедура испытания
Применяют IEC 60695-2-10:2000 (раздел 8).
27.1.10 Наблюдения и измерения
Применяют IEC 60695-2-11:2000 (раздел 11), IEC 60695-2-12:2000 (раздел 11) и IEC 60695-2-13:2000 (раздел 11).
27.1.11 Оценка результатов испытаний
Применяют IEC 60695-2-11:2000 (раздел 12), IEC 60695-2-12:2000 (раздел 12) и IEC 60695-2-13:2000 (раздел 12).
27.2 Стойкость к токам поверхностного разряда
Изолирующие части приборных соединителей для горячих или очень горячих условий, содержащие детали, находящиеся под напряжением или соприкасающиеся с ними, должны выполняться из трекингостойкого материала при минимальном индикаторе вида полезной нагрузки 175 В. | |
(Amd 1:2018)
Для всех материалов, кроме керамических, проверку осуществляют испытанием, предусмотренным в
приложении A.
Примечание - Для стандарта конечного продукта может потребоваться более высокое значение индикатора вида полезной нагрузки и/или значения для приборных соединителей для более холодных условий. | |
(Amd 1:2018)
Металлические части должны быть эффективно защищены от коррозии.
Соответствие требованию проверяют следующим испытанием:
Испытуемые детали следует обезжиривать погружением в уайт-спирит или аналогичный по эффективности растворитель на 10 мин. Затем детали погружают на 10 мин в 10%-ный водный раствор хлористого аммония при температуре (20 +/- 5) °C.
Не высушивая, но стряхнув возможные капли, детали подвешивают на 10 мин в камеру, содержащую воздух, насыщенный влагой, при температуре (20 +/- 5) °C.
После высушивания в течение 10 мин в климатической камере при температуре (100 +/- 5) °C на поверхности деталей не должно быть никаких следов коррозии.
Альтернативный метод контроля:
После обезжиривания образец подвергают испытанию согласно IEC 60068-2-60 с использованием метода испытания 1 с длительностью испытания 4 дня.
После воздействия на поверхность не должно появляться участков красной ржавчины. Белую ржавчину (оксид цинка) и следы красной ржавчины, которую удаляют простым стиранием, не учитывают. Загнутые кромки и сварные соединения не учитывают.
Примечание - Для небольших пружин и т.п., а также для недоступных деталей, подверженных истиранию, слой смазки может обеспечить достаточную защиту от ржавчины. Такие детали подвергают испытанию только при наличии сомнений в эффективности пленки смазки и затем испытание проводят без предварительного удаления смазки.
29 Требования к электромагнитной совместимости (ЭМС)
Примечание - Требования к частям, содержащим электронные компоненты, не включены, поскольку до сих пор в этом не было необходимости.
29.1 Помехоустойчивость. Детали, не содержащие электронных компонентов
Эти детали нечувствительны к обычным электромагнитным помехам и поэтому не требуют испытаний на устойчивость.
29.2 Эмиссия. Детали, не содержащие электронных компонентов
Эти детали не создают электромагнитных помех и поэтому не требуют испытаний на выбросы.
Примечание - Такие детали могут создавать электромагнитные помехи только во время случайных операций включения и выключения приборных соединителей. Частоту, уровень и последовательность этих излучений считают частью нормальной электромагнитной среды.
(обязательное)
ИНДЕКС УСТОЙЧИВОСТИ К ТОКАМ ПОВЕРХНОСТНОГО РАЗРЯДА
Проверку индекса устойчивости к токам поверхностного разряда выполняют в соответствии с IEC 60112.
Примечание - Если поверхность 15 x 15 мм не может быть получена из-за небольших размеров приборных соединителей, могут быть использованы специальные испытуемые образцы, изготовленные по той же процедуре производства.
(обязательное)
ПРИЕМО-СДАТОЧНЫЕ ИСПЫТАНИЯ ЗАВОДСКИХ ПРИБОРНЫХ
СОЕДИНИТЕЛЕЙ, СВЯЗАННЫЕ С БЕЗОПАСНОСТЬЮ
B.1 Общие положения
Все заводские проводные детали должны подвергаться следующим испытаниям, как показано в таблице B.1.
Таблица B.1
Обзор испытаний
Тип детали | Испытание проводится в соответствии с... |
Двухполюсные детали | |
Многополюсные детали | |
Поврежденные образцы должны обрабатываться таким образом, чтобы они не могли выполнять определенную функцию или отличаться от удовлетворительных продуктов, чтобы они не могли быть выпущены для продажи.
Должна быть обеспечена возможность идентификации того, что приборные соединители, выпущенные для продажи, были подвергнуты приемо-сдаточным испытаниям.
Изготовитель ведет учет проведенных испытаний, в котором указывается:
- тип продукта;
- дата испытания;
- место изготовления (если изготовлено более чем в одном месте);
- испытанное количество;
- количество отказов и принятых мер, т.е. разрушенных/отремонтированных.
Испытательное оборудование проверяют до и после каждого этапа использования и в течение непрерывного использования, по крайней мере каждые 24 ч. В ходе этих проверок оборудование должно показать, что оно указывает на неисправности при вставке известных неисправных изделий или применении имитации неисправностей.
Продукция, произведенная до проведения проверки, должна быть выпущена для продажи только в том случае, если проверка признана удовлетворительной.
Испытательное устройство/оборудование должно проверяться/калиброваться не реже одного раза в год.
Должен вестись учет всех проверок и любых необходимых корректировок.
B.2 Полярные системы: фаза (L) и нейтральная фаза (N). Правильное соединение
Для полярных систем испытание проводят путем приложения тока в течение не менее 2 с между удаленным концом проводников L и N гибкого шнура и отдельно соответствующим штырем L и N или контактом приборного соединителя.
Период 2 с может быть сокращен до 1 с на контрольно-измерительном оборудовании с автоматической синхронизацией.
Полярность должна быть правильной.
B.3 Непрерывное заземление (PE)
Испытание проводят с применением тока в течение не менее 2 с между удаленным концом проводника PE гибкого шнура и штырем PE или контактом приборного соединителя в зависимости от обстоятельств.
Период 2 с может быть сокращен до 1 с на контрольно-измерительном оборудовании с автоматической синхронизацией.
Могут быть использованы другие подходящие испытания.
Должна присутствовать непрерывность.
B.4 Короткое замыкание/неправильное соединение и уменьшение пути утечки и зазора
B.4.1 Проверка безопасности доступных поверхностей
Для приборных соединителей с несменяемым шнуром необходимо убедиться в том, что токопроводящие части, например незакрепленный шнур, не проходят через доступную поверхность.
Если эта опасность не может быть предотвращена конструкцией и/или подходящими производственными процессами, то проводят следующее или аналогичное испытание (например, испытание импульсным напряжением).
Доступную поверхность приборных соединителей, за исключением поверхности зацепления приборных вилок и вилочных соединителей, сканируют регулируемыми электродами и силой давления 20 Н.
Через токопроводящие части и поверхность приборных соединителей должно подаваться напряжение переменного тока 2 000 В +/- 10% в течение не менее 1 с.
Не должно быть ни вспышки, ни поломки.
B.4.2 Короткое замыкание/неправильное соединение
Испытание проводят между проводниками L и N и проводником PE путем подачи напряжения со стороны питания 2 000 В +/- 10%, частотой 50 или 60 Гц на конце шнура питания в течение периода не менее 2 с или с помощью испытания импульсным напряжением длительностью 1,2/50 мкс, с пиковым значением 4 кВ, по три импульса для каждого полюса, с интервалами не менее 1 с.
Период 2 с может быть сокращен не менее чем до 1 с на контрольно-измерительном оборудовании с автоматической синхронизацией.
Проводники L и N могут быть соединены вместе для этого испытания.
Не должно быть вспышки.
(обязательное)
См. таблицу C.1.
Таблица C.1
График испытаний
Группа | Раздел/подраздел | Описание испытаний | Приборный ввод | Приборная вилка | Приборный вывод | Вилочный соединитель | | |
1 3 образца | | Маркировка | X | X | X | X | | |
| Размеры и совместимость | X | X | X | X | | |
| Защита от поражения электрическим током | X | X | X | X | | |
| Заземление | X | X | X | X | | |
| Выводы и наконечники | X | X | X | X | | |
| Конструкция | X | X | X | X | | |
| Усилия, необходимые для включения и выключения приборной вилки/приборного вывода | | X | X | | | |
| Работа контактов | X | X | X | X | | |
| Нагревостойкость приборных соединителей для горячих и очень горячих условий | X | X | | | | |
| Механическая прочность | X | X | X | X | | |
| Испытание на свободное падение | | X | | X | | |
| Испытание на боковое натяжение | | X | X | | | |
| Винты, токопроводящие части и соединения | X | X | X | X | | |
| Пути утечки тока, расстояния по изоляционному материалу и воздушные зазоры | X | X | X | X | | |
| Коррозиеустойчивость | X | X | X | X | | |
| Требования к электромагнитной совместимости (ЭМС) | X | X | X | X | | |
| | | | | | | | |
2 | | Влагостойкость | X | X | X | X | | |
| Сопротивление изоляции и электрическая прочность изоляции | X | X | X | X | | |
| Усилия, необходимые для включения и выключения приборной вилки/приборного вывода | | X | X | | | |
| Отключающая способность | | X | X | | | |
| Нормальная работа | | X | X | | | |
| Превышение температуры | | X | X | | | |
| | | | | | | | |
3 | | Шнуры и их присоединение | | X | | X | | |
| | | | | | | | |
4 | | Испытание на изгиб | | X | | X | | |
| | | | | | | | |
5 | | Устойчивость к нагреву | X | X | X | X | | |
6 | | Устойчивость к старению | X | X | X | X | | |
| | | |
| | | | | | | | |
7 | | Теплостойкость, огнестойкость и стойкость к токам поверхностного разряда | | | | | | |
7 | | Степень жесткости (испытание раскаленной проволокой до температуры 750 °C (образец 1)) | X | X | X | X | | |
| Степень жесткости (испытание раскаленной проволокой до температуры 650 °C (образец 2)) | X | X | X | X | | |
| | | | | | | | |
8 | | Теплостойкость, огнестойкость и стойкость к токам поверхностного разряда | | | | | | |
| Стойкость к токам поверхностного разряда | X | X | X | X | | |
<a> Образец каждого материала. <b> Образец каждого типа кабеля, площади поперечного сечения и изготовителя кабеля. | | |
(Amd 1:2018)
(справочное)
СРАВНЕНИЕ ТИПОВЫХ ПЛОЩАДЕЙ ПОПЕРЕЧНОГО СЕЧЕНИЯ ПРОВОДНИКА
В таблице D.1 приведено сравнение площадей поперечного сечения проводника Американского калибра шнуров (AWG) с квадратными миллиметрами, квадратными дюймами и круговыми милями.
Таблица D.1
Сравнение размеров проводников
Размер шнура | Номер калибра | Площадь поперечного сечения | Удельное сопротивление меди постоянному току при 20 °C | Круговые мили |
мм2 | (AWG) | мм2 | дюйм2 | Ом/км | |
0,2 | | 0,196 | 0,000 304 | 91,62 | 387 |
| 24 | 0,205 | 0,000 317 | 87,60 | 404 |
0,3 | | 0,283 | 0,000 438 | 63,46 | 558 |
| 22 | 0,324 | 0,000 504 | 55,44 | 640 |
0,5 | | 0,500 | 0,000 775 | 36,70 | 987 |
| 20 | 0,519 | 0,000 802 | 34,45 | 1 020 |
0,75 | | 0,750 | 0,001 162 | 24,80 | 1 480 |
| 18 | 0,823 | 0,001 272 | 20,95 | 1 620 |
1,0 | | 1,000 | 0,001 550 | 18,20 | 1 973 |
| 16 | 1,31 | 0,002 026 | 13,19 | 2 580 |
1,5 | | 1,500 | 0,002 325 | 12,20 | 2 960 |
| 14 | 2,08 | 0,003 228 | 8,442 | 4 110 |
2,5 | | 2,500 | 0,003 875 | 7,56 | 4 934 |
| 12 | 3,31 | 0,005 129 | 5,315 | 6 530 |
4 | | 4,000 | 0,006 200 | 4,700 | 7 894 |
| 10 | 5,26 | 0,008 152 | 3,335 | 10 380 |
6 | | 6,000 | 0,009 300 | 3,110 | 11 841 |
| 8 | 8,37 | 0,012 967 | 2,093 | 16 510 |
10 | | 10,000 | 0,001 550 | 1,840 | 19 735 |
| 6 | 13,3 | 0,020 610 | 1,320 | 26 240 |
16 | | 16,000 | 0,024 800 | 1,160 | 31 576 |
| 4 | 21,1 | 0,032 780 | 0,8295 | 41 740 |
25 | | 25,000 | 0,038 800 | 0,7340 | 49 338 |
| 2 | 33,6 | 0,052 100 | 0,5211 | 66 360 |
35 | | 35,000 | 0,054 200 | 0,5290 | 69 073 |
| 1 | 42,4 | 0,065 700 | 0,4139 | 83 690 |
50 | | 47,000 | 0,072 800 | 0,3910 | 92 756 |
(справочное)
СВЕДЕНИЯ О СООТВЕТСТВИИ ССЫЛОЧНЫХ МЕЖДУНАРОДНЫХ
СТАНДАРТОВ МЕЖГОСУДАРСТВЕННЫМ СТАНДАРТАМ
Таблица ДА.1
Обозначение ссылочного международного стандарта | Степень соответствия | Обозначение и наименование соответствующего межгосударственного стандарта |
IEC 60068-2-31 | NEQ | ГОСТ 30630.1.7-2013 "Методы испытаний на стойкость к механическим внешним воздействующим факторам машин, приборов и других технических изделий. Испытания на воздействие ударов при свободном падении, при падении вследствие опрокидывания; на воздействие качки и длительных наклонов" (IEC 60068-2-31:2008, IEC 60950-1:2005) |
IEC 60068-2-60 | - | |
IEC 60068-2-75 | MOD | ГОСТ 30630.1.10-2013 (IEC 60068-2-75:1997) "Методы испытаний на стойкость к механическим внешним воздействующим факторам машин, приборов и других технических изделий. Удары по оболочке изделий" (IEC 60068-2-75:1997) |
IEC 60112 | MOD | ГОСТ 27473-87 (МЭК 112-79) "Материалы электроизоляционные твердые. Метод определения сравнительного и контрольного индексов трекингостойкости во влажной среде" (IEC 112:79) |
IEC 60227 (all parts) | IDT | ГОСТ IEC 60227-1-2011 "Кабели с поливинилхлоридной изоляцией на номинальное напряжение до 450/750 В включительно. Часть 1. Общие требования" (IEC 60227-1:2007) |
ГОСТ IEC 60227-2-2012 "Кабели с поливинилхлоридной изоляцией на номинальное напряжение до 450/750 В включительно. Часть 2. Методы испытаний" (IEC 60227-2:1997) |
ГОСТ IEC 60227-3-2011 "Кабели с поливинилхлоридной изоляцией на номинальное напряжение до 450/750 В включительно. Часть 3. Кабели без оболочки для стационарной прокладки" (IEC 60227-3:1997) |
ГОСТ IEC 60227-4-2011 "Кабели с поливинилхлоридной изоляцией на номинальное напряжение до 450/750 В включительно. Часть 4. Кабели в оболочке для стационарной прокладки" (IEC 60227-4:1992) |
IEC 60227-5:2011 | IDT | ГОСТ IEC 60227-5-2013 "Кабели с поливинилхлоридной изоляцией на номинальное напряжение до 450/750 В включительно. Часть 5. Гибкие кабели (шнуры)" (IEC 60227-5:2011) |
IEC 60227-6:2001 | IDT | ГОСТ IEC 60227-6-2011 "Кабели с поливинилхлоридной изоляцией на номинальное напряжение до 450/750 В включительно. Часть 6. Лифтовые кабели и кабели для гибких соединений" (IEC 60227-6:1985) |
IEC 60227-7:2012 | IDT | ГОСТ IEC 60227-7-2012 "Кабели с поливинилхлоридной изоляцией на номинальное напряжение до 450/750 В включительно. Часть 7. Кабели гибкие экранированные и неэкранированные с двумя или более токопроводящими жилами" (IEC 60227-7:1995) |
IEC 60245 (all parts) | IDT | ГОСТ IEC 60245-1-2011 "Кабели с резиновой изоляцией на номинальное напряжение до 450/750 В включительно. Часть 1. Общие требования" (IEC 60245-1:2003) |
ГОСТ IEC 60245-2-2011 "Кабели с резиновой изоляцией на номинальное напряжение до 450/750 В включительно. Часть 2. Методы испытаний" (IEC 60245-2:1994) |
ГОСТ IEC 60245-3-2011 "Кабели с резиновой изоляцией на номинальное напряжение до 450/750 В включительно. Часть 3. Кабели с нагревостойкой кремнийорганической изоляцией" (IEC 60245-3:1994) |
ГОСТ IEC 60245-4-2011 "Кабели с резиновой изоляцией на номинальное напряжение до 450/750 В включительно. Часть 4. Шнуры и гибкие кабели" (IEC 60245-4:1994) |
ГОСТ IEC 60245-5-2011 "Кабели с резиновой изоляцией на номинальное напряжение до 450/750 В включительно. Часть 5. Лифтовые кабели" (IEC 60245-5:1994) |
ГОСТ IEC 60245-6-2011 "Кабели с резиновой изоляцией на номинальное напряжение до 450/750 В включительно. Часть 6. Кабели для электродной дуговой сварки" (IEC 60245-6:1994) |
ГОСТ IEC 60245-7-2011 "Кабели с резиновой изоляцией на номинальное напряжение до 450/750 В включительно. Часть 7. Кабели с нагревостойкой этиленвинилацетатной резиновой изоляцией" (IEC 60245-7:1994) |
ГОСТ IEC 60245-8-2011 "Кабели с резиновой изоляцией на номинальное напряжение до 450/750 В включительно. Часть 8. Шнуры для областей применения, требующих высокой гибкости" (IEC 60245-8:1998) |
IEC 60320 (all parts) | MOD | ГОСТ 30851.1-2002 (МЭК 60320-1-94) "Соединители электрические бытового и аналогичного назначения. Часть 1. Общие требования и методы испытаний" (IEC 60320-1:1994) |
IDT | ГОСТ IEC 60320-2-3-2017 "Соединители электрические бытового и аналогичного назначения. Часть 2-3. Дополнительные требования к соединителям степени защиты свыше SPXO и методы испытаний" (IEC 60320-2-3:2005) |
ГОСТ IEC 60320-2-4-2017 "Соединители электрические бытового и аналогичного назначения. Часть 2-4. Соединители, работающие в зависимости от веса подсоединяемого прибора" (IEC 60320-2-4:2009) |
IEC 60417 | - | |
IEC 60664-1:2007 | IDT | ГОСТ Р МЭК 60664.1-2012 "Координация изоляции для оборудования в низковольтных системах. Часть 1. Принципы, требования и испытания" (IEC 60664-1:2007) |
IEC 60695-2-10:2000 | IDT | ГОСТ IEC 60695-2-10-2016 "Испытания на пожароопасность. Часть 2-10. Методы испытаний раскаленной проволокой. Оборудование для испытания раскаленной проволокой и общий порядок проведения испытаний" (IEC 60695-2-10:2013) |
IEC 60695-2-11:2000 | IDT | ГОСТ IEC 60695-2-11-2013 "Испытания на пожароопасность. Часть 2-11. Основные методы испытаний раскаленной проволокой. Испытание раскаленной проволокой на воспламеняемость конечной продукции" (IEC 60695-2-11:2000) |
IEC 60695-2-12:2000 | IDT | ГОСТ IEC 60695-2-12-2015 "Испытание на пожароопасность. Часть 2-12. Методы испытаний раскаленной проволокой. Метод определения индекса воспламеняемости материалов раскаленной проволокой" (ИВРП) (IEC 60695-2-12:2010) |
IEC 60695-2-13:2000 | IDT | ГОСТ IEC 60695-2-13-2012 "Испытания на пожарную опасность. Часть 2-13. Методы испытаний накаленной/нагретой проволокой. Метод определения температуры зажигания материалов накаленной проволокой" (ТЗНК) (IEC 60695-2-13:2010) |
IEC 60695-10-2 | IDT | ГОСТ IEC 60695-10-2-2013 "Испытания на пожароопасность. Часть 10-2. Чрезмерный нагрев. Испытание давлением шарика" (IEC 60695-10-2:2003) |
IEC 60730-2-11 | MOD | ГОСТ 32128.2.11-2013 (IEC 60730-2-11:2006) "Автоматические электрические управляющие устройства бытового и аналогичного назначения. Часть 2-11. Частные требования к регуляторам энергии" (IEC 60730-2-11:2006) |
IEC 60999-1 | MOD | ГОСТ 31602.1-2012 (IEC 60999-1:1999) "Соединительные устройства. Требования безопасности к контактным зажимам. Часть 1. Требования к винтовым и безвинтовым контактным зажимам для соединения медных проводников с номинальным сечением от 0,2 до 35 мм2" (IEC 60999-1:1999) |
IEC 61032 | IDT | ГОСТ Р МЭК 61032-2000 "Защита людей и оборудования, обеспечиваемая оболочками. Щупы испытательные" (IEC 61032:1997) |
IEC 61058 (all parts) | IDT | ГОСТ IEC 61058-1-2012 "Выключатели для электроприборов. Часть 1. Общие требования" (IEC 61058-1:2008) |
| | ГОСТ IEC 61058-2-1-2013 "Выключатели для электрических приборов. Часть 2-1. Дополнительные требования к шнуровым выключателям" (IEC 61058-2-1:2010) |
ГОСТ IEC 61058-2-4-2012 "Выключатели для электрических бытовых приборов. Часть 2-4. Дополнительные требования к независимо устанавливаемым выключателям" (IEC 61058-2-4:2003) |
ГОСТ IEC 61058-2-5-2012 "Выключатели для электроприборов. Часть 2-5. Дополнительные требования к переключателям полюсов" (IEC 61058-2-5:2010) |
<*> Соответствующий межгосударственный стандарт отсутствует. До его принятия рекомендуется использовать перевод на русский язык данного международного стандарта. Примечание - В настоящей таблице использованы следующие условные обозначения степени соответствия стандартов: - IDT - идентичные стандарты; - MOD - модифицированные стандарты; - NEQ - неэквивалентные стандарты. |
IEC 60050 (all parts) | International Electrotechnical Vocabulary (available at <http://www.electropedia.org/>) (Международный электротехнический словарь (имеется на сайте <http://www.electropedia.org/>)) |
IEC 60364-4-44 | Low-voltage electrical installations - Part 4-44: Protection for safety - Protection against voltage disturbances and electromagnetic disturbances (Электрические установки низкого напряжения. Часть 4-44. Защита для безопасности. Защита от возмущений напряжения и электромагнитных помех) |
IEC 61140 | Protection against electric shock - Common aspects for installation and equipment (Защита от поражения электрическим током. Общие аспекты установки и оборудования) |
ISO 1456 | Metallic and other inorganic coatings - Electrodeposited coatings of nickel, nickel plus chromium, copper plus nickel and of copper plus nickel plus chromium (Металлические и другие неорганические покрытия. Покрытия электролитические из никеля, никель-хром, медь-никель и медь-никель-хром) |
ISO 2081 | Metallic and other inorganic coatings - Electroplated coatings of zinc with supplementary treatments on iron or steel (Металлические и другие неорганические покрытия. Гальванические покрытия цинка с дополнительной обработкой на железе или стали) |
ISO 2093:1986 | Electroplated coatings of tin - Specification and test methods (Покрытия из олова с электролитическим покрытием. Технические условия и методы испытаний) |
УДК 621.315.682:006.354 | | IDT |
Ключевые слова: приборный соединитель, приборная вилка, вилочный соединитель, приборный вывод |