Главная // Актуальные документы // ГОСТ (Государственный стандарт)СПРАВКА
Источник публикации
М.: ФГБУ "РСТ", 2022
Примечание к документу
Документ включен в
Перечень международных и региональных (межгосударственных) стандартов, а в случае их отсутствия - национальных (государственных) стандартов, в результате применения которых на добровольной основе обеспечивается соблюдение требований технического
регламента Таможенного союза "О безопасности аппаратов, работающих на газообразном топливе" (ТР ТС 016/2011), и в
Перечень международных и региональных (межгосударственных) стандартов, а в случае их отсутствия - национальных (государственных) стандартов, содержащих правила и методы исследований (испытаний) и измерений, в том числе правила отбора образцов, необходимые для применения и исполнения требований технического
регламента Таможенного союза "О безопасности аппаратов, работающих на газообразном топливе" (ТР ТС 016/2011) и осуществления оценки соответствия объектов технического регулирования (
Решение Коллегии Евразийской экономической комиссии от 13.07.2021 N 86).
Документ
введен в действие с 01.04.2022.
Название документа
"ГОСТ EN 613-2010. Межгосударственный стандарт. Нагреватели газовые автономные конвективные"
(введен в действие Приказом Росстандарта от 26.11.2021 N 1624-ст)
"ГОСТ EN 613-2010. Межгосударственный стандарт. Нагреватели газовые автономные конвективные"
(введен в действие Приказом Росстандарта от 26.11.2021 N 1624-ст)
агентства по техническому
регулированию и метрологии
от 26 ноября 2021 г. N 1624-ст
МЕЖГОСУДАРСТВЕННЫЙ СТАНДАРТ
НАГРЕВАТЕЛИ ГАЗОВЫЕ АВТОНОМНЫЕ КОНВЕКТИВНЫЕ
Independent gas fired convection heaters
(EN 613:2000+A1:2003, IDT)
ГОСТ EN 613-2010
Дата введения
1 апреля 2022 года
Цели, основные принципы и общие правила проведения работ по межгосударственной стандартизации установлены
ГОСТ 1.0 "Межгосударственная система стандартизации. Основные положения" и
ГОСТ 1.2 "Межгосударственная система стандартизации. Стандарты межгосударственные, правила и рекомендации по межгосударственной стандартизации. Правила разработки, принятия, обновления и отмены"
1 ПОДГОТОВЛЕН Открытым акционерным обществом "Проектно-конструкторский и технологический институт "Газоаппарат", Межгосударственным техническим комитетом по стандартизации МТК 98 "Бытовая аппаратура, работающая на газовом, жидком и твердом видах топлива" на основе собственного перевода на русский язык англоязычной версии стандарта, указанного в
пункте 5
2 ВНЕСЕН Госпотребстандартом Украины
3 ПРИНЯТ Межгосударственным советом по стандартизации, метрологии и сертификации (протокол от 21 мая 2010 г. N 42)
За принятие проголосовали:
Краткое наименование страны по МК (ИСО 3166) 004-97 | Код страны по МК (ИСО 3166) 004-97 | Сокращенное наименование национального органа по стандартизации |
Азербайджан | AZ | Азстандарт |
Армения | AM | ЗАО "Национальный орган по стандартизации и метрологии" Республики Армения |
Грузия | GE | Грузстандарт |
Казахстан | KZ | Госстандарт Республики Казахстан |
Киргизия | KG | Кыргызстандарт |
Молдова | MD | Институт стандартизации Молдовы |
Россия | RU | Росстандарт |
Таджикистан | TJ | Таджикстандарт |
Узбекистан | UZ | Узстандарт |
Украина | UA | Минэкономразвития Украины |
4
Приказом Федерального агентства по техническому регулированию и метрологии от 26 ноября 2021 г. N 1624-ст межгосударственный стандарт ГОСТ EN 613-2010 введен в действие в качестве национального стандарта Российской Федерации с 1 апреля 2022 г.
5 Настоящий стандарт идентичен европейскому стандарту EN 613:2000 "Нагреватели газовые автономные конвективные" ("Independent gas-fired convection heaters", IDT), включая изменение A1:2003.
Внесенные в стандарт изменения отмечены вертикальной линией, расположенной на полях напротив соответствующего текста.
При применении настоящего стандарта рекомендуется использовать вместо ссылочных европейских стандартов соответствующие им межгосударственные стандарты, сведения о которых приведены в дополнительном
приложении ДА
6 ВВЕДЕН ВПЕРВЫЕ
Информация о введении в действие (прекращении действия) настоящего стандарта и изменений к нему на территории указанных выше государств публикуется в указателях национальных стандартов, издаваемых в этих государствах, а также в сети Интернет на сайтах соответствующих национальных органов по стандартизации.
В случае пересмотра, изменения или отмены настоящего стандарта соответствующая информация будет опубликована на официальном интернет-сайте Межгосударственного совета по стандартизации, метрологии и сертификации в каталоге "Межгосударственные стандарты"
Настоящий стандарт устанавливает требования конструкции, безопасности, маркировки, методы испытания и рационального использования энергии автономных газовых конвективных нагревателей, далее именуемых аппаратами.
Настоящий стандарт распространяется на автономные газовые аппараты конвективного нагрева типов B11AS, B11BS, B11CS (обычно называемые в данном стандарте аппаратами B1) и типа C11:
- которые включают горелку с естественным потоком воздуха;
- которые напрямую подсоединены к открытому дымоходу или к устройству для отвода продуктов сгорания (аппараты с открытым дымоходом, аппараты со сбалансированным дымоходом);
- которые смонтированы на стене, свободно стоящие или встроенные;
- у которых номинальная тепловая мощность не превышает 20 кВт (основываясь на величине теплотворной способности).
Кроме того, настоящий стандарт распространяется на аппараты с непрерывно подаваемым топливом.
Настоящий стандарт не распространяется на:
- аппараты с открытой передней панелью, как указано в prEN 13278;
- декоративные топливные аппараты, как указано в EN 509;
- аппараты с каталитическим горением;
- аппараты, в которых подача воздуха и/или отвод продуктов сгорания достигается механическими средствами;
- аппараты с каналом воздухозабора;
- аппараты с установленной закрывающей панелью (см.
3.3.3.3).
Настоящий стандарт распространяется только на испытания типа.
Вопросы, относящиеся к системам обеспечения качества, испытаниям во время изготовления и к сертификации соответствия дополнительных устройств, в настоящем стандарте не рассматриваются.
В настоящем стандарте использованы нормативные ссылки на следующие стандарты [для датированных ссылок применяют только указанное издание ссылочного стандарта, для недатированных - последнее издание (включая все изменения)]:
EN 88:1991, Pressure governors for gas appliances for inlet pressure up to 200 mbar (Регуляторы давления для газовых аппаратов при входном давлении до 200 мбар)
EN 125:1991, Flame supervision devices for gas burning appliance - Thermo-electric flame supervision devices (Устройство контроля пламени для газогорелочных устройств. Термоэлектрические устройства контроля пламени)
EN 126:1995, Multifunctional controls for gas burning appliances (Многофункциональные средства управления за газовыми аппаратами)
EN 161, Automatic shut-off valves for gas burners and gas appliances (Автоматические отсечные клапаны для газовых горелок и газовых аппаратов) |
EN 257:1992, Mechanical thermostats for gas-burning appliances (Механические термостаты для газогорелочных аппаратов)
EN 298:1993, Automatic gas burner control systems for gas burners and gas burning appliances with or without fans (Автоматические системы контроля газовых горелок и газовых аппаратов как с вентиляторами, так и без них)
EN 437:1993, Test gases - Test pressures - Appliance categories (Испытательные газы. Испытательные давления. Категории аппаратов)
EN ISO 3166-1:1997, Codes for representation of names of countries and their subdivisions - Part 1: Country Codes (ISO 3166-1:1997) [Коды для обозначения наименований стран и их областей. Часть 1. Коды стран (ISO 3166-1:1997)] EN 50165, Electrical equipment of non-electric appliances for household and similar purposes - Safety requirements (Электрооборудование для неэлектрических аппаратов домашнего пользования и аналогичных аппаратов. Требования по технике безопасности) |
EN 60335-1:1994, Safety of household and similar electrical appliances - Part 1: General requirements (IEC 60335-1:1991, modified) [Безопасность бытовых и аналогичных электроаппаратов. Часть 1. Общие требования (IEC 60335-1:1991, MOD)]
EN 60529:1991, Degrees of protection provided by enclosures (IP code) (IEC 60529:1989) [Степени защиты, обеспечиваемой корпусами (IP код) (IEC 60529:1989)]
EN 60730-2-9:1995, Automatic electrical controls for household and similar use - Part 2: Particular requirements for temperature sensing controls (IEC 60730-2-9:1992, modified) [Автоматические электрические средства управления для быта и аналогичных целей. Часть 2. Особые требования к температурным средствам управления (IEC 60730-2-9:1992, MOD)]
CR 1404:1994, Determination of emissions from appliances burning gaseous fuels during type testing (Определение выделений от аппаратов, сжигающих газообразное топливо во время испытаний)
ISO 7-1:1994, Pipe threads where pressure-tight joints are made on the threads - Part 1: Dimensions, tolerances and designation (Резьбы трубные, которые обеспечивают герметичность соединений. Часть 1. Размеры, допуски и обозначение)
ISO 228-1:1994, Pipe threads where pressure-tight joints are not made on the threads - Part 1: Dimensions, tolerances and designation (Резьбы трубные, которые не обеспечивают герметичность соединений. Часть 1. Размеры, допуски и обозначение)
ISO 274:1975, Copper tubes of circular section - Dimensions (Медные трубы круглого сечения. Размеры)
В настоящем стандарте применены следующие термины с соответствующими определениями:
3.1 Автономные газовые конвективные нагреватели (Independent gas-fired convection heaters)
3.1.1 конвективный нагреватель (convection heater): Аппарат, который предназначен для обогрева комнаты, главным образом воздушным обогревом путем конвекции. Такой аппарат может также содержать излучающие нагревательные элементы при условии, что это соответствует всем требованиям настоящего стандарта.
3.1.2 нагреватель принудительной конвекции (forced convection heater): Конвективный аппарат, который включает вентилятор и, таким образом, создает ускорение циркуляции воздуха, находящегося в контакте с нагревательным элементом. Такой аппарат предназначен для подачи воздуха непосредственно в комнату, в которой установлен аппарат, и не должен быть связанным с системой распределения теплого воздуха.
3.1.3 конвективный нагреватель с эффектом имитации топлива (live fuel effect convection heater): Конвективный аппарат, имитирующий визуальный эффект твердотопливного устройства.
3.1.4 аппарат с открытой передней панелью (live fuel effect convection heater): Аппарат, у которого пламя открыто или открыты области накаливания.
3.1.5
рабочие поверхности (working surfaces): Те части аппарата, которые, благодаря характеру аппарата, обладают температурой, превышающей пределы, установленные в
6.4.1, исключая те части, к которым могут прикасаться во время нормальной эксплуатации аппарата, например, области, прилегающие к ручкам управления.
Рабочие поверхности не включают те поверхности, которые находятся в пределах 25 см от тех деталей, к которым прикасаются во время нормальной работы аппарата.
3.1.6 конвективный вентилятор (convection fan): Устройство, способствующее распределению нагретого воздуха.
3.2 Газы (Gases)
3.2.1 нормальные условия (reference conditions):
- для величины теплотворной способности - температура 15 °C;
- для объема сухого газа и воздуха, при 15 °C, абсолютное давление 1013,25 мбар.
3.2.2 теплотворная способность (calorific value): Количество тепла, выделенное при сгорании единицы объема или массы газа при постоянном давлении в 1013,25 мбар, при этом составляющие горючей смеси приведены к нормальным условиям, продукты сгорания приведены к тем же условиям.
Следует различать:
- высшую теплотворную способность, при которой вода, образованная при сгорании газа, находится в конденсируемом состоянии.
Символ: Hs
- низшую теплотворную способность, при которой вода, образованная при сгорании газа, находится в парообразном состоянии.
Символ: Hi
Единицы: по выбору
- мегаджоуль на кубический метр (МДж/м3) сухого газа при нормальных условиях, или
- мегаджоуль на килограмм (МДж/кг) сухого газа. [EN 437:1993]
3.2.3 относительная плотность (relative density): Отношение масс равных объемов сухого газа и сухого воздуха при одинаковых условиях температуры и давления.
Символ: d
3.2.4 число Воббе (Wobbe index): Отношение теплотворной способности газа на единицу объема в расчете к корню квадратному его относительной плотности при одинаковых нормальных условиях. Число Воббе считается высшим или низшим в зависимости от того, какая теплотворная способность используется для расчета - высшая или низшая.
Символ: | высшее число Воббе: Ws |
| низшее число Воббе: Wi |
Единицы: по выбору
- мегаджоуль на кубический метр (МДж/м3) сухого газа при нормальных условиях, или
- мегаджоуль на килограмм (МДж/кг) сухого газа. [EN 437:1993]
3.2.5 испытательные давления (test pressures): Давления газа, которые применяются для проверки эксплуатационных характеристик аппаратов с использованием сжигаемых газов. Они включают нормальные и предельные давления.
Выражаются в миллибарах (мбар).
Примечание - 1 мбар = 100 Па.
3.2.6 номинальное давление (normal pressure): Давление, при котором аппараты работают в номинальных условиях, если они снабжаются соответствующим эталонным газом.
Символ: pn
3.2.7 предельные давления (limit pressures): Давления, которые представляют собой предельные отклонения, в условиях подачи топлива в аппарат.
Символы: | максимальное давление: pmax |
| минимальное давление: pmin |
3.2.8 пара давлений (pressure couple): Комбинация двух различных давлений газораспределения, применяемых по причине значительного отличия между числом Воббе в пределах одного семейства или группы газов, в которых:
- высокое давление соответствует только газам с низшим числом Воббе; и
- низкое давление соответствует газам с высшим числом Воббе. [EN 437:1993]
3.3 Конструкция аппаратов (Appliance construction)
3.3.1 газовый контур (the gas circuit)
3.3.1.1 входное присоединение (inlet connection): Деталь аппарата, предназначенная для подсоединения к источнику подачи газа.
3.3.1.2 механическое соединение (mechanical joint): Устройство подсоединения, обеспечивающее герметичность нескольких деталей в узле, чаще всего выполненное из металла.
Примечание - например, следующие:
- конусные опорные соединения;
- тороидальные герметизирующие кольца (кольцевые уплотнения);
- плоские соединения;
- соединения металл по металлу.
3.3.1.3 газовый контур (gas circuit): Часть аппарата, по которому передается газ или содержится газ между газовым входным соединением аппарата и горелкой (горелками).
3.3.1.4 газовый дроссель (gas rectrictor): Нерегулируемое устройство, помещаемое в газовом контуре для того, чтобы создавать понижение давления и, таким образом, уменьшать давление газа на горелке до заданной величины при определенном давлении и скорости подачи газа.
3.3.1.5
регулятор расхода газа (gas rate adjuster): Узел, предназначенный для того, чтобы изготовитель или тот, кто монтирует аппарат, мог задавать расход газа на каждую горелку на заданную величину в соответствии с условиями подачи газа.
Регулировка может быть поступательной (регулировочным винтом) или непрерывной (сменой дросселей).
Регулятор регулируемого устройства управления считается регулятором расхода газа.
Действия, выполняемые для настройки аппарата, называются "установкой расхода газа".
3.3.1.6 управление расходом газа (gas rate control): Устройство, позволяющее пользователю открывать или закрывать подачу газа на одну или несколько горелок. Его также можно использовать для регулировки расхода газа для определенных горелок до заданной величины, что называется "сниженным расходом". Такое устройство может быть "краном".
3.3.1.7 инжектор (injector): Деталь для подачи газа на горелку.
3.3.1.8 пусковой газ (start gas): Начальное количество газа, разжигаемого для образования пламени, используемого для розжига основной горелки. Он может поступать через отдельную запальную горелку или часть основной горелки.
3.3.2 горелка (burner)
3.3.2.1 основная горелка (main burner): Горелка, обеспечивающая тепловую функцию аппарата. Обычно просто называется "горелкой".
3.3.2.2 запальная горелка (ignition burner): Отдельная горелка, предназначенная для розжига основной горелки.
3.3.2.2.1 запальная горелка постоянного действия (permanent ignition burner): Запальная горелка, работающая непрерывно на протяжении всего периода функционирования аппарата.
3.3.2.2.2 запальная горелка прерывистого действия (intermittent ignition burner): Запальная горелка, которая разжигается перед розжигом основной горелки и погасает одновременно с основной горелкой.
3.3.2.3 фиксированный дроссель первичной подачи воздуха (fixed primary aeration restrictor): Нерегулируемое устройство, ограничивающее подачу первичного воздуха к горелке.
3.3.3 контур продуктов сгорания (combustion products circuit)
3.3.3.1
выходной патрубок дымохода (flue outlet): Деталь аппарата типа B (см.
4.2), которая соединяет аппарат с дымоходом для отвода продуктов сгорания.
3.3.3.2 прерыватель тяги (draught diverter): Устройство, размещаемое в контуре отвода продуктов сгорания для уменьшения воздействия тяги в дымоходе и для снижения эффекта нижней тяги на стабильность пламени на горелке и горения.
3.3.3.3
закрывающая панель (closure plate): Несгораемая панель, которая используется для закрытия и уплотнения передней плоскости строительного проема или топочного отверстия так, что, когда аппарат установлен, поступление воздуха из помещения в дымоход происходит с заданными требованиями к аппарату.
Данная панель содержит сквозное отверстие, через которое конец трубы отвода аппарата входит в полость строительного проема или топочного углубления, но не соединен с дымоходом.
Панель может быть отдельной деталью или неотъемлемой частью аппарата, например, задняя панель, но в любом случае ее следует считать частью аппарата.
3.3.3.4 строительный проем (builder's opening): Ограждение, изготовленное строителем, для закрытия деталей топки.
3.3.3.5 топочное отверстие (fireplace opening): Отверстие, сформированное на лицевой поверхности строительного проема или топочного углубления, или на приспособленном окружении пламени.
3.3.3.6 топочное углубление (fireplace): Углубление, сформированное деталями топки, установленными в строительный проем.
3.3.4 вспомогательное оборудование (auxiliary equipment)
3.3.4.1 регулятор давления (pressure governor): Устройство, поддерживающее в фиксированном диапазоне постоянное нисходящее давление, не зависящее от восходящего давления и/или расхода газа.
3.3.4.2 запальное устройство (ignition device): Устройство для розжига одной или нескольких горелок.
3.3.4.3 устройство контроля пламени (flame supervision device): Устройство, включающее сенсорный элемент, благодаря которому подача газа открывается или закрывается в соответствии с присутствием или отсутствием пламени, активизирующим сенсорный элемент.
3.3.4.4 защитное устройство для отвода продуктов сгорания (combustion products discharge safety device): Устройство, которое автоматически отключает подачу газа к основной горелке и, может быть, к запальной горелке, если имеется неприемлемо высокая утечка продуктов сгорания от ограничителя тяги.
3.3.4.5 датчик контроля состояния окружающей среды (atmosphere sensing device): Устройство, предназначенное для отключения подачи газа до того, как продукты сгорания в окружающей среде достигнут установленной величины.
3.3.4.6 кнопка управления (control knob): Узел, предназначенный для перемещения вручную с целью управления аппаратом (краном, термостатом и пр.).
3.3.4.7 блок программирования (programming unit): Устройство, реагирующее на сигналы, исходящие от устройств управления и защиты, выдает команды управления, команды начала выполнения последовательных действий, следит за работой горелки и осуществляет управляемые отключения и, если требуется, отключения в целях защиты и блокировку. Блок выполняет заданную последовательность действий и всегда работает в связи с устройством контроля пламени.
3.3.4.8 устройство обнаружения пламени (flame detector device): Устройство, с помощью которого обнаруживается пламя и подается сигнал.
Оно может состоять из датчика пламени, усилителя и реле для передачи сигнала. Эти детали, за исключением, вероятно, датчика пламени, могут быть смонтированы в одном корпусе для эксплуатации вместе с блоком программирования.
3.3.4.9 автоматическая система горелок (automatic burner system): Система горелок, при которой, начиная с состояния полного отключения, разжигается газ, а потом следует обнаружение пламени и его контроль, а основной газовый клапан (клапаны) включается без ручного вмешательства.
3.3.4.10 повторная блокировка (ручная) [restart interlock (manual)]: Устройство, препятствующее восстановлению подачи газа к основной горелке или к основной горелке и к запальной горелке до тех пор, пока не истечет время задержки.
3.4 Регулирование и управление (Adjusters and controls)
3.4.1 настройка устройства регулирования (setting an adjuster): Установка устройства регулирования в неподвижном положении посредством, например, винта. Считается, что устройство регулирования в этом положении "настроено".
3.4.2
пломбирование устройства регулирования (staling an adjuster): Фиксация устройства регулирования с помощью пломбирующего материала, который разрушается при каждой попытке регулирования и таким образом становится очевидным вмешательство.
Установленное регулирование на заводе, предварительно опломбированное, считается отсутствующим.
Регулятор давления считается отсутствующим, если он был опломбирован на заводе в полностью открытом состоянии.
3.4.3 прекращение работы устройства управления (putting a control out of service): Процесс, с помощью которого устройство управления (температурой, давлением и т.д.) выводится из эксплуатации и пломбируется в таком положении. Тогда аппарат работает так, как если бы это устройство отсутствовало.
3.5 Эксплуатационные характеристики аппарата (Appliance performance)
3.5.1 расход газа (gas rates)
3.5.1.1 объемный расход (volumetric flow rate): Объем газа, потребляемый аппаратом за единицу времени во время непрерывной эксплуатации.
Символ: V
Единицы измерения: кубические метры в час (м3/ч), литры в минуту (л/мин), кубические дециметры в час (дм3/ч) или кубические дециметры в секунду (дм3/с).
3.5.1.2 массовый расход (mass flow rate): Масса газа, потребляемая аппаратом за единицу времени во время непрерывной эксплуатации.
Символ: M
Единицы измерения: килограммы в час (кг/ч) или граммы в час (г/ч). [EN 437:1993]
3.5.1.3 тепловая мощность (heat input): Количество энергии, потребляемой в единицу времени соответственно объемному и массовому расходу, при этом используемая величина теплотворной способности может быть как низшей, так и высшей теплотворной способностью.
Символ: Q
Единица измерения: киловатт (кВт). [EN 437:1993]
3.5.1.4 номинальная тепловая мощность (nominal heat input): Величина тепловой мощности, заявленная изготовителем.
Символ: Qn
Единица измерения: киловатт (кВт).
3.5.2 горение газа (gas combustion)
3.5.2.1 стабильность пламени (flame stability): Стабильное состояние пламени, предусмотренное конструкцией без отрыва пламени или проскока на выходных отверстиях горелки или в области, контактируемой с пламенем.
3.5.2.2 отрыв пламени (flame lift): Явление, предусмотренное конструкцией, характеризующееся полным или частичным отрывом основания пламени от выходного отверстия горелки или от контактной области пламени.
3.5.2.3 проскок (light-back): Явление, характеризующееся тем, что пламя находится в самом корпусе горелки.
3.5.2.4 проскок на инжекторе (light-back at the injector): Явление, характеризующееся розжигом газа на инжекторе, либо в результате пламени, поступающего на горелку, либо распространением пламени с наружной стороны горелки.
3.5.2.5 сажеобразование (sooting): Явление, появляющееся при неполном сгорании и характеризующееся отложением сажи на поверхностях деталей аппарата, находящихся в контакте с продуктами горения или с пламенем.
3.5.2.6 желтая верхушка (yellow tipping): Явление, характеризующееся появлением желтого контура на верхушке голубого конуса аэрированного пламени.
3.5.3 безопасное время (safety time): Интервал между подачей энергии на газовый клапан запальной горелки, клапан пуска газа или основной газовый клапан и отключением подачи энергии на газовый клапан запальной горелки, клапан пуска газа или основной газовый клапан, если устройство контроля пламени подает сигнал об отсутствии пламени.
3.5.4 время задержки погасания (extinction delay time): Время, которое проходит между исчезновением пламени и прерыванием подачи газа.
3.5.5 время задержки розжига (ignition delay time): У термоэлектрических средств контроля пламени это время, которое проходит от розжига контролируемого пламени до момента, когда закрывающий элемент удерживается в открытом состоянии сигналом о состоянии пламени.
3.5.6 тепловое равновесие (thermal equilibrium): Рабочее состояние аппарата, соответствующее определенной установленной мощности, при которой температура дымового газа меняется не более чем на +/- 2 К за период времени в 10 мин.
3.5.7 регулируемое выключение (controlled shutdown): Процесс, посредством которого управляющее устройство (на аппарате или снаружи его) вызывает мгновенную остановку подачи газа на основную горелку.
3.5.8 безопасное выключение (safety shutdown): Процесс, который начинается сразу же в ответ на сигнал, исходящий от устройства ограничения или датчика, и который приводит к выключению горелки.
3.5.9 долговременная блокировка (non-volatile lockout): Отключенное состояние, при котором повторный пуск может выполняться только вручную.
3.5.10 кратковременная блокировка (volatile lockout): Отключенное состояние, при котором пуск может осуществляться путем возобновления подачи электроэнергии после ее снижения.
3.6 Маркировка аппарата и упаковка (Marking of the appliance and packaging)
3.6.1 страна прямого назначения (direct country of destination): Страна, для которой аппарат сертифицирован и которая определена изготовителем как страна назначения. К моменту поставки аппарата на рынок и/или установки аппарата он должен быть в рабочем состоянии без регулировок или модификаций, работающим на одном из газов, поставляемых в страну при соответствующем давлении подачи газа.
Может быть указано несколько стран, если аппарат в том состоянии настройки, в котором он находится, может использоваться в каждой из этих стран.
3.6.2 страна косвенного назначения (indirect country of destination): Страна, для которой аппарат сертифицирован, но для которой в настоящем его состоянии он не подходит. Должны быть выполнены последующие модификации или регулировки для того, чтобы его можно было безопасно и правильно эксплуатировать в данной стране.
4 Классификация аппаратов
4.1 Классификация по типам используемых газов (категорий)
4.1.1 Классификация газов
Газы классифицируются по трем семействам, которые можно подразделить на группы в зависимости от числа Воббе. В
таблице 1 указаны семейства и группы газов, применяемых в настоящем стандарте.
Таблица 1
Семейства и группы газа | Высшее число Воббе при 15 °C и 1 013,25 мбар |
Минимум (МДж/м3) | Максимум (МДж/м3) |
Первое семейство | | |
Группа a | 22,4 | 24,8 |
Второе семейство | 39,1 | 54,7 |
Группа H | 45,7 | 54,7 |
Группа L | 39,1 | 44,8 |
Группа E | 40,9 | 54,7 |
Третье семейство | 72,9 | 87,3 |
Группа B/P | 72,9 | 87,3 |
Группа P | 72,9 | 76,8 |
Группа B | 81,8 | 87,3 |
4.1.2 Категории аппаратов
4.1.2.1 Общие требования
Аппараты классифицируются по категориям, в соответствии с газами и величиной давления, для которых они предназначены.
В каждой стране, принимая во внимание условия газоснабжения (состав газа и давления подачи газа), на рынок поступают только некоторые категории, указанные в
4.1.2.2,
4.1.2.3 и
4.1.2.4.
| | ИС МЕГАНОРМ: примечание. В официальном тексте документа, видимо, допущена опечатка: Таблица A.1 отсутствует. Возможно, имеются в виду таблицы A.1.1 и A.1.2. | |
Национальные особенности относительно поставки таких категорий аппаратов на рынок по каждой стране, а также соответствующие давления подачи газа представлены в
таблицах A.1 и
A.2 (см. также в
A.3 особые категории, продающиеся локально и в масштабе страны в соответствии со специальными видами газа и давлениями подачи, которые указаны в
таблице A.4; особые условия по странам даны в
приложении K).
Аппараты категории 1 предназначены исключительно для использования газов одного семейства или одной группы.
4.1.2.2.1 Аппараты, предназначенные для использования только на газах первого семейства
Категория I1a: аппараты, в которых используются газы только группы a первого семейства при заданном давлении подачи газа. (Данная категория не применяется).
4.1.2.2.2 Аппараты, предназначенные для использования только на газах второго семейства
Категория I2H: аппараты, в которых используются только газы группы H второго семейства при заданном давлении подачи газа.
Категория I2L: аппараты, в которых используются только газы группы L второго семейства при заданном давлении подачи газа.
Категория I2E: аппараты в которых используются только газы группы E второго семейства при заданном давлении подачи газа.
Категория I2E+: аппараты, в которых используются только газы группы E второго семейства с парой давления без регулировки на аппарате. Устройство, регулирующее давление газа на аппарате, если оно имеется, не эксплуатируется в диапазоне между парой давлений.
4.1.2.2.3 Аппараты, предназначенные для использования на газах только третьего семейства
Категория I3B/P: аппараты, которые могут работать на газах третьего семейства (пропан и бутан) при заданном давлении подачи газа.
Категория I3E+: аппараты, которые могут работать на газах третьего семейства (пропан и бутан) и эксплуатирующиеся при паре давления без регулировки аппарата. Однако для некоторых видов аппаратов могут допускаться указанные регулировки первичного воздуха для горения при переходе от пропана к бутану и наоборот. На аппарате не допускается устройство, регулирующее давление газа.
Категория I3P: аппараты, в которых применяются только газы группы P третьего семейства (пропан) при заданном давлении подачи газа.
Аппараты категории II предназначены для работы на газах двух семейств.
4.1.2.3.1 Аппараты, предназначенные для использования газов первого и второго семейств
Категория II1a2H: аппараты, способные работать на газах группы a первого семейства и газах группы H второго семейства. Газы первого семейства применяются в тех же условиях, что и газы категории I1a. Газы второго семейства используются в тех же условиях, что и газы категории I2H.
4.1.2.3.2 Аппараты, предназначенные для работы на газах второго и третьего семейств
Категория II2H3B/P: аппараты, способные использовать газы группы H второго семейства и газы третьего семейства. Газы второго семейства применяются в тех же условиях, что и газы категории I2H. Газы третьего семейства используются в тех же условиях, что и газы категории II3B/P.
Категория II2H3+: аппараты, способные использовать газы группы H второго семейства и газы третьего семейства. Газы второго семейства используются в тех же условиях, что и газы категории I2H. Газы третьего семейства используются в тех же условиях, что и газы категории I3+.
Категория II2H3P: аппараты, способные использовать газы группы H второго семейства и газы группы P третьего семейства. Газы второго семейства используются в тех же условиях, что и газы категории I2H. Газы третьего семейства используются в тех же условиях, что и газы категории I3P.
Категория II2L3B/P: аппараты, способные использовать газы группы L второго семейства и газы третьего семейства. Газы второго семейства используются в тех же условиях, что и газы категории I2L. Газы третьего семейства используются в тех же условиях, что и газы категории I3B/P.
Категория II2L3P: аппараты, способные использовать газы группы L второго семейства и газы группы P третьего семейства. Газы второго семейства используются в тех же условиях, что и газы категории I2L. Газы третьего семейства используются в тех же условиях, что и газы категории I3P.
Категория II2E3B/P: аппараты, способные использовать газы группы E второго семейства и газы третьего семейства. Газы второго семейства используются в тех же условиях, что и газы категории I2E. Газы третьего семейства используются в тех же условиях, что и газы категории I3B/P.
Категория II2E+3+: аппараты, способные использовать газы группы E второго семейства и газы третьего семейства. Газы второго семейства используются в тех же условиях, что и газы категории I2E+. Газы третьего семейства используются в тех же условиях, что и газы категории I3+.
Категория II2E+3P: аппараты, способные использовать газы группы E второго семейства и газы группы P третьего семейства. Газы второго семейства используются в тех же условиях, что и газы категории I2E+. Газы третьего семейства используются в тех же условиях, что и газы категории I3P.
Аппараты категории III предназначены для использования на газах всех трех семейств.
Данная категория не для общего пользования.
Аппараты категории III, которые выставляются на рынок некоторых стран, приведены в
A.3 (приложение A).
4.2 Классификация по способу отвода продуктов сгорания
Аппараты классифицируются на типы по способу отвода продуктов сгорания и подачи воздуха для горения.
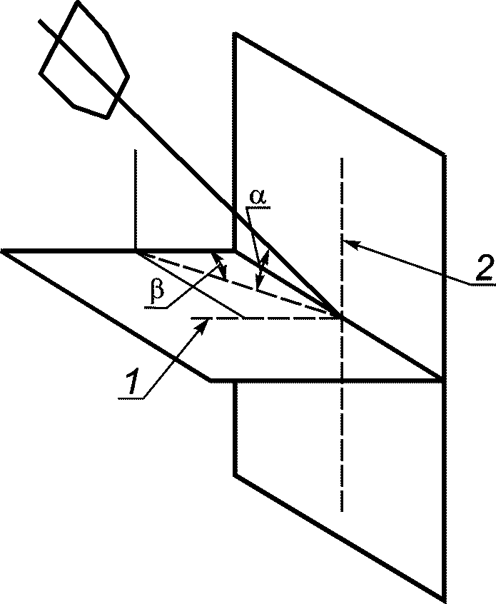
Тип B: Аппарат, предназначенный для подсоединения к дымоходу, по которому отводятся продукты сгорания за пределы помещения, в котором установлен аппарат. Воздух для горения подается непосредственно из комнаты.
Тип B1: Аппарат типа B включает прерыватель тяги.
В соответствии с настоящим стандартом аппарат типа B1 является аппаратом, который прямо или через переходное устройство подсоединен к дымоходу и где закрывающая панель не считается переходным устройством.
Тип B11: Аппарат типа B1 с естественной тягой, предназначенный для вытяжки естественным путем.
Тип B11AS: Аппарат типа B11, оборудованный атмосферным датчиком для предотвращения отвода продуктов сгорания в опасном количестве в помещение при нарушенных условиях вытяжки.
Тип B11BS: Аппарат типа B11, оборудованный защитным устройством для отвода продуктов сгорания во избежание выделения продуктов сгорания в опасном количестве в помещение при нарушенных условиях вытяжки.
Тип B11CS: Аппарат типа B11, не оборудованный атмосферным датчиком или защитным устройством для контроля отвода продуктов сгорания, но сконструированный таким образом, чтобы предотвращать выделение продуктов сгорания в опасном количестве в помещение при нарушенных условиях вытяжки.
Тип C: Аппарат, в котором контур горения (подача воздуха, камера сгорания, теплообменник и отвод продуктов сгорания) герметизированы по отношению к помещению, в котором установлен аппарат.
Тип C1: Аппарат типа C предназначен для соединения посредством каналов к горизонтальному терминалу, который одновременно подает свежий воздух на горелку и отводит продукты сгорания наружу через отверстия, которые либо концентричны, либо располагаются достаточно близко, чтобы находиться в одинаковых ветровых условиях.
Тип C11: Аппарат типа C1 с естественной вытяжкой.
5 Требования к конструкции
5.1 Общие требования
5.1.1 Переход на другие газы
5.1.1.1 Общие требования
В соответствии с определениями, указанными в
4.1.2.2,
4.1.2.3 и
4.1.2.4, единственно приемлемыми модификации и/или регулировки при переходе от газа одной группы или семейства к газу другой группы или семейства, и/или подгонки к другим давлениям распределения газа возможны те, что указаны в
5.1.1.2 -
5.1.1.4 для каждой категории аппарата.
Для аппаратов категории BIIAS, когда эксплуатация атмосферных датчиков зависит от характеристик газа (включая давление), требуется смена датчика полного контроля за состоянием окружающей среды при переходе от газа одного семейства к газу другого семейства или при переходе от одного давления или пары давлений к другому в третьем семействе, если это указано в инструкциях изготовителя.
Категории I2H, I2L, I2E, I2E+: Модификация и/или регулировка аппарата не применяются.
Категория I3+: Не нужны модификации и/или регулировка аппарата, за исключением смены инжекторов или дросселей для перехода от одной пары давления к другой (например, от 28 мбар до 30 мбар/37 мбар <=> 50 мбар/67 мбар). Допускается смена дросселя первичной фиксированной подачи воздуха при переходе от одной пары давлений к другой или от одного давления к другому в пределах пары давлений.
Категория I3P, I3B/P: Никаких изменений и/или регулировок аппарата относительно смены газа не требуется. Допускается смена дросселя фиксированной первичной подачи воздуха при смене диапазона давлений, замене инжекторов и регулировании скоростей газового потока.
5.1.1.3 Категория II
5.1.1.3.1 Категории аппаратов, предназначенные для использования газов первого и второго семейств
Следующие модификации и/или регулировки допускаются, но только при переходе от газа одного семейства к газу другого семейства:
- регулировка расхода газа со сменой, если требуется, инжекторов, дросселей или регулятора;
- замена узла горелки;
- замена комплекта запальных горелок или некоторых ее деталей;
- замена главного дросселя фиксированной аэрации.
Если аппарат предназначен для функционирования без регулятора, работающего на газах второго семейства, то при таких обстоятельствах требуется выводить регулятор из эксплуатации (см.
5.2.6).
При использовании газов второго семейства обязательно требуется выводить из эксплуатации регулирование расхода подачи газа (см.
3.4.2).
5.1.1.3.2 Категории аппаратов, предназначенные для использования газов второго и третьего семейств
Разрешены следующие изменения и/или регулировки, но только при переходе от газа одного семейства к газу другого семейства:
- регулирование расхода газа со сменой, если необходимо, инжекторов, дросселей или регулятора;
- замена узла горелки;
- замена комплекта запальной горелки или некоторых ее деталей;
- смена дросселя фиксированной первичной аэрации.
Регулятор должен быть выведен из эксплуатации, где это требуется в соответствии с требованиями
5.2.6.
Регуляторы расхода газа должны быть выведены из эксплуатации в соответствии с требованиями
5.2.2.
Следующие модификации и/или регулировки разрешены при переходе от одной пары давлений к другой или от одного диапазона давлений к другому:
Замена инжекторов или дросселей для перехода от одной пары давлений к другой в пределах газов третьего семейства (например, от 28 мбар до 30 мбар/37 мбар <=> 50 мбар/67мбар).
Допускается замена дросселя первичной аэрации при переходе от одной пары давлений к другой или от одного давления к другому в пределах пары давлений.
При смене диапазона давлений газа в корпусе аппарата категорий, которые используют газы третьего семейства без пары давлений (например, "3P" и "3B/P"), допускается замена инжекторов, регулировка расхода газа и замена дросселя фиксированной первичной аэрации.
Аппараты категории III, разрешенные в определенных странах, приведены в
A.3.
5.1.2 Материалы и методы конструирования
Качество и толщина материалов, используемых при изготовлении аппарата, а также метод сборки различных деталей должны быть таковыми, чтобы конструктивные, функциональные и эксплуатационные характеристики не влияли в значительной степени на срок службы при нормальных условиях монтажа, эксплуатации и технического обслуживания.
В частности, когда аппарат устанавливается в соответствии с указаниями изготовителя и национальными требованиями монтажа, все составные части должны выдерживать механические, химические и термические нагрузки, которым они могут подвергаться во время эксплуатации.
Детали из листового металла, находящиеся в контакте с продуктами сгорания и не выполненные из антикоррозионного материала, должны быть покрыты эффективной защитой против коррозии, например эмалью.
Асбестовые или асбестосодержащие материалы не должны применяться.
Если при запуске и/или во время нормальной работы аппарата образуется конденсат, он не должен вызывать ухудшения состояния конструкции аппарата и/или используемых материалов, чтобы это не оказывало влияния на безопасность аппарата. Конструкция аппарата должна быть такой, чтобы конденсат не капал на пол.
5.1.3 Удобство осмотра и обслуживания
Все ручки регулирования в газовом контуре должны быть установлены так, чтобы регулировки, техническое обслуживание или замена происходили легко, без препятствий.
Съемные части должны быть сконструированы и промаркированы так, чтобы было легко и правильно их переустанавливать в соответствии с инструкциями изготовителя и чтобы любой неверный монтаж был очевиден. |
Все операции по снятию и установлению заново деталей, которые пользователь может производить в ходе текущего технического обслуживания в соответствии с инструкциями изготовителя, должны производиться без помощи инструмента.
Съемные части должны иметь возможность демонтироваться инженером по обслуживанию с помощью обычных инструментов, таких как отвертка или гаечный ключ.
Для аппарата типа C11 герметичность контура горения должна сохраняться после переустановки и после замены герметичной прокладки, если требуется, а также после чистки или технического обслуживания.
Аппарат должен быть надежно закреплен. Инструкции по установке должны содержать верную и точную информацию.
Когда в контур горения аппарата встроены дверца, которая, при необходимости, должна быть открыта, или панель, которую требуется снимать, то они должно быть такими, чтобы было затруднено неправильное закрытие дверцы или замена панели.
Если вышеописанная операция не требует применения инструмента, то такая операция должна быть указана в инструкциях по эксплуатации и техническому обслуживанию (см.
8.2.3).
В том случае, если изготовитель поставляет специальный инструмент, то такой инструмент следует убирать, как только операция закончена.
5.1.4.1 Входное соединение аппарата
См.
A.5 по вопросу соединений на входе аппарата.
Входное отверстие аппарата должно быть одним из следующих типов:
a) резьба, соответствующая ISO 228-1:1994. В таком случае край соединения входного отверстия для газа имеет плоскую круглую поверхность шириной не менее 3 мм для резьбы размером 1/2" и 3/8" и шириной не менее 2,5 мм для резьбы размером 1/4" для того, чтобы имелось место для герметизирующей прокладки. Если на конце входного газового отверстия имеется резьба номинального размера 1/2", то должна быть возможность вставить калибр (шаблон) диаметром 12,3 мм на глубину не менее 4 мм;
b) резьба, соответствующая ISO 7-1:1994;
c) установка уплотнения пригонкой для медной трубки в соответствии с таблицей 2 ISO 274:1994;
d) прямая трубка длиной около 30 мм, у которой есть цилиндрический гладкий и чистый конец, позволяющий осуществлять соединение посредством уплотнения, как указано в c);
e) конусный патрубок.
5.1.4.2 Доступ к входному соединению
Положение соединения должно быть таким, чтобы подключение к подаче газа можно было легко осуществлять с помощью стандартного инструмента.
5.1.5 Герметичность газового контура
Отверстия для винтов, штифтов и т.д., предназначенных для сборки составных частей, не должны выходить в газовый контур. Разность толщины стенок должна быть не менее 1 мм.
Кронштейны для поддержания составных частей не должны вставляться в стыки, по которым проходит газ.
Герметичность составных частей и узлов, подключаемых к газовому контуру, которые могут демонтироваться в целях текущего технического обслуживания в помещениях пользователя, за исключением вентилей и кранов, должна обеспечиваться посредством механических соединений, например, соединений металл по металлу, уплотнительных колец или герметизирующих материалов, за исключением применения какого-либо герметизирующего компаунда, такого как лента, клейкое вещество или паста. Герметичность должна быть сохранена после демонтажа и новой сборки.
Герметизирующие компаунды могут использоваться для постоянных резьбовых узлов и инжекторов, а смазка - для вентилей и кранов. Герметизирующий материал должен сохранять свою эффективность при нормальных условиях эксплуатации аппарата.
Герметичность узлов газового контура не должна обеспечиваться за счет мягкого припоя, у которого самая низкая температура диапазона для пайки составляет менее 450 °C.
5.1.6 Герметичность контура горения
5.1.6.1 Аппараты типа B1
Герметичность аппарата до прерывателя тяги должна быть обеспечена только механическим способом, за исключением тех частей, которые не требуют демонтажа для текущего технического обслуживания, и постоянная герметичность в нормальных условиях эксплуатации может быть гарантирована мастикой или пастой.
Детали, которые могут сниматься для текущего обслуживания, должны быть сконструированы и установлены так, чтобы обеспечивалась герметичность после повторной сборки.
5.1.6.2 Аппараты типа C11
| | ИС МЕГАНОРМ: примечание. Текст дан в соответствии с официальным текстом документа. | |
Герметичность при нагреве корпуса и соединении аппарата ко входу подачи воздуха для горения и каналам отвода продуктов сгорания (тип C11) должна быть обеспечена только механическим способом.
Однако для тех частей сборки, которые не требуют демонтажа при текущем техническом обслуживании, постоянная герметичность в нормальных условиях эксплуатации должна быть гарантирована мастикой или пастой.
Конструкция всей сборки должна обеспечивать герметичность помещения, в котором установлен аппарат.
Детали, которые могут быть сняты для текущего технического обслуживания, должны быть выполнены и установлены так, чтобы обеспечивать герметичность после повторной сборки.
5.1.6.3 Встроенные аппараты
Если аппарат поставляется в виде нескольких узлов, которые следует устанавливать при монтаже, необходимо, чтобы эта операция проводилась при сборке без отклонений от инструкций изготовителя. Если требуется специальный инструмент, то он должен поставляться изготовителем.
Все составные части или материалы, необходимые для сборки этих подгрупп, должны поставляться заводом-изготовителем.
5.1.7 Подача воздуха для горения и отвод продуктов сгорания
5.1.7.1 Общие требования
Аппарат должен содержать весь контур горения, начиная от входного отверстия для подачи воздуха в аппарат для горения и заканчивая отводом продуктов сгорания.
5.1.7.2 Аппараты типа B1
Аппарат типа B1 должен иметь прерыватель тяги как неотъемлемую часть аппарата.
Вытяжной патрубок должен иметь внутреннюю вставку, которая при необходимости позволяет осуществлять соединение, посредством переходника, поставляемого вместе с аппаратом, к дымоходу, диаметр которого соответствует требованиям, действующим в стране, где устанавливается аппарат (см.
таблицу A.6).
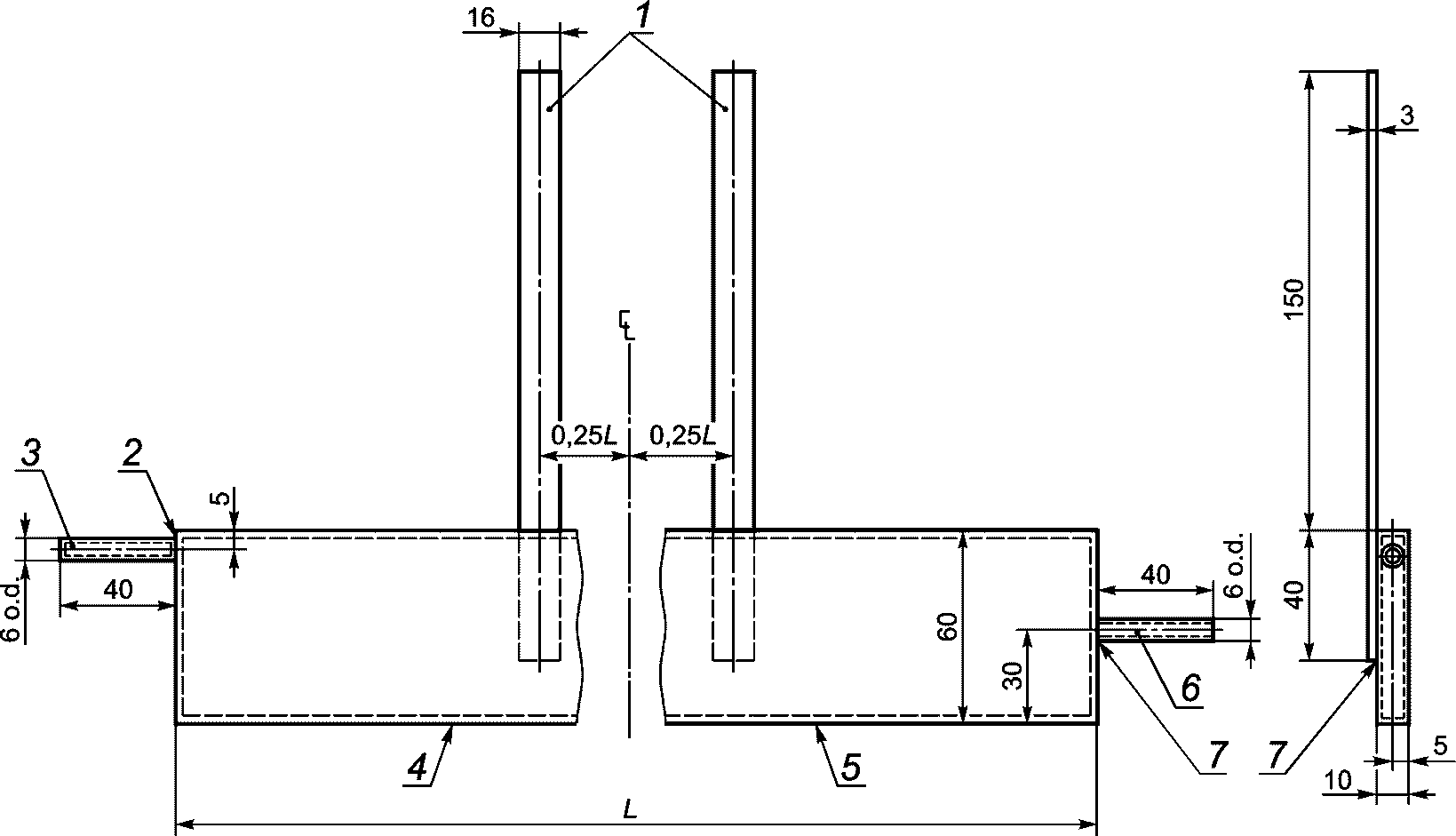
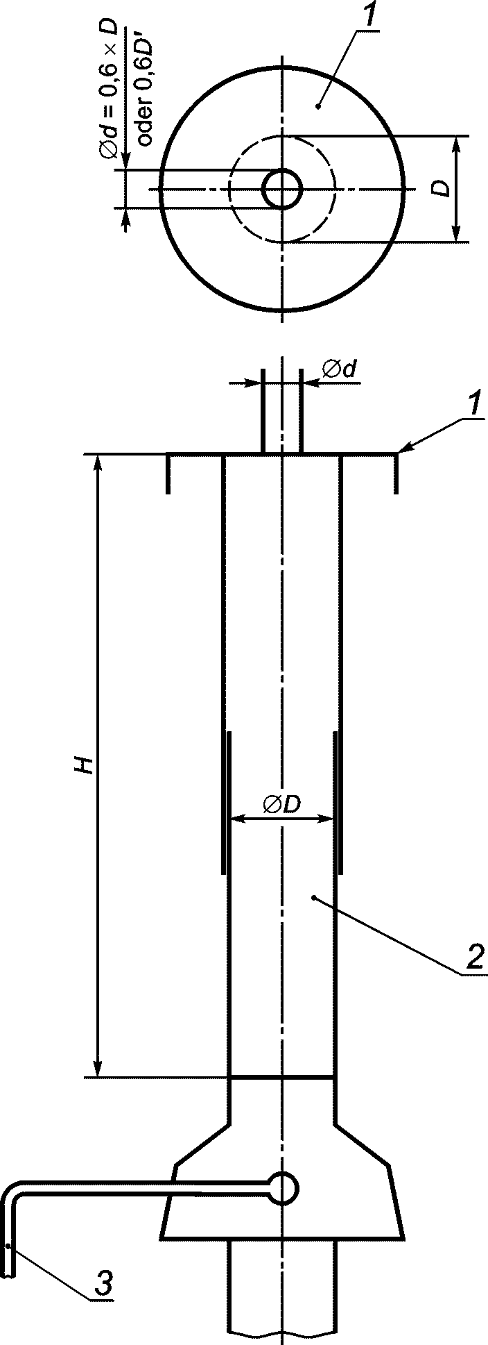
Должна быть обеспечена возможность установки вставки с наружным диаметром (D-2) мм на глубину, равную не менее: a) 30 мм при горизонтальном соединении; b) 15 мм при вертикальном соединении, но не должно быть возможности установки ее на такую глубину, что бы она препятствовала отводу продуктов сгорания. Примечание - D - номинальный внутренний диаметр выходного отверстия аппарата. |
Аппарат должен быть сконструирован таким образом, чтобы предотвращать отвод продуктов сгорания в опасном количестве в помещение при нарушении нормальных условий вытяжки (см.
6.9).
5.1.7.3 Аппараты типа C11
Наружные поверхности труб ввода/вывода не должны иметь отверстий, пропускающих шарик диаметром 16 мм. Должна быть исключена возможность видимости пламени основной горелки и запальной горелки через трубу.
Все вспомогательные элементы (например, прокладки стенок, ограждение на вводе/выводе и т.д.) должны соответствовать техническим условиям или поставляться заводом-изготовителем.
Трубы ввода/вывода для аппаратов типа C11 и инструкции по сборке должны предоставляться заводом-изготовителем. Трубы подвода воздуха для горения и отвода продуктов сгорания могут не поставляться, если в инструкциях приведены технические условия на трубы.
5.1.7.4 Встроенные аппараты
Встроенный аппарат должен быть выполнен таким образом, чтобы на входном отверстии для воздуха не было препятствий, когда аппарат устанавливается в соответствии с инструкциями изготовителя.
5.1.8 Электрооборудование
Электрооборудование аппарата должно быть спроектировано и выполнено так, чтобы была исключена опасность от электричества. Аппарат должен соответствовать требованиям EN 50165, в которых описаны такие опасности. Второй абзац исключен. |
Если аппарат снабжен электронными составными частями или электронными системами, обеспечивающими безопасное функционирование, то они должны отвечать соответствующим требованиям EN 298:1993 в зависимости от защитных уровней электромагнитной совместимости.
Если изготовитель указывает характер электрической защиты аппарата на заводской табличке с техническими данными, то эти данные должны отвечать требованиям EN 60529:1991 для обеспечения степени персональной защиты от контактирования с опасными электрическими компонентами.
5.1.9 Обеспечение безопасности в случае колебания, прерывания и возобновления подачи вспомогательной энергии
5.1.9.1 Прерывание и возобновление
Если прерывание и последующее возобновление влияет на безопасность, то такое прерывание и последующее возобновление подачи электроэнергии на какое-либо время в период пуска или эксплуатации аппарата должно быть в результате безопасного отключения или же аппарат должен соответствовать 6.5.3. 5.1.9.2 Колебание |
Аппарат обязан быть безопасным как в случае нормального колебания, так и с нарушениями в магистральной линии, подающей напряжение, что определяется путем проведения испытаний по
7.7.3.1 в соответствии с требованиями
6.5.3 и
6.7.1 b).
5.1.10 Наблюдение за работой
Оператор должен в любое время иметь возможность проверять визуально работу аппарата. Для аппаратов, имитирующих живое пламя, после отключения аппарата топливное основание может продолжать некоторое время светиться, поэтому следует принимать во внимание "период охлаждения". Во всех аппаратах, где используются зеркала, они должны сохранять свои оптические свойства.
Если оператор не видит основной горелки, требуются косвенные средства сигнализации (например, контрольная лампа). В такой ситуации нельзя, чтобы сигнал о наличии пламени можно было спутать с сигналом о какой-либо неисправности, не говоря уже о сигнале неисправности самого регулятора пламени, что должно быть отражено на индикаторе отсутствия пламени.
5.2 Устройства регулировки, контроля и защиты
Всякий контроль за неисправностями должен соответствовать EN 126:1995.
Функционирование любого защитного устройства не должно блокироваться каким-либо управляющим устройством.
Все регуляторы или ручки управления, которые не предназначены для того, чтобы пользователь или тот, кто устанавливает аппарат, мог изменить их положение, должны быть опломбированы таким образом, чтобы любое постороннее вмешательство было заметно (см.
3.4.2).
Примечание - Для опломбирования можно применять краску при условии, что она выдерживает температуру, которой подвергается во время нормальной эксплуатации аппарата.
5.2.2 Регуляторы расхода газа
Должны быть условия для опломбирования регуляторов расхода газа (например, краской) после наладки; эта пломба должна быть устойчивой к температурам, которым она подвергается во время нормальной эксплуатации аппарата. Регулировочные винты должны располагаться таким образом, чтобы они не могли попадать в газовые контуры.
Регуляторы расхода газа должны быть спроектированы так, чтобы быть защищенными от регулирования пользователем аппарата при их установке, вводе в действие и обслуживании.
Герметичность газового контура не должна нарушаться из-за наличия регуляторов расхода газа.
Аппараты категорий I2H, I2L, I2E, I2E+, I3B/P, I3P, I3+, II2H3B/P, II2H3+, II2H3P, II2L3P, II2L3B/P, II2E3B/P, II2E+3+ и II2E+3P не должны быть оборудованы газовыми регуляторами расхода газа. Однако регулируемые аппараты всех этих категорий, за исключением категории I2E и II2E+3+, могут иметь регулятор расхода газа, состоящий из регулировочного винта на газовом регуляторе. |
Аппараты категории II1a2H и всех категорий III группы должны иметь регулятор расхода газа для газов первого семейства.
Для аппаратов категории II
2H3+, у которых имеется регулятор, представляющий собой регулировочный винт (см.
3.3.1.5), должна быть возможность выводить аппарат из эксплуатации, когда на эти аппараты подаются газы третьего семейства, и то же самое относится к аппаратам категории II
1a2H, если на них подаются газы второго семейства. Для аппаратов категории II
2E+3P, у которых имеется регулятор расхода газа, требуется полностью или частично выводить эти аппараты из эксплуатации (см.
5.2.6), если на эти аппараты подается газ второго семейства.
Регуляторы должны быть съемными только с помощью инструмента и должны иметь возможность быть установленными в рабочем положении.
5.2.3 Регулятор аэрации
Регулятор аэрации должен быть установлен и опломбирован заводом-изготовителем.
5.2.4.1 Общие требования
У аппарата должно быть устройство для того, чтобы отключать, когда требуется, подачу газа на основную и запальную горелки. Работа такого устройства может быть в ручном или автоматическом режиме, но отключение должно производиться мгновенно, то есть на него не должно влиять инерционное время защитного устройства.
Линия газоснабжения должна быть снабжена термоэлектрическим устройством или клапаном классов A, B или C, если таковые имеются, для отключения подачи газа на основную и запальную горелки.
Примечание - На таком клапане может работать детектор пламени.
Аппараты должны иметь дополнительно второй клапан.
5.2.4.2 Система клапанов, работающая в ручном режиме
Для системы клапанов, работающих в ручном режиме, второй клапан может комбинироваться с первым для образования единого устройства, включающего газовый кран и устройство контроля пламени.
Для обозначения положения пониженного расхода подачи газа кран должен иметь либо упор в конце пути прохождения, если положение пониженного расхода находится за пределами положения "включено на полную мощность", или защелку, если положение сниженного расхода находится между положением "включено на полную мощность" и положением "выключено".
Если аппарат имеет два автономных устройства отключения, одно для основной горелки и одно для запальной горелки, то устройства контроля этими устройствами должны быть взаимно блокированы таким образом, чтобы было невозможно основной горелке получать газ ранее запальной. Если на основной и запальной горелках имеется одно отключающее устройство, то положение розжига для запальной горелки обозначается упором или пазом, обеспечивающим определенный останов. Требуется, чтобы отключающее и снимающее блокировку устройство могли управляться только одной рукой.
Если ручка управления закрытия газового пути работает путем поворота, то поворот по часовой стрелке осуществляется пользователем, стоящим лицом к ручке.
5.2.4.3 Системы автоматического клапана
Все автоматические блокирующие клапаны, приводимые в действие электричеством, должны отвечать требованиям EN 161. |
Примеры расположения газовых клапанов для автоматического средства управления приведены в
приложении D. Допускаются иные расположения, если они дают по меньшей мере равнозначный уровень безопасности.
Когда на защитном устройстве основной горелки и горелки розжига функционирует только одна кнопка, то произвести неправильную операцию невозможно и маркировка не требуется.
Ручка управления должна быть сконструирована и размещена так, чтобы ее нельзя было установить неправильно и чтобы она не могла самопроизвольно перемещаться.
Положение "выключено" на кране должно быть четко и ясно промаркировано. Другие положения должны маркироваться, и эти маркировки выбираются изготовителем.
5.2.5 Устройства контроля пламени
Аппарат должен иметь устройство контроля пламени. Оно контролирует подачу газа к основной горелке и запальной горелке, при ее наличии.
Устройства контроля пламени являются термоэлектрического типа и должны соответствовать требованиям EN 125:1991.
В случае неисправности датчиков аппарат должен сохранять свою безопасность.
5.2.6 Регуляторы давления
Регуляторы давления должны соответствовать EN 88:1991.
Аппарат категории I3+ не должен иметь регулятор давления.
Давление в аппаратах категории I2E+ и всех других категорий, у которых имеется индекс "E+" не должно быть регулируемым. Однако если аппарат снабжен регулятором давления газа, он не должен функционировать в диапазоне пары давлений двух нормальных давлений газа второго семейства, например, от 20 мбар до 25 мбар.
Для других категорий аппаратов регуляторы необязательные.
Для аппаратов категорий II2H3+ и II2E+3+, должна быть возможность вывода из эксплуатации регулятора давления при использовании газов третьего семейства. Для аппаратов категории II2E+3+ и II2E+3P должна быть возможность частичного вывода из эксплуатации регулятора давления при подаче газов второго семейства так, чтобы регулятор давления не функционировал в диапазоне пары давлений нормальных давлений газа второго семейства, например, от 20 мбар до 25 мбар.
Конструкция и доступность к регуляторам давления должна быть таковой, чтобы можно было легко их регулировать или выводить из эксплуатации при использовании другого газа, но следует предпринимать меры предосторожности, чтобы затруднить вмешательство неуполномоченных лиц.
5.2.7 Система автоматического контроля горелки
Если аппарат снабжен системой автоматического контроля горелки, то она должна соответствовать EN 298:1993.
Все механические термостаты должны соответствовать EN 257:1992.
Все электрические термостаты должны соответствовать EN 60730-2-9:1995.
Ручки управления термостатами должны располагаться в доступном месте, их расположение должно быть промаркировано с градуировкой.
5.2.9 Система контроля утечек
Аппараты должны быть сконструированы таким образом, чтобы при ненормальных условиях вытяжки в помещении не было утечки продуктов сгорания опасной концентрации (см.
6.9).
Все защитные устройства, предназначенные для этой цели, должны:
- не иметь других настроек, кроме тех, что были выполнены и опломбированы изготовителем;
- быть сконструированы таким образом, чтобы их нельзя было переместить или демонтировать без использования инструмента;
- иметь электроизоляцию, выдерживающую термические и химические нагрузки, вызываемые утечкой продуктов сгорания;
- быть выполнены таким образом, чтобы прерывание связи между датчиком и устройством вызывало блокировку в целях безопасности, если это необходимо по истечении времени ожидания.
5.2.10 Устройства, работающие в ручном режиме
Неверная или непоследовательная работа кнопок, переключателей и т.д. не должна вредным образом воздействовать на безопасность системы автоматического контроля горелки.
5.3.1 Прямой розжиг основной горелки
Прямой розжиг основной горелки допускается для аппаратов, которые:
a) включают систему автоматического розжига;
или
b) имеют тепловую мощность менее или равную 4 кВт во время процесса розжига.
5.3.2 Запальная горелка
Тепловая мощность запальной горелки не должна превышать 0,3 кВт.
Запальная горелка должна располагаться таким образом, чтобы ее продукты сгорания отводились с продуктами сгорания основной горелки. Положение запальной горелки должно быть фиксированным относительно положения основной горелки.
Если запальная горелка (горелки) отличается (отличаются) по типам используемого газа, то она (они) должна быть промаркирована и легко заменяться. Это требование относится к деталям запальной горелки, например, к их инжекторам, если требуется замена только этих деталей.
Запальные горелки должны быть защищены от блокирования твердыми частицами, переносимыми газом.
Там, где расход запальной горелки не регулируется, наличие средств регулирования подачи газа обязательно для аппаратов, в которых используется газ первого семейства; необязательно, если газы второго семейства, и запрещено для газов третьего семейства. Однако это может быть необязательным для газов первого семейства, если при давлении в 15 мбар тепловая мощность запальной горелки менее 0,17 кВт на эталонном газе.
Регулировкой можно пренебречь, если запальная горелка и/или инжектор легко заменяемы для соответствия используемому газу.
Для аппаратов типа B1 запальная горелка должна легко разжигаться спичкой, если только не предоставлено специальное устройство для розжига запальной горелки.
Аппараты типа C11 должны иметь устройство розжига, которое является его неотъемлемой частью. Оно должно разжигать запальную горелку такого аппарата при закрытой камере сгорания.
5.4 Система контроля пламени
У аппарата должно быть устройство контроля пламени. Оно должно контролировать подачу газа на основную горелку и на запальную горелку, при ее наличии.
Устройство контроля пламени должно быть надежно соединено со всеми составными деталями, с которыми оно предназначено функционировать.
5.4.2 Аппараты с системами автоматической горелки
Изготовитель должен установить безопасное время (см.
6.10.2.2).
При отказе во время эксплуатации устройство контроля пламени должно вызывать долговременную блокировку, за исключением тех случаев, когда у аппарата прямой розжиг основной горелки, в этом случае:
a) допускается возобновление искры в пределах 1 с или;
b) допускается один повторный пуск в пределах 10 с.
В случае если повторный розжиг не произошел во время одного из этих допущений, должна произойти долговременная блокировка.
5.5 Горелки
Каждый съемный инжектор и/или съемный ограничитель должен иметь несмываемую отметку во избежание ошибок. |
Удаление или замена горелки в соответствии с инструкциями изготовителя должна быть возможна с помощью инструментов общего применения (например, инструментов, имеющихся на открытом розничном рынке).
Положение горелки должно быть хорошо определено, и установить горелку в неверном положении должно быть затруднительно.
Взаимное положение между горелкой (горелками) и инжектором (инжекторами) должно быть хорошо определено. Пункт 5.6 исключен. Нумерация пункта 5.7 заменена на 5.6. |
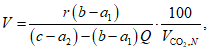
На аппарате должны быть предусмотрены точки для измерения давления газа, заданного заводом-изготовителем. Нерегулируемый аппарат имеет одну точку для измерения давления газа, а регулируемый аппарат должен иметь две точки: одну для измерения входного давления на аппарат и другую вниз по направлению движения газа к горелке.
Испытательный патрубок для проверки давления имеет наружный диаметр, равный

, и полезную длину не менее 10 мм для подсоединения к трубе. Диаметр отверстия испытательной точки должен быть не более 1 мм в самом узком месте.
6 Эксплуатационные требования
6.1 Общие требования
Испытательные газы и условия испытания приведены в
7.1, если только не указано иначе.
6.2 Герметичность газового контура, контура продуктов сгорания и отвода продуктов сгорания
6.2.1 Герметичность газового контура
Газовый контур должен быть герметичным. При испытании, описанном в
7.2.1, утечка воздуха составляет не более 100 см
3/ч, независимо от числа составных частей, как при последовательном, так и при параллельном монтаже на аппарате.
6.2.2 Герметичность контура продуктов сгорания и отвод продуктов сгорания
Герметичность контура отвода продуктов сгорания должна отвечать одному из следующих требований в зависимости от метода испытаний:
a) при использовании тарелки для сбора утечки при испытании аппарата, как описано в
7.2.2.1 а), продукты сгорания должны образовываться только на выходе из вытяжного патрубка;
или
b) если применяется вытяжной шкаф при испытании аппарата, как описано в
7.2.2.1 b), утечка не должна превышать 0,04 м
3/ч·кВт тепловой мощности.
6.2.2.2 Аппараты типа C
11
При испытании аппарата, как описано в
7.2.2.2, утечка сжатого воздуха не должна превышать следующих значений:
a) 0,25 м3/ч кВт тепловой мощности для аппаратов, имеющих тепловую мощность менее 12 кВт или равную этой тепловой мощности;
b) максимум - 3 м3/ч для аппаратов, у которых тепловая мощность больше 12 кВт.
6.2.2.3 Дополнительные испытания
Аппарат, при испытании, как описано в
7.2.2.3, имеющий дверцу, которую требуется открывать, или панель, которую требуется снимать во время розжига запальной горелки и/или технического обслуживания и чистки аппарата, должен соответствовать
6.2.2.1 или
6.2.2.2, по обстановке.
6.2.3 Отвод несгоревшего газа (только для аппаратов типа B1)
Когда аппарат проверяется так, как описано в
7.2.3, то не должно быть утечки газа между выходом инжектора из наружной поверхности горелки, за исключением отверстий для пламени.
6.3 Тепловые мощности
6.3.1 Номинальная тепловая мощность
При расчете в соответствии с
7.3.1
a) для аппарата без регулятора расхода газа в испытательных условиях, описанных в
7.3.2, тепловая мощность должна быть в пределах +/- 5% от номинальной тепловой мощности, полученной при нормальном испытательном давлении;
b) для аппарата с регулятором расхода газа, но без регулятора давления, тепловая мощность должна быть, по меньшей мере равной номинальной тепловой мощности, измеренной в условиях, указанных в
7.3.3, испытание N 1, и не должна превышать номинальную тепловую мощность, измеренную в условиях
испытания N 2 7.3.3;
c) аппарат с регулятором давления должен соответствовать
6.6.
6.3.2 Стартовая тепловая мощность
Когда испытания проводятся, в соответствии с
п. 7.3.4, тепловая мощность
<1> должна указываться заводом-изготовителем (см.
5.3).
--------------------------------
<1> Тепловая мощность, основанная на высшей теплотворной способности, связана с низшей теплотворной способностью для пяти эталонных газов следующим образом:
G110 Q(Hs) = 1,136 x Q(Hi);
G120 Q(Hs) = 1,133 x Q(Hi);
G20 Q(Hs) = 1,111 x Q(Hi);
G25 Q(Hs) = 1,110 x Q(Hi);
G30 Q(Hs) = 1,083 x Q(Hi).
6.3.3 Пониженный расход
При испытании по
7.3.5 любой пониженный расход, указанный изготовителем, должен быть в пределах +/- 10% от расчетного расхода.
6.4 Температура различных частей аппарата
6.4.1 Температура наружных частей аппарата
При испытании, описанном в
7.4.1, температура поверхности ручек управления и всех частей, которыми управляют руками во время нормальной эксплуатации аппарата, измеренная температура только в областях, к которым прикасаются, не должна превышать температуру окружающей среды более, чем:
- 35 К для металлов и аналогичных материалов;
- 45 К для фарфора и аналогичных материалов;
- 60 К для пластика и аналогичных материалов.
Температура частей аппарата, которые являются рабочими поверхностями (см.
3.1.5), не должна превышать температуру окружающей среды более, чем на:
- 80 К для базового металла;
- 95 К для эмалированной стали, покрытых или окрашенных металлов и аналогичных материалов;
- 100 К для пластика, резины или дерева.
6.4.2 Температура составных частей
При испытании аппарата по
7.4.2 температура составных частей (включая краны) не должна превышать ту, что установлена изготовителем составных частей.
6.4.3 Температура пола, полки и стен
6.4.3.1 Для аппаратов, предназначенных для установки на несгораемых поверхностях при испытании, описанном в
7.4.3.1, температура пола в любой точке, к которой может прикоснуться пользователь и на которую ставится аппарат, а также стен, по бокам и сзади от аппарата и полки не должна превышать температуру окружающей среды более, чем на 80 К.
6.4.3.2 Для аппаратов, предназначенных для установки на легко воспламеняемых поверхностях при испытании, описанном в
7.4.3.1, температура в любой точке пола, на котором устанавливается аппарат, а также стен по бокам и сзади аппарата и полки не должна превышать температуру окружающей среды более, чем на 60 К.
Примечание - Для встроенных аппаратов, которые предназначены исключительно для установки в корпусе, выполненном из огнеупорного материала, испытание, описанное в
7.4.3.1 и
7.4.3.2, не проводится.
6.5 Розжиг, распространение пламени и стабильность пламени
6.5.1 Розжиг и распространение пламени
6.5.1.1 Для всех аппаратов
При испытании, как описано в
Испытаниях N 1 -
3 по 7.5.1.1, должны быть обеспечены ровный и правильный розжиг и распространение пламени, при этом аппарат должен продолжать работать в безопасном режиме.
При розжиге пьезоустройствами аппарат должен включаться, по меньшей мере, восемь раз из десяти попыток.
У аппаратов с комнатным термостатом положение пониженного расхода не является обязательным, но, если оно имеется, требуется обеспечить правильный розжиг горелки.
6.5.1.2 Дополнительные испытания
При испытании, описанном в
7.5.1.2, не должно возникать опасности для пользователя или угрозы повреждения аппарата, который работает в безопасном режиме.
Примечание - Данное испытание не относится к системам, управляемым вручную, с блокировкой перезапуска и автоматическим системам с безопасным временем, которое менее или равно 10 с.
6.5.2 Стабильность пламени (для всех аппаратов)
При проведении испытания, описанного в
7.5.2, пламя должно быть стабильным. Допустима небольшая тенденция к отрыву пламени в момент розжига.
6.5.2.1 Эффект комнатной вытяжки (для аппаратов типа B1)
Пламя должно быть стабильным при испытании по
7.5.3.
6.5.2.2 Эффект нижней тяги (для аппаратов типа B1)
Пламя должно быть стабильным при проведении испытания, описанного во втором испытании, указанном в
7.7.3.2.
6.5.2.3 Испытания ветром (для аппаратов типа C11)
Когда аппарат испытывается, как описано в
7.5.4, розжиг запальной горелки, розжиг основной горелки с помощью запальной горелки и распространение пламени основной горелки, а также стабильность запальной горелки и основной горелки должны быть правильными. Допускается небольшое нарушение пламени, но затухания пламени не должно быть.
6.5.3 Колебание вспомогательной энергии
При проведении испытания по
п. 7.7.3.1 аппарат должен разжигаться и оставаться в режиме эксплуатации.
При проведении испытания в соответствии с
7.6.1 расход не должен отличаться более чем на плюс 7,5% и минус 10% для газов первого семейства и более чем на +/- 5% для газов второго и третьего семейств от расхода, полученного при нормальном испытательном давлении, когда давление перед горелкой меняется от минимального к максимальному в соответствии с
7.1.4 для эталонных газов соответствующей категории.
Там, где функционирование регулятора было прекращено изготовителем, как указано в
7.6.2, взаимосвязь между расходом потока и среднеквадратичным давлением должно оставаться постоянным при изменении входного давления от минимальной до максимальной величины.
6.7.1 Концентрация CO для всех аппаратов
Концентрация CO в сухих неразбавленных продуктах сгорания, измеренная по
7.7.1, не должна превышать:
a) 0,10%, когда в аппарат подается эталонный газ при условиях испытания, описанных в
7.7.2.1;
b) 0,20%, если в аппарат подается предельный газ для неполного сгорания при условиях испытания, описанных в 7.7.2.2, а также при всех условиях испытания, описанных в 7.7.3, исключив 7.7.3.1 a), включая рассчитанную среднюю арифметическую величину, как указано в 7.7.3.3. |
6.7.2 Измерение оксидов азота, NOx (для всех аппаратов)
При проведении испытаний, как описано в
7.7.4, концентрация NO
x в сухих продуктах сгорания без воздуха не должна превышать предел для того класса, что дан в
таблице 2.
Таблица 2
Предельная концентрации NO
x
Классы | Предельная концентрация NOx, мг/кВт·ч |
1 | 350 |
2 | 260 |
3 | 200 |
4 | 150 |
5 | 100 |
Для газов третьего семейства и аппаратов, которые требуется испытывать на эталонном газе G30, пределы умножаются на коэффициент 1,3. Для аппаратов, которые требуется испытывать на эталонном газе G31, пределы умножаются на коэффициент 1,2.
6.8 Сажеобразование (как результат только от перемены топлива аппаратов)
При испытании, как описано в
7.8.3.1 и
7.8.3.2, сажевое число должно быть меньше или равно 3.
При проведении испытаний, как описано в
7.8.3.1 и
7.8.3.3, сажевое число должно быть меньше или равно 2.
Предел, меньше или равный 3, допускается для аппаратов категории с индексом E+.
6.8.3 Состояние длительного цикла
Если по завершении испытания в соответствии с
7.8.3.1 и
7.8.3.2, а также
7.8.3.3 включительно, сажа наблюдается
<1> на горелке или слое, имитирующем твердое топливо, должна быть проведена корректировка в соответствии с испытанием
7.8.3.4.
--------------------------------
<1> Мелкие порошковые отложения не принимаются в расчет.
При проведении испытания по
7.8.3.4 увеличение концентрации CO в сухих продуктах сгорания без воздуха не должно превышать 0,06%.
Если до окончания испытания такое увеличение превышается или же избыточное количество сажи откладывается на горелке или слое, имитирующем твердое топливо, аппарат должен считаться не соответствующим требованиям.
6.9 Система контроля утечки
6.9.1 Датчик контроля окружающей среды (только для аппаратов типа B11AS)
При проведении испытания, как описано в
7.9.1 и
7.9.2, аппарат должен аварийно отключаться прежде, чем концентрация CO в атмосфере испытательного помещения достигнет 200 x 10
-6 (V/V).
6.9.2 Защитное устройство отвода продуктов сгорания (только для аппаратов типа B11BS)
6.9.2.1 Отключение при помехах
При испытании аппарата, как описано в
7.9.1,
7.9.3.1 и
7.9.3.2, аварийного отключения не должно происходить.
Таблица 3
Степень блокировки | Диаметр отверстия в герметизирующей пластине d | Максимальное время выключения, с |
Qn | Qm |
Полная блокировка | 0 | 200 | |
Частичная блокировка | 0,6D или 0,6D' | 600 | |
где D - внутренний диаметр испытательного дымохода сверху; D' - диаметр отверстия, полученный в точке, в которой происходит утечка; Qn - номинальная тепловая мощность; Qm - минимальная тепловая мощность для модулируемых аппаратов или аппаратов с несколькими расходами. |
Если происходит аварийное отключение, то автоматический запуск должен быть возможным только после минимального времени ожидания 10 мин. Изготовитель должен указать действительное время ожидания аппарата в технических инструкциях.
6.9.3 Аппараты типа B11CS
При испытаниях, как описано в
7.9, аппарат должен соответствовать
6.9.1 или
6.9.2.
6.10 Устройство контроля пламени
6.10.1 Термоэлектрическое устройство
6.10.1.1 Холодное состояние
При испытании, проводимом так, как описано в
7.10.1.1, все средства контроля пламени должны держать клапан открытым не более 60 с, начиная с холодного состояния.
Устройство не должно требовать более 20 с задержки в ручном режиме работы.
6.10.1.2 Горячее состояние
При проведении испытаний, как описано в
7.10.1.2, все устройства контроля пламени должны закрывать клапан в состоянии полного нагрева в течение 60 с.
6.10.2 Система автоматического контроля горелки
6.10.2.1 Устройства, работающие в ручном режиме (например, кнопки)
При проведении испытания, описанного в
7.10.2.1, быстрая работа (включение и выключение) в ручном режиме каждого из пусковых выключателей не должна создавать опасных условий.
6.10.2.2 Безопасное время
Безопасное время, установленное изготовителем (см.
5.4.2), проверяется так, как описано в
7.10.2.2.
6.10.2.3 Время задержки погасания
При проведении испытания по
7.10.2.3 время для того, чтобы устройство контроля пламени безопасно отключило аварийные отсечные клапаны при недостаточности пламени, должно быть не более 3 с.
6.11 Коэффициент полезного действия
Завод-изготовитель должен указывать коэффициент полезного действия, соответствующий классу аппарата.
При испытании аппарата, как описано в
7.11.1, полученный коэффициент полезного действия (см.
7.11.2) при работе аппарата на номинальной тепловой мощности должен быть не менее приведенного значения
таблицы 4 в зависимости от класса:

Конвективные нагреватели должны быть класса 1.

В аппаратах с сочетанием эффекта перемены топлива конвектор должен быть любым из двух класса 1 или класса 2.
Таблица 4
Коэффициент полезного действия
Коэффициент полезного действия. Класс | Минимальная величина коэффициента полезного действия <a> аппаратов с тепловой мощностью более чем 5 кВт <b> | Минимальная величина коэффициента полезного действия <a> аппаратов с тепловой мощностью менее или равной 5 кВт <b> |
1 | | |
2 | | |
<a> Величина коэффициента полезного действия  , основанная на высшей величине теплотворной способности, связана с низшей величиной по пяти исходным газам следующим образом: G110 низшая величина = 0,880 x высшая величина; G120 низшая величина = 0,882 x высшая величина; G20 низшая величина = 0,900 x высшая величина; G25 низшая величина = 0,901 x высшая величина; G30 низшая величина = 0,923 x высшая величина. <b> Тепловая мощность, основанная на высшей теплотворной способности, связана с низшей величиной по пяти исходным газам следующим образом: G110 высшая величина = 1,136 x низшая величина; G120 высшая величина = 1,133 x низшая величина; G20 высшая величина = 1,111 x низшая величина; G25 высшая величина = 1,110 x низшая величина; G30 высшая величина = 1,083 x низшая величина. |
7.1.1 Характеристики испытательных газов: эталонные и предельные газы
Аппараты, предназначенные для использования газов разного качества. Одной из целей настоящего стандарта - это контроль за тем, является ли работа аппарата удовлетворительной для каждого семейства или группы газов при давлениях, для которых он сконструирован с использованием, если требуется, регулирующих устройств.
Характеристики эталонных и предельных газов даны в
таблицах 6 и
7. Они соответствуют EN 437:1993.
7.1.2 Условия приготовления испытательных газов
Состав газов, применяемых для испытаний, должен быть как можно ближе к тому, что приведен в
таблице 6. Для приготовления газов следует соблюдать следующие правила:
a) число Воббе применяемого газа должно быть в пределах +/- 2% величины, указанной в
таблице 6 для соответствующего испытательного газа (данный допуск включает все изменения, связанные с измерительным оборудованием);
b) составляющие, использованные для смесей, должны быть не менее указанной чистоты:
- азот N2 | - 99% | | с общей концентрацией водорода, оксида углерода и кислорода ниже 1% и общей концентрацией азота и диоксида углерода ниже 2% |
- водород H2 | - 99% |
- метан CH4 | - 95% |
- пропилен C3H6 | - 95% |
- пропан C3H8 | - 95% |
| - 95% |
--------------------------------
<1> Распространяется на смесь изобутана и
n-бутана.
Однако эти условия не обязательны для каждого из компонентов, если конечная смесь имеет состав, идентичный смеси, которая была бы из компонентов, удовлетворяющих предшествующему условию. Поэтому, чтобы создать смесь, начните с газа, уже имеющего в соответствующих пропорциях несколько компонентов окончательной смеси.
Однако для газов второго семейства:
- для проведения испытаний с эталонными газами G20 или G25 газ, принадлежащий, соответственно, к одной из групп H, L или E, может применяться, даже если его компонент не удовлетворяет вышеприведенным условиям при условии, что после добавки пропана или азота по выбору окончательная смесь имеет число Воббе в пределах +/- 2% величины, приведенной в таблице для соответствующего эталонного газа;
- для приготовления предельных газов может быть добавлен еще один газ в качестве базового газа вместо метана:
- для предельных газов G21, G222 и G23 можно использовать природный газ группы H;
- для предельных газов G27 и G31 может быть применен природный газ группы H или группы L, или группы E;
- для предельного газа G26 можно применять природный газ группы L.
Во всех случаях окончательная смесь, получаемая добавлением пропана или азота, должна иметь число Воббе в пределах +/- 2% от величины, приведенной в
таблице 6 по соответствующим предельным газам, при этом содержание водорода в окончательной смеси должно быть таким, как в
таблице 6.
7.1.3 Практическое применение испытательных газов
7.1.3.1 Выбор испытательных газов
Газы, необходимые для испытаний, описанных в следующих пунктах:
7.2 Герметичность контура сгорания и отвод продуктов сгорания
7.5 Розжиг; распространение пламени; стабильность пламени
7.6 Регуляторы давления и
должны быть указаны в
7.1.1 и выполнены в соответствии с
7.1.2.
Для испытаний, описанных в других пунктах, если это возможно, с целью способствовать правильному проведению испытаний, заменить эталонный газ на газ, распределяемый в действительности, при условии, что число Воббе находится в пределах +/- 5% от эталонного газа.
Если в аппарате могут использоваться газы нескольких групп или семейств, то испытательные газы выбираются из тех, что перечислены в
таблице 6, и применяются в соответствии с
7.1.5.1. Выбранные газы для каждой категории аппаратов перечислены в
таблице 5.
Таблица 5
Испытательные газы, соответствующие категориям аппаратов
Категория | Эталонный газ | Предельный газ для неполного сгорания | Предельный газ на проскок | Предельный газ на отрыв | Предельный газ на сажеобразование |
I2H | G20 | G21 | G222 | G23 | G21 |
I2L | G25 | G26 | G25 | G27 | G26 |
I2E, I2E+ | G20 | G21 | G222 | G231 | G21 |
I3B/P, I3+ | G30 | G30 | G32 | G31 | G30 |
I3P | G31 | G31 | G32 | G31 | G31, G32 |
II1a2H | G110, G20 | G21 | G112 | G23 | G21 |
II2H3B/P, II2H3+ | G20, G30 | G21 | G222, G32 | G23, G31 | G30 |
II2H3P | G20, G31 | G21 | G222, G32 | G23, G31 | G31, G32 |
II2L3B/P | G25, G30 | G26 | G32 | G27, G31 | G30 |
II2L3P | G25, G31 | G26 | G32 | G27, G31 | G31, G32 |
II2E3B/P, II2E+3+ | G20, G30 | G21 | G222, G32 | G231, G31 | G30 |
II2E+3P | G20, G31 | G21 | G222, G32 | G231, G31 | G31, G32 |
Примечание - Испытания, проводимые на предельных газах, проводятся вместе с инжектором и регулированием, соответствующим эталонному газу группы, к которой относится используемый предельный газ, применяемый для проведения испытаний. |
Таблица 6
Характеристики испытательных газов
<1>. Газ сухой, при 15 °C
и 1013,25 мбар
Семейство и группа газа | Испытательные газы | Обозначение | Состав по объему, % | Wi, МДж/м3 | Hi, МДж/м3 | Ws, МДж/м3 | Hs, МДж/м3 | d |
Газы первого семейства <2> |
Группа a | Эталонный газ Предельный газ для неполного сгорания Предельный газ для отрыва пламени и сажеобразования | G110 | CH4 = 26 H2 = 50 N2 = 24 | 21,76 | 13,95 | 24,75 | 15,87 | 0,411 |
Предельный газ для проскока | G112 | CH4 = 17 H2 = 59 N2 = 24 | 19,48 | 11,81 | 22,36 | 13,56 | 0,367 |
Газы второго семейства |
Группа H | Эталонный газ | G20 | CH4 = 100 | 45,67 | 34,02 | 50,72 | 37,78 | 0,555 |
Предельный газ для неполного сгорания Предельный газ для сажеобразования | G21 | CH4 = 87 C3H8 = 13 | 49,60 | 41,01 | 54,76 | 45,28 | 0,84 |
Предельный газ для проскока | G222 | CH4 = 77 H2 = 23 | 42,87 | 28,53 | 47,87 | 31,86 | 0,443 |
Предельный газ для отрыва пламени | G23 | CH4 = 92,5 N2 = 7,5 | 41,11 | 31,46 | 45,66 | 34,95 | 0,586 |
Группа L | Эталонный газ | G25 | CH4 = 86 N2 = 14 | 37,38 | 29,25 | 41,52 | 32,49 | 0,612 |
Предельный газ для неполного сгорания и сажеобразования | G26 | CH4 = 80 C3H8 = 7 N2 = 13 | 40,52 | 33,36 | 44,83 | 36,91 | 0,678 |
Предельный газ для отрыва пламени | G27 | CH4 = 82 N2 = 18 | 35,17 | 27,89 | 39,06 | 30,98 | 0,629 |
Группа E | Эталонный газ | G20 | CH4 = 100 | 45,67 | 34,02 | 50,72 | 37,78 | 0,555 |
Предельный газ для неполного сгорания | G21 | CH4 = 87 C3H8 = 13 | 49,60 | 41,01 | 54,76 | 45,28 | 0,684 |
Предельный газ для проскока | G222 | CH4 = 77 H2 = 23 | 42,87 | 28,53 | 47,87 | 31,86 | 0,443 |
Предельный газ для отрыва пламени | G231 | CH4 = 85 N2 = 15 | 36,82 | 28,91 | 40,90 | 32,11 | 0,617 |
Газы третьего семейства <3> |
Группы 3B/P и 3B | Эталонный газ Предельный газ для неполного сгорания и сажеобразования | G30 | nC4H10 = 50 | 80,56 | 116,09 | 87,33 | 125,81 | 2,075 |
Предельный газ для отрыва пламени | G31 | C3H8 = 100 | 70,69 | 88,00 | 76,84 | 95,65 | 1,550 |
Предельный газ для проскока | G32 | C3H6 = 100 | 68,14 | 82,78 | 72,86 | 88,52 | 1,476 |
Группа 3P | Эталонный газ Предельный газ для неполного сгорания, сажеобразования и для отрыва пламени | G31 | C3H8 = 100 | 70,69 | 88,00 | 76,84 | 95,65 | 1,550 |
Предельный газ для сажеобразования и для проскока | G32 | C3H6 = 100 | 68,14 | 82,78 | 72,86 | 88,52 | 1,476 |
<1> Для газов, которые используются только в стране или местности, см. A.3. <2> По другим группам см. A.3. Примечание - Теплотворная способность газов третьего семейства, выраженная в МДж/м 3, в данной таблице может выражаться в МДж/кг, как показано в таблице 7. |
Таблица 7
Теплотворная способность испытательных газов
третьего семейства
Обозначения испытательных газов | Hi, МДж/кг | Hs, МДж/кг |
G30 | 45,65 | 49,47 |
G31 | 46,34 | 50,37 |
G32 | 45,77 | 48,94 |
7.1.3.2 Условия газоснабжения и регулирования горелок
7.1.3.2.1 Начальная регулировка аппарата
Перед тем, как провести все необходимые испытания, аппарат должен быть снабжен соответствующим оборудованием (инжектором(ами), фиксированными ограничителями первичной аэрации и т.д.), что соответствует семейству или группе газов, к которым данный конкретный испытательный газ относится (см.
таблицу 6). Все регуляторы расхода газа устанавливаются в соответствии с инструкциями изготовителя, применяя соответствующие эталонные газы и соответствующее нормальное давление(я), указанное в
7.1.4.
Такая начальная регулировка аппарата подлежит ограничениям, указанным в
5.1.1.
7.1.3.2.2 Давления подачи
За исключением тех случаев, где требуется регулировка давления подачи (как описано в
7.1.3.2.3 и
7.1.3.2.4), нормальное, минимальное или максимальное давление подачи газа, используемое в целях испытаний, должно соответствовать
7.1.4.
Если не указано иначе, начальная настройка аппарата не меняется.
7.1.3.2.3 Корректировка давлений
Там, где с целью получения номинальной тепловой мощности в пределах +/- 2% необходимо использовать подачу давления p, отличающуюся от нормального давления pn, тогда такие испытания, обычно проводимые при минимальных или максимальных давлениях pmin или pmax, должны проводиться при корректированных давлениях p' и p", где

(1)
7.1.3.2.4 Регулировка тепловых мощностей
Для испытаний, которые требуют настройки горелки на номинальную или другую указанную тепловую мощность, необходимо проверить, что давление на входе в инжектор позволяет поддержать подачу тепловой мощности в пределах +/- 2% от указанного значения (путем изменения предварительно установленной регулировки или регулятора давления аппарата, если он регулируемый, или давлением подачи газа на аппарат).
Указанная тепловая мощность должна определяться в соответствии с
7.3.1 в аппарате, снабжаемым соответствующим эталонным газом (газами).
7.1.4 Испытательные давления
Значения испытательных давлений, например, давление, прилагаемое к газовому входному соединению на аппарат во время эксплуатации, представлены в
таблицах 8 и
9.
Таблица 8
Испытательные давления там, где не имеется пары давлений
<1>
Давление в миллибарах |
Категории аппаратов, имеющие индекс | Испытательный газ | pn | pmin | pmax |
Первое семейство: 1a | G110, G112 | 8 | 6 | 15 |
Второе семейство: 2H | G20, G21, G222, G23 | 20 | 17 | 25 |
Второе семейство: 2L | G25, G26, G27 | 25 | 20 | 30 |
Второе семейство: 2E | G20, G21, G222, G231 | 20 | 17 | 25 |
Третье семейство: 3B/P | G30, G31, G32 | | 25 | 35 |
G30, G31, G32 | 50 | 42,5 | 57,5 |
Третье семейство: 3P | G31, G32 | 37 | 25 | 45 |
G31, G32 | 50 | 42,5 | 57,5 |
<1> Для испытательных давлений, соответствующих газам, поставляемым в стране или в данной местности, обращайтесь к таблице A.4. <2> Аппараты данной категории могут использоваться без регулировок при указанных давлениях от 28 мбар до 30 мбар. |
Таблица 9
Испытательные давления, где имеется пара давлений
Давление в миллибарах |
Категории аппаратов, имеющие индекс | Испытательный газ | pn | pmin | pmax |
Второе семейство: 2E+ | G20, G21, G222 | 20 | 17 | 25 |
G231 | | | 30 |
Третье семейство: 3+ | G30 | | 20 | 35 |
(28 - 30/37 пара) | G31, G32 | 37 | 25 | 45 |
Третье семейство: 3+ | G30 | 50 | 42,5 | 57,5 |
(50/67 пара) | G31, G32 | 67 | 50 | 80 |
<1> Данное давление соответствует применению газа с низшим числом Воббе, но в принципе испытание не проводится при этом давлении. <3> Аппараты данной категории могут использоваться без регулировок при указанных давлениях от 28 мбар до 30 мбар. |
Эти давления применяются в соответствии с указанными национальными условиями, приведенными в
приложении A по каждой стране, в которой аппарат будет установлен.
7.1.5 Общие условия испытаний
Такие общие требования проведения испытаний должны применяться, если только не указан другой метод проведения испытания.
7.1.5.2 Помещение для проведения испытаний
Аппарат устанавливается в хорошо вентилируемой комнате без вытяжки с температурой окружающего воздуха (20 +/- 5) °C, а более широкий диапазон температур допустим только при условии, что это не повлияет на результаты испытаний.
7.1.5.3 Испытательная установка
Аппарат устанавливают в соответствии с инструкциями изготовителя.
Примечание - Для удобства проведения испытаний аппарат может быть установлен на высоте выше пола, которая отличается от той, что указана в инструкциях изготовителя, при условии, что это не влияет на работу аппарата.
Газовые соединения и подсоединения системы, включая горелку, следует проверять на герметичность как перед, так и после испытания. Результаты испытания считаются недействительными, если система неисправна (см.
6.2.1).
Испытательные давления должны быть правильно замерены до 0,2 мбар и проконтролированы так, чтобы отклонение не превышало +/- 0,2 мбар.
У аппаратов типа B
1, если только не указано иначе, испытания проводятся с дымоходом длиной 1 м (см.
рисунок 1).
Размеры в миллиметрах
da - наружный диаметр втулки дымохода = внутренний диаметр
раструба; 1 - труба дымохода из нержавеющей стали;
2 - изоляция (стекловолокно - плотность 64 кг/м3);
3 - прокладка; 4 - соединительная труба из нержавеющей стали
(горизонтальная втулка); 5 - опора (регулируемая по высоте);
6 - соединительная труба из нержавеющей стали
(вертикальная втулка)
Рисунок 1 - Испытательный дымоход
Длина испытательной трубки для аппаратов типа C11 должна быть минимальной по вертикальной длине и максимальной по горизонтальной длине, как указано изготовителем. |
7.1.5.4 Электроснабжение (где применяется)
Аппарат присоединяется к электроснабжению при номинальном напряжении, за исключением тех случаев, когда в соответствующем пункте указывается иначе.
7.1.5.5 Конвективные вентиляторы (где применяются)
Испытания проводятся с работающим вентилятором, за исключением тех случаев, когда в соответствующем пункте указывается иначе.
7.2 Герметичность газового контура, контура продуктов сгорания и отвода продуктов сгорания
7.2.1 Герметичность газового контура
Вход газа в аппарат соединен с подачей воздуха, которая поддерживается постоянной при соответствующем постоянном давлении.
Для аппаратов, использующих только газы первого и/или второго семейства, испытания проводятся при давлении воздуха в 50 мбар, а входной клапан проверяется при давлении воздуха в 150 мбар. У аппаратов, использующих газы третьего семейства, все испытания проводятся при давлении воздуха в 150 мбар.
Для аппаратов с температурой окружающей среды проверяется соответствие с
6.2.1 при всех следующих условиях:
a) каждый клапан в основной подаче газа проверяется по очереди на герметичность в закрытом положении, при этом все остальные клапаны в открытом положении;
b) газовый клапан газового крана проверяется автоматическим клапаном, при условии, когда клапан устройства контроля пламени открыт, а выпускные отверстия несмешанного газа запальной горелки и основной горелки блокируются.
Если конструкция запальной горелки такова, что выход газа запальной горелки нельзя герметизировать, то такое испытание проводят без газового контура, перекрытом в удобном месте. В таком случае проводят дополнительное испытание с применением мыльного раствора для того, чтобы проверить, нет ли утечки от запальной горелки.
Метод, используемый для измерения утечки, должен осуществлять измерения с точностью не менее 0,01 дм3/ч.
Эти испытания проводятся, когда поставляется аппарат и по завершении всех испытаний, проводимых на аппарате по настоящему стандарту. Все узлы в газовом контуре, имеющие газонепроницаемое соединение, удаление которых предусмотрено инструкциями изготовителя, должны удаляться и заменяться 5 раз.
7.2.2 Герметичность контура продуктов сгорания и отвод продуктов сгорания
a) Тарелка для сбора утечки
Аппарат настроен на номинальную тепловую мощность и испытан при нормальных условиях вытяжки.
Для возможных утечек предусмотрена тарелка для сбора конденсата точки росы. Соответствующий метод приведен в
C.1.
В сомнительных случаях требуется применить
метод b).
Этот метод приведен в
C.2.
7.2.2.2 Аппараты типа C
11
Герметичность проверяется на корпусе аппарата и на воздуховодах для горения и отвода продуктов сгорания, которые соединяют аппарат с соразмерным входом/выходом дымохода. Максимально допустимая длина труб представляется изготовителем. Трубы подсоединяются в соответствии с инструкциями изготовителя на конце входа/выхода таким образом, чтобы на уплотняющий материал между трубами и аппаратом и, там, где это требуется, между секциями труб, не оказывалось воздействия.
Наружный телескопический воздуховод может быть герметизирован, если необходимо, во время проведения испытания в соответствии с инструкциями изготовителя.
Аппарат соединяется с трубой максимальной длины, установленной изготовителем.
Сборка аппарата и его трубопровод должны осуществляться так, как предписано в инструкциях изготовителя по монтажу.
Аппарат соединяется с источником сжатого воздуха таким образом, чтобы поддерживать давление на 0,5 мбар выше атмосферного давления в аппарате и в трубах для воздуха для горения и продуктов сгорания. Давление измеряется в той точке, где подача сжатого воздуха подключена к аппарату. Счетчиком измеряется норма утечки.
7.2.2.3 Дополнительные испытания
7.2.2.3.1 Для аппаратов с дверцей
Откройте дверцу и затем закройте ее в соответствии с инструкциями. Испытание проводится, как описано в
7.2.2.1 или
7.2.2.2, по обстановке.
7.2.2.3.2 Для аппаратов с панелью управления
Снимите панель, а затем поставьте на место в соответствии с инструкциями изготовителя. Испытание проводится, как описано в
7.2.2.1 или
7.2.2.2, по обстановке.
7.2.3 Отвод несгоревшего газа (только аппараты типа B1)
Испытание проводится с эталонным газом при номинальной тепловой мощности.
Чтобы определить утечку газа соединений, используется подходящее средство, которым можно поджечь утечку. |
Если необходимо, можно снимать составные части, но не горелки, при условии, что это не оказывает влияния на проведение испытания.
7.3 Тепловые мощности
7.3.1 Номинальная тепловая мощность
Номинальный расход газа является объемным расходом газа Vn или массовым расходом Mn газа соответственно номинальной тепловой мощности, получаемой на эталонном газе при нормальных испытательных условиях (сухой газ, 15 °C, 1013,25 мбар).
Номинальная тепловая мощность Qn в кВт выражается одной из следующих формул:
где Mn - номинальный массовый расход потока в килограммах в час (кг/ч), получаемый при нормальных условиях (сухой газ, 15 °C, 1013,25 мбар);
Vn - номинальный объемный расход потока в кубических метрах в час (м3/ч), получаемый при нормальных условиях (сухой газ, 15 °C, 1013,25 мбар);
Hi - низшая теплотворная способность эталонного газа в мегаджоулях на килограмм (МДж/кг)
(формула 2) или в мегаджоулях на кубический метр (МДж/м
3) (сухой газ, 15 °C, 1013,25 мбар)
(формула 3);
Hs - высшая теплотворная способность эталонного газа в мегаджоулях на килограмм (МДж/кг)
(формула 4) или в мегаджоулях на кубический метр (МДж/м
3) (сухой газ, 15 °C, 1013,25 мбар)
(формула 5).
Массовый и объемный расходы потока соответствуют измерениям и потоку эталонного газа при нормальных условиях, т.е. предполагается, что газ сухой при 15 °C и давлении 1013,25 мбар. На практике массовый расход и объемный расход потока, полученные во время проведения испытания, не соответствуют этим нормальным условиям и их, следовательно, требуется корректировать, чтобы привести к значениям, которые были бы получены, если бы нормальные условия существовали во время проведения испытаний
<1>.
--------------------------------
<1> Особую предосторожность следует предпринимать, когда измерение объемов сухого газа выполняется с влажным измерителем (наполненным водой). Для газов третьего семейства, если проводится измерение по объему, требуется пользоваться сухим измерителем.
Когда делается определение по массе (газа третьего семейства), то откорректированный массовый расход рассчитывается по формуле

(6)
Когда определение делается по объемному расходу потока, применяется следующая корректирующая формула

(7)
Откорректированный массовый расход рассчитывается по формуле
M0 = 1,226V0 °C·d, (8)
где M0 - массовый расход при нормальных условиях (кг/ч);
M - массовый расход, получаемый в условиях проведения испытания (кг/ч);
V0 - объемный расход потока при нормальных условиях на входном отверстии аппарата (м3/ч);
V - объемный расход потока в испытательных условиях (измеренный или откорректированный до давления p и при температуре tg) (м3/ч);
pa - атмосферное давление (мбар);
p - давление подачи газа (мбар);
tg - температура газа на входе в аппарат (°C);
d - плотность сухого испытательного газа относительно плотности сухого воздуха (безразмерная);
dr - плотность эталонного газа относительно плотности сухого воздуха (безразмерная).
Это формулы, которые применяются для расчета по массовому расходу (
M) или объемному расходу (
V), измеренным в условиях испытаний, соответствуют расходам
M0 или
V0, получаемым при нормальных условиях, и именно эти величины,
M0 и
V0, сравниваются с величинами
Mn и
Vn, которые рассчитаны при номинальной тепловой мощности с использованием
формул (2) -
(5).
Эти формулы применяются, если газ для испытаний сухой.
Если применяется влажный счетчик (наполненный водой) или если газ насыщен, то величина d (плотность сухого газа относительно сухого воздуха) заменяется величиной плотности сухого газа dh, получаемый по следующей формуле:

(9)
где pw - давление пара насыщения испытательного газа, выраженное в миллибарах при температуре tg.
Для всех испытаний, описанных в
7.3, измерения на аппарате следует делать при тепловом равновесии и с выключенным термостатом, за исключением тех случаев, которые даны в
7.3.5.
Аппараты типа C11 соединяются с трубопроводом максимальной длины, указанной изготовителем.
7.3.2 Расход калиброванного инжектора аппарата без регуляторов расхода газа или если эти регуляторы отключены
Чтобы проверить расход инжекторов, все эталонные газы для данной категории аппаратов применяются по очереди.
На аппарат последовательно монтируются предписанные инжекторы, и измеряется расход на каждом эталонном газе путем подачи в аппарат при соответствующем нормальном испытательном давлении в соответствии с
7.1.4.
7.3.3 Эксплуатация регуляторов расхода газа для нерегулируемых аппаратов
Испытания проводятся со всеми эталонными газами, относящимися к категории аппарата, за исключением тех, у которых выведен из строя регулятор.
При полностью открытом регуляторе давления подача газа доводится до минимальной величины, которая дана в
7.1.4, соответствующей конкретному эталонному газу.
При полностью закрытом регуляторе давления подача газа доводится до максимальной величины, указанной в
7.1.4, соответствующей конкретному эталонному газу.
7.3.4 Стартовая тепловая мощность газа
Тепловая мощность рассчитывается, как описано в
7.3.1, путем последовательной подачи на горелку эталонного газа при нормальном испытательном давлении. Тепловая мощность запальной горелки, имеющая регулятор, измеряется при минимальном испытательном давлении с полностью открытым регулятором.
Пониженный расход рассчитывается так, как описано в
7.3.1, путем последовательной подачи на горелку эталонного газа, соответственно категории аппарата, после настройки горелки на ее номинальную тепловую мощность и после поворота ручки крана в положение пониженного расхода или после того, как термостат начнет работать в своей минимальной позиции, если он "модулируемого" типа.
7.4 Температура различных частей аппарата
7.4.1 Температура наружных частей аппарата
Испытание проводится на эталонном газе при номинальной тепловой мощности на аппарате, установленном, как указано в 7.4.3. |
Первоначально установите зону с самой высокой температурой. Измерения температуры проводятся, когда разница между температурой на поверхности и температурой окружающей среды постоянная для данной зоны.
Температуры измеряются контактными термопарами, при этом термостат аппарата, если имеется, находится в полностью открытом состоянии.
Проверьте расположение рабочих поверхностей, указанных изготовителем.
Испытание повторяется с неработающим конвективным вентилятором аппарата, если имеется.
7.4.2 Температура составных частей
Температура всех составных частей измеряется во время проведения испытаний на определение внешней температуры (см.
7.4.1).
В конце данного испытания проверьте, легко ли поворачиваются краны.
7.4.3 Температура пола, полки и стен
Аппарат устанавливается на испытательном стенде (см.
рисунок 2). Это может быть испытательный угол или испытательная камера. Испытательный стенд включает панели из твердой древесины толщиной (25 +/- 1) мм, поверхности которых покрыты матовой черной краской. Термопары устанавливаются в каждой панели в центре квадратов со стороной в 100 мм; эти термопары входят в панели с наружной стороны так, чтобы места соединения были утоплены на 3 мм от поверхности испытательных панелей, обращенных к аппарату.
Размеры в миллиметрах
1 - лицевая сторона стенки
а) расположение термопары
2 - осевые линии выводного отверстия дымохода
b) узел деталей с наполнением
3 - изоляция в соответствии с инструкциями изготовителя
по установке
c) детали с наполнением
1 - Твердая древесина толщиной 25 мм (или материал с аналогичной теплопроводностью) с термопарами, вставленными снаружи в пределах 3 мм от поверхности, обращенной к аппарату.
Термопары располагают в центре квадратов со сторонами в 100 мм.
Дополнительные термопары с наполняющими деталями 2 и 3 располагаются так, чтобы измерять самую высокую температуру вблизи выводного отверстия трубы дымохода.
Рисунок 2 - Испытательный стенд для измерения температур
пола, стены и полок
Размеры в миллиметрах
d) размещение термопар
Материал для испытательной полки: твердая древесина. Предпочтителен дуб, но допускается любая другая древесина или доска, имеющая теплопроводность приблизительно 0,16 Вт/(м·К).
Лист основы: алюминий толщиной 0,9 мм.
Рисунок 2, лист 2
Для аппаратов, которые, как указывает изготовитель, устанавливаются ниже полки, инструкции по эксплуатации изготовителя должны определять ограничения по высоте полки над аппаратом, а также глубину полки. Соответствующая полка рекомендуемой максимальной глубины располагается на минимальной высоте над аппаратом с соответствующим изоляционным материалом, который поставляется изготовителем, если требуется.
Для аппарата, который предполагается установить на легко воспламеняемой поверхности, изготовитель должен указывать в инструкциях по монтажу тип эффективной защиты, которую следует обеспечить между аппаратом и полом, полкой или стенами. Такие средства защиты должны поставляться в испытательную лабораторию изготовителем.
Если изготовитель указывает в инструкциях, что необходимо применять эффективную защиту, чтобы ограничить воздействие температуры, то проводится второе испытание на аппарате, обеспеченном защитой.
Аппарат устанавливается и испытывается так, как описано в
7.4.3.2 или
7.4.3.3 с горелкой, отрегулированной на его номинальную тепловую мощность с использованием эталонного газа.
Испытание проводится вместе с отключенным конвективным вентилятором аппарата, если таковой имеется.
7.4.3.2 Встроенные аппараты
Аппарат устанавливается на испытательном стенде, поставляемом изготовителем по запросу испытательной лаборатории. Испытательный стенд имеет три стенки, пол и потолок, при этом внутренние размеры соответствуют минимальному пространству, указанному в инструкциях по установке.
Испытательный стенд должен:
a) быть изготовлен из дерева;
b) обладать достаточной механической прочностью;
c) иметь достаточное уплотнение между стенками;
d) иметь возможность установки аппарата в соответствии с инструкциями изготовителя;
e) обеспечивать вентиляцию, заданную в инструкциях по монтажу.
Вначале на внешней поверхности каждой стенки испытательного стенда определяется зона самой высокой температуры. Если разница между температурой на поверхности и температурой окружающей среды для каждой зоны постоянная, то с наружной стороны стенок в углубленных отверстиях располагают термопары таким образом, чтобы их горячие места соединения находились в контакте с деревом на 3 мм от внутренних поверхностей испытательного стенда.
Испытание повторяют вместе с отключенным вентилятором аппарата, если он имеется.
7.4.3.3 Все другие аппараты
Аппарат устанавливается в угловом испытательном стенде. Расстояние между задней и боковыми поверхностями и панелями испытательного стенда - это минимальные расстояния, которые указаны изготовителем, или, там, где это требуется, это расстояние фиксируется с помощью крепления к стенке. Боковая панель располагается сбоку от аппарата, где температура самая высокая.
Вначале на каждой стороне испытательного стенда выявляется зона самой высокой температуры. Все измерения делаются, когда разница между температурой поверхности и температурой окружающей среды будет постоянной в каждой зоне, т.е. +/- 2 К.
Рекомендуется, чтобы для такого испытания аппарат помещался в помещении, где окружающая температура составляет приблизительно 20 °C. Она измеряется на высоте 1,50 м и не менее 3 м от аппарата с помощью термометра, защищенного от воздействия рассеянного тепла.
Испытание повторяется вместе с отключенным вентилятором, если имеется.
7.5 Розжиг, распространение пламени и стабильность пламени
7.5.1 Розжиг и распространение пламени
7.5.1.1 Все аппараты
Следующие испытания проводят на аппарате при температуре окружающей среды и тепловом равновесии.
Аппараты типа C11 соединены с трубами минимальной длины, указанной изготовителем.
Для этого испытания основная и запальная горелки регулируются в соответствии с 7.1.3.2.1. Аппарат работает в соответствии с инструкциями изготовителя на эталонном газе на проскок и отрыв в соответствии с категорией аппарата (см. таблицу 5) при нормальном давлении (см. 7.1.4). |
Это испытание повторяется либо при минимальном расходе, который можно установить с помощью регулируемого устройства, если такое имеется, или при расходе, получаемом, когда кран находится в положении самого пониженного расхода, если розжиг возможен в таких условиях при нормальной эксплуатации в соответствии с рекомендуемыми инструкциями изготовителя.
Для устройств с пьезорозжигом электроды закорачиваются после каждого розжига.
Испытание N 2
Для этого испытания начальные настройки основной и запальной горелок не меняются, а на аппарат подается эталонный газ при следующих условиях:
a) Если у аппарата нет регулятора давления, то давление на входе аппарата снижается до 70% от нормального давления (см.
7.1.4) или до давления, которое дает 80% расхода при розжиге (выбрать меньшее) для газов первого и второго семейства, и до минимального давления для газов третьего семейства (см.
7.1.4);
b) Если у аппарата есть регулятор давления, то давление также понижается до величины, равной 70% от нормального давления, но давление нагнетательного потока понижается для получения тепловой мощности, равной 90% от номинальной тепловой мощности для газов первого семейства или 92,5% номинальной тепловой мощности для газов второго семейства, или 95% для газов третьего семейства. |
В таких условиях подачи произведите розжиг основной горелки запальной горелкой.
Испытание повторяется как при минимальном расходе газа, заданном термостатом, если он имеется, так и при расходе, получаемом, когда кран находится в положении пониженного расхода, если розжиг возможен в таких условиях при нормальной эксплуатации в соответствии с рекомендуемым изготовителем процессом.
a) Для данного испытания начальные регулировки основной горелки или запальной горелки не меняются и на аппарат подается эталонный газ. Давление на входе аппарата снижается до минимального (см. 7.1.4). Для аппарата с регулятором нагнетательное давление понижается до получения тепловой мощности, равной 90% от номинальной тепловой мощности для газов первого семейства или 92,5% номинальной тепловой мощности для газов второго семейства (для эталонных газов), или 95% для газов третьего семейства (для эталонных газов); |
b) Расход газа запальной горелки понижается до минимума, при котором не прерывается подача газа на горелку.
Необходимое уменьшение расхода газа запальной горелки может достигаться следующим:
- регулированием расхода газа запальной горелкой с помощью регулятора, если он имеется;
или, если это невозможно,
- посредством регулирования регулировочного приспособления, встроенного для этой цели в систему подачи газа на запальную горелку.
c) Затем проверяется правильность розжига основной горелки запальной горелкой.
Испытание повторяется либо при минимальном расходе, заданном термостатом, если таковой имеется, либо при расходе, полученном, когда кран находится в положении пониженного расхода, если розжиг возможен в этих условиях при нормальном использовании в соответствии с рекомендованным изготовителем процессом.
7.5.1.2 Дополнительные испытания
Следующее испытание проводится при температуре окружающей среды и при тепловом равновесии.
Аппараты типа C11 соединены с трубопроводом минимальной длины, как указано изготовителем.
Аппарат вначале регулируется, как описано в
7.1.3.2.1, и на него подается соответствующий эталонный газ (газы) (см.
таблицу 5) при номинальной тепловой мощности.
Проверяется розжиг основной горелки, испытание повторяется, с постепенной задержкой розжига до конца безопасного времени, указанного изготовителем, или 60 с для ручного розжига.
Для того чтобы сделать задержку розжига, обычно необходимо установить независимый контроль за магистральным газом или включить автоматические отсечные клапаны и работу устройства розжига. Следует обеспечить подачу напряжения, независимо от системы автоматического управления горелкой, на соответствующий газовый клапан (клапаны) и на устройство розжига. Задержка розжига должна возрастать поэтапно.
7.5.2 Стабильность пламени
Следующие испытания проводятся при температуре окружающей среды и при тепловом равновесии.
Аппараты C11 подсоединяются к трубопроводу минимальной длины, которая указана изготовителем.
Испытание N 1
Для данного испытания горелка и запальная горелка регулируются в соответствии с
7.1.3.2.1 и на аппарат поступает соответствующий предельный газ для проскока пламени (см.
таблицу 5) при минимальном давлении (см.
7.1.4).
Для аппарата с регулятором давления нагнетательное давление понижается для получения тепловой мощности, равной 90% от номинальной тепловой мощности для газов первого семейства или 92,5% номинальной тепловой мощности для газов второго семейства (для эталонных газов), или 95% для газов третьего семейства (для эталонных газов). |
В этих условиях подачи газа проверьте пламя на стабильность.
Испытание повторяется либо при минимальном расходе, заданном термостатом, если таковой имеется, либо при расходе, полученном, когда кран находится в положении пониженного расхода.
Испытание N 2
Для всех аппаратов без регулятора давления начальные регулировки горелки и запальной горелки сохраняются, а на аппарат при максимальном давлении подается предельный газ, вызывающий отрыв пламени (см.
7.1.4). Проверяется отсутствие отрыва пламени при нормальной эксплуатации.
Для аппарата с регулятором давления испытание проводится путем увеличения расхода газа горелки до величины, соответствующей 107,5% номинальной тепловой мощности для газов первого семейства или 105% номинальной тепловой мощности для газов второго семейства и газов третьего семейства (для газа для отрыва пламени). |
7.5.3 Влияние комнатных сквозняков (для аппаратов типа B1)
На аппарат подается эталонный газ при нормальном давлении и подвергается на уровне горелки воздействию струи ветра со скоростью 2 м/с. Струя ветра покрывает пространство не менее ширины горелки.
Ось струи воздуха находится в горизонтальной плоскости и движется в одном или более углах установки (по усмотрению лаборатории) внутри полукруга перед аппаратом, при этом центр полукруга находится на пересечении плоскости симметрии аппарата и плоскости испытания. Между вентилятором и аппаратом помещается экран, и тотчас же после розжига аппарата экран убирается на 3 с для того, чтобы создать порыв. Так повторяется при каждом угле охвата по 3 порыва в каждом положении, с интервалом 3 с.
Испытание проводится на аппарате при температуре окружающей среды и в горячем состоянии с основной горелкой и любой запальной горелкой, зажженными вместе, или, если требуется, только с одной зажженной запальной горелкой. Все отверстия при розжиге во время испытания остаются закрытыми.
Испытание повторяют при минимальной тепловой мощности, заданной органами управления, если такая операция назначена изготовителем.
Во время проведения испытания следует предпринять меры предосторожности, чтобы экранировать прерыватель тяги от воздействия струй ветра.
7.5.4 Испытания ветром (для аппаратов типа C11)
Аппарат устанавливается, как указано в инструкциях изготовителя, на испытательном стенде, описанном на рисунке 3. Аппараты серии 1 и 2 должны быть снабжены, во-первых, трубой наименьшей длины, указанной изготовителем. Испытания повторяют на аппарате, снабженном самой длинной трубой, указанной изготовителем. |

(горизонтальное направление ветра) плюс 30°, минус 30°;

(боковое направление ветра) 15°, 30°, 45°, 60°, 75°, 90° (перпендикулярно к испытательной стенке).
Когда терминал несимметричный, тогда испытания продолжают проводить под такими углами: 105°, 120°, 135°, 150°, 165°, 180°.
Угол

может меняться либо изменением положения ветровой установки (при испытании на укрепленной стене), либо вращением испытательной стены вокруг центральной оси.
Испытательная стена состоит из прочной вертикальной стенки площадью не менее 1,8 м2 со снимаемой панелью в центре. Терминал аппарата монтируется так, чтобы геометрический центр был в центре 0 испытательной стены, а его выступающая часть от стены была такой, как рекомендует изготовитель.
Параметры ветровой установки и расстояние от испытательной стены, на которой установка расположена, выбираются так, чтобы удовлетворялись следующие критерии в плоскости испытательной стены после снятия центральной панели:
a) фронт ветра равен 900 мм х 900 мм или круглому сечению диаметром не менее 600 см;
b) скорость ветра 2,5 м/с и 12,5 м/с с точностью 10% на всем фронте ветра; |
c) поток ветра в основном параллельный без остаточного вращательного движения.
Если центральная съемная панель недостаточно велика для проверки этих критериев, они проверяются без испытательной стенки и измеряются на расстоянии, соответствующем диаметру, который должен находиться между испытательной стеной и соплом ветровой установки для проведения испытания.
1 - горизонтальное; 2 - вертикальное
Рисунок 3 - Расположение испытательной аппаратуры
для аппаратов типа C1
На аппарат подается один из эталонных газов, соответствующий его категории, и регулируется для получения номинальной тепловой мощности, как указано в
7.1.3.2.
Затем проводятся следующие два испытания, серия 1 и серия 2:
Серия 1
Эти испытания проводятся на нагретом аппарате.
Терминал аппарата последовательно подвергается воздействию струй ветра разной скорости в трех плоскостях (см. рисунок 3):
- горизонтальной

;
- восходящей под углом 30° до горизонтальной

;
- нисходящей под углом 30° до горизонтальной

.
В каждой из трех плоскостей угол столкновения с ветром меняется каждые 15° от 0° до 90° включительно. Если терминал несимметричный по вертикальной оси, испытания проводятся каждые 15° между 0° и 180°, включительно.
Испытания проводятся при ветре со скоростью в 2,5 м/с и 12,5 м/с, и отбираются пробы продуктов сгорания (см. 7.7). |
Определите девять позиций, которые дают самые низкие величины CO
2 (см.
7.7.3.3).
В каждой из этих девяти позиций проводится визуальная проверка следующего:
a) стабильности запальной горелки с выключенной основной горелкой;
b) розжиг основной горелки запальной;
c) распространения пламени основной горелки;
d) стабильности запальной и основной горелок, работающих одновременно.
Серия 2
По каждому условию, отмеченному в вышеуказанных испытаниях серии 1, проверяется возможность розжига запальной горелки из холодного состояния с помощью имеющегося устройства розжига.
7.6 Регуляторы давления
7.6.1 Регулятор рабочего давления
Если аппарат имеет регулятор давления, то следует произвести регулировку, если это требуется, чтобы создать номинальный объемный расход эталонного газа при нормальном давлении, указанном в
7.1.4, которое соответствует газу. При сохранении такой первоначальной настройки давление подачи меняется между соответствующим минимальным и максимальным значениями (см.
7.1.4).
Испытание проводится со всеми эталонными газами, для которых регулятор давления не отключают.
7.6.2 Регулятор давления, выведенный из эксплуатации
На аппарат подается эталонный газ при минимальном, а затем при максимальном давлении, указанном в
7.1.4, и в тех же самых условиях температуры и давления измеряется объемный расход потока. Затем это проверяется:

(10)
где Vmin - объемный расход потока при минимальном давлении pmin (м3/ч);
Vmax - объемный расход потока при максимальном давлении pmax (м3/ч);
pmin - соответствующее минимальное давление для семейства газов или группы газов, к которой относится эталонный газ (см.
7.1.4) (мбар);
pmax - соответствующее максимальное давление для семейства газов или группы газов, к которой относится эталонный газ (см.
7.1.4) (мбар).
Испытание проводится на всех эталонных газах, для которых регулятор давления отключают.
7.7 Горение
Аппарат устанавливается в соответствии с 7.1.5. |
Облицовку (кирпичи), радиаторы и имитацию дымохода следует расположить в пределах их смещения, чтобы не нарушать местоположения горелки и друг относительно друга. Требуется внимательно отнестись к инструкциям изготовителя и определить, как удобнее можно расположить огнеупорный материал.
На аппарат, отрегулированный, как указано в
7.1.3.2, если необходимо, подается соответствующий эталонный газ для получения номинальной тепловой мощности.
Для регулируемых на максимум и минимум или модулирующих аппаратов испытания проводятся при номинальной и минимальной тепловой мощности, устанавливаемой с помощью органов управления.
Проба продуктов сгорания отбирается, когда аппарат достигает теплового равновесия.
Концентрация CO в сухих продуктах сгорания без воздуха (нейтральное горение) выражается формулой

(11)
где VCO,N - процентная концентрация CO в сухих продуктах сгорания, без воздуха;

- расчетное процентное содержание CO
2 в сухих продуктах сгорания, данного газа без воздуха;
VCO,M и
- концентрации оксида углерода и диоксида углерода, соответственно, измеренные в пробе во время проведения испытания на сгорание, выраженные в процентах по объему.
Величины

- (нейтральное горение) испытательных газов даны в
таблице 10.
Таблица 10
Величины

Обозначение газа | G110 | G20 | G21 | G23 | G25 G231 | G26 | G30 | G31 | G120 | G130 | G150 | G271 |
| 7,6 | 11,7 | 12,2 | 11,6 | 11,5 | 11,8 | 14,0 | 13,7 | 8,35 | 13,7 | 11,8 | 11,2 |
Концентрация CO в сухих продуктах сгорания без воздуха может также рассчитываться по формуле

(12)
где

и
VCO,M - концентрации кислорода и оксида углерода, соответственно, измеренные в пробе, выраженные в процентах.
Применять эту формулу рекомендуется там, где концентрация CO2 меньше 2%.
Аппарат типа B1 помещается в хорошо проветриваемую комнату, при этом задняя часть аппарата располагается как можно ближе к стене в соответствии с инструкциями изготовителя.
Пробы продуктов сгорания отбирают с помощью зонда, показанного на
рисунке 4, на расстоянии 200 мм от верха испытательного дымохода.
Размеры в миллиметрах
Материал - нержавеющая сталь
1 - стеатитовая трубка с двумя отверстиями, в которых
герметично укрепляется термопара; 2 - точка замера;
3 - труба с закрытыми краями;
4 - отверстия

на патрубок
Рисунок 4 - Зонд для отбора проб для аппаратов типа B
Аппарат снабжается конвективным вентилятором, если конструкция аппарата предусматривает, чтобы нарушение работы конвективного вентилятора (например, остановка) не вызывало закрытия газового клапана (клапанов), затем испытания повторяют с неработающим вентилятором.
7.7.1.2 Аппараты типа C11
Аппарат снабжен конвективным вентилятором, если конструкция аппарата предусматривает, чтобы нарушение работы конвективного вентилятора (например, остановка) не вызывало закрытия газового клапана (клапанов), потом испытания повторяют с неработающим вентилятором.
Аппарат типа C
11 испытывается в неподвижном воздухе при установке на испытательном стенде в соответствии с
7.5.4.
Если аппарат предназначен для использования с ограждением на терминале, то испытания повторяют с ограждением, оборудованным в соответствии с инструкциями изготовителя.
Для таких испытаний зонд для отбора проб, снабженный термопарой, как показано на
рисунке 5, используется для отбора проб продуктов сгорания и для измерения их температуры. Проба продуктов сгорания отбирается через зонд со скоростью около 100 л/ч.
1 - 3 отверстия

мм для отбора проб;
2 - провод
термопары из хромель/алюмель; 3 - керамический рукав
с двойным стержнем; 4 - изоляция
Примечания
1 Размеры зонда диаметром 6 мм (для отбора проб продуктов сгорания, выходящих из выпускного отверстия труб диаметром (D) свыше 75 мм):
наружный диаметр зонда (d) | 6 мм |
толщина стены | 0,6 мм |
диаметр отверстия (x) для отбора проб | 1,0 мм |
керамический рукав с двойным стержнем | диаметр 3 мм x 0,5 мм стержня |
провод термопары | диаметр 0,2 мм. |
Для выпускных отверстий труб отвода продуктов сгорания диаметром меньше 75 мм следует применять меньший зонд с диаметрами d и x, выбранный таким образом, чтобы:
a) площадь, занимаемая зондом, составляла менее 5% поперечного сечения трубы;
b) общая площадь отверстия зонда для отбора проб составляла менее 3/4 поперечного сечения зонда.
2 Размер Y должен выбираться соответственно диаметру входного отверстия воздушной трубы и ее изоляции.
Материал: нержавеющая сталь.
Рисунок 5 - Зонд для отбора проб - аппараты типа C
Проба берется в плоскости, перпендикулярной потоку продуктов сгорания на расстоянии одного диаметра от конца дымохода для отвода продуктов (см.
рисунок 6). Если труба не круглая в сечении, то принимается площадь, равная диаметру круга.
1 - зонд для отбора проб; 2 - температура воздуха
для сгорания; 3 - камера сгорания; 4 - топочный газ;
5 - воздух; 6 - плоскость измерения температуры воздуха
для сгорания; 7 - плоскость измерения температуры топочного
газа и дыма
Рисунок 6 - Зонд для отбора проб и положения
термопары - для аппаратов типа C11
Зонд для отбора проб вставляется вертикально вниз в верхнюю часть выпускной трубы для продуктов сгорания (см.
рисунок 6).
7.7.2 Испытания, проводимые в предельных условиях
На аппарате, установленном как описано в
7.7.1, проводятся следующие испытания в условиях неподвижного воздуха с помощью соответствующего эталонного газа (газов) (см.
таблицу 5).
a) Для аппаратов без регулятора расхода газа или регулятора давления или для аппаратов, снабженных такими устройствами, но там, где их функция была аннулирована, испытание проводится на аппарате, снабжаемом максимальным давлением по
7.1.4.
b) Для аппарата с регулятором расхода газа, но без регулятора давления, испытание проводится путем регулирования горелки на величину, равную 1,10 номинальной тепловой мощности.
c) Для аппарата с регулятором давления, который не отключен, испытание проводится при повышении на горелке величины номинальной тепловой мощности до 1,07 раза для газов первого семейства или величины номинальной тепловой мощности до 1,05 раза для газов второго и третьего семейств.
7.7.2.2 Газ неполного сгорания
После испытания, проводимого на эталонном газе (газах) по
7.7.2.1, аппарат испытывается на предельном газе неполного сгорания в соответствии с категорией аппарата (см.
таблицу 5).
Для такого испытания в трех вышеописанных случаях (т.е.
7.7.2.1 a),
b) и
c)) с применением эталонного газа тепловая мощность аппарата регулируется до 1,05 номинальной тепловой мощности, если установлен регулятор давления или 1,075 номинальной тепловой мощности, если в аппарате нет регулятора давления. Если аппарат предполагается установить только на газовой установке с регулируемым манометром, можно применить коэффициент 1,05.
Без изменения настройки аппарата или давления в линии газоснабжения эталонный газ заменяется на соответствующий газ неполного сгорания.
7.7.3 Дополнительные испытания в особых условиях
Аппарат устанавливается так, как описано в
7.7.1.
7.7.3.1 Безопасность в случае колебания, прерывания и возобновления подачи дополнительной энергии a) Прерывание и последующее возобновление: - подача электроэнергии прерывается и возобновляется спустя 10 с; b) Колебание. |
При магистральном электроснабжении, уменьшенном до 85% от минимального напряжения, для которого выполнен аппарат, включите аппарат на эталонном газе (газах) с нормальным давлением подачи газа. У аппарата при максимальной настройке (крана или термостата) и при тепловом равновесии измеряют концентрацию CO в сухих продуктах сгорания без воздуха. Повторите испытание с увеличением электроснабжения от магистрали до 110% максимального напряжения, на который рассчитан аппарат.
Аппарат установлен, как описано в
7.7.1.
Испытания проводятся со всеми эталонными газами при номинальной тепловой мощности.
Первое испытание проводится с заблокированным дымоходом.
Второе испытание проводится с применением непрерывной нижней тягой, создающей стабильное давление 5,4 Па на основе испытательного газохода (см. рисунок 7). 1 - испытательный дымоход (см. рисунок 1); 2 - точка измерения скорости тяги; 3 - гибкий трубопровод; 4 - опора; 5 - испытуемый аппарат; 6 - вентилятор A и B - отсечные клапаны для получения нижней тяги |
Рисунок 7 - Аппаратура для создания ненормальных условий
тяги - для аппаратов типа B
При проведении всех испытаний система слежения за утечкой отключается.
Отбор проб продуктов сгорания берется между теплообменником и вытяжным устройством.
7.7.3.3 Аппараты типа C
11
Аппарат устанавливается и регулируется, как описано в
7.5.4.
Пробы продуктов сгорания берутся в условиях Испытания серии N 1 по 7.5.4. Для каждой длины трубы, например, самой короткой и самой длинной, в данных испытаниях рассчитывается средняя арифметическая величина по девяти самым высоким концентрациям CO, установленным в данных испытаниях. |
Если аппарат предназначен для использования с ограждением терминала, испытание повторяют с ограждением терминала, смонтированным в соответствии с инструкцией изготовителя.
7.7.4 Измерение оксидов азота (для всех аппаратов)
Испытание проводится в испытательных условиях, описанных в
7.1.5, с применением эталонного газа (газов), но только при нормальном давлении.
Метод испытания соответствует требованиям CR 1404.
В соответствии с функцией и применением аппарата измеренные величины NO
x взвешиваются до определения того, под какой класс
(таблица 2) попадает аппарат.
Предполагаемые взвешивания являются следующими:
a) Для модулирующих аппаратов (максимальный - модуляция - минимальный расход).
NOx(max) + NOx(mod) + NOx(min) =
= Взвешенной величине NOx в мг/кВт·ч, (13)
где NOx(max) = величина NOx, измеренная при номинальной тепловой мощности, умноженная на 0,1;
NOx(mod) = величина NOx, измеренная при 60% номинальной тепловой мощности, умноженная на 0,45;
NOx(min) = величина NOx, измеренная при минимальной тепловой мощности, указанной изготовителем, умноженная на 0,45.
b) Для аппаратов только с одной минимальной тепловой мощностью (максимальная отключена):
величина NOx, измеренная при номинальной тепловой мощности =
= Взвешенной величине NOx в мг/кВт·ч. (14)
c) Для аппаратов с двумя тепловыми мощностями (максимальной - минимальной):
NOx(max) + NOx(min) = Взвешенной величине NOx в мг/кВт·ч, (15)
где NOx(max) = величина NOx, измеренная при номинальной тепловой мощности, умноженная на 0,3;
NOx(min) = величина NOx, измеренная при минимальной тепловой мощности, указанной изготовителем, умноженная на 0,7.
d) Для аппаратов более чем с двумя фиксированными тепловыми мощностями.

(16)
где n - число других фиксированных тепловых мощностей;
NOx(max) = величина NOx, измеренная при номинальной тепловой мощности, умноженная на 0,1;
NOx(n) = величина NOx, измеренная, при фиксированных тепловых мощностях (n), указанных изготовителем, умноженная на 0,9.
Преобразование величин выбросов в единицах частей на миллион (ppm) дается в
приложении J.
7.8 Сажеобразование (как результат только от перемены топлива аппаратов)
7.8.2 Определение сажевого числа
Отвинтите устройство крепления бумаги, вставьте фильтр в паз на насосе и завинтите устройство.
Введите горизонтально трубку для отбора проб в середину потока сгоревшего газа, образованного продуктами сгорания. Должна быть обеспечена герметичность между трубкой для отбора проб и стенкой измерительного рукава там, где берется проба.
Отбор проб может осуществляться как ручным насосом, так и насосом с электромеханическим приводом.
При применении ручного насоса требуется провести десять прокачиваний; все всасывания должны производиться через равные промежутки времени и длиться от 2 с до 3 с. Конец всасывания достигается, когда оператор не ощущает больше реакции поршня.
Отведите трубку от дымохода, отвинтите фиксирующее устройство, осторожно снимите фильтровальную бумагу.
Сравните пятно со стандартной серой шкалой, удерживая фильтровальную бумагу против стандартной шкалы. Исследуйте пятно через центральное окошко шкалы. Обратите внимание на тот номер степени загрязнения, чей оттенок ближе всего к испытываемому пятну. В диапазоне серой шкалы от 0 до 4 следует различать особенно тщательно промежуточные степени.
Можно применять эквивалентный данному методу метод оптоэлектронного определения сажевого числа.
7.8.3 Условия испытаний
Аппарат устанавливается, как описано в
7.7.1.
Если аппарат снабжен вентилятором, который помогает распределять конвективный воздух, а пользователь может включать и выключать вентилятор без отключения основной горелки, когда выключен вентилятор, то для проведения следующих испытаний в нормальных эксплуатационных условиях вентилятор требуется отключать.
7.8.3.2 Холодное состояние
Аппарат устанавливается и разжигается в соответствии с инструкциями изготовителя с применением соответствующего эталонного газа и отрегулированного на номинальную тепловую мощность. Поменяйте эталонный газ на соответствующий предельный газ сажеобразования (см.
таблицу 5). Отключите аппарат и дайте ему остыть при комнатной температуре.
Аппарат разжечь в холодном состоянии в соответствии с инструкциями изготовителя и немедленно, используя аппаратуру, описанную в
7.8.1, отобрать пробы газов из дымохода, как описано в
7.8.2, применив 10 последовательных приемов прокачиваний насосом. В конце десятого цикла проверьте на соответствие
пункту 6.8.1.
7.8.3.3 Горячее состояние
В конце десятого цикла прокачивания насосом при испытании
7.8.3.2 оставить аппарат в работающем режиме на 1 ч на предельном газе на сажеобразование. В конце этого периода с помощью аппаратуры, описанной в
7.8.1, отобрать пробу газов из дымохода, как описано в
7.8.2, применив 10 прокачиваний насосом, и определить сажевое число. Проверьте на соответствие
6.8.2.
7.8.3.4 Состояние длительного цикла (только если сажа обнаруживается на горелке/слое, имитирующем твердое топливо)
Аппарат чистят при комнатной температуре в соответствии с инструкциями изготовителя.
Затем проводят следующие испытания на аппарате с соответствующим эталонным газом, который отрегулирован на номинальную тепловую мощность.
a) Циклы чередуются в течение 16 ч на аппарате в состоянии включено и 8 ч в состоянии выключено на протяжении 5 циклов со слоем топлива, если имеется, в соответствии с инструкциями изготовителя;
b) измерьте концентрацию CO сухих продуктов сгорания без воздуха спустя 1 ч после первого цикла;
c) в конце последнего цикла измерьте концентрацию CO в сухих продуктах сгорания без воздуха и сравните результат с тем, что получен по вышеописанному
пункту b) (см.
6.8.3).
7.9 Система контроля утечки
Если аппарат снабжен вентилятором, для улучшения распределения конвекционного воздуха и пользователь может включать и выключать вентилятор без отключения основной горелки при выключенном вентиляторе в нормальных условиях эксплуатации, то проводятся следующие испытания как с включенным, так и с выключенным вентилятором. |
7.9.2 Датчик контроля состояния атмосферы (аппараты типа B11AS)
Аппарат устанавливается на самой узкой стене герметично закрытого помещения и регулируется на номинальную тепловую мощность с применением эталонного газа (газов).
7.9.2.1 Герметичное помещение (см.
рисунок 8)
Размеры в миллиметрах
1 - охладитель; 2 - точка замера
в геометрическом центре комнаты
Рисунок 8 - Испытательная комната с недостатком кислорода
Размеры помещения следующие:
длина - 3,5 м +/- 0,1 м;
ширина - 2,0 м +/- 0,1 м;
высота - 2,5 м +/- 0,1 м;
объем - 17,5 м3 +/- 0,1 м3.
Могут быть другие размеры при условии, что это не повлияет на результаты испытаний.
Герметичность помещения должна быть таковой, что после того, как будет достигнута однородная концентрация CO2 (4 +/- 0,2)%, она не должна понижаться более, чем на 0,1% в конце двухчасового периода. |
Примечание - Однородность может достигаться с помощью вентилятора или насоса. CO2 может достигаться от любого источника, за исключением нагрева.
Помещение должно иметь такую конструкцию, чтобы:
- оператор мог в любое время наблюдать за работающим аппаратом;
- отбор проб атмосферы помещения на оксид углерода мог осуществляться от геометрического центра помещения; при этом важно, чтобы трубка, по которой ведется отбор проб, от датчика к анализатору была как можно короче;
- атмосфера в помещении поддерживалась в виде однородной смеси;
- температура в центре помещения поддерживалась от 20 °C до 40 °C.
7.9.2.2 Метод испытания
Розжиг аппарата осуществляется при нормальном установочном давлении с открытой дверью помещения и нормально функционирующим дымоходом.
В конце 1 ч разогрева дымоход закрыть крышкой и герметизировать, а помещение тоже плотно закрыть.
Воздух в помещении постоянно держать под контролем на процентное содержание CO сухого без воздуха.
7.9.3 Защитное устройство для отвода продуктов сгорания (аппараты типа B11BS)
Аппарат устанавливают в соответствии с инструкциями изготовителя и в соответствии со следующими условиями:
- испытания проводят на эталонном газе для данной категории аппарата при номинальной тепловой мощности;
- утечка определяется с помощью тарелки для сбора конденсата (в точке росы) (см.
приложение C); однако в сомнительных случаях точка образования конденсата определяется посредством датчика отбора проб, связанного с быстрореагирующим анализатором CO
2, который позволяет обнаружить концентрации порядка 0,1%;
- встроенные аппараты устанавливаются в испытательный стенд, описанный в
7.4.3.2.
7.9.3.2 Отключение в случае помех
Аппарат устанавливается, как описано в
7.9.3.1.
Аппарат оставляется включенным на 30 мин с отключенным термостатом. Проверяют, чтобы устройство не вызывало отключений. Затем основную горелку выключить.
Повышение температуры после отключения горелки не должно приводить к возникновению сигнала от устройства, вызывающего отключение.
7.9.3.3.1 Испытание с полным блокированием
Аппарат устанавливают в соответствии с
7.9.3.1 с испытательной трубой высотой 1 м, и он работает при номинальной тепловой мощности. Когда аппарат придет в тепловое равновесие, дымоход полностью блокируют (см.
рисунок 9). Замеряют время между блокировкой дымохода и отключением. У аппаратов без блокировки поддерживается непроходимость и измеряется время между отключением и розжигом основной горелки.
1 - пластина; 2 - телескопический испытательный дымоход;
3 - детектор
| | ИС МЕГАНОРМ: примечание. В официальном тексте документа, видимо, допущена опечатка: пункт 7.9.2.3.2 отсутствует. Возможно, имеется в виду пункт 7.9.3.3.2. | |
Рисунок 9 - Устройство контроля продуктов
сгорания - испытательная аппаратура (см.
7.9.2.3.2)
Это испытание повторяют с минимальным расходом, если таковой имеется.
7.9.3.3.2 Испытания с частичным блокированием
Установить аппарат в соответствии с
7.9.3.1 и оборудовать его телескопическим дымоходом (см.
рисунок 9), приведенным к тепловому равновесию при номинальной тепловой мощности в соответствии с
7.9.3.3.1.
Уменьшить длину телескопического дымохода до тех пор, пока не произойдет конденсат. Если такое состояние не достигается при минимальной длине телескопического дымохода, оборудовать телескопический дымоход концентрическим зазором для достижения такой точки.
Если устройство включается до достижения такой длины, тогда полагается отключение, что соответствует
6.9.2.2.
Если нет, то накройте испытательный дымоход блокирующей пластиной с концентричным круговым отверстием, диаметр которого равен диаметру
D, умноженному на 0,6 (см.
таблицу 3), испытательного дымохода в его верхней крайней части (см.
рисунок 9).
Если сбор конденсата не достигается с помощью телескопического испытательного дымохода, накройте его пластиной с круглым отверстием диаметром
D' (см.
таблицу 3), что дает возможность получить предел скапливаемого конденсата.
Эту пластину затем заменить на другую, блокирующую пластину с круглым отверстием; диаметр d равен D', умноженному на 0,6.
Измерьте время между установлением на место блокирующей пластины и отключением.
Удостоверьтесь, что время отключения соответствует
6.9.2.2.
Примечание - Если изготовитель указывает минимальную высоту дымохода, то испытание проводится с использованием дымохода такой длины.
7.10 Устройство контроля пламени
7.10.1 Термоэлектрическое устройство
7.10.1.1 Холодное состояние
Испытания проводятся с соответствующим эталонным газом (газами) на аппарате, отрегулированном на его номинальную тепловую мощность.
После того как будет сделана такая регулировка, дать аппарату остыть до температуры окружающей среды. Включить снова газ и разжечь запальную горелку, если имеется, или основную горелку, по обстановке. Время открытия - это время между моментом розжига запальной горелки или основной горелки, что имеется, и временем срабатывания устройства защиты.
7.10.1.2 Горячее состояние
Аппарат оставить работать при его номинальной тепловой мощности на 1 ч.
Измеряемое время - это интервал между моментом, когда запальная горелка и основная горелка были специально погашены путем отключения подачи газа и моментом, когда после включения подача газа была отключена устройством слежения за пламенем. Газовый счетчик или другое иное соответствующее устройство может использоваться для определения закрытия клапана устройства слежения за пламенем.
7.10.2 Системы автоматического контроля горелки
7.10.2.1 Устройства, работающие в ручном режиме (например, кнопка)
Установить аппарат, как описано в
7.1.5.2, и подать на него соответствующий эталонный газ (см.
таблицу 5) при номинальной тепловой мощности в соответствии с
7.3.1. Привести в действие пусковое устройство 10 раз, т.е. каждые 5 с.
7.10.2.2 Безопасное время
Отключить подачу газа на аппарат. Попытаться разжечь аппарат в соответствии с инструкциями изготовителя и измерить время между сигналами открытия клапана и закрытия клапана. Сравнить это время со временем, указанным изготовителем.
Когда аппарат работает, отключить подачу газа на основную горелку. Измерить время между моментом, когда основная горелка погаснет, и временем подачи сигнала закрытия.
7.11 Коэффициент полезного действия
7.11.1 Монтаж и подача газа
7.11.1.1 Общие требования
Аппарат устанавливается так, как описано в
7.7.1.
Аппарат сначала отрегулировать для получения номинальной тепловой мощности, указанной в
7.1.3.2, с применением эталонного газа и определить коэффициент полезного действия по достижении теплового равновесия. Температура помещения должна приблизительно составлять 20 °C. Эта температура измеряется на высоте 1,5 м, на расстоянии не менее 3 м от аппарата термометром, экранированным от прямого теплового излучения, исходящего от аппарата.
7.11.1.2 Аппараты типа B1
Отобрать пробы продуктов сгорания и измерить температуру на расстоянии 200 мм от верхнего края дымохода. Пробы продуктов сгорания отбираются зондом, описанным в
7.7.1.1, который показан на
рисунке 5.
7.11.1.3 Аппараты типа C11
Аппарат типа C 11 устанавливается в соответствии с инструкциями изготовителя с применением дымохода длиной 350 мм, т.е. для имитации монтажа на стене толщиной 350 мм. Датчик отбора проб снабжен термопарой, как показано на рисунке 5, с целью отбора проб продуктов сгорания и для измерения температуры. Пробы продуктов сгорания отводятся через датчик со скоростью приблизительно 100 л/ч. Проба отбирается в плоскости, перпендикулярной направлению потока продуктов сгорания, на расстоянии одного диаметра от конца трубы отвода продуктов (см. рисунок 6). Если труба не круглая в сечении, берется диаметр круга эквивалентной площади. |
Датчик отбора проб вставляется вертикально сверху вниз в верхнюю половину трубы отвода продуктов (см.
рисунок 6).
Положения зонда и термометрических устройств показаны на
рисунке 6.
7.11.2 Определение коэффициента полезного действия
Коэффициент полезного действия

, относящийся к низшей теплотворной способности,
Hi, выражается следующей формулой:

(17)
где q1 - теплота сухих продуктов сгорания (% от тепла, выделяемого на единицу объема газа);
q2 - тепло водяного пара, содержащегося в продуктах сгорания (% выделенного тепла на единицу объема газа);
q1 выражается формулой

(18)
где C
1 - среднее удельное тепло сухих продуктов сгорания в мегаджоулях на кубический метр и Кельвинах [МДж/(м
3·К)] (см.
рисунок 10);
t2 - средняя температура продуктов сгорания (°C);
t1 - средняя температура воздуха для сгорания (°C);
Hi - низшая теплотворная способность сухого газа при 1013,25 мбар и 15 °C в мегаджоулях на кубический метр (МДж/м3);
Vp - объем сухих продуктов сгорания на единицу объема газа при 1013,25 мбар и 15 °C (м3).
1 - средняя удельная теплоемкость сухих продуктов сгорания
(МДж/м3·К); 2 - % CO2 в продуктах сгорания; 3 - температура
продуктов сгорания (°C)
Рисунок 10 - Номограмма - средняя удельная теплоемкость
сухих продуктов
Vp выражается формулой

(19)
где
- объем CO
2, произведенного горением 1 м
3 газа (м
3);

- концентрация CO
2 продуктов сгорания в процентах (%).
q2 выражается формулой

(20)
где Hs - высшая теплотворная способность газа при 1013,25 мбар и 15 °C, сухого, в мегаджоулях на кубический метр (МДж/м3).
Измерение выполнять с допуском +/- 1% (абсолютная величина) на основе концентрации CO2 (%), которая измерена с точностью +/- 5%.
Коэффициент полезного действия рассчитывается при достижении теплового равновесия.
8 Маркировка и инструкции
Инструкции и предупреждающие знаки должны быть на официальном языке (языках) страны (стран) назначения.
8.1 Маркировка
8.1.1 Маркировка аппарата
На аппарате должна быть одна или несколько табличек с данными и/или бирки, которые жестко и надежно прикреплены к аппаратам так, чтобы предоставленная информация была видна и читалась монтажником после снятия наружной облицовки. На табличке(ах) и/или бирках должна быть предоставлена следующая информация, выполненная методом, обеспечивающим ее долговечность:
a) наименование изготовителя
<1> и/или идентификационный символ;
b) торговая марка аппарата;
c) серийный номер;
d) тип газа в зависимости от давления газа и/или пары давлений, на которые настроен аппарат; все давления указаны в зависимости от соответствующего индекса категории. Если требуется аппарат перевести с одного давления на другое в пределах пары давлений газов третьего семейства, то должно указываться только то давление, которое соответствует текущей настройке аппарата;
e) номинальная тепловая мощность и, там где необходимо, диапазон входных параметров, если у аппарата имеется регулируемая мощность, выраженная в кВт, основанная на низшей или высшей теплотворной способности;
f) страна поставки аппарата или страны, для которых аппараты предназначены (см.
8.1.4.4);
g) категория аппарата или категории: если указано несколько категорий аппарата, каждая из этих категорий должна быть указана для соответствующей страны или стран, для которых он предназначен;
h) класс аппарата, от коэффициента полезного действия, например, аппарат класса 1 или аппарат класса 2, по обстановке; i) род тока (~) и напряжение (V) применяемого тока, а также максимальная электроэнергия в вольтах (V), амперах (А), частоте (Гц) и киловаттах (кВт) для всех предназначенных условий электроснабжения; |
j) установочные параметры давления для регулируемых аппаратов.
--------------------------------
<1> "Изготовитель" означает организацию или компанию, которая принимает на себя обязательства по продукции.
У аппарата с регулируемой номинальной мощностью должно быть место, где монтажник мог прочно нанести метку значения мощности аппарата, на которую он был отрегулирован.
На аппарате не должна указываться какая-либо другая информация, если это может привести к неясностям в отношении текущей настройки аппарата, соответствия аппарата категории (или категориям) и прямой страны (стран) назначения.
Невозможность удаления маркировки проверяется в соответствии с 7.14 EN 60335-1:1994.
8.1.2 Другая маркировка
На аппарате должна быть маркировка со следующим текстом:
"Данный аппарат должен быть установлен в соответствии с действующими правилами и применяться только в хорошо вентилируемом помещении. Обращайтесь к инструкциям до того, как начать установку и эксплуатацию аппарата".
8.1.3 Маркировка упаковки
Упаковка должна содержать следующую информацию:
- тип газа в зависимости от давления и/или пары давлений, на которые настроен аппарат; указание давления должно быть обозначено в соответствии с индексом категории. Если требуется аппарат перевести с одного давления на другое в пределах пары давлений газа третьего семейства, то указывается только то давление, которое соответствует текущей настройке аппарата;
- сведения о стране поставки или странах, для которых предназначен аппарат;
- класс аппарата от коэффициента полезного действия, т.е. аппарат класса 1 или аппарат класса 2, по обстановке; |
- категорию или категории аппарата; если указывается несколько категорий, требуется указать каждую из них в зависимости от соответствующей страны поставки или стран, для которых предназначен аппарат.
На упаковке должна быть указана следующая информация:
"Данный аппарат должен быть установлен в соответствии с действующими правилами и применяться только в хорошо вентилируемом помещении. Обращайтесь к инструкциям прежде, чем начать установку и эксплуатацию аппарата".
На аппарате не должна указываться какая-либо иная информация, если это может привести к неясностям в отношении текущей настройки аппарата, соответствия аппарата категории (или категориям) и прямой страны (или стран) назначения.
8.1.4 Использование символов на аппарате и упаковке
8.1.4.1 Электроснабжение
Маркировка электрических величин должна соответствовать требованиям EN 60335-1:1994.
8.1.4.2 Тип газа
Для того, чтобы представить все индексы категорий, соответствующих настройкам аппарата, требуется использовать символ эталонного газа, общий для всех этих индексов в соответствии с
таблицей 11.
Примечание - Для удовлетворения потребностей стран - участниц CEN допускается, чтобы декларированные средства идентификации этих стран включались дополнительно к символу. Эти дополнительные средства даны в
приложении E.
Таблица 11
| Индекс соответствующей категории |
| |
G110 | 1a |
G120 | 1b |
G130 | 1c |
G150 | 1e |
Второе семейство: | |
G20 | 2H, 2E, 2E+, |
G25 | 2L, 2ELL |
Третье семейство: | |
G30 | |
G31 | |
<a> Если при состоянии текущей регулировки в аппарате могут применяться газы разных групп, то следует указывать эталонные газы, которые соответствуют этим группам, имеющим обозначение. <b> Относится только к аппаратам, которые не нуждаются в регулировке между G30 или G31, или к аппаратам, которые нуждаются в регулировке и которые настроены на G30. <c> Относится только к аппаратам, которым требуется регулировка между G30 и G31 и которые отрегулированы на G31. <d> Относится к аппаратам, которые требуют регулировку между G30 и G31, и чтобы технические инструкции были снабжены биркой с информацией относительно настроек на другой газ и другое давление пары давления. |
8.1.4.3 Давление подачи газа
Давление подачи газа может выражаться однозначно цифровым значением с использованием единицы измерения (мбар). Тем не менее, если требуется объяснение этой величине, следует использовать символ "p".
8.1.4.4 Страна назначения
В соответствии с EN ISO 3166-1:1997 наименования стран представлены следующими кодами: |
Австрия | AT | Греция | GR |
Бельгия | BE | Ирландия | IE |
Швейцария | CH | Исландия | IS |
Чешская республика | CZ | Италия | IT |
Германия | DE | Люксембург | LU |
Дания | DK | Нидерланды | NL |
Испания | ES | Норвегия | NO |
Финляндия | FI | Португалия | PT |
Франция | FR | Швеция | SE |
Великобритания | GB | | |
8.1.4.5 Категория
Категория может выражаться однозначно путем обозначений в соответствии с требованиями EN 437:1993. Тем не менее если есть необходимость объяснения, то термин "категория" должен выражаться символом "cat".
8.1.4.6 Другая информация
Обозначение номинальной тепловой мощности горелки, представляемой как Qn, не является обязательным, но рекомендуется как "предпочтительное", исключая другие символы во избежание многочисленных и разнообразных маркировок.
8.2 Инструкции
Инструкции должны быть написаны на официальном языке (языках) страны или стран назначения, указанных на аппарате, и должны быть действительны для этой страны или стран.
Если инструкции написаны на официальном языке, который используется в нескольких странах, то страна или страны, для которых они действительны, должны быть проставлены в виде кодов, указанных в
8.1.4.4.
Инструкции для других стран, которые не указаны на аппарате, могут поставляться вместе с аппаратом при условии, что комплект инструкций включает вступительную формулировку: "Эти инструкции имеют силу, только если на аппарате проставлен следующий код страны... Если этого кода нет на аппарате, необходимо обращаться к техническим инструкциям, предоставляющим необходимую информацию относительно изменений, внесенных в соответствии с условиями применения в стране".
8.2.2 Технические указания по установке и регулировке
8.2.2.1 Для всех аппаратов
Включать следующую формулировку:
"Перед установкой проверьте, чтобы все местные условия газораспределения (определение типа газа и давление), а также настройки аппарата были совместимыми".
Помимо информации, указанной в
8.1.1, технические инструкции могут включать информацию, указывающую, когда требуется, что аппарат сертифицирован для применения в странах, которые не указаны на аппарате
<1>. Если такая информация предоставляется, тогда инструкции должны включать предупреждение о важности модификации аппарата и способа его установки для безопасной и правильной его эксплуатации во всех этих дополнительных странах. Такое предупреждение должно быть повторено на официальном языке (языках) каждой из таких стран. В инструкции требуется указывать, как получить информацию, инструкции и запчасти, необходимые для безопасной и правильной эксплуатации в этих странах.
--------------------------------
<1> Страны косвенного назначения.
Технические указания по установке и регулировке, предназначенные для монтажника, должны предоставляться вместе с аппаратом и включать следующее:
- способ соединения и требования к монтажу в той стране, где будет устанавливаться аппарат (если такие правила существуют); также должны быть даны размеры дымохода и вентиляции для установки в тех странах, где нет соответствующих правил;
- способ крепления аппарата;
- расход газа в м3/ч в зависимости от используемого газа;
- для аппарата с регулятором давления установочное давление измеряется выше расположения горелки, но ниже регуляторов в зависимости от семейства или группы используемого газа;
- регулирование;
- заявление изготовителя о том, какую область (области) следует считать рабочими поверхностями;
- минимальные расстояния между аппаратом и стенами и/или полками по обстановке;
- все необходимые предосторожности, которые следует предпринимать во избежание нагрева пола, полки, стен, или иная другая формулировка для применения негорючих материалов для пола, полки или стены, находящихся вблизи аппарата.
Инструкции должны предоставлять следующее:
a) всю информацию, касающуюся эксплуатации и регулировок, которые следует произвести при переходе с одного газа на другой, а также маркировок инжекторов для каждого газа, который может применяться;
b) необходимые инструкции для проверки дымохода;
c) описание работы и параметров установки для конкретного аппарата, информацию, необходимую для пуска в эксплуатацию и технического обслуживания.
Инструкции для аппаратов, которые могут быть установлены только на газовых установках с регулируемым манометром, должны содержать следующее:
"Данный аппарат предназначен для использования на газовой установке с регулируемым манометром".
8.2.2.2 Для аппаратов типа B
1
Инструкции по системе контроля утечки должны содержать следующее:
a) предупреждение, что система не должна регулироваться монтажником;
b) предупреждение, что система контроля утечки не должна отключаться;
c) предупреждение, что при смене системы контроля утечки или любой из частей, должны использоваться только детали изготовителя.
8.2.2.3 Встроенные аппараты
Помимо требований, указанных в
8.2.2.1 и
8.2.2.2, инструкции должны включать:
a) минимальные размеры места, в которое встроен аппарат и характер материалов, из которых формируется данное место;
b) требования к вентиляции места;
c) рабочие и монтажные характеристики, конкретно для аппарата, включая, где нужно, минимальные зазоры вокруг аппарата;
d) подробная информация по сборке устройства вытяжки для аппарата типа B1, если аппарат им не снабжен;
e) подробная информация по сборке труб дымохода и терминала для аппарата типа C11.
8.2.3 Инструкция по эксплуатации и техническому обслуживанию
Инструкции по эксплуатации и техническому обслуживанию поставляются вместе с аппаратом.
Эти инструкции, предназначенные для пользователя, предоставляют всю необходимую информацию о безопасной и правильной эксплуатации и техническому обслуживанию аппарата, выраженную четкими и простыми словами. Они размещаются отдельно и их легко отличить от инструкций по установке. Там, где это возможно, текст дополняется схемами и/или фотографиями.
Инструкции по эксплуатации и техническому обслуживанию должны подчеркивать, что для установки аппарата, а там, где это требуется, - для его переустановки для работы с другими газами, требуется квалифицированный персонал.
Инструкции по эксплуатации и техническому обслуживанию должны указывать рекомендованную частоту периодического обслуживания и особое внимание уделять необходимости периодической чистки дымоходов для аппаратов типа B1 в соответствии с правилами, принятыми в стране, где этот аппарат установлен.
Инструкции по эксплуатации и техническому обслуживанию должны включать:
- наименование изготовителя или распространителя и его адрес;
- тип и номер (коммерческие обозначения);
- осуществление розжига, чистки и обслуживания аппарата;
- указанную изготовителем площадь, считающуюся рабочей поверхностью;
- рекомендации по каким-либо дополнительным ограждениям, которые могут понадобиться с учетом особой опасности, которая может существовать в детских учреждениях или других местах, где имеются маленькие дети или престарелые и немощные люди;
- предупреждение о том, что нельзя вешать занавески над аппаратом и на расстоянии менее допустимого, оговоренного для полок, - в соответствии с
6.4.3;
- минимальное расстояние между аппаратом и полкой, если оно требуется;
- по необходимости указание о том, что ручки управления газом требуют ручной переустановки после прерывания и последующего возобновления подачи электроэнергии;
- инструкции по розжигу, в которых четко объясняется, что если устройство контроля пламени погаснет намеренно или непреднамеренно, то никаких попыток снова разжечь газ не следует предпринимать в течение 3 мин;
- четкие инструкции там, где это необходимо, по правильной замене компонентов искусственного твердого топлива или любой части топливного слоя, изготовленного пользователем, а также предупреждение, запрещающее смену топливного слоя или количества материалов, в нем содержащихся;
- предупреждение о том, где это требуется, что пользователь не должен пользоваться аппаратом, если разбита, смещена или открыта стеклянная передняя дверца или панель;
- информацию, где это требуется, относительно безопасной эксплуатации снимаемых ручек или другого специального инструмента, поставляемого изготовителем;
- формулировку того, что всякая специальная съемная оснастка должна убираться после использования.
Для аппаратов типа B1 инструкции по эксплуатации и техническому обслуживанию должны:
- указывать, что система контроля утечки срабатывает, если прерывается отвод продуктов сгорания;
- описывать правила возобновления работы;
- указывать на то, что требуется уведомить специалиста о прерывающейся работе устройства контроля за утечкой.
8.2.4 Дополнительная информация
Изготовитель указывает уровень содержания NO
x для аппарата (см.
6.7.2).
Если аппарат предназначен для использования на нескольких видах газа и уровень NOx меняется при переходе от одного газа на другой, то изготовитель должен указать самый низкий уровень (т.е. уровень, который дает самый высокий предел NOx).
(справочное)
Во всех странах, в которых применяется данный стандарт, аппараты могут маркироваться только, если они соответствуют определенным национальным условиям поставки этой страны.
| | ИС МЕГАНОРМ: примечание. В официальном тексте документа, видимо, допущена опечатка: Таблица A.1 отсутствует. Возможно, имеются в виду таблицы A.1.1 и A.1.2. | |
Для того, чтобы помочь сделать правильный выбор во всех ситуациях и в то же самое время относительно испытания аппаратов и времени их продажи, разные национальные ситуации рассматриваются в
таблицах A.1,
A.2,
A.3,
A.4,
A.5 и
A.6.
A.1 Категории, перечисленные в тексте стандарта, предназначенные для рынка сбыта в разных странах
В
таблицах A.1.1 и
A.1.2 представлены национальные ситуации, касающиеся продажи в разных странах категорий аппаратов, перечисленных в тексте стандарта.
Таблица A.1.1
Поступление на рынок аппаратов первой категории
Страна | I2H | I2L | I2E | I2E+ | I3B/P | I3+ | I3P |
AT | X | | | | X | | |
BE | | | | X | | X | X |
CH | X | | | | X | X | X |
DE | | | X | | X | | X |
DK | X | | | | X | | |
ES | X | | | | | X | X |
FI | X | | | | X | | |
FR | | | | X | | X | X |
GB | X | | | | | X | X |
GR | X | | | | X | X | X |
IE | X | | | | | X | X |
IS | | | | | | | |
IT | X | | | | | X | X |
LU | | | X | | | | |
NL | | X | | | X | | X |
NO | | | | | X | | |
PT | X | | | | | X | X |
SE | X | | | | X | | |
Таблица A.1.2
Продажа аппаратов второй категории
Страна | II1a2H | II2H3B/P | II2H3+ | II2H3P | II2L3B/P | II2L3P | II2E3B/P | II2E+3+ | II2E+3P |
AT | | X | | | | | | | |
BE | | | | | | | | X | |
CH | X | X | X | X | | | | | |
DE | | | | | | | X | | |
DK | X | X | | | | | | | |
ES | X | | X | X | | | | | |
FI | | X | | | | | | | |
FR | | | | | | | | X | X |
GB | | | X | X | | | | | |
GR | | X | X | X | | | | | |
IE | | | X | X | | | | | |
IS | | | | | | | | | |
IT | X | | X | | | | | | |
LU | | | | | | | | | |
NL | | | | | X | X | | | |
NO | | | | | | | | | |
PT | | | X | X | | | | | |
SE | X | X | | | | | | | |
Информация, предоставленная в таблице, указывает только на то, что эти категории могут продаваться по всей стране, а в отношении
A.3 следует консультироваться для подтверждения.
Во всех сомнительных случаях требуется консультироваться с поставщиком местного газа для точного определения применимой категории.
A.2 Давления газа, подаваемые в аппарат
В
таблице 1 даны условия по разным странам в отношении давлений подачи газа в аппараты по категориям, которые даны в
A.1.
Таблица A.2
Нормальные давления подачи
Газ | G110 | G20 | G25 | G20 + G25 | G30 | G31 | G30 + G31 |
Давление (мбар) | 8 | 20 | 20 | 25 | Пара давлений 20/25 | 30 28 - 30 | 50 | 30 | 37 | 50 | Пара давлений 28 - 30/37 | Пара давлений 50/67 |
Страна | | | | | | | | | | | | |
AT | | X | | | | | X | | | X | | |
BE | | | | | X | | | | | | X | X |
CH | X | X | | | | | | | X | | X | |
DE | | X | X | | | | X | | | X | | |
DK | X | X | | | | X | | X | | | | |
ES | X | X | | | | X | | | X | | X | |
FI | | X | | | | X | | X | | | | |
FR | | | | | X | X | | | X | | X | |
GB | | X | | | | X | | | X | | X | |
GR | | X | | | | X | | X | X | X | | |
IE | | X | | | | X | | | X | | X | |
IS | | | | | | | | | | | | |
IT | X | X | | | | | | | X | | X | |
LU | | X | | | | | | | | | | |
NL | | | | X | | X | | X | | X | | |
NO | | | | | | X | | X | | | | |
PT | | X | | | | X | | | X | | X | X |
SE | X | X | | | | X | | X | | | | |
A.3 Национальные или местные поставки особых категорий
A.3.1 Национальные или местные условия газоснабжения (состав газа и давления подачи) приводят к выделению особых категорий аппаратов, продаваемых в странах или локально в некоторых странах по
таблице A.3.
Таблица A.3
Национальные или местные поставки категорий
Категория | Эталонный газ | Предельный газ неполного сгорания | Предельный газ на проскок | Предельный газ на отрыв пламени | Предельный газ на сажеобразование | Страна |
I2ELL | G20, G25 | G21 | G222 | G231, G271 | G21 | DE |
II1c2E+ | G20, G130 | G21 | G132, G222 | G231 | G21 | FR |
II2ELL3B/P | G20, G25, G30 | G21, G30 | G222, G32 | G231, G271 | G30 | DE |
III1a2H3B/P | G110, G20, G30 | G21 | G112, G222, G32 | G23, G31 | G30 | DK |
III1c2E+3+ | G130, G20, G30 | G21 | G132, G222, G32 | G231, G31 | G30 | FR |
III1c2E+3P | G130, G20, G31 | G21 | G132, G222, G32 | G231, G31 | G32 | FR |
III1ab2H3B/P | G110, G120, G20, G30 | G21 | G112, G222, G32 | G23, G31 | G30 | SE |
III1ce2H3+ | G130, G150, G20, G30 | G21 | G132, G152, G222, G32 | G23, G31 | G30 | ES |
III1ace2H3+ | G110, G130, G150, G20, G30 | G21 | G112, G222, G32 | G23, G31 | G30 | ES |
A.3.2 Определения категорий в
таблице A.3 получены так же, как и те категории, что перечислены в
4.1.2. Характеристики газов локального газоснабжения представлены в
таблице A.4.
A.3.2.1 Категория 1
A.3.2.1.1 Аппараты, предназначенные для использования газов, относящихся к первому семейству
Категория I1b: Аппараты, в которых используются только газы группы b, первого семейства при постоянном давлении подачи газа (эта категория не используется).
Категория I1c: Аппараты, в которых используются только газы группы c, первого семейства при постоянном давлении подачи газа (эта категория не используется).
Категория I1e: Аппараты, в которых используются только газы группы e, первого семейства (эта категория не используется).
Регулирование расхода газа необязательно при переходе от газа одной группы к газу другой группы внутри первого семейства и на газы, относящиеся к нему.
A.3.2.1.2 Аппараты, предназначенные для газов второго семейства и газов, связанных с ним
Категория I2LL: Аппараты, в которых используются только газы группы LL второго семейства при постоянном давлении подачи газа. При условии, что наивысшее число Воббе газа второго семейства не превышает верхнего предела в 43,7 МДж/м3, аппарат может регулироваться в соответствии с более низкой номинальной величиной. (Эта категория не используется.)
Категория I2ELL: Аппараты, в которых могут использоваться газы группы E второго семейства и газы группы LL, связанные со вторым семейством. Газы группы E второго семейства используются при тех же условиях, что и для категории I2E. Газы группы LL второго семейства применяются при тех же условиях, что и газы для категории I2LL.
A.3.2.2 Категория II
A.3.2.2.1 Аппараты, предназначенные для использования газов первого семейства или тех газов, что относятся к нему, а также газов второго семейства или тех, что относятся к нему.
Категория II1c2E+: Аппараты, способные использовать газы группы c, относящиеся к первому семейству, и газы группы E второго семейства. Газы, связанные с первым семейством, используются в тех же условиях, что и для категории I1c. Газы второго семейства используются в тех же условиях, что и газы для категории I2E+.
A.3.2.2.2 Аппараты, предназначенные для газов второго семейства или газов, относящихся к нему, а также газов третьего семейства.
Категория II2ELL3B/P: Аппараты, способные использовать газы группы E второго семейства, газы группы LL, относящиеся ко второму семейству и газы третьего семейства. Второе семейство газов или газы, которые связаны с ним, используются в тех же условиях, что и газы для категории I2ELL. Газы третьего семейства используются в тех же условиях, что газы для категории I3B/P.
A.3.2.3 Категория III
Категория III1a2H3B/P: Аппараты, способные использовать газы группы a первого семейства, газы группы H второго семейства и газы третьего семейства. Первое семейство газов используется в тех же условиях, что и газы для категории I1a. Газы второго семейства используются в тех же условиях, что газы для категории I2H. Газы третьего семейства используются в тех же условиях, что и газы для категории I3B/P.
Категория III1c2E+3+: Аппараты, способные использовать газы группы c первого семейства, газы группы E второго семейства и газы третьего семейства. Газы, связанные с первым семейством, используются в тех же условиях, что и газы для категории I1c. Газы второго семейства используются в тех же условиях, что газы для категории I2E+. Газы третьего семейства используются в тех же условиях, что и для категории I3+.
Категория III1c2E+3P: Аппараты, способные использовать газы группы c, относящиеся к первому семейству, газы группы E второго семейства и газы группы P третьего семейства. Газы, относящиеся к первому семейству, используются в тех же условиях, что и газы для категории I1c. Газы второго семейства используются в тех же условиях, что и газы для категории I2E+. Газы третьего семейства используются в тех же условиях, что газы для категории I3P.
Категория III1ab2H3B/P: Аппараты, способные использовать газы группы a первого семейства, газы группы b, связанные с первым семейством, газы группы H второго семейства и газы третьего семейства. Первое семейство газов или газы, связанные с ним, используются в тех же условиях, что и газы для категории I1a и I1b. Газы второго семейства используются в тех же условиях, что газы для категории I2H. Газы третьего семейства используются в тех же условиях, что и для категории I3B/P.
Категория III1ce2H3+: Аппараты, способные использовать газы группы c и e первого семейства, газы группы H второго семейства и газы третьего семейства. Газы, связанные с первым семейством, используются в тех же условиях, что и газы для категории I1c и I1e. Газы второго семейства используются в тех же условиях, что газы для категории I2H. Газы третьего семейства используются в тех же условиях, что и для категории I3+.
Категория III1ace2H3+: Аппараты, способные использовать газы группы a первого семейства, газы группы c и e, относящиеся к первому семейству, газы группы H второго семейства и газы третьего семейства. Газы первого семейства и газы, относящиеся к нему, используются в тех же условиях, что и газы для категории I1a, I1c и I1e. Газы второго семейства используются в тех же условиях, что газы для категории I2H. Газы третьего семейства используются в тех же условиях, что и для категории I3+.
A.3.3 Регулирование расхода газа, регулирование аэрации и регуляторы
Данный раздел включен, чтобы дать некоторым государствам-членам возможность предоставлять информацию, аналогичную той, что дана в
5.2.2 и
5.2.6 в отношении особых категорий, которые им требуются, более подробно см. в
A.3.1.
A.3.4 Переход на другие газы
Данный раздел включен, чтобы дать некоторым государствам-членам возможность предоставлять информацию, аналогичную той, что дана в
5.1.1 в отношении особых категорий, которые им требуются; более подробно см. в
A.3.1.
A.4 Испытательные газы, соответствующие особым категориям, указанным в A.3
Характеристики газов, распределяемых по стране или локально, и соответствующие испытательные газы даны в
таблице A.4 при 15 °C и 1013,25 мбар.
Таблица A.4
Испытательные газы, соответствующие местным условиям
Семейство и группа газа | Вид газа | Обозначение | Объемный состав, % | Wi, МДж/м3 | Hi, МДж/м3 | Ws, МДж/м3 | Hs, МДж/м3 | d | Испытательное давление, мбар | Страна |
Газы, относящиеся к первому семейству Группа b | Эталонный Неполное сгорание, сажеобразование | G120 | H2 = 47 CH4 = 32 N2 = 21 | 24,40 | 15,68 | 27,64 | 17,77 | 0,413 | pn = 8 pmin = 6 pmax = 15 | SE |
Проскок | G112 | H2 = 59 CH4 = 17 N2 = 24 | 19,48 | 11,81 | 22,36 | 13,56 | 0,367 |
Газы, относящиеся к первому семейству Группа c | Эталонный (Пропан-воздух) | G130 | C3H8 = 26,9 | 22,14 | 23,66 | 24,07 | 25,72 | 1,142 | pn = 8 pmin = 6 pmax = 15 | FR ES |
Проскок | G132 | C3H8 = 13,8 C3H6 = 13,8 | 22,10 | 23,56 | 23,84 | 25,41 | 1,36 |
Газ, относящийся к первому семейству Группа e | Эталонный (Метан-воздух) | G150 | CH4 = 53 | 20,65 | 18,03 | 22,93 | 20,02 | 0,762 | pn = 8 pmin = 6 pmax = 15 | ES |
Проскок | G152 | CH4 = 40 C3H8 = 6 | 20,09 | 18,49 | 22,09 | 22,33 | 0,847 |
Газы, относящиеся ко второму семейству Группа LL | Эталонный | | CH4 = 86 N2 = 14 | 37,38 | 29,25 | 41,52 | 32,49 | 0,612 | pn = 20 pmin = 18 pmax = 25 | DE |
Неполное сгорание, сажеобразование | G26 | CH4 = 80 C3H8 = 7 N2 = 13 | 40,52 | 33,36 | 44,83 | 36,91 | 0,678 |
Отрыв пламени | G271 | CH4 = 74 N2 = 26 | 30,94 | 25,17 | 34,36 | 27,96 | 0,662 |
<1> Состав воздуха (%): O 2 = 20,95; N 2 = 79,05. <2> Для характеристик эталонных газов G20 и G25 см. таблицу 6. |
Смеси газов группы a с группами c или e, где число Воббе находится между 21,1 МДж/м3 и 24,8 МДж/м3 также относятся к группе a первого семейства.
Эти смеси могут быть использованы без дополнительных испытаний только в аппаратах нескольких категорий, включая группу a первого семейства.
A.5 Типы соединений, применяемые в разных странах
В
таблице A.5 перечислены ситуации, связанные с разными типами соединений, как указано в
5.1.4.
Таблица A.5
Типы соединений, применяемые в разных странах
Страна | Категории 13B/P, 13+, 13P | Другие категории |
Без резьбы | С резьбой | Другие соединения | С резьбой | Другие соединения |
ISO 7-1 | ISO 228-1 | ISO 7-1 | ISO 228-1 |
AT | да | | да | нет | | да | нет |
BE | да | да | да | да | | нет | нет |
CH | нет | да | да | да | да | да | нет |
DE | да | | нет | нет | | нет | нет |
DK | да | да | нет | нет | да | нет | нет |
ES | нет | | да | да | | да | да |
FI | нет | да | да | да | да | да | нет |
FR | нет | нет | да | да | нет | да | да |
GB | да | | нет | нет | | нет | нет |
GR | да | | нет | нет | | нет | нет |
IE | да | | нет | нет | | нет | нет |
IS | | | | | | | |
IT | да | да | нет | да | | нет | да |
LU | | | | | | | |
NL | нет | | нет | да | | нет | нет |
NO | да | да | | нет | | | нет |
PT | да | да | да | | да | да | нет |
SE | нет | да | да | да | да | да | нет |
<1> Конусность - конусная резьба. <2> Конусность - параллельная резьба. |
A.6 Соединения дымохода (см. 5.1.7)
| | ИС МЕГАНОРМ: примечание. В официальном тексте документа, видимо, допущена опечатка: таблица 6 отсутствует, Возможно, имеется в виду таблица A.6. | |
В
таблице 6 даны диаметры дымоходов по разным странам.
Таблица A.6
Целесообразные соединения дымоходов
Страна | Диаметры коммерческих газоходов (наружные), мм |
AT | 60-70-80-90-100-110-120-130-140-150-160-180-200 |
BE | Все диаметры приемлемы |
CH | 60-70-80-90-100-110-120-130-140-150-160-180 |
DE (Международный) | 60-70-80-90-110-120-130-150-160-200 |
DK | Диаметры не стандартизированы |
ES | |
FI | 90-100-110-130-150-180-200 |
FR | 66-83-97-111-125-139-153-167-180 |
GB | 76-102-127-153 металлические трубы (все с допуском минус 1) |
84-109-137-162 асбестоцементные трубы (все с допуском +/- 3) |
GR (Международный) | 60-70-80-90-110-120-130-150-160-200 |
IE | Как для GB |
IS | |
IT | 60-80-100-110-120-150 |
LU | |
NL | 60-70-80-90-100-110-130-150-180-200 |
NO | Диаметры не стандартизированы |
PT | 60-85-90-95-105-110-115-120-125-130-135-145-150-155-205-255-305-355 |
SE | |
(справочное)
ПРАВИЛА СООТВЕТСТВИЯ
B.1 Преобразование категорий в диапазоне числа Воббе
Все аппараты, относящиеся к одной категории, могут быть отнесены к другой категории, включающей более ограниченный диапазон числа Воббе при условии, что требования
5.1.1,
5.2.2 и
5.2.6 удовлетворены в том, что их состояние преобразования соответствует перемене страны (стран) назначения и что информация на аппарате соответствует этим изменениям.
В принципе такой эквивалент признается без проведения новых испытаний на аппарате.
Однако могут потребоваться следующие дополнительные испытания с использованием тех давлений и испытательных газов, которые в настоящее время действуют на территории выбранной страны (или странах):
a) если давления подачи газа отличаются в стране (или странах), для которых аппарат был испытан, от давления в предназначенной стране назначения, или
b) если аппарат снабжен регуляторами
<1>, даже будучи опломбированными, и был испытан как аппарат исходной категории на испытательных газах, которые отличаются от газов той страны, где он будет продан, или
c) если требования к регуляторам (см.
5.2.6) в отношении имеющейся категории отличаются от требований к новой категории.
Во всех случаях эти дополнительные испытания полностью сформулированы в
7.1.3.1.
Примеры:
Аппарат категории I2E для G20 при 20 мбар может быть отнесен к другой категории, как аппарат категории I2H для G20 при 20 мбар без дополнительных испытаний.
Если же давления разные, то испытания, указанные в
7.1.3.1, должны проводиться после смены инжекторов, если требуется.
Аппарат категории I
2E+ для G20 при 20 мбар может быть отнесен к другой категории, как аппарат категории I
2H для G20 при 20 мбар при условии, что он удовлетворяет результатам соответствующих испытаний, указанных в
7.1.3.1 после смены инжекторов, если требуется, и после настройки регулятора в соответствии с
5.2.6.
B.2 Преобразование категорий в диапазоне числа Воббе
Все аппараты, относящиеся к первой категории, могут быть отнесены к другой категории, включающей более ограниченный диапазон числа Воббе при условии, что требования
5.1.1,
5.2.2 и
5.2.6 удовлетворены в том, что их состояние преобразования соответствует перемене страны (или стран) назначения и что информация на аппарате соответствует этим изменениям.
В принципе это число признается без проведения новых испытаний на аппарате. Однако могут потребоваться дополнительные испытания с применением давлений и испытательных газов, которые в настоящее время действительны на территории выбранной страны (или стран) назначения:
a) если давления подачи газа отличаются в стране (или странах), для которых аппарат был испытан, от давления в предназначенной стране назначения; или
b) если аппарат снабжен регуляторами
<1>, даже будучи опломбированными, был испытан в условиях первоначальной категории на испытательных газах, которые отличаются от газа той страны, где он будет продан; или
c) если требования к регуляторам (см.
5.2.6), относительно имеющейся категории отличаются от новой категории.
--------------------------------
<1> В тексте приложения B слово "регулятор" относится к регуляторам расхода газа и к регуляторам постоянной первичной подачи воздуха, по обстановке.
Во всех случаях эти дополнительные испытания сформулированы в
7.1.3.1.
Примеры:
1) Аппарат категории I
2E+ может быть отнесен к другой категории, как аппарат категории I
2Esi или I
2Er при условии, что это удовлетворяет испытаниям, указанным в
7.1.3.1, по испытательным давлениям и испытательным газам, относящимся к категории I
2Esi или I
2Er с соответствующими инжекторами и регулировками. Эти регулировки должны принимать во внимание требования
5.2.6.
2) Аппарат категории I
2Esi или I
2Er может быть отнесен к категории I
2E+ при условии, что он удовлетворяет требованиям испытания, указанного в
7.1.3.1, по испытательным давлениям, соответствующим категории I
2E+ <2>. Кроме того, все регуляторы должны быть заблокированы и опломбированы в соответствии с
5.2.6.
--------------------------------
<2> Если предназначенная страна поставки Бельгия, то следует принимать во внимание особые условия, приведенные в
приложении K.
B.3 Преобразование категорий в более широком диапазоне числа Воббе
Все аппараты, относящиеся к первой категории, могут быть отнесены к другой категории, включающей более широкий диапазон числа Воббе, если он соответствует всем конструктивным требованиям предложенной новой категории.
Кроме того, аппарат должен пройти испытания, указанные в
7.1.3.1, с применением испытательных газов и испытательных давлений для предложенной новой категории. Там, где требуется, нужно принимать во внимание Специальные Национальные Категории, приведенные в
приложении K.
(обязательное)
C.1 Метод проверки утечки с пластиной
C.1.1 Аппаратура
Применяются следующие две формы аппаратуры:
a) водоохлаждаемая, покрытая хромом или родием, пластина прямоугольного сечения (см.
рисунок C.1). Общая длина пластины зависит от конструкции аппарата или
b) водоохлаждаемая, покрытая хромом или родием, трубка круглого сечения или другого соответствующего сечения с диаметром около 12 мм.
1 - латунная матовая никелевая пластина; 2 - твердый припой;
3 - выходное отверстие для воды; 4 - твердая
латунно-родиевая пластина толщиной 1 мм; 5 - эта поверхность
должна быть хорошо отполированной и гладкой; 6 - входное
отверстие для воды; 7 - латунь
Рисунок C.1 - Индикатор утечки
Обязательной характеристикой индикатора является то, что он не должен воздействовать на аппарат и не быть причиной утечки после установки его на место; поэтому он должен иметь такую форму, которая соответствовала бы рассматриваемой. Его нельзя помещать так, чтобы он увеличивал испытываемую поверхность.
Индикатор полируется, но не веществами, которые содержат вещества против запотевания, а его поверхность очищается от жира химическими веществами.
C.1.2 Метод
Расположите индикатор так, чтобы он определял любую утечку с испытательной поверхности, и закрепите его в этом положении.
Позвольте воде стекать с постоянного устройства через индикатор определения утечки со скоростью приблизительно 90 л/ч и отрегулировать входную температуру воды до (11 +/- 0,5) °C выше точки росы окружающего воздуха. Включите аппарат в условиях, указанных в
7.2.2.1. После 15 мин эксплуатации аппарата, начиная с холодного состояния, проверьте поверхность индикатора на образование конденсата. Конденсация на индикаторе указывает на утечку продуктов сгорания. Не следует учитывать короткие выбросы конденсата, при условии, что между выбросами не более 5 с.
Конденсат лучше всего виден при подсвете яркой лампой индикатора с нижней стороны, поэтому наблюдения следует проводить по длине индикатора. Удобно расположите черную поверхность так, чтобы она отражалась в отполированной поверхности индикатора.
C.2 Метод проверки с вытяжным шкафом
C.2.1 Установка
Аппарат устанавливается в соответствии с
7.1.5.3.
Облицовку (кирпичи), радиаторы и имитацию дымохода следует расположить в пределах их смещения, не нарушая местоположения горелки и друг относительно друга.
Особое внимание следует уделить примечаниям изготовителя относительно расположения отражателей. Ясно, что всякое расположение, не соответствующее инструкциям изготовителя по сборке основания дымохода, не должно использоваться в испытательных целях.
Испытание проводится после работы аппарата в течение 1 ч при номинальной тепловой мощности с применением эталонного газа или иного газа соответствующего качества, при этом термостаты остаются полностью открытыми.
Метод измерения количества утечки включает сбор в вытяжном шкафу над аппаратом конвектируемого воздуха выходящего из отверстий аппарата, при этом воздух выходит с продуктами сгорания. На
рисунке C.2 a) даны детали вытяжного шкафа, который подходит для большинства аппаратов. Там, где подобный шкаф не подходит, используется особый вытяжной шкаф для этих целей.
1 - отбор пробы (

медной трубки);
2 - проба CO
2
при нагнетании; 3 - ограничитель потока
Рисунок C.2 - Накопительный вытяжной шкаф
1 - трубка для отбора проб лабораторного воздуха
Рисунок C.2, лист 2
Устройство вытяжного шкафа для испытательных целей показано на
рисунке C.2 b). Задняя панель может меняться так, чтобы подходить к каминному отверстию, и должна герметично крепиться к лицевой части испытательного шкафа. Передний нижний край вытяжного шкафа располагается выше возможного источника утечки так, чтобы:
a) вытяжной шкаф располагался как можно ниже, не оказывая при этом воздействия на испытываемый аппарат;
b) не было потери продуктов сгорания из нижней части вытяжного шкафа.
Нужны приборы, способные измерять концентрацию CO2 с точностью 0,002%.
C.2.2 Предварительная регулировка
Преимуществом данного метода испытания является сведение к минимуму потока, проходящего через накопительный вытяжной шкаф, тем самым снижая фракцию пробы CO
2. Это осуществляется регулированием заслонки вытяжного шкафа. Особую осторожность следует предпринять, чтобы вытяжной шкаф не давал утечки. Это проверяется отбором проб по переднему краю вытяжного шкафа и сравнением концентрации CO
2 с его содержанием в окружающем воздухе в той же плоскости, в которой находится и горизонтальный край вытяжного шкафа [см.
рисунок C.2 a)]. После завершения регулировки заслонки вытяжного шкафа выдерживается период 30 мин для стабилизации вытяжного шкафа в его новом положении перед тем, как начать испытание.
Отобрать образцы лабораторного воздуха, подаваемого в аппарат, из:
a) вытяжного шкафа без нагнетания CO2;
b) вытяжного шкафа с нагнетанием CO2;
c) лаборатории.
Во время проведения испытания обеспечить, чтобы концентрация CO2 лабораторного воздуха, подаваемого в аппарат, не превышала 0,1% и не менялась более, чем на +/- 0,02% во время одного испытания.
Примечания
1 Для большинства аппаратов оптимальным является расход нагнетания CO2 в 0,02 м3/ч и 0,04 м3/ч.
2 Было установлено, что лабораторный воздух может довольно быстро изменяться, и поэтому рекомендуется быстро реагирующий анализатор или, как альтернатива, одновременный отбор проб в емкости.
Расчеты результатов

(C.1)
где V - утечка сухих неразбавленных продуктов сгорания, в кубических метрах в час (м3/ч) на киловатт (кВт) тепловой мощности;
a1 - концентрация CO2 в лабораторном воздухе, когда CO2 не нагнетается, в процентах (%);
a2 - концентрация CO2 в лабораторном воздухе при нагнетании CO2, в процентах (%);
b - концентрация CO2 в вытяжном шкафу, когда CO2 не нагнетается, в процентах (%);
c - концентрация CO2 в вытяжном шкафу, когда CO2 нагнетается, в процентах (%);
r - скорость нагнетания, в кубических метрах в час (м3/ч);
Q - тепловая мощность аппарата, в киловаттах (кВт);

- процентная концентрация CO
2, рассчитанная по сухим продуктам сгорания, без воздуха, использованного газа (нейтральное горение).
Величины

(нейтральное горение) для испытательных газов даны в
таблице 10.
Для расчета двух величин скорости утечки берется две пары результатов. Проверьте, чтобы две величины находились в пределах +/- 0,004 м3/ч на кВт тепловой мощности.
(справочное)
РАСПОЛОЖЕНИЯ ГАЗОВЫХ КЛАПАНОВ
Условные обозначения:
BA - запальная горелка;
BP - основная горелка.
a) Аппараты с постоянной запальной горелкой
b) Аппараты с автоматическим розжигом
1) Прямой розжиг основной горелки
2) Аппараты с запальной горелкой прерывистого действия
a)
b)
(справочное)
ИДЕНТИФИКАЦИЯ ТИПА ГАЗА, ПРИМЕНЯЕМАЯ В РАЗНЫХ СТРАНАХ
Таблица E.1
Идентификация типа газа, применяемая в разных странах
Код страны | Тип газа |
G110 | G120 | G130 | G150 | G20 | G25 | G30 | G31 |
AT | | | | | Erdgas | | |
BE | | | | | Aardgas, Gaz naturel | Aardgas, Gaz naturel | Butaan, Butane | Propaan, Propane |
CH | | | Propan-Luft Butan-Luft | | Erdgas H | | Butan | Propan |
CZ | | | | | | | | |
DE | | | Gruppe b | | Erdgas E Ws.n = 15,0 kWh/m3 | Erdgas LL Ws.n = 12,4 kWh/m3 | B | P |
DK | Bygas | | | | Naturgas | | F-Gas | F-Gas |
ES | Gas manufacturado | | Aire propando | Aire metando | Gas natural | | Butano | Propano |
FI | | | | | Maakaasu Naturgas | | Butaani Butan | Propaani Propan |
FR <a> | | | Air propane/Air  | | Gas naturel Lacq | Gas naturel Groningue | Butane | Propane |
GB | | | | | Natural Gas | | Butane | Propane |
GR | | | | | | | | |
IE | | | | | Natural Gas | | Butane | Propane |
IS | | | | | | | | |
IT | Gas di Citta | | | | Gas naturale/Gas metano | | GPL |
LU | | | | | | | | |
NL | | | | | | Aardgas | Butaan | Propaan |
NO | | | | | | | Butan | Propan |
PT | | | | | Gaz Natural | | Butano | Propano |
SE | | | | | | | | |
(обязательное)
АППАРАТУРА ДЛЯ ОПРЕДЕЛЕНИЯ САЖЕВОГО ЧИСЛА
Насос (ручной), посредством которого может всасываться (160 +/- 8) см3 в один прием сквозь эффективную фильтрующую поверхность диаметром 6 мм [т.е. приблизительно (570 +/- 27,5) см3 на см2 эффективной фильтрующей поверхности]; ход поршня при этом должен быть примерно 200 мм.
Фиксирующее устройство для натяжения бумаги, которое устанавливается в определенном положении до того, как будет вставлена бумага, должно обеспечить удовлетворительную воздухонепроницаемость для операции повторного нагрева, предназначенного для того, чтобы убрать конденсат.
Расстояние, проходимое газами от точки отбора проб до фильтрующей поверхности, не превышает 40 см, за исключением дымоходов для особых условий.
G.2 Трубка для отбора проб
Трубка с наружным диаметром 6 мм предназначена для использования вместе с насосом, описанным в
G.1.
G.3 Фильтровальная бумага
Применяется фильтровальная бумага с отражательной способностью (85 +/- 2,5)%, установленной фотометрически. Для проведения данного измерения бумагу помещают на белую поверхность с отражательной способностью, равной 75% или более.
Прохождение чистого воздуха через новую фильтровальную бумагу при скорости потока в 3 дм3/мин на см2 эффективной фильтровальной поверхности должно давать падение давления между 20 мбар до 100 мбар.
G.4 Серая шкала
Серая шкала состоит из десяти пронумерованных степеней от 0 до 9, выполненных в масштабе в равных интервалах от белого до темно-серого. Эти степени содержат напечатанные или выполненные другими средствами образцы на основе, выполненной из бумаги или пластмассы с отражательной способностью (85 +/- 2,5)%, определенной фотометрическим способом.
Идентификационный номер каждой степени равен одной десятой степени сокращения. Это выражается процентами отраженного света на соответствующем образце. Число 0 соответствует основе на бумаге, а число 6, например, - уменьшенной степени в 60%.
Допуск отклонений отражательной способности для каждой точки шкалы не должен превышать 3% его величины.
Если шкала защищена прозрачным пластмассовым покрытием, то его следует выполнить таким образом, чтобы испытательное пятно и стандартные степени могли наблюдаться через защитный материал одной толщины. Деления диапазона шкалы имеют диаметр около 20 мм, а центральное круглое окошко - 6 мм в диаметре.
(справочное)
СИМВОЛЫ И СОКРАЩЕНИЯ
Теплотворная способность - Низшая | Hi | МДж/м3 или |
Теплотворная способность - Высшая | Hs | МДж/кг |
Тепловая мощность | Q | кВт |
Номинальная тепловая мощность | Qn | кВт |
Относительная плотность - Сухой испытательный газ | d | |
Относительная плотность - Сухой эталонный газ | dr | |
Относительная плотность - Влажный воздух | dh | |
Число Воббе - Низшее | Wi | МДж/м3 или |
Число Воббе - Высшее | Ws | МДж/кг |
Давление - Нормальное | pn | мбар |
Давление - Максимальное | pmax | мбар |
Давление - Минимальное | pmin | мбар |
Давление - Атмосферное | pa | мбар |
Давление - Насыщенного пара | pw | мбар |
Массовый расход потока | M | кг/ч |
Объемный расход потока | V | м3/ч |
Объемный расход потока - Нормальные условия | V0 | |
Концентрация оксида углерода | VCO,N | % по объему |
Измеренный оксид углерода | VCO,M | % по объему |
Концентрация диоксида углерода | | % по объему |
Измеренный диоксид углерода | | % по объему |
(обязательное)
РАСЧЕТ ПРЕОБРАЗОВАНИЙ NOx
Таблица J.1
Преобразование величины выделения NOx
у газов первого семейства
1 ppm = 2,054 мг/м3 (1 ppm = 1 см3/м3) | G110 |
(мг/кВт·ч) | (мг/МДж) |
O2 = 0% | 1 ppm = | 1,714 | 0,476 |
1 мг/м3 = | 0,834 | 0,232 |
O2 = 3% | 1 ppm = | 2,000 | 0,556 |
1 мг/м3 = | 0,974 | 0,270 |
Таблица J.2
Преобразование величины выделения NOx
у газов второго семейства
1 ppm = 2,054 мг/м3 (1 ppm = 1 см3/м3) | G20 | G25 |
(мг/кВт·ч) | (мг/МДж) | (мг/кВт·ч) | (мг/МДж) |
O2 = 0% | 1 ppm = | 1,764 | 0,490 | 1,797 | 0,499 |
1 мг/м3 = | 0,859 | 0,239 | 0,875 | 0,243 |
O2 = 3% | 1 ppm = | 2,059 | 0,572 | 2,098 | 0,583 |
1 мг/м3 = | 1,002 | 0,278 | 1,021 | 0,284 |
Таблица J.3
Преобразование величины выделения NOx
у газов третьего семейства
1 ppm = 2,054 мг/м3 (1 ppm = 1 см3/м3) | G30 | G31 |
(мг/кВт·ч) | (мг/МДж) | (мг/кВт·ч) | (мг/МДж) |
O2 = 0% | 1 ppm = | 1,792 | 0,498 | 1,778 | 0,494 |
1 мг/м3 = | 0,872 | 0,242 | 0,866 | 0,240 |
O2 = 3% | 1 ppm = | 2,091 | 0,581 | 2,075 | 0,576 |
1 мг/м3 = | 1,018 | 0,283 | 1,010 | 0,281 |
(обязательное)
ОСОБЫЕ НАЦИОНАЛЬНЫЕ УСЛОВИЯ
Особое национальное условие: Национальная отличительная особенность или практика, которую невозможно изменять на длительный период времени, например, климатические условия, условия электрического заземления. Если это влияет на гармонизацию, тогда формулируется новая часть Европейского стандарта или Документ Согласования.
Для тех стран, к которым подходят соответствующие положения данного документа, они являются обязательными, для других стран они справочные.
Аппараты категории I2E+, поставляемые на рынок сбыта в Бельгию, должны проходить испытание на розжиг, распространение пламени и стабильность пламени на предельном газе G231 при минимальном давлении в 15 мбар.
Аппараты категории I2Er также могут поставляться на рынок сбыта в Бельгию, но в таком случае требуется опломбировать регулятор. Помимо опломбирования регулятор должен быть обозначен символом (s).
(справочное)
A-ОТСТУПЛЕНИЯ
A-отступление: Национальное отступление, присущее данной стране из-за регламента, изменение которого находится вне компетенции члена CEN/CENELEC.
Настоящий стандарт подпадает под Директиву 90/396/EEC в области применения газа.
Примечание - (Взято из CEN/CENELEC. IR Часть 2: 3.1.9). Если стандарты подпадают под Директивы, рассмотренные Комиссией EC (OJ No. C 59, 9.3.1982), то сила решения, принятого по решению суда по делу 815/79 Кремонини/Вранковича (Отчет Европейского суда за 1980 г., стр. 3583), состоит в том, что соответствие A-отступления больше не является обязательным и что не следует ограничивать свободное передвижение продукции, соответствующей настоящему стандарту, за исключением вопроса защитного ограждения, которое предусматривается соответствующей Директивой.
A-отступление в стране Европейской ассоциации свободной торговли (EFTA) является действительным вместо соответствующих положений Европейского стандарта в этой стране до тех пор, пока оно не будет отменено.
L.1 A-отступления
Для Швейцарии требуются дополнительные требования к следующим положениям:
6.7 Горение
6.8 Сажеобразование
Дополнительно к требованиям, данным в этом стандарте, пределы величин выделения CO и сажеобразования являются действительными, такими, какими они изложены в Швейцарских Положениях о Чистом Воздухе
<1> (CAR) от 1985-12-16 (по состоянию на 1992-01-01).
--------------------------------
<1> LRV/OPair/CAR 81444.318.142.1
Bezugsquelle/Vente/Available from:
EMDZ
PO Box
CH-300 Berne
Switzerland.
(справочное)
ПОЛОЖЕНИЯ НАСТОЯЩЕГО СТАНДАРТА, КАСАЮЩИЕСЯ
ОСНОВНЫХ ТРЕБОВАНИЙ ИЛИ ДРУГИХ ПОЛОЖЕНИЙ
ЕВРОПЕЙСКИХ ДИРЕКТИВ
Настоящий стандарт удовлетворяет основным требованиям Европейской Директивы 90/396/EEC по Соответствию законов количества статей законов в вопросах применения газовых аппаратов.
ПРЕДУПРЕЖДЕНИЕ! Другие требования и другие Европейские Директивы могут иметь отношение к продукции, подпадающей под настоящий стандарт.
Следующие статьи настоящего стандарта соответствуют требованиям Директивы EU 90/396 EEC.
Соответствие положений настоящего стандарта - это один из способов соответствия конкретным требованиям, касающимся Директивы и связанным с правилами EFTA.
Таблица ZА.1
Основные требования | Объект | Соответствующие требования ГОСТ EN 613 (A1) |
1.1 | Безопасность конструкции и изготовления | |
1.2 | Инструкции | |
| - для монтажника | |
| - пользователя | |
| Предупреждающие надписи | |
| - для аппаратов | |
| - упаковки | |
| Официальный язык | |
1.2.1 | Тип используемого газа | |
| Давление газоснабжения | |
| Свежий воздух | |
| - для горения | |
| - для рассеивания продуктов | |
| Горелки с принудительной тягой | Не регламентируется |
1.2.2 | Инструкции по эксплуатации и техническому обслуживанию | |
1.2.3 | Предупреждающие надписи на приборе и упаковке | |
1.3 | Фитинги | |
| - клапаны с ручным управлением | |
| - регуляторы | |
| - устройство контроля пламени | |
| - автоматические клапаны | |
| - системы автоматического контроля горелкой | |
| - термостаты | |
| Инструкции | Не регламентируется |
2.1 | Соответствующие материалы | |
2.2 | Свойства | |
3.1.1 | Срок службы | |
3.1.2 | Конденсат | |
3.1.3 | Опасность вспышки | |
3.1.4 | Проникновение воздуха/воды | Не регламентируется |
3.1.5 | Нормальное колебание дополнительной энергии | |
3.1.6 | Ненормальные колебания дополнительной энергии | |
3.1.7 | Электрический опасный фактор | |
3.1.8 | Деформация | Не регламентируется |
3.1.9 | Контрольное устройство защиты от неисправностей | |
| - газового тракта | |
| - системы автоматического контроля горелки | |
| - устройства контроля пламени | |
| - автоматических отсечных клапанов | |
| - регуляторов | |
| - термостатов | |
3.1.10 | Блокирование защитных устройств | |
3.1.11 | Защита заранее настроенного регулятора | |
3.1.12 | Маркировка органов и регулируемых устройств | |
3.2.1 | Утечка газа | |
3.2.2 | Выделение газа при розжиге, | |
| повторном розжиге и погасании | |
3.2.3 | Скопление несгоревшего газа | |
3.3 | Розжиг, повторный розжиг и распространение пламени | |
3.4.1 | Стабильность пламени | |
| Вредные вещества | |
3.4.2 | Отвод продуктов сгорания | |
3.4.3 | Отвод продуктов сгорания | |
3.4.4 | Бестопливные домашние приборы | Не регламентируется |
3.5 | Рациональное использование энергии | |
3.6.1 | Температура пола и т.д. | |
3.6.2 | Температура кнопок/органов | |
3.6.3 | Наружные детали | |
3.7 | Продукты питания и вода | Не регламентируется |
Приложение II | Сертификат | |
(справочное)
СВЕДЕНИЯ О СООТВЕТСТВИИ ССЫЛОЧНЫХ ЕВРОПЕЙСКИХ СТАНДАРТОВ
МЕЖГОСУДАРСТВЕННЫМ СТАНДАРТАМ
Таблица ДА.1
Обозначение ссылочного европейского стандарта | Степень соответствия | Обозначение и наименование соответствующего межгосударственного стандарта |
EN 88:1991 | - | |
EN 125:1991 | IDT | ГОСТ EN 125-2009 "Устройства контроля пламени для газовых приборов. Термоэлектрические устройства контроля пламени. Общие технические требования и методы испытаний" |
EN 126:1995 | IDT | ГОСТ EN 126-2004 "Устройства регулирующие многофункциональные для газовых нагревательных приборов" |
EN 161 | MOD | ГОСТ 32028-2012 (EN 161:2001) "Клапаны автоматические отсечные для газовых горелок и аппаратов. Общие технические требования и методы испытаний" |
EN 257:1992 | IDT | ГОСТ EN 257-2010 "Терморегуляторы механические для газовых приборов" |
EN 298:1993 | IDT | ГОСТ EN 298-2015 "Системы автоматического контроля для газовых горелок и газовых приборов с розжигом или без него" |
EN 437:2003+A1:2009 | - | |
EN ISO 3166-1:1997 | MOD | ГОСТ 7.67-2003 (ИСО 3166-1:1997) "Система стандартов по информации, библиотечному и издательскому делу. Коды названий стран" |
EN 50165 | - | |
EN 60335-1:1994 | - | |
EN 60529:1991 | - | |
EN 60730-2-9:1995 | MOD | ГОСТ IEC 60730-2-9-2011 "Устройства управления автоматические электрические бытового и аналогичного назначения. Часть 2-9. Частные требования к терморегуляторам" |
CR 1404:1994 | - | |
ISO 7-1:1994 | - | |
ISO 228-1:1994 | - | |
ISO 274:1975 | - | |
<*> Соответствующий межгосударственный стандарт отсутствует. Примечание - В настоящей таблице использованы следующие условные обозначения степени соответствия стандартов: - IDT - идентичные стандарты; - MOD - модифицированные стандарты. |
--------------------------------
<1> ГОСТ EN 437-2012 "Газы испытательные. Давления испытательные. Категории приборов" идентичен EN 437:2003.
<2>
ГОСТ IEC 60335-1-2015 "Бытовые и аналогичные электрические приборы. Безопасность. Часть 1. Общие требования" идентичен IEC 60335-1:2013.
<3>
ГОСТ 14254-2015 (IEC 60529:2013) "Бытовые и аналогичные электрические приборы. Безопасность. Часть 2-102. Дополнительные требования к приборам, работающим на газовом, жидком и твердом топливе и имеющим электрические соединения", модифицирован по отношению к IEC 60529:2013.
<4>
ГОСТ 6211-81 "Основные нормы взаимозаменяемости. Резьба трубная коническая" неэквивалентен ISO 7-1.
<5>
ГОСТ 6357-81 "Основные нормы взаимозаменяемости. Резьба трубная цилиндрическая" неэквивалентен ISO 228-1.
EN 509:1999 | Decorative fuel-effect gas appliances (Приборы газовые бытовые с декоративным оформлением топлива) |
prEN 13278:1998 | Open fronted gas-fired independent space heaters (Автономные газовые нагреватели с открытым передним пространством) |
IEC 60479-1:1994 | Effects of currant on human beings and livestock - Part 1: General aspects (Воздействие тока, проходящего через тело человека. Часть 1. Общие аспекты) |
IEC 60479-2:1987 | Effects of currant on human beings and livestock - Part 2: Special aspects (Воздействие тока, проходящего через тело человека. Часть 2. Особые аспекты) |
УДК 697.355:006.354 | | IDT |
Ключевые слова: нагреватели, газовые, автономные, конвективный вентилятор, предельные давления, прерыватель тяги |