Главная // Актуальные документы // ГОСТ (Государственный стандарт)СПРАВКА
Источник публикации
М.: ФГБУ "РСТ", 2021
Примечание к документу
Текст данного документа приведен с учетом
поправки, введенной в действие с 12.11.2021, опубликованной в "ИУС", N 3, 2022;
поправки, опубликованной в "ИУС", N 8, 2022.
Документ
введен в действие с 01.10.2022.
Название документа
"ГОСТ EN 358-2021. Межгосударственный стандарт. Система стандартов безопасности труда. Средства индивидуальной защиты от падения с высоты. Привязи и стропы для удержания и позиционирования. Общие технические требования. Методы испытаний"
(введен в действие Приказом Росстандарта от 27.10.2021 N 1332-ст)
"ГОСТ EN 358-2021. Межгосударственный стандарт. Система стандартов безопасности труда. Средства индивидуальной защиты от падения с высоты. Привязи и стропы для удержания и позиционирования. Общие технические требования. Методы испытаний"
(введен в действие Приказом Росстандарта от 27.10.2021 N 1332-ст)
агентства по техническому
регулированию и метрологии
от 27 октября 2021 г. N 1332-ст
МЕЖГОСУДАРСТВЕННЫЙ СТАНДАРТ
СИСТЕМА СТАНДАРТОВ БЕЗОПАСНОСТИ ТРУДА
СРЕДСТВА ИНДИВИДУАЛЬНОЙ ЗАЩИТЫ ОТ ПАДЕНИЯ С ВЫСОТЫ.
ПРИВЯЗИ И СТРОПЫ ДЛЯ УДЕРЖАНИЯ И ПОЗИЦИОНИРОВАНИЯ
ОБЩИЕ ТЕХНИЧЕСКИЕ ТРЕБОВАНИЯ.
МЕТОДЫ ИСПЫТАНИЙ
Occupational safety standards system. Personal protective
equipment against falls from a height. Belts and lanyards
for work positioning or restraint. General technical
requirements. Test methods
(EN 358:2018,
Personal protective equipment for work positioning
and prevention of falls from a height - Belts and lanyards
for work positioning or restraint, IDT)
ГОСТ EN 358-2021
Дата введения
1 октября 2022 года
Цели, основные принципы и общие правила проведения работ по межгосударственной стандартизации установлены
ГОСТ 1.0 "Межгосударственная система стандартизации. Основные положения" и
ГОСТ 1.2 "Межгосударственная система стандартизации. Стандарты межгосударственные, правила и рекомендации по межгосударственной стандартизации. Правила разработки, принятия, обновления и отмены"
| | ИС МЕГАНОРМ: примечание. Текст дан в соответствии с официальным текстом документа. | |
1 ПОДГОТОВЛЕН Частным учреждением Федерации Независимых Профсоюзов России "Научно-исследовательский институт охраны труда в г. Екатеринбурге" (ЧУ ФНПР "НИИОТ") на основе собственного перевода на русский язык немецкоязычной версии стандарта, указанного в
пункте 5
2 ВНЕСЕН Федеральным агентством по техническому регулированию и метрологии
3 ПРИНЯТ Межгосударственным советом по стандартизации, метрологии и сертификации (протокол от 30 сентября 2021 г. N 143-П)
За принятие проголосовали:
Краткое наименование страны по МК (ИСО 3166) 004-97 | Код страны по МК (ИСО 3166) 004-97 | Сокращенное наименование национального органа по стандартизации |
Азербайджан | AZ | Азстандарт |
Армения | AM | ЗАО "Национальный орган по стандартизации и метрологии" Республики Армения |
Беларусь | BY | Госстандарт Республики Беларусь |
Казахстан | KZ | Госстандарт Республики Казахстан |
Киргизия | KG | Кыргызстандарт |
Россия | RU | Росстандарт |
Узбекистан | UZ | Узстандарт |
4
Приказом Федерального агентства по техническому регулированию и метрологии от 27 октября 2021 г. N 1332-ст межгосударственный стандарт ГОСТ EN 358-2021 введен в действие в качестве национального стандарта Российской Федерации с 1 октября 2022 г.
5 Настоящий стандарт идентичен европейскому стандарту EN 358:2018 "Средства индивидуальной защиты для рабочего позиционирования и предотвращения падения с высоты. Привязи и стропы для рабочего позиционирования и удержания" ("Personal protective equipment for work positioning and prevention of falls from a height - Belts and lanyards for work positioning or restraint", IDT).
Европейский стандарт разработан Техническим комитетом CEN/TC 160 "Защита от падения с высоты, включая рабочие пояса", секретариатом которого является DIN (Германия).
Наименование настоящего стандарта изменено относительно наименования указанного европейского стандарта для приведения в соответствие с ГОСТ 1.5
(подраздел 3.6) и для увязки с наименованиями, принятыми в существующем комплексе межгосударственных стандартов.
При применении настоящего стандарта рекомендуется использовать вместо ссылочных европейских и международных стандартов соответствующие им межгосударственные стандарты, сведения о которых приведены в дополнительном
приложении ДА
6 ВВЕДЕН ВПЕРВЫЕ
7 Некоторые элементы настоящего стандарта могут являться объектами патентных прав. Евразийский совет по стандартизации, метрологии и сертификации не несет ответственности за патентную чистоту настоящего стандарта. Патентообладатель может заявить о своих правах и направить в национальный орган по стандартизации своего государства аргументированное предложение о внесении в настоящий стандарт поправки для указания информации о наличии в стандарте объектов патентного права и патентообладателе
Информация о введении в действие (прекращении действия) настоящего стандарта и изменений к нему на территории указанных выше государств публикуется в указателях национальных стандартов, издаваемых в этих государствах, а также в сети Интернет на сайтах соответствующих национальных органов по стандартизации.
В случае пересмотра, изменения или отмены настоящего стандарта соответствующая информация будет опубликована на официальном интернет-сайте Межгосударственного совета по стандартизации, метрологии и сертификации в каталоге "Межгосударственные стандарты"
При кратковременных работах на высоте, когда по техническим причинам нецелесообразно устанавливать рабочий помост, соответствующие заграждения и аналогичные защитные меры, при условии правильного выполнения работ можно предотвратить падение с высоты, надев средство индивидуальной защиты. Снаряжение, изготовленное в соответствии с требованиями настоящего стандарта, предназначено либо для предотвращения принятия пользователем положения, при котором может произойти падение (удерживающая система), либо для фиксации рабочего положения пользователя, в котором он может распределять и контролировать свой вес между талией и ногами (рабочее позиционирование). Важно отметить, что такое средство индивидуальной защиты от падения с высоты, по своей конструкции не предназначено для удержания тела пользователя во время падения. Может возникнуть необходимость дополнить его иными средствами коллективной или индивидуальной защиты от падения. На практике безопасное использование зависит от эффективного обучения и инструктирования пользователя.
Привязь для удержания и рабочего позиционирования не используют, если существует неконтролируемый риск скольжения пользователя, например, при работе на крутой крыше или на влажных или скользких поверхностях, которые могут привести к тому, что пользователь будет висеть на привязи или подвергаться непреднамеренной нагрузке от натяжения ремня.
Настоящий стандарт устанавливает общие технические требования, методы испытаний, требования к маркировке, упаковке и информации, предоставляемой изготовителем для привязей и стропов, предназначенных для удержания и рабочего позиционирования.
Настоящий стандарт не распространяется на удерживающие стропы фиксированной длины, не встроенные напрямую в привязь.
Примечание - Удерживающие стропы фиксированной длины, не встроенные напрямую в привязь, должны соответствовать EN 354.
В настоящем стандарте использованы нормативные ссылки на следующие стандарты [для датированных ссылок применяют только указанное издание ссылочного стандарта, для недатированных - последнее издание (включая все изменения к нему)]:
EN 362:2004, Personal protective equipment against falls from a height - Connectors (Средства индивидуальной защиты от падения с высоты. Соединительные элементы)
EN 363, Personal fall protection equipment - Personal fall protection systems (Средства индивидуальной защиты от падения. Системы индивидуальной защиты от падения)
EN 364:1992, Personal protective equipment against falls from a height - Test methods (Средства индивидуальной защиты от падения с высоты. Методы испытаний)
EN 365, Personal protective equipment against falls from a height - General requirements for instructions for use, maintenance, periodic examination, repair, marking and packaging (Средства индивидуальной защиты от падения с высоты. Общие требования к инструкциям по эксплуатации, техническому уходу, периодической проверке, ремонту, маркировке и упаковке)
EN 892, Mountaineering equipment - Dynamic mountaineering ropes - Safety requirements and test methods (Альпинистское снаряжение. Динамические веревки. Требования техники безопасности и методы испытаний)
EN ISO 9227, Corrosion tests in artificial atmospheres - Salt spray tests (ISO 9227) [Испытания на коррозионную стойкость в условиях искусственной атмосферы. Испытания в соляном тумане (ИСО 9227)]
ISO 2232, Round drawn wire for general purpose non-alloy steel wire ropes and for large diameter steel wire ropes - Specifications (Проволока круглая тянутая для проволочных канатов общего назначения из нелегированной стали и для стальных проволочных канатов большого диаметра. Технические требования)
В настоящем стандарте применены термины по EN 363, а также следующие термины с соответствующими определениями:
3.1 поясной ремень (waist belt): Устройство для поддержки тела, которое охватывает тело за талию.
3.2 удержание (restraint): Способ, посредством которого человек предохраняется с помощью средств индивидуальной защиты от попадания в зоны, в которых существует риск падения с высоты.
3.3 удерживающий строп (restraint lanyard): Компонент или отдельная деталь фиксированной длины или с устройством регулирования длины для соединения привязи для удержания с точкой анкерного крепления с целью содействия удержанию тела человека.
3.4 привязь для удержания (restraint belt): Набор лямок, фурнитуры, пряжек или других элементов в виде поясного ремня с одним или несколькими элементами крепления для удержания тела человека.
Примечание - Привязь для удержания может быть напрямую встроена в предмет одежды или в страховочную привязь.
3.5 рабочее позиционирование (work positioning): Способ, который позволяет человеку работать с поддержкой при помощи средства индивидуальной защиты от падения, находящегося в натянутом состоянии таким образом, чтобы предотвращалось падение.
3.6 строп для рабочего позиционирования (work positioning lanyard): Компонент или отдельная деталь с устройством регулирования длины, предназначенные для соединения устройства для удержания тела с анкерной точкой или для охвата конструкции с целью обеспечения рабочего позиционирования.
3.7 привязь для рабочего позиционирования (work positioning belt): Совокупность лямок, фурнитуры, пряжек, опоры для спины или других элементов в виде поясного ремня с одним элементом крепления в области живота и/или боковыми элементами крепления с целью обеспечения рабочего позиционирования.
Примечание - Привязь для рабочего позиционирования может быть напрямую встроена в предмет одежды или в страховочную привязь.
3.8 элемент крепления (attachment element): Воспринимающий нагрузку элемент, предназначенный для соединения других компонентов.
3.9 встроенный строп (integrated lanyard): Строп, который без инструмента нельзя снять с привязи.
3.10 максимальная номинальная нагрузка (maximum rated load): Максимальный вес работника, включая переносимый инструмент и снаряжение, указываемый изготовителем.
Примечание - Максимальная номинальная нагрузка указывается в килограммах.
3.11 застежка (fastening element): Деталь для застегивания и расстегивания лямок привязи.
3.12 элемент регулирования (adjustment element): Элемент для регулировки длины лямок привязи с целью индивидуальной подгонки по форме тела пользователя.
4.1 Дизайн, конструкция и эргономика
4.1.1.1 Поясные ремни при испытании в соответствии с требованиями
5.1.2 должны регулироваться под индивидуальный размер пользователя в пределах диапазона размеров, указанного изготовителем.
4.1.1.2 Поясные ремни при испытании в соответствии с требованиями
5.1.2 должны иметь как минимум один элемент крепления, предназначенный для соединения с компонентами, воспринимающими нагрузку, например, со стропом. Если поясной ремень оснащен двумя элементами крепления для рабочего позиционирования, то при условии его правильного расположения один из элементов крепления должен находиться в правой четверти, а другой - в левой передней четверти поясного ремня.
4.1.1.3 При испытаниях в соответствии с требованиями
5.1.2 на всех деталях поясного ремня не должно быть острых краев и заусенцев, которые могут привести к травмам.
4.1.1.4 Привязи для рабочего позиционирования должны иметь опору для спины. При испытаниях в соответствии с требованиями
5.1.3 минимальная длина опоры для спины должна быть на 50 мм больше половины окружности ремня, когда он отрегулирован на максимальную радиальную длину (размер талии), указанную изготовителем. Ширина спинной опоры должна быть не менее 100 мм на участке размером 200 см
2, симметрично расположенном по отношению к позвоночнику пользователя. На других участках она должна иметь ширину не менее 60 мм.
4.1.1.5 Поясные ремни при испытаниях в соответствии с требованиями
5.1.4 должны иметь ширину не менее 43 мм.
4.1.2 Застежки и элементы регулирования поясного ремня
4.1.2.1 При испытании в соответствии с требованиями
5.2.2 застежки должны быть спроектированы и изготовлены так, чтобы при правильном закрытии в соответствии с требованиями изготовителя их можно было бы открыть только в результате не менее двух различных преднамеренных ручных действий.
4.1.2.2 При испытании в соответствии с требованиями
5.2.3 застежки должны быть спроектированы и изготовлены таким образом, чтобы при их правильном закрытии в соответствии с требованиями изготовителя не могло произойти их непреднамеренного раскрытия.
4.1.2.3 Если застежки спроектированы и изготовлены таким образом, что их можно открыть нажатием двух кнопок (см.
рисунок 1), то кнопки, если они были закрыты в соответствии с требованиями изготовителя, должны вернуться в исходное положение в соответствии с требованиями
5.2.4. Застежка не должна открываться при испытании в соответствии с требованиями
5.2.5.
Рисунок 1 - Пример конструкции застежек с кнопками
4.1.2.4 При испытании в соответствии с
5.6.2 перемещение и проскальзывание лямки в элементах регулирования поясных ремней не должно превышать 20 мм. Если в документации изготовителя описывается более одного способа установки элементов регулирования, необходимо испытать каждый вариант установки.
4.1.2.5 При испытании в соответствии с
5.6.3 или
5.6.4 перемещение и проскальзывание лямки в элементах регулирования поясных ремней со встроенными стропами не должно превышать 20 мм. Если в документации изготовителя описывается более одного способа установки элементов регулирования, необходимо испытать каждый вариант установки.
4.1.3 Стропы для рабочего позиционирования и удерживающие стропы
4.1.3.1 Строп для рабочего позиционирования при испытании в соответствии с
5.3.2 должен быть регулируемым; он должен быть сконструирован и изготовлен таким образом, чтобы от него нельзя было непреднамеренно отсоединить устройство регулирования длины.
4.1.3.2 Строп для рабочего позиционирования должен быть сконструирован и изготовлен таким образом, чтобы при испытании в соответствии с
5.3.2 его можно было подсоединить одним концом напрямую или с помощью подходящего соединительного элемента к устройству для удержания тела, а другим концом - к анкерной точке либо снова к устройству для удержания тела. Один конец может быть постоянно соединен с устройством удержания тела.
Примечание - Устройством для удержания тела могут быть привязи для рабочего позиционирования или привязи для положения сидя.
4.1.3.3 Удерживающий строп с устройством регулирования длины должен быть сконструирован и изготовлен таким образом, чтобы при испытании в соответствии с
5.3.2 устройство регулирования длины не могло быть непреднамеренно отсоединено от стропа.
4.1.3.4 Удерживающий строп с устройством регулирования длины должен быть сконструирован и изготовлен таким образом, чтобы при испытании в соответствии с
5.3.2 его можно было подсоединить напрямую или с помощью подходящего соединительного элемента на одном конце к устройству для удержания тела, а на другом конце - к анкерной точке.
| | ИС МЕГАНОРМ: примечание. В официальном тексте документа, видимо, допущена опечатка: пункт 5.3.4 отсутствует. | |
4.1.3.5 Удерживающий строп фиксированной длины должен быть сконструирован и изготовлен таким образом, чтобы при испытании в соответствии с
5.3.2 одним концом он был встроен в поясной ремень, а другим концом его можно было соединить напрямую или с помощью подходящего соединительного элемента с анкерной точкой. Длина стропа, измеренная в соответствии с 5.3.4, должна находиться в пределах +/- 5% от длины, указанной на маркировке стропа.
4.1.4 Устройство регулирования длины
4.1.4.1 Устройство регулирования длины при испытании в соответствии с требованиями
5.4 не должно иметь острых краев и заусенцев, которые могут привести к травмам.
4.1.4.2 Устройство регулирования длины при испытании в соответствии с требованиями
5.4 должно быть неразъемно подсоединено к стропу.
Примечание - Для технического обслуживания устройство регулирования длины должно сниматься с помощью инструментов, если это разрешено инструкциями по применению, предоставленными изготовителем.
4.1.4.3 Устройство регулирования длины стропа для рабочего позиционирования при испытании в соответствии с требованиями
5.4 должно регулировать длину стропа во время использования, как описано в инструкции, предоставленной изготовителем.
4.1.4.4 Для стропов при испытании в соответствии с
5.6.5 и стропов, встроенных в поясной ремень, при испытании в соответствии с
5.6.3 любое перемещение и любое проскальзывание стропа через устройство регулирования длины не должно превышать 50 мм. Если в инструкциях изготовителя описано более одного способа крепления или установки устройства регулирования длины, необходимо испытать каждый из этих способов.
4.2.1 Материалы, используемые в поясных ремнях и стропах, которые могут контактировать с кожей пользователя, при испытании в соответствии с
5.5 не должны оказывать раздражающего или сенсибилизирующего воздействия при предполагаемом использовании.
4.2.2 При испытании в соответствии с
5.5 канаты из волокон, тканые ленты и швейные нити для стропов должны быть изготовлены из синтетических многофиламентных или комплексных нитей, подходящих для предполагаемого использования. Прочность на разрыв синтетических волокон должна составлять не менее 0,6 Н/текс.
4.2.3 Цвет швейной нити при испытании в соответствии с
5.5 должен быть выбран таким образом, чтобы он контрастировал с цветом лямки или каната, чтобы обеспечивать визуальную проверку.
4.2.4 Проволока, применяемая для изготовления канатов стропов, при испытании в соответствии с
5.5 должна быть стальной. Обжимные втулки концевых соединений должны быть выполнены из пластичного металлического материала. Проволочные канаты, изготовленные не из нержавеющей стали, должны быть гальванизированными в соответствии с требованиями ISO 2232.
4.2.5 Цепи при испытании в соответствии с
5.5 должны быть стальными. Цепи из нелегированной стали должны иметь защитное гальваническое покрытие. Овальные или похожие концевые звенья, как и все соединительные звенья, должны быть совместимы со звеньями цепи.
4.3 Соединительные элементы
Встроенные в стропы соединительные элементы должны соответствовать требованиям EN 362:2004 (пункты 4.1 - 4.5).
4.4 Статическая прочность
4.4.1 Поясной ремень при испытании в соответствии с
5.6.2 должен выдерживать усилие 15 кН без высвобождения цилиндра.
4.4.2 Поясной ремень со встроенным стропом и с устройством регулирования длины при испытании в соответствии с
5.6.3 должен выдерживать усилие 15 кН без высвобождения цилиндра.
4.4.3 Поясной ремень со встроенным удерживающим стропом фиксированной длины при испытании в соответствии с
5.6.4 должен выдерживать усилие 15 кН без высвобождения цилиндра.
4.4.4 Строп с устройством регулирования длины при испытании в соответствии с
5.6.5 должен выдерживать усилие 15 кН.
4.5 Динамическая прочность
4.5.1 Испытательный манекен при испытании в соответствии с
5.7.2 при первом рывке должен удерживаться поясным ремнем таким образом, чтобы он не касался земли.
Примечание - Допустимо, если испытательный манекен выскользнет из поясного ремня после отскока.
4.5.2 Испытательный манекен при испытании в соответствии с
5.7.3 при первом рывке должен удерживаться поясным ремнем со встроенным стропом таким образом, чтобы он не касался земли.
Примечание - Допустимо, если испытательный манекен выскользнет из поясного ремня после отскока.
4.5.3 Строп с устройством регулирования длины при испытании в соответствии с
5.7.4 должен удерживать жесткий испытательный груз таким образом, чтобы он не касался земли.
4.6 Коррозионная стойкость
Поясные ремни и стропы для рабочего позиционирования и удержания с металлическими деталями должны быть испытаны в соответствии с
5.8. Ни на одной металлической детали стропа не должно присутствовать признаков коррозии основного металла, которые могли бы нарушить его функциональные свойства. Наличие потускнения и белого налета допускается.
Примечания
1 Изготовитель должен стараться не комбинировать различные металлы, так как это может привести к нежелательной гальванической реакции.
2 Соответствие этому требованию не предполагает использования устройства в морской среде.
4.7 Маркировка и информация, предоставляемая изготовителем
4.7.1 Маркировка поясных ремней и стропов для рабочего позиционирования и удерживающих стропов должна соответствовать требованиям
раздела 6.
4.7.2 Информация, предоставляемая с поясными ремнями, со стропами для рабочего позиционирования и удерживающими стропами, должна соответствовать требованиям
раздела 7.
5.1 Проверка дизайна и конструкции поясных ремней
5.1.1 Для проверки следует использовать новый поясной ремень.
5.1.2 Проверяют поясной ремень, используя соответствующую документацию изготовителя, визуальным (с помощью визуально-оптических приборов или без них) и/или тактильным методом, и/или методом измерений.
5.1.3 Проверяют, чтобы привязь для рабочего позиционирования была оснащена спинной опорой, размеры привязи измеряют путем округления до миллиметра.
5.1.4 Минимальную ширину лямок привязи для удержания измеряют путем округления до миллиметра.
5.2 Проверка дизайна и конструкции застежек и элементов регулирования
5.2.1 Для проверки следует использовать новый поясной ремень.
5.2.2 Проверяют застежки, используя визуальный и/или тактильный методы.
5.2.3 С помощью визуального и/или тактильного методов проверяют, сможет ли застежка непреднамеренно раскрыться.
5.2.4 С помощью нажатия кнопки застежки проверяют, заблокирует ли она застежку снова после ее отпускания. Проверку повторяют и для второй кнопки.
5.2.5 Застежку подвешивают, используя части поясного ремня и испытательный груз массой (1 +/- 0,1) кг (см.
рисунок 2). Длина ремня между измерительным прибором и застежкой не должна превышать 100 мм. Длина ремня между застежкой и испытательным грузом не должна превышать 100 мм. Застежку крепят к конструкции таким образом, чтобы исключить ее перекручивания. Кнопку на противоположной стороне конструкции нажимают в открытое положение или, если открытое положение не может быть достигнуто, прикладывают нагрузку

с помощью ручного динамометра; застежка не должна сдвигаться в сторону. Проверяют, удерживает ли застежка испытательный груз. После отпускания проверяют, возвращается ли кнопка в исходное положение. Если она не возвращается в исходное положение, поворачивают застежку, снова закрепляют испытательный груз к тому же концу ремня и таким же способом нажимают на другую кнопку. Проверяют, удерживает ли застежка испытательный груз.
1 - часть поясного ремня; 2 - застежка;
3 - механизм открывания; 4 - жесткая конструкция;
5 - испытательный груз; 6 - испытательное оборудование
Примечание - Закрепление застежки к конструкции во избежание скручивания на рисунке не изображено.
Рисунок 2 - Пример проведения испытания застежек,
которые в результате нажатия на две кнопки
под нагрузкой могут открыться
Испытание повторяют, но первой нажимают другую кнопку.
Испытания повторяют с использованием испытательных грузов (5 +/- 0,1) кг и (10 +/- 0,1) кг.
5.3 Проверка дизайна и конструкции стропов для рабочего позиционирования и удерживающих стропов
5.3.1 Для испытаний используют новый строп. Если строп может быть собран более чем одним способом, испытание проводят для каждой конструкции.
5.3.2 Строп проверяют, используя соответствующую документацию изготовителя, визуальным (с помощью визуально-оптических приборов или без них) и/или тактильным методами.
5.3.3 При испытании встроенных удерживающих стропов фиксированной длины поясной ремень крепят к цилиндру (см.
рисунок 5). На элемент крепления стропа прикладывают нагрузку в виде груза массой (10 +/- 0,1) кг без ударного воздействия или соответствующее усилие. Нагрузку сохраняют в течение (60 +/- 15) с. В течение 10 с под нагрузкой измеряют длину стропа
L в метрах между крайними точками приложения нагрузки с округлением до 0,01 м.
Если строп имеет более двух концевых соединений, измеряют наибольшую длину между концевыми соединениями в каждой комбинации, допускаемой изготовителем.
5.4 Проверка дизайна и конструкции устройств регулирования длины
Устройство регулирования длины проверяют визуальным и тактильным методами.
Поясной ремень/строп проверяют, используя соответствующую документацию изготовителя, визуальным (с помощью визуально-оптических приборов или без них) и/или тактильным методами.
5.6 Испытания на статическую прочность и проскальзывание
Оборудование для испытания поясных ремней и стропов должно соответствовать требованиям EN 364:1992 (пункты 4.1 и 4.3). Диаметр испытательного цилиндра, указанный в EN 364:1992 (пункт 4.3), может быть уменьшен не более чем до 250 мм, чтобы избежать контакта между цилиндром и застежкой и элементом регулирования поясного ремня.
5.6.2 Испытание поясного ремня
Поясной ремень и испытательный цилиндр устанавливают в оборудование для испытания, как описано в
5.6.1 и изображено на
рисунке 3. Необходимо убедиться, что застежка и элемент регулирования поясного ремня не касаются испытательного цилиндра, а угол расположения ремня находится в диапазоне от 50° до 60°. Между испытательным цилиндром и элементом крепления поясного ремня прикладывают усилие

. Положение каждого элемента регулирования маркируют, чтобы измерить любое проскальзывание и перемещение. После сброса нагрузки указанное усилие прикладывают четыре раза в течение

, при этом между каждым приложением усилия должен быть период разгрузки не менее 30 с.
1 - элемент крепления; 2 - застежка и элемент регулирования
Рисунок 3 - Пример испытания поясного ремня
на статическую прочность
После пятого сброса нагрузки в 1 кН прикладывают усилие

в течение

. Любое перемещение и проскальзывание лямки через элементы регулирования поясного ремня измеряют и записывают.
После сброса нагрузки между испытательным цилиндром и элементом крепления поясного ремня прикладывают усилие

. Усилие поддерживают в течение

и наблюдают, высвобождает ли поясной ремень или строп цилиндр.
Испытание повторяют для каждой конфигурации крепления, указанной изготовителем. При необходимости для каждого испытания используют новый поясной ремень.
5.6.3 Испытание поясного ремня со встроенным стропом с устройством регулирования длины
Поясной ремень со встроенным стропом с устройством регулирования длины и испытательный цилиндр устанавливают в оборудование для испытания, как описано в
5.6.1 и изображено на
рисунке 4. Необходимо убедиться, что застежка и элемент регулирования поясного ремня не касаются испытательного цилиндра, угол расположения ремня находится в диапазоне от 50° до 60°, а устройство регулирования длины - не менее чем в 300 мм от конца стропа; его положение должно быть промаркировано. Между испытательным цилиндром и соединительным элементом на свободном конце стропа [см.
рисунок 4 a)] или, если это применимо, элементом крепления устройства регулирования длины [см.
рисунок 4 b)] прикладывают усилие

. Положение элемента регулирования и устройства регулирования длины маркируют, чтобы можно было измерить любое проскальзывание и перемещение. После сброса нагрузки указанное усилие прикладывают четыре раза в течение

, причем между каждым приложением усилия должен быть период разгрузки не менее 30 с.

1 - элемент крепления; 2 - застежка и элемент регулирования;
3 - устройство регулирования длины
Рисунок 4 - Примеры испытания на статическую прочность
поясных ремней со встроенным стропом с устройством
регулирования длины
После пятого сброса нагрузки в 1 кН прикладывают усилие

в течение

. Любое перемещение и проскальзывание стропа через устройство регулирования длины измеряют и записывают. После измерения нагрузку увеличивают до

и поддерживают ее в течение

. Любое перемещение и проскальзывание лямки через элемент регулирования поясного ремня измеряют и записывают.
После сброса нагрузки строп должен быть отрегулирован на максимальную длину. Между испытательным цилиндром и соединительным элементом на свободном конце стропа [см.
рисунок 4 a)] или, если это применимо, соединительным элементом устройства регулирования длины [см.
рисунок 4 b)] прикладывают усилие

. Усилие поддерживают в течение

и наблюдают, высвобождает ли поясной ремень или строп цилиндр.
5.6.4 Испытание поясного ремня со встроенным удерживающим стропом фиксированной длины
Поясной ремень со встроенным удерживающим стропом и испытательный цилиндр устанавливают в оборудование для испытания, как описано в
5.6.1 и изображено на
рисунке 5. Необходимо убедиться, что застежка и элемент регулирования поясного ремня не касаются испытательного цилиндра, а угол расположения ремня находится в диапазоне от 50° до 60°. Между испытательным цилиндром и элементом крепления стропа прикладывают усилие

. Положение элемента регулирования маркируют, чтобы можно было измерить любое проскальзывание и перемещение. После сброса нагрузки указанное усилие прикладывают четыре раза в течение

, причем между каждым приложением усилия должен быть период разгрузки не менее 30 с.
1 - элемент крепления; 2 - застежка и элемент регулирования;
3 - встроенный удерживающий строп; L - длина стропа
Рисунок 5 - Пример испытания на статическую прочность
поясных ремней со встроенным стропом с устройством
регулирования длины
После пятого сброса нагрузки в 1 кН прикладывают усилие

в течение

. Любое перемещение и проскальзывание поясного ремня через элемент регулирования измеряют и записывают.
После сброса нагрузки между испытательным цилиндром и элементом крепления стропа прикладывают усилие

. Усилие поддерживают в течение

и наблюдают, высвобождает ли поясной ремень с удерживающим стропом цилиндр.
5.6.5 Испытание стропа для рабочего позиционирования и удерживающего стропа с устройством регулирования длины
Строп с устройством регулирования длины устанавливают в оборудование для испытания, как изображено на
рисунке 6. Необходимо убедиться, что устройство регулирования длины находится не менее чем в 300 мм от конца стропа. Между точкой анкерного крепления и соединительным элементом на конце стропа [см.
рисунок 6 a)] или, если это применимо, элементом крепления устройства регулирования длины [см.
рисунок 6 b)] прикладывается усилие

. Положение устройства регулирования длины маркируют, чтобы можно было измерить любое проскальзывание и перемещение. После сброса нагрузки указанное усилие прикладывают четыре раза в течение

, причем между каждым приложением усилия должен быть период разгрузки не менее 30 с.
1 - элемент крепления; 2 - устройство регулирования длины
Рисунок 6 - Примеры испытания на статическую прочность
стропов для рабочего позиционирования и удерживающих стропов
с устройством регулирования длины
После пятого сброса нагрузки в 1 кН прикладывают усилие

в течение

. Любое перемещение и проскальзывание стропа через устройство регулирования длины измеряют и записывают.
После сброса нагрузки строп сразу же должен быть отрегулирован на максимальную длину. Между анкерной точкой и элементом крепления устройства регулирования длины прикладывается усилие

. Усилие поддерживают в течение

и проверяют, выдерживает ли строп нагрузку.
5.7 Испытание на динамическую прочность
Оборудование для испытания на динамическую прочность поясных ремней и стропов должно соответствовать требованиям EN 364:1992 (пункты 4.2 и 4.4 - 4.6), при испытании используется испытательный манекен массой (100 +/- 1) кг.
5.7.2 Испытание поясного ремня
5.7.2.1 Для испытания на динамическую прочность поясного ремня применяют испытательный строп. Испытательный строп должен быть выполнен в соответствии с
рисунком 7. Испытательный строп должен быть изготовлен из альпинистской веревки диаметром 11 мм, соответствующей требованиям EN 892 для одинарных веревок и обеспечивающей пиковое усилие (9,0 +/- 1,5) кН при первом испытании. При нагрузке

(как показано на
рисунке 8) длина испытательного стропа, включая концевые петли с обоих концов, должна составлять

; длина каждой концевой петли, включая узел, не должна превышать 200 мм.
1 - узел булинь; 2 - петля концевого соединения;
3 - точка крепления/проушина; F - нагрузка, эквивалентная
(100 +/- 1) кг
Рисунок 8 - Испытательный строп
5.7.2.2 Поясной ремень прикрепляют к испытательному манекену. Один конец испытательного стропа (см.
5.7.2.1) подсоединяют к точке крепления поясного ремня, а второй с использованием соответствующих соединительных элементов к анкерной точке испытательного оборудования (см.
рисунок 9).
1 - элемент крепления поясного ремня; 2 - испытательный
манекен; 3 - соединительный элемент; 4 - испытательный
строп; 5 - устройство быстрого расцепления
Рисунок 9 - Испытание поясного ремня
на динамическую прочность
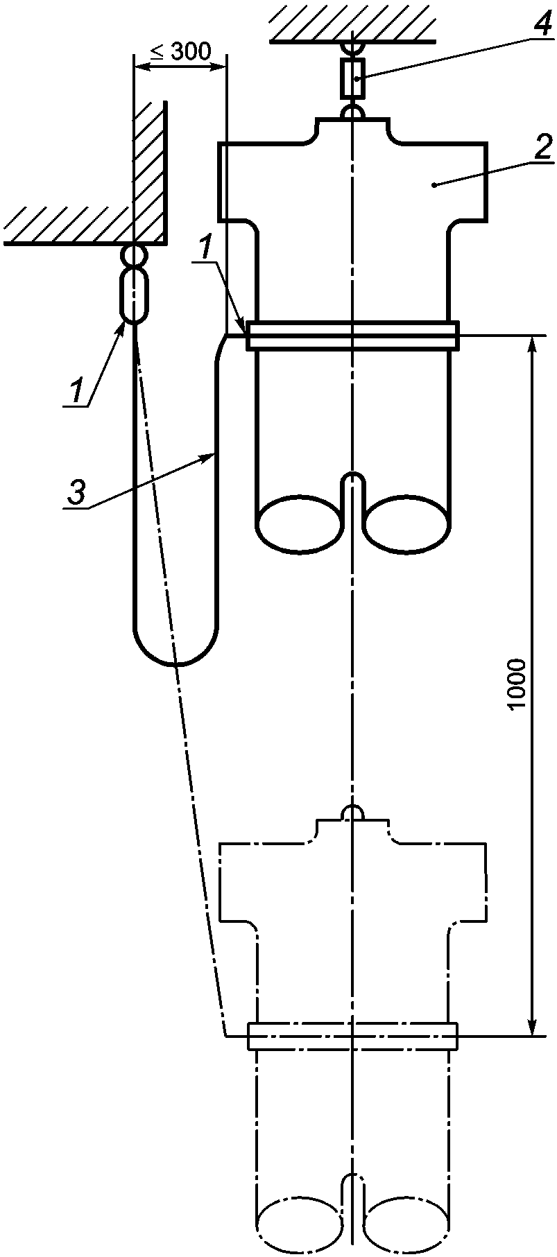
5.7.2.3 Верхняя точка крепления испытательного манекена соединена с устройством быстрого расцепления. Испытательный манекен подвешивают и располагают таким образом, чтобы испытательный строп находился под нагрузкой, а испытательный манекен оставался в вертикальном положении. Затем испытательный манекен поднимают на 1000 мм и располагают на расстоянии не более 300 мм от анкерной точки.
5.7.2.4 Отпускают манекен без начальной скорости. После падения поясной ремень должен удерживать испытательный манекен на некотором расстоянии от земли.
5.7.3 Испытание поясного ремня со встроенным стропом
5.7.3.1 Для испытания на динамическую прочность поясного ремня со встроенным стропом используют встроенный строп с минимальной длиной 1,3 м. Если длина встроенного стропа менее 1,3 м, то для испытания необходимо подготовить встроенный строп с минимальной длиной 1,3 м.
5.7.3.2 Поясной ремень надевают на манекен. При максимальной номинальной нагрузке на строп более 100 кг к нижней точке крепления испытательного манекена для достижения максимальной номинальной нагрузки с предельным отклонением +1% прикрепляют дополнительный жесткий груз. Встроенный строп крепят к анкерной точке испытательного оборудования (см.
рисунок 10).
1 - элемент крепления поясного ремня; 2 - испытательный
манекен; 3 - встроенный строп; 4 - устройство
быстрого расцепления
Рисунок 10 - Испытание на динамическую прочность
поясного ремня со встроенным стропом фиксированной длины
Если встроенный строп оснащен устройством регулирования длины, то, если это применимо, его помещают или устанавливают на расстоянии (300
+30) мм от конца стропа [см.
рисунки 11 a) и
11 b)]. Один конец встроенного стропа или, если это применимо, элемента крепления устройства регулирования длины прикрепляют к элементу крепления поясного ремня, а другой конец прикрепляют к анкерной точке испытательного оборудования.
1 - элемент крепления; 2 - испытательный манекен;
3 - встроенный строп; 4 - устройство быстрого расцепления;
5 - устройство регулирования длины
Рисунок 11 - Примеры испытания на динамическую прочность
поясных ремней со встроенным стропом с устройством
регулирования длины
5.7.3.3 Верхнюю точку крепления испытательного манекена соединяют с устройством быстрого расцепления. Манекен подвешивают и располагают таким образом, чтобы встроенный строп находился под нагрузкой, а испытательный манекен оставался в вертикальном положении. Затем испытательный манекен поднимают выше анкерной точки крепления на 1000 мм и располагают на расстоянии не более 300 мм от анкерной точки.
5.7.3.4 Отпускают манекен без начальной скорости. После падения поясной ремень должен удерживать испытательный манекен на некотором расстоянии от земли.
5.7.3.5 Если элементы крепления поясного ремня отличаются конструкцией или типом крепления к поясному ремню, то испытание повторяют для каждого отличающегося типа элемента крепления. Для испытания используют новый поясной ремень со встроенным стропом.
5.7.4 Испытание стропа с устройством регулирования длины
5.7.4.1 Для испытания на динамическую прочность стропа используют жесткий груз массой, соответствующей максимальной номинальной нагрузке, но не менее 100 кг.
5.7.4.2 Строп крепят к жесткому грузу массой, соответствующей максимальной номинальной нагрузке с предельным отклонением +1%, но не менее

. Один конец стропа или устройство регулирования длины, если это применимо, крепят к жесткому грузу, а другой конец - к анкерной точке испытательного оборудования. Необходимо убедиться, что устройство регулирования длины расположено или установлено, если это применимо, на расстоянии

от конца стропа [см.
рисунки 12 a) и
12 b)].
1 - соединительный элемент; 2 - жесткий груз; 3 - строп;
4 - устройство регулирования длины; 5 - устройство
быстрого расцепления
Рисунок 12 - Примеры испытания на динамическую прочность
стропа с устройством регулирования длины
5.7.4.3 Жесткий груз соединяют с устройством быстрого расцепления. Жесткий груз подвешивают и располагают таким образом, чтобы строп находился в натянутом состоянии. Затем груз поднимают на 1000 мм и располагают на расстоянии не более 300 мм от анкерной точки.
5.7.4.4 Груз отпускают без начальной скорости. После падения строп должен удерживать груз на некотором расстоянии от земли.
5.8 Испытание на коррозионную стойкость
Образцы поясного ремня и/или стропа испытывают в течение

воздействием нейтрального солевого тумана в соответствии с требованиями EN ISO 9227. Испытательные образцы сушат в течение

при температуре (20 +/- 2) °C. Процедуру повторяют таким образом, чтобы испытательные образцы полностью подвергались испытательному воздействию солевого тумана в течение

и сушке в течение

, затем еще одному дополнительному воздействию в течение

и заключительной сушке в течение

.
Испытательные образцы исследуют в течение 90 с после сушки и проверяют на наличие коррозии. При наличии признаков коррозии проводят функциональные испытания застежки, элемента регулирования и устройства регулирования длины.
Если необходим доступ к внутренним компонентам, то испытательные образцы разбирают и осматривают.
Маркировка на поясном ремне, стропе для рабочего позиционирования или удерживающем стропе должна соответствовать требованиям EN 365, а также содержать следующие сведения:
на стропе:
a) максимальная номинальная нагрузка, выраженная в килограммах;
b) максимальная длина стропа.
Примечание - Для удерживающих стропов фиксированной длины указывают длину стропа;
на поясном ремне:
c) диапазон регулирования размера, в сантиметрах;
на поясном ремне, предназначенном для удержания:
d) буква "R".
7 Информация, предоставляемая изготовителем
Информация, предоставляемая изготовителем, должна отвечать требованиям EN 365 и дополнительно содержать следующую информацию:
a) для поясного ремня диапазон регулирования размера в сантиметрах и указания, как его правильно надеть и достичь оптимальной подгонки;
b) о необходимости регулярной проверки застежки и/или элементов регулирования поясного ремня во время использования;
c) указание на допустимость применения поясного ремня для пользователей, масса которых вместе с инструментом и индивидуальным оборудованием не превышает 150 кг;
d) для поясного ремня идентификацию элементов крепления, правильный способ присоединения к ним и ясное и недвусмысленное указание на назначение каждого элемента крепления;
e) предупреждение о том, что оборудование не предназначено для остановки падения и что поясной ремень не следует использовать, если существует предвидимый риск, что пользователь может повиснуть в поясном ремне или подвергнуться непреднамеренной нагрузке от ремня;
f) что при использовании системы рабочего позиционирования пользователь обычно полагается на упор, обеспечиваемый оборудованием, поэтому необходимо предусмотреть независимые меры защиты, например, использование страховочной системы;
g) инструкцию о том, как позиционировать и/или регулировать строп для рабочего позиционирования таким образом, чтобы он был натянут;
h) предупреждение о том, что при использовании рабочего позиционирования для безопасности важна анкерная точка, которая находится на уровне пояса или выше.
(справочное)
СУЩЕСТВЕННЫЕ ТЕХНИЧЕСКИЕ ИЗМЕНЕНИЯ, ВНЕСЕННЫЕ В EN 358:2018
ПО СРАВНЕНИЮ С ПРЕДЫДУЩЕЙ ВЕРСИЕЙ EN 358:1999
Таблица A.1
Существенные технические изменения
Раздел/пункт/таблица/рисунок | Изменение |
Название | Изменено название на "Привязи и стропы для удержания и позиционирования" |
1 Область применения | Добавлено указание на исключение из области применения удерживающих стропов фиксированной длины, не встроенных напрямую в привязь |
2 Нормативные ссылки | Удалены ссылки на EN 137, EN 361, EN 354, EN 12277, актуализированы ссылки на EN 362, EN 365, EN ISO 9227 |
3 Термины и определения 3.3 Удерживающий строп 3.4 Привязь для удержания 3.7 Привязь для рабочего позиционирования 3.10 Максимальная номинальная нагрузка 3.11 Застежка 3.12 Элемент регулирования | Удалены определения "компонент" и "отдельная деталь", в связи с введением ссылки на EN 363, в котором определены эти термины. Изменено определение "стропа для рабочего позиционирования". Добавлены новые определения для терминов: "удерживающий строп", "привязь для удержания", "привязь для рабочего позиционирования", "максимальная номинальная нагрузка", "застежка" и "элемент регулирования" |
4 Требования | Изменена последовательность изложения для удобства пользования стандартом. Исключены требования в отношении: - минимальной ширины лямок привязи для рабочего позиционирования; - встроенных в страховочную привязь поясных ремней; - плечевых и ножных лямок; - длины стропа; - удерживающих стропов фиксированной длины, не встроенных в привязь; - термической сопротивляемости; - упаковки. Добавлены новые требования к: - дизайну привязи для рабочего позиционирования и положению элементов крепления; - застежкам поясного ремня для исключения непреднамеренного раскрытия; - застежкам с двумя или более кнопками; - динамической прочности стропов при максимальной номинальной нагрузке |
4.1.1 Поясные ремни 4.1.1.2, 4.1.1.4 | Изменена последовательность изложения для удобства пользования стандартом. Добавлены требования к опоре для спины и положению элементов крепления поясного ремня для рабочего позиционирования |
4.1.2 Застежки и элементы регулирования поясного ремня 4.1.2.3 Рисунок 1 - Пример конструкции застежек с кнопками 4.1.2.4, 4.1.2.5 | Изменена последовательность изложения для удобства пользования стандартом. Добавлены требования к застежкам и элементам регулирования со встроенным механизмом открывания. Добавлен рисунок 1. Добавлены требования к проскальзыванию через элементы регулирования поясных ремней и поясных ремней со встроенными стропами |
4.1.3 Стропы для рабочего позиционирования и удерживающие стропы 4.1.3.5 | Изменена последовательность изложения для удобства пользования стандартом. Добавлено требование для измерения длины удерживающего стропа фиксированной длины |
4.1.4 Устройство регулирования длины 4.1.4.4 | Изменена последовательность изложения для удобства пользования стандартом. Добавлены требования к проскальзыванию через приспособление для регулирования длины стропов и стропов, встроенных в поясной ремень |
4.2 Материалы 4.2.4, 4.2.5 | Добавлены требования к стропам из проволоки и цепям |
4.3 Соединительные элементы | Добавлены разделы EN 362 |
4.5 Динамическая прочность | Добавлены новая структура и объяснения требований к поясным ремням |
4.6 Коррозионная стойкость | Приведено описание допустимой коррозии |
5 Методы испытаний 5.1 Проверка дизайна и конструкции поясных ремней 5.2 Проверка дизайна и конструкции застежек и элементов регулирования Рисунок 2 - Пример проведения испытания застежек, которые могут открыться в результате нажатия на две кнопки под нагрузкой 5.3 Проверка дизайна и конструкции стропов для рабочего позиционирования и удерживающих стропов 5.4 Проверка дизайна и конструкции устройств регулирования длины 5.5 Проверка материалов | Изменена последовательность изложения для удобства пользования стандартом. Добавлены предельные отклонения. Добавлены новые способы проверки материалов, а также дизайна и конструкции поясных ремней, застежек и элементов регулирования, стропов и устройств для регулирования длины. Добавлен рисунок 2 |
5.6 Испытания на статическую прочность и проскальзывание 5.6.2 Испытание поясного ремня | Добавлен новый метод испытания на проскальзывание. |
Рисунок 3 - Пример испытания поясного ремня на статическую прочность | Изменен рисунок 3 |
5.6.3 Испытание поясного ремня со встроенным стропом с устройством регулирования длины | |
Рисунок 4 - Примеры испытания на статическую прочность поясных ремней со встроенным стропом и устройством регулирования длины | Изменен рисунок 4 a). Добавлен рисунок 4 b) |
5.6.4 Испытание поясного ремня со встроенным удерживающим стропом фиксированной длины | |
Рисунок 5 - Пример испытания на статическую прочность поясных ремней со встроенным стропом и устройством регулирования длины | Добавлен рисунок 5 |
5.6.5 Испытание стропа для рабочего позиционирования и удерживающего стропа с устройством регулирования длины | |
Рисунок 6 - Примеры испытания на статическую прочность стропов для рабочего позиционирования и удерживающих стропов с устройством регулирования длины | Изменен рисунок 6 a). Добавлен рисунок 6 b) |
5.7 Испытание на динамическую прочность 5.7.2 Испытание поясного ремня 5.7.2.1 Рисунок 7 - Узел булинь Рисунок 8 - Испытательный строп 5.7.2.2 | Изменена структура пунктов для более подробного описания методов. Введены новые испытания стропов на динамическую прочность с использованием максимальной номинальной нагрузки не менее 100 кг. Используется испытательный строп для лучшей сходимости результатов испытаний поясных ремней без встроенного стропа. Добавлены новые рисунки 7 и 8. Добавлен метод испытаний. |
Рисунок 9 - Испытание поясного ремня на динамическую прочность 5.7.3 Испытание поясного ремня со встроенным стропом | Добавлен рисунок 9. Добавлен новый метод испытаний. |
Рисунок 10 - Испытание на динамическую прочность поясного ремня со встроенным стропом фиксированной длины Рисунок 11 - Примеры испытания поясных ремней со встроенным стропом с устройством регулирования длины на динамическую прочность | Добавлены рисунки 10 и 11 |
5.7.4 Испытание стропа с устройством регулирования длины Рисунок 12 - Примеры испытания стропов с устройством регулирования длины на динамическую прочность | Добавлено отдельное испытание стропа с устройством регулирования длины без поясного ремня для лучшей сходимости результатов. Добавлен рисунок 12 |
5.8 Испытание на коррозионную стойкость | Изменен метод испытаний |
6 Маркировка | Изменена последовательность изложения в соответствии с общей структурой стандартов. Добавлено требование к маркировке максимальной номинальной нагрузки. Добавлено требование к маркировке размерного диапазона на поясном ремне. Добавлено требование к маркировке длины на встроенном удерживающем стропе фиксированной длины. Добавлено требование к маркировке буквой "R" поясного ремня, который используется только для удержания |
7 Информация, предоставляемая изготовителем | Изменена последовательность изложения раздела в соответствии с общей структурой стандартов. Удалены пункты e), h) - o) из-за дублирования стандарта EN 365. Добавлен пункт c) о включении веса оборудования в общий вес пользователя. Изменен пункт h) - удалены слова "свободное перемещение ограничено не более чем до 0,6 м" |
Приложение A | Добавлено справочное приложение A |
Приложение B | Добавлено справочное приложение B |
Приложение C | Добавлено справочное приложение C |
Приложение ZA | Переработано и актуализировано приложение ZA |
Приложение ZB | Переработано и актуализировано приложение ZB |
(справочное)
ОСОБЕННОСТИ ПЕРЕСМОТРА EN 358:2018
Данное приложение содержит пояснения важных моментов, рассматриваемых в данной редакции стандарта, и предназначено для предоставления справочной информации о применяемых принципах, которые составляют основу настоящего стандарта.
Таблица B.1
Пояснение изменений, возникших после пересмотра EN 358:1999
Раздел/пункт | Изменение |
1 Область применения | Удерживающие стропы фиксированной длины, не встроенные в привязь, были удалены, так как они рассматриваются в стандарте EN 354 |
4 Требования | Минимальная ширина лямок привязи для рабочего позиционирования удалена по эргономическим причинам. В соответствии с эргономическими и функциональными требованиями для рабочего позиционирования обычно требуется опора для спины. Удалены ножные и плечевые лямки для четкого различия между привязями для положения сидя, страховочными привязями и ремнями безопасности. Удалена ссылка на поясные ремни, встроенные в страховочную привязь, так как они не входят в область применения настоящего стандарта. Удалена ссылка на EN 354, так как этот стандарт касается только регулируемых стропов для рабочего позиционирования. Удалено ограничение длины стропа до 2 м. Ограничение длины не является обязательным для целей удержания или рабочего позиционирования. Удалено требование к допустимой термической сопротивляемости, так как это не входит в область применения настоящего стандарта. Метод испытаний в соответствии с EN 358:1999 недостаточен для проверки пригодности к использованию в условиях высокой температуры |
4.1.1 Поясные ремни 4.1.1.2 | Добавлены эргономические требования к положению элементов крепления поясного ремня для рабочего позиционирования, касающиеся типа крепления стропа |
4.1.2 Застежки и элементы регулирования поясного ремня 4.1.2.3 4.1.2.4, 4.1.2.5 | Для защиты элементов крепления и элементов регулирования от непреднамеренного приведения в действие или открывания были добавлены требования к дизайну и конструкции, касающиеся дизайна застежек и приведения в действие механизма открывания под нагрузкой. Для учета нагрузки во время использования было добавлено испытание проскальзывания через элементы регулирования под нагрузкой, при снятии нагрузки и при повторной нагрузке |
4.1.4 Устройство регулирования длины 4.1.4.4 | Для учета нагрузки во время использования было добавлено испытание проскальзывания через устройства регулирования длины под нагрузкой, при снятии нагрузки и при повторной нагрузке |
4.2 Материалы 4.2.4, 4.2.5 | Добавлены требования к стропам из проволоки и цепям |
4.3 Соединительные элементы | Исключен EN 362:2004, добавлен пункт 4.6, поскольку требования к маркировке и инструкции по применению являются важными для всей продукции |
5 Методы испытаний 5.1, 5.2, 5.3, 5.4, 5.5 | Добавлены новые исследования материалов, а также дизайна и конструкции поясных ремней, застежек и элементов регулирования, стропов и приспособлений для регулирования длины |
5.6 Испытания на статическую прочность и проскальзывание | Введен новый метод испытания на проскальзывание в связи с новыми требованиями к проскальзыванию. В связи с эргономическими требованиями и с целью соответствия требованиям EN 12841 нагрузка для испытания на проскальзывание стропов с устройствами для регулирования длины была уменьшена до 4 кН. Проскальзывание через элементы регулирования для поясных ремней измеряется при 5 кН |
5.7 Испытания на динамическую прочность | Более подробно, чем в предыдущем издании, объяснены методы испытаний, влияющие на сходимость результатов. Поскольку на эксплуатационные свойства стропа сильно влияет значение массы, была введена максимальная номинальная нагрузка, чтобы проверить поведение стропа при максимальной нагрузке, указанной изготовителем |
5.8 Коррозионная стойкость | Изменен метод испытания для соответствия другим стандартам |
7 Информация, предоставляемая изготовителем | Удален допуск свободного передвижения 0,6 м из-за концепции рабочего позиционирования, которая допускает свободное передвижение, но не свободное падение. Как правило, защита от падения не является целью использования поясного ремня. Поясной ремень может применяться пользователями, масса которых не превышает 150 кг. Это учитывается для статического испытания при 15 кН, что соответствует коэффициенту безопасности 10 |
(справочное)
ОБЗОР ТРЕБОВАНИЙ, КАСАЮЩИХСЯ КОНСТРУКЦИИ/КОНФИГУРАЦИИ
В настоящем приложении представлен обзор требований, касающихся конструкции и конфигурации поясных ремней и стропов, которые рассматриваются в настоящем стандарте.
Таблица C.1
Обзор конструкции/конфигурации и требований
к поясным ремням и стропам
Конфигурация | Конструкция/конфигурация/эргономика | Статическая прочность | Динамическая прочность |
Поясные ремни | | | | |
Застежка/элемент регулирования | | - | - |
Стропы для рабочего позиционирования и удерживающие стропы | | | - | - |
Устройство для регулирования длины | | | |
Поясные ремни со встроенным стропом | | | | |
Застежка/элемент регулирования | | - | - |
Устройство для регулирования длины | | - | - |
(справочное)
ВЗАИМОСВЯЗЬ EN 358:2018 С ОСНОВНЫМИ ТРЕБОВАНИЯМИ
ДИРЕКТИВЫ ЕС 89/686/ЕЭС <1>
--------------------------------
<1> Отменена после введения в действие
Регламента (ЕС) 2016/425/ЕС.
EN 358:2018 подготовлен на основании поручения М/031 (Средства индивидуальной защиты), выданного Европейской комиссией, для обеспечения добровольного выполнения основополагающих требований
Директивы 89/686/ЕЭС на средства индивидуальной защиты (СИЗ).
После опубликования сведений о EN 358:2018 в официальном журнале Европейского союза и в соответствии с
Директивой ЕС 89/686/ЕЭС соблюдение требований EN 358:2018, перечисленных в
таблице ZA.1, подразумевает презумпцию соответствия основополагающим требованиям упомянутой Директивы и связанным с ней правилам ЕАСТ в рамках сферы действия EN 358:2018.
Таблица ZA.1
Сопоставление требований EN 358:2018 и
Директивы
ЕС 89/686/ЕЭС на средства индивидуальной защиты
Основополагающие требования Директивы ЕС 89/686/ЕЭС | Разделы/подразделы EN 358:2018 | Пояснения/примечания |
| 4.1.1.1, 4.1.1.2, 4.1.1.3, 4.1.1.4, 4.1.1.5, 4.1.2.4 и 4.1.2.5 | |
1.2.1 Вредные и опасные и свойства СИЗ | 4.1.2.2 - 4.1.2.5, 4.1.3.1 и 4.1.3.3 | |
1.2.1.1 Подходящие исходные материалы | 4.2.1 | |
1.2.1.2 Соответствующее состояние поверхности каждой детали СИЗ, которая вступает в контакт с кожей пользователя | 4.1.1.3 и 4.1.4.1 | |
1.3.1 Подгонка средств индивидуальной защиты по фигуре пользователя | 4.1.1.1 | |
1.3.2 Легкость и прочность конструкции | 4.4, 4.5 и 4.6 | |
1.4 Информационная брошюра изготовителя | 4.7 | 4.7 относится к информации, требуемой в разделах 6 и 7 |
2.1 СИЗ с системой регулирования | 4.1.3.1, 4.1.3.2, 4.1.3.4, 4.1.3.5, 4.1.4.3 и 4.1.4.4 | |
2.4 СИЗ, подверженные старению | 4.6, 4.7 | 4.7 относится к разделу 7, в котором рассматривается основное требование посредством ссылки на EN 365 |
2.8 СИЗ для использования в экстремальных условиях | 4.7 | 4.7 относится к информации, требуемой в разделе 7 |
2.9 СИЗ с регулируемыми пользователем или съемными компонентами | 4.1.3.2, 4.1.3.4 и 4.7 | 4.7 относится к информации, требуемой в разделе 7 |
2.10 СИЗ, которые можно подключать к внешнему устройству | 4.1.3.4, 4.1.3.5 и 4.7 | 4.7 относится к информации, требуемой в разделе 7 |
2.12 СИЗ с одной или несколькими прямыми или косвенными маркировками или обозначениями, относящимися к здоровью и безопасности | 4.7 | 4.7 относится к информации, требуемой в разделах 6 и 7 |
3.1.2.2 Предотвращение падения с высоты | 4.4, 4.5, 4.6 и 4.7 | Соответствие этому основополагающему требованию может быть достигнуто только в том случае, если поясной ремень сочетается со стропом и надежным анкерным устройством (EN 795) и/или надежной строительной конструкцией |
ПРЕДУПРЕЖДЕНИЕ 1 - Презумпция соответствия действует до тех пор, пока ссылка на EN 358:2018 сохраняется в перечне, публикуемом в Официальном журнале Европейского союза. Пользователи EN 358:2018 должны регулярно проверять последние списки, публикуемые в Официальном журнале Европейского союза.
ПРЕДУПРЕЖДЕНИЕ 2 - На продукцию, входящую в область применения EN 358:2018, могут распространяться другие нормативные акты Европейского союза.
(справочное)
ВЗАИМОСВЯЗЬ EN 358:2018 С ОСНОВНЫМИ ТРЕБОВАНИЯМИ
РЕГЛАМЕНТА (ЕС) 2016/425
EN 358:2018 подготовлен на основании поручения, выданного Европейской комиссией, для обеспечения добровольного выполнения основополагающих требований
Регламента (ЕС) 2016/425 на средства индивидуальной защиты.
После опубликования сведений о EN 358:2018 в официальном журнале Европейского союза в соответствии с
Регламентом (ЕС) 2016/425 соблюдение требований EN 358:2018, перечисленных в
таблице ZB.1, в рамках сферы действия EN 358:2018 подразумевает презумпцию соответствия основополагающим требованиям
Регламента и связанным с ним правилам ЕАСТ в рамках сферы действия EN 358:2018.
Таблица ZB.1
Сопоставление требований EN 358:2018
и Регламента (ЕС) 2016/425
Основополагающие требования Регламента (ЕС) 2016/425 | Разделы/подразделы EN 358:2018 | Пояснения/примечания |
| 4.1.1.1, 4.1.1.2, 4.1.1.3, 4.1.1.4, 4.1.1.5, 4.1.2.4 и 4.1.2.5 | |
1.2.1 Отсутствие неотъемлемых рисков и других вредных свойств | 4.1.2.2 - 4.1.2.5, 4.1.3.1 и 4.1.3.3 | |
1.2.1.1 Подходящие исходные материалы | 4.2.1 | |
1.2.1.2 Соответствующее состояние поверхности каждой детали СИЗ, которая вступает в контакт с кожей пользователя | 4.1.1.3 и 4.1.4.1 | |
1.3.1 Подгонка средств индивидуальной защиты по фигуре пользователя | 4.1.1.1 | |
1.3.2 Легкость и прочность конструкции | 4.4, 4.5 и 4.6 | |
1.4 Инструкции и информация от изготовителя | 4.7 | 4.7 относится к информации, требуемой в разделах 6 и 7 |
2.1 СИЗ с системой регулирования | 4.1.3.1, 4.1.3.2, 4.1.3.4, 4.1.3.5, 4.1.4.3 и 4.1.4.4 | |
2.4 СИЗ, подверженные старению | 4.6, 4.7 | 4.7 относится к разделу 7, в котором рассматривается основное требование посредством ссылки на EN 365 |
2.8 СИЗ для использования в очень опасных условиях | 4.7 | 4.7 относится к информации, требуемой в разделе 7 |
2.9 СИЗ с регулируемыми пользователем или съемными компонентами | 4.1.3.2, 4.1.3.4 и 4.7 | 4.7 относится к информации, требуемой в разделе 7 |
2.10 СИЗ с подключением к дополнительному оборудованию, которое не является частью СИЗ | 4.1.3.4, 4.1.3.5 и 4.7 | 4.7 относится к информации, требуемой в разделе 7 |
2.12 СИЗ с одной или несколькими прямыми или косвенными идентификационными маркировками или обозначениями, относящимися к здоровью и безопасности | 4.7 | 4.7 относится к информации, требуемой в разделах 6 и 7 |
3.1.2.2 Предотвращение падения с высоты | 4.4, 4.5, 4.6 и 4.7 | Соответствие этому основополагающему требованию может быть достигнуто только в том случае, если поясной ремень сочетается со стропом и надежным анкерным устройством (EN 795) и/или надежной строительной конструкцией |
ПРЕДУПРЕЖДЕНИЕ 1 - Презумпция соответствия действует до тех пор, пока ссылка на EN 358:2018 сохраняется в перечне, публикуемом в Официальном журнале Европейского союза. Пользователи EN 358:2018 должны регулярно проверять последние списки, публикуемые в Официальном журнале Европейского союза.
ПРЕДУПРЕЖДЕНИЕ 2 - На продукцию, входящую в область применения EN 358:2018, могут распространяться другие нормативные акты Европейского союза.
(справочное)
СВЕДЕНИЯ О СООТВЕТСТВИИ ССЫЛОЧНЫХ ЕВРОПЕЙСКИХ
И МЕЖДУНАРОДНОГО СТАНДАРТОВ МЕЖГОСУДАРСТВЕННЫМ СТАНДАРТАМ
Таблица ДА.1
Обозначение ссылочного европейского, международного стандарта | Степень соответствия | Обозначение и наименование соответствующего межгосударственного стандарта |
EN 362:2004 | - | |
EN 363 | - | |
EN 364:1992 | - | |
EN 365 | - | |
EN 892 | - | |
EN ISO 9227 | MOD | ГОСТ 34388-2018 (ISO 9227:2012) "Трубы стальные. Метод испытаний коррозионной стойкости в соляном тумане" |
ISO 2232 | - | |
<*> Соответствующий межгосударственный стандарт отсутствует. До его принятия рекомендуется использовать перевод на русский язык данного европейского, международного стандарта. Примечание - В настоящей таблице использовано следующее условное обозначение степени соответствия стандарта: - MOD - модифицированный стандарт. |
--------------------------------
<1> В Российской Федерации действует
ГОСТ Р ЕН 362-2008 "Система стандартов безопасности труда. Средства индивидуальной защиты от падения с высоты. Соединительные элементы. Общие технические требования. Методы испытаний", идентичный европейскому стандарту EN 362:2004.
<2> В Российской Федерации действует
ГОСТ Р 58208-2018/EN 363:2008 "Система стандартов безопасности труда. Средства индивидуальной защиты от падения с высоты. Системы индивидуальной защиты от падения с высоты. Общие технические требования", идентичный европейскому стандарту EN 363:2008.
<3> В Российской Федерации действует
ГОСТ Р ЕН 365-2010 "Система стандартов безопасности труда. Средства индивидуальной защиты от падения с высоты. Основные требования к инструкции по применению, техническому обслуживанию, периодической проверке, ремонту, маркировке и упаковке", идентичный европейскому стандарту EN 365:2004.
[1] | EN 354, Personal fall protection equipment - Lanyards (Средства индивидуальной защиты от падения. Стропы) |
[2] | EN 12277, Mountaineering equipment - Harnesses - Safety requirements and test methods (Снаряжение для альпинистов. Привязные ремни. Требования техники безопасности и методы испытаний) |
УДК 614.895.1:006.354 | |
Ключевые слова: средства индивидуальной защиты от падения, привязи, стропы, рабочее позиционирование, удержание, устройство регулирования длины, требования, динамическая прочность, статическая прочность |