Главная // Актуальные документы // ГОСТ Р (Государственный стандарт)
СПРАВКА
Источник публикации
М.: Стандартинформ, 2009
Примечание к документу
Отдельные положения данного документа включены в Перечень стандартов, в результате применения которых на добровольной основе обеспечивается соблюдение требований технического регламента Таможенного союза "О безопасности средств индивидуальной защиты" (ТР ТС 019/2011) (Решение Комиссии Таможенного союза от 09.12.2011 N 878).

Документ введен в действие с 1 июля 2009 года.

Взамен ГОСТ Р 12.4.225-99.
Название документа
"ГОСТ Р ЕН 362-2008. Национальный стандарт Российской Федерации. Система стандартов безопасности труда. Средства индивидуальной защиты от падения с высоты. Соединительные элементы. Общие технические требования. Методы испытаний"
(утв. и введен в действие Приказом Ростехрегулирования от 18.12.2008 N 487-ст)

"ГОСТ Р ЕН 362-2008. Национальный стандарт Российской Федерации. Система стандартов безопасности труда. Средства индивидуальной защиты от падения с высоты. Соединительные элементы. Общие технические требования. Методы испытаний"
(утв. и введен в действие Приказом Ростехрегулирования от 18.12.2008 N 487-ст)


Содержание


Утвержден и введен в действие
Приказом Федерального
агентства по техническому
регулированию и метрологии
от 18 декабря 2008 г. N 487-ст
НАЦИОНАЛЬНЫЙ СТАНДАРТ РОССИЙСКОЙ ФЕДЕРАЦИИ
СИСТЕМА СТАНДАРТОВ БЕЗОПАСНОСТИ ТРУДА
СРЕДСТВА ИНДИВИДУАЛЬНОЙ ЗАЩИТЫ ОТ ПАДЕНИЯ С ВЫСОТЫ.
СОЕДИНИТЕЛЬНЫЕ ЭЛЕМЕНТЫ
ОБЩИЕ ТЕХНИЧЕСКИЕ ТРЕБОВАНИЯ. МЕТОДЫ ИСПЫТАНИЙ
Occupational safety standards system. Personal protective
equipment against falls from a height. Connectors.
General technical requirements. Test methods
EN 362:2004
Personal protective equipment against falls
from a height - Connectors
(IDT)
ГОСТ Р ЕН 362-2008
Группа Т58
ОКС 13.340.99;
ОКП 87 8680
Дата введения
1 июля 2009 года
Предисловие
Цели и принципы стандартизации в Российской Федерации установлены Федеральным законом от 27 декабря 2002 г. N 184-ФЗ "О техническом регулировании", а правила применения национальных стандартов Российской Федерации - ГОСТ Р 1.0-2004 "Стандартизация в Российской Федерации. Основные положения".
Сведения о стандарте
1. Подготовлен рабочей группой подкомитета ПК 7 Технического комитета по стандартизации средств индивидуальной защиты ТК 320 "СИЗ" на основе собственного аутентичного перевода стандарта, указанного в пункте 4.
2. Внесен Техническим комитетом по стандартизации средств индивидуальной защиты ТК 320 "СИЗ".
3. Утвержден и введен в действие Приказом Федерального агентства по техническому регулированию и метрологии от 18 декабря 2008 г. N 487-ст.
4. Настоящий стандарт идентичен европейскому стандарту ЕН 362:2004 "Индивидуальные средства защиты от падения с высоты. Соединительные элементы" (EN 362:2004 "Personal protective equipment against falls from a height - Connectors").
При применении настоящего стандарта рекомендуется использовать вместо ссылочных европейских стандартов соответствующие им национальные стандарты Российской Федерации, сведения о которых приведены в дополнительном Приложении Б.
Наименование настоящего стандарта изменено относительно европейского стандарта для приведения в соответствие с ГОСТ Р 1.5-2004 (пункт 3.5).
5. Взамен ГОСТ Р 12.4.225-99.
Информация об изменениях к настоящему стандарту публикуется в ежегодно издаваемом информационном указателе "Национальные стандарты", а текст изменений и поправок - в ежемесячно издаваемых информационных указателях "Национальные стандарты". В случае пересмотра (замены) или отмены настоящего стандарта соответствующее уведомление будет опубликовано в ежемесячно издаваемом информационном указателе "Национальные стандарты". Соответствующая информация, уведомление и тексты размещаются также в информационной системе общего пользования - на официальном сайте Федерального агентства по техническому регулированию и метрологии в сети Интернет.
1. Область применения
Настоящий стандарт устанавливает общие технические требования, методы испытаний, маркировку и информацию, предоставляемую изготовителем для соединительных элементов. Соединительные элементы, соответствующие настоящему стандарту, используют как соединительные элементы в системах индивидуальной защиты, т.е. в страховочных системах останова падения, рабочего позиционирования, веревочного доступа, системах удержания и спасения.
2. Нормативные ссылки
В настоящем стандарте использованы датированные и недатированные ссылки на международные и европейские стандарты. При датированных ссылках последующие редакции международных и европейских стандартов или изменения к ним действительны для настоящего стандарта только после введения изменений к настоящему стандарту или путем подготовки новой редакции настоящего стандарта. При недатированных ссылках действительно последнее издание приведенного стандарта (включая изменения).
ЕН 363:2002. Индивидуальные средства защиты от падения с высоты. Страховочные системы
ЕН 364:1992. Индивидуальные средства защиты от падения с высоты. Методы испытаний
ЕН 365. Индивидуальные средства защиты от падения с высоты. Основные требования к инструкции по применению, обслуживанию, ремонту, маркировке и упаковке
ЕН 20139:1992. Текстиль. Стандартные атмосферные условия для кондиционирования и испытаний (ИСО 139:1973)
ИСО 9227. Испытания на коррозию в искусственной атмосфере. Испытания в соляном тумане.
3. Термины и определения
В настоящем стандарте применены термины по ЕН 363 и следующие термины с соответствующими определениями:
3.1. Соединительный элемент (connector): открывающееся устройство для соединения компонентов, которое позволяет пользователю присоединять систему для того, чтобы связать себя прямо или косвенно с анкером.
Примечание. Допускается вместо термина "соединительный элемент" применять термин "карабин".
3.2. Соединительный элемент с самозакрывающимся запорным элементом (self-closing connector): самозакрывающийся соединительный элемент.
3.3. Базовый соединительный элемент (класс B) [basic connector (class B)]: самозакрывающийся соединительный элемент, предназначенный для использования в качестве компонента (см. рисунок 1).
Рисунок 1. Пример базового соединительного элемента
(класс B)
3.4. Универсальный соединительный элемент (класс M) (multi-use connector [class M]): базовый или винтовой связующий соединительный элемент, предназначенный для использования в качестве компонента, который может быть нагружен по большой и малой осям.
3.5. Конечный соединительный элемент (класс T) (termination connector [class T]): самозакрывающийся соединительный элемент, предназначенный для установки в качестве элемента подсистемы таким образом, чтобы нагрузка прикладывалась в предопределенном направлении (см. рисунок 2).
Рисунок 2. Пример конечных соединительных элементов
(класс T)
3.6. Анкерный соединительный элемент (класс A) (anchor connector [class A]): соединительный элемент, закрывающийся автоматически и предназначенный в качестве компонента для прямой связи со специальным типом анкера (см. рисунок 3).
Примечание. Примеры типов анкеров: рым-болт, труба или брус.
Рисунок 3. Пример анкерных соединительных элементов
(класс A)
3.7. Завинчивающийся соединительный элемент (класс Q) (screwlink connector [class Q]): соединительный элемент, предназначенный только для длительного или постоянного соединения, который закрывается винтовым запорным элементом.
Примечание. Запорный элемент является деталью соединительного элемента, несущей нагрузку, если он полностью завинчен вверх (см. рисунок 4).
Рисунок 4. Пример соединительного элемента
с резьбовым замыканием (класс Q)
3.8. Запорный элемент (gate): часть соединительного элемента, которая может быть сдвинута для его открывания.
Примечание. Запорный элемент, например, может двигаться, поворачиваясь вокруг шарнира (шарнирный запорный элемент), или скользить (скользящий запорный элемент) или быть с винтовым движением (винтовой запорный элемент).
3.9. Самозапирающийся запорный элемент (self-closing gate): запорный элемент, который движется автоматически в закрытое положение, когда освобожден из любого открытого положения.
3.10. Самофиксирующийся запорный элемент (self-locking gate): самозакрывающийся запорный элемент с функцией автоматического фиксирования.
3.11. Запорный элемент с ручным запиранием (manual-locking gate): самозакрывающийся запорный элемент с ручной фиксацией закрытого положения.
3.12. Фиксатор закрытого положения запорного элемента (gate-locking feature): механизм, который не допускает самопроизвольно открыться запорному механизму.
Примечание. Этот механизм может работать автоматически (в закрытом положении) или управляться вручную.
3.13. Раскрытие запорного механизма (gate opening): максимальный зазор для прохода элемента или компонента в соединительный элемент, который обеспечивает правильное функционирование фиксации запорного механизма (см. рисунок 5).
а - зазор
Рисунок 5. Пример зазора в запорном элементе
4. Общие технические требования
4.1. Общие положения
4.1.1. Соединительные элементы не должны иметь острых кромок или заусенцев, которые могут поранить пользователя или прорезать, истирать или как-либо иначе повреждать ткань или веревку.
4.1.2. Материалы, которые могут иметь контакт с кожей пользователя, не должны вызывать раздражения и повышенных чувствительных эффектов во время нормального использования соединительного элемента.
4.1.3. Соединительные элементы с запорным элементом должны иметь автоматическую или ручную функцию фиксации запорного элемента.
4.1.4. Соединительные элементы с самозапирающимся запорным элементом должны стопорить запорный элемент автоматически, когда запорный элемент закрывается, и требовать по крайней мере двух различных обдуманных ручных действий для открытия запорного элемента.
4.1.5. Соединительные элементы со стопорящимся вручную запорным элементом, за исключением соединительных элементов с резьбовым замыканием, должны требовать осознанного ручного действия для застопоривания запорного элемента и по крайней мере двух обдуманных ручных действий для открывания запорного элемента.
4.1.6. Соединительные элементы с резьбовым замыканием должны требовать по крайней мере четырех полных оборотов запорного механизма с резьбовым замыканием от полностью завинченного вверх положения до расцепления резьбы. Резьба не должна быть видна, когда запорный элемент закрыт.
4.1.7. Зазор а (раскрытие запорного элемента) должен быть определен в соответствии с 5.1.2 и проверен, что он не меньше, чем определено изготовителем.
4.2. Статическая прочность
При проведении испытаний в соответствии с 5.2 соединительные элементы должны выдерживать нагрузку, указанную в таблице 1, в течение 3 мин +/- 3 с. В конце испытания запорный элемент должен оставаться закрытым.
Таблица 1
Минимальная требуемая статическая прочность
для соединительных элементов
Наименование соединительного
элемента
Большая ось.
Запирающий
элемент
закрыт и не
зафиксирован,
кН
Большая ось.
Запирающий
элемент
закрыт и
зафиксирован,
кН
Малая ось.
Запирающий
элемент
закрыт, кН
Базовый соединительный элемент
(класс B)
15
20
7
Универсальный соединительный
элемент (класс M)
15
20
15
Конечный соединительный
элемент (класс T)
15
20
Не применяют
Анкерный соединительный
элемент (класс A)
15
20
Не применяют
Завинчивающийся соединительный
элемент (класс Q)
Не применяют
25
10
4.3. Функция запорного элемента
При проведении испытаний в соответствии с 5.3 с закрытым и зафиксированным запорным элементом соединительные элементы, за исключением анкерных соединительных элементов (класс A), после снятия приложенной нагрузки, равной 6 кН, должны сохранять способность открываться.
4.4. Прочность запорного элемента (за исключением соединительных элементов класса Q)
4.4.1. Лицевая сторона запорного элемента
После испытания с усилием (1 +/- 0,02) кН в соответствии с 5.4.1 функция запирания соединительных элементов все еще должна работать нормально.
Если механизм запирания соединительного элемента не охватывает корпус соединительного элемента (см. рисунки 2 б и 3), то запорный механизм должен выдерживать усилие (1 +/- 0,02) кН при отходе запорного элемента от замкнутого состояния не более 1 мм.
4.4.2. Боковая сторона запорного элемента
ИС МЕГАНОРМ: примечание.
В официальном тексте документа, видимо, допущена опечатка: рисунок 2 в отсутствует.
При испытании в соответствии с 5.4.2 соединительные элементы с механизмом запирания, который не охватывает корпус соединительного элемента (см. рисунки 2 в и 3), должны выдерживать усилие (1,5 +/- 0,03) кН без какого-либо частичного разрушения. После этого испытания механизм запирания - фиксации все еще должен работать правильно.
4.5. Сопротивление коррозии
При испытании в соответствии с 5.5 запорные механизмы соединительных элементов должны все еще функционировать в соответствии с 4.1.4. Признаки коррозии основного металла недопустимы. Наличие потускнения и белого налета является допустимым.
Примечание. Соответствие этому требованию не предполагает использование в морской среде.
4.6. Маркировка и информация
4.6.1. Маркировка соединительных элементов - в соответствии с разделом 6.
4.6.2. С соединительными элементами должна поставляться информация в соответствии с разделом 7.
5. Методы испытаний
5.1. Проверка конструкции
5.1.1. Общие положения
Для этих испытаний может быть использован один образец.
Проверяют визуальным осмотром и простыми проверочными измерениями, что соединительные элементы в соответствии с определениями в разделе 3 отвечают требованиям 4.1.1 - 4.1.7.
5.1.2. Проверка значения раскрытия запирающего элемента
Проверяют значение раскрытия запорного элемента с использованием калиброванного стержня, который имеет диаметр, соответствующий значению раскрытия запорного механизма, указанному в информации, предоставленной изготовителем (см. рисунок 5). Проводят стержень через зазор раскрытого запорного элемента и проверяют, что он позволяет осуществить правильное закрытие и фиксацию запорного элемента, а также свободное движение стержня внутри соединительного элемента.
5.2. Испытание на статическую прочность
5.2.1. Оборудование
Оборудование для испытания на статическую прочность является обычной разрывной машиной. Оборудование для измерения силы для статических испытаний должно соответствовать ЕН 364 (пункт 4.1.1). Если соединительный элемент содержит текстильные элементы, подвергаемые нагружению во время испытания, то скорость нагружения должна находиться в диапазоне от 50 до 200 мм/мин, или от 20 до 50 мм/мин - при их отсутствии.
5.2.2. Подготовка образцов для испытаний
a) Образцы для испытания, содержащие текстильные элементы, должны быть подготовлены в соответствии с ЕН 20139 при стандартной температуре атмосферы для испытаний и включать соответствующую подготовку (выдержку), указанную в разделе 3. Испытание на статическую прочность может быть выполнено вне кондиционированного помещения, но температура должна быть (23 +/- 5) °C, и испытания должны начаться в течение 5 мин после подготовки образцов.
b) Образцы для испытаний без текстильных элементов могут быть испытаны без кондиционирования.
c) Каждое испытание проводят на новом образце.
5.2.3. Метод
5.2.3.1. Испытание по большой оси
Устанавливают соединительный элемент в испытательную разрывную машину и прикладывают нагрузку с помощью двух стержней радиусом (6 +/- 0,1) мм, которые расположены перпендикулярно к большой оси. Важно, чтобы соединительный элемент был свободным для того, чтобы самоустанавливаться на стержнях в начале испытания и при приложении нагрузки. Стержни должны быть хорошо покрыты смазкой на основе молибдена в местах, в которых они входят в контакт с металлической частью испытуемого образца.
Если соединительный элемент испытывают на испытательной машине с горизонтальной осью, то соединительный элемент должен располагаться вертикально так, чтобы запорный элемент располагался ниже уровня большой оси.
Если соединительный элемент испытывают на испытательной машине с вертикальной осью, то прикладывают небольшое усилие к соединительному элементу под прямыми углами к направлению нагрузки для того, чтобы отклонить запорный элемент от стержней в начальный момент. Усилие отклонения должно быть приблизительно равно гравитационной массе соединительного элемента.
Прикладывают требуемое минимальное усилие в соответствии с таблицей 1 или усилие в соответствии с требованиями изготовителя, если они выше; следят, чтобы требование 4.2 или изготовителя выполнялись.
Если соединительный элемент имеет встроенный строп, который предназначен для непосредственного нагружения, прикладывают усилие к стропу с помощью стержня радиусом (5 +/- 0,1) мм.
Примечание. Если строп повреждается на стержне, испытание не засчитывают.
5.2.3.2. Испытание по малой оси
Устанавливают соединительный элемент в разрывную машину, зажав или зафиксировав его таким образом, чтобы центральная линия запорного элемента была перпендикулярна к направлению нагрузки, лежащей в плоскости соединительного элемента. Примеры направления приложения нагрузки показаны на рисунке 6.
Рисунок 6. Испытания по малой оси
Испытания по малой оси выполняют в соответствии с 5.2.3.1, при этом стержни нагружения должны иметь радиус (5 +/- 0,1) мм и не должны быть покрыты консистентной смазкой.
Для того, чтобы избежать перемещения нагружающих стержней во время испытания, могут быть сделаны канавки в корпусе, запорном элементе и/или фиксаторе запорного элемента достаточной глубины, чтобы обеспечить требуемое положение нагружающих стержней (в соответствии с рисунком 6). Эти канавки не должны впоследствии стать причиной разрушения. Альтернативно могут быть использованы зажимы для того, чтобы обеспечить фиксацию стержней.
Соединительные элементы, имеющие управляемые вручную фиксаторы запорного элемента, следует испытывать в незафиксированном положении. Если это неосуществимо, фиксатор запорного элемента может быть удален.
Прикладывают требуемое минимальное усилие в соответствии с таблицей 1 или в соответствии с требованиями изготовителя, если они выше; следят, чтобы требования 4.2 или требования изготовителя выполнялись.
5.3. Испытания функционирования запорного устройства
Это испытание проводят на новом образце.
К соединительному элементу, установленному в разрывной машине, прикладывают указанное усилие вдоль большой оси на период (10 +/- 1) с. Снимают нагрузку и проверяют, что запорный элемент открывается должным образом.
5.4. Испытание сопротивляемости запорного элемента
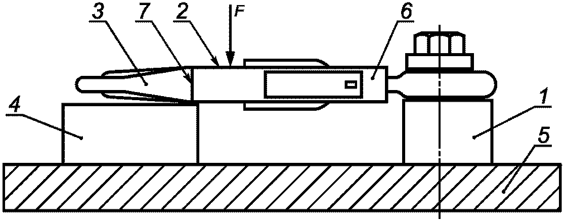
5.4.1. Лицевая сторона запорного элемента
Каждое испытание проводят на новом образце.
Устанавливают соединительный элемент в зажимное приспособление запорным элементом вверх так, чтобы указанное усилие было приложено перпендикулярно к направлению, в котором запорный элемент открывается. С помощью жесткого стержня (см. рисунок 7) прикладывают указанное усилие в течение (90 +/- 1) с к запорному элементу в точке, наиболее близкой к носовой части, насколько это возможно. Скорость нагружения должна быть от 50 до 150 Н/с. В случае, если это требуется в соответствии с 4.4.1, после (60 +/- 1) с и со все еще приложенным усилием проверяют и измеряют появившийся зазор между запорным элементом и записывают его.
1 - зажимное приспособление; 2 - запорный элемент;
3 - нагрузка (жесткий стержень); 4 - соединительный
элемент; 5 - опорный блок (альтернативно круглый
стержень в проушине); 6 - носовая часть;
7 - испытательный стенд
Рисунок 7. Пример испытания сопротивляемости
лицевой стороны запорного элемента
Как альтернатива опорному блоку может быть использован, например, круглый стержень, вставленный в проушину.
5.4.2. Скользящий запорный элемент
Устанавливают соединительный элемент в зажимное приспособление боковой стороной вверх так, чтобы указанное усилие было приложено в направлении, перпендикулярном по отношению к запорному элементу, как показано на рисунке 8. Зажимное приспособление должно находиться настолько близко, насколько это возможно, к концам запорного элемента, не препятствуя его функционированию. С помощью жесткого стержня (на рисунке 8 не показан, см. рисунок 7) прикладывают указанное усилие в течение (60 +/- 1) с к запорному элементу в точке, наиболее близкой к носовой части, насколько это возможно. Скорость изменения нагрузки - от 50 до 150 Н/с.
1 - зажимное приспособление; 2 - запорный элемент;
3 - соединительный элемент; 4 - опорный блок (призма);
5 - испытательный стенд; 6 - шарнир; 7 - носовая часть
Рисунок 8. Испытание сопротивляемости запорного элемента
боковому нагружению
5.5. Испытание коррозионной стойкости
Испытание проводят на новом образце.
Подвергают соединительный элемент воздействию распыленной солевой жидкости в соответствии с ИСО 9227 с начальным воздействием в течение 24 ч, последующей сушкой в течение часа и следующим дополнительным воздействием в течение 24 ч. Проверяют, что требования 4.5 выполнены.
6. Маркировка
Маркировка на соединительном элементе должна соответствовать ЕН 365, и любой текст должен быть на языке страны назначения. Кроме соответствия ЕН 365 маркировка должна включать в себя следующее:
a) идентификационный знак модели/типа соединительного элемента;
b) номер документа и букву класса, например ГОСТ Р ЕН 362-2008/А;
c) если максимальная прочность, требуемая изготовителем, для большой оси маркируется на соединительном элементе, то маркировка должна быть указана для закрытого и зафиксированного положения в соответствии с рисунком 9.
Маркированная прочность должна быть целым числом в килоньютонах.
Рисунок 9. Пример маркировки прочности по главной оси
при закрытом и зафиксированном запорном элементе
7. Информация, сообщаемая изготовителем
Если соединительный элемент является компонентом, то он должен быть сопровожден информацией, предоставляемой изготовителем.
Изготовитель, который встраивает соединительный элемент в другой компонент, например в строп, амортизатор или страховочную систему останова падения, должен адаптировать информацию, предоставляемую изготовителем соединительного элемента.
Информация, предоставленная изготовителем, должна быть на языке(ах) страны назначения. Она должна соответствовать требованиям ЕН 365 и дополнительно должна включать в себя:
a) информацию о специальных условиях, при которых соединительный элемент может быть использован;
b) рекомендацию для соединительных элементов с самозакрывающимся и вручную фиксируемым запорным элементом о том, что они могут быть использованы только в случае, если пользователь не должен присоединять и отсоединять соединительный элемент часто, т.е. много раз во время рабочего дня;
c) рекомендации о том, что следует уделять внимание тому, чтобы не нагружать соединительный элемент поперек запорного элемента;
d) информацию о том, что соединительные элементы с резьбовым замыканием (класс Q) должны быть использованы только тогда, когда соединения являются редкими (нечастыми);
e) информацию о том, что соединительные элементы с резьбовым замыканием (класс Q) безопасны для использования только тогда, когда двигаемый резьбой запорный элемент полностью закрыт, и как пользователь может это проверить;
f) перечень материалов, из которых сделан соединительный элемент;
g) номер настоящего стандарта и букву класса, например ГОСТ Р ЕН 362-2008/А;
h) значение раскрытия запорного элемента "a";
i) информацию о том, что длину соединительного элемента следует учитывать, когда его используют в системе останова падения, так как она будет влиять на длину падения;
j) предупреждение о ситуациях, которые могут снизить прочность соединительного элемента, например соединение с широкими ремнями.
Приложение ZA
(справочное)
СВЯЗЬ МЕЖДУ НАСТОЯЩИМ СТАНДАРТОМ
И СУЩЕСТВЕННЫМИ ТРЕБОВАНИЯМИ ДИРЕКТИВЫ 89/686/EEC
ЕВРОПЕЙСКОГО СТАНДАРТА
Настоящий стандарт соответствует существенным требованиям директивы 89/686/EEC.
ВНИМАНИЕ: другие требования и директивы Евросоюза могут быть применены к продукции, соответствующей данному стандарту.
Следующие разделы стандарта соответствуют требованиям директивы 89/686/EEC, приложение II:
Таблица ZA.1
Соответствие между настоящим стандартом
и Директивой 89/686/EEC
Номер
пункта
и раздела
настоящего
стандарта
Сущест-
венное
требование
Директивы
89/686/EEC
Оценочное замечание/примечание
1.3.2
Незначительная масса и прочность конструкции
3.1.2.2
Предотвращение падений с высоты
1.2.1
Отсутствие рисков и других "неприятных присущих
факторов"
1.2.1.2
Удовлетворительное состояние поверхности
всех деталей СИЗ, находящихся в контакте
с пользователем
1.2.1.1
Подходящие составляющие материалы
1.2.1
Отсутствие рисков и других "неприятных присущих
факторов"
2.1
СИЗ, включающее регулируемые системы
2.1
СИЗ, включающее регулируемые системы
2.1
СИЗ, включающее регулируемые системы
1.2.1
Отсутствие рисков и других "неприятных присущих
факторов"
1.3.2
Незначительная масса и прочность конструкции
2.12
СИЗ с одним или несколькими идентификационными
знаками, прямо или косвенно относящимися
к здоровью и безопасности
1.4
Информация, поставляемая изготовителем
Предупреждение - Другие требования и другие Директивы Европейского союза могут быть применимы к продукции, попадающей в область действия настоящего стандарта.
Приложение Б
(обязательное)
СВЕДЕНИЯ О СООТВЕТСТВИИ НАЦИОНАЛЬНЫХ СТАНДАРТОВ
РОССИЙСКОЙ ФЕДЕРАЦИИ ССЫЛОЧНЫМ МЕЖДУНАРОДНЫМ
И ЕВРОПЕЙСКИМ СТАНДАРТАМ
Таблица Б.1
Обозначение ссылочного
международного и
европейского стандарта
Обозначение и наименование соответствующего
национального стандарта
ЕН 363
ГОСТ Р ЕН 363-2007. Система стандартов
безопасности труда. Средства индивидуальной защиты
от падения с высоты. Страховочные системы. Общие
технические требования
ЕН 364-1992
ГОСТ Р 12.4.206-99. Система стандартов
безопасности труда. Средства индивидуальной защиты
от падения с высоты. Методы испытаний
ЕН 365
<*>
ЕН 20139-1992
<*>
ИСО 9227
<*>
<*> Соответствующий национальный стандарт отсутствует. До его
утверждения рекомендуется использовать перевод на русский язык
английской версии данного стандарта. Перевод английской версии данного
стандарта находится в Федеральном информационном фонде технических
регламентов и стандартов.