Главная // Актуальные документы // ГОСТ Р (Государственный стандарт)
СПРАВКА
Источник публикации
М.: ФГБУ "РСТ", 2022
Примечание к документу
Документ введен в действие с 01.11.2022.
Название документа
"ГОСТ Р 70166-2022. Национальный стандарт Российской Федерации. Сети электрические бортовые летательных аппаратов. Требования к электрическим жгутам"
(утв. и введен в действие Приказом Росстандарта от 21.06.2022 N 504-ст)


"ГОСТ Р 70166-2022. Национальный стандарт Российской Федерации. Сети электрические бортовые летательных аппаратов. Требования к электрическим жгутам"
(утв. и введен в действие Приказом Росстандарта от 21.06.2022 N 504-ст)


Содержание


Утвержден и введен в действие
Приказом Федерального агентства
по техническому регулированию
и метрологии
от 21 июня 2022 г. N 504-ст
НАЦИОНАЛЬНЫЙ СТАНДАРТ РОССИЙСКОЙ ФЕДЕРАЦИИ
СЕТИ ЭЛЕКТРИЧЕСКИЕ БОРТОВЫЕ ЛЕТАТЕЛЬНЫХ АППАРАТОВ
ТРЕБОВАНИЯ К ЭЛЕКТРИЧЕСКИМ ЖГУТАМ
Aircraft electrical networks.
Requirements for electrical harnesses
ГОСТ Р 70166-2022
ОКС 29.240
Дата введения
1 ноября 2022 года
Предисловие
1 РАЗРАБОТАН Акционерным обществом "Опытно-конструкторское бюро "Аэрокосмические системы" (АО "ОКБ "Аэрокосмические системы")
2 ВНЕСЕН Техническим комитетом по стандартизации ТК 323 "Авиационная техника"
3 УТВЕРЖДЕН И ВВЕДЕН В ДЕЙСТВИЕ Приказом Федерального агентства по техническому регулированию и метрологии от 21 июня 2022 г. N 504-ст
4 ВВЕДЕН ВПЕРВЫЕ
Правила применения настоящего стандарта установлены в статье 26 Федерального закона от 29 июня 2015 г. N 162-ФЗ "О стандартизации в Российской Федерации". Информация об изменениях к настоящему стандарту публикуется в ежегодном (по состоянию на 1 января текущего года) информационном указателе "Национальные стандарты", а официальный текст изменений и поправок - в ежемесячном информационном указателе "Национальные стандарты". В случае пересмотра (замены) или отмены настоящего стандарта соответствующее уведомление будет опубликовано в ближайшем выпуске ежемесячного информационного указателя "Национальные стандарты". Соответствующая информация, уведомление и тексты размещаются также в информационной системе общего пользования - на официальном сайте Федерального агентства по техническому регулированию и метрологии в сети Интернет (www.rst.gov.ru)
1 Область применения
Настоящий стандарт устанавливает требования к разработке, размещению и защите от повреждений электрических жгутов (далее - жгутов), волоконно-оптических и коаксиальных кабелей на летательных аппаратах.
2 Нормативные ссылки
В настоящем стандарте использованы нормативные ссылки на следующие стандарты:
ГОСТ 6456 Шкурка шлифовальная бумажная. Технические условия
ГОСТ 9805 Спирт изопропиловый. Технические условия
ГОСТ 18143 Проволока из высоколегированной коррозионностойкой и жаростойкой стали. Технические условия
ГОСТ 19323 Колпачки резиновые защитные. Конструкция и размеры
ГОСТ 23367 Винилискожа обивочная. Общие технические условия
ГОСТ Р 55878 Спирт этиловый технический гидролизный ректификованный. Технические условия
ГОСТ Р 58516 Кисти и щетки малярные. Технические условия
ГОСТ Р 59820 Маркировка проводов, жгутов, кабелей, соединителей, модульных колодок, агрегатов и элементов системы электроснабжения самолетов и вертолетов
Примечание - При пользовании настоящим стандартом целесообразно проверить действие ссылочных стандартов в информационной системе общего пользования - на официальном сайте Федерального агентства по техническому регулированию и метрологии в сети Интернет или по ежегодному информационному указателю "Национальные стандарты", который опубликован по состоянию на 1 января текущего года, и по выпускам ежемесячного информационного указателя "Национальные стандарты" за текущий год. Если заменен ссылочный стандарт, на который дана недатированная ссылка, то рекомендуется использовать действующую версию этого стандарта с учетом всех внесенных в данную версию изменений. Если заменен ссылочный стандарт, на который дана датированная ссылка, то рекомендуется использовать версию этого стандарта с указанным выше годом утверждения (принятия). Если после утверждения настоящего стандарта в ссылочный стандарт, на который дана датированная ссылка, внесено изменение, затрагивающее положение, на которое дана ссылка, то это положение рекомендуется применять без учета данного изменения. Если ссылочный стандарт отменен без замены, то положение, в котором дана ссылка на него, рекомендуется применять в части, не затрагивающей эту ссылку.
3 Сокращения
В настоящем стандарте применены следующие сокращения:
БКС - бортовая кабельная сеть;
БО - бортовое оборудование;
КД - конструкторская документация;
ЛА - летательный аппарат;
НТД - нормативно-техническая документация;
ООШ - основные опоры шасси;
ПОШ - передняя опора шасси;
ЭМС - электромагнитная совместимость;
AWG (American Wire Gauge) - американская система калибров проводов.
4 Обозначения
В настоящем стандарте применены следующие обозначения:
A - расстояние между хомутами крепления жгутов;
B - величина зазора между жгутом и трубопроводом системы;
D - диаметр крепежных деталей;
d - диаметр жгута;
h - величина провисания жгута;
r - радиус изгиба жгута.
5 Указания по размещению проводов на борту ЛА с учетом ЭМС и физического разделения каналов систем
5.1 Настоящий стандарт предусматривает разбивку проводов на группы; расстояния между группами проводов - в соответствии с таблицей 1.
Примечание - Допускается объединение в одном жгуте проводов однородных групп различных комплексов радиоэлектронного оборудования, а также объединение в одном жгуте проводов двух смежных групп одного комплекса радиоэлектронного оборудования.
Таблица 1
Группа
Назначение проводов в группе
Расстояние между группами проводов, мм, не менее
1
2
3
4
5
1
Электропитание переменного тока
-
150
75
300
375
2
Электропитание постоянного тока
150
-
75
150
225
3
Управление и автоматика с разовыми сигналами напряжением 12 - 28 В по проводам с низкоомной нагрузкой
75
75
-
75
150
4
Аналоговые и кодовые сигналы низкого уровня напряжения (до 12 В) по экранированным однопроводным цепям с низкоомной нагрузкой
300
150
75
-
75
5
Низкочастотные и высокочастотные сигналы низкого уровня напряжения (до 1 В) по высокочастотным кабелям и экранированным однопроводным и двухпроводным цепям с высокоомной нагрузкой
375
225
150
75
-
5.2 Высокочастотные фидеры и экранированные жгуты питания передатчиков должны быть размещены на расстоянии не менее 500 мм от всех групп проводов таблицы 1.
5.3 Жгуты (провода) силовых электрических систем должны быть размещены на расстоянии не менее 20 мм от остальных жгутов.
Примечание - В случае невозможности выполнения требований по 5.2, 5.3 из-за затесненности монтажа в технически обоснованных случаях зазоры допускается уменьшать в соответствии с КД.
5.4 Силовые жгуты электрических систем переменного и постоянного тока необходимо устанавливать раздельно.
5.5 Допускается в технически обоснованных случаях совместная установка жгутов на кратчайших расстояниях, как правило не более 1 м, при переходе через отверстия в перегородках из негерметичных зон в герметичные, например из фюзеляжа в кабину, крыло, ниши опор стоек шасси и тому подобные, при этом необходимо применять меры исключения взаимного влияния электрических полей.
5.6 Пересечения несовпадающих по группе проводов выполняют под прямым углом и на как можно большем расстоянии друг от друга.
5.7 Информационные цепи комплексов радиоэлектронного оборудования (цепи датчиков, индикаторов, пультов управления и т.д.) устанавливают витой парой.
5.8 Разбивку групп проводов по жгутам выполняют с учетом физического разделения (резервирования) каналов систем.
5.9 Жгуты от дублированных агрегатов необходимо прокладывать отдельными трассами на разных бортах.
5.10 Провода и кабели от двух и более источников питания не должны находиться в одном жгуте.
5.11 Размещать жгуты на ЛА следует в соответствии с требованиями по обеспечению работоспособности БКС в ожидаемых условиях эксплуатации и с учетом требований по минимизации риска при нелокализованном разрушении двигателей и колес ПОШ, ООШ.
6 Требования по подготовке ЛА к установке жгутов
6.1 Подготовку ЛА к установке жгутов следует выполнять в соответствии с требованиями настоящего стандарта.
6.2 До начала установки электрических жгутов, волоконно-оптических и коаксиальных кабелей должно быть выполнено заземление корпуса ЛА.
6.3 Установку жгутов, волоконно-оптических и коаксиальных кабелей следует выполнять только при отсутствии электропитания на ЛА.
6.4 Установку жгутов, волоконно-оптических и коаксиальных кабелей на ЛА выполняют после окончания всех сверлильно-клепальных работ на борту ЛА.
6.5 На борту ЛА не допускается наличие стружки, отходов, лишнего оборудования, инструментов и других не несущих функциональной нагрузки предметов, способных повредить электрические системы вследствие короткого замыкания, а также истирания или повреждения изоляции жгутов, волоконно-оптических и коаксиальных кабелей.
6.6 Запрещается использовать струю сжатого воздуха для удаления пыли, отходов материалов и стружки.
7 Требования к жгутам, волоконно-оптическим и коаксиальным кабелям и их установке на борту ЛА
7.1 Жгуты разрабатывают на основе электрических схем соединений, компоновки оборудования, макетов жгутов и в соответствии с требованиями настоящего стандарта.
7.2 При разработке смешанных жгутов, состоящих из неэкранированных проводов и экранированных без защитной оболочки, должна быть предусмотрена защита от возможного повреждения изоляции проводов от истирания в местах разветвления жгутов.
7.3 Для разрабатываемых жгутов ЛА следует применять провода с медной жилой площадью сечения 0,35 мм2 и более или провода с упрочненной жилой площадью сечения 0,20 мм2 и более.
7.4 Провода с медной жилой площадью сечения 0,35 мм2 и провода с упрочненной жилой площадью сечения 0,20 мм2 необходимо применять только в жгуте, состоящем не менее чем из трех проводов. В жгуте, составленном из трех проводов, не допускается более одного провода с медной жилой площадью сечения 0,35 мм2 или одного провода с упрочненной жилой площадью сечения 0,20 мм2. В жгуте, составленном из пяти проводов, не допускается более двух проводов с медной жилой площадью сечения 0,35 мм2 или двух проводов с упрочненной жилой площадью сечения 0,20 мм2. В жгуте, составленном из шести и более проводов, количество проводов с медной жилой площадью сечения 0,35 мм2 и с упрочненной жилой площадью сечения 0,20 мм2 не ограничивается.
7.5 Для ответственных цепей БКС в жгуте должна быть предусмотрена закладка запасных проводов. Необходимость закладки запасных проводов, количество, сечение и длину отрезков проводов определяют разработчик и заказчик на этапе разработки КД и уточняют при проведении испытаний ЛА.
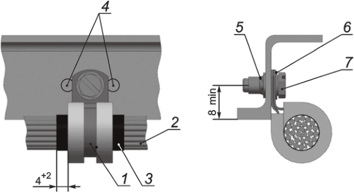
7.6 Жгуты БКС необходимо выполнять только целыми проводами. Соединение проводов с помощью муфт сращивания в жгутах определяют разработчик ЛА и заказчик на этапе разработки КД. Места установки муфт сращивания указывают в КД, обозначают на ЛА бирками или другим способом, позволяющим однозначно идентифицировать муфты сращивания на изделии, и располагают в шахматном порядке (рисунок 1) на прямолинейном участке между элементами крепления в зонах, легко доступных для обслуживания.
1 - жгут; 2 - хомут; 3 - шайба; 4 - винт (болт); 5 - муфта
сращивания; 6 - кабельная стяжка (бандаж)
Рисунок 1
7.7 Для разветвления цепей допускается применять клеммные колодки, модули размножения (рисунок 2) и аналогичные по функционалу изделия - в соответствии с КД.
1 - направляющая; 2 - модуль размножения; 3 - винт;
4 - шайба; 5 - кронштейн; 6 - заклепка; 7 - часть каркаса ЛА
Рисунок 2
7.8 Монтаж жгутов, волоконно-оптических и коаксиальных кабелей на ЛА должен соответствовать следующим требованиям:
- безопасность в эксплуатации;
- удобство обслуживания, демонтажа и замены проводки;
- экономичность производства ЛА.
7.9 При разработке и установке жгутов и кабелей необходимо обеспечить:
- максимальную надежность;
- минимальные помехи, связанные с взаимодействием систем;
- удобство проведения контроля и технического обслуживания;
- предотвращение повреждений.
7.10 На борту ЛА не допускается использование установленных жгутов, волоконно-оптических и коаксиальных кабелей в качестве опоры персоналом, а также для крепления оборудования и инструмента.
7.11 Установка на борту ЛА и транспортировка волоконно-оптических кабелей должны исключать:
- смятие, перекручивание и растяжение кабелей;
- осевые, поперечные и крутящие нагрузки на кабели и соединители;
- затрагивание волоконно-оптических кабелей при демонтаже оборудования.
7.12 Крепления волоконно-оптических и коаксиальных кабелей должны соответствовать следующим требованиям:
- крепление должно надежно фиксировать кабель, исключая его продергивание;
- усилие сжатия крепления не должно превышать максимально допустимого значения механического воздействия на кабель;
- крепление не должно деформировать кабели, ухудшая тем самым их эксплуатационные характеристики.
7.13 Для монтажа жгутов БКС необходимо применять материалы:
- металлические - коррозионно-стойкие или имеющие защитные антикоррозионные покрытия;
- неметаллические - влагоустойчивые, грибоустойчивые, не выделяющие токсичных газов (в интервале рабочих температур), устойчивые к среде, в которой будут эксплуатироваться.
7.14 В жгутах распределение проводов в электрические соединители (в дальнейшем изложении - соединители) должно быть таким, чтобы провода наиболее важных систем устанавливали через отдельные (только для данной системы) соединители.
7.15 В целях удобства монтажа жгутов и лучшей ремонтопригодности жгуты должны иметь диаметры, не превышающие:
- 40 мм - для одиночного жгута;
- 70 мм - для группы жгутов (трассы).
В технически обоснованных случаях на отдельных участках допускается увеличение диаметра трасс жгутов до 100 мм или применение плоскостной раскладки жгутов.
7.16 Жгуты и провода в жгутах должны быть установлены и закреплены так, чтобы была обеспечена:
- невозможность механического повреждения проводов при эксплуатации, доступность для осмотра и обслуживания;
- возможность ремонта БКС заменой целых жгутов или отдельных проводов без расстыковки ЛА в условиях эксплуатации и, как правило, без демонтажа его агрегатов.
7.17 Не рекомендуется установка жгутов в местах возможного скопления влаги.
7.18 Для исключения истирания изоляции проводов двух пересекающихся жгутов один или оба жгута необходимо защитить в месте пересечения при помощи изоляционной ленты, трубки, ткани или другим способом, обеспечивающим защиту от истирания изоляции в соответствии с КД, а место пересечения надежно бандажировать (рисунок 3).
1 - жгут; 2 - бандаж; 3 - материал фиксации; 4 - защитный
материал
Рисунок 3
7.19 В местах крепления жгуты должны быть стянуты защитным материалом и плотно обжаты для исключения закусывания проводов и возможности продергивания.
7.20 Расстояние от краев защитного материала до крепления должно составлять от 5 до 10 мм. Не допускается избыточная подмотка защитным материалом, в этом случае следует использовать элемент крепления меньшего типоразмера.
7.21 Допускается не стягивать жгут защитным материалом в месте крепления, если конструкция элемента крепления гарантирует исключение закусывания проводов и возможность продергивания жгута.
7.22 Для снижения трудоемкости и технологичности монтажа БКС допускается использовать хомуты с клиновидным основанием в сопрягаемых плоскостях обкладки (рисунок 4).
Рисунок 4 - Хомут с клиновидным основанием
в сопрягаемых плоскостях обкладки
7.23 Допускается применение неметаллических креплений в герметичных зонах при установке жгутов БКС на гражданские ЛА в соответствии с КД.
7.24 Расстояния между хомутами и провисание жгута между двумя соседними хомутами должны соответствовать указанным на рисунке 5 и в таблице 2.
1 - жгут; 2 - хомут; 3 - шайба; 4 - винт (болт)
Рисунок 5
Таблица 2
Диаметр электрического жгута d, мм
Расстояние между хомутами A, мм, не более
Величина провисания h, мм
До 10 включ.
200
Св. 3 до 5 включ.
Св. 10 до 20 включ.
300
Св. 4 до 7 включ.
Св. 20 до 30 включ.
400
Св. 5 до 8 включ.
Св. 30 до 40 включ.
550
Св. 6 до 10 включ.
Более 40
550
Св. 6 до 10 включ.
В технически обоснованных случаях, при большем расстоянии между элементами конструкции ЛА (шпангоуты, балки, лонжероны и т.п.), допускается увеличивать расстояние между соседними хомутами крепления жгутов.
7.25 Внутренние радиусы изгиба неподвижных жгутов должны соответствовать указанным на рисунке 5 и в таблице 3.
Таблица 3
Диаметр жгута (провода, кабеля) d, мм
Радиус изгиба, r, не менее
Неэкранированный жгут
Экранированный жгут
Коаксиальный кабель
Силовой провод
Оптический кабель
До 10 включ.
3d
4d
6d
10d
15d
Св. 10 до 20 включ.
Св. 20 до 30 включ.
Св. 30 до 40 включ.
2d
3d
Более 40
При радиусе изгиба неподвижного жгута r, указанного в таблице 3, внутренний радиус изгиба любого провода, входящего в жгут, не должен быть менее внутреннего радиуса изгиба провода, указанного в соответствующих технических условиях на провод.
Внутренний радиус изгиба подвижного жгута, изготовленного из изгибоустойчивых проводов, должен быть не менее трех диаметров самого большого провода по диаметру из числа проводов данного жгута.
7.26 Жгуты от амортизированных блоков должны быть скручены в одну сторону или свиты и иметь провисание, исключающее натяг проводов при наибольшем перемещении блока.
Жгуты от неамортизированных блоков должны быть скручены в одну сторону или свиты только у соединителей, подвергаемых многократному сочленению в эксплуатации.
7.27 Жгуты на ЛА должны быть установлены, как правило, выше трубопроводов гидравлической, топливной и масляной систем с зазором B не менее 50 мм без защиты жгута и не менее 10 мм при условии выполнения изоляции проводов жгута из материалов стойких к маслам, топливу, гидрожидкости или защиты жгута негорючими материалами и установки разделительного хомута (рисунок 6).
1 - жгут; 2 - хомут; 3 - шайба; 4 - винт (болт); 5 - хомут
разделительный; 6 - трубопровод
Рисунок 6
В технически обоснованных случаях жгуты устанавливают под трубопроводами гидравлической, топливной и масляной систем, при этом их следует надежно защищать стойкими к топливу, гидрожидкости и маслам негорючими трубками, металлическими и неметаллическими трубопроводами и т.п.
7.28 Жгуты, выполненные из проводов с изоляцией, стойкой к топливу, гидрожидкости и маслам, допускается устанавливать без дополнительной защиты с зазорами между жгутами и трубопроводными системами (топливной, гидравлической, масляной, кислорода, нейтрального газа, горячего и холодного воздуха, холодной воды, статики и динамики), указанными в таблице 4.
Таблица 4
Наименование показателя
Величина зазора B, мм, не менее
Зазор между жгутом и трубопроводом горячего воздуха (до 100 °C), не имеющего теплоизоляции
40
Зазор между жгутом и теплоизолированным трубопроводом горячего воздуха (до 250 °C)
10
Зазор между жгутом и трубопроводом гидравлической, топливной или масляной системы
15
Зазор между жгутом и трубопроводом нейтрального газа
10
Зазор между жгутом и трубопроводом кислородной системы
10
Зазор между жгутом и трубопроводом холодного воздуха, холодной воды, статики и динамики
5
Примечание - В технически обоснованных случаях допускается уменьшение зазора между жгутом и трубопроводом по согласованию с заказчиком.
7.29 Зазоры между жгутами и элементами конструкции ЛА или блоками БО устанавливают в соответствии с таблицей 5.
Таблица 5
Наименование показателя
Величина зазора, мм, не менее
Зазор между жгутом и съемным (откидным) люком
20
Зазор между жгутом и подвижной частью элемента конструкции самолета или тросом (тягой) управления в крайних положениях <1>
15
Зазор между жгутом и амортизированным блоком в крайнем положении
10
Зазор между жгутом и элементом конструкции самолета или неамортизированным блоком
8
Зазор между жгутом и незащищенной острой кромкой элемента конструкции самолета
10
Зазор между жгутом и защищенной острой кромкой элемента конструкции самолета
5
<1> При установке жгута в металлическом трубопроводе, коробе и тому подобных зазор допускается уменьшать до 10 мм между тросом (тягой) и трубопроводом, коробом и т.п.
Примечание - В случае невозможности выполнения требований по 7.27, 7.28, 7.29 из-за затесненности монтажа зазоры допускается уменьшать по согласованию с заказчиком.
7.30 Не рекомендуется устанавливать жгуты под санитарными узлами, кухнями, охлаждающими установками с аммиаком и под емкостями, содержащими агрессивные жидкости или газы; при необходимости установки в этих зонах жгуты следует защищать стойкими к агрессивным средам трубками, металлическими и неметаллическими трубопроводами или применять провода, стойкие к агрессивным жидкостям или газам.
7.31 Радиочастотные кабели антенных вводов необходимо устанавливать раздельно друг от друга и от остальных жгутов.
7.32 Жгуты в штурвалах, на стойках шасси и тому подобном (рисунок 7) должны быть выполнены из изгибоустойчивых проводов, скрученных в одну сторону или свитых и защищенных изоляционными лентами или гофрированными трубками, гибкими шлангами, металлическими рукавами, рукавами фторопластовыми гибкими в металлической оплетке и тому подобном.
1 - жгут; 2 - хомут крепления жгута; 3 - шайба; 4 - винт
(болт); 5 - материал защитный; 6 - стойка шасси;
7 - фюзеляж; 8 - гайка; 9 - хомут стойки шасси
Рисунок 7
7.33 При перемещении подвижных частей жгута должны быть исключены натяги и петли там, где невозможно расположение подвижной части жгута параллельно оси поворота (например, узел перехода со стойки шасси на фюзеляж, жгуты в штурвалах, в местах механизации крыла и т.п.).
7.34 Подвижные участки жгутов при переходе с неподвижной части конструкции ЛА на подвижную (крышки лючков и коробок, откидные панели и т.п.) должны быть скручены в одну сторону или свиты (рисунок 8). Для защиты жгута от истирания на указанных участках жгутов рекомендуется применять защитный материал согласно разделу 11, например плетенку полимерную теплостойкую армирующую из нитей полиэфирэфиркетона. При открывании (откидывании) подвижных частей жгуты должны раскручиваться.
1 - жгут; 2 - хомут; 3 - шайба; 4 - винт (болт);
5 - материал защитный; 6 - откидная
панель; 7 - корпус (каркас)
Рисунок 8
7.35 Соединители должны быть установлены в местах, где обеспечен свободный доступ к ним.
7.36 Прямые соединители (с прямым хвостовиком) должны быть установлены, как правило, горизонтально, в случае вертикальной установки соединители должны быть надежно защищены от конденсата (рисунок 9).
1 - жгут; 2 - хомут; 3 - шайба; 4 - винт (болт);
5 - материал защитный; 6 - соединитель; 7 - хвостовик
прямой закрытого типа; 8 - трубка термоусаживаемая защитная
Рисунок 9
7.37 В местах возможного скапливания конденсата, при горизонтальной установке соединителя, необходимо выполнять понижение жгута у соединителя (рисунок 10).
1 - жгут; 2 - хомут; 3 - шайба; 4 - винт (болт);
5 - хвостовик прямой открытого типа; 6 - соединитель
Рисунок 10
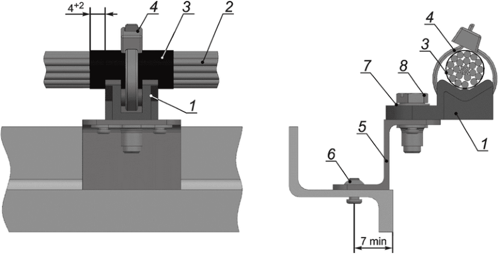
7.38 В местах возможного попадания влаги, различных жидкостей на жгут или в соединитель, установка соединителей должна исключать проникновение влаги или другой жидкости к контактам. Для этого необходимо защищать соединители защитным материалом или герметиком в соответствии с действующей нормативно-технической документацией, а также у соединителя выполнять понижение жгута, в нижней точке изгиба защищенного жгута сделать от одного до четырех отверстий диаметром от 3 до 5 мм для дренажа (рисунок 11).
1 - жгут; 2 - хомут; 3 - шайба; 4 - винт (болт);
5 - материал защитный; 6 - соединитель; 7 - хвостовик
угловой закрытого типа; 8 - трубка термоусаживаемая
защитная; 9 - дренажные отверстия
Рисунок 11
7.39 Жгуты с соединителями, подверженные воздействию влаги, песка, щебня, льда, масла, топлива и тому подобного, должны быть надежно защищены.
7.40 Соединители, которые устанавливают на ЛА без подключенных ответных частей, должны быть защищены заглушками.
7.41 Для исключения повреждения соединителей перед сочленением кабельной и блочной частей соединителя на резьбовую часть соединительной гайки должна быть нанесена смазка, если конструкция соединителя предусматривает это. Смазка должна быть пригодной для работы в условиях эксплуатации соединителей.
7.42 Для отдельных проводов площадью сечения жилы до 4 мм2 включительно, выходящих из жгута к агрегатам, и жгутов, подходящих к соединителям, необходимо предусмотреть эксплуатационный запас по длине, позволяющий производить повторные заделки проводов в агрегат или соединитель не менее трех раз с каждого конца при смене наконечников, обжимных контактов, при перепайке проводов в контакты соединителя и тому подобному. Указанный запас длины жгута необходимо предусмотреть в петле, препятствующей стеканию конденсата со жгута и конструкции к месту заделки проводов.
7.43 В местах, где нет объема для размещения запаса проводов, необходимо предусмотреть понижение жгута, а остальной запас длины проводов распределить равномерно по трассе жгута на участке в 3 - 4 точках крепления, начиная от места заделки проводов (рисунок 12).
1 - жгут; 2 - хомут; 3 - шайба; 4 - винт (болт)
Рисунок 12
7.44 Уменьшение взаимной индукции и увеличение помехозащищенности систем рекомендуется обеспечивать:
- прокладкой взаимозависимых жгутов в разных трассах или разнесенных ответвлениях одной трассы;
- прокладкой жгутов систем, чувствительных к наводкам, отдельно от других жгутов;
- экранированием жгутов и проводов, например экранирующей плетенкой из нержавеющей стальной проволоки, покрытой серебром (ПС-С) или другими экранирующими материалами в соответствии с КД;
- свивкой между собой проводов переменного тока с шагом 30 - 40 мм и площадью сечения жил до 2,5 мм2 включительно, а свыше - параллельной вязкой в отдельный жгут;
- установкой силовых проводов переменного тока в специальный держатель по кругу таким образом, чтобы провода одноименных фаз располагались друг напротив друга.
7.45 Витые пары проводов цепей передачи информации, проложенные в общем жгуте с другими проводами, должны иметь общий экран, электрически соединенный с корпусом ЛА, прибора и тому подобных во всех местах его разрыва.
7.46 В случае установки жгутов вблизи острых кромок, профилей конструкции и тому подобных необходимо применять способы защиты и крепления жгутов, исключающие истирание изоляции проводов об указанные элементы конструкции, а также защиты жгутов от механических повреждений при переходе через отверстия в стенках шпангоутов и т.д.
7.47 Типы креплений жгутов на борту ЛА выбирают в соответствии с разделом 8.
7.48 При прохождении проводов через герметичные стенки необходимо применять конструкцию:
- ввода-шпильки для электропроводов или аналогичную гермошпильку (рисунок 13);
- ввода для заделки жгутов;
- гермопроходника (рисунок 14).
Рисунок 13 - Гермошпилька
Рисунок 14 - Гермопроходник
7.49 Присоединение минусовых проводов к корпусу ЛА необходимо выполнять в соответствии с требованиями раздела 9.
7.50 Разработку жгутов, их установку, крепление и соединение на борту ЛА необходимо выполнять в соответствии с требованиями КД и настоящего стандарта.
7.51 Маркировку проводов, жгутов и кабелей следует выполнять в соответствии с ГОСТ Р 59820.
Соединители покупных изделий и соединители, устанавливаемые на борту, клеммные колодки, модули размножения, герметичные вводы, гермопроходники, гермошпильки и тому подобное следует маркировать в соответствии с электрическими схемами соединений. Рядом с установкой соединителей, клеммных колодок, модулей размножения, герметичных вводов, гермопроходников, гермошпилек на удобных для чтения местах элементов конструкции ЛА необходимо наносить маркировочное обозначение электроэлементов.
Цвет маркировочного обозначения должен быть контрастным по отношению к цвету элемента конструкции.
Во избежание перепутывания при сочленении двух и более одинаковых соединителей, установленных рядом, необходимо применять цветовую маркировку частей соединителей и мест их установки или устанавливать соединители ключами в разные положения (использовать различные положения поляризационных ключей).
7.52 Правила приемки и методы испытаний бортовых жгутов - в соответствии с требованиями предъявляемыми техническими условиями на БКС.
8 Типы креплений жгутов на борту ЛА
8.1 Настоящий стандарт предусматривает следующие типовые варианты креплений жгутов и кабелей к элементам конструкции ЛА:
- тип 1 - крепление хомутом к стрингерам, профилям, шпангоутам и тому подобному с анкерной гайкой (рисунок 15);
1 - хомут; 2 - жгут; 3 - материал защитный (лента);
4 - заклепка; 5 - анкерная гайка; 6 - шайба; 7 - винт (болт)
Рисунок 15
- тип 2 - крепление хомутом к стрингерам, профилям, шпангоутам и тому подобному через кронштейн с анкерной гайкой (рисунок 16);
1 - хомут; 2 - жгут; 3 - кронштейн; 4 - заклепка;
5 - распорная втулка; 6 - шайба; 7 - винт (болт)
Рисунок 16
- тип 3 - крепление двумя хомутами (прямая установка) к стрингерам, профилям, шпангоутам и тому подобному через кронштейн с анкерной гайкой (рисунок 17);
1 - хомут; 2 - жгут; 3 - материал защитный (лента);
4 - кронштейн; 5 - заклепка; 6 - шайба; 7 - винт (болт)
Рисунок 17
- тип 4 - крепление двумя и более хомутами (прямая и обратная установка) к стрингерам, профилям, шпангоутам и тому подобному через кронштейн с анкерной гайкой и распорную втулку (рисунок 18);
1 - хомут; 2 - жгут; 3 - материал защитный (лента);
4 - кронштейн; 5 - заклепка; 6 - распорная втулка;
7 - шайба; 8 - винт (болт)
Рисунок 18
- тип 5 - крепление двумя и более хомутами (прямая установка) к стрингерам, профилям, шпангоутам и тому подобному через кронштейн с анкерной гайкой и распорную втулку (рисунок 19);
1 - хомут; 2 - жгут; 3 - материал защитный (лента);
4 - кронштейн; 5 - заклепка; 6 - распорная втулка;
7 - шайба; 8 - винт (болт)
Рисунок 19
- тип 6 - крепление двумя и более хомутами к стрингерам, профилям, шпангоутам и тому подобному в местах с ограниченным доступом через кронштейн с самоконтрящейся гайкой (рисунок 20);
1 - хомут; 2 - кронштейн; 3 - заклепка; 4 - шайба;
5 - самоконтрящаяся гайка; 6 - винт (болт)
Рисунок 20
- тип 7 - крепление хомутом к стрингерам, профилям, шпангоутам и тому подобному в труднодоступных местах через анкерный болт с самоконтрящейся гайкой (рисунок 21);
1 - хомут; 2 - жгут; 3 - материал защитный (лента);
4 - заклепка; 5 - анкерный болт; 6 - шайба;
7 - самоконтрящаяся гайка
Рисунок 21
- тип 8 - крепление хомутом с боковым креплением к стрингерам, профилям, шпангоутам и тому подобному через самоконтрящуюся гайку (рисунок 22);
1 - хомут; 2 - жгут; 3 - материал защитный (лента);
4 - шайба; 5 - гайка самоконтрящаяся; 6 - винт (болт)
Рисунок 22
- тип 9 - крепление хомутом к стенкам (гермостенкам и тому подобному) через герметичную гайку (рисунок 23);
1 - хомут; 2 - жгут; 3 - материал защитный
(лента); 4 - заклепка; 5 - герметичная
гайка; 6 - шайба; 7 - винт (болт)
Рисунок 23
- тип 10 - крепление хомутом к элементам конструкции через кронштейн с анкерной гайкой при прохождении жгута в отверстии (рисунок 24);
1 - хомут; 2 - жгут; 3 - материал защитный (лента);
4 - заклепка; 5 - кронштейн; 6 - шайба; 7 - винт (болт)
Рисунок 24
- тип 11 - крепление неметаллическим хомутом (с изменяемым диаметром) к элементам конструкции через кронштейн с анкерной гайкой (рисунок 25);
1 - пластиковый хомут (с изменяемым диаметром); 2 - жгут;
3 - материал защитный (лента); 4 - кабельная стяжка;
5 - кронштейн; 6 - заклепка; 7 - шайба; 8 - винт (болт)
Рисунок 25
- тип 12 - крепление неметаллическим держателем к элементам конструкции через кронштейн с анкерной гайкой (рисунок 26);
1 - пластиковый держатель; 2 - жгут; 3 - материал защитный
(лента); 4 - кабельная стяжка; 5 - кронштейн; 6 - заклепка;
7 - шайба; 8 - винт (болт)
Рисунок 26
- тип 13 - крепление специальным держателем силовых кабелей (рисунок 27);
1 - кабели силовые переменного тока; 2 - держатель
типа "звезда"; 3 - поясок металлический; 4 - кронштейн
Рисунок 27
- тип 14 - крепление хомутом-скобой к элементам конструкции через кронштейн с анкерными гайками (рисунок 28);
1 - хомут-скоба; 2 - обкладка; 3 - материал защитный
(лента); 4 - жгут; 5 - кронштейн; 6 - заклепка;
7 - анкерная гайка; 8 - шайба защитная; 9 - шайба
пружинная; 10 - винт (болт)
Рисунок 28
- тип 15 - крепление кабелей зажимной колодкой с неметаллическими обкладками и металлическими основаниями (рисунок 29);
1 - металлическое основание колодки; 2 - неметаллические
обкладки колодки; 3 - кабель; 4 - кронштейн; 5 - анкерная
гайка; 6 - шайба; 7 - гайка самоконтрящаяся; 8 - винт
(болт); 9 - болт
Рисунок 29
- тип 16 - разделительное крепление хомутом к трубопроводам. Применяют только для обеспечения минимального гарантированного зазора между жгутом и трубопроводом (рисунок 6).
8.2 Допускается использовать элементы креплений, крепежные детали и кронштейны, а также выбирать места установки кронштейнов (шпангоуты, стрингеры, рамы, каркасы крепления бортового оборудования, обшивки, трубопроводы и т.п.) в соответствии с КД и нормативно-технической документацией.
8.3 Подбор крепежных деталей должен быть выполнен в зависимости от типа крепления. Допускается применение крепежных деталей в соответствии с техническими условиями на БКС.
8.4 При отсутствии возможности применения типовых креплений жгутов допускается использовать другие варианты креплений в соответствии с КД.
8.5 Незащищенный жгут должен быть плотно стянут в месте крепления электроизоляционной лентой, как правило в 2 - 8 слоев, если выбранный элемент крепления допускает возможность закусывания или повреждения проводов и продергивание жгута или кабеля. На жгут, защищенный в соответствии с настоящим стандартом, электроизоляционную ленту в месте крепления не следует устанавливать.
8.6 При установке крепления на гермостенку элементы крепления следует ставить на герметике.
9 Требования к присоединению минусовых проводов
9.1 Требования настоящего стандарта распространяются на присоединения минусовых проводов (далее - присоединения) постоянного тока, нулевых и обратных проводов переменного тока к корпусу (металлическому каркасу или различным металлическим конструкциям, имеющим надежный электрический контакт с каркасом) ЛА.
Примечание - Требования не распространяются на присоединения к конструкциям из титановых и магниевых сплавов.
9.2 Присоединения минусовых проводов следует располагать в местах, легко доступных для осмотра, монтажа и демонтажа, не подверженных прямому попаданию воды, топлива, масла, гидрожидкости и других жидкостей.
9.3 Присоединения минусовых проводов следует располагать на металлических металлизированных частях конструкции ЛА, как правило, площадью наружной поверхности более 0,2 м2 или длиной более 0,5 м.
9.4 Перед присоединением минусовых проводов необходимо зачистить поверхность токопроводящего элемента каркаса ЛА, контактирующую с наконечником, клеммой или минусовым модулем, от лакокрасочного, анодированного, других видов токонепроводящих покрытий и обезжирить. Зачистку следует выполнять шкуркой со сплошным рабочим слоем C из нормального электрокорунда 15А с зернистостью от 4 до 12 по ГОСТ 6456 до образования металлического блеска, но не раньше, чем за три часа до установки.
Зачищаемая поверхность должна быть на (4 +/- 1) мм больше контактной поверхности наконечника, клеммы, площадки минусового модуля. Наличие остатков (в виде точек, следов и того прочего) лакокрасочных, анодированных и других видов покрытий в указанной зоне не допустимо.
9.5 Присоединения необходимо выполнять в местах, где они не вызовут недопустимого уменьшения прочности конструкции. В зависимости от площади сечения присоединяемых проводов толщина элемента конструкции в месте присоединения и диаметры D крепежных деталей должны соответствовать значениям, указанным в таблице 6. Для увеличения толщины элемента конструкции, при необходимости, в месте присоединения дополнительно устанавливают накладки, кронштейны, шины и другие детали.
Таблица 6
Калибр провода, AWG
Площадь сечения провода, мм2
Толщина элемента конструкции в месте присоединения, мм, не менее
D
Св. 22 до 16 включ.
Св. 0,35 до 1,50 включ.
1,0
М4
Св. 14 до 12 включ.
Св. 1,50 до 4,00 включ.
1,5
М5
Св. 10 до 8 включ.
Св. 4,00 до 10,00 включ.
М6
Св. 6 до 4 включ.
Св. 10,00 до 25,00 включ.
2,5
Св. 2 до 1 включ.
Св. 25,00 до 50,00 включ.
3,0
М8
Св. 0 до 00 включ.
Св. 50,00 до 70,00 включ.
М10
Св. 00
Св. 70,00
4,0
9.6 Присоединения минусовых проводов выполняют, как правило, в пяти исполнениях:
- исполнение 1 - присоединение с помощью минусовой клеммы (рисунок 30);
1 - наконечник; 2 - провод; 3 - клемма минусовая;
4 - заклепка без покрытия; 5 - шайба защитная; 6 - шайба
пружинная; 7 - гайка самоконтрящаяся
Рисунок 30
- исполнение 2 - присоединение с помощью болта и самоконтрящейся гайки (рисунок 31);
1 - наконечник; 2 - провод; 3 - винт (болт); 4 - шайба
защитная; 5 - шайба пружинная; 6 - гайка самоконтрящаяся
Рисунок 31
- исполнение 3 - присоединение с помощью болта и самоконтрящейся анкерной гайки (рисунок 32);
1 - наконечник; 2 - провод; 3 - гайка анкерная; 4 - заклепка
без покрытия; 5 - шайба защитная; 6 - шайба пружинная;
7 - винт (болт)
Рисунок 32
- исполнение 4 - присоединение с помощью анкерного болта (рисунок 33);
1 - наконечник; 2 - провод; 3 - болт анкерный; 4 - заклепка
без покрытия; 5 - шайба защитная; 6 - шайба пружинная;
7 - гайка самоконтрящаяся
Рисунок 33
- исполнение 5 - присоединение с помощью минусового модуля (рисунок 34).
1 - модуль минусовой; 2 - шайба защитная; 3 - шайба
пружинная; 4 - винт; 5 - гайка анкерная
самоконтрящаяся; 6 - кронштейн; 7 - заклепка
Рисунок 34
9.7 Допускается выполнять присоединение минусовых проводов другими исполнениями в соответствии с КД.
9.8 Для исполнений 1, 3, 4 и 5 следует использовать заклепки без покрытия.
9.9 После установки минусовой клеммы значение переходного сопротивления между минусовой клеммой и зачищенным участком поверхности не должно превышать величин, указанных в таблице 7.
Таблица 7
Минусовая клемма
Значение переходного сопротивления, мкОм, не более
М4
150
М5
150
М6
100
М8
50
М10
50
9.10 После установки минусового модуля значение переходного сопротивления между лапками минусового модуля и зачищенным участком поверхности не должно превышать 600 мкОм.
9.11 При присоединении минусовых проводов наконечниками не допускается:
- устанавливать на одну клемму наконечники минусовых проводов и наконечники проводов вывода экранов;
- устанавливать на одну клемму или болт более трех наконечников с проводами площадью сечения не более 1,5 мм2 (16 AWG), более двух наконечников с проводами площадью сечения не более 4,0 мм2 (11 AWG) при температуре в зоне присоединения не более 80 °C и не более одного наконечника с проводом любой площади сечения при температуре в зоне присоединения более 80 °C.
9.12 После присоединения наконечника минусового провода исполнениями 1, 2, 3 и 4 значения переходных сопротивлений между наконечником и участком поверхности, зачищенным в соответствии с настоящим стандартом, не должны превышать норм, указанных в таблице 8.
Таблица 8
Калибр провода, AWG
Площадь сечения провода, мм2
Значение переходного сопротивления, мкОм, не более
между наконечником и токопроводящей частью элемента каркаса ЛА
Св. 22 до 14 включ.
Св. 0,35 до 2,50 включ.
600
Св. 12 до 8 включ.
Св. 3 до 10 включ.
500
Св. 6 до 4 включ.
Св. 12 до 25 включ.
400
Св. 2 до 1 включ.
Св. 30 до 45 включ.
300
Св. 0 до 00 включ.
Св. 50 до 70 включ.
200
Св. 000
Св. 80
100
В случае подключения нескольких наконечников на одну точку присоединения, переходное сопротивление замеряют между последним установленным наконечником и участком поверхности, зачищенным в соответствии с настоящим стандартом.
9.13 Измерение переходных сопротивлений следует выполнять при помощи измерителей малых сопротивлений или высокочувствительных микроомметров.
9.14 Измерение между наконечником и зачищенным участком элемента каркаса следует выполнять таким образом, чтобы контакты измерительных приборов располагались как можно ближе друг к другу.
9.15 После установки минусовых модулей присоединения наконечников минусовых проводов и измерений переходных сопротивлений на излишне зачищенных местах необходимо восстановить исходное покрытие.
9.16 Для всеклиматического и общеклиматического исполнений после установки минусовых модулей, присоединения наконечников минусовых проводов и измерений переходных сопротивлений весь узел присоединения (контактная площадка минусовой клеммы, минусовая клемма, анкерный болт, анкерная гайка, головки заклепок, болты, гайки и т.д.) следует покрыть грунтом двумя слоями и темно-красной эмалью двумя слоями с холодной сушкой.
Примечание - Наносить покрытие можно только после измерений всех переходных сопротивлений и не позднее трех часов с момента зачистки.
9.17 Во всех случаях нарушения покрытия присоединение должно быть демонтировано и установлено заново.
9.18 Присоединения должны обеспечивать нормальную работу оборудования в условиях вибрационных нагрузок частотой от 5 до 300 Гц с перегрузкой не более 98 м/с2 (10g) и амплитудой перемещения не более 10 мм.
9.19 Присоединения должны обеспечивать нормальную работу оборудования в условиях воздействия многократных ударных нагрузок ускорением не более 118 м/с2 (12g) с длительностью импульса от 20 до 50 мс.
9.20 Присоединения должны обеспечивать нормальную работу электрического оборудования в любых климатических условиях.
10 Требования к присоединению проводов вывода экранов
10.1 Требования настоящего стандарта распространяются на присоединения проводов вывода экранов (далее - вывод экрана) на корпус (металлический каркас или различные металлические конструкции, имеющие надежный электрический контакт с каркасом) ЛА.
10.2 Выводы экранов следует располагать в местах, легко доступных для осмотра, монтажа и демонтажа, не подверженных прямому попаданию воды, топлива, масла, гидрожидкости и других жидкостей.
10.3 Выводы экранов следует располагать на металлических металлизированных частях конструкции ЛА, как правило, площадью наружной поверхности более 0,2 м2 или длиной более 0,5 м.
10.4 Перед установкой вывода экранов необходимо зачистить поверхность токопроводящего элемента каркаса ЛА, контактирующую с наконечником или клеммой, от лакокрасочного, анодированного, других видов токонепроводящих покрытий и обезжирить. Зачистку необходимо выполнять шкуркой со сплошным рабочим слоем C из нормального электрокорунда 15А с зернистостью от 4 до 12 по ГОСТ 6456 до образования металлического блеска, но не раньше, чем за три часа до установки.
Зачищаемая поверхность должна быть на (4 +/- 1) мм больше контактной поверхности наконечника или клеммы. Наличие остатков (в виде точек, следов и т.п.) лакокрасочных, анодированных и других видов покрытий в указанной зоне недопустимо.
10.5 Выводы экранов следует располагать в местах, где они не вызовут недопустимого уменьшения прочности конструкции.
ИС МЕГАНОРМ: примечание.
В официальном тексте документа, видимо, допущена опечатка: имеется в виду разд. 9, а не 8.
10.6 Установку выводов экранов выполняют, как правило, в исполнениях 1, 2, 3, 4 согласно разделу 8. Допускается устанавливать выводы экранов другими исполнениями в соответствии с требованиями КД.
10.7 При подключении наконечников выводов экранов посредством болтов под гайки или головки болтов должны быть подложены пружинные шайбы.
10.8 При установке наконечников проводов выводов экранов не допускается:
- устанавливать на одну клемму наконечники проводов вывода экранов и наконечники минусовых проводов;
- устанавливать выводы экранов в непосредственной близости с присоединениями минусовых проводов;
- устанавливать на одну клемму или болт более трех наконечников.
10.9 После установки наконечников выводов экранов значение переходного сопротивления между последним установленным наконечником и участком поверхности, зачищенным в соответствии с настоящим стандартом, не должно превышать 600 мкОм.
10.10 Измерение переходных сопротивлений следует выполнять при помощи измерителей малых сопротивлений или высокочувствительных микроомметров.
10.11 Измерение между наконечником вывода экрана и зачищенным участком элемента каркаса следует выполнять таким образом, чтобы контакты измерительных приборов были расположены как можно ближе друг к другу.
10.12 Для всеклиматического и общеклиматического исполнений после установки наконечников выводов экранов, измерений переходных сопротивлений излишне зачищенные места и весь узел присоединения (минусовая клемма, анкерный болт, анкерная гайка, головки заклепок, болты, гайки и т.д.) необходимо покрыть грунтом двумя слоями и темно-красной эмалью двумя слоями с холодной сушкой.
Примечание - Наносить покрытие можно только после измерений всех переходных сопротивлений и не позднее трех часов с момента зачистки.
11 Требования к защитным материалам
11.1 Выбирают защитные материалы по перечню разрешенных для применения в отрасли в зависимости от условий эксплуатации жгутов, требований настоящего стандарта и технических условий на БКС.
11.2 Защита жгутов должна обеспечивать их высокую надежность при температуре и условиях эксплуатации, определяемой маркой провода и защитным материалом.
11.3 Защиту жгутов выполняют трубками, термоусаживаемыми трубками, гофрированными трубками, гибкими шлангами, металлическими рукавами, трубами металлическими, рукавами фторопластовыми гибкими в металлической оплетке, чехлами, сшитыми тканями, склеенными тканями, винилискожей по ГОСТ 23367, плетенками полимерными теплостойкими армирующими из нитей полиэфирэфиркетона, самослипающейся термостойкой изоляционной лентой и тому подобными.
11.4 При защите жгутов трубками внутренний диаметр нетермоусаживающейся трубки должен быть от 1 до 4 мм больше диаметра жгута в зависимости от диаметра и длины жгута. Диаметр термоусаживаемых трубок следует выбирать с учетом 50%-ной радиальной усадки, длиной - 20%-ной продольной усадки.
11.5 Обмотку жгутов лентами следует производить в один слой внахлест с перекрытием в половину ширины ленты.
12 Способы защиты жгутов от острых кромок
12.1 Защиту жгутов (кабелей) от механических повреждений выполняют в соответствии с требованиями настоящего стандарта.
12.2 При прохождении жгутов (кабелей) через отверстия в элементах конструкции и вблизи элементов конструкции, имеющих острые кромки, защиту жгутов (кабелей) следует проводить при толщине стенки элемента конструкции менее 5 мм и радиусе скругления острой кромки менее 1 мм.
12.3 Защитные материалы устанавливают на острые кромки элементов конструкции при отсутствии возможности обеспечения минимальных зазоров между жгутом и элементом конструкции согласно таблице 5.
12.4 Настоящим стандартом предусмотрены следующие способы защиты жгутов:
- способ 1 - установка резиновой пластины на отбортовку отверстия элемента конструкции и крепление жгута хомутом через кронштейн при прохождении жгута в этом отверстии (для обеспечения плотного прилегания уголка и пластины к элементу конструкции необходимо предусмотреть вырез в пластине под уголком, а по окружности пластины - надрезы);
- способ 2 - установка резиновой прокладки на кромку отверстия элемента конструкции и крепление жгута хомутом через кронштейн при прохождении жгута в этом отверстии;
- способ 3 - установка резинового пистона в отверстие элемента конструкции и крепление жгута хомутом через кронштейн при прохождении жгута в этом отверстии;
- способ 4 - установка протектора на кромку отверстия элемента конструкции и крепление жгута хомутом через кронштейн при прохождении жгута в этом отверстии;
- способ 5 - установка дополнительной точки крепления при прохождении жгута вблизи острых кромок, например хомут через кронштейн и т.п.;
- способ 6 - установка резиновой пластины или прокладки на острую кромку элемента конструкции при прохождении жгута вблизи этой острой кромки.
12.5 Защиту жгута (кабеля) в способах 5 и 6 следует выполнять при расстоянии между жгутом (кабелем) и элементом конструкции менее 10 мм.
12.6 Касание жгутом острых кромок элементов конструкции недопустимо.
12.7 При установке жгута вблизи острых кромок деталей крепежа (головки заклепок, болтов и т.п.) жгут должен быть защищен в соответствии с настоящим стандартом.
12.8 Защиту не выполняют, если зазор между жгутом и острой кромкой - не менее указанного в таблице 5.
12.9 В способах 1, 6 пластина, в способах 2, 6 прокладка, в способе 3 пистон приклеиваются клеем или герметиком в соответствии с требованиями КД.
12.10 В способе 4 протектор приклеивают клеем в соответствии с требованиями КД.
13 Соединения проводов с электрорадиотехническими устройствами
13.1 Настоящий стандарт устанавливает требования к неразборным и разборным соединениям проводов с элементами электрорадиотехнических устройств, агрегатов, приборов, узлов и тому подобного (далее - соединениям проводов).
13.2 Соединения проводов должны обеспечивать надежную работу бортовой электрической сети ЛА во всех условиях эксплуатации.
13.3 Диаметр жил проводов, соединяемых с хвостовиками контактов электрических соединителей, не должен превышать внутренние диаметры отверстий хвостовиков контактов. При подборе проводов нужно руководствоваться техническими условиями на соединители или контакты, учитывая, что при обслуживании диаметр жилы провода увеличивается от 5% до 10%.
13.4 Использование контактов электрорадиотехнических устройств, коммутационной аппаратуры, их элементов, электрических соединителей и тому подобного для разветвления цепей не допускается; для этой цели следует применять:
- модули размножения;
- клеммные и переходные колодки, к которым допускается соединение до трех проводов, включая перемычки и выводы навесных элементов;
- муфты сращивания для бортового монтажа;
- опорные точки на плате для приборного монтажа.
13.5 Провода при соединении их с контактами и лепестками перед пайкой должны быть механически закреплены и во время пайки неподвижны. Пайка проводов встык не допускается.
13.6 Для обеспечения прочного и надежного соединения концы проводов и выводы элементов электромонтажа перед пайкой должны быть предварительно лужеными.
13.7 При пайке проводов, в зависимости от рабочей температуры, необходимо применять соответствующие припои по действующей нормативно-технической документации.
13.8 Применяемый при лужении и пайке флюс должен удовлетворять требованиям действующей нормативно-технической документации.
13.9 Лужение жилы провода следует выполнять по действующей нормативно-технической документации тем же припоем, которым выполнена пайка, так, чтобы участок лужения не доходил до среза изоляции не менее чем на 1 мм, кроме проводов, изоляция которых закреплена в наконечник.
13.10 Для качественного лужения жил проводов, входящих в бортовые и межблочные жгуты, нужно применять теплоотводы, обеспечивающие необходимый размер участка без лужения.
13.11 Луженый участок провода должен быть покрыт ровным слоем припоя без острых выступов, иметь скелетный характер, т.е. под припоем должен быть виден контур провода.
13.12 Не допускается затекание припоя под изоляцию.
13.13 Укорачивание луженого конца провода, подпаиваемого к хвостовикам контактов электрических соединителей, не допускается. При необходимости откусывания лишней длины жилы провода необходимо выполнить повторное лужение.
13.14 Отверстие лепестка паяного соединения, заполненное припоем, должно обеспечивать надежное соединение.
13.15 Внешний вид паяного соединения должен отвечать следующим требованиям:
- поверхность паяных соединений должна быть ровной и гладкой;
- контуры паяного соединения должны просматриваться под слоем припоя, т.е. пайка должна быть скелетной;
- не допускаются излишние наплывы припоя или нехватка его на опаиваемых деталях;
- не допускаются поры, вздутия, трещины, острые выступы припоя, вкрапления флюса и инородные включения в паяном соединении.
13.16 Пайка монтажных соединений должна обеспечивать надежность электрического контакта и механическую прочность соединения.
13.17 Значения разрывных усилий паяных соединений должны удовлетворять требованиям действующей отраслевой документации.
13.18 Заделку проводов в обжимные контакты электрических соединителей следует выполнять согласно действующей отраслевой документации.
13.19 Общую площадь сечения жил проводов, соединяемых с лепестками, выводами и контактами, определяют допустимой плотностью тока в наименьшем сечении лепестка, вывода или контакта, при этом площадь сечения жил проводов и количество проводов, соединяемых с контактами, не должны превышать установленных норм по техническим условиям на конкретные электроэлементы.
13.20 Нанесение смазки на сочетающиеся резьбовые крепежные детали электрического соединения (клемма с резьбовым зажимом и т.п.) не допускается.
13.21 Все наконечники на колодках, контакторах, реле, выключателях и так далее должны быть установлены и зафиксированы, опираясь на электроизоляционные ребра, стенки и так далее, или установлены таким образом, чтобы при возможном повороте наконечника гайка могла только затягиваться. Для фиксирования наконечников рекомендуется применять электроизоляционные термоусаживаемые трубки.
13.22 Длина и диаметр термоусаживаемых трубок для защиты паяных соединений подбирают с учетом 40% - 50%-ной поперечной и 15%-ной продольной усадки в процессе нагрева.
13.23 Диаметр термоусаживаемых трубок выбирают таким образом, чтобы трубка в расширенном состоянии свободно устанавливалась на хвостовик контакта (лепестка) и на провод, а после усадки плотно охватывала провод и хвостовик контакта (лепесток).
Для обеспечения вышеуказанного требования расширенную трубку выбирают по большему элементу соединения (провода или хвостовика контакта).
13.24 Электроизоляционная нетермоусаживаемая трубка, применяемая для защиты паяного соединения, должна быть установлена с натягом.
13.25 Установка термоусаживаемых трубок с натягом на острые кромки деталей недопустима из-за возможного разрыва трубок при их термообработке.
13.26 Электроизоляционная трубка должна быть надета на провод перед пайкой соединения.
13.27 При применении термоусаживаемых трубок в качестве защитных не допускается применение лакокрасочных покрытий и меток на контакте.
13.28 Допускается использовать электроизоляционные трубки одновременно в качестве маркировочных бирок.
13.29 Предохранительные колпачки выбирают в зависимости от площади сечения соединяемого провода по ГОСТ 19323. Необходимость и места установки предохранительных колпачков устанавливает разработчик изделия.
14 Подключение электрических соединителей на ЛА к БО
14.1 Подключение электрических соединителей на ЛА к БО выполняют в соответствии с требованиями настоящего стандарта.
14.2 Перед подключением электрических соединителей на ЛА необходимо:
- обесточить ЛА;
- подключить минусовые провода;
- подключить провода вывода экранов;
- убедиться в наличии металлизации БО.
14.3 Подключение соединителей необходимо выполнять после проверки соединителей на отсутствие повреждения контактов, покрытия и загрязнений. Если соединитель загрязнен, следует очистить контакты и изолятор с контактной стороны кистью по ГОСТ Р 58516 и спиртом по ГОСТ Р 55878 или ГОСТ 9805.
14.4 Подключение соединителей следует выполнять после ориентации ключей (шпонок и соответствующих пазов) на корпусах сочленяемых соединителей.
14.5 При подключении цилиндрического соединителя допускается вращать только гайку соединителя.
14.6 При подключении и отключении соединителей не допускается прикладывать усилия к жгуту, а также осевые (вращательные) и поперечные усилия к соединителю.
14.7 Все незадействованные соединители жгутов на борту ЛА должны быть защищены заглушками и обернуты тканью с фиксацией ткани кабельной стяжкой или бандажным шнуром на отводе/стволе жгута и закреплены на жгуте или неподвижном элементе конструкции ЛА.
14.8 Крепить незадействованные соединители к жгуту или неподвижному элементу конструкции самолета следует бандажным шнуром. Допускается использовать кабельные стяжки для крепления незадействованного соединителя, для этого необходимо жгут, в месте установки кабельной стяжки, обмотать изоляционной лентой от трех до пяти слоев.
14.9 Защиту и крепление незадействованных соединителей прямоугольной формы следует выполнять аналогично.
14.10 Недопустимо крепление незадействованных соединителей к трубопроводу, острым кромкам конструкции самолета, БО и волоконно-оптическим жгутам.
14.11 Фиксацию незадействованных соединителей необходимо выполнять с соблюдением минимально допустимых зазоров с БО и элементами конструкции ЛА в соответствии с таблицей 5.
14.12 Все незадействованные контакты и наконечники на борту самолета должны быть заглушены и зафиксированы.
15 Контровка и пломбирование электрических соединителей
15.1 Контровку и пломбирование электрических соединителей выполняют в соответствии с требованиями настоящего стандарта.
15.2 Для технологичности и снижения трудоемкости монтажа БКС рекомендуется применять соединители с механизмом от произвольного раскручивания.
15.3 На соединителях, гермопроходниках, гермовводах и тому подобном, не имеющих механизма для предотвращения произвольного раскручивания, выполняют контровку.
15.4 Контровку резьбовых соединений для стопорения соединителей, как правило, выполняют:
- стопорными шайбами;
- проволокой;
- грунтовкой.
15.5 Стопорение соединителей с предусмотренными отверстиями для контровочной проволоки выполняют проволокой по ГОСТ 18143.
15.6 Стопорение соединителей проволокой выполняют попарно.
15.7 При отсутствии парного элемента для стопорения контровочную проволоку допускается устанавливать через предварительно выполненное отверстие в технологической панели (на которой установлен элемент контровки) или в каркасе ЛА в соответствии с КД.
15.8 Допускается стопорение трех и более деталей. Количество элементов, стопорящихся одной проволокой, устанавливают согласно требованиям КД.
15.9 Проволока должна быть перевита без зазоров между витками. Под витком понимают один полный оборот одного конца проволоки относительно другого. Количество витков должно быть не менее трех на длине 10 мм для проволоки диаметром до 0,8 мм включительно и не менее двух на длине 10 мм для проволоки диаметром более 0,8 мм. Допускается уменьшать количество витков в перевивке до 1,5.
15.10 Проволока должна быть расположена таким образом, чтобы при приложении к ней произвольно ориентированной нагрузки происходила затяжка резьбового соединения.
15.11 В труднодоступных местах при малых расстояниях между стопорящимися деталями допускается проволоку не перевивать.
Примечание - Труднодоступные места устанавливают по эталонным образцам изделий.
15.12 Концы проволоки должны быть перевиты (от трех до четырех витков) и поджаты.
15.13 При выполнении стопорения надрывы и перекручивание проволоки не допускаются.
15.14 Проволока должна быть туго натянута, прогибы и слабина не допускаются.
15.15 При касании элементов каркаса ЛА проволокой необходимо защищать проволоку защитной трубкой.
15.16 При отсутствии у соединителя элементов для выполнения контровки (стопорной шайбы, отверстий под контровочную проволоку и тому прочему) следует накрутить гайку соединителя на 2 витка ответной части и нанести грунтовку на резьбовую часть на 2 витка от торца подключаемого соединителя, затем затянуть окончательно.
После сочленения соединителей необходимо нанести риску от 5 до 10 мм темно-красной эмалью для визуального контроля произвольного откручивания.
16 Защита электрических соединителей герметиком
16.1 Герметизацию заделок электрических проводов (далее - заделок) в электрические соединители выполняют с целью защиты заделок от воздействия окружающей среды и в соответствии с требованиями настоящего стандарта.
16.2 Герметики, применяемые для герметизации заделок проводов в соединители, должны иметь электрическую прочность изоляции не менее 3,8 кВ/мм и не вызывать коррозию.
16.3 В заделках, подлежащих герметизации, к незадействованным хвостовикам контактов соединителей должны быть подсоединены отрезки проводов длиной не менее 200 мм с маркировкой, на которой указаны номер контакта и сечение провода.
Примечание - Необходимость подсоединения отрезков проводов и их количество определяет разработчик.
16.4 Герметизацию заделок проводов в соединители выполняют шприцеванием герметика непосредственно в патрубок соединителя через технологическое отверстие диаметром (3 + 0,5) мм или шприцеванием герметика в специальные съемные формы.
Примечание - В технически обоснованных случаях сочлененные соединители дополнительно герметизируют поверхностной обмазкой герметиком в соответствии с КД.
16.5 Дополнительную защиту в цилиндрических соединителях выполняют введением герметика:
- в шпоночную канавку вилки со стороны хвостовиков контактов;
- в шпоночную канавку розетки.
16.6 Герметизированные заделки проводов в соединителях должны быть устойчивыми, прочными и стойкими к внешним воздействующим факторам, указанным в таблице 9.
Таблица 9
Внешний воздействующий фактор
Характеристика внешнего воздействующего фактора
Максимальное значение внешнего воздействующего фактора, степень жесткости
Синусоидальная вибрация
Амплитуда ускорения, м·с-2 (g)
98 (10)-1
Амплитуда перемещения, мм
1,5
Частота, Гц
2000
Механический удар многократного действия
Пиковое ударное ускорение, м·с-2 (g)
147 (15)
Длительность действия ударного ускорения, мс
10
Пониженное атмосферное давление
Рабочее давление, гПа (мм рт. ст.)
6,65 (5)
Повышенная влажность
Относительная влажность при температуре 35 °C, %
100
УДК 621.316:006.354
ОКС 29.240
Ключевые слова: сети электрические бортовые, жгуты, кабели, крепления, наконечники, соединители, защитные материалы, авиационная техника