Главная // Актуальные документы // ГОСТ Р (Государственный стандарт)СПРАВКА
Источник публикации
М.: ФГБУ "РСТ", 2021
Примечание к документу
Документ
введен в действие с 01.04.2022.
Название документа
"ГОСТ Р 59747.6-2021 (ИСО 11040-6:2019). Национальный стандарт Российской Федерации. Шприцы предварительно наполненные. Часть 6. Цилиндры полимерные для стерилизованных готовых к наполнению шприцев для инъекционных лекарственных форм"
(утв. и введен в действие Приказом Росстандарта от 08.11.2021 N 1441-ст)
"ГОСТ Р 59747.6-2021 (ИСО 11040-6:2019). Национальный стандарт Российской Федерации. Шприцы предварительно наполненные. Часть 6. Цилиндры полимерные для стерилизованных готовых к наполнению шприцев для инъекционных лекарственных форм"
(утв. и введен в действие Приказом Росстандарта от 08.11.2021 N 1441-ст)
Утвержден и введен в действие
агентства по техническому
регулированию и метрологии
от 8 ноября 2021 г. N 1441-ст
НАЦИОНАЛЬНЫЙ СТАНДАРТ РОССИЙСКОЙ ФЕДЕРАЦИИ
ШПРИЦЫ ПРЕДВАРИТЕЛЬНО НАПОЛНЕННЫЕ
ЧАСТЬ 6
ЦИЛИНДРЫ ПОЛИМЕРНЫЕ ДЛЯ СТЕРИЛИЗОВАННЫХ ГОТОВЫХ К НАПОЛНЕНИЮ
ШПРИЦЕВ ДЛЯ ИНЪЕКЦИОННЫХ ЛЕКАРСТВЕННЫХ ФОРМ
Prefilled syringes. Part 6. Plastic barrels for sterilized
subassembled syringes ready for filling by dosage forms
(ISO 11040-6:2019, Prefilled syringes - Part 6: Plastic
barrels for injectables and sterilized subassembled syringes
ready for filling, MOD)
ГОСТ Р 59747.6-2021
(ИСО 11040-6:2019)
Дата введения
1 апреля 2022 года
1 ПОДГОТОВЛЕН Федеральным государственным автономным образовательным учреждением высшего образования Первый Московский государственный медицинский университет имени И.М. Сеченова Министерства здравоохранения Российской Федерации (Сеченовский Университет) на основе собственного перевода на русский язык англоязычной версии стандарта, указанного в
пункте 4
2 ВНЕСЕН Техническим комитетом по стандартизации ТК 458 "Разработка, производство и контроль качества лекарственных средств"
3 УТВЕРЖДЕН И ВВЕДЕН В ДЕЙСТВИЕ
Приказом Федерального агентства по техническому регулированию и метрологии от 8 ноября 2021 г. N 1441-ст
4 Настоящий стандарт является модифицированным по отношению к международному стандарту ИСО 11040-6:2019 "Шприцы, предварительно наполненные. Часть 6. Цилиндры полимерные для стерилизованных готовых к наполнению шприцев для инъекционных лекарственных форм" (ISO 11040-6:2019 "Prefilled syringes - Part 6: Plastic barrels for injectables and sterilized subassembled syringes ready for filling", MOD), путем изменения отдельных фраз (слов, ссылок), которые выделены в тексте курсивом.
Сведения о соответствии ссылочных национальных и межгосударственных стандартов международным стандартам, использованным в качестве ссылочных в примененном международном стандарте, приведены в дополнительном
приложении ДА
5 ВВЕДЕН ВПЕРВЫЕ
Правила применения настоящего стандарта установлены в статье 26 Федерального закона от 29 июня 2015 г. N 162-ФЗ "О стандартизации в Российской Федерации". Информация об изменениях к настоящему стандарту публикуется в ежегодном (по состоянию на 1 января текущего года) информационном указателе "Национальные стандарты", а официальный текст изменений и поправок - в ежемесячном информационном указателе "Национальные стандарты". В случае пересмотра (замены) или отмены настоящего стандарта соответствующее уведомление будет опубликовано в ближайшем выпуске ежемесячного информационного указателя "Национальные стандарты". Соответствующая информация, уведомление и тексты размещаются также в информационной системе общего пользования - на официальном сайте Федерального агентства по техническому регулированию и метрологии в сети Интернет (www.rst.gov.ru)
Как правило, в качестве первичной упаковки для инъекционных лекарственных препаратов используют ампулы и флаконы. Однако, для введения растворов, упакованных в такую упаковку, также необходим шприц для инъекций с соответствующей иглой. Для выполнения инъекции необходимо перенести лекарственный препарат в шприц. Эта процедура не только занимает время, но также может привести к контаминации лекарственного препарата.
В сочетании с соответствующими укупорочными средствами предварительно наполненные одноразовые шприцы, соответствующие требованиям данного стандарта, представляют собой безопасную систему для транспортирования, хранения и введения лекарственных препаратов. Благодаря относительно простым действиям по использованию они позволяют быстро вводить содержащиеся в них лекарственные препараты.
Такие предварительно наполненные шприцы позволяют сразу после вскрытия провести инъекцию содержащегося в них продукта после относительно простых манипуляций. Такие шприцы также могут использоваться в автоинжекторах, к которым применяются дополнительные и особые требования.
В последние годы были разработаны технологии по производству предварительно наполненных шприцев из полимерных материалов, используемых в качестве материала для цилиндра; эти разработки были реализованы благодаря научному прогрессу в области полимеров и внедрением новых полимеров.
Данный стандарт также может применяться инженерами в качестве основы для разработки и производства унифицированного оборудования для наполнения и укупоривания предварительно простерилизованных шприцев, например, в исполнениях для так называемого наполнения "гнездами". Производители оборудования для розлива и вспомогательного технологического оборудования могут использовать данный стандарт для достижения определенной степени стандартизации элементов такого оборудования.
В зависимости от диаметра заполняемых шприцев стандартизуют соответствующие компоненты, такие как резиновые поршни, колпачки наконечников, защитные колпачки игл и другие укупорочные системы. В сочетании с надлежащими уплотнительными компонентами они представляют систему для (парентерального) инъекционного введения препаратов. Рекомендуется уточнять у поставщиков компонентов и систем их совместимость, например, для производства систем без смазки или при требовании особой совместимости компонентов. Производители линий для наполнения могут использовать настоящий стандарт для обеспечения стандартизации оборудования машин.
В случае предварительно стерилизованных собранных шприцев, готовых к наполнению, ответственность стадии технологического процесса по подготовке шприца к наполнению лежит на производителе первичной упаковки <1>. После установки защитного колпачка иглы на шприцы с несъемной иглой или колпачков наконечника на шприцы с коническим наконечником "Луер" шприцы помещают в гнездовые кассеты. Гнезда, в свою очередь, помещают в пластиковый лоток. Шприцы в гнезде защищены вставной гильзой, а сам лоток герметично закрывается вкладышем (который в настоящее время в основном изготавливается из пористого материала). Таким образом, лоток, герметично закрытый вкладышем, представляет собой "стерильную барьерную систему". После этого герметично закрытый лоток помещают в герметично запаиваемый пакет и отправляют на стерилизацию. Для стерилизации полимерных шприцев используют различные методы, например, гамма-излучение, электронный луч, рентгеновское излучение, влажный пар (автоклавирование), оксид этилена.
--------------------------------
<1> Необходимость мытья шприцев после их литья с целью снижения концентрации эндотоксинов может быть исключена, если стадии выдувания, сборки и упаковки в стерильную упаковку (гнездовую кассету) проводят в мониторируемом чистом помещении (ГОСТ Р ИСО 14644) с соответствующим микробиологическим мониторингом помещения.
Готовые к наполнению стерилизованные шприцы поставляют фармацевтическим компаниям в стерильном состоянии, где они заполняются лекарственным препаратом на специальном оборудовании.
Проведение испытаний на совместимость с предполагаемым лекарственным препаратом является ответственностью держателя регистрационного удостоверения до получения решения о государственной регистрации. Данная процедура приведена в
ГОСТ Р 59747.8.
Примечание - Компоненты первичной упаковки являются неотъемлемой частью лекарственных средств. Таким образом, к их производству применяются принципы надлежащей производственной практики (GMP) (например, см.
ГОСТ Р ИСО 15378).
Настоящий стандарт устанавливает требования к материалам, размерам, качеству и функциональным характеристикам, а также методы испытаний полимерных цилиндров для стерилизованных готовых к наполнению шприцев, предназначенных для однократного применения.
Настоящий стандарт определяет компоненты, которые являются частью стерилизованного готового к наполнению шприца.
В соответствии с настоящим стандартом полимерные цилиндры для стерилизованных готовых к наполнению шприцев предназначены только для однократного применения.
Настоящий стандарт не распространяется на компоненты предварительно собранных шприцев, таких как поршень и шток.
Предварительно наполненные шприцы могут быть изготовлены на специально разработанном технологическом оборудовании, таком как встроенные в технологическую линию операции формования и литья. Настоящий стандарт может быть использован и для таких производимых особым способом предварительно наполненных шприцев.
В настоящем стандарте использованы нормативные ссылки на следующие стандарты:
ГОСТ 34100.3/ISO/IEC Guide 98-3 Неопределенность измерения. Часть 3. Руководство по выражению неопределенности измерения
ГОСТ ISO 7886-1 Шприцы инъекционные однократного применения стерильные. Часть 1. Шприцы для ручного использования
ГОСТ ISO 10993-1 Изделия медицинские. Оценка биологического действия медицинских изделий. Часть 1. Оценка и исследования
ГОСТ ISO 11135 Стерилизация медицинской продукции. Этиленоксид. Требования к разработке, валидации и текущему управлению процессом стерилизации медицинских изделий
ГОСТ ISO 13485 Изделия медицинские. Системы менеджмента качества. Требования для целей регулирования
ГОСТ ISO 14971 Изделия медицинские. Применение менеджмента риска к медицинским изделиям
ГОСТ Р 59747.5 (ИСО 11040-5:2012) Шприцы предварительно наполненные. Часть 5. Уплотнители поршня для шприцев для инъекционных лекарственных форм
ГОСТ Р 59747.7 (ИСО 11040-7:2015) Шприцы предварительно наполненные. Часть 7. Упаковочные системы для стерилизованных готовых к наполнению шприцев
ГОСТ Р 59747.8 (ИСО 11040-8:2016) Шприцы предварительно наполненные. Часть 8. Требования и методы испытаний готовых предварительно наполненных шприцев
ГОСТ Р ИСО 2859-1 Статистические методы. Процедуры выборочного контроля по альтернативному признаку. Часть 1. Планы выборочного контроля последовательных партий на основе приемлемого уровня качества
ГОСТ Р ИСО 7619-1 Резина вулканизованная или термопластичная. Определение твердости при вдавливании. Часть 1. Метод с применением Дюрометра (твердость по Шору)
ГОСТ Р ИСО 8871-1 Эластомерные составляющие для парентеральных систем и изделий для фармацевтических целей. Часть 1. Вещества, экстрагируемые при автоклавировании
ГОСТ Р ИСО 9626 Трубки игольные из нержавеющей стали для изготовления медицинских изделий. Требования и методы испытаний
ГОСТ Р ИСО 14644-1 Чистые помещения и связанные с ними контролируемые среды. Часть 1. Классификация чистоты воздуха по концентрации частиц
ГОСТ Р ИСО 14937 Стерилизация медицинской продукции. Общие требования к определению характеристик стерилизующего агента и к разработке, валидации и текущему контролю процесса стерилизации медицинских изделий
ГОСТ Р ИСО 15378 Первичные упаковочные материалы для лекарственных средств. Частные требования по применению ИСО 9001:2008 с учетом надлежащей производственной практики (GMP)
ГОСТ Р ИСО 17665-1 Стерилизация медицинской продукции. Влажное тепло. Часть 1. Требования к разработке, валидации и текущему контролю процесса стерилизации медицинских изделий
Примечание - При пользовании настоящим стандартом целесообразно проверить действие ссылочных стандартов в информационной системе общего пользования - на официальном сайте Федерального агентства по техническому регулированию и метрологии в сети Интернет или по ежегодному информационному указателю "Национальные стандарты", который опубликован по состоянию на 1 января текущего года, и по выпускам ежемесячного информационного указателя "Национальные стандарты" за текущий год. Если заменен ссылочный стандарт, на который дана недатированная ссылка, то рекомендуется использовать действующую версию этого стандарта с учетом всех внесенных в данную версию изменений. Если заменен ссылочный стандарт, на который дана датированная ссылка, то рекомендуется использовать версию этого стандарта с указанным выше годом утверждения (принятия). Если после утверждения настоящего стандарта в ссылочный стандарт, на который дана датированная ссылка, внесено изменение, затрагивающее положение, на которое дана ссылка, то это положение рекомендуется применять без учета данного изменения. Если ссылочный стандарт отменен без замены, то положение, в котором дана ссылка на него, рекомендуется применять в части, не затрагивающей эту ссылку.
3 Термины, определения и сокращения
3.1 В настоящем стандарте применены следующие термины с соответствующими определениями:
3.1.1 потребитель (customer): Хозяйствующий субъект, который приобретает цилиндры шприцев или стерилизованные предварительно собранные шприцы, готовые к наполнению, и проводит дополнительную обработку или наполнение.
3.1.2 производитель (manufacturer): Хозяйствующий субъект, осуществляющий производство или иным образом несущий ответственность за производство цилиндров шприцев (полимерных цилиндров для инъекционных лекарственных форм) или стерилизованных готовых к наполнению шприцев потребителем.
3.1.3 защитный колпачок иглы (needle shield): Укупорочная система для защиты от повреждений острия/среза иглы предварительно собранных шприцев с несъемными иглами, позволяющая стерилизацию иглы и поддерживающая стерильность содержимого шприца и иглы до момента инъекции.
3.1.4 наполненный шприц (prefilled syringe): Контейнер, заполненный лекарственным препаратом для инъекций, готовым к введению
Примечание - Компонентами шприцев являются цилиндр, игла, укупорочная система, поршень и шток. Примеры стерилизованных готовых к наполнению шприцев включая компоненты, приведены в
приложении A.
3.1.5 шприц с несъемной иглой (staked needle syringe): Шприц с несъемной иглой, встроенной в цилиндр.
Примечание - Фиксация иглы в цилиндре шприца может осуществляться путем формования, вклеивания или другими методами соединения.
3.1.6 цилиндр шприца (syringe barrel): Цилиндрический корпус из полимерного материала с наконечником и упором для пальцев.
Примечания
2 Цилиндр шприца может быть оснащен несъемной иглой.
3.1.7 стерилизованный готовый к наполнению шприц (sterilized subassembled syringe ready for filling): Комплект из цилиндра шприца и укупорочной системы, подвергшийся предварительной обработке.
Примечания
1 В предварительную обработку входят следующие процессы:
- инжекционное литье;
- сборка/смазка иглы;
- нанесение смазки на внутреннюю поверхность шприца;
- укупорка шприца с помощью укупорочной системы;
- стерилизация.
2 Примеры стерилизованных готовых к наполнению шприцев, включая компоненты, приведены в
приложении A.
3.1.8 укупорочная система шприца (syringe closure system): Компонент или многокомпонентная система, предназначенная для укупорки шприцевой системы со стороны наконечника, обеспечивающая стерилизацию наконечника и сохранение стерильности содержимого шприца до момента инъекции.
Пример - Колпачок наконечника, защитный колпачок иглы, упаковка, обеспечивающая контроль первого вскрытия.
3.2 В настоящем стандарте применены следующие сокращения:
ГФ РФ | - Государственная фармакопея Российской Федерации; |
ЕЭ/мл | - единицы эндотоксинов (endotoxin units, EU/мл); |
ОФС | - общая фармакопейная статья; |
реагент LAL | - реагент лизата амебоцитов мечехвоста (Limulus Amebocyte Lysate); |
LLA | - адаптер "Луер Лок" (Luer lock adaptor); |
Ph. Eur. | - Европейская фармакопея; |
SAL | - гарантированный уровень стерильности (sterility assurance level); |
USP | - фармакопея США; |
JP | - фармакопея Японии. |
4.1 Системы управления качеством
Действия, приведенные в настоящем стандарте, должны осуществляться в рамках официально принятой системы качества.
Примечания
1 Требования к надлежащей системе управления качеством для первичной упаковки лекарственных препаратов по
ГОСТ Р ИСО 15378.
2 В качестве инструмента выполнения оценки рисков можно использовать
ГОСТ ISO 14971.
3 В качестве инструмента для управления проектированием на этапе разработки можно использовать
ГОСТ ISO 13485, в котором представлены требования к надлежащей системе менеджмента качества.
4.2 Проведение испытаний
4.2.1 Допускается использовать любую подходящую систему для проведения испытаний, обеспечивающую требуемую правильность (калибровку) и прецизионность (повторяемость и воспроизводимость результатов измерений). Повторяемость и воспроизводимость испытательного оборудования не должна превышать 20% диапазона допустимых значений для любого отдельного измерения. Для измерений, связанных с разрушающим контролем, повторяемость и воспроизводимость измерений должны составлять не более 30% диапазона допустимых значений. Повторяемость и воспроизводимость средства измерения должны охватывать не менее +/- 2 среднеквадратических отклонений (тем самым охватывая приблизительно 95% отклонения).
Пример - Для аналитической системы с пределом измерений +/- 0,01 мл (диапазон 0,02 мл) следует использовать средство измерения с диапазоном допустимых значений 20%. Следовательно, повторяемость средства измерения и воспроизводимость (четыре стандартных неопределенности) составляет 0,02 мл/5 = 0,004 мл. Таким образом, неопределенность измерения составляет +/- 2 стандартных отклонения (см. ГОСТ 34100.3/ISO/IEC Guide 98-3), что равно 0,002 мл.
4.2.2 Планы выборочного контроля, используемые для отбора и испытания стерилизованных готовых к наполнению шприцев или их компонентов, должны основываться на статистически достоверном обосновании.
4.2.3 Если не указано иное, испытания проводят в условиях окружающей среды лаборатории.
4.3 Документальное оформление
4.3.1 Подтверждение соответствия требованиям настоящего стандарта должно быть оформлено документально.
4.3.2 Вся документация должна храниться в течение установленного периода времени. Срок хранения документов должен учитывать такие факторы, как регуляторные требования, срок годности и прослеживаемость.
4.3.3 Документация, подтверждающая соответствие установленным требованиям, может включать (но не ограничиваться) эксплуатационные данные, спецификации и результаты испытаний с использованием валидированных методик испытаний.
4.3.4 Электронные записи, электронные подписи и рукописные подписи, выполняемые для электронных записей, которые используются при валидации, контроле процесса или других процессов принятия решений о качестве, должны быть достоверными.
5 Цилиндр шприца (размеры и обозначение)
5.1 Конструкция и размеры
5.1.1 Тип конструкции наконечника шприца согласовывается производителем и заказчиком. К обычному наконечнику "Луер" и винтовому (замковому) наконечнику "Луер" применяют особые требования (см.
[2] и
[3]).
5.1.2 Если требуется нанесение надписей на цилиндр, это должно быть согласовано между производителем и потребителем.
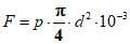
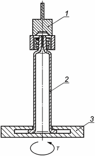
1 - наконечник; 2 - упор для пальцев
Примечания
1 Кромки могут быть слегка скруглены.
2 Конструкция упора для пальцев согласовывается производителем и заказчиком.
Рисунок 1 - Типичный пример цилиндра и упора для пальцев
полимерного предварительно наполненного шприца
Размеры цилиндра шприца должны соответствовать
рисунку 1 и
таблице 1, в которых приведены минимальные требования к размерам. Производитель и заказчик могут согласовать другие размеры в зависимости от области применения. Конструкции наконечника полимерного цилиндра приведены в
приложении B.
При наличии определенных требований к размерам, которые являются общими при использовании шприца в сочетании с инъекторами, рекомендуется согласовать эти требования между поставщиком и заказчиком.
Таблица 1
В миллиметрах
Номинальный объем, мл | Номинальные размеры и допуски |
d1 | | l | l1 | h1 | d3 | d4 |
0,5 | От 6,8 до 8,2 +/- 0,1 От 6,8 | От 4,6 до 4,8 +/- 0,1 | От 57,0 до 64,8 +/- 0,2 | От 47,5 до 54,1 +/- 0,2 | От 1,8 до 2,1 +/- 0,1 | От 13,4 до 13,8 +/- 0,1 | От 0,5 до 11,0 +/- 0,1 |
| От 8,1 до 9,7 +/- 0,1 | От 6,3 до 6,5 +/- 0,1 | От 64,0 до 64,5 +/- 0,2 | От 54,0 до 54,5 +/- 0,2 | От 1,9 до 2,3 +/- 0,1 | От 13,7 до 13,8 +/- 0,1 | От 10,5 до 11,0 +/- 0,1 |
| От 10,8 до 11,4 +/- 0,1 | От 8,5 до 8,75 +/- 0,1 | От 45,9 до 46,9 +/- 0,2 | От 35,2 до 35,9 +/- 0,2 | От 1,9 до 2,3 +/- 0,1 | 17,75 +/- 0,1 | 14,70 +/- 0,1 |
2,25 | От 10,8 до 11,4 +/- 0,1 | От 8,5 до 8,75 +/- 0,1 | От 64,4 до 66,8 +/- 0,2 | От 53,9 до 54,6 +/- 0,2 | От 1,9 до 2,3 +/- 0,1 | 17,75 +/- 0,1 | 14,70 +/- 0,1 |
3 | От 10,8 до 11,6 +/- 0,1 | От 8,5 до 8,75 +/- 0,1 | От 82,4 до 84,6 +/- 0,2 | От 71,7 до 72,4 +/- 0,2 | От 1,9 до 2,3 +/- 0,1 | 17,75 +/- 0,1 | 14,70 +/- 0,1 |
5 | От 14,4 до 15,0 +/- 0,1 | От 11,7 до 12,2 +/- 0,1 | От 76,5 до 80,0 +/- 0,2 | От 64,3 до 66,7 +/- 0,2 | От 2,0 до 3,1 +/- 0,15 | От 22,9 до 23,1 +/- 0,1 | От 19,40 до 19,9 +/- 0,1 |
10 | От 16,6 до 18,0 +/- 0,1 | От 14,1 до 14,7 +/- 0,1 | От 97,7 до 100,5 +/- 0,3 | От 86,2 до 87,3 +/- 0,2 | От 2,0 до 3,1 +/- 0,15 | От 26,9 до 27,4 +/- 0,1 | От 21,50 до 21,9 +/- 0,1 |
20 | От 21,2 до 22,7 +/- 0,15 | От 18,2 до 19,1 +/- 0,15 | От 107,3 до 120,2 +/- 0,3 | От 95,6 до 109,1 +/- 0,2 | От 2,0 до 3,1 +/- 0,15 | От 32,25 до 39,0 +/- 0,15 | От 25,15 до 26,1 +/- 0,15 |
50 | От 29,2 до 32,3 +/- 0,2 | От 26,4 до 29,3 +/- 0,2 | От 128,8 до 151,2 <e> +/- 0,5 | От 118,7 до 128,2 <e> +/- 0,5 | От 2,0 до 3,5 +/- 0,2 | От 45,00 до 50,1 +/- 0,2 | От 33,2 до 39,10 +/- 0,2 |
100 | От 35,2 до 35,5 +/- 0,2 | От 31,8 до 32,2 +/- 0,2 | 169,8 +/- 0,5 | 156,4 +/- 0,5 | От 2,7 до 3,1 +/- 0,2 | 47,65 +/- 0,2 | 41,45 +/- 0,2 |
<a> При указании внутреннего диаметра необходимо принимать во внимание характеристики поршня с учетом усилия, требуемого для начала и последующего движения поршня, а также герметичности уплотнителя поршня/цилиндра. Внутренний диаметр цилиндра шприца также зависит от полимерного материала. <b> Данный диапазон относится к цилиндрам с интегрированным винтовым соединением "Луер Лок". <c> Длинный цилиндр шприца. <d> Короткий или стандартный цилиндр шприца. <e> Данный диапазон предусматривается для специальных применений, например, в насосах и автоинжекторах. |
5.2 Требования к конструкции
5.2.1 Конструкция наконечника
Тип конструкции наконечника шприца согласовывается между поставщиком цилиндра и потребителем, осуществляющим наполнение и окончательную (финишную) обработку полимерного предварительно наполненного шприца. К наконечнику "Луер" и винтовому наконечнику (соединению) "Луер Лок" применяют требования
[3]. Примеры конструкции наконечников приведены в
приложении B.
5.2.2 "Мертвое" пространство
При испытании вместе с выбранным уплотнителем поршня "мертвое" пространство в цилиндре и наконечнике при утопленном до упора поршне определяют по
ГОСТ ISO 7886-1. Технические характеристики должны быть согласованы между производителем и заказчиком.
5.2.3 Испытание функциональности наконечника "Луер"/соединения "Луер Лок"
Функциональные характеристики полимерного цилиндра для предварительно наполненного шприца с учетом наконечника "Луер" или винтового соединения "Луер Лок" должны быть продемонстрированы проведением испытаний (см.
[3]).
5.2.4 Прочность упора для пальцев
Цилиндры шприца должны обеспечивать соответствующую прочность упора для пальцев (фланца). Предельные значения подлежат согласованию между производителем и потребителем.
Прочность упора для пальцев (фланца) определяют в соответствии с
C.1 приложения C.
Примечание - Метод испытания на прочность упора для пальцев (фланца) является эталонным испытанием для обеспечения согласованного показателя измерения для сравнения характеристик разных шприцев, а также может быть потенциально использован как показатель качества для оценки изменений и мониторинга эксплуатации. Метод испытаний может потребовать регулировки для имитации конкретных условий применения шприцевой системы, например, применение в автоматических инжекторах.
5.2.5 Прочность наконечника шприца
Наконечники шприцев должны обладать соответствующей прочностью. Допустимые пределы согласовываются производителем и потребителем.
Прочность наконечника шприца определяют в соответствии с
C.2 приложения C.
Диаметр держателя шприца в соответствии с
рисунком C.4 приложения C должен быть отрегулирован в соответствии с наружным диаметром шприца, приведенным в
таблице C.1 приложения C.
Примечание - Методика испытания прочности наконечников "Луер" является эталонным испытанием, применение которого обеспечивает надежность данных для сравнения функциональных характеристик разных шприцев, а также, в принципе, может быть использовано для оценки изменений и мониторинга производства. Методику испытаний допускается корректировать для симуляции особых условий применения шприца, например, применение в автоматических инжекторах.
6 Требования к стерилизованным готовым к наполнению шприцам
Поставщик компонентов цилиндра и заказчик, осуществляющий наполнение и окончательную (финишную) обработку полимерного предварительно наполненного шприца, должны учитывать требования, установленные в фармакопейных статьях Государственной фармакопеи Российской Федерации (ГФ РФ) или Европейской фармакопее (Ph. Eur.), фармакопее США (USP) или фармакопее Японии (JP).
Производитель должен иметь документированные процедуры по проектированию и разработке стерилизованных готовых к наполнению шприцев.
Примечание - В
ГОСТ Р ИСО 15378 и
ГОСТ ISO 13485 приведены требования к подходящей системе менеджмента качества для материалов первичной упаковки лекарственных препаратов.
6.2.1 Общие положения
При выборе сырья или компонентов и конструкции стерилизованного готового к наполнению шприца учитывают следующие свойства:
a) способность обеспечивать барьер для микроорганизмов;
b) биосовместимость и токсикологические свойства;
c) физические и химические свойства;
d) возможность стерилизации и совместимость с предполагаемым процессом стерилизации;
e) сохранение стерильности предварительно собранного изделия;
f) ограничения по сроку годности;
g) функциональность в отношении наполнения/упаковки;
h) надежность укупорочной системы при транспортировании от производителя к заказчику.
Материал должен обладать соответствующими эксплуатационными свойствами, например, проницаемостью для кислорода и водяного пара.
Примечание - Рекомендации по материалам, а также кодировке полимерных материалов приведены в
приложении I.
6.2.2 Обязательность уведомления об изменениях состава полимеров
Между компанией, производящей шприцы из полимерного материала, и фармацевтической компанией, использующей его для производства инъекционных лекарственных препаратов, должны быть согласованы процедуры контроля изменений и уведомления о них.
Примечания
2 Особое внимание уделяют процедурам контроля изменений и уведомлению поставщика об изменениях исходных материалов.
6.2.3 Игла
6.2.3.1 Если стерилизованный готовый к наполнению шприц поставляется с несъемной иглой, то применяют требования 6.2.3.2 -
6.2.3.5.
6.2.3.2 Игла должна соответствовать следующим требованиям к материалу, размеру и конструктивному исполнению:
- материал и размеры игольной трубки должны соответствовать
ГОСТ Р ИСО 9626. Производитель игл с конической заточкой конца иглы должен определить процедуру проведения функциональных испытаний, в частности, жесткости трубки иглы и прочности на излом на основе оценки специфических рисков, проводимой в соответствии с
ГОСТ ISO 14971;
- прочность соединения между шприцем и иглой должна соответствовать
ГОСТ ISO 7864;
- фактическая длина иглы должна соответствовать
ГОСТ ISO 7864-2011,
рисунок 2.
При наличии особых требований к длине острия иглы от упора для пальцев или плеча шприца, которые являются общими при использовании шприца с несъемной иглой в инъекторах, этот размер должен быть согласован между производителем и потребителем.
Особенности конструкции иглы должны быть согласованы производителем и потребителем.
6.2.3.3 Поверхность иглы должна быть обработана смазкой (например, силиконовым маслом).
Примечание - Смазка иглы снижает до минимума болевые ощущения при прокалывании кожи иглой во время инъекции.
При оценке материала следует соблюдать требования к силиконовому маслу (диметикону) в соответствующих фармакопеях
[4],
[5] и использовать соответствующие стандартные образцы.
Возможно, нормативные значения показателя силы прокалывания иглы придется устанавливать с помощью оценки рисков и оценки удобства использования.
Измерения силы прокалывания (пенетрации) иглы могут проводиться для определения остроты иглы и дефектов смазки, при этом получаемые результаты могут не коррелировать с уровнем боли при инъекции.
Примечание - Метод испытания для определения силы проникновения иглы приведен в
приложении F.
6.2.3.4 Проходимость просвета (канала трубки иглы) должна соответствовать требованиям
ГОСТ ISO 7864.
6.2.3.5 Клеящее вещество, используемое для фиксации иглы в шприце, должно соответствовать требованиям соответствующих фармакопей и/или другим государственным или региональным требованиям. См. также
ГОСТ ISO 10993-1.
Испытания на прочность соединения иглы и наконечника шприца проводят в соответствии с
G.1 приложения G. В описании этого метода не приведены требования к значениям силы, прикладываемой к игле и наконечнику в направлении их разъединения (минимальное усилие, Н), поскольку оно зависит от соглашения между производителем и потребителем. См. также значения, приведенные в
ГОСТ ISO 7864.
6.2.4 Укупорочная система
6.2.4.1 Материал, который может вступать в контакт с лекарственным препаратом, должен соответствовать требованиям
ГОСТ Р ИСО 8871-1. Также дополнительно должны применяться существующие региональные или национальные фармакопейные требования к контейнерам объемом более 100 мл (см., например, требования к контейнерам типа I или типа II по
[6] -
[8]).
6.2.4.2 Укупорочные средства должны позволять проведение стерилизации.
Соблюдение установленных требований должно быть продемонстрировано подходящими методами.
Примечание - При разработке процедуры стерилизации оксидом этилена и/или водяным паром следует убедиться, что все укупорочные средства, включая материал, имеют достаточную проницаемость для газообразного оксида этилена и водяного пара и позволяют им во время стерилизации достигать как наконечника шприца "Луер", так и иглы через укупорочные средства.
Укупорочная система должна обеспечивать соответствующую герметичность, которая проверяется с помощью испытания в соответствии с
G.2 приложения G.
Требования согласовываются производителем и потребителем.
6.2.4.3 Требования к коническому наконечнику "Луер" приведены в
[2],
[3],
[9].
6.2.4.4 Соединительные системы с винтовым переходником "Луер Лок" (LLA) должны выдерживать минимальное усилие 22 Н при испытании прочности соединения в соответствии с
G.3 приложения G.
Примечание - Такое значение усилия, прикладываемого к месту соединения системы с шприцем в направлении их разъединения соответствует минимальному усилию, приведенному в
таблице 2 ГОСТ ISO 7864-2011, для игл с номинальным наружным диаметром не более 0,5 мм.
6.2.4.5 Соединительные системы с винтовым переходником "Луер Лок" (LLA) должны обладать требуемым сопротивлением крутящему моменту при испытании в соответствии с
G.4 приложения G.
Минимальное значение сопротивления крутящему моменту подлежит согласованию между производителем и потребителем.
6.2.4.6 Конструктивное исполнение укупорочной системы должно обеспечивать:
- удаление колпачка наконечника (при использовании) со шприца с применением приемлемого крутящего момента;
- удаление колпачка наконечника или защитного колпачка иглы (при использовании) со шприца с применением приемлемого усилия; и
- защитные колпачки наконечника "Луер" или иглы, при использовании, должны обеспечивать сохранение их стерильности.
Значения максимального допустимого крутящего момента и усилия разъединения, соответственно, согласовываются производителем и потребителем.
Испытание (испытания) проводят в соответствии с
G.5 и
G.6 приложения G, соответственно.
6.2.5 Герметичность упаковочной (укупорочной) системы
Компоненты стерилизованных готовых к наполнению шприцев должны обеспечивать герметичность системы при наполнении, применяемой финишной стерилизации, во время хранения и транспортирования, а также при разных значениях давления внешней среды.
Герметичность укупорочной системы подтверждают с помощью валидированного метода. Испытание на герметичность окрашенным раствором, приведенное в
приложении H, является информативным методом проверки герметичности стерилизованного готового к наполнению шприца на этапе разработки конструкции.
Примечание - Могут использоваться детерминированные методы, такие как испытание на герметичность гелием, выявление утечек высоким напряжением, а также вероятностные методы, такие как испытание на стерильность (микробиологическую чистоту).
6.3 Требования к физическим характеристикам
6.3.1 Стерилизация
Стерилизованные готовые к наполнению шприцы должны быть простерилизованы до достижения уровня гарантированной стерильности (SAL), равного 10
-6, с использованием подходящего валидированного метода стерилизации (например,
ГОСТ ISO 11135,
ГОСТ Р ИСО 17665-1,
ГОСТ Р ИСО 14937 или
[10]).
6.3.2 Прозрачность и мутность
Требования к прозрачности и мутности растворов до и после стерилизации, а также методики испытаний согласовываются производителем и заказчиком.
Любая возможная окраска цилиндра шприца, например, в целях защиты от света, согласовывается между заказчиком и производителем материала первичной упаковки.
6.3.3 Механические включения
Готовые к наполнению стерилизованные предварительно собранные шприцы изготавливают по технологиям, которые сокращают риск контаминации механическими включениями.
Действующие фармакопеи указывают, что присутствие в инъекционных лекарственных формах видимых механических включений нежелательно (в лекарственных препаратах для инфузий недопустимо), но не определяют их допустимый размер и не устанавливают допустимое количество. Рекомендуется согласовать размер и количество видимых механических включений, метод испытания между производителем и потребителем.
Фармакопейные требования и методы испытаний, установленные для механических включений (например, Ph. Eur., USP, JP и
[11]) не применяются к незаполненным шприцам.
Технические требования в отношении частиц, приведенные в фармакопеях (например, Ph. Eur., USP, JP), не применяют к незаполненным шприцам.
К невидимым механическим включениям применяют следующие требования:
- частицы >= 10 мкм - не более 600 на шприц;
- частицы >= 25 мкм - не более 60 на шприц.
Примечания
1 Данные требования были разработаны на основании фармакопеи
[12] (нормы содержания невидимых механических включений в парентеральных лекарственных препаратах малого объема, менее 100 мл) для наполненных контейнеров номинального объема не более 100 мл.
Установленная норма готового к наполнению шприца, составляющая 10% от нормы
[13], помогает потребителю выполнять требования USP, а также
ГФ РФ к предварительно наполненным шприцам. Это значение было выбрано на основе исторических данных, полученных с использованием счетно-фотометрического метода (метода светоблокировки), как указано в
D.2.
6.3.4 Смазочные материалы
При использовании силиконового масла следует выполнять все применимые требования фармакопей к его качеству, включая количественные показатели. При использовании других смазочных материалов применяются требования соответствующих спецификаций производителя.
При нанесении смазки на внутренние поверхности цилиндра шприца смазочный материал не должен быть виден в форме капель или частиц невооруженным глазом при нормальном или скорректированном до нормального зрении. Предельные значения и распределяемое количество смазочного материала подлежат согласованию между производителем и потребителем.
Примечание - Смазка внутренней поверхности цилиндра шприца применяется для улучшения характеристик скольжения поршня. Как правило, смазочный материал наносится посредством силиконизации (например, путем нанесения силиконового масла высокой вязкости на внутреннюю поверхность шприца или силикона с последующей обработкой отверждением).
При использовании силиконового масла должны выполняться соответствующие фармакопейные требования (например,
[4] -
[5]).
Примечание - В
приложении E указан подходящий метод испытаний для определения качества и консистенции смазки с помощью испытания на силу трения скольжения.
6.4 Экстрагируемые вещества (требования к химическим характеристикам)
Материалы, используемые для изготовления шприцев, выбирают таким образом, чтобы свести к минимуму риск высвобождения из них химических соединений, которые могут попасть в лекарственные препараты.
Примечание - Методы испытаний приведены в региональных или национальных фармакопеях или в руководстве Европейского агентства лекарственных средств (EMA) по химическому составу экстрагируемых веществ
[18].
При исследовании экстрагируемых веществ стерилизованного предварительно собранного шприца необходимо учитывать воздействие всех материалов укупорочной и упаковочной системы шприца, поставляемого потребителю.
Примечание - Такое исследование может гарантировать, что печатные краски или самоклеящиеся этикетки, используемые на полимерных шприцах, не влияют на характеристики шприца и не представляют неприемлемого риска для содержимого шприца и/или пациента.
6.5 Бактериальные эндотоксины и требования к биологическим характеристикам
Материал шприца должен удовлетворять требованиям биологической безопасности, то есть показателям токсичности, цитотоксичности, бактериостатичности, бактерицидности, пирогенности или отсутствию гемолитических реакций.
Примечание - Во многих странах подходящие испытания для оценки биологической безопасности подробно описаны в национальных или региональных фармакопеях, нормативными правовыми актами или стандартами. Примерами являются ГФ, Ph. Eur., USP и JP.
Обязательные испытания в соответствии с
ГОСТ ISO 10993-1 должны быть согласованы между производителем первичной упаковки и потребителем.
Предельное значение показателя "
Бактериальные эндотоксины" (
пирогенность) для шприцев должно быть не более 0,25 ЕЭ/мл с учетом номинального объема шприца, приведенного в
таблице 1.
Примечание - Обоснования нормы содержания бактериальных эндотоксинов для стерильной воды для инъекций приведены в
[19],
[20].
Метод экстракции и проведение испытаний приведены в региональных и национальных фармакопеях:
- информация о методе экстракции приведена в
[21];
Примечание - Подготовка проб, основанная на фармакопейных методах, приведена в
D.1 приложения D.
При нанесении линий уровня наполнения или делений шкалы можно использовать требования
ГОСТ ISO 7886-1.
Требования к потребительской упаковке и маркировке упаковки стерилизованных готовых к наполнению шприцев приведены в ГОСТ Р ИСО 11040-7.
Маркировка потребительской упаковки полимерных цилиндров для инъекционных лекарственных препаратов подлежит согласованию между производителем и потребителем.
(справочное)
ПРИМЕРЫ ТИПОВ СТЕРИЛИЗОВАННЫХ ГОТОВЫХ К НАПОЛНЕНИЮ ШПРИЦЕВ
A.1 Компоненты
На рисунке A.1 a) - d) показаны общие компоненты стерилизованных готовых к наполнению шприцев.
1 - защитный колпачок иглы; 2 - игла; 3 - цилиндр шприца;
4 - колпачок наконечника; 5 - поршень; 6 - шток поршня;
7 - переходник с резьбой "Луер Лок"; 8 - плотная втулка;
9 - защитный колпачок с контролем первого вскрытия;
10 - наконечник шприца; 11 - упор для пальцев;
12 - встроенное винтовое (замковое) соединение "Луер Лок"
Примечание - Поршень 5 и шток поршня 6 не входят в область применения настоящего стандарта.
Рисунок A.1 - Примеры стерилизованных готовых к наполнению
шприцев, включая компоненты укупорочной системы
A.2 Описание укупорочных систем
A.2.1 Общие положения
Укупорочные средства закрывают шприц таким образом, чтобы лекарственный препарат оставался полностью укупоренным и исключались риски микробной контаминации содержимого шприца. Укупорочные средства устанавливаются на корпус стерилизованного шприца, готового к наполнению производителем лекарственного препарата. Далее предварительно собранный блок упаковывают в подходящую упаковочную систему и затем стерилизуют оксидом этилена или другим методом.
Укупорочная система может состоять:
- из наконечника "Луер", с винтовым соединением или без, который может быть закрыт с помощью колпачка наконечника, и
- иглы и защитного колпачка иглы.
A.2.2 Укупорка шприцев с наконечником "Луер" в соответствии с
[3].
Шприцы с наконечниками "Луер" закрывают колпачком наконечника из соответствующего материала.
A.2.3 Укупорка шприцев с переходником "Луер Лок" в соответствии с
[3].
Шприцы с переходником "Луер Лок" закрывают колпачком наконечника из соответствующего материала, который после сборки с полимерным переходником "Луер Лок" с резьбой, стандартизованной в соответствии с
[3], закрепляется на наконечнике "Луер" шприца таким образом, что обе части вместе образуют коническое винтовое соединение "Луер Лок".
Такие укупорочные системы выпускают в разных конструктивных исполнениях, как с контролем первого вскрытия, так и без.
A.2.4 Укупорка шприцев с встроенным винтовым (замковым) соединением "Луер Лок" в соответствии с
[3].
Шприцы с встроенным винтовым (замковым) соединением "Луер Лок" закрывают колпачком наконечника из соответствующего материала.
A.2.5 Шприцы с несъемной иглой
Шприцы с несъемной иглой укупоривают защитным колпачком иглы или жестким колпачком иглы.
Важно, чтобы кончик иглы, и, особенно отверстие на ее кончике, были полностью вложены в эластомерный защитный колпачок для иглы для обеспечения герметичности.
(справочное)
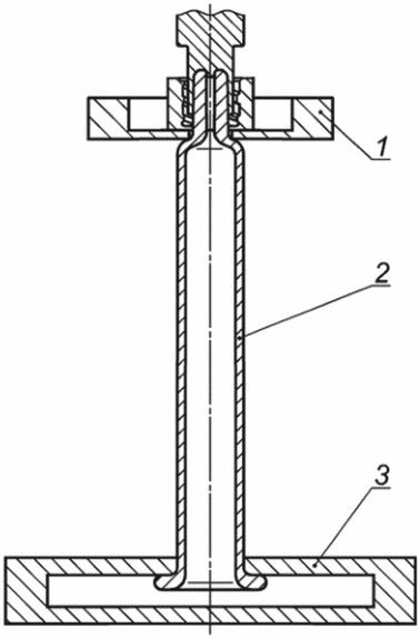
На рисунке B.1 показана конструкция наконечника цилиндра шприца с несъемной иглой.
--------------------------------
<a> Зависит от диаметра иглы.
Примечание - Отверстие также может быть цилиндрической формы.
Рисунок B.1 - Модель A. Конструкция
наконечника цилиндра шприца с несъемной иглой
На рисунке B.2 показана конструкция цилиндра с 6%-ным конусным наконечником "Луер" в соответствии с
[3].
Рисунок B.2 - Модель B. Конструкция наконечника цилиндра
с 6%-ным конусом "Луер" в соответствии с
[3]
На рисунке B.3 показана конструкция наконечника цилиндра с 6%-ным конусным наконечником "Луер" для винтового (замкового) соединения "Луер Лок" в соответствии с
[3].
--------------------------------
<a> По согласованию между производителем и потребителем.
Примечание - Особые требования к высоте наконечника "Луер" от упора для пальцев или плеча шприца, которые являются общими при использовании шприца в инъекторах, согласовываются производителем и потребителем.
Рисунок B.3 - Модель C. Конструкция наконечника цилиндра
с 6%-ным конусным наконечником "Луер" для винтового
(замкового) соединения "Луер" в соответствии с
[3]
На рисунке B.4 показана конструкция наконечника цилиндра с встроенным винтовым соединением "Луер Лок" в соответствии с
[3].
Рисунок B.4 - Модель D. Конструкция наконечника
цилиндра с встроенным винтовым соединением
"Луер Лок" в соответствии с
[3]
(обязательное)
МЕТОДЫ ИСПЫТАНИЙ ЦИЛИНДРОВ ШПРИЦЕВ
C.1 Прочность упора для пальцев
C.1.1 Принцип метода
Испытание используют для определения прочности упора для пальцев путем приложения усилия к цилиндру шприца, помещенному до упора в держатель цилиндра.
C.1.2 Материалы
C.1.2.1 Цилиндры шприцев, подлежащих испытанию, в количестве в соответствии с установленными требованиями.
C.1.3 Оборудование
C.1.3.1 Универсальная машина для испытаний на растяжение и сжатие
Машина для испытаний на растяжение и сжатие (следует обратить внимание на общую жесткость конструкции стенда для обеспечения высокого уровня сопротивления) должна соответствовать следующим требованиям:
- датчик силы (нагружающее устройство) 2500 Н (или в зависимости от измеряемого усилия);
- скорость перемещения нагружающего устройства - 100 мм/мин (или в зависимости от требований);
- частота датчика (регулирования силы) не менее 100 Гц.
Примечание - Требования к датчику силы, скорости перемещения и частоте датчика подлежат согласованию между производителем и потребителем.
C.1.3.2 Держатель шприца
Держатель шприца, изготовленный из подходящего материала [например, полиэфирэфиркетон (PEEK)] и имеющий соответствующие размеры.
Примечание - Материалы и конструктивное исполнение зависят от планируемого варианта применения и подлежат согласованию между производителем и потребителем. В таблице C.1 и на
рисунке C.1 приведены примеры размеров держателя шприца.
Таблица C.1
Примеры размеров держателя шприца и нагружающего устройства
В миллиметрах
Наружный диаметр цилиндра шприца OD | Диаметр A | Диаметр b | Радиус c |
OD | OD + 0,5 | 80% от внутреннего диаметра шприца (ID) | b/2 |
Рисунок C.1 - Пример держателя шприца
C.1.3.3 Нагружающее устройство (поршень)
Нагружающее устройство (поршень) изготавливают из подходящего материала и соответствующих размеров.
Примечания
1 Материалы и конструктивное исполнение (например, радиус кривизны, скорректированный в соответствии с внутренней конструкцией плеча шприца) зависят от предполагаемого применения и подлежат согласованию между производителем и потребителем. Примеры размеров нагружающего устройства приведены в
таблице C.1 и на
рисунке C.2.
2 Полиформальдегид (полиацеталь) с твердостью по Шору D от 80 до 90 по
ГОСТ Р ИСО 7619-1, является подходящим материалом для контактной зоны (см. X на
рисунке C.2) нагрузочного поршня. Шток может быть изготовлен из нержавеющей стали.
C.1.4 Подготовка и хранение испытуемых образцов
Следует обратить внимание, чтобы до проведения испытания испытуемые образцы не подвергались ударным нагрузкам.
Перед испытанием проверяют держатель шприца и нагружающее устройство на наличие повреждений и периодически их обновляют.
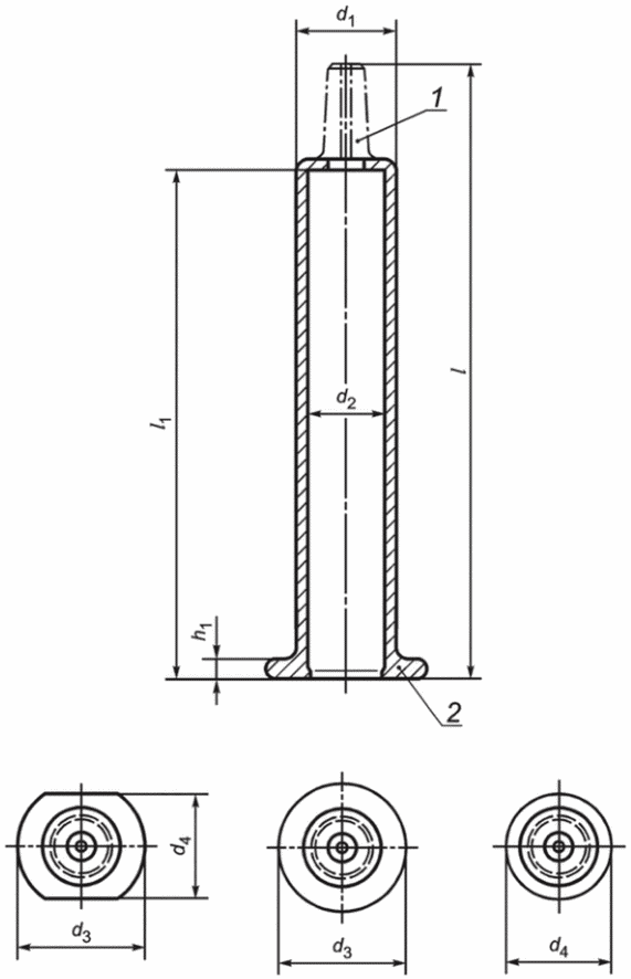
C.1.5 Проведение испытания
C.1.5.1 Испытуемый цилиндр шприца помещают в держатель шприца, и устанавливают нагружающее устройство близко к наконечнику цилиндра шприца, как изображено на рисунке C.2.
1 - держатель шприца; 2 - цилиндр шприца;
3 - нагружающее устройство (поршень)
Примечание - Информация о диаметре
b и радиусе
c приведена в
таблице C.1.
Рисунок C.2 - Положение цилиндра
шприца и нагружающего поршня
C.1.5.2 При проведении испытаний устанавливают скорость перемещения поршня, равную 100 мм/мин (или другое установленное значение) и частоту датчика не менее 100 Гц.
C.1.5.3 Регистрируют зависимость приложенного усилия от расстояния перемещения нагружающего поршня и строят график. Пример приведен на рисунке C.3.
F - усилие в ньютонах; l - расстояние в миллиметрах
Рисунок C.3 - Пример графика
зависимости усилия от перемещения
C.1.6 Представление результатов
Определяют пиковое (максимальное) значение на кривой перемещения. Оно соответствует прочности упора для пальцев.
C.1.7 Протокол испытаний
Протокол испытания должен содержать:
- скорость перемещения нагружающего поршня при испытании, мм/мин;
- частоту датчика, Гц;
- пиковое (максимальное) значение на графике зависимости приложенного усилия от расстояния перемещения поршня для каждого образца, Н;
- количество испытанных образцов;
- любые отклонения или примечания.
C.2 Прочность наконечника "Луер"
C.2.1 Принцип метода
Многие шприцы "Луер" оснащены соединителем с винтовым соединением "Луер Лок". В частности, шприцы, содержащие растворители или воду для инъекций, часто снабжены соединителем "Луер" для присоединения к адаптеру флакона для обеспечения безопасного растворения лиофилизата.
Такая конструкция (цилиндр шприца, адаптер для флакона и флакон) имеет большой осевой размер, поэтому в процессе растворения и манипуляций подвергается механической нагрузке со стороны пользователя. Наиболее слабым местом такой конструкции является наконечник шприца, который может подвергаться боковой нагрузке.
Испытание на прочность используют для определения минимального усилия, который должен выдерживать наконечник, и который определяется геометрическими параметрами и характеристиками полимерного материала.
C.2.2 Материалы
C.2.2.1 Цилиндры шприцев "Луер"
Цилиндры шприцев, подлежащих испытанию, в количестве в соответствии с установленными требованиями.
C.2.3 Оборудование
C.2.3.1 Универсальная машина для испытаний на растяжение и сжатие
Универсальная машина для испытаний на растяжение и сжатие (следует обратить внимание на общую жесткость конструкции стенда для обеспечения высокого уровня сопротивления), обеспечивающая выполнение следующих требований:
- датчик силы (нагружающее устройство), соответствующий измеряемому усилию;
- скорость перемещения нагружающего устройства (траверсы) при испытании - 25 мм/мин (или в зависимости от установленных требований);
- частота датчика (регулирования силы) не менее 100 Гц.
Примечание - Требования к датчику силы, скорости перемещения и частоте датчика подлежат согласованию между производителем и потребителем.
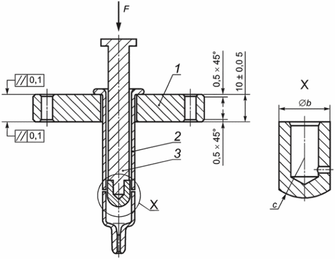
C.2.3.2 Держатель и нагружающее устройство
Держатель и нагружающее устройство должны быть изготовлены из нержавеющей стали. Размеры приведены на рисунке C.4.
1 - нагружающее устройство машины для испытаний на сжатие;
2 - держатель шприца; 3 - цилиндр шприца
Рисунок C.4 - Пример установки для испытаний
на растяжение и сжатие, включающей держатель
со вставленным цилиндром шприца
C.2.3.3 Набор адаптеров (захватов/зажимов), соответствующих геометрическим размерам шприца.
C.2.4 Проведение испытания
C.2.4.1 Устанавливают испытательное устройство следующим образом:
- проверяют адаптеры на наличие повреждений и исправность;
- устанавливают адаптеры в машину для испытаний на растяжение и сжатие;
- проверяют наличие защитных элементов для обеспечения безопасности оператора при разрушении полимерного цилиндра;
- устанавливают и открывают соответствующее программное обеспечение машины для испытаний на растяжение и сжатие, при необходимости.
C.2.4.2 Выполняют испытание следующим образом:
- помещают цилиндр шприца в машину для испытаний на растяжение и сжатие (см.
рисунок C.4);
- соединяют (закрывают) защитные элементы;
- начинают измерение, применяя скорость перемещения нагружающего устройства 25 мм/мин (или в зависимости от требований) и частоту датчика не менее 100 Гц;
- подвергают нагрузке цилиндр шприца до повреждения наконечника; усилие прикладывают на расстоянии около 2 мм, от конца наконечника цилиндра шприца;
- удаляют цилиндр шприца из адаптера;
- очищают адаптер от осколков цилиндра;
- убеждаются, что наконечник сломан.
C.2.5 Представление результатов
Регистрируют максимальное усилие, при котором ломается конический наконечник "Луер".
C.2.6 Протокол испытания
Протокол испытания должен содержать:
- частоту датчика (чем выше частота, тем точнее результат), Гц;
- скорость перемещения нагружающего устройства при испытании, мм/мин;
- расстояние от конца наконечника до точки, где шприц подвергался нагрузке, мм (приблизительно 2 мм);
- максимальное значение приложенного усилия при повреждении, Н;
- число испытанных образцов;
- любые отклонения или наблюдения.
(справочное)
ПОДГОТОВКА ОБРАЗЦА ДЛЯ ОПРЕДЕЛЕНИЯ
БАКТЕРИАЛЬНЫХ ЭНДОТОКСИНОВ И МЕХАНИЧЕСКИХ ВКЛЮЧЕНИЙ
D.1 Бактериальные эндотоксины
D.1.1 Общие положения
Образцы для определения эндотоксинов готовят в соответствии со следующими документами:
D.1.2 Материалы и оборудование
D.1.2.1 Стерилизованные шприцы
Шприцы, стерилизованные оксидом этилена или влажным паром в автоклаве, используют от 3 до 10 шприцев.
D.1.2.2 Уплотнители поршня
Уплотнители поршня апирогенные (без бактериальных эндотоксинов) или с подтвержденным сертификатом поставщика максимально допустимым уровнем бактериальных эндотоксинов.
D.1.2.3 Вода для инъекций апирогенная или реагент для теста с лизатом амебоцитов мечехвоста (Лал-вода), используемые в качестве экстрагента, с температурой (37 +/- 1) °C или не ниже температуры окружающей среды.
D.1.2.4 Встряхиватель (шейкер).
D.1.2.5 Контейнер апирогенный.
D.1.3 Проведение испытания
D.1.3.1 Апирогенный контейнер следует защищать от контаминации, источником которой является рабочая среда, до завершения испытаний, поэтому испытания проводят в чистом помещении, соответствующем 5 ИСО, и по
ГОСТ Р ИСО 14644-1.
D.1.3.2 Заполняют шприцы экстрагентом до номинального объема шприца.
D.1.3.3 Закрывают шприцы поршнем с уплотнителем.
D.1.3.4 Выдерживают наполненные и закрытые шприцы не менее 1 ч при температуре окружающей среды.
D.1.3.5 Затем энергично встряхивают шприцы в течение 10 мин на горизонтальном встряхивателе (или аналогичном устройстве).
D.1.3.6 Переносят полученный экстракт в апирогенный контейнер, вдавливая поршень и опорожняя шприц через передний конец (наконечник "Луер" с несъемной иглой).
D.1.3.7 Определяют значение единиц эндотоксинов ЕЭ/мл (EU/мл) в экстракте с использованием метода, аналогичного приведенному в
[23] или
[25] включая образцы "положительного" и "отрицательного" контроля.
Предельное значение содержания бактериальных эндотоксинов в экстракте вычисляют по формуле (D.1) (см.
[21],
[25])
, (D.1)
где K - предельное значение единиц эндотоксинов в одном шприце;
N - число испытанных шприцев;
V - общий объем экстракта.
Следует убедиться, что чувствительность используемого реагента является достаточно высокой для надлежащего обнаружения предельно допустимого значения содержания эндотоксинов в объединенном экстракте.
Пример - Для заданного номинального объема 1 мл и предельного значения эндотоксина менее 0,25 ЕЭ/мл при чувствительности реагента 0,02 ЕЭ/мл пороговое значение уровня "тревоги" (для 10 испытуемых шприцев) будет составлять 0,20 ЕЭ/мл, являющееся значением менее 0,25 ЕЭ/мл.
D.2.1 Основные положения
Подготовка образца для определения механических частиц основана на фармакопеях
[12] и
[14] или [13].
D.2.2 Материалы и оборудование
D.2.2.1 Стерилизованные шприцы (то есть, стерилизованные оксидом этилена или паром), количество в соответствии с требованиями.
D.2.2.2 Уплотнения поршня и шток поршня, количество в соответствии с требованиями.
D.2.2.3 Вода, для инъекций или очищенная вода любой фармакопейной категории.
D.2.2.4 Контейнер (лабораторная посуда)
D.2.3 Проведение испытания
D.2.3.1 Контейнер следует защищать от контаминации, источником которой является рабочая среда, до завершения испытаний, поэтому испытания проводят в чистом помещении, соответствующем 5 ИСО по
ГОСТ Р ИСО 14644-1.
D.2.3.2 Воду, не содержащую механических включений (частиц), получают путем фильтрования воды для инъекций или воды очищенной любой фармакопейной категории через фильтр с размером пор от 0,2 до 0,8 мкм.
D.2.3.3 Ополаскивают все используемое в испытании оборудование (например, лабораторные колбы, стаканы, дозирующие системы) водой, не содержащей частиц.
D.2.3.4 Помещают не менее 30 мл воды, не содержащей механических включений, в чистый контейнер, и оставляют не менее чем на 2 мин для удаления пузырьков воздуха.
D.2.3.5 Определяют содержание частиц в приготовленной воде, однако результаты первого измерения не учитывают, поскольку его используют для очистки измерительной системы.
D.2.3.6 Допустимые значения для воды, не содержащей частиц, при исследовании счетно-фотометрическим методом (на основе принципа светоблокировки) составляют:
- 10 частиц размером 10 мкм и более, и
- две частицы размером 25 мкм и более.
Если содержание частиц находится в указанных пределах, то продолжают подготовку образца.
Если содержание частиц превышает установленные значения, повторяют фильтрацию и измерение до тех пор, пока вода, не содержащая частиц, будет соответствовать установленным требования (см.
D.2.3.2 -
D.2.3.5).
D.2.3.7 Заполняют шприцы номинальным объемом воды, не содержащей частиц, и закрывают чистыми уплотнителями поршня.
D.2.3.8 Переворачивают шприцы 20 раз.
Примечание - Может потребоваться более энергичное перемешивание раствора для надлежащего суспендирования частиц.
D.2.3.9 Снимают колпачок наконечника/защитный колпачок иглы и переносят содержимое шприцев в чистый контейнер (получают испытуемый образец), вдавив до упора шток поршня.
D.2.3.10 Позволяют раствору отстояться не менее 2 мин для удаления пузырьков воздуха из образца.
D.2.3.11 Определяют содержание механических включений в испытуемом образце (в пересчете на один шприц), но результаты первого измерения не учитывают, так как оно используется только для очистки измерительной системы.
Предельные значения содержания невидимых механических включений в испытуемом образце в пересчете на один шприц при определении счетно-фотометрическим методом составляют:
- 600 частиц размером 10 мкм и более, и
- 60 частиц размером 25 мкм и более.
Примечание - Для выполнения четырех последовательных испытаний с исследуемой пробой объемом 5 мл требуется объединенный исследуемый образец объемом не менее 25 мл. Результаты первого испытания всегда отбрасывают. Среднее значение вычисляют по результатам трех последующих испытаний. В зависимости от номинального объема шприца на проведение испытаний требуется следующее количество шприцев:
- 25 шприцев объемом 1 мл;
- 13 шприцев объемом 2 мл;
- 12 шприцев объемом 2,25 мл;
- 9 шприцев объемом 3 мл;
- 5 шприцев объемом 5 мл.
Для предотвращения попадания пузырьков воздуха в измерительное устройство рекомендуется в объединенный испытуемый образец прибавить дополнительно 5 мл (суммарный объем образца составит 30 мл).
В зависимости от размера серии шприцев может потребоваться несколько объединенных образцов.
Число частиц в каждой емкости с образцом вычисляют по формуле (D.2)
, (D.2)
где P - среднее количество частиц, полученных в одном испытании;
Vt - общий (суммарный) объем образца, мл;
Va - номинальный объем шприца, мл;
n - число шприцев, номинального объема Va, использованных для получения объединенного испытуемого образца при проведении испытания.
(справочное)
МЕТОД ИСПЫТАНИЯ СИЛЫ ТРЕНИЯ
СКОЛЬЖЕНИЯ ДЛЯ ОЦЕНКИ СМАЗКИ ШПРИЦА
E.1 Назначение метода
Данный метод испытания используют для измерения силы трения скольжения пустых цилиндров шприцев, чтобы оценить качество и консистенцию смазки силиконовым маслом внутренней поверхности цилиндра шприца. Способность оценки качества и консистенции смазки силиконовым маслом может зависеть от используемой скорости испытания.
Примечание - Как правило, используют скорость испытания, равную 100 мм/мин (аналогично
ГОСТ ISO 7886-1); однако этого может быть недостаточно для обнаружения дефектов смазки. Скорость испытания подлежит согласованию между производителем и потребителем.
Определение усилия, требуемого для движения поршня, не входит в данное испытание, поскольку усилие прикладывается к шприцу (всей системе полностью).
E.2 Материалы
E.2.1 Пустые стерилизованные готовые к наполнению шприцы, количество в соответствии с установленными требованиями.
E.2.2 Уплотнители поршня (поршни)
Готовые к использованию уплотнители поршня (поршни), характеристики которых подлежат согласованию между производителем и потребителем (размеры, состав, уровень силиконизации, стерилизация).
E.2.3 Штоки поршней
Штоки поршней, пригодные для использования с выбранными уплотнителями, подлежат согласованию между производителем и потребителем.
E.3 Оборудование
E.3.1 Универсальная машина для испытаний на растяжение и сжатие
Универсальная машина для испытаний на растяжение и сжатие, соответствующая следующим требованиям:
- скорость испытания 100 мм/мин или в зависимости от требований:
- диапазон прикладываемого усилия до 50 Н или в зависимости от требований;
- частота датчика, в соответствии с требованиями.
Примечание - Значения скорости при испытании и диапазона усилия подлежат согласованию между производителем и потребителем.
E.3.2 Держатель шприца и пластины-адаптеры шприца
Держатель шприца и пластины-адаптеры для шприца, соответствующие размеру испытуемых стерилизованных готовых к наполнению шприцев.
E.3.3 Инструмент или машина для укупорки (вставки) поршней (уплотнителей поршней) механическим методом (с помощью усадочной трубки).
E.4 Проведение испытания
E.4.1 Устанавливают уплотнитель (поршень) в пустой цилиндр шприца, используя механический метод. Положение устанавливаемого поршня выбирают с учетом следующих моментов:
- для оценки передней части шприца (важная область для работы автоматического инъектора) выбирают положение, соответствующее 50% номинального объема шприца (например, 27 мм от упора для пальцев до конца поршня шприца объемом 1 мл);
- для оценки всего цилиндра выбирают положение, соответствующее номинальному объему (например, 10 мм от упора для пальцев до конца поршня шприца объемом 1 мл).
E.4.2 Устанавливают шток поршня в/на уплотнитель.
Примечание - Шток поршня может быть с резьбой или без нее.
E.4.3 Снимают защитный колпачок иглы или другое укупорочное средство для наконечника стерилизованного готового к наполнению шприца.
E.4.4 Закрепляют стерилизованный готовый к наполнению шприц в пластине-адаптере на приборе для измерения прилагаемого усилия.
E.4.5 Начинают сжатие с установленной скоростью.
E.4.6 Заканчивают испытание, когда уплотнитель поршня соприкасается с плечом цилиндра шприца.
E.4.7 Повторяют этапы
E.4.1 -
E.4.6 для всех испытуемых шприцев.
E.4.8 Регистрируют максимальное значение приложенного усилия в области испытания на силу трения скольжения (см. обозначение
b на
рисунке E.1). Область испытания на силу трения скольжения определяется как область приложенного усилия для начала движения до резкого увеличения силы в конце хода поршня. См.
рисунок E.1.
Допустимые значения усилия подлежат согласованию между производителем и потребителем.
1 - начало движения уплотнителя; 2 - конец испытания;
F - усилие в ньютонах; l - расстояние в миллиметрах;
a - область начала движения; b - область испытания на силу
трения скольжения; c - конец хода поршня
Рисунок E.1 - Пример, показывающий характеристики скольжения
E.5 Протокол испытаний
Протокол испытаний должен содержать:
- максимальное значение силы трения скольжения в области испытания силы трения скольжения (b), Н;
- частота датчика, Гц;
- вычисленное значение средней силы трения скольжения, Н;
- число испытанных образцов;
- любые отклонения или наблюдения.
(справочное)
ИСПЫТАНИЕ НА ПРОНИКНОВЕНИЕ ИГЛЫ
F.1 Принцип метода
Данный метод используют для определения прилагаемого усилия для проникновения иглы при проколе испытуемой пленки. Испытание проводят по
ГОСТ ISO 7864.
F.2 Оборудование
F.2.1 Универсальная машина для испытаний на растяжение и сжатие
Универсальная машина для испытаний на растяжение и сжатие, соответствующая следующим требованиям:
- диапазон измерения усилия до 50 Н или в соответствии с установленными требованиями;
- скорость испытания от 20 до 200 мм/мин или в соответствии с установленными требованиями;
- частота датчика в соответствии с требованиями.
Примечание - Диапазон измерения и скорость испытания подлежат согласованию между производителем и потребителем.
F.2.2 Держатель иглы.
F.3 Материалы
F.3.1 Пленка для испытаний
Технические требования к пленке для испытаний подлежат согласованию между производителем и потребителем.
F.3.2 Иглы и шприцы, поставляемые с несъемной иглой, то есть с силиконизированной иглой. Количество зависит от установленных требований и должно быть согласовано между производителем и потребителем.
F.4 Проведение испытания
F.4.1 Закрепляют в держателе пленку для испытаний без натяжения.
F.4.2 Закрепляют иглу в держателе иглы, перпендикулярно к пленке для испытаний и острием к геометрическому центру свободного участка пленки для испытаний.
F.4.3 Начинают испытание и прокалывают пленку для испытаний иглой.
F.4.4 Записывают кривую зависимости значения прилагаемого усилия от стадии движения иглы.
F.4.5 Используют новый образец пленки (неперфорированный) для каждого испытания на усилие прокола иглой.
Примеры изменения характеристик усилия для проникновения и зависимости прилагаемого усилия от стадии движения иглы приведены на рисунках F.1 и
F.2.
| 1 Острие иглы соприкасается с испытуемой пленкой | |
| 2 Острие иглы надавливает на пленку, усилие увеличивается до F0 | |
| 3 Острие иглы прокалывает пленку, начинается стадия разрезания | |
| 4 Режущие кромки острия иглы выполняют разрез | |
| 5 Разрез завершается с максимальным усилием F1 | |
| 6 Расширение разреза первичным срезом острия иглы | |
| 7 Концевой срез острия иглы проходит пленку, максимальное усилие F2 | |
| 8 Трубка иглы скользит через увеличенный разрез F3 | |
Рисунок F.1 - Стадии движения иглы при проникновении
F0 - усилие проникновения острия иглы (сила прокалывания);
F1 - усилие разрезания режущими кромками (сила резания);
F2 - усилие, когда концевой срез острия иглы проходит
пленку; F3 - усилие при сопротивлении продолжению движения
Примечание - Приведенный пример является частным случаем. Эта кривая не может быть типичной для всех игл и пленок для испытания.
Рисунок F.2 - Пример кривой зависимости
усилия от стадии движения иглы
F.5 Протокол испытаний
Протокол испытаний должен содержать:
- технические характеристики пленки для испытаний;
- скорость испытания, мм/мин;
- частота отсчета (Гц);
- график зависимости величины усилия от этапа движения иглы;
- число испытанных образцов;
- любые отклонения или наблюдения.
(обязательное)
МЕТОДЫ ИСПЫТАНИЙ УКУПОРОЧНЫХ СИСТЕМ
G.1 Прочность соединения иглы и шприца
G.1.1 Принцип метода
Испытание используют для оценки крепления иглы к шприцу.
Главным образом оно предназначено для проверки процесса крепления иглы, чтобы показать, что крепление несъемной иглы выдерживает значение силы, прикладываемой к игле и наконечнику в направлении их разъединения (минимальное усилие, Н), зависящее от диаметра иглы по
ГОСТ ISO 7864.
G.1.2 Материалы
G.1.2.1 Стерилизованные готовые к наполнению шприцы с несъемными иглами, количество в соответствии с установленными требованиями.
G.1.3 Оборудование
G.1.3.1 Универсальная машина для испытаний на растяжение и сжатие, соответствующая следующим требованиям:
- датчик силы (нагружающее устройство) 500 Н (или в зависимости от измеряемой силы);
- скорость перемещения активного захвата (траверсы) - 50 мм/мин (или в зависимости от требований);
- частота датчика не менее 65 Гц.
Примечание - Требования к датчику силы, скорости при испытании и частоте датчика подлежат согласованию между производителем и потребителем.
G.1.3.2 Держатель шприца
Шприц во время испытаний может быть зафиксирован плечом или упором для пальцев.
G.1.3.3 Адаптер-захват иглы
Захват иглы, предназначенный для предотвращения соскальзывания и исключения постороннего влияния на результаты измерений.
G.1.4 Подготовка и хранение испытуемых образцов
Испытуемые образцы должны быть произведены с помощью таких же процедур, что и поставляемый продукт.
G.1.5 Проведение испытания
G.1.5.1 Помещают испытуемый образец в вертикальном положении в прибор для испытаний (см. рисунок G.1).
1 - захват иглы, присоединенной к прибору для испытаний;
2 - шприц с несъемной иглой; 3 - держатель шприца/опорная
плита; F - усилие в ньютонах
Рисунок G.1 - Расположение испытуемого образца
в приборе для испытаний на растяжение
G.1.5.2 Располагают в захвате по возможности большую часть иглы для предотвращения скольжения.
G.1.5.3 Фиксируют испытуемый образец в свободном положении.
G.1.5.4 Устанавливают датчик силы в положение "ноль". Следует обратить внимание, что при установке "ноля" к шприцу не прилагают никакой предварительной нагрузки.
G.1.5.5 Применяют скорость перемещения 50 мм/мин или в зависимости от установленных требований, с соответствующей частотой регулирования усилия, Гц.
G.1.5.6 Начинают испытание.
G.1.5.7 Регистрируют зависимость величины усилия от расстояния перемещения активного захвата.
G.1.5.8 Останавливают испытание, когда игла выдергивается из шприца или ломается.
G.1.6 Представление результатов
Регистрируют максимальное значение усилия на кривой его зависимости от расстояния перемещения активного захвата. Это соответствует усилию, необходимому для разрушения соединения иглы со шприцем.
G.1.7 Протокол испытаний
Протокол испытаний должен содержать:
- скорость перемещения активного захвата, мм/мин;
- частоту датчика, Гц;
- график зависимости усилия от достигнутого расстояния перемещения активного захвата;
- пиковое значение, соответствующее максимальному усилию, Н;
- число испытанных образцов;
- любые отклонения или наблюдения.
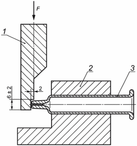
G.2 Испытание герметичности укупорочной системы
G.2.1 Принцип метода
Испытание используют для оценки пригодности укупорочных систем (колпачок иглы или колпачок наконечника/цилиндра в сборе) предупреждать протечку жидкости.
Испытание основано на подтверждении способности укупорочной системы выдерживать повышенное давление внутри шприца при наполнении или транспортировании.
Испытательное давление, равное 110 кПа, было выбрано на основе условий процесса в ходе финишного наполнения шприца.
G.2.2 Реактивы и материалы
G.2.2.1 Реактивы квалификации ч. д. а. и дистиллированная вода или вода эквивалентной чистоты.
G.2.2.2 Стерилизованные готовые к наполнению шприцы, количество в соответствии с установленными требованиями.
G.2.3 Оборудование
G.2.3.1 Универсальная машина для испытаний на растяжение и сжатие или на герметичность с помощью сжатого воздуха.
Примечание - Применение давления с использованием универсальной машины на растяжение и сжатие [см.
рисунок G.2 a)] предпочтительно, когда трением о стенки можно пренебречь. В этом случае предполагают, что достигается равновесие между приложенным усилием и внутренним давлением. Если трением о стенки пренебречь нельзя, то предпочтительно проводить испытание как показано на
рисунке G.2 b), когда усилие прикладывается к укупорочной системе посредством приложения сжатого воздуха на содержимое шприца.
G.2.3.2 Держатель шприца.
G.2.3.3 Уплотнители поршня и шток поршня шприца.
G.2.4 Подготовка и обеспечение сохранности испытуемых образцов
Период хранения/ожидания от установки укупорочного средства до проведения испытания на герметичность должен составлять не менее 12 ч. Необходимо обратить внимание на то, чтобы не повредить и/или не ослабить систему укупорки/колпачок шприца.
G.2.5 Проведение испытания
G.2.5.1 Вставляют испытуемый образец в держатель (см. рисунок G.2).
1 - держатель шприца; 2 - шприц с упаковочной системой;
3 - шток поршня и поршень; F - сила, Н
Примечание - На рисунке приведен пример шприца с защитным колпачком иглы. Испытание аналогичным образом применимо к шприцам с колпачком наконечника.
Рисунок G.2 - Примеры испытательного оборудования
для оценки герметичности укупорочной системы
G.2.5.2 Заполняют испытуемый образец реактивом от 1/3 до 2/3 номинального объема (см.
G.2.2.1).
G.2.5.3 В случае подачи воздуха непосредственно в шприц закрывают держатель крышкой и закрепляют устройство.
G.2.5.4 Прикладывают давление в 110 кПа и удерживают его в течение 5 с.
Соотношение между приложенным усилием
F (Н) и площадью поперечного сечения шприца, определяемое номинальным внутренним диаметром шприца, может быть вычислено по
формулам (G.1),
(G.2) и
(G.3) (см. также
таблицу G.1):
от
и

, (G.2)
затем

, (G.3)
где F - усилие в ньютонах;
p - заданное значение внутреннего давления, кПа (а именно 110 кПа);
A - площадь поперечного сечения цилиндра шприца, мм2;
d - номинальное значение внутреннего диаметра цилиндра шприца, мм.
Таблица G.1
Соотношение между внутренним диаметром
цилиндра шприца и прилагаемым усилием
Номинальная вместимость цилиндра шприца, мл | Номинальное значение внутреннего диаметра цилиндра шприца, мм | Вычисленное значение испытательной силы, Н |
0,5 | Например 4,65 | 1,87 |
<a> Вычислено для заданного внутреннего давления 110 кПа. 110 кПа·3,14/4·(4,65 мм)2·10-3 = 1,87 Н. |
G.2.5.5 Снижают давление.
G.2.5.6 Проверяют испытуемые образцы на утечку во время и после окончания испытания.
G.2.6 Представление результатов испытаний
Испытание считают удовлетворительным, если колпачки наконечника остались на месте и/или если отсутствуют капли на внешней поверхности укупорочной системы (влажная поверхность колпачка наконечника или защитного колпачка иглы).
Результаты испытания получают путем визуальной оценки.
G.2.7 Протокол испытаний
Протокол испытаний должен содержать:
- применяемое давление, кПа, или усилие, Н;
- число испытанных образцов;
- число выдержавших/не выдержавших испытание образцов, в соответствии с техническими требованиями;
- любые отклонения или наблюдения.
G.3 Прочность соединительной системы с винтовым переходником "Луер Лок"
G.3.1 Принцип метода
Испытание используют для оценки величины усилия, необходимого для отрыва соединительной системы с переходником "Луер Лок" (LLA), прикрепленной к стерилизованному готовому к наполнению шприцу.
Главным образом оно предназначено для проверки способности винтового соединения LLA выдерживать прилагаемое осевое усилие по разъединению винтового соединения LLA и цилиндра шприца при установке на него охватывающих винтовых конических наконечников 6%-ных "Луер Лок".
G.3.2 Материалы
G.3.2.1 Стерилизованные готовые к наполнению шприцы с системой LLA, количество в соответствии с требованиями.
G.3.3 Оборудование
G.3.3.1 Универсальная машина для испытаний на растяжение и сжатие, удовлетворяющая следующим условиям:
- скорость перемещения активного захвата 20 мм/мин или в соответствии с установленными требованиями (10 Н/с) (см.
[9]);
- датчик силы, соответствующий измеряемому усилию, типичный диапазон датчика от 10 до 100 Н;
- частота датчика не менее 65 Гц.
Примечание - Диапазон определения датчика силы, скорости перемещения и частота отсчета подлежат согласованию между производителем и потребителем.
G.3.3.2 Держатель шприца (см. рисунок G.3) и захват.
1 - пластина/зажим захвата LLA; 2 - шприц с LLA/системами
LLA; 3 - держатель шприца/опорная плита
Рисунок G.3 - Пример испытательного оборудования
для определения прочности соединительной системы
с винтовым переходником "Луер Лок"
G.3.4 Подготовка и хранение испытуемых образцов
Испытуемые образцы должны быть произведены с помощью таких же процедур, что и поставляемый продукт.
G.3.5 Проведение испытания
G.3.5.1 Удаляют колпачок наконечника.
G.3.5.2 Вставляют испытуемый образец вертикально в испытательное оборудование между держателем шприца (упор для пальцев) и захватом (винтовое соединения LLA).
G.3.5.3 Следует убедиться, что во время установки шприца к винтовому соединению LLA не прикладывают никакого усилия/смещения.
G.3.5.4 Фиксируют испытуемый образец в свободном положении.
G.3.5.5 Устанавливают датчик силы в положение "ноль". Следует убедиться, что при установке "ноля" к шприцу не прилагают никакой значимой предварительной нагрузки.
G.3.5.6 Применяют скорость перемещения активного захвата, равную 20 мм/мин, или в соответствии с установленными требованиями, с соответствующей частотой фиксации данных.
G.3.5.7 Регистрируют значение усилия в зависимости от достигнутого смещения (пройденной дистанции).
G.3.5.8 Прекращают испытание, когда винтовое соединение LLA визуально разъединилось с наконечником шприца.
G.3.6 Представление результатов
Определяют пиковую нагрузку по кривой зависимости усилия от достигнутого расстояния перемещения активного захвата. Пиковое значение соответствует усилию, необходимому для разъединения винтового соединения LLA и шприца.
G.3.7 Протокол испытаний
Протокол испытаний должен содержать:
- частоту датчика, Гц;
- скорость перемещения активного захвата, мм/мин;
- пиковое значение (силу отрыва), Н;
- число испытанных образцов;
- число выдержавших/не выдержавших испытание образцов, в соответствии с техническими требованиями;
- любые отклонения или наблюдения.
G.4 Сопротивление крутящему моменту переходника "Луер Лок"
G.4.1 Принцип метода
Испытание используют для оценки сопротивления крутящему моменту винтового соединения LLA стерилизованного готового к наполнению шприца.
Оно предназначено для проверки способности винтового соединения LLA выдерживать прилагаемый крутящий момент при навинчивании 6%-ного конического соединения "Луер" (головки иглы).
G.4.2 Материалы
G.4.2.1 Стерилизованные готовые к наполнению шприцы с LLA, количество в соответствии с установленными требованиями.
G.4.3 Оборудование
G.4.3.1 Машина для измерения крутящего момента в сочетании с вращающим устройством (см.
рисунок G.4), соответствующие следующим требованиям:
- датчик крутящего момента 35 Нсм с разрешающей способностью 0,05 Нсм или в зависимости от измеряемого крутящего момента;
- частота датчика не менее 65 Гц;
- скорость вращения 20 об/мин или в соответствии с установленными требованиями.
Примечания
1 Разрешающая способность датчика крутящего момента, частота датчика и скорость вращения при испытании подлежат согласованию между производителем и потребителем.
2 При проведении испытания может вращаться цилиндр шприца или винтовое соединение.
G.4.3.2 Адаптер: захват LLA
G.4.3.3 Держатель шприца (вращающийся, при выборе этой альтернативы).
1 - захватное устройство для LLA с датчиком крутящего
момента; 2 - шприц с LLA; 3 - держатель шприца/опорная плита
(вращающаяся); T - вращение
Примечание - При проведении испытаний может вращаться цилиндр шприца или укупорочное средство.
Рисунок G.4 - Пример испытательного оборудования
для определения сопротивления крутящему моменту винтового
соединения "Луер Лок" с вращающимся держателем шприца
G.4.4 Подготовка и хранение испытуемых образцов
Испытуемые образцы должны быть произведены с помощью таких же процедур, что и поставляемый продукт.
G.4.5 Проведение испытания
G.4.5.1 Испытуемый образец располагают вертикально в держателе шприца испытательного оборудования (см.
рисунок G.4).
G.4.5.2 Снимают колпачок наконечника.
Примечание - Это может быть выполнено вручную.
G.4.5.3 Устанавливают LLA в захват.
G.4.5.4 Задают датчику крутящего момента значение "ноль". Следует обратить внимание, чтобы никакого предварительного крутящего момента к шприцу не прикладывалось.
G.4.5.5 Устанавливают скорость вращения 20 об/мин или в зависимости от требований.
G.4.5.6 Начинают испытание с поворота опорной плиты на 90° по часовой или против часовой стрелки, в зависимости от системы. При альтернативном способе поворачивают винтовое соединение.
G.4.5.7 Регистрируют максимальное (пиковое) значение приложенного крутящего момента
G.4.6 Представление результатов испытаний
Регистрируют максимальное значение крутящего момента. Оно соответствует крутящему моменту, при котором винтовое соединение LLA начинает вращаться на шприце.
G.4.7 Протокол испытаний
Протокол испытаний должен содержать:
- скорость вращения, град./с или об/мин;
- частоту датчика, Гц;
- максимальное значение крутящего момента, Н·см;
- число испытанных образцов;
- число выдержавших/не выдержавших испытание образцов, в соответствии с техническими требованиями;
- любые отклонения или наблюдения.
G.5 Крутящий момент для удаления жесткого колпачка наконечника с винтовым соединением "Луер Лок"
G.5.1 Принцип метода
Испытание используется для определения крутящего момента жесткого колпачка наконечника стерилизованного готового к наполнению шприца.
Главным образом оно предназначено для проверки возможности снять жесткий колпачок наконечника со шприца с приложением приемлемого крутящего момента.
G.5.2 Материалы
G.5.2.1 Стерилизованные готовые к наполнению шприцы, с колпачком наконечника, количество в соответствии с установленными требованиями.
G.5.3 Оборудование
G.5.3.1 Прибор для измерения крутящего момента в комбинации с вращающим устройством, соответствующий следующим требованиям:
- датчик крутящего момента 35 Н·см с разрешающей способностью 0,05 Н·см или в зависимости от значения измеряемого крутящего момента;
- частота датчика не менее 65 Гц;
- скорость вращения 20 об/мин или в соответствии с установленными требованиями.
Примечания
1 Характеристики датчика крутящего момента, частота датчика и скорость вращения подлежат согласованию между производителем и потребителем.
2 При проведении испытаний может вращаться цилиндр шприца или винтового соединения.
G.5.3.2 Адаптер: захват колпачка наконечника.
G.5.3.3 Держатель шприца (вращающийся, при выборе этого варианта).
G.5.4 Подготовка и хранение испытуемых образцов
Испытуемые образцы должны быть произведены с помощью таких же процедур, что и поставляемый продукт.
G.5.5 Проведение испытания
G.5.5.1 Испытуемый образец устанавливают вертикально в держателе шприца устройства для испытаний (см.
рисунок G.5).
G.5.5.2 Устанавливают зажимы захвата на колпачок наконечника.
G.5.5.3 Устанавливают значение крутящего момента "ноль". Следует убедиться, что никакого предварительного крутящего момента в момент установки образца не прикладывалось.
G.5.5.4 Устанавливают скорость вращения 20 об/мин или в зависимости от установленных требований.
G.5.5.5 Начинают испытание с поворота опорной плиты на 90° по часовой или против часовой стрелки, в зависимости от используемой системы. В качестве альтернативного варианта вращают колпачок наконечника.
G.5.5.6 Регистрируют максимальное (пиковое) значение приложенного крутящего момента.
G.5.6 Представление результатов испытаний
Регистрируют максимальное значение крутящего момента. Оно соответствует крутящему моменту, при котором колпачок наконечника начинает вращаться на шприце.
G.5.7 Протокол испытаний
Протокол испытания должен содержать:
- скорость вращения, град./с или об/мин;
- частоту датчика, Гц;
- максимальное значение крутящего момента, Н·см;
- число испытанных образцов;
- число выдержавших/не выдержавших испытание образцов, в соответствии с техническими требованиями;
- любые отклонения или наблюдения.
1 - захват с датчиком крутящего момента; 2 - шприц
с колпачком наконечника; 3 - держатель шприца/опорная плита
(поворотная), T - вращение
Примечание - При проведении испытаний может вращаться цилиндр шприца или колпачок наконечника.
Рисунок G.5 - Пример испытательного оборудования
для определения момента отвинчивания жесткого колпачка
наконечника с винтовым соединением "Луер Лок"
G.6 Усилие, необходимое для снятия колпачка наконечника или колпачка иглы
G.6.1.1 Принцип метода
Испытание используют для оценки усилия для снятия колпачка наконечника или колпачка иглы стерилизованного готового к наполнению шприца.
Данный метод может быть выбран в зависимости от предполагаемого использования шприца (например, для ручного использования или в автоматическом инжекторе). Альтернативная процедура приведена в
G.6.2. На рисунке G.6 приведены примеры испытательных устройств для определения силы отрыва колпачка наконечника или колпачка иглы.
1 - захват, соединенный с машиной для испытаний
на растяжение; 2 - шприц с защитным колпачком иглы/колпачком
наконечника; 3 - держатель шприца/опорная плита
Рисунок G.6 - Примеры испытательного оборудования
для определения усилия для снятия колпачка наконечника
или защитного колпачка иглы (метод 1)
G.6.1.2 Материалы
G.6.1.2.1 Стерилизованные готовые к наполнению шприцы, количество в соответствии с установленными требованиями.
G.6.1.3 Оборудование
G.6.1.3.1 Универсальная машина для испытаний на растяжение и сжатие, соответствующая следующим требованиям:
- датчик силы от 50 до 100 Н, соответствующий измеряемой силе;
- частота датчика не менее 40 Гц;
- скорость перемещения активного захвата от 100 до 1000 мм/мин, в зависимости от установленных требований.
Примечание - Характеристики датчика силы, частоты датчика и скорость перемещения при испытании подлежат согласованию между производителем и потребителем.
G.6.1.3.2 Держатель шприца.
G.6.1.3.3 Захват колпачка наконечника/защитного колпачка иглы.
G.6.1.4 Проведение испытания
G.6.1.4.1 Испытуемый образец располагают вертикально, укупорочным средством вверх, см.
рисунок G.6.
G.6.1.4.2 Закрепляют в захвате укупорочное средство таким образом, чтобы зажимы не скользили по укупорочному средству и не деформировали его.
G.6.1.4.3 Устанавливают датчик силы в положение "ноль" при свободном положении шприца.
G.6.1.4.4 Располагают держатель шприца таким образом, чтобы шприц удерживался держателем при приложении осевой силы растяжения.
G.6.1.4.5 Используют частоту датчика не менее 40 Гц.
G.6.1.4.6 Устанавливают скорость перемещения активного захвата в диапазоне от 100 до 1000 мм/мин, или в соответствии с установленными требованиями.
G.6.1.4.7 Регистрируют зависимость значения прилагаемого усилия от достигнутого расстояния перемещения активного захвата.
G.6.1.4.8 Останавливают испытание после полного снятия укупорочной системы с наконечника шприца.
G.6.1.5 Представление результатов
Усилие, необходимое для снятия укупорочной системы (колпачок наконечника/колпачок иглы), соответствует максимальному приложенному усилию, зарегистрированному на графике.
G.6.1.6 Протокол испытаний
Протокол испытаний должен содержать:
- частоту датчика, Гц;
- скорость перемещения активного захвата, мм/мин;
- значение датчика силы, Н;
- максимальное значение усилия, зарегистрированное на кривой зависимости усилия от достигнутого расстояния перемещения активного захвата смещения, Н;
- число испытанных образцов;
- любые отклонения или наблюдения.
G.6.2.1 Принцип метода
Испытание используют для оценки усилия для снятия колпачка наконечника или колпачка иглы стерилизованного готового к наполнению шприца.
Это испытание позволяет оценить усилие снятия без сдавливания колпачка иглы и/или иглы, что предотвращает деформацию резиновой части.
Альтернативное испытание приведено в
G.6.1.
G.6.2.2 Материалы
G.6.2.2.1 Стерилизованные готовые к наполнению шприцы, количество в соответствии с установленными требованиями.
G.6.2.3 Оборудование
G.6.2.3.1 Универсальная машина для испытаний на растяжение и сжатие, соответствующее следующим требованиям:
- диапазон датчика усилия до 500 Н;
- частота датчика в соответствии с установленными требованиями;
- скорость перемещения устройства растяжения (траверсы) в соответствии с установленными требованиями.
Примечание - Характеристики датчика силы, частоты датчика и скорости перемещения подлежит согласованию между производителем и потребителем.
G.6.2.3.2 Нагрузочное устройство (траверса), см.
рисунок G.7.
G.6.2.4 Проведение испытания
G.6.2.4.1 Испытуемый образец располагают вертикально, упор для пальцев шприца и колпачок наконечника или колпачок иглы закрепляют в соответствующих держателях.
G.6.2.4.2 Фиксируют испытуемый образец в свободном положении.
G.6.2.4.3 Устанавливают датчик силы на "ноль". Следует убедиться, что при установке "ноля" к шприцу не прилагают никакой значимой предварительной нагрузки.
G.6.2.4.4 Начинают испытание.
1 - устройство растяжения, соединенное
с машиной для испытаний на растяжение;
2 - шприц с колпачком иглы/колпачком наконечника;
3 - держатель шприца/опорная плита
Рисунок G.7 - Примеры испытательного оборудования
для определения усилия снятия колпачка наконечника
или колпачка иглы (метод 2)
G.6.2.4.5 Регистрируют зависимость величины усилия от достигнутого расстояния перемещения устройства растяжения (траверсы).
G.6.2.4.6 Останавливают испытание после снятия колпачка с наконечника шприца.
G.6.2.5 Протокол испытаний
Протокол испытаний должен содержать:
- значение датчика силы, Н;
- скорость перемещения, мм/мин;
- частоту датчика, Гц;
- среднее, минимальное и максимальное значения, зарегистрированные на кривой зависимости усилия от расстояния перемещения устройства растяжения, Н;
- число испытуемых образцов;
- любые отклонения или наблюдения.
(справочное)
ИСПЫТАНИЕ НА ГЕРМЕТИЧНОСТЬ РАСТВОРОМ КРАСИТЕЛЯ
H.1 Общие положения
Стерилизованные готовые к наполнению лекарственным препаратом шприцы состоят из цилиндра шприца с коническим наконечником "Луер" или несъемной иглой на стороне, обращенной к пациенту (наконечник), обычно укупоренные колпачком наконечника в случае шприца "Луер" или колпачком иглы в случае шприца с несъемной иглой. Другой конец шприца (со стороны упора для пальцев) укупоривают поршнем (с уплотнителем поршня), который обеспечивает доставку лекарственного препарата путем выдавливания жидкости с помощью штока поршня. Колпачок наконечника или колпачок иглы с одной стороны и уплотнитель поршня с другой стороны обеспечивают соответствующую герметизацию шприца. Испытание на герметичность укупорки (непроницаемость) раствором красителя является очень информативным методом проверки герметичности стерилизованного готового к наполнению шприца на этапе разработки конструкции.
Только одного этого испытания недостаточно, чтобы гарантировать герметичность упаковочной системы. Потребитель несет ответственность за проведение надлежащей валидации подходящего физического, химического или микробиологического метода проверки герметичности упаковочной системы, чтобы обосновать выбор укупорочной системы (включая наполняемый лекарственный препарат).
H.2 Принцип метода
Предварительно собранные шприцы, заполненные жидкостью и укупоренные уплотнителем поршня, погружают в окрашенный раствор. После создания условий для разгерметизации/повторной герметизации укупорки их осматривают на наличие утечки, что показывает попадание раствора красителя в шприц.
H.3 Оборудование, материалы и реактивы
H.3.1 Цилиндры шприцев по настоящему стандарту, предпочтительно произведенные с помощью таких же процедур, что и коммерческий продукт.
H.3.2 Колпачки наконечников, защитные колпачки для игл или любые другие укупорочные средства для наконечника, соответствующие отверстию наконечника шприца, предпочтительно произведенные с помощью таких же процедур, что и коммерческий продукт.
H.3.3 Уплотнители поршня по
ГОСТ Р 59747.5, соответствующие внутреннему диаметру шприца, предпочтительно произведенные с помощью таких же процедур, что и коммерческий продукт.
H.3.4 Вода, не содержащая частиц, для наполнения шприцев.
H.3.5 Соответствующий раствор красителя, содержащий красящее вещество и, возможно, поверхностно-активное вещество.
Примечание - Подходящими красящими веществами являются метиленовый синий, родамин B и флуоресцеин; допустимыми поверхностно-активными веществами - полисорбат-80 (Tween 80) <1>.
--------------------------------
<1> Tween 80 - пример подходящего продукта, имеющегося в продаже. Данная информация предоставляется для удобства пользователей настоящего документа и не является рекламой этого продукта со стороны ИСО.
Раствор красителя следует профильтровать через фильтр (диаметр пор не более 1 мкм) и хранить до использования в чистой, не содержащей частиц, емкости.
H.3.6 Вакуумная камера, обеспечивающая поддержание давления не менее чем на 270 мбар (202,52 мм рт. ст.) ниже давления окружающей среды в течение 30 мин.
H.3.7 Игла(ы) для инъекций размером 27G x 0,5 дюйма по
ГОСТ ISO 7864.
H.4 Подготовка и хранение испытуемых и контрольных образцов
H.4.1 Заполняют шприцы до номинального объема водой, не содержащей частиц.
H.4.2 Устанавливают уплотнитель поршня, оставляя воздушный зазор от 2 до 5 мм, предпочтительно используют стандартный метод установки поршня, который будет использоваться в технологическом процессе наполнения шприца лекарственным препаратом (механическим способом с помощью усадочной трубки или под вакуумом).
Примечание - Данный метод может не работать без пузырька воздуха.
H.4.3 Отбраковывают все шприцы с жидкостью за пределами или между ребрами поршня.
H.4.4 Создают один или несколько образцов положительного контроля протекания, путем создания доступа окрашенной жидкости к содержимому шприца (например, поместив иглу для инъекций или аналогичное устройство между наконечником шприца и соответствующим укупорочным средством, или, при наличии колпачка иглы, его сниманием).
H.4.5 Сохраняют один шприц в качестве эталонного образца для сравнения (его не погружают в окрашенный раствор).
H.5 Проведение испытания
H.5.1 Заполняют вакуумную камеру или соответствующую емкость окрашенным раствором до уровня, при котором все испытуемые шприцы могут быть полностью погружены в раствор.
H.5.2 Погружают шприцы в окрашенный раствор. Убеждаются в том, что шприцы полностью погружены. Снижают давление на 270 мбар (202,52 мм рт. ст.). Поддерживают давление в течение 30 мин, а затем восстанавливают до давления окружающей среды. Оставляют шприцы погруженными в окрашенный раствор дополнительно на 30 мин, затем аккуратно извлекают их из раствора, ополаскивают шприцы водой до полного удаления окрашенного раствора с поверхности и высушивают шприцы.
H.5.3 Визуально осматривают содержимое шприцев на наличие любых следов окрашенного раствора. Сравнивают испытуемые шприцы с образцами положительного контроля и эталонными образцами. Образцы положительного контроля должны демонстрировать присутствие красителя в содержимом шприцев.
Для оценки окрашенности содержимого шприца также может быть использована спектрофотометрия.
H.6 Протокол испытаний
Протокол испытаний должен содержать следующую информацию:
- изменение цвета образца положительного контроля;
- отсутствие изменения цвета в эталонном образце;
- число шприцев, в которых было выявлено окрашивание содержимого, и соответственно, утечки (отсутствие герметичности);
- любые отклонения или наблюдения.
(справочное)
РУКОВОДСТВО ПО МАТЕРИАЛАМ
Материалы, используемые при изготовлении цилиндров шприцев для использования в предварительно наполненных шприцах, должны соответствовать используемому процессу, применяемому методу стерилизации и особым требованиям, предъявляемым к первичной упаковке для инъекционных лекарственных препаратов. Материалы, используемые при изготовлении предварительно наполненных шприцев, не должны оказывать негативного физического или химического воздействия на шприцы и содержащиеся в них лекарственные препараты и должны быть безопасными при использовании по назначению.
Некоторые марки полипропилена (гомополимерного и/или сополимерного полипропилена), циклоолефинового сополимера и циклоолефинового полимера использовались для производства цилиндров предварительно наполненных шприцев с разными инъекционными продуктами (химико-фармацевтическими и биологическими лекарственными препаратами).
Организация-держатель регистрационного удостоверения должна продемонстрировать пригодность и совместимость выбранного материала, а также пригодность предварительно наполняемого шприца в качестве первичной упаковки. Помимо прочего это включает проверку взаимодействий лекарственного препарата и первичной упаковки (оценку выщелачивания, экстракции и сорбции) в соответствии с регуляторными рекомендациями (например, документы FDA и EMA), фармакопеями и другими рекомендациями [например, Международного совета по гармонизации ICH)].
Для получения необходимых данных, как указано выше, рекомендуется совместное сотрудничество между фармацевтической компанией - держателем регистрационного удостоверения на инъекционный лекарственный препарат и поставщиком упаковочной системы со ссылкой на
ГОСТ Р ИСО 15378.
Кодификация полимерных материалов приведена в таблице I.1.
Таблица I.1
Кодификация полимерных материалов
Тип полимера | Кодификация |
Циклоолефиновый сополимер | COC |
Циклоолефиновый полимер | COP |
Полипропилен | PP |
Другой полимер | OTH |
(справочное)
СВЕДЕНИЯ О СООТВЕТСТВИИ ССЫЛОЧНЫХ НАЦИОНАЛЬНЫХ
И МЕЖГОСУДАРСТВЕННЫХ СТАНДАРТОВ МЕЖДУНАРОДНЫМ СТАНДАРТАМ,
ИСПОЛЬЗОВАННЫМ В КАЧЕСТВЕ ССЫЛОЧНЫХ В ПРИМЕНЕННОМ
МЕЖДУНАРОДНОМ СТАНДАРТЕ
Таблица ДА.1
Обозначение ссылочного национального, межгосударственного стандарта | Степень соответствия | Обозначение и наименование ссылочного международного стандарта |
| IDT | ISO 7864:1993 "Иглы стерильные для подкожных инъекций одноразового применения" |
| IDT | ISO 7886-1:1993 "Шприцы инъекционные однократного применения стерильные. Часть 1. Шприцы для ручного использования" |
| IDT | ISO 10993-1:2003 "Оценка биологического действия медицинских изделий. Часть 1. Оценка и исследования" |
| IDT | ISO 14971:2007 "Изделия медицинские. Применение менеджмента риска к медицинским изделиям" |
ГОСТ Р ИСО 8871-1-2010 | IDT | ISO 8871-1:2003 "Элементы эластомерные для устройств, используемых для парентерального введения препаратов, и фармацевтического назначения. Часть 1. Содержание экстрагируемых веществ в водных препаратах автоклавов" |
| IDT | ISO 9626:1991 "Трубки игольные из нержавеющей стали для изготовления медицинских игл" |
Примечание - В настоящей таблице использовано следующее условное обозначение степени соответствия стандартов: - IDT - идентичные стандарты. |
| ИСО 3951 (все части) | Процедуры выборочного контроля по количественному признаку (Sampling procedures for inspection by variables) |
| ИСО 80369-1:2018 | Соединители с небольшим внутренним диаметром для жидкостей и газов, применяемые в медицине. Часть 1. Общие требования (Small-bore connectors for liquids and gases in healthcare applications - Part 1: General requirements) |
| ИСО 80369-7:2016 | Соединители с небольшим внутренним диаметром для жидкостей и газов, применяемые в медицине. Часть 7. Соединители внутрисосудистого или подкожного применения (Small-bore connectors for liquids and gases in healthcare applications - Part 7: Connectors for intravascular or hypodermic applications) |
| Ph Eur.3.1.8, Silicone oil used as a lubricant, www.edqm.eu |
| USP NF <<dimethicone>>, www.usp.org/ |
| Ph Eur. 3.2.9, Rubber closures for containers for aqueous parenteral preparations, for powders and for freeze-dried powders, www.edqm.eu |
[7] | USP <381>, Elastomeric closures of injections, www.usp.org/ |
| JP 7.03, Test for rubber closure for aqueous infusions, http:/jpdb.nihs.gojp/jp16e |
| ИСО 80369-20:2015 | Соединители с небольшим внутренним диаметром для жидкостей и газов, применяемые в медицине. Часть 20. Общие методы испытаний (Small-bore connectors for liquids and gases in healthcare applications - Part 20: Common test methods) |
| ИСО 11137 (все части) | Стерилизация медицинской продукции. Радиационная стерилизация (Sterilization of health care products - Radiation) |
| |
| USP <788>, Particulate matter in Injections, www.usp.org/ |
| ОФС.1.4.2.0006.15 Невидимые механические включения в лекарственных формах для парентерального применения |
| Ph E. 2.9.19, Particulate contamination: sub-visible particles, www.edqm.eu |
[15] | Ph E. 2.9.20, Particulate contamination: visible particles, www.edqm.eu |
[16] | JP 6.06, Foreign insoluble matter test for injections, http:/jpdb.nihs.gojp/jp16e |
| JP 6.07, Insoluble particulate matter test for injections, http:/jpdb.nihs.gojp/jp16e |
| Guideline on Plastic Immediate Packaging Materials. European Medicines Agency. London. http://www.ema.europa.eu/docs/en_GB/document_library/Scientific_guideline/2009/09/WC500003448.pdf |
| USP <1231>, Water for pharmaceutical purposes, www.usp.org/ |
| | ИС МЕГАНОРМ: примечание. В официальном тексте документа, видимо, допущена опечатка: имеется в виду ФС.2.2.0019.15, а не ОФС.2.2.0019.15. | |
|
| |
| USP <161>, Transfusion and infusion assemblies and similar medical devices |
| Ph E. 2.6.14, Bacterial endotoxins, www.edqm.eu |
| USP <85>, Bacterial endotoxins test |
[24] | JP 4.01, Bacterial endotoxins tests, http:/jpdb.nihs.gojp/jp16e |
| |
| Guidance for industry, pyrogen and endotoxins testing, questions and answers, 2012 |
| AAMI ST72:2011 | Бактериальные эндотоксины. Методики испытания, текущий мониторинг и альтернативы серийному тестированию (AAMI ST72: 2011, Bacterial endotoxins - Test methods, routine monitoring, and alternatives to batch testing) |
| |
| |
УДК 615.014.83:006.354 | |
Ключевые слова: шприцы предварительно наполненные, цилиндры полимерные для стерилизованных готовых к наполнению шприцев для инъекционных лекарственных форм |