Главная // Актуальные документы // ГОСТ Р (Государственный стандарт)СПРАВКА
Источник публикации
М.: ФГБУ "Институт стандартизации", 2022
Примечание к документу
Документ
введен в действие с 01.06.2023.
Название документа
"ГОСТ Р ИСО 17966-2022. Национальный стандарт Российской Федерации. Вспомогательные средства для личной гигиены лиц с физическими недостатками. Требования и методы испытания"
(утв. и введен в действие Приказом Росстандарта от 24.11.2022 N 1361-ст)
"ГОСТ Р ИСО 17966-2022. Национальный стандарт Российской Федерации. Вспомогательные средства для личной гигиены лиц с физическими недостатками. Требования и методы испытания"
(утв. и введен в действие Приказом Росстандарта от 24.11.2022 N 1361-ст)
Утвержден и введен в действие
агентства по техническому
регулированию и метрологии
от 24 ноября 2022 г. N 1361-ст
НАЦИОНАЛЬНЫЙ СТАНДАРТ РОССИЙСКОЙ ФЕДЕРАЦИИ
ВСПОМОГАТЕЛЬНЫЕ СРЕДСТВА ДЛЯ ЛИЧНОЙ ГИГИЕНЫ ЛИЦ
С ФИЗИЧЕСКИМИ НЕДОСТАТКАМИ
ТРЕБОВАНИЯ И МЕТОДЫ ИСПЫТАНИЯ
Assistive products for personal hygiene that support users.
Requirements and test methods
(ISO 17966:2016, IDT)
ГОСТ Р ИСО 17966-2022
Дата введения
1 июня 2023 года
1 ПОДГОТОВЛЕН Федеральным государственным бюджетным учреждением "Российский институт стандартизации" (ФГБУ "Институт стандартизации") на основе собственного перевода на русский язык англоязычной версии стандарта, указанного в
пункте 4
2 ВНЕСЕН Техническим комитетом по стандартизации ТК 381 "Технические средства и услуги для инвалидов и других маломобильных групп населения"
3 УТВЕРЖДЕН И ВВЕДЕН В ДЕЙСТВИЕ
Приказом Федерального агентства по техническому регулированию и метрологии от 24 ноября 2022 г. N 1361-ст
4 Настоящий стандарт идентичен международному стандарту ИСО 17966:2016 "Вспомогательные средства для личной гигиены лиц с физическими недостатками. Требования и методы испытания" (ISO 17966:2016 Assistive products for personal hygiene that support users - Requirements and test methods, IDT).
При применении настоящего стандарта рекомендуется использовать вместо ссылочных международных и европейских стандартов соответствующие им межгосударственные и национальные стандарты, сведения о которых приведены в дополнительном
приложении ДА
5 ВВЕДЕН ВПЕРВЫЕ
Правила применения настоящего стандарта установлены в статье 26 Федерального закона от 29 июня 2015 г. N 162-ФЗ "О стандартизации в Российской Федерации". Информация об изменениях к настоящему стандарту публикуется в ежегодном (по состоянию на 1 января текущего года) информационном указателе "Национальные стандарты", а официальный текст изменений и поправок - в ежемесячном информационном указателе "Национальные стандарты". В случае пересмотра (замены) или отмены настоящего стандарта соответствующее уведомление будет опубликовано в ближайшем выпуске ежемесячного информационного указателя "Национальные стандарты". Соответствующая информация, уведомление и тексты размещаются также в информационной системе общего пользования - на официальном сайте Федерального агентства по техническому регулированию и метрологии в сети Интернет (www.rst.gov.ru)
Международная организация по стандартизации (ИСО) является Всемирной федерацией национальных организаций по стандартизации (комитетов - членов ИСО). Разработку международных стандартов обычно осуществляют технические комитеты ИСО. Каждый комитет-член, задействованный в деятельности, для которой создан технический комитет, имеет право быть представленным в этом комитете. Международные правительственные и неправительственные организации, взаимодействующие с ИСО, также принимают участие в работах. Что касается стандартизации в области электротехники, то ИСО работает в тесном сотрудничестве с Международной электротехнической комиссией (МЭК).
Процедуры, использованные для разработки настоящего стандарта, и процедуры, предназначенные для его дальнейшего ведения, описаны в Директивах ИСО/МЭК, часть 1. В частности, следует отметить различные критерии утверждения, необходимые для различных типов документов ИСО. Настоящий стандарт подготовлен в соответствии с редакционными правилами Директив ИСО/МЭК, часть 2 (см. www.iso.org/directives).
Следует обратить внимание на возможность того, что некоторые элементы настоящего стандарта могут быть предметом патентных прав. ИСО не несет ответственности за идентификацию каких-либо или всех таких патентных прав. Подробная информация о любых патентных правах, выявленных в ходе разработки стандарта, приведена во Введении и/или в списке полученных патентных деклараций ИСО (см. www.iso.org/patents).
Любое торговое наименование, используемое в настоящем стандарте, является информацией, предоставленной для удобства пользователей, и не служит рекомендацией.
Разъяснение значения специфических терминов и выражений ИСО, связанных с оценкой соответствия, а также информацию о соблюдении ИСО принципов ВТО в области технических барьеров в торговле (ТБТ) можно найти по URL-адресу: Предисловие - Дополнительная информация
Комитет, ответственный за разработку настоящего стандарта, - ISO/TC 173 "Вспомогательные продукты для людей с ограниченными возможностями".
Настоящий стандарт устанавливает требования и методы испытаний, относящиеся к вспомогательным средствам личной гигиены, которые помогают пользователям в домашнем уходе, а также в учреждениях и общественных местах. Некоторые устройства могут быть использованы более чем в одной среде. Это означает, что к одному и тому же средству могут быть применены различные требования и методы испытаний в зависимости от окружающей среды.
Разделы 1 -
21 и
раздел 25 содержат общие требования ко всем видам продукции, включенным в
раздел "Область применения". В
разделах 22 -
24 перечислены конкретные требования к мобильным, стационарным и статическим продуктам. Эти требования указывают на дополнительные требования к общим положениям. Для того чтобы продукт мог претендовать на соответствие настоящему стандарту, необходимо выполнить все соответствующие положения в зависимости от типа продукта. Например, некоторые продукты не включают электрические компоненты, поэтому положения, относящиеся к электрическим компонентам, могут быть неприменимы.
В дополнение к требованиям настоящего стандарта в
приложении B приведены общие рекомендации.
Настоящий стандарт устанавливает требования и связанные с ними методы испытаний вспомогательных средств личной гигиены (APPHs), которые оказывают поддержку пользователям и предназначены производителям для облегчения или компенсации ограничения физических возможностей гражданам. Также в него включены аспекты рабочей среды и безопасности для помощников. Настоящий стандарт устанавливает требования к безопасности и производительности APPHs при нормальном использовании, а также при прогнозируемом неправильном применении и выходе APPH из строя. Настоящий стандарт также определяет методы измерения усилий для контроля управления и ограничения сил, необходимые для некоторых операций.
Настоящий стандарт устанавливает требования и методы испытаний вспомогательных средств в следующих подразделах ИСО 9999:2011:
09 12 03 кресла-стулья туалетные.
Примечание - Распространяется на мобильные и стационарные средства;
09 12 06 туалеты со встроенным механизмом подъема и регулировки высоты.
Примечание - В их состав не входят туалеты со встроенным душем и сушилками для воздуха;
09 12 09 сиденья туалетные;
09 12 12 сиденья туалетные, поднимающиеся, монтируемые на раме;
09 12 15 сиденья туалетные, вставные;
09 12 18 сиденья туалетные, поднимающиеся, фиксируемые на унитазе;
09 12 21 сиденья туалетные со встроенным подъемным механизмом для облегчения вставания и посадки;
09 12 24 подлокотники и спинки туалетные, монтируемые на унитазах;
09 12 25 подлокотники и спинки туалетные, не закрепленные на унитазах;
09 12 36 души и воздушные сушилки, встраиваемые в унитаз;
09 33 03 кресла для ванны/душа (на колесиках или без них), доска для ванны, табуретки, спинки и сиденья;
09 33 12 лежаки для ванны, столы для душа и столы туалетно-пеленальные;
18 15 06 опоры и кронштейны, регулируемые по высоте.
Примечание - Относится к регулируемым по высоте бортикам и кронштейнам при использовании в качестве вспомогательного средства личной гигиены (APPH). Могут быть включены регулируемые по высоте механизмы для других предметов, таких как раковины;
18 18 03 поручни и опорные перила;
18 18 06 фиксаторы и поручни;
18 18 10 съемные фиксаторы и поручни для временного использования.
Примечание - Исключает съемные поручни и фиксаторы, которые являются статическими, как определено в
3.27;
18 18 11 перила и подлокотники складные.
Настоящий стандарт не содержит требований, касающихся:
- безопасного крепления в строительных конструкциях;
- стационарных строительных установок, например водоснабжения и электроснабжения;
- подъемников для ванн, на которые распространяется ИСО 10535;
- 09 33 21 ванны по ИСО 9999:2011;
- устойчивости и трения по отношению к скользким поверхностям в случае использования мыла;
- тех продуктов, которые настроены или изготовлены на заказ для отдельного пользователя.
В настоящем стандарте использованы нормативные ссылки на следующие стандарты [для датированных ссылок применяют только указанное издание ссылочного стандарта, для недатированных - последнее издание (включая все изменения)]:
CISPR 11, Industrial, scientific and medical equipment - Radio-frequency disturbance characteristics - Limits and methods of measurement (Оборудование промышленное, научное и медицинское. Характеристики радиочастотных помех. Нормы и методы измерений)
ISO 3746, Acoustics - Determination of sound power levels and sound energy levels of noise sources using sound pressure. Survey method using an enveloping measurement surface over a reflecting plane (Акустика. Определение уровней звуковой мощности и звуковой энергии источников шума по звуковому давлению. Ориентировочный метод с использованием измерительной поверхности над звукоотражающей плоскостью)
ISO 8191-1, Furniture; Assessment of the ignitability of upholstered furniture; Part 1: Ignition source: smouldering cigarette (Мебель. Оценка воспламеняемости мягкой мебели. Часть 1. Источник воспламенения: тлеющая сигарета)
ISO 8191-2, Furniture; assessment of ignitability of upholstered furniture; Part 2: ignition source: matchflame equivalent (Мебель. Оценка воспламеняемости мягкой мебели. Часть 2. Источник воспламенения: эквивалент пламени спички)
ISO 9227, Corrosion tests in artificial atmospheres - Salt spray tests (Испытания на коррозию в искусственной атмосфере. Испытания в солевом тумане)
ISO 9999:2011, Assistive products Classification and terminology (Вспомогательные средства для людей с ограничениями жизнедеятельности. Классификация и терминология)
ISO 10993-1, Biological evaluation of medical devices - Part 1: Evaluation and testing within a risk management process (Изделия медицинские. Оценка биологического действия медицинских изделий. Часть 1. Оценка и исследования в процессе менеджмента риска)
ISO 12100, Safety of machinery - General principles for design - Risk assessment and risk reduction (Безопасность машин. Основные принципы конструирования. Оценки риска и снижения риска)
ISO 13850, Safety of machinery - Emergency stop function - Principles for design (Безопасность машин. Аварийный останов. Принципы проектирования)
ISO 14155, Clinical investigation of medical devices for human subjects - Good clinical practice (Клинические исследования. Надлежащая клиническая практика)
ISO 14971, Medical devices - Application of risk management to medical devices (Изделия медицинские. Применение менеджмента риска к медицинским изделиям)
ISO 15223-1, Medical devices Symbols to be used with information to be supplied by the manufacturer - Part 1: General requirements (Изделия медицинские. Символы, применяемые при маркировании медицинских изделий, на этикетках и в сопроводительной документации. Часть 1. Основные требования)
ISO 22442-1, Medical devices utilizing animal tissues and their derivatives - Part 1: Application of risk management (Изделия медицинские, использующие ткани и их производные животного происхождения. Часть 1. Менеджмент риска)
IEC 60335-1, Household and similar electrical appliances - Safety - Part 1: General requirements (Бытовые и аналогичные электрические приборы. Безопасность. Часть 1. Общие требования)
IEC 60529, Degrees of protection provided by enclosures (IP Code) [Степени защиты, обеспечиваемые оболочками (код IP)]
IEC 60601-1:2005+A1:2012, Medical electrical equipment - Part 1: General requirements for basic safety and essential performance (Медицинское электрическое оборудование. Часть 1. Общие требования к базовой безопасности и основным характеристикам)
IEC 60601-1-2:2014, Medical electrical equipment - Part 1-2: General requirements for basic safety and essential performance - Collateral Standard: Electromagnetic disturbances - Requirements and tests (Изделия медицинские электрические. Часть 1-2. Общие требования безопасности с учетом основных функциональных характеристик. Параллельный стандарт. Электромагнитная совместимость. Требования и испытания)
IEC 60601-2-35, Medical electrical equipment - Part 2-35: Particular requirements for the basic safety and essential performance of heating devices using blankets, pads and mattresses and intended for heating in medical use (Изделия медицинские электрические. Часть 2-35. Частные требования безопасности к одеялам, подушкам и матрацам медицинским электрическим)
IEC 61000-3-2, Electromagnetic compatibility (EMC) - Part 3-2: Limits - Limits for harmonic current emissions (equipment input current <= 16 A per phase) [Электромагнитная совместимость (ЭМС). Часть 3-2. Нормы. Нормы эмиссии гармонических составляющих тока (оборудование с входным током не более 16 А в одной фазе)]
IEC 61000-3-3, Electromagnetic compatibility (EMC) - Part 3-3: Limits - Limitation of voltage changes, voltage fluctuations and flicker in public low-voltage supply systems, for equipment with rated current <= 16 A per phase and not subject to conditional connection [Электромагнитная совместимость (ЭМС). Часть 3-3. Нормы. Ограничение изменений напряжения, колебаний напряжения и фликера в общественных низковольтных систем]
IEC 61000-4-3, Electromagnetic compatibility (EMC) - Part 4-3: Testing and measurement techniques - Radiated, radio-frequency, electromagnetic field immunity test [Электромагнитная совместимость (ЭМС). Часть 4-3. Методы испытаний и измерений. Испытание на устойчивость к излучаемому радиочастотному электромагнитному]
IEC 61000-4-8, Electromagnetic compatibility (EMC) - Part 4-8: Testing and measurement techniques - Power frequency magnetic field immunity test [Электромагнитная совместимость (ЭМС). Часть 4-8. Методы испытаний и измерений. Испытание на устойчивость к магнитному полю промышленной частоты]
IEC 60695-11-10, Fire hazard testing - Part 11-10: Test flames - 50 W horizontal and vertical flame test methods (Испытания на пожароопасность. Часть 11-10. Испытательное пламя. Метод испытания пламенем мощностью 500)
EN 614-1, Safety of machinery - Ergonomic design principles - Part 1: Terminology and general principles (Безопасность оборудования. Эргономические принципы конструирования. Часть 1. Термины, определения и общие принципы)
EN 1041, Information supplied by the manufacturer of medical devices (Информация, предоставляемая производителем медицинских изделий)
EN 12527:1998, Castors and wheels - Test methods and apparatus (Ролики и колеса. Методы испытаний и аппаратура)
В настоящем стандарте применены следующие термины с соответствующими определениями:
3.1 рабочая часть (applied part): Часть оборудования, которая при обычном использовании обязательно вступает в физический контакт с пользователем для выполнения своей функции.
3.2
вспомогательное средство для личной гигиены; APPH (assistive product for personal hygiene, APPH): Вспомогательное средство
(3.3), предназначенное для поддержания личной гигиены.
3.3
вспомогательное средство (assistive product): Любое средство (включая устройства, оборудование, инструменты и средства программного обеспечения), специально изготовленное или общедоступное для людей с ограничениями жизнедеятельности:
- для участия;
- защиты, поддержки, тренировки, измерения или замены функций тела (организма)/структур и видов деятельности, или
- предотвращения повреждений, ограничений деятельности или ограничений участия (общения).
[ИСО 9999:2011, определение 2.3]
3.4 помощник (assistant): Лицо, управляющее вспомогательным средством, если оно не является инвалидом.
3.5 обратный (backward): 180° к прямому направлению движения.
3.6 очистка (cleaning): Удаление посторонних веществ с поверхности.
3.7 дезинфекция (disinfection): Процесс дезинфекции с использованием специальных методов очистки, которые уничтожают или предотвращают рост микроорганизмов, способных вызвать заражение.
3.8 основные характеристики (essential performance): Характеристики, необходимые для достижения отсутствия недопустимого риска.
Примечание 1 - Основные характеристики легче всего оценить, если учесть, приведет ли их отсутствие или понижение к недопустимому риску.
3.9 стационарное изделие (fixed product): Изделие, предназначенное для крепления к опоре или иного закрепления в определенном месте.
Пример 1 - Фиксируется конструкцией крепления, а не с помощью трения.
Пример 2 - Изделия, прочно закрепленные сваркой.
Пример 3 - Изделия, прикрепленные с помощью крепежных элементов, таких как винты, гайки, вакуум и т.д.
Примечание 1 - Стационарное изделие может иметь подвижные части.
Примечание 2 - Фрикционные бортики для ванн и фрикционные сиденья для унитазов исключены из этого определения.
3.10 направление (forward): Предполагаемое направление движения, указанное производителем в инструкции по эксплуатации.
3.11 прогнозируемое ошибочное использование (foreseeable misuse): Ошибочное использование, которое можно рационально прогнозировать.
3.12 передвижное изделие (hand-held product): Вспомогательное изделие, предназначенное для поддержки рукой при обычном использовании.
3.13 уход на дому (home care): Уход, оказываемый в домашних условиях, в которых вспомогательное средство используется для облегчения или компенсации травмы, инвалидности или заболевания.
Примечание 1 - См. МЭК 60601-2-52:2010, пункт 201.3.204.
3.14 учреждение (institution): Созданное или организованное общество, как правило, при наличии собственных помещений.
Пример - Больница, реабилитационное учреждение, интернатное учреждение или учебное заведение.
3.15 предполагаемое использование; предполагаемая цель (intended use, intended purpose): Использование продукта, процесса или услуги, предназначенных для медицинских целей, в соответствии со спецификациями, инструкциями и информацией, предоставленными производителем.
[ИСО 14971:2007, определение 2.5, пересмотрено]
3.16 максимальное усилие (maximum load): Максимальное допустимое усилие, указанное изготовителем.
3.17 максимальная масса пользователя (maximum user mass): Максимально допустимая масса пользователя, указанная изготовителем и предназначенная для поддержки вспомогательным изделием.
3.18 передвижное изделие (mobile product): Переносное оборудование, предназначенное для перемещения из одного места в другое при помощи собственных колес или аналогичных средств.
3.19 нормальное использование (normal use): Использование изделия, процесса или услуги в соответствии со спецификациями, инструкциями и информацией, предоставленными производителем, не только для медицинского применения, но и для технического обслуживания, транспортирования и т.д.
3.20 пользователь (occupant): Человек внутри или на вспомогательном изделии с опорной поверхностью.
3.21 оператор (operator): Лицо, управляющее вспомогательным средством.
Примечание 1 - Оператором может быть либо лицо с ограничением жизнедеятельности или помощник.
3.22 постоянная деформация (permanent deformation): Изменение формы или структуры ранее нормально сформированной детали, которая останется измененной по завершении испытания.
3.23 передвижное средство (portable product): Переносное изделие, предназначенное для перемещения из одного места в другое во время транспортирования.
3.24 общественное использование (public use): Использование изделия в среде, доступной для всех.
Примечание 1 - Общественное пользование включает зоны для купания, общественные туалеты и т.д.
3.25 риск (risk): Сочетание вероятности причинения вреда и тяжести этого вреда.
3.26 состояние одиночной неисправности (single fault condition): Состояние, при котором одно средство снижения риска неисправно или присутствует одно ненормальное состояние.
3.27
статическое средство (static product): Изделие, предназначенное для стационарного использования с пассажиром на месте по назначению и не предназначенное для крепления к опоре или иного закрепления в определенном месте.
Примечание 1 - Статическое изделие может быть портативным при обычном использовании. Во время применения по назначению у него могут быть движущиеся части.
Примечание 2 - В комплект входят доски для ванны и сиденья для унитаза, закрепленные с помощью трения.
3.28 система (system): Набор или серия взаимосвязанных или взаимозависимых частей или объектов, действующих совместно для достижения общей цели или обеспечивающих те результаты, которые невозможны при действии человека в одиночку.
3.29 цикл испытания (test cycle): Полный цикл для намеченного действия.
3.30 пользователь (user): Лицо, использующее/занимающее устройство.
Примечание 1 - Пользователем может быть либо лицо с ограничением жизнедеятельности, либо помощник.
4 Общие требования и методы испытаний
Оценку безопасности APPH следует осуществлять путем выявления опасностей и оценки рисков, связанных с ними, с использованием процедур, указанных в ИСО 14971 и, при необходимости, в ИСО 12100.
Если APPH предназначено производителем для использования в сочетании с устройством, которое не является медицинским устройством, APPH должно вести себя безопасным образом, как система.
Примечание - В случае определенных нарушений может возникнуть необходимость в более высоких уровнях безопасности оборудования, используемого для компенсации последствий таких ограничений.
4.2 Предполагаемая производительность
APPH должно обладать достаточной прочностью и долговечностью для того, чтобы выдерживать все усилия, ожидаемые при использовании по назначению. Это должно быть подтверждено применением, при необходимости, ссылок на соответствующую клиническую и научную литературу в дополнение к требованиям настоящего стандарта, расчетам прочности и/или долговечности, к соответствующим стандартам испытаний и к результатам их испытаний.
Предполагаемые характеристики, включая, при необходимости, прочность, долговечность и устойчивость к опрокидыванию, должны быть описаны в информации, предоставляемой производителем, в которой изложены его функциональные характеристики, область(и) применения и условия использования.
Информация, предоставляемая производителем, должна включать, при необходимости, ссылки на определенную клиническую и научную литературу, любые расчеты прочности и/или срока службы, соответствие установленным стандартам испытаний и результаты их испытаний.
4.3 Клиническая оценка и исследование
Если управление рисками демонстрирует необходимость клинической оценки, то клиническая оценка должна быть проведена для всех APPHs. Если в рамках оценки соответствия продукции клиническая оценка требует проведения клинического исследования, то клиническое исследование должно соответствовать требованиям ИСО 14155. Клиническую оценку всегда следует проводить перед клиническим исследованием.
4.4 Вспомогательные средства для личной гигиены, которые можно демонтировать
Если предполагается, что APPH может быть демонтировано для хранения или транспортирования, то должна быть исключена возможность его сборки таким образом, чтобы это представляло угрозу.
Крепежные элементы, которые ослаблены или сняты для обеспечения такого демонтажа, не должны быть крепежными элементами одноразового использования.
Пример - Крепежных элементов одноразового использования включают шурупы для дерева и саморезы. Болты являются примерами тех крепежных элементов, которые можно использовать более одного раза.
Все несущие крепежные детали должны быть либо самоблокирующимися, либо снабжены блокирующим устройством для предотвращения случайного отсоединения.
4.6 Средства для предотвращения выпадения
Если существует риск выпадения пользователя из изделия во время обычного использования, должны быть предусмотрены средства предотвращения выпадения пользователя, например боковые поручни, ремень безопасности или ремни безопасности.
4.7 Масса пользователя/максимальное усилие
Должна быть объявлена максимальная масса пользователя. Если максимальное усилие различное, то это должно быть заявлено производителем.
Все изделия, предназначенные для поддержки пассажира/пользователя в сидячем или лежачем положении, должны быть способны поддерживать человека массой тела не менее 100 кг.
Если производитель предназначил изделие для использования лицом массой тела менее 100 кг, в конструкции изделия должно быть предусмотрено ограничение для предотвращения возможного неправильного использования лицом большей массой тела, чем указано производителем.
Максимальную массу пользователя и максимальное усилие, указанные производителем, следует использовать в соответствующих методах испытаний настоящего стандарта.
Когда при проведении испытания задействована загрузочная площадка, ее массу следует учитывать при определении испытательной величины усилия.
4.8.1 Средство для приложения усилия от 25 до 2000 Н с точностью плюс 5% и скоростью приложения менее 5 Н/с.
4.8.2 Означает измерение усилия с точностью плюс 5% с шагом 1 Н в диапазоне от 0 до 2000 Н (иногда может потребоваться большее усилие, чем 2000 Н).
4.8.3 Означает измерение расстояния в диапазоне от 0 до 3 м с точностью +/- 5 мм или +/- 2% в зависимости от того, что больше.
4.8.4 Средство для измерения углов с точностью плюс 0,25°.
4.8.5 Средства измерения крутящего момента с точностью плюс 5% с шагом 1 Нм в диапазоне от 0,5 до 10 Нм.
4.8.6 Средства измерения уровней и частот звука, откалиброванные в соответствии с инструкциями производителя, с использованием акустического калибратора класса 1, как описано в ИСО 3746, с точностью плюс 3 дБ(А).
4.8.7
Твердая горизонтальная и наклонная испытательная плоскость достаточного размера для поддержки APPH во время испытания, чтобы вся поверхность находилась между двумя воображаемыми параллельными плоскостями на расстоянии 5 мм друг от друга. Можно использовать нерегулируемую испытательную плоскость, если она установлена под правильным углом.
Примечание - Доска из твердой древесины (например, > 600 кг/м3) является примером используемого материала.
4.8.8
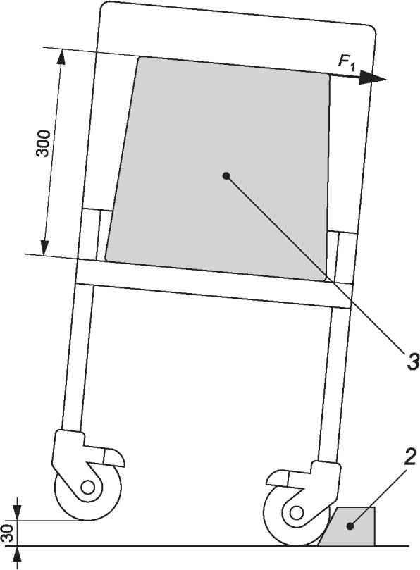
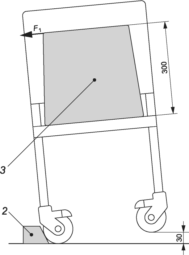
Стопоры для мобильных приложений должны быть не меньше половины диаметра колеса и не больше диаметра колеса. См.
рисунок 1.
Рисунок 1 - Стопор колеса
Для статического APPH стопор должен быть сконструирован таким образом, чтобы предотвращать скольжение APPH, а не его опрокидывание. Высота стопора должна быть не более 12 мм. В том случае, когда из-за конструкции APPH требуется стопор размером более 12 мм, он должен быть минимальной высоты, необходимой для предотвращения скольжения APPH.
4.8.9 Оборудование, способное имитировать части человеческого тела, используемые на практике (например, испытательные пальцы).
4.8.10 Оборудование для приложения усилия с незначительным динамическим коэффициентом.
Примечание - Незначительное динамическое усилие - это небольшое усилие, которое не оказывает существенного влияния.
4.8.11 Оборудование для измерения давления воды, масла и воздуха с точностью плюс 5%.
4.8.12 Загрузочные площадки, как показано ниже
4.8.12.1 Вогнутая загрузочная площадка
Загрузочное устройство должно быть способным прикладывать усилия (сжимающие или растягивающие) в диапазоне от 15 до 1000 Н с точностью плюс 3%.
Вогнутая загрузочная площадка для статических усилий должна быть изготовлена из металла или твердой древесины, как показано на
рисунке 2.
A - вид спереди; B - вид сбоку; 1 - погрузочная поверхность
Примечание - Погрузочная поверхность может быть покрыта нескользким материалом толщиной не более 3 мм, например пенопласт.
Рисунок 2 - Вогнутая площадка для статических усилий
4.8.12.2 Выпуклая загрузочная площадка
Загрузочное устройство должно быть способным прикладывать усилия (сжимающие или растягивающие) в диапазоне от 15 до 1000 Н с точностью плюс 3%.
Выпуклая загрузочная площадка должна быть круглой и изготовлена из металла или твердой древесины, как показано на
рисунке 3.
1 - загрузочная поверхность
Примечание - Погрузочная поверхность может быть покрыта нескользким материалом толщиной не более 3 мм, например пенопласт.
Рисунок 3 - Выпуклая загрузочная площадка
для статических усилий
4.8.12.3 Загрузочная площадка для задней опоры
Загрузочное устройство должно быть способным прикладывать усилия (сжимающие или растягивающие) в диапазоне от 15 до 2000 Н с точностью плюс 3%.
Загрузочная площадка должна быть изготовлена из металла или твердой древесины и иметь форму и размеры, как показано на
рисунке 4.
Рисунок 4 - Загрузочная площадка для поддержки спины
4.8.12.4 Площадка для загрузки сиденья
Загрузочная площадка должна быть изготовлена из металла или твердой древесины и иметь форму и размеры, как показано на
рисунке 5, с закругленными краями, различными диаметрами в зависимости от испытуемого изделия.

- 350, 250 или 200 мм
Рисунок 5 - Загрузочная площадка для опоры сиденья
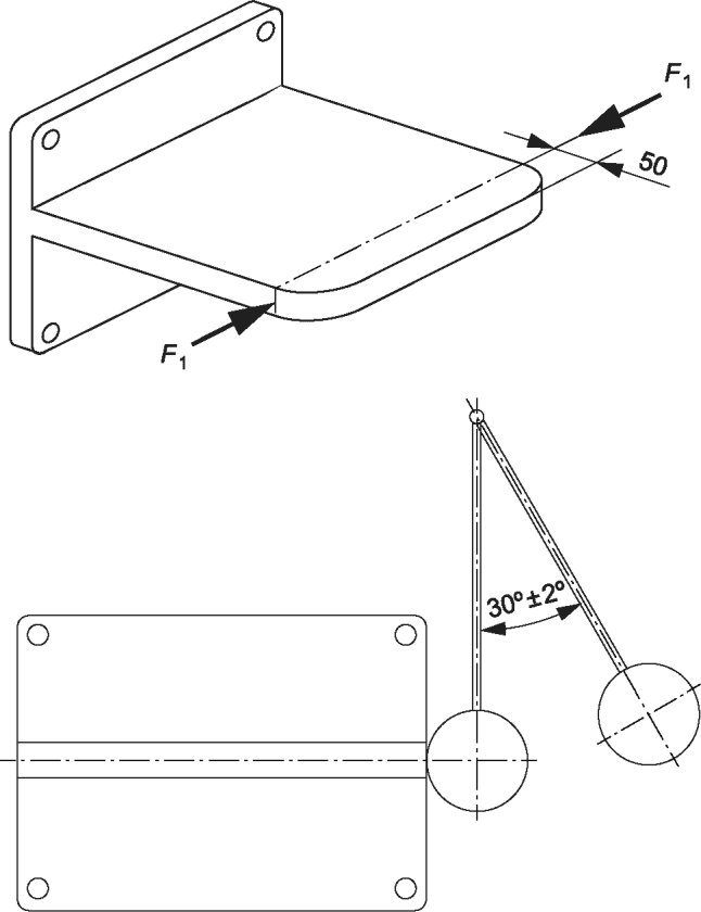
4.8.13
Маятник для испытания на удар задней опоры, который должен соответствовать требованиям, показанным на
рисунках 6 или
7.
1 - стальной блок; 2 - полиуретан со следующими
характеристиками: плотность - 1150 кг/м3;
твердость - 80+ по Шору А; упругость - 20%
Рисунок 6 - Маятник для испытания на удар задней опоры
1 - резьбовой стержень; 2 - футбольный мяч ассоциации
регулирования (футбольный мяч) размером 5, диаметром 220 мм,
заполненный свинцовой дробью диаметром (3,5 +/- 1) мм
и пенопластом высокой плотности с закрытыми ячейками
плотностью (75 +/- 15) кг/м3 (ИСО 845); твердость
(325 +/- 60) Н (ИСО 2439); 3 - стиральная машина
Рисунок 7 - Альтернативный маятник поддержки спины
Общая масса мяча должна составлять (25 +/- 0,5) кг.
4.8.14
Маятник для испытания сиденья унитаза на удар со следующими свойствами:
a) общая масса (10 +/- 0,25) кг;
b) расстояние d от оси вращения до центра удара (1000 +/- 0,005) м.
Можно использовать маятник для испытания на удар, показанный на
рисунке 8, хотя для различных компоновок и размеров могут потребоваться другие формы.
1 - регулировка центра; 2 - стальная труба; 3 - стальной
блок; 4 - центр ударной плоской поверхности; 5 - боковая
поверхность центра столкновения; 6 - эталонный размер
Рисунок 8 - Пример маятника для испытания туалетного сиденья
на удар
4.8.15
Опорные стойки, плоские, из соответствующих материалов. Высота должна составлять (1 +/- 0,1) м; ширина верхней поверхности - (50 +/- 5) мм, а боковая стенка должна быть перпендикулярной верхней поверхности (см.
рисунок 9). Стойки должны иметь регулируемую ширину и угол наклона (см. издалека снизу и сверху), чтобы обеспечить возможность размещения различных конструкций.
1 - опорная стойка
Рисунок 9 - Опорная стойка
Должна быть предусмотрена возможность регулировки верхней поверхности таким образом, чтобы она всегда оставалась горизонтальной при использовании под разными углами.
Пример - Ванна может иметь наклонные стороны, которые могут имитировать опорные стойки.
4.8.16
Ударный элемент для опоры лежа с нижеприведенными свойствами.
a) Корпус ударного элемента имеет диаметр приблизительно 200 мм и отделен от ударной поверхности спиральными пружинами сжатия. Тело свободно перемещается по линии, перпендикулярной плоскости центральной области поражающей поверхности.
b) Общая масса узла должна составлять (25 +/- 0,1) кг, а корпус и связанные с ним детали (за вычетом пружин) должны иметь массу (17 +/- 0,1) кг.
c) Суммарная сила пружины (для системы) должна составлять (6,9 +/- 1) Н/мм, а общее сопротивление трению движущихся частей - от 0,25 до 0,45 Н. Когда пружинная система сжимается до усилия (1040 +/- 5) Н, оставшееся расстояние сжатия должно быть не менее 60 мм. Поражающая поверхность должна представлять собой жесткий круглый предмет диаметром (200 +/- 5) мм, поверхность которого имеет выпуклую сферическую кривизну радиусом 300 мм с радиусом передней кромки 12 мм. См.
рисунок 10.
1 - шарнир подъемного устройства, не препятствующий
свободному падению; 2 - поражающая поверхность
Рисунок 10 - Ударный элемент лежащей опоры
4.9 Условия проведения испытаний
Продукт должен быть протестирован в состоянии поставки (заказчику). Однако, если изделие имеет многоцелевую конструкцию, которая может быть собрана в различных форматах, оно должно быть собрано в соответствии с инструкциями производителя. Если продукт предназначен для использования в различных комбинациях, то должна быть протестирована наиболее неблагоприятная комбинация. Если изделие поставляют в разобранном виде, перед испытанием оно должно быть собрано в соответствии с инструкциями производителя.
Пример - Сиденье для душа, превращенное в сиденье для унитаза.
Если не указано иное, испытания следует проводить в нормальных условиях внутри помещений:
- при температуре от 15 °C до 30 °C;
- при относительной влажности от 20% до 85%.
Все испытания должны быть проведены на одном изделии. Новый продукт выбирают, если исходный тестовый объект выходит из строя и не подлежит ремонту. Некоторые тесты, имеющие отношение к безопасному функционированию продукта, возможно, придется повторить на новом продукте. Это зависит от производителя продукта, который должен учитывать в каждом отдельном случае.
Если продукт тестируют в испытательном центре, решение о его пригодности следует принимать в сотрудничестве между третьей стороной и производителем.
Если иное не указано в конкретном пункте, порядок проведения испытаний не имеет значения.
Производителям следует, по возможности, использовать те материалы, которые могут быть переработаны для дальнейшего использования. В инструкции по эксплуатации должно быть указано, какие детали могут быть переработаны.
5.2.1 Общие положения
Производители должны учитывать условия и методы использования, которым будут подвергнуты APPH или любые материалы, которые обычно используют в сочетании с этим APPH, и принимать соответствующие меры для минимизации любой пожарной опасности.
Производитель должен включить в инструкции по эксплуатации предупреждение о безопасных сочетаниях огнестойких и негорючих материалов.
Примечание - См. руководящие указания в
B.5.2.
5.2.2 Литые детали, используемые в качестве корпусов для электрооборудования
Если опасность потенциально может быть вызвана электрическим компонентом, испытание корпуса формованной детали должно быть проведено в соответствии с FV-1 МЭК 60695-11-10 или выше. Если изделие относится к тому типу, от которого инвалид не может убежать или определить как опасную ситуацию, оно должно быть согласно FV-0.
5.2.3 Детали с мягкой обивкой и формованные детали
Если производитель утверждает, что детали с мягкой обивкой устойчивы к воспламенению от сигареты, то при испытании материалов, используемых для деталей с мягкой обивкой вспомогательного изделия, в соответствии с ИСО 8191-1 и ИСО 8191-2 не должно происходить постепенного тлеющего воспламенения и воспламенения пламенем.
Если производитель утверждает, что формованные детали устойчивы к воспламенению от небольшого пламени, например от спички, при испытании в соответствии с МЭК 60695-11-10 не должно происходить постепенного тлеющего воспламенения и воспламенения пламенем.
5.3 Биосовместимость и токсичность
Материалы, которые вступают в контакт с человеческим телом, должны быть оценены на биосовместимость в соответствии с рекомендациями ИСО 10993-1.
Оценка должна также учитывать предполагаемое использование и контакты тех, кто занимается обслуживанием пользователей. Результаты оценки должны быть включены в анализ рисков (см.
4.1).
Вспомогательные изделия должны быть спроектированы и изготовлены таким образом, чтобы свести к минимуму риски, связанные с утечкой веществ из вспомогательного изделия. Особое внимание следует уделять тем веществам, которые являются канцерогенными, мутагенными или токсичными для репродукции, а также другим веществам подобного рода (БVHC3).
Оценка материалов должна быть проведена в соответствии с указаниями, приведенными в
приложении C.
5.4 Инфекция и микробиологическое загрязнение
5.4.1 Очистка и дезинфекция
Если APPH предназначено для очистки и/или дезинфекции, то метод и подходящие чистящие или дезинфицирующие материалы должны быть описаны в информации, предоставленной производителем.
Примечание - См. руководящие указания в
B.5.4.1.
Если APPH предназначено для очистки с помощью автоматических систем мойки или ручной струйной/паровой промывки, то компоненты процедуры, такие как температура, давление, расход и значение pH чистящего/ополаскивающего раствора, должны быть описаны в инструкциях по применению. При возможности применения на практике APPH должно быть маркировано соответствующими символами, обозначающими метод очистки. См. примеры маркировки и пример тестирования APPH для машинной стирки в
B.5.4.1.
5.4.2 Устойчивость к колебаниям температуры
Если APPH предназначено для нагрева в процессе дезинфекции или промывки, оно должно пройти нижеприведенное испытание.
Испытуемый образец подвергают воздействию максимальной температуры плюс 2 °C во время процесса промывки и дезинфекции, как описано производителем, а затем охлаждают до температуры 30 °C. Этот цикл чередования температур повторяют десять раз.
Для продуктов, предназначенных для дезинфекции с помощью тепла, можно использовать одну из следующих трех температур и продолжительности экспозиции:
a) температура 90 °C в течение 1 мин;
b) температура 85 °C в течение 3 мин;
c) температура 80 °C в течение 10 мин.
Испытание следует проводить перед любыми испытаниями изделия на прочность и/или долговечность.
После испытания изделие должно соответствовать следующим требованиям: покрытие или любая надлежащая маркировка на изделии не должны отрываться от основного листового металла, иметь пузыри или другие изменения, снижающие качество.
5.4.3 Животная ткань
Если устройство изготовлено с использованием тканей животного происхождения или их производных, должна быть проведена оценка риска и задокументирована в соответствии с ИСО 22442-1.
Примечание - См. руководящие указания в
B.5.4.3.
5.5 Устойчивость к коррозии
Риск коррозии, влияющий на безопасность пользователя или помощника, должен быть оценен в ходе анализа рисков. Вспомогательные изделия, которые, как установлено, подвержены риску коррозии, должны быть достаточно защищенными от коррозии, что может быть подтверждено с помощью испытания продолжительностью 72 ч солевым распылением в соответствии с ИСО 9227.
6 Издаваемый звук и вибрация
Если шум и вибрация не являются частью предполагаемой деятельности APPH, оценка опасностей и помех, связанных с шумом и вибрацией, должна быть осуществлена в ходе анализа рисков (см.
4.1).
Измерения шума от APPH с питанием должны проводить в соответствии с ИСО 3746, а результат измерения отражают в предпродажной информации в инструкции по эксплуатации.
Примечание - См. руководящие указания в
B.6.1.
6.2 Уровни звукового давления и частоты звуковых сигнализаторов
Частота должна находиться в пределах от 500 до 3000 Гц.
Примечание - Нормальный слух обычно находится в диапазоне частот от 500 до 16 000 Гц. Для людей с нарушениями слуха диапазон будет меньше, а в тяжелых случаях - от 500 до 3000 Гц.
A-взвешенные уровни звукового давления должны составлять не менее 65 дБ для звуковых сигналов тревоги.
Сигнал тревоги или сигнал обратной связи должен отличаться от шума самого устройства либо по частоте, либо по уровню звука.
7 Электромагнитная совместимость
APPH, содержащее электрические или электронные устройства/компоненты, должно соответствовать МЭК 60601-1-2 и, кроме того, требованиям
7.2,
7.3 и
7.4.
При испытании в соответствии с CISPR 11 оборудование должно соответствовать пределам выбросов излучения, указанным в CISPR 11 для группы 1, оборудование класса B.
APPH должно соответствовать требованиям МЭК 61000-3-2 и МЭК 61000-3-3, если применимо.
В дополнение к требованиям МЭК 60601-1-2:2014 APPH также должно быть испытано при напряженности поля 10 В/м (среднеквадратичное значение немодулированной несущей) в диапазоне частот от 800 МГц до 2,5 ГГц. Испытание проводят в соответствии с МЭК 61000-4-3.
Если в результате применения этого испытания APPH представляет опасность или происходит непреднамеренная работа APPH, то APPH признают не прошедшим испытание.
Примечание 1 - Может потребоваться оценить риск, связанный с устройством, при использовании в непосредственной близости от мобильного(ых) телефона(ов) или других форм передатчика. В этом случае можно применять более высокие значения напряженности поля в более широком диапазоне частот.
Примечание 2 - APPH используют в разных средах и могут быть применены совместно с другим электронным оборудованием. Электромагнитная совместимость (ЭМС) должна быть тщательно подобрана в соответствии с предполагаемым использованием APPH.
7.4 Устойчивость к магнитному полю промышленной частоты
При испытании оборудования в соответствии с МЭК 61000-4-8 уровень испытания 4 при любом напряжении с использованием либо 50 или 60 Гц:
a) оборудование должно вести себя безопасно в присутствии применяемого поля;
b) устройства с электрическим приводом или функции с электрическим приводом не должны перемещаться в присутствии приложенного поля.
Проводят непрерывное испытание на помехозащищенность в полевых условиях, указанное в МЭК 61000-4-8, на оборудовании в качестве настольного оборудования. Испытание оборудования выполняют в течение не менее 1 мин для каждой ориентации применяемого поля.
Примечание - См. руководящие указания в
B.7.4.
APPH должно соответствовать требованиям в отношении электробезопасности, изложенным в
таблице 1. APPH, подключенное к сети, должно быть либо класса I (защитное заземление), либо класса II (двойная изоляция). Для APPHs, которые реализованы производителем как медицинское электрооборудование и предназначены для использования в условиях домашнего обслуживания и которые не устанавливают постоянно, допускается только класс II в соответствии с МЭК 60601-1-11.
Примечание - Национальные строительные нормы могут иметь более четкие требования.
Таблица 1
Применимые стандарты электробезопасности
Испытания APPHs, подпадающих под действие МЭК 6060-1:2005 | Испытания APPHs, подпадающих под действие МЭК 60335-1 |
По МЭК 60601-1 | По МЭК 60335-1 |
По МЭК 60601-1-11 | По МЭК 60335-2-xx |
По МЭК 60601-2-xx | |
8.2 Электрические системы
Электрическая система может состоять из нескольких компонентов, каждый из которых испытан в соответствии с различными стандартами.
Применимость стандартов к компонентам электрических систем приведена в
таблице 1.
8.3 Безопасное расположение
Возможность установки APPH в положение, обеспечивающее безопасное перемещение пользователя в случае единичного сбоя или потери питания, должна быть обеспечена на постоянной основе.
8.4 Безопасность при одной неисправности
APPH должно быть спроектировано и изготовлено таким образом, чтобы оно оставалось безопасным в случае возникновения одной неисправности, или риск должен оставаться приемлемым, как определено в процессе анализа рисков в соответствии с МЭК 60601-1:2005, 4.7.
8.5 Устройство активации с автоматическим возвратом в исходное положение
Электрически управляемые движения должны быть возможны только при активации устройства (устройств) управления, которые инициируют и поддерживают работу устройства только до тех пор, пока приводится в действие ручное управление, и когда ручное управление автоматически возвращается в положение "Стоп" или "Выключено" при отпускании.
Примечание - Движения, не приводимые в действие электричеством (например, рукой или ногой), считают соответствующими этому пункту, если масса и скорость позволяют адекватно контролировать, например, позиционирование, не создавая неприемлемого риска.
8.6 Функция аварийной остановки
Если анализ рисков показывает, что существует риск для пользователя или другого лица, связанного с APPH, при сжатии или появлении единичной неисправности, которая может создать угрозу безопасности, должна быть произведена аварийная остановка, как указано в МЭК 13850, совместно со следующими требованиями:
- APPH должно быть сконструировано таким образом, чтобы предотвратить случайное повреждение. Если это невозможно, APPH должно прекратить движение;
- устройство аварийной остановки должно быть легкодоступным для оператора и предотвращать опасную ситуацию одним действием;
- стопорное устройство должно поддерживать оборудование в безопасном положении, но не мешать каким-либо основным рабочим функциям, как определено производителем;
- устройство аварийной остановки должно удерживать APPH в остановленном положении до тех пор, пока оно не будет освобождено в соответствии с установленной процедурой;
- при анализе рисков следует учитывать безопасный тормозной путь;
- предусмотренная процедура отключения аварийной остановки должна отличаться от движения, необходимого для активации аварийной остановки.
8.7 Непрерывность электроснабжения
Если безопасность пользователя APPH, работающего от электросети, зависит от бесперебойного питания, APPH должно быть обеспечено следующим уровнем защиты:
- в случае отключения питания должна быть возможность возвратить APPH в положение, гарантирующее безопасное перемещение, с использованием вспомогательного источника питания, или обеспечить достаточную мощность для принятия дальнейших действий;
- при отключении питания к APPH автоматически подключается вспомогательный источник питания и помощнику передается сигнал о том, что произошел перебой в подаче питания. Вспомогательный источник питания должен обеспечивать достаточную мощность для выполнения дальнейших действий;
- если предполагаемый оператор способен самостоятельно разумно и своевременно отреагировать на отключение питания, так как вспомогательный источник питания и средства для подачи сигнала передали оператору информацию о том, что произошел сбой в подаче питания, вспомогательный источник питания должен обеспечивать достаточную мощность для принятия дальнейших действий;
- при возможности, следует предусмотреть неэлектрический метод работы, который снижает риск для пользователей до приемлемого уровня до тех пор, пока их не разрешено перемещать из APPH или пока не будет восстановлено электропитание вместе со средством сигнализации об отключении электроэнергии оператору/помощнику, назначенному для таких аварийных операций.
Если при сбое в сети имеется резервная батарея, она должна начать незамедлительно функционировать и иметь время работы, достаточное для того, чтобы пользователь смог обеспечить безопасное реагирование.
Примечание 1 - Своевременной реакцией может быть обеспечение доступа к питающей сети без прерывания бесперебойного питания.
Если безопасность человека, использующего APPH с внутренним питанием, зависит от непрерывности источника питания, должны быть предусмотрены средства информирования оператора о критическом заряде источника питания. В момент достижения критического заряда должен быть доступен либо вспомогательный источник достаточной мощности, либо достаточный резервный заряд внутреннего источника питания для обеспечения своевременного реагирования.
Пример - Средства информирования оператора о критическом заряде могут быть визуальными или слуховыми (например, символы/индикаторы и/или звуковые сигналы).
Примечание 2 - Своевременной реакцией может быть либо подзарядка/замена внутреннего источника питания без прерывания бесперебойного питания, либо возврат в безопасное место, обеспечивающее возможность подзарядки/замены внутреннего источника питания.
8.8 Вспомогательные средства на батарейках для личной гигиены
8.8.1 Корпус аккумулятора
Корпуса аккумуляторных батарей должны обеспечивать защиту, исключающую возникновение нижеприведенных рисков для безопасности.
a) Необходимость и конструкция корпусов аккумуляторных батарей должны быть основаны на анализе рисков (см.
4.1) и должны определять опасности и оценивать риски, связанные:
1) с утечкой кислоты и/или других веществ из батареи(ей);
2) вентиляцией газов, образующихся во время зарядки и/или использования;
3) коротким замыканием батареи(ей),
при эксплуатации в соответствии с условиями эксплуатации.
b) Корпуса, содержащие батареи, из которых во время зарядки или разрядки могут выходить газы, должны вентилироваться.
Примечание - Вентиляция сводит к минимуму риск накопления и воспламенения легковоспламеняющихся газов.
c) Если короткое замыкание батареи может привести к угрозе безопасности, батарея должна находиться в корпусе/отсеке, который предотвращает риск случайного короткого замыкания батареи(ей).
d) Любой корпус/отсек батареи должен собирать и хранить любые жидкости и/или вещества (кроме газов), которые могут вытекать из батареи(ей), указанной(ых) производителем.
e) Материалы, используемые при изготовлении корпусов аккумуляторных батарей, должны быть устойчивы к тем веществам, которые могут вытекать из батареи(ей), указанной(ых) производителем.
8.8.2 Соединение
Если из-за неправильного подключения или замены батареи может возникнуть угроза безопасности, APPH должно быть оснащено средствами предотвращения неправильной полярности.
8.8.3 Индикатор уровня заряда
Если безопасность человека, использующего APPH с внутренним питанием, зависит от источника питания, должны быть предусмотрены средства информирования оператора о состоянии заряда источника питания. Во время индикации критического заряда должен быть в наличии достаточный резервный заряд внутреннего источника питания, чтобы обеспечить своевременную реакцию.
Примечание - Своевременной реакцией может быть либо перезарядка, либо замена источника питания без прерывания подачи питания, либо разрешение возврата в безопасное место, обеспечивающее возможность перезарядки/замены внутреннего источника питания.
Должна быть индикация состояния батареи, адаптированная ко всем потребностям операторов с различными функциональными ограничениями, например лиц с нарушением зрения или слуха.
Пример - Звуковая, визуальная или тактильная индикация, четко указывающая на состояние батареи.
Примечание - См. руководящие указания в ИСО/МЭК Руководство 71:2001, таблицы 5 и 6.
APPH должно соответствовать требованиям и методам испытаний для защиты цепи согласно МЭК 60601-1+A1:2012:2005.
Примечание - См. руководящие указания в
B.8.9.
8.10 Одеяла, подушки с электрическим подогревом и аналогичные адаптивные нагревательные приборы
Одеяло с электрическим подогревом, коврик или аналогичные гибкие нагревательные приборы должны соответствовать требованиям МЭК 60601-2-35 с максимальной температурой согласно
таблице 2.
Таблица 2
Допустимые максимальные температуры при контакте с кожей
APPH (выступающие детали)
Прикладные части APPH | Максимальная температура <a>, °C |
Металлы и жидкости | Стекло, фарфор, стекловидный материал | Формованный материал, пластик, резина, дерево |
Прикладная часть, имеющая контакт с человеком в течение времени t | t < 1 мин | 51 | 56 | 60 |
1 мин <= t < 10 мин | 48 | 48 | 48 |
10 мин <= t | 41 | 41 | 41 |
<a> Эти предельные значения температуры применимы для здоровой кожи взрослых, но при ограничении температуры на продолжительность более 10 мин также учитывались лица с ограниченными возможностями с чувствительной кожей или без чувствительности. Они неприменимы, когда большие участки кожи (10% от общей поверхности тела или более) могут соприкасаться с горячей поверхностью, а также в случае контакта кожи с более чем 10% поверхности головы. В этом случае соответствующие лимиты должны быть определены и задокументированы в файле управления рисками. |
Корпуса должны быть классифицированы в соответствии со степенью защиты от вредного проникновения воды, как указано в МЭК 60529.
Соответствие проверяют испытаниями по МЭК 60529 с APPH, расположенным в наименее благоприятном положении для нормального использования.
APPHs, не находящиеся в контакте с водой при нормальном использовании или разумно прогнозируемом неправильном применении (например, во время процесса очистки), должны быть защищены, как минимум, до уровня IPX2.
APPHs, обычно находящиеся в контакте с водой или биологическими жидкостями, должны быть защищены, как минимум, до уровня IPX4, а в общественных местах - как минимум, до уровня IPX5.
APPHs, временно погружаемые в воду при обычном использовании, должны быть защищены, как минимум, до уровня IPX7.
APPHs, как правило, погружаемые в воду при обычном использовании, должны быть защищены, как минимум, до уровня IPX8.
Если вода может непреднамеренно попасть в кожух, у жидкости должен быть способ выйти из кожуха, или жидкость не должна представлять какой-либо опасности.
Проверяют APPH в течение 5 мин после испытания водой и через 1 ч, чтобы проверить его функции.
9 Переполнение, утечка и попадание жидкостей
9.1.1 Требования
Если жидкость может непреднамеренно попасть в корпус, должен быть предусмотрен способ вывода жидкости из корпуса, или жидкость должна быть безопасной.
Оценка опасности, которая может быть вызвана попаданием жидкостей в приложения с неэлектрическим питанием, должна быть осуществлена в ходе анализа рисков (см.
4.1).
Примечание 1 - См.
B.9.1.
Примечание 2 - Требования к APPH с электрическим питанием см. в
8.11.
Примечание 3 - Опасности могут быть вызваны риском возникновения коррозии или размножением бактерий.
9.1.2 Метод испытания
Проверяют наличие способа вывода жидкости из корпуса с помощью процедур, аналогичных обычным при использовании и обращении с изделием. При возможности наклоняют изделие в разные стороны для того, чтобы убедиться в этом.
9.2 Переполнение и утечка
9.2.1 Общие положения
Требования, приведенные в
9.2.2, не применяют к жидкостям организма, которые могут собираться в APPH (например, в кресле-туалете), а только к тем веществам, которые являются неотъемлемой частью APPH или необходимы для его функционирования (например, масло и смазка).
9.2.2 Вещества, которые могут вытекать из APPH при использовании по назначению и при неисправностях
APPH должно быть разработано и изготовлено таким образом, чтобы свести к минимуму риски, связанные с утечкой веществ из APPH. Особое внимание должно быть уделено тем веществам, которые являются канцерогенными, мутагенными или токсичными для репродукции, и веществам, вызывающим предельную озабоченность (БVHC8). Оценку следует проводить в соответствии с указаниями, приведенными в
приложении C.
Вещества, которые могут вытекать из APPH, должны быть либо:
- оцененными на биосовместимость в соответствии с рекомендациями, приведенными в МЭК 10993-1 (оценка должна учитывать предполагаемое использование и контакт пользователя, а также тех, кто участвует в уходе за пользователем, в транспортировании и хранении); или
- обеспеченными и той защитой, которая сводит к минимуму вероятность того, что такие вещества вызовут биологическую опасность.
Примечание 1 - Вещества, которые могут протекать, включают смазочные материалы и гидравлические жидкости.
Примечание 2 - Примером метода защиты от опасного вещества является помещение батарей в контейнер, изготовленный из кислотостойкого материала.
10 Температуры деталей, соприкасающихся с кожей человека
Анализ рисков (см.
4.1) должен выявлять опасности и оценивать риски, связанные с температурой поверхности деталей, которые могут соприкасаться с кожей человека в предполагаемых условиях эксплуатации.
При анализе рисков следует учитывать:
a) диапазон температур окружающей среды, ожидаемый при использовании по назначению и предполагаемом неправильном применении.
Примечание - Эти температуры могут включать прямое воздействие солнечных лучей, горячую воду, горячий воздух, сильный холод, сауны и т.д.;
b) температуры, которые могут возникнуть в результате единичных неисправностей;
c) эргономические данные о допустимых температурах осязаемых поверхностей согласно МЭК 60601-1:2005+A1:2012, таблица 24, адаптированные для использования APPHs людьми с нечувствительной кожей (например, не чувствительной к теплу) и/или поврежденной кожей в течение 10 мин или более. В этом случае максимальная температура не должна превышать 41 °C (см.
таблицу 2) при измерении методами испытаний, приведенными в МЭК 60601-1:2005+A1:2012.
Если производитель не может выполнить требование по
перечислению c) без ущерба для предполагаемой производительности APPH, каждое вспомогательное изделие должно быть снабжено предупреждением, указывающим на то, какие поверхности могут нагреваться до более высокой температуры в отличие от приведенных в
таблице 2, и описанием мер предосторожности, необходимых для компенсации повышенного риска.
11 Безопасность движущихся и складывающихся деталей
Если предназначение APPH или части APPH не состоит в том, чтобы захватывать, резать, сжимать и т.д., или если предполагаемое использование не может быть достигнуто без такой опасности, как риск сдавливания:
a) любые движущиеся части, представляющие опасность для безопасности, должны быть снабжены защитными ограждениями, которые могут быть сняты только с помощью инструмента; или
b) зазор между открытыми частями вспомогательного средства, которые перемещаются относительно друг друга, должен поддерживаться во всем диапазоне перемещения на уровне меньше минимального значения или больше максимального значения, указанного в
таблице 3.
Таблица 3
Безопасные расстояния между движущимися частями
Избегание | Безопасные расстояния для взрослых | Безопасные расстояния для детей <a> |
Ловушки для пальцев | Менее 8 или более 25 мм | Менее 4 или более 25 мм |
Ловушки для ног | Менее 35 или более 120 мм | Менее 25 или более 120 мм |
Ловушки для головы | Менее 120 или более 300 мм | Менее 60 или более 300 мм |
Ловушки для гениталий | Менее 8 или более 75 мм | Менее 8 или более 75 мм |
<a> Включает взрослых ростом менее 146 см, массой менее 40 кг, индексом массы тела (ИМТ) менее 17. |
Эти измерения следует проводить до и после любых соответствующих испытаний на прочность, долговечность и ударопрочность.
c) если использованы провода (тросы), цепи и приводные ремни, то они должны либо быть замкнутыми, чтобы не сбежать или выпрыгнуть из своих направляющих устройств, или опасности должны быть предотвращены другими способами (механическими средствами, которые применены для этой цели и могут быть смещены только за счет использования инструментов); или
d) APPH должно включать устройство управления, которое инициирует движение при его срабатывании и останавливает движение при его отпускании (например, подпружиненное устройство управления, которое возвращается в положение остановки при отпускании); или
e) APPH должно включать средство для определения того, что человеку угрожает опасность оказаться в ловушке, и автоматически активировать средство предотвращения травм (например, путем остановки движения).
Для движущихся частей, которые могут вызвать сдавливание, производители должны учитывать те части кузова, которые подвержены риску. Необходимо указать пользователя/группу пользователей, чтобы можно было определить правильные безопасные расстояния.
Примечание - APPH, предназначенное для ребенка, может также управляться взрослым.
Во избежание опасности, при которой части тела могут оказаться в ловушке при сложении APPH, необходимо оценить следующее:
- APPH должно включать средства защиты пользователя от опасностей захвата и/или сдавливания; или
- зазор между открытыми частями APPH, которые перемещаются относительно друг друга, должен поддерживаться во всем диапазоне перемещения на уровне меньше минимального значения или больше максимального значения, указанного в
таблице 3; или
- если предназначение APPH не может быть выполнено без такой опасности, как сжатие, в инструкциях по использованию должны быть указаны предупреждение и инструкции о том, как безопасно управлять APPH.
Если применены ограждения, то конструкция ограждения должна учитывать усилие, которое может быть приложено при нормальном использовании.
11.2 Скорость механизированных движений подъема и опускания
11.2.1 Требования
Требования к скорости механизированных движений по подъему/опусканию:
a) скорость подъема или опускания не должна превышать 0,15 м/с при загрузке;
b) скорость подъема или опускания не должна превышать 0,25 м/с при разгрузке.
11.2.2 Метод испытания
При измерении с максимальным усилием скорость подъема и опускания не должна превышать скорость, указанную в
11.2.1, перечисление a).
При измерении без усилия скорость подъема и опускания не должна превышать скорость, указанную в
11.2.1, перечисление b).
Детали, подверженные механическому износу, который может привести к угрозе безопасности, должны быть доступны для осмотра, если только они не предназначены для замены в течение интервала обслуживания, указанного производителем.
11.4 Зоны захвата ног по отношению к движущимся частям
Места, указанные на
рисунках 11 и
12, следует рассматривать как зоны захвата для ног.
A - расстояние измеряют только от пола;
B - расстояние, измеренное от внешнего края APPH, включая
любые постоянно закрепленные аксессуары
Рисунок 11 - Зона зазора стопы и носка между движущимися
частями и полом
B1, B2 - расстояние, измеренное от внешнего края APPH,
включая любые постоянно закрепленные аксессуары;
C - расстояние измеряют только от пола
Рисунок 12 - Площадь зазора между подвижными частями и полом
Для области на
рисунке 11, где расстояние
B = 130 мм, расстояние
A всегда должно быть >= 120 мм.
Для области на
рисунке 12, где расстояние
B1 и
B2 составляет от 130 до 180 мм; расстояние
C всегда должно быть >= 50 мм.
12 Предотвращение ловушек для частей тела человека
Отверстия и зазоры между неподвижными частями, которые доступны пользователю и/или помощнику во время предполагаемого использования APPH, должны соответствовать указанным в
таблице 4.
Таблица 4
Безопасные расстояния между неподвижными частями
Избегание | Безопасные расстояния для взрослых | Безопасные расстояния для детей <a> |
Ловушки для пальцев | Менее 8 или более 25 мм | Менее 5 или более 12 мм |
Ловушки для ног | Менее 35 или более 100 мм | Менее 25 или более 45 мм |
Ловушки для головы | Менее 120 или более 250 мм | Менее 60 или более 250 мм |
Ловушки для гениталий | Менее 8 или более 75 мм | Менее 8 или более 75 мм |
<a> Также включает взрослых с ростом менее 146 см, или массой менее 40 кг, или с индексом массы тела (ИМТ) менее 17. |
Эти измерения следует проводить до и после любых соответствующих испытаний на прочность, долговечность и ударопрочность.
Если предназначение APPH не может быть выполнено без опасности, вызванной размером отверстий и зазором между неподвижными частями, в инструкциях по эксплуатации должны быть указаны предупреждение и инструкции по безопасной эксплуатации APPH.
Для тех неподвижных деталей, которые могут привести к образованию ловушки, производители должны учитывать части кузова, являющиеся источником риска. Необходимо указать пользователя/группу пользователей, чтобы можно было применять правильные безопасные расстояния.
Примечание 1 - APPH, предназначенное для использования ребенком, может также управляться взрослым.
Конструкция деталей, ограничивающих отверстие или зазор, должна учитывать усилие, которое может быть приложено при нормальном использовании.
Примечание 2 - Усилие может привести к расширению отверстия/зазора. Это может быть причиной сбоя, что указано в
таблице 4.
На отверстия в форме замочной скважины или клинообразные отверстия нижний предел не применяют. При проверке APPH на наличие ловушек для частей тела следует учитывать любую гибкость/эластичность смежных частей.
Метод испытания для измерения зазора между опорами для ног указан в
16.4.2.4.
12.2 Клинообразные отверстия
Производитель должен оценить риск защемления в клинообразных отверстиях. Клинообразное отверстие должно быть не менее 75 градусов. Это снизит риск того, что пользователь окажется зажатым головой в любом положении.
13 Складные и регулировочные механизмы
Механизмы складывания и регулировки могут представлять опасность, если части корпуса могут попасть в зазор между деталями и оказаться в ловушке при закрытии зазора. Дополнительные требования см. в
разделе 11.
Если APPH включает в себя механизмы складывания и/или регулировки, оно должно соответствовать
приложениям 13.2.
Если изделие может регулироваться по высоте, то приращения не должны превышать 25 мм.
13.2 Блокировочное устройство
Механизмы должны быть надежно заблокированы, когда APPH находится в любой фиксированной рабочей конфигурации. Он также должен быть надежно заблокирован в сложенном состоянии, если это представляет опасность для пользователя или помощника, а также защищен от непреднамеренного высвобождения.
14 Подъемно-транспортные средства
Производителям следует учитывать, что национальные или другие требования могут требовать испытательные усилия, отличные от приведенных ниже.
Если APPH или часть APPH имеет массу 10 кг или более и предполагается, что они должны быть портативными или с ручкой в соответствии с инструкциями производителя:
a) они должны иметь одну или несколько подходящих ручек для переноски, которые позволяют переносить портативные APPH или устройства двумя или более лицами, или быть снабженными подходящими устройствами для переноски (например, ручками, подъемными проушинами) или
b) в инструкциях по эксплуатации должны быть указаны точки, в которых APPH или его часть могут быть безопасно подняты, и описано, каким образом с ними следует обращаться во время подъема, сборки и/или переноски. Если это целесообразно, APPH или составные части должны быть маркированы, чтобы указать, где их можно безопасно поднять и/или как с ними можно обращаться во время сборки и/или переноски.
Если APPH оснащено ручками или захватами для переноски, то они не должны отсоединяться от APPH, и при испытании не должно быть постоянных искажений, трещин или других признаков сбоя, как указано в
14.3.
После завершения испытания APPH должно работать по предназначению производителя.
Если APPH имеет одну (один) ручку или захват или если APPH можно легко переносить или поднимать с помощью одной(го) из нескольких ручек или захватов, то определяют усилие на каждой(ом) ручке или захвате при переноске или подъеме.
Если APPH имеет более одной(го) ручки или захвата, то определяют усилие на каждой(ом) ручке или захвате, когда APPH переносят или поднимают надлежащим образом.
На каждой(ом) ручке или захвате определяют усилие, необходимое для переноски APPH надлежащим образом, с допуском

. Если существует более одного предполагаемого способа, определяют наибольшее усилие.
Не следует допускать поднятия или перемещения APPH во время следующего испытания. Прикладывают усилие к каждой(ому) ручке или захвату, равное удвоенному значению, определенному выше, с допуском

, равномерно распределенным по длине (70 +/- 5) мм в центре рукоятки или рукоятки, чтобы избежать ударов (см.
рисунок 13).
1 - APPH; 2 - ограничители; 3 - испытательное усилие
Рисунок 13 - Испытание ручки для переноски (пример)
Поддерживают усилие в течение 60 - 70 с.
Снимают усилие и ограничители и приводят осмотр APPH на предмет повреждений и удовлетворительной работы.
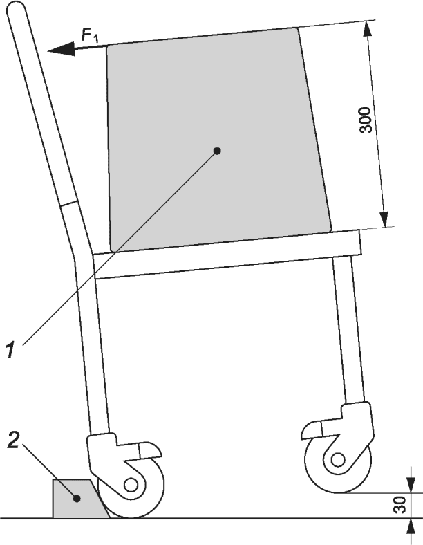
15 Портативные и ручные средства для личной гигиены или ручные детали
Портативное или ручное APPH или любая из его частей, которая является портативной или ручной во время использования по назначению, должно(а) выдерживать усилие, вызванное свободным падением с высоты на твердую поверхность (см.
таблицу 5).
Таблица 5
Масса m портативного APPH или его частей, кг | Высота падения, см |
m <= 0,2 | 100 |
0,2 < m <= 1 | 20 |
1 < m <= 10 | 5 |
10 < m <= 50 | 3 |
m > 50 | 2 |
Соответствие проверяют нижеприведенным испытанием.
Чтобы избежать падения и иметь эргономичный захват, портативные APPH должны быть оценены на предмет захвата, массы, размера и формы. После испытания изделие должно быть проверено на наличие любых повреждений, которые приводят к неприемлемому риску или потере функциональности. Повреждение подобного рода представляет собой неисправность.
Образец, подлежащий испытанию, поднимают на высоту, указанную в
таблице 5, над испытательной плоскостью
(4.8.7), расположенной горизонтально. Образец сбрасывают три раза из каждой ориентации, в которой он может быть помещен во время предполагаемого использования.
Портативные устройства управления для APPH с питанием должны выдерживать 1000 падений на твердую поверхность с высоты 100 см без повреждений и при этом нормально функционировать.
Производителям следует рассмотреть возможность проведения соответствующих испытаний согласно МЭК 60068-2-31:2008.
16 Статическая прочность, ударопрочность и долговечность
Статическая прочность, долговечность и ударопрочность являются критическими испытаниями, подтверждающими безопасность продукта. Формулы для расчета усилий при различных испытаниях рассмотрены в
16.2. Каждый подпункт начинается с собственных требований, за которыми следуют методы испытаний.
16.2.1 Формулы для расчета усилия
Формулы, приведенные в
таблице 6, следует использовать для расчета усилия
F в методах испытаний в соответствии с настоящим стандартом.
Таблица 6
Формулы для расчета усилий
Испытание | Формула | Максимальное усилие (расчет на основе md 130 кг) |
Статическая прочность на поверхности сиденья | F = m·g·S | |
Статическая прочность лежащей опорной поверхности | F = m·g·S | |
Прочность поверхности сиденья | F = md·g | |
Статическая прочность опоры для спины | F = 0,5m·g | |
Статическое усилие при опоре руки вниз <a> | | 950 Н |
Долговечность опоры руки, направленная вниз <a> | | 635 Н |
Статическая прочность при опоре стопы, направленная вниз <a> | F = md·g | 1200 Н |
Статическое усилие на оставшемся зазоре опоры стопы | F = 0,125md·g | 200 Н |
Где md - максимальная масса пользователя, кг; m - максимальное усилие (максимальная масса пользователя, кг, плюс любое дополнительное усилие, где это применимо); S - коэффициент безопасности, равный 1,5; F - усилие, которое нужно приложить в ньютонах; g - гравитационная постоянная, равная 9807 м/с2. -------------------------------- <a> Результат расчета или максимальное усилие в зависимости от того, что меньше. |
16.3 Количество циклов испытаний на долговечность
Количество циклов испытаний, которым подвергают изделие, зависит от предполагаемой среды и должно быть рассчитано в соответствии со следующей формулой:
nTC = uUC·uTD·365·tDL,
где nTC - количество испытательных циклов;
uUC - количество применений за пользовательский цикл;
uTD - количество стандартных применений в сутки;
tDL - расчетный срок службы, выраженный в годах.
Ожидаемый срок службы должен быть не менее трех лет. Если предполагаемый срок службы меньше, это должно быть указано в инструкции по эксплуатации и на этикетке.
Минимальные значения факторов окружающей среды предполагаемого использования следует применять, как указано в
таблицах 7 и
8.
Таблица 7
uUC для различных функций
Опора для руки | 2 |
Опора для сиденья | 1 |
Опора для лежания | 1 |
Опора для захвата | 1 |
Опора для ног | 1 |
Тормоза | 2 |
Таблица 8
Вид деятельности | Уход на дому | Учреждения | Общественное использование |
Посещение туалета | 5 | 10 | 10 |
Посещение душа/ванной | 2 | 10 | 5 |
Предполагаемый срок службы должен быть указан производителем.
Производитель должен указать в инструкциях по эксплуатации предполагаемый срок службы и условия окружающей среды предполагаемого использования.
16.4 Статическая прочность опоры для лежания, опор для рук и ног, поверхностей сиденья и спинки
Во время и после испытаний на статическую прочность по
16.4.2 части APPH не должны:
- становиться нестабильными;
- иметь какие-либо трещины;
- иметь какие-нибудь незакрепленные соединения;
- иметь видимые деформации или зазоры, нарушающие функционирование;
- отрываться.
Далее в зависимости от APPH:
- не должно быть постоянного наклона;
- все регулируемые части должны функционировать по назначению;
- отклонение опоры рычага во время испытания не должно нарушать функционирования в отношении передачи;
- опора для ног должна либо иметь средства, предотвращающие скольжение ног в зазор между ними, либо иметь зазор, меньший, чем указано в
таблице 4;
- во время испытания допускается отклонение опоры для ног до упора в пол (после испытания оставшееся отклонение не должно превышать 10 мм);
- если APPH предназначено для складывания для транспортирования и/или хранения, оно не должно складываться непреднамеренно;
- после испытания APPH должно работать так, как предусмотрено производителем.
Все критерии прохождения/непрохождения должны быть выполнены после или во время испытания, когда бы оно ни проводилось.
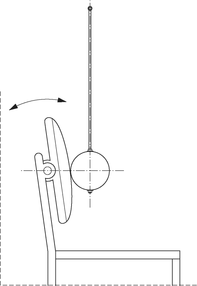
16.4.2.1 Статическая прочность лежащей опорной поверхности
Испытания следует проводить на горизонтальной поверхности с приложенным усилием в течение 20 мин.
При наличии каких-либо тормозов, их необходимо активировать.
APPH должно оставаться стабильным в течение всего испытания.
Первое испытание. Прикрепляют усилие в соответствии с
таблицей 6 к лежащей опорной поверхности согласно схеме, указанной на
рисунке 14.
Примечание - Показанные значения представляют собой процент от максимального усилия.
A - дренажное отверстие; B - ноги; C - голова;
D - центральная линия
Рисунок 14 - Размещение усилий на лежащей
опорной поверхности
Второе испытание. Это(и) испытание(ия) следует проводить на наиболее критической части поверхности, где пользователь может приложить максимальное усилие при переносе в соответствии с
рисунком 15. Если возможна передача как на концах, так и вдоль боковой поверхности лежащей опоры, каждое испытание следует проводить отдельно.
A - дренажное отверстие; B - ноги; C - голова
Примечание - Показанные значения представляют собой процент от максимального усилия.
Рисунок 15 - Размещение усилия на лежащей
опорной поверхности.
Максимальная передача усилия
Удаляют испытательное усилие и проверяют APPH на наличие повреждений.
Примечание - Лежащая опорная поверхность включает изделия в пределах 09 33 12 и 18 15 06.
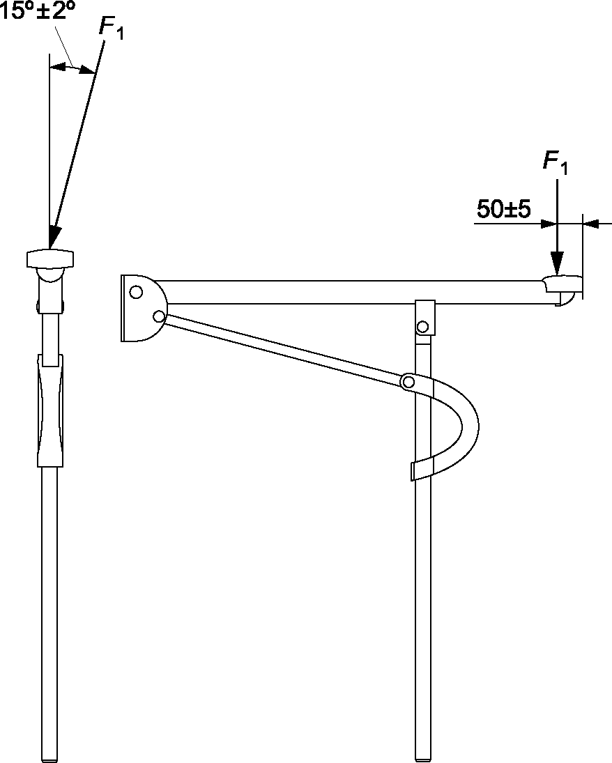
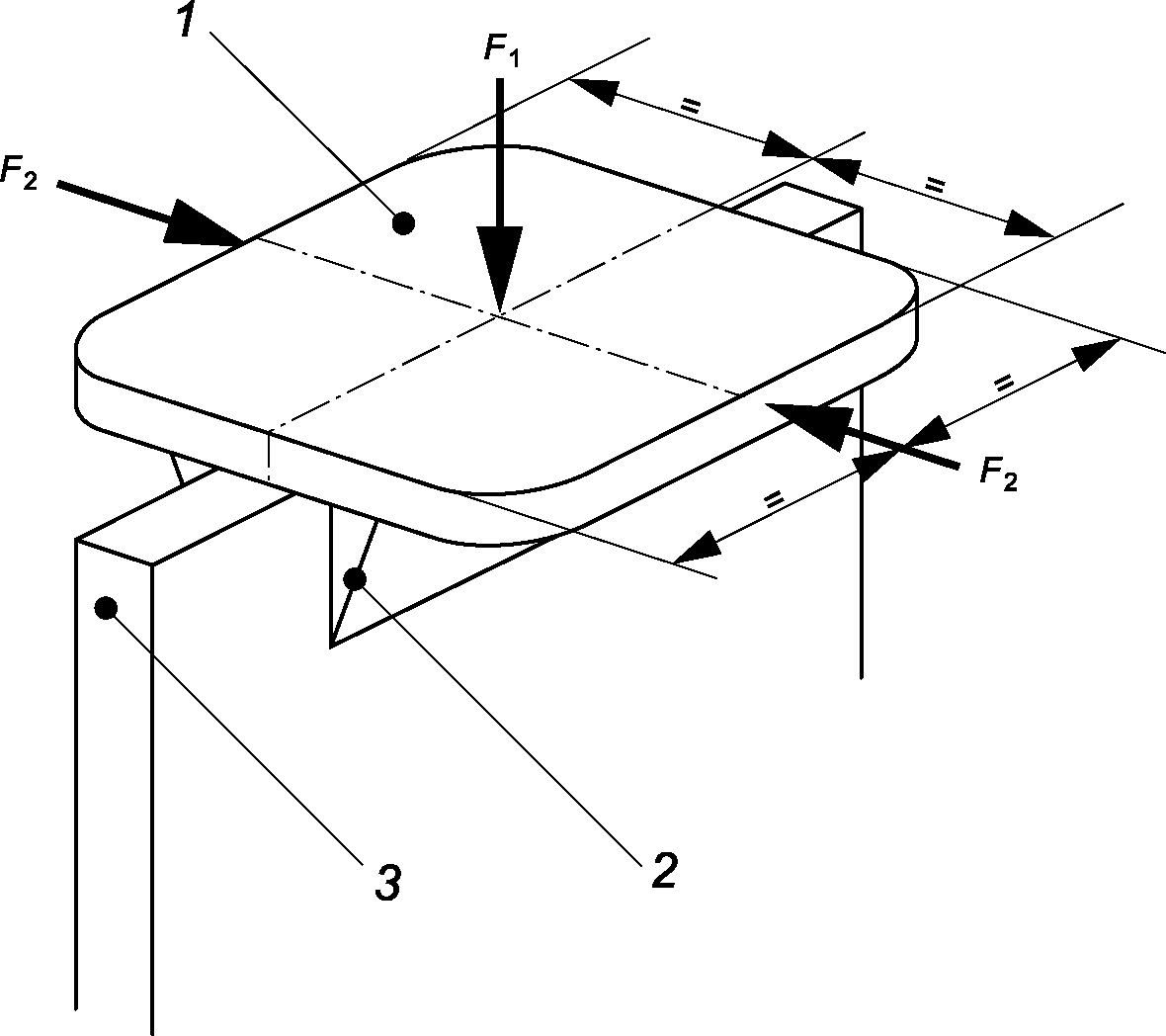
16.4.2.2 Статическая прочность опоры для рук вниз
Рассчитывают усилие, направленное вниз, которое должно быть приложено к опоре для рук, используя формулы, приведенные в
таблице 6.
Каждую опору рычага нагружают в течение как минимум 60 с в точке на расстоянии 50 мм от переднего края.
Когда APPH стоит на горизонтальной испытательной плоскости, прикладывают максимальное усилие, определенное по формуле из
таблицы 6, или любое большое усилие, указанное производителем, так, чтобы ее линия действия пересекала опорную поверхность опоры для рук, как показано на
рисунке 18 и
19, используя загрузочную площадку, выбранную в соответствии с
4.8.12.1 и
4.8.12.2.
Примечание - На
рисунке 18 показана конфигурация погрузочного оборудования в начале испытания. Эта конфигурация будет меняться по мере отклонения опоры рычага во время испытания.
Перед установкой испытательного оборудования применяют средства для предотвращения опрокидывания вспомогательного изделия и средства для предотвращения перемещения вспомогательного изделия назад и вперед.
При наличии двух опор для рук половина усилия должна быть приложена к каждой из них одновременно или по одной в отдельности.
Медленно увеличивают усилие до тех пор, пока усилие
F1 не достигнет значения, в соответствии с формулой из
таблицы 6, или большего значения, указанного производителем.
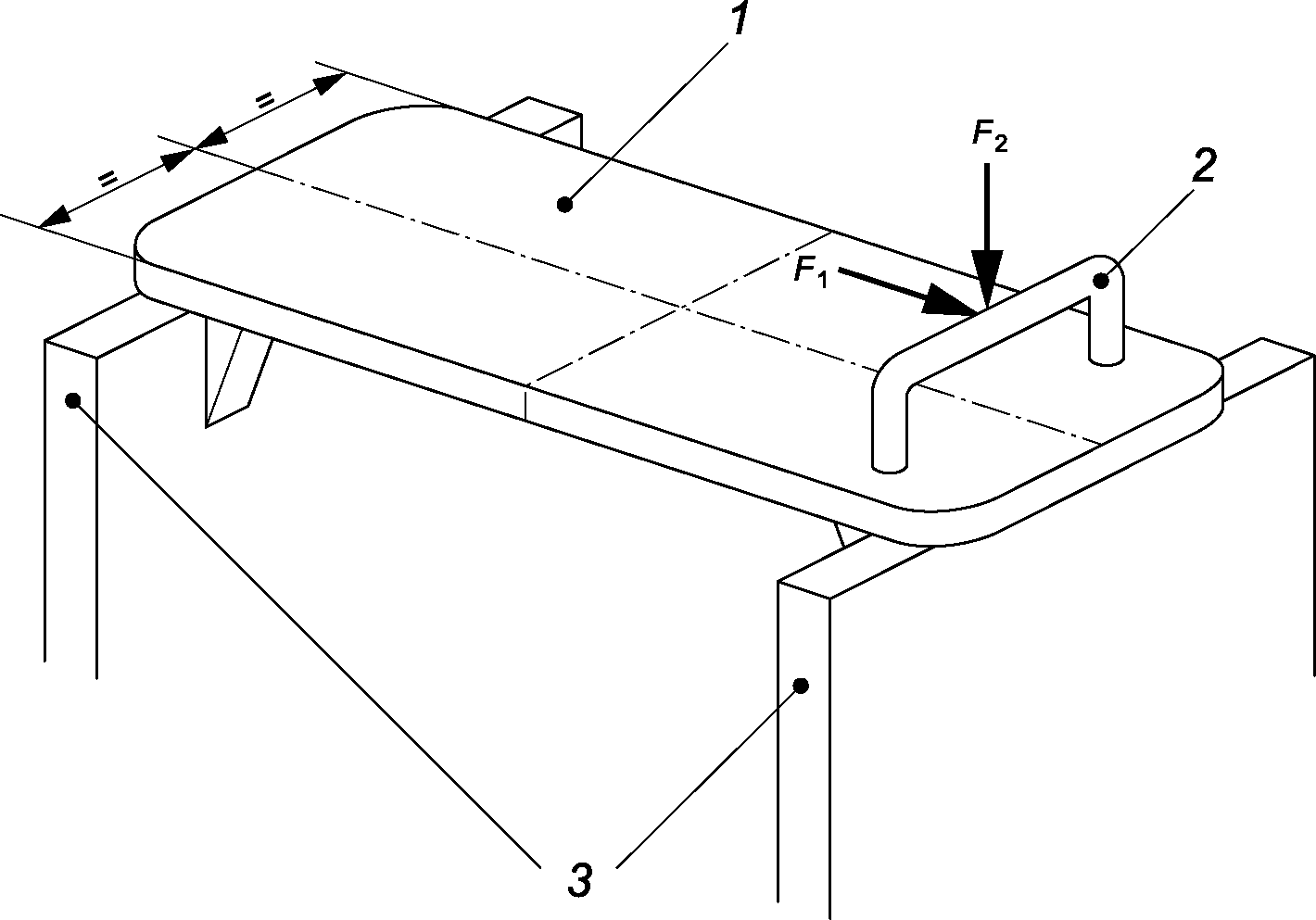
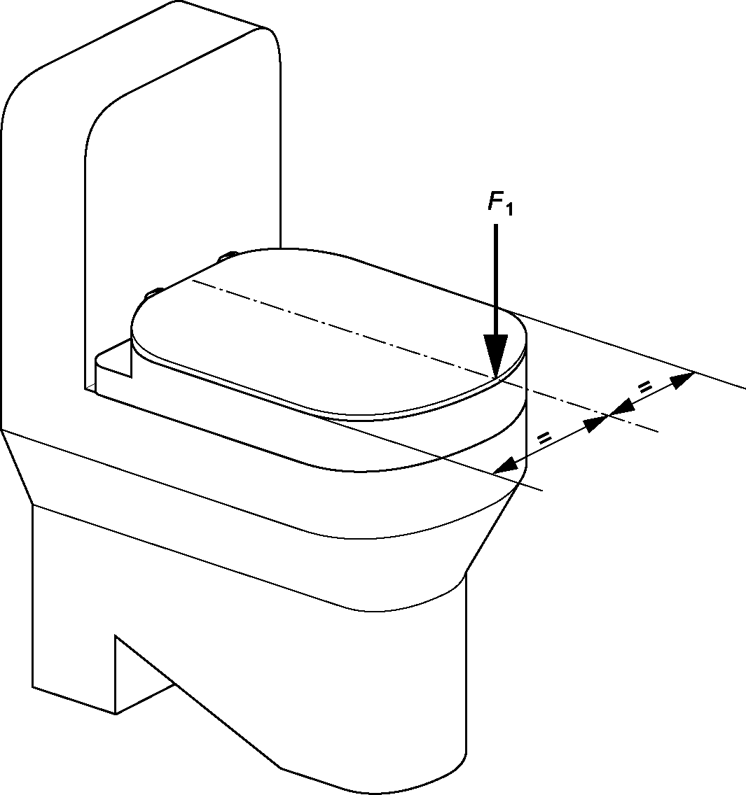
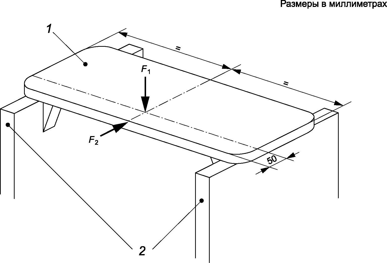
16.4.2.3 Статическая прочность опоры сиденья и спинки
Устанавливают APPH в соответствии с инструкциями производителя.
APPH должно быть закреплено таким образом, чтобы во время испытания оно не перемещалось и не повлияло тем самым на результаты испытания.
Для испытания сиденья на статическую прочность прикладывают максимальное усилие
F1 в соответствии с
таблицей 6, используя загрузочную площадку, как указано в
4.8.12.4, в течение 20 мин к части опорной поверхности сиденья APPHs в соответствии с
рисунком 16.
1 - загрузочная площадка
Рисунок 16 - Размещение усилия на опорной
поверхности сиденья/спинки
Если APPH имеет крышку сиденья, усилие следует располагать на верхней поверхности крышки из-за предполагаемого неправильного использования.
Для испытания задней опоры на статическую прочность прикладывают максимальное усилие
F2 в соответствии с
таблицей 6, используя загрузочную площадку, как указано в
4.8.12.3, в течение 20 мин к части поверхности задней опоры APPH в соответствии с
рисунком 16. Тормоза (при наличии) должны быть активированы, и приложение APPH не должно наклоняться во время испытания.
Испытание следует проводить с опорой для спины в наиболее неблагоприятном положении, если она имеет функцию регулируемого откидывания.
16.4.2.4 Статическая прочность опор для ног
Перед началом проведения испытания применяют средства предотвращения опрокидывания APPH и средства предотвращения перемещения APPH вперед и назад.
Рассчитывают направленные вниз усилия, которые должны быть приложены к опоре для ног, используя формулы из
таблицы 6. К APPH, стоя на горизонтальной испытательной плоскости, прикладывают усилие
F, определенное в
таблице 6, "Статическое усилие на опоре стопы вниз" и "Статическое усилие на оставшемся зазоре опоры стопы" или любое большее указанное производителем усилие, в местах опор для ног, показанных на
рисунке 17.
Рисунок 17 - Расположение опорного усилия для стопы
Используют выпуклую нагрузочную площадку (см.
рисунок 3) для передачи усилия на плоские опоры для ног и на опоры для ступней, состоящие из двух или более трубок, и вогнутую цилиндрическую нагрузочную площадку (см.
рисунок 2) на опоры для ступней, состоящие из одной трубы.
Примечание - В некоторых случаях, когда это можно сделать, не ослабляя опору для стопы, может потребоваться просверлить отверстие в опорной пластине для крепления привода загрузки.
Если опору для ног регулируют по высоте, она должна быть расположена в наиболее неблагоприятном положении для предполагаемого использования.
Если применены трубчатые подставки для ног или другие конструкции, не имеющие плоской опорной поверхности для ног, прикладывают усилие под углом (25 +/- 5)° к вертикали, наклоненной в сторону сиденья.
Если опоры для ног имеют открытую конструкцию, так что стандартная нагрузочная площадка не может передавать усилие на конструкции, устанавливают подходящую жесткую пластину на опору для ног, чтобы усилие приходилось на части опоры для ног, ближайшие к точке усилия.
Если используют две отдельные опоры для ног, поочередно прикладывают половину усилия к каждой опоре для ног.
Медленно увеличивают усилие до тех пор, пока усилие
F2 не достигнет значения, указанного в формуле
таблицы 6, или большего усилия, указанного производителем. Поддерживают усилие в течение от 5 до 10 с.
Снимают усилие.
Во время и после испытаний на долговечность, описанных в
16.5.2, части APPH не должны:
- становиться нестабильными;
- иметь трещины;
- иметь незакрепленные соединения;
- иметь видимые деформации или зазоры, нарушающие функционирование;
- отрываться.
Далее в зависимости от APPH:
- не должно быть постоянного наклона;
- все регулируемые части должны функционировать по назначению;
- отклонение опоры рычага во время испытания не должно нарушать функционирования в отношении передачи;
- опора для ног должна либо иметь средства, предотвращающие скольжение ног в зазор между ними, меньший, чем указано в
таблице 4;
- во время испытания допускается отклонение опоры для ног до упора в пол (после испытания оставшееся отклонение не должно превышать 10 мм);
- если APPH предназначено для складывания при транспортировании и/или хранении, оно не должно складываться непреднамеренно (после испытания APPH должно работать так, как задумано производителем).
Все критерии прохождения/непрохождения должны быть выполнены после или во время испытания, когда бы оно ни проводилось.
Во время испытания применяются нижеприведенные условия.
1) Допускается регулировка опор для осанки.
2) Допускаются повторная затяжка, перенастройка или установка компонентов, которые указаны в инструкциях производителя для использования в качестве компонентов, регулируемых оператором. Компоненты, идентифицированные как регулируемые оператором, могут потребовать использования инструментов, если поставку инструментов осуществляют совместно с вспомогательным изделием. При наличии компонентов, регулируемых оператором, оборудование для испытаний на долговечность может останавливаться с интервалом 25% плюс или минус 5% для проверки компонентов, регулируемых оператором, для того чтобы определить, требуется ли повторная затяжка, перенастройка или установка компонентов, регулируемых оператором. Вначале затягивают, затем выполняют настройку или установку в соответствии с процедурами, изложенными в инструкциях по использованию APPH. Продолжают испытания на долговечность после проведения повторных затяжек, регулировки или установки.
3) Повторные затягивание, перенастройка или установка другого компонента не допускаются.
4) Во время испытания на долговечность допускается замена предметов обычного износа в соответствии с инструкциями производителя.
5) Для APPHs с электрическим приводом рабочий цикл должен быть заявлен производителем.
Прикладывают максимальное усилие, предусмотренное производителем (включая любые принадлежности), к опорной поверхности в наиболее неблагоприятном положении таким образом, чтобы обеспечить незначительное динамическое усилие. Цикл испытаний следует рассчитывать в соответствии с
16.3 (см.
таблицы 7 и
8) в отношении предполагаемой области применения и указанного срока службы изделия, если иное не определено в настоящем стандарте.
APPH должно быть защищено от скольжения или перемещения с помощью стопора.
16.5.2.1 Долговечность опоры для рук
Когда APPH стоит на горизонтальной испытательной плоскости, прикладывают усилие +/- 3%, определяемое по формуле в
таблице 6, или любое большее усилие, указанное производителем, таким образом, чтобы его линия действия пересекала опорную поверхность опоры для руки, как показано на
рисунках 18 и
19, с использованием выбранной вогнутой нагрузочной площадки, как указано в
4.8.12.1.
Примечание - На
рисунке 17 показана конфигурация нагрузочного оборудования в начале испытания. Эта конфигурация будет меняться по мере того, как испытание деформирует опору руки.
1 - шарниры для приложения усилия
Рисунок 18 - Усилия, направленные вниз на подлокотники
(вид спереди)
Рисунок 19 - Усилия, направленные вниз на подлокотники
(вид сбоку)
Циклическое приложение усилия может быть применено к обеим опорам одновременно или к каждой поочередно. Циклическое приложение усилия должно быть плавным.
Медленно увеличивают усилие до тех пор, пока усилие
F1 не достигнет значения, указанного в формуле
таблицы 6, или большего значения, указанного производителем. Цикличность должна быть менее 20 циклов в минуту.
По окончании испытания снимают усилие.
16.5.2.2 Прочность поверхности сиденья
APPH должно быть расположено горизонтально на испытательной плоскости.
Прикладывают усилие, указанное в
таблице 6, вертикально к поверхности сиденья в соответствии с
рисунком 16.
Используют подходящую нагрузочную площадку (см.
4.8.12.4) для приложения усилия.
Также можно использовать испытательный манекен в соответствии с ИСО 7176-11.
Количество циклов должно быть рассчитано по формуле в
16.3 и по
таблицам 7 и
8 относительно предполагаемой области использования.
После испытания снимают усилие.
16.5.2.3 Долговечность механизма регулировки высоты с электроприводом
Помещают APPH в наиболее нижнее горизонтальное положение на испытательной плоскости. Прикладывают максимальное распределенное усилие, как показано на
рисунке 14 для лежачей опорной поверхности или как в
16.4.2.3 (см.
рисунок 16) для сидячей поверхности. В соответствии с ИСО 7176-11 также может быть использован испытательный манекен.
APPH поднимают и опускают в соответствии с процедурой, указанной в инструкции по эксплуатации. Количество испытательных циклов должно быть рассчитано по формуле, приведенной в
16.3, и по
таблицам 7 и
8 относительно предполагаемой области использования.
После испытания снимают усилие.
16.5.2.4 Долговечность подвижных секций с механическим приводом
APPH следует расположить горизонтально на испытательной плоскости.
Прикладывают максимальное усилие, распределенное, как показано на
рисунке 14 для лежащей опорной поверхности или как в
16.4.2.3 (см.
рисунок 16) для сиденья на подвижной секции. В соответствии с ИСО 7176-11 также может быть использован испытательный манекен.
Каждая из подвижных секций работает в полном диапазоне хода, как и при обычном использовании.
Количество циклов испытаний должно соответствовать формуле в
16.3, а также по
таблицам 7 и
8 относительно предполагаемой области использования.
Проводят осмотр продукта через 5 мин после завершения цикла.
После приложения усилия элементы изделия не должны расшатываться, ломаться или не должна быть обнаружена какая-либо опасность. Деформация более 10 мм (после снятия усилия) от соответствующего измерения, проведенного до приложения усилия, недопустима.
16.5.2.5 Прочность рамы APPH с сиденьем, оборудованным ножками/колесиками
Этот метод испытаний не предназначен для фиксированных продуктов.
APPH следует расположить горизонтально на испытательной плоскости.
Устанавливают колеса/ножки, как показано на
рисунке 20, напротив стопора.
| |
Испытание 1 | Испытание 2 |
| |
Испытание 3 | Испытание 4 |
Рисунок 20 - Испытание на прочность рамы APPH
Для гидравлического, механического, электрического или другого регулируемого APPH испытание должно быть проведено таким образом, чтобы любое движение системы регулирования не влияло на результат испытания.
Сиденье загружают на 80% от максимального усилия в ящике при наклонах вперед и назад.
Сиденье загружают на 40% от максимального усилия в ящике при наклоне в боковых направлениях.
Ящик (шириной 350 мм, глубиной 350 мм и высотой 300 мм) должен быть закреплен по центру сиденья и зафиксирован от скольжения.
Также можно использовать испытательный манекен в соответствии с ИСО 7176-11.
Количество циклов должно соответствовать приведенному в формуле в
16.3 и
таблицах 7 и
8 относительно предполагаемой области использования. Оно не должно превышать 10 000 раз в каждом направлении.
Усилие прикладывают перпендикулярно ящику.
APPH наклоняют к ящику (см.
рисунок 20) до тех пор, пока две ножки не поднимутся на 30 мм. После этого кресло свободно падает обратно на испытательную плоскость
(4.8.7). Испытание 1 выполняют в обратном направлении, испытание 2 - в прямом направлении, а испытания 3 и 4 - в двух боковых направлениях. Каждое испытание проводят отдельно с полным количеством циклов до начала следующего испытания.
После проведения испытаний по
16.6.2 должны быть выполнены нижеприведенные требования.
a) Ни один компонент не должен быть сломан или отсоединен, за исключением следующего:
- допускается перенастройка постуральных опор;
- повторная затяжка, повторная регулировка или повторная установка компонентов, которые указаны в инструкциях производителя по эксплуатации в качестве компонентов, регулируемых оператором, разрешены; для компонентов, идентифицированных как регулируемые оператором, может потребоваться использование инструментов, которые должны поставляться совместно с вспомогательным изделием;
- повторная затяжка, повторная регулировка или переустановка любого другого компонента не допускается.
b) Трещины в отделке поверхности, например в краске, которые не проникают в конструкционный материал, не являются дефектом.
c) Ни один из видимых снаружи электрических кабелей не должен быть истертым или раздавленным, а также отсоединен.
d) Все детали, которые должны быть съемными, складными или регулируемыми, должны работать в соответствии с описанием производителя.
e) Все системы с силовым приводом должны работать в соответствии с описанием производителя.
f) Элементы APPH не должны расшатываться, ломаться или представлять опасность.
g) Фиксаторы не должны смещаться.
h) Компонент или сборка деталей не должны иметь деформации, свободного люфта или потери регулировки, которые неблагоприятно влияют на работу APPH.
16.6.2.1 Метод испытаний для опоры спины
Это испытание применяют к тем изделиям, у которых высота спинки составляет 320 мм или более над сиденьем.
Измерение 320 мм проводят начиная от верхней поверхности основания сиденья под углом 90° от центра сиденья.
В отношении опор для спины, имеющих шарнир, который позволяет им свободно выровняться со спиной пользователя, как показано на
рисунке 21, располагают маятник для испытания на удар для опоры спины (см.
4.8.13) с вертикальным стержнем таким образом, чтобы усилие касалось спины, опоры на горизонтальной линии, проходящей через ось задней опоры.
Рисунок 21 - Испытание на удар с поворотной задней опорой
Для изделий с другими типами опор для спины располагают маятник для испытаний на удар таким образом, чтобы стержень находился вертикально и масса касалась центральной линии опоры для спины в точке на 30 мм ниже верхней части опоры для спины, как показано на
рисунке 22.
Рисунок 22 - Испытание опоры спины на удар
Активируют тормоза (при их наличии).
Устанавливают жесткий стопор (см.
4.8.8) напротив задних колес/ножек изделия и крепят свободный фиксатор, длина которого достаточна для предотвращения опрокидывания APPH назад за точку равновесия. Поддерживают маятник так, чтобы жесткий стержень находился под углом (30 +/- 2)° к вертикали, как показано на
рисунке 22, а затем дают ему свободно упасть один раз и ударить по задней опоре.
Если производитель утверждает, что продукт превышает минимальные требования, используют для испытания угол, заявленный производителем плюс 2°. Если спинка регулируется по высоте, испытание проводят в наихудшем положении.
Для тех изделий, в которых задняя опора установлена на двух опорных элементах, повторяют испытание дважды, переместив маятник таким образом, чтобы он ударялся о центральную линию каждой опоры на 20 мм ниже верхней части опоры.
Для тех изделий, в которых задняя опора установлена на одной центральной опоре, повторяют испытание с маятником, расположенным так, чтобы ударять по задней опоре в точках, расположенных на расстоянии 0,4 максимальной ширины спинки с каждой стороны от ее центральной линии.
Для тех изделий, в которых опора спины установлена на двух опорных элементах, повторяют испытание дважды, переместив маятник таким образом, чтобы он ударялся о центральную линию каждой опоры на 20 мм ниже верхней части опоры.
Для тех изделий, в которых опора спины установлена на одной центральной опоре, повторяют испытание с маятником, расположенным так, чтобы ударять по опоре спины в точках, расположенных на расстоянии 0,4 максимальной ширины спинки от каждой стороны относительно ее центральной линии.
16.6.2.2 Метод испытания лежащей опорной поверхности
Следующие испытания должны быть проведены в той последовательности, в которой они перечислены.
Помещают матрац, при его наличии, как указано производителем, на лежащую опорную поверхность в том положении, в котором любые движущиеся элементы свободны от опорных элементов и их наклон составляет менее 7° по отношению к горизонтали, и, если он регулируется по высоте, опорная поверхность для лежания должна быть расположена в середине возможного диапазона регулировки.
С высоты 180 мм над опорной поверхностью матраца/лежащей поверхности бросают ударный элемент
(4.8.16) на APPH 20 раз в каждую из точек, отмеченных буквой "A" на
рисунке 23. Ударный элемент должен свободно падать, но можно использовать направляющие, чтобы гарантировать, что падения элемента происходили как можно ближе к рекомендуемым местам.
Рисунок 23 - Испытание лежащей опорной поверхности на удар
17.1 Требования к статической устойчивости
При испытании на устойчивость по
17.2 подвижные и статические APPHs, нагруженные максимальным усилием, не должны терять равновесия (баланса) под углом 10° вперед и назад и под углом 5° вбок.
17.2 Метод испытания на статическую устойчивость
Испытания следует проводить в прямом, обратном и боковом направлениях, как указано производителем, на наклонной испытательной плоскости
(4.8.7) в соответствии с требуемым углом для каждого испытания. Если для мобильных APPHs предусмотрено несколько направлений движения (вперед), они должны быть рассмотрены как прямые. Для мобильных APPHs база находится в положении для движения, как указано производителем.
APPH должно быть предохранено от скольжения по наклонной поверхности с помощью стопоров (см.
4.8.8 и
рисунок 1).
Прикладывают максимальное усилие, распределенное, как показано на
рисунке 14, для APPH с лежащей опорной поверхностью. Для APPH с сиденьем центр тяжести усилия должен быть расположен согласно
рисунку 16, усилие
F1, но не более 350 мм от переднего края сиденья.
Также можно использовать испытательный манекен в соответствии с ИСО 7176-11.
Для APPH с лежачей опорной поверхностью испытания повторяют на горизонтальной поверхности с усилиями, распределенными, как показано на
рисунке 15, как на концах, так и по бокам, по одному испытанию за один раз. Испытания следует проводить в наиболее неблагоприятном положении APPH по отношению к положению колес, опорной поверхности, основанию и тормозов, если это применимо.
Примечание - Необходимо оценить риски, связанные с APPH, если предполагается использовать его на мокром и/или мыльном полу.
18 Поверхности, углы, кромки и выступающие части
Если это не требуется для целевого назначения APPH, все доступные края, углы и поверхности должны быть гладкими и свободными от заусенцев и острых краев.
Если это не требуется для целевого назначения, APPH не должно иметь выступающих частей. При возможности, необходимые выступающие части должны иметь защиту для предотвращения травм и/или повреждений.
Примечание - См. указания в
B.18.
APPH и их детали, предназначенные для использования маленькими детьми, должны быть такого размера, чтобы они не создавали опасность удушения маленьких детей.
Что касается APPH для детей, то любая деталь, которую можно отсоединить без использования инструмента, не должна полностью помещаться в цилиндр, как указано в 5.4 ЕН 716-2:2008.
Примечание - Маленькими детьми считаются дети в возрасте не старше 5 лет.
20 Усилия в мягких тканях человеческого тела
Опасности, которые могут быть вызваны усилиями, приложенными к мягким тканям тела, должны быть оценены в анализе рисков (см.
4.1).
Примечание - Для руководства см.
B.20.
21 Эргономические принципы
APPH может быть использовано не только тем, для кого оно в первую очередь предназначено, но и помощником. Эргономические принципы, изложенные в ЕН 614-1, следует применять ко всем вовлеченным лицам.
Рукоятки, ручки и педали должны соответствовать функциональной анатомии оператора согласно предполагаемому использованию и следующим требованиям (в определенных случаях APPH должно быть загружено с максимальным усилием):
a) диаметр поверхности кнопок должен быть минимум 15 мм; любое расстояние между кнопками должно быть более 10 мм.
Примечание 1 - Кнопки могут иметь любую форму, например они не обязательно должны быть круглыми;
b) расстояние между любой ручкой (частью, предназначенной для захвата), требующей воздействующего усилия более 10 Н, и любой конструктивной частью APPH должно быть не менее 35 мм;
c) расстояние между любой верхней поверхностью педали (в любом рабочем положении) и любой другой частью APPH должно иметь вертикальный зазор между носками не менее 75 мм;
d) диаметры любых рабочих ручек и/или ручек, требующих рабочего усилия более 10 Н, должны составлять от 19 до 43 мм.
Примечание 2 - Ручки и кнопки могут быть любой формы;
e) для APPH, приводимого в действие из положения стоя, педали должны быть расположены не более чем на 300 мм над поверхностью пола;
f) для APPH, управляемого из положения стоя, ручные органы управления должны быть расположены на высоте от 800 до 1200 мм над поверхностью пола;
g) для APPH, управляемого из положения сидя, системы управления, предназначенные для управления сидящим пассажиром, должны находиться в пределах досягаемости пассажира.
Примечание 3 - Что касается
перечислений e),
f) и
g), другим элементам управления могут потребоваться другие положения в зависимости от использования APPH;
h) рабочие усилия или крутящие моменты, требуемые для тех частей устройства, которые предназначены для управления пальцами, кистями/руками или ногами, не должны превышать значений, указанных в
таблице 9.
Таблица 9
Воздействие | Усилия/крутящий момент |
Воздействие пальцем | 5 Н |
Воздействие ладонью/рукой | 60 Н |
Воздействие ногой | 300 Н |
Воздействие путем поворота | 1,9 Нм |
Вращение поверхности сиденья | 60 Н |
В настоящем разделе определены требования и методы испытания для мобильных APPHs, которые являются дополнительными к тем, которые указаны в
разделах 4 -
21.
Требования и методы испытаний применяют к APPHs, оснащенным колесами или другими средствами для транспортирования пассажира на месте, в следующих примерах разделов ИСО 9999:2011 (в скобках):
- кресла-стулья туалетные (09 12 03);
- кресла для ванны/душа (на колесиках или без них), доски для ванны, табуретки, спинки и сиденья (09 33 03);
- лежаки для ванны, столы для душа и пеленальные столики (09 33 12).
22.2 Средства, уменьшающие подвижность
22.2.1 Общие положения
Мобильное APPH или любая из его частей, которые могут представлять опасность для пользователя или находящегося поблизости человека, должны быть оснащены средствами, уменьшающими подвижность любого нежелательного движения.
22.2.2 Требования к стопорным механизмам
Мобильное APPH не должно приводить к недопустимому риску из-за нежелательного перемещения при испытании в соответствии с
22.2.3 и
22.2.4. Когда APPH полностью останавливается, в течение 1 мин не должно быть перемещения мобильного APPH более чем на 50 мм (по отношению к наклонной плоскости).
22.2.3 Методы испытаний стопорных механизмов
Перед проведением испытания мобильное APPH подготавливают со следующими параметрами в наиболее неблагоприятном положении при обычном использовании:
- высота и длина;
- ролики/колеса.
Мобильное APPH размещают с максимальным усилием, распределенным на месте, как показано на
рисунках 14 и
16, и с включенным блокирующим устройством (например, тормозами) на испытательной плоскости
(4.8.7), наклоненной на 6° от горизонтали. Любое первоначальное перемещение не должно приводить к неприемлемому риску, принимая во внимание обычное использование APPH.
Регулируют блокирующее устройство (например, тормоза) в соответствии с инструкциями производителя по эксплуатации, не превышая требований к рабочему усилию, указанных в
таблице 9.
22.2.4 Методы испытаний на долговечность тормозов
Устанавливают мобильное APPH на горизонтальную поверхность, как указано в
22.2.3.
Испытание на долговечность для тормозов рычажным приводом проводят по циклу испытаний, рассчитанному в соответствии с
16.3 (см.
таблицы 7 и
8) в отношении предполагаемой области использования и указанного срока службы изделия. Для ножных тормозов на роликах испытание на долговечность следует проводить в соответствии с ЕН 12527:1998.
После испытаний тормоз должен по-прежнему соответствовать требованиям
22.2.2.
22.2.5 Тормоз, приводимый в действие рычагом
Если мобильное APPH предназначено для бокового перемещения, то любой тормозной рычаг во включенном положении не должен выступать над незанятым сиденьем.
22.3 Электробезопасность для мобильных APPHs
22.3.1 Мобильные APPHs с механическим приводом
Мобильное APPH с механическим приводом для транспортирования должно иметь средства (например, механизм свободного хода), позволяющие помощнику осуществлять транспортирование при неисправном состоянии системы привода.
Примечание - Мобильное APPH с механическим приводом включает в себя двигательную установку.
22.4 Грубое обращение и перемещение
22.4.1 Общие положения
Мобильные APPHs, предназначенные для перевозки пассажиров, должны выдерживать усилия, вызванные грубым обращением и свободным перемещением. Требования не распространяются на мобильные APPHs, указанные производителем только для перемещения на предельно короткое расстояние, например в пределах помещения, в целях уборки или для обеспечения доступа к жильцу.
После испытаний, указанных в
22.4.3 и
22.4.4, мобильное APPH, производственные компоненты и комплектующие не должны иметь потерь функций, разблокировки любых боковых направляющих, или физического износа, например износ фиксаторов, фиксированных аксессуаров на мобильные APPHs (таких как боковые рельсы), которые могут сократить их использование или создать опасность, в частности: появление остаточной деформации, изменение зазора, защемление или ущемление.
Мобильное APPH должно преодолевать препятствие и не должно опрокидываться при проведении испытания в соответствии с
22.4.3. Мобильное APPH или детали не должны создавать недопустимый риск, определяемый путем проверки мобильного APPH, его частей и соответствующей информации, содержащейся в файле управления рисками.
22.4.3 Метод испытания на преодоление порога
Все комплектующие при применении по назначению во время транспортирования должны быть прикреплены к APPH и с высотой в наихудшем положении, и с распределением максимального усилия на месте, как указано на
рисунках 14 и
16. Также может быть использован испытательный манекен в соответствии с ИСО 7176-11.
Устанавливают препятствие, которое фиксируют ровно на полу, с прямоугольным поперечным сечением высотой 10 мм и шириной не менее 80 мм с радиусом 2 мм по верхним краям.
APPH должно перемещаться со скоростью (0,8 +/- 0,1) м/с, или для мобильных APPHs с приводом от двигателя для перемещения должна быть использована максимальная скорость, при этом все ролики должны ударяться и проходить через препятствие. Ручные мобильные APPHs приводят в движение усилием, действующим на его рукоятку(и). Затем мобильное APPH всеми роликами должно быть перемещено обратно через препятствие и возвращено в исходное положение испытания.
Испытание повторяют 10 раз.
Альтернативный метод испытания: может быть использована двухбарабанная установка (см. ИСО 7176-8) при условии, что она работает циклически взад и вперед и адаптирована к навесному оборудованию и скоростям, указанным выше.
Испытание повторяют 10 000 раз.
Примечание - См. также предложение по альтернативному испытанию в
B.22.4.3.
22.4.4 Метод испытания на удар дверной коробки
Все принадлежности, предназначенные для нормального использования во время перемещения, должны быть прикреплены к мобильному APPH и с максимальным усилием на месте, распределенным, как указано на
рисунках 14 и
16, и с высотой в наихудшем положении.
Можно также использовать манекен для испытаний в соответствии с ИСО 7176-11. Устанавливают вертикальное препятствие из твердой древесины шириной и толщиной 40 мм, прикрепленное к вертикальной жесткой опоре (например, бетонной). Высота вертикального препятствия должна быть на том же уровне, что и высота точки (точек) контакта APPHs. Направление движения перпендикулярно лицевой стороне препятствия. Образец перемещают три раза в нормальном(ых) направлении(иях) движения, как указано производителем, со скоростью (0,4 +/- 0,1) м/с, или для передвижного APPH с приводом от двигателя для транспортирования с максимальной скоростью, которая может быть поддержана при столкновении с препятствием.
22.5 Эксплуатационные требования к мобильному APPH
22.5.1 Подставка для ног
Если мобильное APPH снабжено опорой для ног, она должна быть сконструирована таким образом, чтобы свести к минимуму риск повреждения ног пользователя при вращении колес.
Это должно оцениваться при анализе рисков (см.
4.1).
22.5.2 Положение нажимных рычагов/точек
Ручки для толкания вперед и/или вытягивания назад должны быть установлены на высоте 900 мм над полом.
22.5.3 Диаметр поворота мобильного APPH
Диаметр и ширина поворота мобильного APPH должны быть указаны в инструкциях по эксплуатации с точностью плюс 25 мм. Должны быть определены и зарегистрированы следующие измерения:
a) минимальное расстояние между двумя вертикальными и параллельными стенами, между которыми APPH может поворачиваться на 180° за один постоянный прямой привод (см.
рисунок 9);
b) диаметр наименьшей цилиндрической оболочки, в которой APPH может поворачиваться на 360° за один постоянный привод вперед с максимальным эффектом рулевого управления;
c) минимальное расстояние между двумя вертикальными и параллельными стенами, между которыми APPH может поворачиваться на 180° в обратном направлении:
Строят коридор с возможностью изменения расстояния между его стенами, используя два параллельных регулируемых барьера. Помещают APPH в коридор и ориентируют его параллельно стенам.
Разворачивают APPH в коридоре наиболее подходящим образом. Тест-драйв завершается, когда APPH поворачивается на 180°.
Постепенно уменьшают ширину коридора и определяют минимальную ширину коридора, в котором APPH можно развернуть, не касаясь стен.
22.6.1 Требования к движущим усилиям
Максимальные усилия, необходимые для перемещения мобильного APPH при испытании в соответствии с
22.6.2 с максимальным усилием на мобильное APPH, направленное так, как указано на
рисунках 14 и
16, должны быть следующими:
a) максимальное страгивающее усилие 160 Н;
b) приводное (толкающее/тянущее) усилие не более 85 Н.
22.6.2 Методы испытания движущих усилий
Испытание должно проводиться на твердой и горизонтальной испытательной плоскости
(4.8.7).
Мобильное APPH должно быть загружено с максимальным усилием, распределенным на месте, как показано на
рисунках 14 и
16 на опорной поверхности.
Для испытания страгивающего усилия в прямом и обратном направлениях колесики должны быть установлены под углом 180° к направлению толкания/вытягивания.
Начальное усилие постепенно прикладывают к нажимной ручке до тех пор, пока мобильное APPH не начнет двигаться. Повторяют пять раз в каждом направлении. Среднее максимальное усилие для каждого направления, отмеченное в ходе этих испытаний, регистрируют в качестве страгивающего усилия.
Поддерживают постоянное усилие при скорости перемещения 1 м/с на расстоянии 1 м до тех пор, пока мобильное APPH движется, и измеряют усилие, необходимое для движения.
Страгивающее усилие следует регистрировать:
a) в прямом направлении;
b) обратном направлении.
Движущее усилие следует регистрировать:
a) в прямом направлении;
b) обратном направлении.
В настоящем разделе определены требования и методы испытаний для стационарных APPHs, которые являются дополнительными к требованиям, указанным в
разделах 4 -
21.
Требования и методы испытаний применяют только к стационарным APPHs, приведенным в следующих разделах ИСО 9999:2011 (в скобках):
- сиденья для душа (09 33 03);
- кресла для ванны/душа (без колесиков), доски для ванны, табуретки, спинки и сиденья (09 33 03);
- лежаки для ванны, столы для душа и пеленальные столики (09 33 12);
- туалетные поднимающиеся сиденья (09 12 12/09 12 18);
- поручни и опорные перила (18 18 03);
- съемные поручни и перила (18 18 10);
- поручни и подлокотники, установленные на шарнирах (18 18 11);
- опоры и кронштейны, регулируемые по высоте (18 15 06).
Требования и методы испытаний не учитывают крепление APPH или конструкцию здания. Во время испытания APPH должно быть закреплено на соответствующем испытательном стенде/стене таким образом, чтобы испытанию подвергалось только APPH, а не его крепление.
Примечание - При установке APPH учитывают национальные строительные нормы и правила.
Количество циклов испытаний на долговечность стационарных APPHs должно соответствовать указанному в
16.3 (см.
таблицы 7 и
8) в отношении предполагаемой области использования и указанного срока службы APPH и с соответствующими интервалами.
В случае APPH с шарнирным соединением метод испытания должен включать складывание из строго вертикального положения в полностью сложенное положение.
После и во время проведения испытаний на статическую прочность и долговечность должны быть выполнены требования, указанные в
16.4.1 и
16.5.1.
Во время испытания APPHs на долговечность допускается вносить коррективы в соответствии с инструкциями по эксплуатации производителя.
Способ крепления к стене/ванне/полу/другому оборудованию должен быть рекомендован производителем и включен в инструкции по эксплуатации. Изготовитель должен указать, какое усилие должно выдерживать каждый крепежный элемент.
Дополнительные требования (при их наличии) к каждой группе APPH можно найти в соответствующем пункте.
Необходимо также использовать ИСО 21542 для соответствующих частей при испытании стационарных APPHs.
23.3 Сиденья для душа (09 33 03)
23.3.1 Описание
Сиденья для крепления на стене или на полу в ванных комнатах могут быть откидными, оснащенными опорой для спинки, подлокотниками и/или опорными ножками. Испытания опор для спины и рук, если применимо, проводят в соответствии с
разделом 16.
23.3.2 Методы испытаний сидений для душа на статическую прочность, долговечность и ударопрочность
23.3.2.1 Метод испытания на статическую прочность
К сиденью прикладывают вертикальное усилие
F1 в течение 60 с в соответствии с
таблицей 6 с центром тяжести, находящимся на расстоянии 1/3 до переднего края (см.
рисунок 24). Усилие следует прилагать с помощью загрузочной площадки (см.
4.8.12.4).
Рисунок 24 - Статическая прочность сиденья для душа
Для проведения испытаний обеих сторон сиденья загрузочную площадку поочередно размещают с левой
F2 и правой
F3 сторон сиденья как можно ближе к краю (см.
рисунок 24).
23.3.2.2 Метод испытания на долговечность
К сиденью прикладывают усилие в соответствии с
рисунком 16, равное максимальной массе пользователя, как указано в
16.5.2.2.
Усилие следует прилагать с помощью загрузочной площадки
(4.8.12.4) в положении, предназначенном для использования.
Если сиденье складное, то его следует складывать из полностью собранного положения в полностью опущенное столько раз, сколько указано в формуле в
16.3 и в
таблицах 7 и
8, и через соответствующие промежутки времени.
23.3.2.3 Метод испытания на ударопрочность
Сиденье для душа должно выдерживать горизонтальные боковые удары. Испытание проводят с использованием испытательного маятника массой 25 кг (см.
4.8.13 и
рисунок 6) и с усилием
F1, который расположен на расстоянии 50 мм спереди, в соответствии с
рисунком 25.
Рисунок 25 - Ударопрочность сиденья для душа
23.4 Лежаки для ванны, столы для душа и пеленальные столики (09 33 12)
23.4.1 Описание
Стационарные столики, на которых человек лежит во время купания, принятия душа или смены подгузников, регулируют по высоте.
23.4.2 Методы испытаний на статическую прочность и долговечность лежаков для ванны, столов для душа и пеленальных столиков
23.4.2.1 Методы испытаний на статическую прочность
К опорной поверхности прикладывают усилие в соответствии с
таблицей 6 в течение не менее 60 с. Усилие
F1 распределяют по опорной поверхности в соответствии с
рисунками 14 и
16. Затем испытание под усилием повторяют с прикладыванием асимметричного усилия
F1 (в соответствии с
рисунком 26), в котором все усилия прикладывают на каждую сторону стола по одному разу, в наихудшем положении. Если предполагается, что стол также будет содержать воду, когда на нем лежит человек, вместо максимальной массы пользователя следует применить максимальное усилие.
Рисунок 26 - Испытание на асимметричную
статическую прочность
Также может быть использован испытательный манекен в соответствии с ИСО 7176-11.
Испытание повторяют для обеих сторон.
23.4.2.2 Испытание на долговечность опорной поверхности и механизма складывания
К опорной поверхности прикладывают вертикальное усилие, соответствующее указанному максимальному усилию или не менее 100 кг, как указано в
4.7.
Усилие должно быть приложено к столу в соответствии с
рисунком 14 (на лежащей поверхности).
Если APPH является складным, его следует складывать из полностью собранного положения в полностью сложенное положение столько раз, сколько указано в формуле в
16.3 и
таблицах 7 и
8, и через соответствующие промежутки времени.
Также может быть использован испытательный манекен в соответствии с ИСО 7176-11.
23.5 Кресла для ванны/душа (без колесиков), доски для ванны, табуретки, спинки и сиденья (09 33 03)
23.5.1 Описание
APPHs предназначены для обеспечения сидения во время купания или принятия душа. Сиденья без опоры для спинки располагают на бортах ванны и находятся на уровне края ванны. Сиденья расположены на бортах ванны или внизу. Они могут иметь прочную или съемную заднюю опору.
Некоторые из них могут иметь функцию поворота, чтобы помочь человеку с ограниченными возможностями входить/выходить из ванны.
23.5.2 Метод испытаний на долговечность
К сиденью/доске прикладывают максимальное вертикальное усилие в соответствии с
16.5.2.2, как указано в
таблице 6 (см.
рисунок 27). Усилие следует прилагать с помощью загрузочной площадки, описанной в
4.8.12.4.
1 - APPH; 2 - поддерживающая стойка
Рисунок 27 - Испытание на прочность сиденья/бортики
для ванны
Усилие
F1 в соответствии с
4.8.12.2 должно быть приложено к сиденью.
Вращающиеся сиденья испытывают, как указано выше. Сиденье должно иметь возможность поворачиваться с помощью усилия, указанного в
таблице 9, при усилии с максимальным весом пользователя.
23.6 Туалетные поднимающиеся сиденья (09 12 18)
23.6.1 Описание
APPH применяют для увеличения высоты сиденья унитаза (без подъема унитаза), чтобы облегчить опускание и подъем с унитаза. Он может быть закреплен через стандартные отверстия в унитазе или другими способами.
23.6.2 Требования к статической прочности туалетных поднимающихся сидений
В дополнение к условиям
23.2 поднимающаяся туалетная вставка должна быть оснащена приспособлениями, которые надежно удерживают туалетное поднимающееся сиденье на унитазе и предохраняют его от соскальзывания (например, соединение по форме/посадка с натягом). Производитель должен указать, на какие унитазы будет установлено туалетное поднимающееся сиденье. После проведения испытания туалетное поднимающееся сиденье не должно отрываться от унитаза.
23.6.3 Метод испытания на статическую прочность и долговечность туалетных поднимающихся сидений
23.6.3.1 Метод испытания на статическую прочность
APPH должно быть закреплено на подходящей поверхности с характеристиками, соответствующими стандартным унитазам по форме и текстуре поверхности.
К сиденью прикладывают вертикальное усилие в соответствии с
таблицей 6 в течение не менее 60 с. Усилие
F1 должно быть приложено в центре с помощью загрузочной площадки
(4.8.12.4) по всей поверхности (см.
рисунок 28). Сиденье, если оно регулируется, должно быть поднято в наиболее неблагоприятное положение.
1 - стул-комод или другое средство удержания приподнятого
сиденья унитаза; 2 - сиденье
Рисунок 28 - Статическая прочность туалетных
поднимающихся сидений
23.6.3.2 Метод испытаний на долговечность
Испытание необязательно проводить в туалете.
Погрузочная площадка в соответствии с
4.8.12.2 должна быть расположена на сиденье или крышке, если она предусмотрена.
23.7 Поручни, опорные перила и фиксаторы (18 18 03 и 18 18 06)
23.7.1 Описание
Поручни и фиксаторы предназначены для поддержания равновесия и предотвращения падения слабых или неустойчивых людей.
Фиксированные опорные брусья обычно имеют цилиндрическую форму, прикреплены к стене, полу или другой устойчивой конструкции, чтобы обеспечить человеку возможность поддерживать или стабилизировать себя с помощью рук или руки, находясь в ванной.
23.7.2 Эргономические принципы поручней, опорных перил и фиксаторов
Дополнение к
разделу 21 "Эргономические принципы".
Поручень/ручка могут быть круглыми диаметром от 25 до 45 мм. Если захват не осуществляется вокруг поручня/ручки, он должен иметь эквивалентную площадь захвата. Расстояние между точками крепления должно быть определено изготовителем, поскольку оно зависит от материалов. Поручень/ручка не должны обладать чрезмерной гибкостью. Зазор между стеной и поручнем/ручкой захвата должен составлять не менее 35 мм и, кроме того, соответствовать требованиям
таблицы 4.
Насадки с присосками должны быть испытаны и соответствовать тем же требованиям, что и для вышеперечисленных насадок.
Примечание - Местные строительные нормы и правила могут предъявлять различные требования к размеру зазора.
23.7.3 Метод испытания поручней, опорных перил и фиксаторов на статическую прочность и долговечность
23.7.3.1 Метод испытания на статическую прочность
К прикрепленному к стене поручню прикладывают вертикальное усилие
F1 с использованием формулы для статического усилия на поверхности сиденья в
таблице 6 в течение не менее 60 с в наиболее неблагоприятном положении, а затем горизонтальное, используя 50% статического усилия, указанного в
таблице 6. См.
рисунок 29.
Рисунок 29 - Поручни, опорные перила
Поручень должен быть прикреплен к прочной стене из материала, достаточно прочного, чтобы выдерживать усилие при испытаниях. Крепление должно быть достаточно прочным, чтобы поручень не ослабевал во время испытания.
Примечание - Расположения по вертикали и горизонтали не имеют значения.
23.7.3.2 Метод испытания на долговечность
К поручню, прикрепленному к стене, прикладывают вертикальное и горизонтальное усилия, равные 40% от усилия, приложенного к поверхности сиденья, указанного в
таблице 6. Количество циклов указано в соответствии с формулой и
таблицами 7 и
8 в
16.3 (см.
рисунок 29).
Поручень должен быть прикреплен к сплошной стене из материала, достаточно прочного, чтобы выдерживать усилия, возникающие при испытаниях. Крепление должно быть достаточно прочным, чтобы поручень не ослабевал во время испытания.
Примечание - Расположения по вертикали и горизонтали не имеют значения.
23.8 Съемные фиксаторы и поручни для временного использования (18 18 10)
23.8.1 Описание
APPHs, прямые или угловые стержни, которые можно временно прикрепить к стенам, полу, потолку или мебели (например, кроватям) с помощью, допустим, зажимов или присосок и удалить без инструментов; они обеспечивают поддержку человеку при изменении положения.
23.8.2 Эргономические принципы съемных поручней и фиксаторов
Дополнение к
разделу 21 "Эргономические принципы".
Ручка может быть круглой формы диаметром от 25 до 45 мм. Если она не круглая, то стержень должен иметь эквивалентную площадь захвата. Расстояние между точками крепления должно быть определено изготовителем, так как оно зависит от конструкции ручки и материалов, на которых они могут быть закреплены. Зазор между стенкой и поручнем должен составлять не менее 35 мм и, кроме того, соответствовать требованиям
таблицы 4.
Ручки с присоской должны быть оснащены индикатором безопасности. Например, дисплеем, показывающим остаточное усилие (= максимальная масса пользователя).
Ручки - держатели для ванны должны быть надежно закреплены на ванне без повреждения ванны и основания.
Ручки с присоской и ручки - держатели для ванны не должны ослабевать во время испытания.
Примечание 1 - Разные материалы и разные усилия трения приведут к разным результатам.
Примечание 2 - Национальные строительные нормы и правила могут содержать различные требования к размеру зазора.
23.8.3 Метод испытания на статическую прочность съемных поручней и фиксаторов
23.8.3.1 Метод испытания на статическую прочность
Устанавливают испытательное оборудование на опорные стойки
(4.8.15).
К ручкам с присоской прикладывают горизонтальное усилие
F1, равное 75% от максимального усилия, и вертикальное усилие, равное 50% от максимального усилия, под углом 90° к стене и параллельно стене в наихудшем положении (см.
рисунок 29 в качестве примера).
К ручкам - держателям для ванны прикладывают горизонтальное усилие
F1, равное 75% от максимального усилия, и вертикальное усилие, равное 50% от максимального усилия, под углом 90° к ванне и параллельно ванне в верхней части ручки (см.
рисунок 29 в качестве примера).
Испытательная поверхность должна быть размером не менее испытуемого изделия, изготовлена из нержавеющей стали и плотно зафиксирована.
23.8.3.2 Метод испытаний на долговечность
Устанавливают испытательное оборудование на опорные стойки
(4.8.15).
К ручкам с присоской прикладывают усилия к середине рукоятки под углом 15° наружу вверх и наружу вниз, равные 40% от максимального усилия, используя
таблицу 7 и
таблицу 8 в
16.3 (см.
рисунок 30 в качестве примера).
Рисунок 30 - Статическое испытание складных
поручней/подлокотников
К ручкам - держателям для ванны прикладывают усилие в верхней части ручки, направленное параллельно ванне, равное 40% от массы пользователя в соответствии с формулой и
таблицей 7 и
8 в
16.3 (см.
рисунок 29).
Примечание 1 - Расположения по вертикали и горизонтали не имеют значения.
Примечание 2 - "Наружу" означает направление от стены.
Испытательная поверхность должна быть размером не менее испытуемого изделия, изготовлена из нержавеющей стали и плотно зафиксирована.
23.9 Поручни и подлокотники, установленные на шарнирах (18 18 11)
23.9.1 Описание
APPHs, обеспечивающие поддержку человеку при изменении положения его тела, прикрепляются к стене или полу и могут быть сложены вверх, вбок или опущены вниз для обеспечения доступа или в случае их ненадобности.
23.9.2 Общие положения
Поручни и подлокотники, установленные на шарнирах, следует закрепить для предотвращения непреднамеренного складывания.
Примечание - Это может быть сделано с помощью трения или механического запирающего устройства.
23.9.3 Метод испытания поручней и подлокотников, установленных на шарнирах, на статическую прочность
К поручням и подлокотникам, установленным на шарнирах, прикладывают усилие
F1, равное испытательному усилию, указанному в
таблице 6, в отношении опоры для рычагов вниз, на расстоянии (50 +/- 5) мм от переднего края под углом (15 +/- 2)° наружу и вниз в течение не менее 60 с (см.
рисунок 30).
23.9.3.1 Метод испытания поручней и подлокотников, установленных на шарнирах, на долговечность
К поручням и подлокотникам, установленным на шарнирах, прикладывают вертикальное усилие
F1 на расстоянии (50 +/- 10) мм от переднего края под углом (15 +/- 2)° наружу, равную 40% от максимально заданного усилия в соответствии с формулами в
таблице 6 в
16.3, а также согласно данным
таблиц 7 и
8 (см.
рисунок 30).
23.10 Опоры и кронштейны, регулируемые по высоте (18 15 06)
23.10.1 Описание
Опоры и кронштейны, регулируемые по высоте, используют в ванной комнате в качестве подставки для установки гигиенических средств. Они могут управляться как вручную, так и электрически. Их можно использовать, например, для регулировки высоты умывальников или унитазов.
23.10.2 Метод испытания опор и кронштейнов, регулируемых по высоте, на статическую прочность и долговечность
23.10.2.1 Метод испытания на статическую прочность
Кронштейн/плинт, используемый для регулировки высоты APPH, предназначенный для поддержки веса человека, загружается вертикально в соответствии с
таблицей 6 в течение 60 с максимально близко к переднему краю. См.
рисунок 31.
Рисунок 31 - Испытание на статическую прочность опор
и кронштейнов, регулируемых по высоте
Усилие следует прилагать с помощью загрузочной площадки (см.
4.8.12.4).
Кронштейн/плинт, используемые для регулировки высоты, должны выдерживать усилие, указанное изготовителем. Кроме того, кронштейн/плинт должен выдерживать вес пользователя, поддерживающего себя. Для этого проводят испытания, прикладывают к переднему краю вертикальное усилие, равное 75% от максимального веса пользователя в течение 60 с.
23.10.2.2 Метод испытаний на долговечность
Кронштейн/плинт, предназначенный для поддержания человека с ограниченными возможностями, испытывают, прикладывая максимальное усилие в соответствии с формулой в
16.3, а также согласно данным
таблиц 7 и
8 (см.
рисунок 31).
Кронштейн/плинт, используемый для регулировки высоты APPH, испытывают, прикладывая максимальное усилие в соответствии с формулой в
16.3,
таблицей 7 и
таблицей 8 (см.
рисунок 31).
Настоящий раздел определяет требования и методы испытания для статических APPHs в дополнение к тем, которые указаны в
разделах 4 -
21.
Требования и методы испытаний для APPHs в этом разделе применяют к следующим разделам ИСО 9999:2011 (в скобках):
- сиденья туалетные поднимающиеся, монтируемые на раме (09 12 12);
- сиденья туалетные, вставные (09 12 15);
- сиденья туалетные со встроенным подъемным механизмом для облегчения вставания и посадки (приставные) (09 12 21);
- стулья для ванны/душа (без колесиков), банные доски, табуреты, опоры для спинок и сиденья (09 33 03).
24.2 Испытания на устойчивость и прочность для статических APPHs
Общие условия для соответствующих испытаний в дополнение к общей части должны быть следующими:
a) при испытаниях на устойчивость и прочность прикладывают постоянное усилие или усилие постепенно увеличивают;
b) при испытаниях на прочность усилие следует прилагать с незначительным динамическим усилием;
c) APPH, имеющее механизм регулировки размеров, необходимо перевести в наиболее неблагоприятное положение перед испытанием.
24.3 Сиденья туалетные, вставные (09 12 15)
24.3.1 Описание
Туалетные вставные сиденья (слабина в креплении) устанавливают непосредственно на поддон унитаза/сиденье унитаза, где APPH можно легко снять с поддона унитаза/сиденья унитаза.
24.3.2 Ударное усилие
24.3.2.1 Требования
APPH должно соответствовать требованиям
16.6.1 и
24.2.
В дополнение к требованиям
16.6.1 APPH не должно выходить из положения предполагаемого использования.
Если изделие смещается из положения предполагаемого использования, оно должно возвратиться в положение предполагаемого использования после размещения испытательной массы весом 60 кг на переднем крае изделия, как описано ниже (см.
рисунок 34).
24.3.2.2 Методы испытаний
Ниже описан один из методов испытаний для оценки устойчивости вкладыша туалетного сиденья, который не имеет фиксации к унитазу, при перемещении пользователя на APPH из положения стоя. Поскольку этот метод испытаний не является валидированным, риски, связанные с неплотно прикрепленным приподнятым туалетным сиденьем, следует учитывать при анализе рисков (см.
4.1).
Устанавливают APPH в предполагаемом положении на подходящей поверхности с характеристиками, соответствующими стандартным унитазам по форме и текстуре поверхности. Располагают маятник для испытания на удар приподнятого туалетного сиденья (см.
4.8.14 и
4.8.15) так, чтобы край маятника соприкасался с поверхностью APPH спереди или сбоку (см.
рисунок 33).
Поддерживают маятник так, чтобы жесткий стержень находился под углом (30 +/- 2)° к вертикали, а затем дают ему свободно упасть один раз и ударить с усилием
F1 по APPH. Ударное усилие следует прикладывать к передней части APPH и к одной из его сторон (см.
рисунок 32).
1 - стандартный туалет; 2 - сиденье унитаза
Рисунок 32 - Испытание сиденья на прочность
1 - испытательный маятник
Рисунок 33 - Маятник для испытаний на прочность при ударе
Рисунок 34 - Указатель смещения положения
24.4 Туалетные сиденья со встроенным подъемным механизмом для облегчения вставания и посадки (приставные) (09 12 21)
24.4.1 Описание
Сиденья для унитазов имеют встроенный подъемный механизм, помогающий человеку садиться на унитаз и вставать с него.
24.4.2 Долговечность
Восходящие и нисходящие движения подъемного механизма будут рассмотрены как один цикл (два движения за цикл). Количество циклов указано в формуле в
16.3 и
таблицах 7 и
8.
Испытания следует проводить в соответствии с
16.5.2.3 и требованиями, изложенными в
16.5.1.
24.5 Стулья для ванны/душа (без колесиков), банные доски, табуреты, опоры для спинок и сиденья (09 33 03)
24.5.1 Описание
APPHs для поддержки сидения во время купания или душа.
24.5.2 Материалы
Сиденья для ванн не должны плавать в воде.
24.5.3 Устойчивость
APPHs, предназначенные для размещения на полу, такие как стулья и табуретки для душа, должны соответствовать требованиям к устойчивости, изложенным в
разделе 17.
APPHs, которые предназначены для опоры на стенки ванны, такие как бортики/сиденья для ванны и скамейки для переноса, должны соответствовать требованиям к устойчивости в
24.5.4. Кроме того, такие APPHs, которые также имеют опору для спины, должны соответствовать требованиям испытания на устойчивость в обратном направлении (см.
24.5.4.5).
APPHs, предназначенные для размещения на полу ванны, такие как вставки для сидения в ванне, должны соответствовать требованиям к устойчивости, изложенным в
разделе 17.
24.5.4 Испытания на устойчивость для APPHs, опирающихся на стенки ванны
24.5.4.1 Требования
APPH не должно опрокидываться после воздействия на него усилия.
24.5.4.2 Метод испытания на устойчивость в прямом направлении
Этот тест не распространяется на установленные на ободе скамейки для ванн или доски для ванн.
Переносная скамья или бортик/сиденье для ванны должны быть установлены на опорной стойке
(4.8.15) в положении, предназначенном для использования. Угол наклона опорных стоек будет отрегулирован, если потребуется, в соответствии с предполагаемым использованием APPH. Усилие
F1 600 Н должно быть приложено вертикально к сиденью с помощью загрузочной подушки сиденья
(4.8.12.4). Кроме того, для проверки на опрокидывание необходимо приложить усилие
F2 60 Н в горизонтальном направлении от сиденья вперед (см.
рисунок 35).
1 - установленная на бортике скамейка для ванны или доска
для ванны; 2 - опорные стойки
Рисунок 35 - Испытание переносной скамьи для ванны, доски
для ванны и сиденья на устойчивость при движении вперед
В APPHs с регулируемыми по высоте ножками высота должна быть установлена на максимальный уровень или в наиболее неблагоприятное положение.
24.5.4.3 Метод испытания переносной скамьи для ванны без ручки на боковую устойчивость
Переносная скамья или доска для ванны/сиденье без ручки должны быть установлены на опорную стойку
(4.8.15) в положении предполагаемого использования. Угол наклона опорных стоек будет отрегулирован, если потребуется, в соответствии с предполагаемым использованием APPH. Усилие
F1 600 Н должно быть приложено вертикально к сиденью с помощью загрузочной подушки сиденья
(4.8.12.4) в соответствии с
рисунком 36. Кроме того, для проверки на опрокидывание необходимо приложить усилие
F2 60 Н горизонтально, направленное в сторону от сиденья (см.
рисунок 36).
1 - переносная скамья для ванны; 2 - опорная стойка
Рисунок 36 - Испытание переносной скамьи для ванны без ручки
на боковую устойчивость
В APPHs с регулируемыми по высоте ножками высота должна быть установлена на максимальном уровне или в наиболее неблагоприятном положении.
24.5.4.4 Испытание переносной скамьи для ванны с ручкой на боковую устойчивость
Переносная скамья или доска для ванны/сиденье с ручкой должна быть установлена на опорную подставку (см.
4.8.15) в положении предполагаемого использования. Угол наклона опорных стоек будет отрегулирован, при необходимости, в соответствии с предполагаемым использованием APPH. Усилие
F1 250 Н должно быть приложено вертикально к сиденью с помощью загрузочной подушки сиденья в положении для применения по назначению
(4.8.12.4) в соответствии с
рисунком 37. Затем усилие
F2 350 Н должно быть приложено вертикально к центру рукоятки с помощью загрузочной площадки (см.
4.8.12.4). Кроме того, для испытания на опрокидывание необходимо приложить усилие 60 Н горизонтально, направленное в сторону от сиденья, для проверки на опрокидывание (см.
рисунок 37 для горизонтальной ручки и
рисунок 38 для вертикальной ручки).
1 - переносная скамья для ванны; 2 - ручка;
3 - опорная стойка
Рисунок 37 - Испытание переносной скамьи для ванны
с горизонтальной ручкой на боковую устойчивость
1 - переносная скамья для ванны; 2 - ручка;
3 - опорная стойка
Рисунок 38 - Испытание переносной скамьи для ванны
с вертикальной ручкой на боковую устойчивость
APPHs с регулируемыми по высоте ножками должны иметь высоту, установленную на максимальном уровне или в наиболее неблагоприятном положении.
24.5.4.5 Метод испытания на устойчивость в обратном направлении (при наличии задней опоры для тела)
Переносная скамья или бортик/сиденье для ванны должны быть установлены на опорной стойке
(4.8.15) в положении, предназначенном для использования. Угол наклона опорных стоек регулируют, при необходимости, в соответствии с предполагаемым использованием APPH. Усилие весом
F1 60 кг устанавливают в положении 175 мм вперед от центра заднего края сиденья в соответствии с
рисунком 39. Усилие
F2 140 Н прикладывается горизонтально в обратном направлении от центра верхнего края задней опоры (см.
рисунок 39) для проверки на опрокидывание.
1 - переносная скамья для ванны; 2 - ручка;
3 - опорная стойка
Рисунок 39 - Метод испытания на устойчивость в обратном
направлении (при наличии задней опоры для тела)
APPHs с регулируемыми по высоте ножками должны иметь высоту, установленную на максимальном уровне или в наиболее неблагоприятном положении.
24.5.5 Испытание держателей на прочность
24.5.5.1 Требования
24.5.5.2 Метод испытаний
Переносная скамья, бортик/сиденье для ванны или полка для ванны настольного типа должны быть установлены на опорной(ых) стойке(ах)
(4.8.15) в положении, предназначенном для использования. Угол наклона опорных стоек при необходимости регулируют в соответствии с предполагаемым использованием APPH. Усилие
F1 200 Н следует прикладывать вертикально к центру сиденья с помощью подушки для загрузки сиденья
(4.8.12.4). Затем усилие
F2 400 Н должно быть приложено горизонтально по длине APPH и повторено 10 раз в альтернативных направлениях. Усилие следует поддерживать каждый раз в течение не менее 10 с. После снятия испытательного усилия APPH и его части должны соответствовать требованиям, перечисленным в
16.4.1 (см.
рисунок 40,
рисунок 41 и
рисунок 42).
1 - переносная скамья для ванны; 2 - держатель;
3 - опорная стойка
Рисунок 40 - Метод испытания держателей
для переносной скамьи на прочность
1 - переносная скамья для ванны; 2 - держатель;
3 - опорная стойка
Рисунок 41 - Метод испытания держателей для бортиков/сидений
для ванны на прочность
1 - переносная полка для ванны; 2 - держатель;
3 - опорная стойка
Рисунок 42 - Метод испытания держателей полки для ванны
настольного типа на прочность
APPHs с регулируемыми по высоте ножками должны иметь максимальную высоту.
24.5.6 Испытание бортиков/сидений для ванны на трение
24.5.6.1 Требования
Коэффициент статического трения должен составлять 0,3 или более.
24.5.6.2 Метод испытаний
Бортик/сиденье для ванны должны быть установлены на опорную(ые) стойку(и)
(4.8.15) в положении, предназначенном для использования. Угол наклона опорных стоек регулируют, при необходимости, в соответствии с предполагаемым использованием APPH. Усилие
F1 200 Н прикладывают вертикально к сиденью с помощью подушки для загрузки сиденья
(4.8.12.4) в соответствии с
рисунком 43. Усилие
F2 прикладывают горизонтально в обратном направлении (см.
рисунок 44). Измеряют не менее трех раз усилие, с которым бортик/сиденье для ванны начинает скользить по опорной стойке. Коэффициент трения

рассчитывают с использованием среднего значения, вычисленного из трех результатов, в соответствии со следующей формулой:
где F - среднее значение усилия в начале скольжения, Н;
W - общая масса, кг.
1 - переносная скамья для ванны; 2 - опорные стойки
Рисунок 43 - Испытание доски для ванны
на сопротивление скольжению
1 - переносная скамья для ванны; 2 - рукоятка;
3 - опорная стойка
Рисунок 44 - Испытание рукоятки переносной скамьи
на действие статического горизонтального
и вертикального усилия
24.5.7 Испытание рукоятки на действие статического горизонтального усилия
24.5.7.1 Требования
24.5.7.2 Метод испытаний
Переносная скамья или бортик/сиденье для ванны должны быть установлены на опорной стойке
(4.8.15) в положении, предназначенном для использования, и не должны перемещаться. Угол наклона опорных стоек регулируют, при необходимости, в соответствии с предполагаемым использованием APPH. Усилие
F1 400 Н прикладывает горизонтально в центр рукоятки с помощью загрузочной площадки
(4.8.12.1) 10 раз в соответствии с
рисунком 43. Горизонтальное усилие следует поддерживать каждый раз в течение не менее 10 с. После прекращения испытательного усилия APPH и его ручка должны соответствовать требованиям, перечисленным в
16.4.1. APPHs с регулируемыми по высоте ножками должны иметь максимальную высоту.
24.5.8 Испытание ручки ванны и переносной доски на статическое вертикальное усилие
24.5.8.1 Требования
24.5.8.2 Метод испытаний
Переносная скамья или бортик/сиденье для ванны должны быть установлены на опорной стойке
(4.8.15) в положении, предназначенном для использования, и не должны перемещаться. Угол наклона опорных стоек регулируют, при необходимости, в соответствии с предполагаемым использованием APPH. Усилие
F2 800 Н прикладывают вертикально в центр рукоятки с помощью загрузочной площадки
(4.8.12.1) 10 раз с помощью загрузочной площадки (см.
4.8.12.4) в соответствии с
рисунком 44. Вертикальное усилие следует поддерживать каждый раз в течение не менее 10 с. После снятия испытательного усилия APPH и его ручка должны соответствовать требованиям, перечисленным в
16.4.1. APPHs с регулируемыми по высоте ножками должны иметь максимальную высоту.
25 Требования к информации, предоставляемой производителем
Информация, предоставленная производителем, включает данные, содержащиеся в инструкции по эксплуатации, и сведения на этикетке.
Информация, относящаяся к APPHs и поставляемая в комплекте с ним, должна соответствовать ЕН 1041.
В дополнение к ИСО 17966 APPHs, на которые распространяются требования конкретного стандарта, должны соответствовать пункту, содержащему информацию об электрических аспектах продукта, если это применимо.
Любые средства предоставления информации, относящиеся к APPHs, должны учитывать предполагаемых пользователей, условия использования и любые затруднения, характерные для отдельных типов APPH, которые необходимы для безопасного и эффективного применения продукта.
Производителям рекомендуется информировать пользователей о любых проведенных испытаниях. Особое внимание должно быть уделено информации о пользователе, в частности инструкциям по эксплуатации и дизайну этикеток, а также дизайну и оформлению предупреждений.
Дополнительные рекомендации по требованиям, предъявляемым к лицам с различными типами патологий, приведены в
приложении A.
Кроме того, информация в инструкции по эксплуатации должна быть представлена в трех отдельных разделах: предпродажная информация, информация о пользователе и информация об обслуживании, как указано в
25.2.1,
25.2.2 и
25.2.3. Эти виды информации могут предоставляться в виде отдельных печатных документов или на других носителях для удовлетворения потребностей отдельных пользователей или их помощников.
Все требования в рамках трех различных пунктов применяются только в том случае, если это применимо.
Дополнительные указания по подготовке инструкций по эксплуатации приведены в МЭК 82079-1.
25.2 Инструкции по эксплуатации
25.2.1 Предпродажная информация
В дополнение к требованиям
25.1 предпродажная информация должна включать следующее:
Примечание - Предпродажная информация необязательно должна быть представлена в печатном виде, а также может быть на веб-сайте в формате PDF;
a) информацию о предполагаемом пользователе;
b) информацию о том, как получить данные о пользователе в формате, подходящем для использования людьми с нарушениями зрения, чтения или когнитивных способностей;
c) всю информацию, доступную на пиктограммах, насколько это возможно;
d) описание предполагаемого использования и предполагаемой среды;
e) инструкции по техническому обслуживанию, если применимо;
f) если APPH подлежит очистке, описание метода и подходящих материалов для очистки, включая меры предосторожности, необходимые для предотвращения коррозии, если применимо;
g) если APPH предназначено для дезинфекции, описание метода и подходящих материалов, включая любые меры предосторожности, необходимые для предотвращения коррозии, если применимо;
h) габаритные размеры (ширина, длина и высота) APPH, выраженные в миллиметрах, и его масса, выраженная в килограммах, когда оно готово к использованию и, если применимо, когда он сложен или демонтирован;
i) диаметр поворота и минимальное расстояние, на которое APPH можно повернуть на 180° для мобильного устройства;
j) масса APPH, выраженная в килограммах (если APPH может быть демонтировано или имеет какие-либо съемные части, масса которых превышает 10 кг, должна быть указана масса этих частей);
k) если предполагается, что APPH будет использовано в сочетании с другими изделиями, производитель должен указать, для каких изделий и как это можно сделать безопасным способом;
l) инструкции по воздействию на стену для изделий, прикрепленных к стене при нормальном использовании;
m) если применимо, предупреждение об опасных сочетаниях устройств (например, подушки для предотвращения травм от давления часто работают только на правильной поверхности сиденья) и комбинациях огнестойких и негорючих материалов;
n) перечень аксессуаров, съемных частей и материалов, которые производитель определил как предназначенные для использования с APPH;
o) если установлен программируемый контроллер, информация о методе программирования, компетентности, необходимой для выполнения программирования, и о влиянии на производительность (если он программируется только изготовителем, это должно быть указано);
p) предупреждение, если APPH может нарушить работу устройств в своей среде, которые излучают электромагнитные поля;
q) предупреждение, если на производительность APPH могут влиять электромагнитные поля (например, излучаемые портативными телефонами, генераторами электроэнергии или источниками высокой мощности);
r) регулировку управления оператором;
s) можно ли и как можно собрать или разобрать APPH для облегчения хранения или транспортирования;
t) инструкции по транспортированию APPH (например, в автомобиле или самолете);
u) измеренный уровень звукового давления;
v) ожидаемый срок службы APPH;
w) максимальную массу пользователя и максимальное усилие.
25.2.2 Информация о пользователе
Информация о пользователе должна быть предоставлена производителем в комплекте с каждым APPH и содержать все предпродажные предупреждения и информацию, а также следующее, если применимо, для каждого APPH:
a) местоположение и тип идентификационного номера/слова в APPH, которые должны быть указаны для уникального идентификационного номера APPH;
b) любые наладки или настройки, необходимые для использования APPH, и информацию о том, как наладки или настройки влияют на APPH;
c) информацию о возможности наладки и компетентности, необходимой для выполнения наладки;
d) инструкции по эксплуатации всех элементов управления;
e) тип батареи и номинальное напряжение;
f) инструкции по техническому обслуживанию аккумулятора;
g) инструкции по эксплуатации зарядного устройства, включая предупреждения о любых потенциальных опасностях для безопасности (например, о возможности накопления газа в зоне зарядки);
h) инструкции по демонтажу и повторной сборке APPH или любых съемных деталей;
i) положения тех точек, в которых составные части могут быть захвачены для безопасного перемещения и обработки, и/или способ обработки во время демонтажа, сборки или переноски;
j) предупреждение, если температура поверхности может повышаться/понижаться при воздействии внешних источников тепла или холода (например, солнечного света, внешней среды);
k) если предполагаемое назначение APPH не может быть выполнено без опасности (например, отверстия, V-образные отверстия), предупреждение и инструкции о том, как безопасно эксплуатировать APPH;
l) если предполагаемое назначение APPH не может быть выполнено без опасности из-за движущихся частей, таких как сдавливание, предупреждение и инструкции о том, как безопасно управлять APPH;
m) уровень устойчивости к воспламенению материалов и узлов;
n) информацию о переработке использованных батареек и других частей APPH.
Для удобства использования рекомендуется включать инструкции о том, как решать простые задачи (устранять неисправности).
25.2.3 Информация по обслуживанию
Информация по обслуживанию должна содержать всю предпродажную информацию, информацию о пользователе и инструкции, необходимые для обслуживания, настройки и ремонта APPH, а также для замены деталей.
Информация по обслуживанию должна содержать всю предпродажную информацию и информацию о пользователе в том случае, если она не указана в трех разных документах.
Информация по обслуживанию должна быть достаточно подробной в отношении профилактического осмотра, технического обслуживания и калибровки, включая частоту такого технического обслуживания.
Информация по обслуживанию должна содержать информацию для безопасного выполнения планового технического обслуживания, необходимого для обеспечения дальнейшего безопасного использования APPH.
Кроме того, в информации по обслуживанию должны быть указаны детали, подлежащие профилактическому осмотру и техническому обслуживанию, включая применяемые периоды и подробную информацию о фактическом выполнении такого технического обслуживания.
В дополнение к требованиям
25.1 производитель должен наносить на изделие несмываемые этикетки с указанием года выпуска.
На съемных частях APPH массой более 10 кг должна быть нанесена фактическая масса. Символы, используемые при маркировке медицинских изделий, должны соответствовать символам, приведенным в ИСО 15223-1.
Этикетки должны сниматься только с помощью инструмента или значительного усилия и должны быть достаточно прочными, чтобы оставаться четко читаемыми в течение назначенного срока службы APPH. При рассмотрении долговечности этикетки следует принимать во внимание последствия нормального использования.
Прикрепляют уникальный серийный номер к изделиям, при возможности.
Опасности, которые могут быть вызваны неадекватной защитной упаковкой, должны быть оценены в ходе анализа рисков (см.
4.1).
Примечание - Для руководства см.
B.26.
Протокол испытания должен содержать, по крайней мере, следующую информацию:
a) уникальный номер отчета;
b) наименование, адрес и конкретный аккредитационный номер испытательного учреждения, если применимо;
c) дату выдачи протокола испытания;
d) ссылку на настоящий стандарт, т.е. ИСО 17966:2015;
e) наименование и адрес производителя APPH;
f) описание образца, включая торговую марку производителя или поставщика, модель или тип, серийный номер и установленные варианты или аксессуары;
g) источник образца;
h) температуру окружающей среды, при которой проводилось каждое испытание;
i) если контроллер является программируемым, настройки, использованные при испытании;
j) фотографию образца, оборудованного так, как во время испытания;
k) результаты испытаний, включая отчет о техническом обслуживании, при их наличии;
l) заявление о том, соответствовал ли испытанный образец всем применимым требованиям настоящего стандарта и список всех невыполненных требований;
m) значения устойчивости с точностью до 0,5°, округленные в меньшую сторону;
n) любые отклонения от стандартизованной процедуры испытаний.
(справочное)
ISO/TC 173 в настоящее время разрабатывает общее руководство по когнитивным расстройствам.
Дополнительную информацию можно найти в Руководстве ИСО/МЭК 71:2014, Руководство по обеспечению доступности в стандартах.
(справочное)
Нумерация подпунктов в этом приложении соответствует номерам подпунктов в основном тексте, к которому применяется руководство (например,
B.5.2 относится к
подразделу 5.2).
При расчете огнестойкости APPH производителям следует учитывать, что инвалиды могут подвергаться большему риску, чем трудоспособные люди, поскольку они могут оказаться неспособными спастись от огня.
Опасности, на которые следует обратить внимание, включают:
- материалы для курильщика;
- камины и другие обогреватели помещений;
- электростатические заряды.
Предельная осторожность необходима, если APPH может быть использовано вблизи или в сочетании с легковоспламеняющимися веществами.
B.5.4.1 Очистка и дезинфекция
APPH должно легко очищаться и не должно содержать тех элементов, которые будут удерживать пыль, жидкость и/или загрязненный материал, за исключением случаев, когда предполагаемая функция APPH заключается в удержании такого материала.
APPH, кроме одноразовых APPHs, которые могут вступать в контакт с жидкостями организма, должны подлежать многократному дезинфицированию легкодоступными дезинфицирующими средствами без повреждения вспомогательного APPH.
Пример маркировки вспомогательных APPHs для автоматической машинной стирки показан на
рисунке B.1.
Рисунок B.1 - Пример маркировки для машинной стирки APPH
Пример маркировки APPHs, предназначенных для ручной струйной или паровой очистки, показан на
рисунке B.2.
Рисунок B.2 - Пример маркировки для APPH, предназначенного
для ручной струйной или паровой очистки
APPH, предназначенное для машинной стирки, должно нормально функционировать после испытания.
Изменения в процедуре испытаний, касающиеся цикла испытаний, температуры, времени и чистящих жидкостей, должны быть описаны в файле управления рисками производителя.
Настоящий метод испытаний представляет собой базовую процедуру дезинфекции APPH в стиральной машине.
Соответствие требованиям проверяют проведением нижеприведенных испытаний.
a) Если изготовителем не указано иное, детали и крышки для доступа, которые могут быть отсоединены/открыты без использования инструмента, должны быть отсоединены/открыты следующим образом:
1) проводят предварительную температурную обработку в течение 10 дней при температуре (65 +/- 2) °C или при максимальном значении номинальной температуры хранения, если она выше;
2) затем APPH следует выдержать при комнатной температуре не менее 16 ч.
b) 50 циклов испытаний в соответствии с процедурой, описанной производителем в инструкции по эксплуатации или состоящей:
1) из промывки в течение 2 мин водой температурой 70 °C при значении pH от 5 до 8 и 0,5%-ным чистящим и дезинфицирующим раствором, как указано производителем;
2) промывки в течение 20 с водой температурой 85 °C при значении pH от 5 до 8 и 0,2%-ным прозрачным промывочным раствором в соответствии с данными производителя;
3) охлаждение в течение 10 мин при температуре окружающей среды 20 °C.
Критерии соответствия следующие:
a) непосредственно после циклов испытания APPH повторно подключают к источнику питания. При этом не должно возникать непроизвольных движений;
b) сразу после циклов испытаний APPH должно функционировать в соответствии с использованием по назначению согласно следующим интервалам времени:
- 5 мин (+/- 1 мин) после циклов испытаний;
- 60 мин (+/- 5 мин) после циклов испытаний;
- 24 ч (+/- 30 мин) после циклов испытаний;
c) проводят испытания на диэлектрическую прочность и остаточный ток в соответствии с МЭК 60601-1 со следующими интервалами:
- сразу после циклов испытаний;
- 24 ч (+/- 30 мин) после циклов испытаний;
d) проводят визуальный осмотр на предмет попадания воды, которая может привести к неприемлемому риску (например, короткое замыкание изолирующих барьеров и нарушение расстояний утечки).
Примечание - Для некоторых APPHs применяют не все критерии приемлемости (например, для APPH с ручным управлением не используют электрические критерии приемлемости).
Производители должны учитывать, что такие APPHs могут переносить инфекцию и микробное загрязнение, поэтому необходимо их проверять на наличие признаков заболевания или загрязнения. Это особенно важно, когда существует возможность контакта с поврежденной кожей.
Типичными материалами и APPHs, подвергающимися воздействию, являются:
- кожа (обувь, подставка для рук);
- овчина (опорные поверхности);
- свиная щетина (щетки).
Производителям следует оценивать любые шумы и вибрации, возникающие от работающих APPHs при использовании по назначению в определенной среде. Необходимо принять во внимание возможную чувствительность домашних животных.
В тех случаях, когда конкретные стандарты отсутствуют, производителям следует определить, какие соответствующие методы испытаний доступны в других стандартах, и дополнить их комиссией, состоящей из пользователей с ограниченными возможностями, лиц, осуществляющих уход, и соответствующих специалистов для оценки приемлемости шума и вибрации.
Уровни шума должны быть связаны с теми обстоятельствами, в которых использовано APPH.
Шум должен быть максимально уменьшен у его источника.
Производителям необходимо учитывать следующие стандарты, касающиеся воздействия вибрации:
- ИСО 2631-1;
- ИСО 5349-1;
- ИСО 5349-2.
B.7.4 Устойчивость к магнитному полю промышленной частоты
При определении характеристик электромагнитной совместимости APPH производителям рекомендуется учитывать широко распространенные среды:
- жилые, коммерческие и небольшие складские помещения;
- промышленного назначения;
- другие (обычно это означает более суровые условия и некоторые конкретные места, такие как хирургические кабинеты или вблизи определенного оборудования, например передатчиков).
Пользователь должен иметь возможность использовать APPH во всех средах, предназначенных производителем для этого, с минимальными ограничениями. Производитель должен доступным языком разъяснить, в каких случаях действуют ограничения и сопутствующие обстоятельства, которых следует избегать, и наступают последствия воздействия на APPH потенциально опасной среды, например радиопередатчиков. Если возможно, следует представить соответствующие действия, предприняв которые можно устранить любую опасность.
В случае перегрузки APPH, в результате чего устройства защиты цепи могут подвергнуть пользователя опасности, следует рассмотреть возможность использования переключаемых автоматических выключателей, расположенных в пределах досягаемости пользователя, или автоматических выключателей сброса.
Если APPH включает в себя независимые цепи со значительно различающимися уровнями тока, каждая цепь или группа цепей должна иметь отдельную защиту цепи.
B.9.1 Попадание жидкостей
APPHs, такие как APPHs для ванн, которые при использовании многократно погружают в воду или другие жидкости, сконструированы так, чтобы выдерживать многократное погружение, не создавая угрозы безопасности, например коррозии.
B.18 Поверхности, углы, кромки и выступающие детали
Следует применять требования, установленные в 6.1.3 ЕН 1888:2003.
Рекомендации по методам испытаний выступающих деталей см. в 5.9 ЕН 716-2:2008.
B.20 Воздействия в мягких тканях человеческого тела
Люди с ограниченными возможностями, приводящими к потере чувствительности мягких тканей и нарушению подвижности, особенно подвержены развитию пролежней. В целом наблюдается высокая распространенность пролежней среди пациентов больниц, пациентов домов престарелых и лиц, за которыми осуществляют уход на дому.
Пролежни могут вызывать острый дискомфорт и страдания и приводить к существенному снижению качества жизни. Они также являются тяжелым экономическим бременем для служб здравоохранения в частности и общества в целом.
a) Обзор причин
Как правило, пролежни возникают в результате длительной деформации мягких тканей, препятствующей артериальному и венозному кровотокам, что в конечном итоге приводит к некрозу тканей (смерти).
Существует множество внешних по отношению к организму факторов, способствующих развитию пролежней. Давление, сдвиг и трение определены в качестве основных факторов наряду с температурой, влажностью и влажностью окружающей среды непосредственно рядом с тканями. Время, в течение которого эти условия сохраняются, также влияет на возникновение и тяжесть пролежней.
При разработке APPHs необходимо учитывать их влияние, в первую очередь, на тяжесть внешних факторов, вызывающих пролежни, нижеприведенным образом.
b) Влияние положения
Пролежни чаще всего возникают в областях высокого давления, т.е. над костными выступами тела, которые несут вес тела. При лежании такими областями являются крестец, большие вертела, пятки и локти, а во время сидения - крестец и седалищный бугор.
c) Давление
Гравитация является основной причиной давления на ткани тела. Как правило, она действует перпендикулярно плоскости тканей.
Один из способов уменьшить давление на определенные части тела - распределить его по как можно большей площади. Как правило, это предполагает использование мягких соответствующих материалов, которые позволяют телу погружаться в материал. Для этой цели часто используют пенопластовые или заполненные жидкостью гибкие прокладки. Альтернативно, усилия могут быть перераспределены на те ткани, которые могут быть более устойчивыми к давлению, например: в конструкциях подушек, которые отсекают области под седалищными бугорками и создают поверхности под бедрами.
Примечание - Поскольку пролежни вызваны широким спектром факторов, не существует единого порога давления, ниже которого не возникнут пролежни.
d) Время
Время приложения усилий к тканям обычно ограничено за счет обеспечения того, чтобы люди регулярно меняли позу и перемещались между различными опорными поверхностями через равные промежутки времени. Некоторые опорные поверхности изменяют свой профиль поверхности, чтобы ограничить время приложения усилий к определенным тканям. Другие опорные поверхности изменяют давление на части тела в течение коротких промежутков времени, например чередующиеся надувные матрасы.
e) Усилие сдвига
Основной причиной возникновения пролежней также считаются усилия сдвига, и в сочетании с давлением риск будет возрастать. Они действуют параллельно плоскостям тканей и могут вызвать сильную деформацию. Это может произойти, когда кожа остается неподвижной на опорной поверхности, в то время как основная структура тела движется, например: когда человек соскальзывает с наклонной лежащей опорной поверхности или стула.
Одним из способов уменьшения усилия сдвига является удержание пациента в горизонтальном положении на 180°. Однако такое положение может быть недопустимо для людей с затрудненным дыханием.
При ограничении высоты объема опоры передней/задней секции APPH менее чем на 20° усилия сдвига будут уменьшены. Но в положениях, когда секция для головы/спины приподнята более чем на 20°, необходимо приподнять колени (верхнюю часть голени) в положение не менее чем на 10° выше горизонтали, чтобы уменьшить влияние усилия сдвига от подъема спины и смещение тела.
Одновременное сгибание коленей за счет опускания нижней части голени уменьшит давление на пятки и обеспечит более удобное положение сидя (расслабляя мышцы и сухожилия подколенного сухожилия).
Аналогичным образом системы сидений должны быть спроектированы так, чтобы их подушки препятствовали постоянному сползанию сиденья вниз. Следует соблюдать осторожность при увеличении угла откидывания опоры спинки, так как это увеличит тенденцию к возникновению сдвиговых усилий из-за скольжения.
f) Трение
Повреждения кожи, похожие на пролежни, могут возникать, когда люди скользят по опорным поверхностям, например матрасам и мягким деталям. Обычно это происходит при переносе с одной опорной поверхности на другую. Большинство травм от трения можно избежать при использовании соответствующих методов перемещения, при которых полностью отсутствует контакт кожи и опорной поверхности.
Произвольные и непроизвольные движения людей могут привести к травмам от трения, в особенности на локтях и пятках. APHHs могут быть изготовлены из тех материалов, которые уменьшают этот контакт или трение между кожей и опорной поверхностью.
g) Температура
Более высокие температуры приводят к увеличению скорости метаболизма тканей вместе с соответствующим увеличением потребности в кровоснабжении. Они также усиливают потоотделение и повышают риски, связанные с влажностью и влагой.
В идеале опорные поверхности должны отводить тепло от тела, чтобы свести к минимуму этот риск. Многие материалы, такие как пенопласт, которые являются качественными распределителями давления, как правило, являются общепризнанными изоляторами и вызывают повышение температуры.
h) Влажность и влага
Считают, что влажность и влага в окружающей среде повышают риск образования пролежней ввиду их влияния на механическую прочность тканей. Эти состояния могут усугубляться потоотделением, вызванным высокими температурами, или наличием недержания мочи.
i) Оценка риска
При создании и проектировании любых APPHs, предназначенных для поддержки тела или приложения усилий к телу, следует учитывать риски возникновения пролежней. Данные APPHs должны минимизировать эти риски надлежащим образом с учетом восприимчивости тех пользователей, для которых они предназначены, и уравновесить их с рисками других неблагоприятных последствий использования устройства.
j) Для получения дополнительной информации по этим вопросам также следует ознакомиться с работами:
- Европейской консультативной группой по пролежневым язвам;
- Австралийской ассоциацией по профилактике и лечению ран;
- Национальной консультативной группой по травмам при давлении в США;
- Пантихоокеанского альянса по травмам от давления (PPPIA);
B.21 Эргономические принципы
Руководство по проектированию и расположению органов управления для квалифицированных специалистов в промышленности приведено в ЕН 894-3. Данное руководство следует использовать с предельным вниманием, поскольку пользователям могут потребоваться специальные устройства, соответствующие их группе инвалидности. В большинстве случаев прикладываемые усилия не должны превышать следующих:
- усилие срабатывания рычагов, используемых для активации или разблокировки устройства вручную, не более - 60 Н;
- усилие срабатывания рычагов, используемых для удержания или перемещения устройства в течение значительного времени, не более - 13 Н;
- рабочее усилие рычагов, используемых для активации или разблокировки устройства ногой, не более - 60 Н в "направлении тяги" и 100 Н в "направлении толкания";
- усилие срабатывания устройств, используемых для активации или отключения устройства нажатием пальца, не более - 5 Н.
Состояние лица с ограниченными возможностями, вероятнее всего, будет сопровождаться слабостью и отсутствием контроля над своими конечностями. Для облегчения работы определенного устройства, а также во избежание случайных срабатываний следует учитывать определенные эргономические критерии: рекомендуемый минимальный порог рабочего усилия, прилагаемого пользователем; соответствующие размер, положение и расстояние между механизмами управления. Пользователь должен получать обратную связь от механизма (например, по свету, щелчку, шуму) для того, чтобы убедиться в том, что он действительно работает.
B.22.4 Грубое обращение и перемещение
Предлагается дополнительный метод оценки напряжений, вызванных недопустимым обращением для преодоления порога. Поскольку данный метод не был подтвержден, он может быть только дополнением к нормативным требованиям согласно
22.4.2 и методам испытаний по
22.4.3.
B.22.4.2 Дополнительные требования для перемещения через порог
После испытаний, указанных в
22.4.3, мобильное APPH, детали и аксессуары не должны терять свои функции, быть разблокированными любые боковые направляющие или иметь ухудшения физического состояния [в частности, износ фиксаторов, разъединение аксессуаров, если они закреплены на мобильное APPH (как боковые рельсы), которые могут сократить нормальное использование или создать опасность, например завал, или остаточная деформация, изменение зазора для защемление либо ущемление].
Колесики мобильных средств гигиены должны соответствовать требованиям ЕН 12530:1998 и ЕН 12527.
B.22.4.3 Дополнительный метод испытаний для перемещения через порог
Испытания APPH проводят в состоянии перемещения в соответствии с инструкциями по эксплуатации с максимальным усилием и в наиболее неблагоприятных условиях, допустимых при нормальной эксплуатации, или в соответствии с
рисунками 14 и
16.
a) Восходящий ударный разрыв
APPH трижды толкают в нормальном направлении движения со скоростью (0,4 +/- 0,1) м/с против препятствия твердой древесины с вертикальной поверхностью 40 мм, которое жестко прикреплено к плоскому полу. Направление движения перпендикулярно поверхности препятствия.
b) Нисходящий ударный разрыв
APPH трижды толкают в нормальном направлении движения со скоростью (0,4 +/- 0,1) м/с, чтобы упасть с вертикальной ступеньки высотой 40 мм, закрепленной плоско на жестком основании (например, бетон). Направление движения перпендикулярно поверхности нисходящей ступени. Во время проведения испытания на удар при спуске, если какая-либо деталь, отличная от колеса, соприкасается с препятствием до того, как колесо коснется земли, изделие продолжают толкать до тех пор, пока оно полностью не опустится.
Упаковка APPH предназначена для обеспечения надлежащей защиты от повреждений, порчи или загрязнения во время хранения и транспортирования к месту использования. Поэтому следует рассмотреть различные формы хранения и виды транспортирования, которые имеют место, и проверить эффективность упаковки.
(справочное)
ЭКОЛОГИЧЕСКИЕ И ПОТРЕБИТЕЛЬСКИЕ ТРЕБОВАНИЯ
C.1 Оценка опасных веществ в составе APPHs для лиц с ограниченными возможностями. Общие аспекты
В этом приложении представлены некоторые общие рекомендации по минимизации использования опасных химических веществ, содержащихся в APPHs для людей с ограниченными возможностями. Оно призвано дополнить юридические обязательства, предоставляя некоторые практические рекомендации, учитывающие, но выходящие за рамки минимальных требований законодательства.
Раздел C.2 фокусируется на тех классах химических веществ, использование которых требует предельного внимания с точки зрения здоровья человека или окружающей среды (CMR, PBT, vPvB и подобного рода вещества) и которые могут быть обнаружены во всех материалах и продуктах.
Разделы C.3 -
C.6 содержат рекомендации, касающиеся текстиля, пластмасс, металлов и дерева.
C.2 Опасные вещества во всех материалах или изделиях
C.2.1 Вещества, вызывающие особое опасение (SVHC): европейский подход к химическим веществам
C.2.1.1 Общие положения
В 2006 г. принята новая нормативная база EC, касающаяся регистрации, оценки, разрешения и ограничения химических веществ (REACH, 1907/2006). REACH требует разрешения для веществ, вызывающих "предельную" (для других веществ требуется просто регистрация), среди которых химические вещества CMR (канцерогенные, мутагенные и токсичные для размножения), PBT/vPvB (стойкие, биоаккумулирующие и токсичные/высокостойкие и наиболее биоаккумулирующие вещества) и вещества, идентифицированные как вызывающие существенные и необратимые последствия для людей или окружающей среды, эквивалентные последствиям, упомянутым в каждом конкретном случае. Данные вещества будут идентифицированы в сотрудничестве с государствами-членами. Они включены в так называемый "список кандидатов", который публикуется и периодически обновляется Европейским агентством по химическим веществам (ECHA). Наконец, вещества, требующие разрешения, будут включены в приложение XIV соответствующей Директивы.
C.2.1.2 Химические вещества CMR
Химические вещества CMR могут принадлежать к одной из трех различных категорий. Для канцерогенных веществ это описано следующим образом:
- категория 1: вещества, которые, как известно, являются канцерогенными для человека. Имеется достаточно доказательств для установления причинно-следственной связи между воздействием на человека того или иного вещества и развитием рака;
- категория 2: вещества, которые следует рассматривать как канцерогенные для человека. Имеется достаточно доказательств для обоснованного предположения о том, что воздействие какого-либо вещества на человека может привести к развитию рака, как правило, на основе:
- определенных долгосрочных исследований на животных;
- другой соответствующей информации;
- категория 3: вещества, которые вызывают опасение из-за возможного канцерогенного воздействия на человека, но в отношении которых имеющейся информации недостаточно для проведения удовлетворительной оценки. Представлены некоторые данные соответствующих исследований на животных, но они не являются достаточными для отнесения этих веществ к категории 2.
Мутагенные вещества и вещества, токсичные для репродукции, категории 1, 2 и 3 описаны аналогичным образом (приложение VI Директивы 67/548/ЕЭС).
Применимые кодовые обозначения риска (R-фразы) для химических веществ CMR перечислены в
таблице C.1.
Таблица C.1
Кодовые обозначения риска, охватывающие химические вещества
CMR (Приложение VI к Директиве 67/548/EEC)
Канцерогенные вещества R40 Ограниченные доказательства канцерогенных эффектов (категория 3). R45 Может вызывать рак (категории 1 и 2). R49 Может вызывать рак при вдыхании (категории 1 и 2) | Вещества, токсичные для репродуктивной функции R60 Может ухудшить фертильность (категории 1 и 2). R61 Может причинить вред нерожденному ребенку (категории 1 и 2). R62 Возможный риск нарушения фертильности (категория 3). R63 Возможный риск причинения вреда нерожденному ребенку (категория 3) |
Мутагенные вещества R46 Может вызывать наследуемое генетическое повреждение (категории 1 и 2). R68 Возможный риск необратимых последствий (категория 3) | |
В 2008 г. Европейский союз принял Глобально согласованную систему классификации и маркировки химических веществ (GHS, 1272/2008). В ближайшие годы она постепенно заменит нынешнюю схему классификации и маркировки, упомянутую выше.
Химические вещества CMR категорий 1, 2 и 3 будут заменены категориями 1A, 1B и 2 с тем же значением. R-фразы будут заменены новыми H-фразами.
H-фразы для химических веществ CMR перечислены в
таблице C.2.
Таблица C.2
к Регламенту 1272/2008)
Канцерогенные вещества H350 Может вызывать рак (категории 1A и 1B). H351 Предположительно вызывает рак (категория 2) Мутагенные вещества H340 Может вызывать генетические дефекты (категории 1A и 1B). H341 Предположительно вызывает генетические дефекты (категория 2) | Вещества, токсичные для репродуктивной функции H360 Может нанести ущерб фертильности или нерожденному ребенку (категории 1A и 1B). H361 Подозрение на нарушение фертильности или нерожденного ребенка (категория 2). H362 Может нанести вред детям, находящимся на грудном вскармливании (дополнительная категория воздействия на лактацию или через нее) |
C.2.1.3 Вещества PBT и vPvB
Критерии идентификации PBT (стойкие, биоаккумулирующие и токсичные) и vPvB (высокостойкие и высокобиоаккумулирующие) вещества включены в
приложение XIII документа REACH. Вещество, которое соответствует определенным заданным критериям стойкости, биоаккумуляции и токсичности, является веществом PBT. Вещество, отвечающее определенным заданным критериям стойкости и биоаккумуляции, - это веществом vPvB.
C.2.1.4 Вещества, вызывающие эквивалентное опасение
Вещества, обладающие свойствами, разрушающими эндокринную систему, или вещества, обладающие стойкими, биологически накопительными и токсичными свойствами или высокостойкими, биоаккумулирующими свойствами, которые не соответствуют критериям, изложенным в
приложении XIII и которые имеют научные доказательства вероятного существенного воздействия на здоровье человека или окружающую среду, вызывающие эквивалентный уровень опасности, поскольку вещества CMR, PBT и vPvB идентифицируют в каждом конкретном случае.
C.2.2 Рекомендации
C.2.2.1 Общие положения
Несмотря на то что внедрение REACH, включая разрешение SVHS, займет много лет, в качестве меры предосторожности рекомендуется по возможности как можно скорее отказываться от использования таких веществ. Паспорта безопасности веществ, используемых при производстве APPH, предоставляют необходимую информацию. Также рекомендуется регулярно проверять "список кандидатов" на веб-сайте ECHA, чтобы иметь представление о нововведениях: http://echa.europa.eu/web/guest/candidate-list-table.
C.2.2.2 Химические вещества CMR
Предлагается избегать использования химических веществ CMR из трех категорий. Минимальным уровнем использования признается 0,1% массы. Однако некоторые вещества CMR представляют опасность на более низких уровнях. Поэтому рекомендуется снизить уровни веществ CMR, насколько это технически возможно, с использованием подхода, основанного на принципе осторожности.
C.2.2.3 Вещества PBT и vPvB
Продукция не должна содержать веществ PBT и vPvB в соответствии с критериями, перечисленными в
приложении XIII REACH, в количествах, превышающих 0,1% по массе.
C.2.2.4 Вещества, вызывающие эквивалентное опасение
Поскольку эти вещества идентифицируют в каждом конкретном случае, рекомендуется избегать использования веществ, однажды включенных в "список кандидатов", в количествах, превышающих 0,1% по массе, за исключением тех случаев, когда более низкие уровни кажутся оправданными.
C.3 Опасные вещества в текстиле
C.3.1 Соответствующие вещества
Касательно текстиля на европейском и национальном уровнях существует несколько критериев экологической маркировки, которые следует учитывать при установлении требований к текстильным компонентам APPHs для людей с ограниченными возможностями.
Последний стандарт
<1> получил широкое признание на рынке готовых текстильных изделий.
--------------------------------
<1> Эта информация предоставлена для удобства пользователей настоящего стандарта и не является одобрением ИСО данного продукта.
Предельные значения включены:
- для формальдегида;
- тяжелых металлов;
- пестицидов;
- хлорированных фенолов;
- фталатов;
- органических соединений олова;
- прочих химических остатков;
- красителей;
- бензолов и толуолов;
- биологически активных продуктов;
- огнезащитных материалов;
- стойкости цвета;
- выброса летучих веществ;
- запахов.
Ассоциация Oeko-Tex разработала различные критерии для текстильных изделий: для младенцев, для изделий с прямым контактом с кожей и без него, а также для отделочных материалов.
C.3.2 Рекомендация
Текстильные изделия или компоненты должны соответствовать требованиям Oeko-Tex 100. Другие экомаркировки могут содержать более жесткие требования (например, к органическому текстилю), которые также следует учитывать.
C.4 Опасные вещества в пластичных материалах
C.4.1 Соответствующие вещества
Различные национальные и европейские спецификации содержат критерии для пластиковых материалов или компонентов, которые могут быть взяты за основу при установлении требований к пластиковым компонентам APPH для лиц с ограниченными возможностями. Ключевые критерии включают в себя:
- вещества на основе свинца, кадмия, ртути и их соединений;
- галогенированные органические материалы;
- фталаты.
C.4.2 Рекомендация
C.4.2.1 Вещества на основе свинца, кадмия, ртути и их соединения или органические соединения олова
Директива Европейского совета об упаковке и упаковочных отходах (94/62/EC) установила ограничение в 100 частях на миллион (ppm) для суммы свинца, кадмия, ртути и шестивалентного хрома в пластиковой упаковке. Для того чтобы установить ограничение на содержание тяжелых металлов в пластике, используемом в APPHs для людей с ограниченными возможностями, предлагается соблюдать ограничение, используемое в Европейской директиве по упаковке.
C.4.2.2 Органические галогенированные соединения
Органические галогенированные соединения в качестве антипиренов могут быть добавлены к пластиковым деталям. Некоторые из галогенированных антипиренов оказывают опасное воздействие на здоровье и окружающую среду, являются стойкими и биоаккумулирующими. Полибромированные дифенилы (PBB), полибромированный дифениловый эфир (PBDE) и хлорпарафины с короткой цепью (все они являются органическими галогенированными соединениями) могут быть добавлены к пластиковым деталям. PBB и PBDE относятся к группе бромированных антипиренов и оказывают опасное воздействие на здоровье и окружающую среду. Многие хлорированные парафины обладают стойкостью и способностью к биоаккумуляции. Не рекомендованы к использованию PBB, PBDE или хлорированный парафин.
C.4.2.3 Фталаты
Эти вещества используют в качестве пластификатора в ПВХ, и они могут оказывать репротоксическое действие, поэтому предпочтительно исключить фталаты. Что касается медицинских изделий, то на рынке существуют альтернативы фталатам. Однако заменители фталата могут снизить функциональность устройства или при использовании в пакетах для крови даже повлиять на здоровье пациентов. Поэтому предлагается, чтобы пластиковые детали APPHs для людей с ограниченными возможностями не содержали фталатов в количествах, превышающих 0,1 промилле, если отсутствуют доказательства того, что фталаты необходимы по техническим соображениям и не могут быть заменены другими пластификаторами или продукт не может быть изготовлен с применением других пластмассовых материалов.
C.5 Металлы
C.5.1 Соответствующие вещества
Особое значение имеют критерии для металлических покрытий, включающих:
- кадмий;
- хром;
- никель
и их соединения.
Такие покрытия необходимы в местах предельного физического износа или для деталей, требующих особо плотных соединений. Для деталей, предназначенных для частого контакта с кожей, следует избегать данных покрытий. Кадмий вообще не следует использовать.
C.5.2 Рекомендации
Металлические детали не должны быть покрыты кадмием, хромом, никелем и их соединениями. В исключительных случаях в местах предельного физического износа металлические поверхности и детали, требующие особо плотного соединения, могут быть обработаны хромом или никелем. Это исключение не распространяется на детали, предназначенные для частого контакта с кожей, и обработанные детали должны быть пригодны для вторичной переработки.
Примечание - Критерии для других покрытий, таких как краски, будут рассмотрены в последующем.
C.6.1 Соответствующие вещества
Различные национальные и европейские спецификации содержат критерии для формальдегида, раздражающего и канцерогенного вещества, в древесных панелях.
C.6.2 Рекомендации
Должно быть выполнено одно из двух следующих требований:
a) содержание свободного формальдегида, измеренное в соответствии с ЕН 120 с использованием перфоратора, должно быть:
- в случае единичных значений: <= 8 мг формальдегида/100 г продукта;
- при среднем значении за 6 мес: <= 6,5 мг формальдегида/100 г продукта;
b) эмиссия формальдегида, измеренная в испытательной камере в соответствии с ЕН 717-1, должна быть < 0,13 мг формальдегида/м3 воздуха.
Примечание - Критерии для других веществ, содержащихся в покрытиях или консервантах для древесины, будут рассмотрены в последующем.
(справочное)
D.1 Периодический контроль следует проводить через промежутки времени, указанные производителем, желательно раз в год. Периодический контроль представляет собой визуальный осмотр (в частности, несущей конструкции и подъемного механизма с навесным оборудованием, тормозами, органами управления, с устройствами безопасности и устройствами для поддержки человека) и любые функциональные испытания, включая меры по техническому обслуживанию, которые могут потребоваться, например регулировка тормозов, затяжка крепежных элементов. Это следует делать в соответствии с инструкциями производителя по эксплуатации.
D.2 Периодический контроль должно проводить лицо, имеющее соответствующую квалификацию и подробно ознакомленный с конструкцией, использованием и обслуживанием APPH. Объем периодического контроля должен быть включен в прилагаемые инструкции по эксплуатации.
D.3 Любые замечания, имеющие важное значение для безопасности, должны быть зафиксированы предпочтительно в журнале регистрации, который должен храниться у лица (лиц), ответственного(ых) за обслуживание/техническое обслуживание.
Дата принятия корректирующих мер в ответ на отмеченные замечания также должна быть отмечена в журнале регистрации.
D.4 Запись о дате результата проверки должна быть зафиксирована в журнале регистрации вместе с подписью инспектора.
D.5 Если периодический контроль выявляет какие-либо дефекты, износ или другие повреждения, которые ставят под угрозу безопасность, владелец обязан немедленно уведомить об этом. В случае непосредственной угрозы безопасности APPH должно быть немедленно выведено из эксплуатации. Его не используют до тех пор, пока недостаток не будет устранен.
D.6 Дефекты и повреждения, имеющие важное значение для безопасности, которые произошли между контролями и уже привели к корректирующим действиям, должны быть занесены в журнал регистрации.
D.7 О дефектах и повреждениях следует сообщать производителю для принятия соответствующих мер. Этот отзыв должен быть отражен в журнале регистрации.
D.8 Если применимо, периодический контроль узла нежесткой опоры кузова следует проводить через определенные промежутки времени, указанные производителем, предпочтительно каждые 6 мес.
D.9 Протокол контроля должен быть надежно сохранен для изучения в случае инцидента.
D.10 Протокол контроля должен содержать следующую информацию:
- дата проведения контроля;
- идентификационные данные и серийный номер APPH;
- идентификационные данные и серийный номер APPH;
- информацию о состоянии APPH;
- дату следующей проверки;
- удостоверение личности и подпись инспектора.
(обязательное)
СВЕДЕНИЯ О СООТВЕТСТВИИ ССЫЛОЧНЫХ МЕЖДУНАРОДНЫХ
И ЕВРОПЕЙСКИХ СТАНДАРТОВ МЕЖГОСУДАРСТВЕННЫМ
И НАЦИОНАЛЬНЫМ СТАНДАРТАМ
Таблица ДА.1
Обозначение ссылочного международного и европейского стандарта | Степень соответствия | Обозначение и наименование соответствующего межгосударственного и национального стандарта |
CISPR 11 | IDT | ГОСТ CISPR 11-2017 "Электромагнитная совместимость. Оборудование промышленное, научное и медицинское. Характеристики радиочастотных помех. Нормы и методы испытаний" |
ISO 3746 | IDT | ГОСТ Р ИСО 3746-2013 "Акустика. Определение уровней звуковой мощности и звуковой энергии источников шума по звуковому давлению. Ориентировочный метод с использованием измерительной поверхности над звукоотражающей плоскостью" |
ISO 8191-1 | - | |
ISO 8191-2 | - | |
ISO 9227 | - | |
ISO 9999:2011 | IDT | ГОСТ Р ИСО 9999-2019 "Вспомогательные средства для людей с ограничениями жизнедеятельности. Классификация и терминология" |
ISO 10993-1 | IDT | ГОСТ ISO 10993-1-2021 "Изделия медицинские. Оценка биологического действия медицинских изделий. Часть 1. Оценка и исследования в процессе менеджмента риска" |
ISO 12100 | IDT | ГОСТ ISO 12100-2013 "Безопасность машин. Основные принципы конструирования. Оценки риска и снижения риска" |
ISO 13850 | - | |
ISO 14155 | IDT | |
ISO 14971 | IDT | |
ISO 15223-1 | IDT | ГОСТ Р ИСО 15223-1-2020 "Изделия медицинские. Символы, применяемые при маркировании медицинских изделий, на этикетках и в сопроводительной документации. Часть 1. Основные требования" |
ISO 22442-1 | IDT | ГОСТ Р ИСО 22442-1-2011 "Изделия медицинские, использующие ткани и их производные животного происхождения. Часть 1. Менеджмент риска" |
IEC 60335-1 | IDT | ГОСТ IEC 60335-1-2015 "Бытовые и аналогичные электрические приборы. Безопасность. Часть 1. Общие требования" |
IEC 60529 | - | |
IEC 60601-1:2005+A1:2012 | - | |
IEC 60601-1-2:2014 | IDT | ГОСТ Р МЭК 60601-1-2-2014 "Изделия медицинские электрические. Часть 1-2. Общие требования безопасности с учетом основных функциональных характеристик. Параллельный стандарт. Электромагнитная совместимость. Требования и испытания" |
IEC 60601-2-35 | MOD | ГОСТ 30324.35-2002 (МЭК 60601-2-35:1996) "Изделия медицинские электрические. Часть 2. Частные требования безопасности к одеялам" |
IEC 61000-3-2 | - | |
IEC 61000-3-3 | IDT | ГОСТ IEC 61000-3-3-2015 "Электромагнитная совместимость (ЭМС). Часть 3-3. Нормы. Ограничение изменений напряжения, колебаний напряжения и фликера в общественных низковольтных систем" |
IEC 61000-4-3 | IDT | ГОСТ IEC 61000-4-3-2016 "Электромагнитная совместимость (ЭМС). Часть 4-3. Методы испытаний и измерений. Испытание на устойчивость к излучаемому радиочастотному электромагнитному" |
IEC 61000-4-8 | IDT | ГОСТ IEC 61000-4-8-2013 "Электромагнитная совместимость. Часть 4-8. Методы испытаний и измерений. Испытания на устойчивость к магнитному полю промышленной частоты" |
IEC 60695-11-10 | - | |
EN 614-1 | IDT | ГОСТ Р ЕН 614-1-2003 "Безопасность оборудования. Эргономические принципы конструирования. Часть 1. Термины, определения и общие принципы" |
EN 1041 | - | |
EN 12527:1998 | - | |
<*> Соответствующий национальный стандарт отсутствует. До его принятия рекомендуется использовать перевод на русский язык данного международного, европейского стандарта. Примечание - В настоящей таблице использованы следующие условные обозначения степени соответствия стандартов: - IDT - идентичные стандарты; - MOD - модифицированный стандарт. |
[1] | ISO 2631-1 | Mechanical vibration and shock - Evaluation of human exposure to whole-body vibration - Part 1: General requirements |
[2] | ISO 5349-1 | Mechanical vibration - Measurement and evaluation of human exposure to handtransmitted vibration - Part 1: General requirements |
[3] | ISO 5349-2 | Mechanical vibration - Measurement and evaluation of human exposure to handtransmitted vibration - Part 2: Practical guidance for measurement at the workplace |
[4] | ISO 7176-11 | Wheelchairs - Part 11: Test dummies |
[5] | ISO 7176-8 | Wheelchairs - Part 8: Requirements and test methods for static, impact and fatigue strengths |
[6] | ISO 13732-1 | Ergonomics of the thermal environment - Methods for the assessment of human responses to contact with surfaces - Part 1: Hot surfaces |
[7] | ISO 21542 | Building construction - Accessibility and usability of the built environment |
[8] | ISO/IEC Guide 71:2014 <1> | Guidelines for standards developers to address the needs of older persons and persons with disabilities |
[9] | IEC 60068-2-31:2008 | Environmental testing - Part 2-31: Tests - Test Ec: Rough handling shocks, primarily for equipment-type specimens |
[10] | IEC 60127 | Miniature fuses - Part 1-6 |
[11] | IEC 60730-1 | Automatic electrical controls for household and similar use - Part 1: General requirements |
[12] | IEC 82079-1 | Preparation of instructions for use - Structuring, content and presentation - Part 1: General principles and detailed requirements |
[13] | EN 716-2:2008 | Furniture - Children's cots and folding cots for domestic use - Part 2: Test methods |
[14] | EN 894-3 | Safety of machinery - Ergonomics requirements for the design of displays and control actuators - Part 3: Control actuators |
[15] | EN 1888:2003 | Child care articles - Wheeled child conveyances - Safety requirements and test methods |
[16] | EN 12530 | Castors and wheels - Castors and wheels for manually propelled institutional applications |
| 2014 Guideline on Prevention and Treatment for Pressure Ulcers: Clinical Practice Guideline |
| http://www.npuap.org/resources/educational-and-clinical-resources/prevention-and-treatment-of-pressure-ulcers-clinical-practice-guideline/ |
[19] | Oeko-Tex 100 https://www.oeko-tex.com |
[20] | ISO 845 | Cellular plastics and rubbers - Determination of apparent density |
[21] | ISO 2439 | Cellular plastics and rubbers - Determination of apparent density |
--------------------------------
<1> Заменяет ISO/IEC Guide 71:2001.
УДК 615.477.22:006.354 | |
Ключевые слова: вспомогательные средства для личной гигиены, лица с физическими недостатками, эргономические принципы, принципы поручней, опорных перил и фиксированных опорных брусьев |