Главная // Актуальные документы // ГОСТ Р (Государственный стандарт)СПРАВКА
Источник публикации
М.: Стандартинформ, 2014
Примечание к документу
Документ
введен в действие с 1 декабря 2014 года.
Название документа
"ГОСТ Р ИСО 3746-2013. Национальный стандарт Российской Федерации. Акустика. Определение уровней звуковой мощности и звуковой энергии источников шума по звуковому давлению. Ориентировочный метод с использованием измерительной поверхности над звукоотражающей плоскостью"
(утв. и введен в действие Приказом Росстандарта от 05.12.2013 N 2175-ст)
"ГОСТ Р ИСО 3746-2013. Национальный стандарт Российской Федерации. Акустика. Определение уровней звуковой мощности и звуковой энергии источников шума по звуковому давлению. Ориентировочный метод с использованием измерительной поверхности над звукоотражающей плоскостью"
(утв. и введен в действие Приказом Росстандарта от 05.12.2013 N 2175-ст)
Утвержден и введен в действие
агентства по техническому
регулированию и метрологии
от 5 декабря 2013 г. N 2175-ст
НАЦИОНАЛЬНЫЙ СТАНДАРТ РОССИЙСКОЙ ФЕДЕРАЦИИ
АКУСТИКА
ОПРЕДЕЛЕНИЕ УРОВНЕЙ ЗВУКОВОЙ МОЩНОСТИ И ЗВУКОВОЙ
ЭНЕРГИИ ИСТОЧНИКОВ ШУМА ПО ЗВУКОВОМУ ДАВЛЕНИЮ
ОРИЕНТИРОВОЧНЫЙ МЕТОД С ИСПОЛЬЗОВАНИЕМ ИЗМЕРИТЕЛЬНОЙ
ПОВЕРХНОСТИ НАД ЗВУКООТРАЖАЮЩЕЙ ПЛОСКОСТЬЮ
Acoustics. Determination of sound power levels
and sound energy levels of noise sources using sound
pressure. Survey methods using an enveloping measurement
surface over a reflecting plane
ISO 3746:2010
Acoustics - Determination of sound power levels
and sound energy levels of noise sources using sound
pressure - Survey methods using an enveloping measurement
surface over a reflecting plane
(IDT)
ГОСТ Р ИСО 3746-2013
Дата введения
1 декабря 2014 года
1. Подготовлен Автономной некоммерческой организацией "Научно-исследовательский центр контроля и диагностики технических систем" (АНО "НИЦ КД") на основе собственного аутентичного перевода на русский язык международного стандарта, указанного в
пункте 4.
2. Внесен Техническим комитетом по стандартизации ТК 358 "Акустика".
3. Утвержден и введен в действие
Приказом Федерального агентства по техническому регулированию и метрологии от 5 декабря 2013 г. N 2175-ст.
4. Настоящий стандарт является идентичным по отношению к международному стандарту ИСО 3746:2010 "Акустика. Определение уровней звуковой мощности и звуковой энергии источников шума по звуковому давлению. Ориентировочный метод с использованием измерительной поверхности над звукоотражающей плоскостью" (ISO 3746:2010 "Acoustics - Determination of sound power levels and sound energy levels of noise sources using sound pressure - Survey methods using an enveloping measurement surface over a reflecting plane").
При применении настоящего стандарта рекомендуется использовать вместо ссылочных международных стандартов соответствующие им национальные и действующие в этом качестве межгосударственные стандарты, сведения о которых приведены в дополнительном
Приложении ДА.
Правила применения настоящего стандарта установлены в ГОСТ Р 1.0-2012
(раздел 8). Информация об изменениях к настоящему стандарту публикуется в ежегодном (по состоянию на 1 января текущего года) информационном указателе "Национальные стандарты", а официальный текст изменений и поправок - в ежемесячном указателе "Национальные стандарты". В случае пересмотра (замены) или отмены настоящего стандарта соответствующее уведомление будет опубликовано в ближайшем выпуске ежемесячного информационного указателя "Национальные стандарты". Соответствующая информация, уведомление и тексты размещаются также в информационной системе общего пользования - на официальном сайте Федерального агентства по техническому регулированию и метрологии в сети Интернет (gost.ru).
Настоящий стандарт входит в серию стандартов (см.
[2] -
[6], а также ИСО 3744), устанавливающих методы определения уровней звуковой мощности и звуковой энергии источников шума, таких как машины, оборудование и их узлы. Выбор конкретного метода зависит от целей испытаний по определению уровня звуковой мощности (звуковой энергии) и от имеющегося в распоряжении испытательного оборудования. Общее руководство по выбору метода испытаний установлено в
[1]. Стандарты
[2] -
[6], ИСО 3744 и настоящий стандарт дают только общие рекомендации по установке машин и условиям их работы при испытаниях. Подробные требования должны быть установлены в испытательных кодах по шуму для машин разных видов.
Настоящий стандарт устанавливает методы определения уровней звуковой мощности и звуковой энергии в широкой полосе частот с коррекцией по частотной характеристике A.
Методы настоящего стандарта относятся к ориентировочным методам по классификации ИСО 12001 и предполагают проведение измерений в промышленных помещениях или на площадках на открытом воздухе. В идеале испытуемый источник шума должен быть установлен на звукоотражающей плоскости в большом открытом пространстве. Если испытуемый источник при его применении устанавливают в цеховом помещении, то в результат измерения вносят поправку на отражение от близлежащих предметов, стен и потолка, а также коррекцию на фоновый шум в помещении.
Если задачи определения уровня звуковой мощности или звуковой энергии источника шума требуют точности более высокой, чем обеспечивает ориентировочный метод, то следует применить методы измерений, установленные в ИСО 3744,
[5] или
[14] -
[16]. К другим стандартам серии
[2] -
[6] или к
[14] -
[16] следует обращаться при невозможности обеспечения условий измерений в соответствии с требованиями настоящего стандарта.
1.1. Общие положения
Настоящий стандарт устанавливает методы измерения уровней звуковой мощности источников шума (машин и оборудования) или, в случае, если шум источника импульсный или имеет форму переходного процесса, уровней звуковой энергии в полосах частот или в широкой полосе частот с коррекции по частотной характеристике A (далее - корректированные по A) по результатам измерений уровней звукового давления в точках на охватывающей источник шума измерительной поверхности в условиях испытаний, удовлетворяющих заданным требованиям.
Примечание. Разные формы измерительной поверхности, используемой при применении методов настоящего стандарта могут дать отличающиеся результаты измерений. Информация о форме измерительной поверхности, применяющейся при испытаниях машин конкретного вида, может быть установлена в соответствующем испытательном коде по шуму (см. ИСО 12001).
1.2. Вид шума и источники шума
Настоящий стандарт распространяется на все виды шума (постоянный, непостоянный, флуктуирующий, единичные импульсы и др.) по классификации ИСО 12001.
Настоящий стандарт распространяется на источники шума всех видов и размеров (например, стационарное или медленно перемещающееся технологическое оборудование, установки машины и их узлы), для которых может быть обеспечено соблюдение требований настоящего стандарта к условиям испытаний.
Примечание. Соблюдение требований настоящего стандарта к условиям испытаний может быть затруднено в случае очень высоких или очень протяженных источников шума, таких как дымовые трубы, конвейеры, трубопроводы или промышленные установки с множественными источниками шума. Методы измерений для таких объектов могут быть установлены в испытательных кодах по шуму.
1.3. Испытательное пространство
Условия испытаний, соответствующие требованиям настоящего стандарта, могут быть созданы внутри помещений или на открытом воздухе и предполагают наличие одной или нескольких звукоотражающих плоскостей, на которые или вблизи которых устанавливают испытуемый источник шума.
1.4. Неопределенность измерения
В настоящем стандарте приведены сведения о неопределенности измерения корректированных по A уровней звуковой мощности (звуковой энергии). Неопределенность измерения соответствует установленной ИСО 12001 для ориентировочного метода измерений.
В настоящем стандарте использованы нормативные ссылки на следующие стандарты:
ИСО 3744 Акустика. Определение уровней звуковой мощности и звуковой энергии источников шума по звуковому давлению. Технический метод в существенно свободном звуковом поле над звукоотражающей плоскостью (ISO 3744, Acoustics - Determination of sound power levels and sound energy levels of noise sources using sound pressure - Engineering methods for an essentially free field over a reflecting plane)
ИСО 5725 (все части) Точность (правильность и прецизионность) методов и результатов измерений [ISO 5725, Accuracy (trueness and precision) of measurement methods and results]
ИСО 12001:1996 Акустика. Шум, излучаемый машинами и оборудованием. Правила составления испытательных кодов по шуму (ISO 12001:1996, Acoustics - Noise emitted by machinery and equipment - Rules for the drafting and presentation of a noise test code)
Руководство ИСО/МЭК 98-3 Неопределенность измерения. Часть 3. Руководство по выражению неопределенности измерения (GUM) [ISO/IEC Guide 98-3, Uncertainty in measurement - Part 3: Guide to the expression of uncertainty in measurement (GUM:1995)]
МЭК 60942:2003 Электроакустика. Калибраторы акустические (IEC 60942:2003, Electroacoustics - Sound calibrators)
МЭК 61672-1:2002 Электроакустика. Шумомеры. Часть 1. Технические требования (IEC 61672-1:2002, Electroacoustics - Sound level meters - Part 1: Specifications)
В настоящем стандарте применены следующие термины с соответствующими определениями:
3.1. Звуковое давление (sound pressure) p: разность между мгновенным и статическим давлениями воздушной среды.
Примечание 1. Определение термина модифицировано по отношению к статье 8-9.2 в
[23].
Примечание 2. p выражают в паскалях (Па).
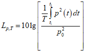
3.2. Уровень звукового давления (sound pressure level) Lp: десятикратный десятичный логарифм отношения квадрата звукового давления p к квадрату опорного звукового давления p0 (p0 = 20 мкПа), выраженный в децибелах (дБ) по формуле

. (1)
Примечание 1. В случае применения коррекций по частотным или временным характеристикам, а также в случае измерений в заданной полосе частот это отражают применением соответствующего подстрочного индекса, например, LpA - уровень звука (т.е. уровень корректированного по A звукового давления).
Примечание 2. Определение содержательно совпадает со статьей 8-22 в
[23].
3.3. Эквивалентный уровень звукового давления (time-averaged sound pressure level) Lp,T: десятикратный десятичный логарифм отношения усредненного на заданном временном интервале T (с началом t1 и окончанием t2) квадрата звукового давления p к квадрату опорного звукового давления p0 (p0 = 20 мкПа), выраженный в децибелах (дБ) по формуле

. (2)
Примечание 1. Обычно подстрочный индекс T опускают, поскольку из названия термина следует, что величину Lp,T определяют на заданном временном интервале.
Примечание 2. В большинстве применений интегрирование на временном интервале T сопровождается использованием коррекции по частотной характеристике A. Соответствующую величину обозначают LpA,T или, сокращенно, LpA.
Примечание 3. Определение термина модифицировано по отношению к статье 2.3 в
[22].
3.4. Уровень экспозиции однократного шумового процесса (single event time-integrated sound pressure level) LE: десятикратный десятичный логарифм отношения интегрированного на заданном временном интервале T (с началом t1 и окончанием t2) квадрата звукового давления p отдельного шумового события (звукового импульса или переходного процесса) к опорному значению дозы шума E0 [E0 = (20 мкПа)2 с = 4·10-10 Па2 с], выраженный в децибелах (дБ), по формуле

. (3)
Примечание 1. Данная величина может быть выражена через эквивалентный уровень звукового давления по формуле

, где T
0 = 1 с.
Примечание 2. В случае описания звуковой иммиссии данную величину обычно называют "уровень звукового воздействия" (см.
[22]).
3.5. Продолжительность измерений (measurement time interval) T: период, включающий в себя часть операционного цикла или несколько операционных циклов источника шума, в течение которого проводят измерения эквивалентного уровня звукового давления.
Примечание. T выражают в секундах (с).
3.6. Звукоотражающая плоскость (reflecting plane): отражающая звук плоская поверхность, на которую устанавливают испытуемый источник шума.
3.7. Диапазон частот измерений (frequency range of interest): в общем случае, диапазон частот, включающий в себя октавные полосы со среднегеометрическими частотами (номинальными) от 125 до 8000 Гц.
3.8. Огибающий параллелепипед (reference box): воображаемая поверхность в виде прямоугольного параллелепипеда наименьшего объема, опирающегося одной гранью на звукоотражающую плоскость (или несколькими гранями на несколько звукоотражающих плоскостей) и заключающего в себе все элементы испытуемого источника шума, излучение которых дает существенный вклад в общий шум источника, вместе с испытательным столом (стендом), на который источник шума установлен.
Примечание. При необходимости может быть использован испытательный стол самых малых размеров, обеспечивающий совместимость с измерениями звукового давления излучения в контрольных точках вблизи источника шума, например, в соответствии с
[18] -
[21].
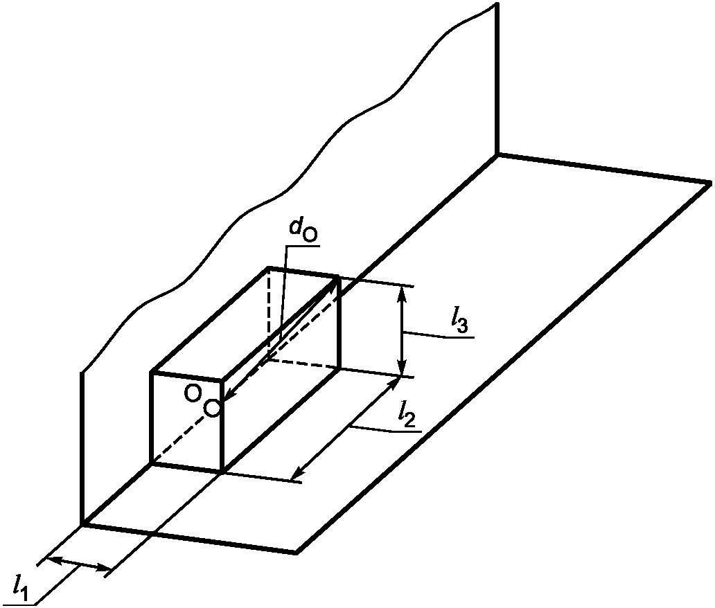
3.9. Характеристический размер (источника) (characteristic source dimension) dO: расстояние от начала системы координат до самой дальней вершины огибающего параллелепипеда.
Примечание. dO выражают в метрах (м).
3.10. Измерительное расстояние (measurement distance) d: расстояние между огибающим параллелепипедом и измерительной поверхностью в форме прямоугольного параллелепипеда.
Примечание. d выражают в метрах (м).
3.11. Измерительный радиус (measurement radius) r: радиус измерительной поверхности, имеющей вид полусферы, половины полусферы или четверти полусферы.
Примечание. r выражают в метрах (м).
3.12. Измерительная поверхность (measurement surface): воображаемая поверхность, охватывающая испытуемый источник шума, пересечение которой со звукоотражающей плоскостью (плоскостями) имеет вид замкнутой кривой и на которой располагают точки установки микрофонов (точки измерений).
3.13. Фоновый шум (background noise): шум от всех источников, кроме испытуемого.
Примечание. Фоновый шум может включать в себя воздушный шум, шум излучения вибрирующих поверхностей, электрический шум средств измерений.
3.14. Коррекция на фоновый шум (background noise correction) K1: поправка к усредненному (методом энергетического суммирования) по точкам измерений (местам установки микрофонов) на измерительной поверхности эквивалентному уровню звукового давления, вносимая для учета влияния фонового шума.
Примечание 1. K1 выражают в децибелах (дБ).
Примечание 2. Коррекция на фоновый шум зависит от частоты. При измерениях в широкой полосе с коррекцией по частотной характеристике A коррекцию на фоновый шум обозначают K1A.
3.15. Коррекция на свойства испытательного пространства (environmental correction) K2: поправка к усредненному (методом энергетического суммирования) по точкам измерений (местам установки микрофонов) на измерительной поверхности эквивалентному уровню звукового давления, вносимая для учета влияния отраженного и поглощенного звука.
Примечание 1. K2 выражают в децибелах (дБ).
Примечание 2. Коррекция на свойства испытательного пространства зависит от частоты. При измерениях в широкой полосе с коррекцией по частотной характеристике A коррекцию на свойства испытательного пространства обозначают K2A.
Примечание 3. В общем случае коррекция на свойства испытательного пространства зависит от площади S измерительной поверхности. Как правило, K2A увеличивается с увеличением S.
3.16. Эквивалентный уровень звукового давления на поверхности (surface time-averaged sound pressure level)

: усредненный (методом энергетического суммирования) по точкам измерений или траекториям сканирования на измерительной поверхности эквивалентный уровень звукового давления после внесения коррекций на фоновый шум K
1 и свойства испытательного пространства K
2.
Примечание.

выражают в децибелах (дБ).
3.17. Уровень экспозиции однократного шумового процесса на поверхности (surface time-averaged sound pressure level)

: усредненный (методом энергетического суммирования) по точкам измерений или траекториям сканирования на измерительной поверхности уровень экспозиции однократного шумового процесса после внесения коррекций на фоновый шум K
1 и свойства испытательного пространства K
2.
Примечание.

выражают в децибелах (дБ).
3.18. Звуковая мощность (через поверхность) (sound power) P: интеграл по поверхности от про изведения звукового давления p и составляющей скорости колебаний точки поверхности, нормальной к этой поверхности, un.
Примечание 1. P выражают в ваттах (Вт).
Примечание 2. Данная величина характеризует скорость излучения звуковой энергии источником в воздушную среду.
3.19. Уровень звуковой мощности (sound power level) LW: десятикратный десятичный логарифм отношения звуковой мощности P к опорной звуковой мощности P0 (P0 = 1 пВт), выраженный в децибелах, по формуле

. (4)
Примечание 1. При измерениях с применением коррекции по одной из частотных характеристик, установленных МЭК 61672-1, или в заданной полосе частот в обозначение уровня звуковой мощности добавляют соответствующий подстрочный индекс, например, LWA обозначает корректированный по A уровень звуковой мощности.
Примечание 2. Определение содержательно совпадает со статьей 8-23 в
[23].
3.20. Звуковая энергия (sound power) J: интеграл от звуковой мощности P на заданном временном интервале T (с началом t1 и окончанием t2)

. (5)
Примечание 1. J выражают в джоулях (Дж).
Примечание 2. Данную величину обычно используют для описания нестационарных процессов и перемежающихся звуковых событий.
3.21. Уровень звуковой энергии (sound energy level) LJ: десятикратный десятичный логарифм отношения звуковой энергии J к опорной звуковой энергии J0 (J0 = 1 пДж), выраженный в децибелах, по формуле

. (6)
Примечание. При измерениях с применением коррекции по одной из частотных характеристик, установленных МЭК 61672-1, или в заданной полосе частот в обозначение уровня звуковой энергии добавляют соответствующий подстрочный индекс, например, LJA обозначает корректированный по A уровень звуковой энергии.
4. Испытательное пространство
4.1. Общие положения
Испытательным пространством, пригодным для проведения измерений в соответствии с настоящим стандартом, может быть помещение или площадка на открытом воздухе с низким фоновым шумом
(4.2) и удовлетворяющие критериям по
4.3.
Испытания не следует проводить в условиях значительного негативного воздействия на микрофоны сильных электрических и магнитных полей, ветра, воздушных струй от испытуемого источника шума, высоких или низких температур, руководствуясь инструкциями изготовителей средств измерений.
Если измерения выполняют на открытом воздухе, то необходимо минимизировать негативное воздействие атмосферных условий (температуры и влажности воздуха, ветра, осадков) на излучение и распространение звука в диапазоне частот измерений, а также на фоновый шум в процессе измерений.
Если испытания проводят на высоте более 1500 м над уровнем моря, то в результаты измерений уровней звуковой мощности и звуковой энергии должны быть внесены поправки на атмосферные условия в соответствии с ИСО 3744.
Если отражающая поверхность не является поверхностью земли или частью внутренней поверхности испытательного помещения, то следует убедиться, что эта поверхность не излучает значительный шум вследствие своей вибрации.
4.2. Требования к уровню фонового шума
Требования настоящего стандарта к фоновому шуму считают выполненными, если усредненные по точкам установки микрофонов или по траектории сканирования (см.
8.3.2) эквивалентные уровни звука фонового шума будут ниже соответствующего эквивалентного уровня звука испытуемого источника шума, измеренного при наличии фонового шума не менее чем на 3 дБ.
4.3. Требования к испытательному пространству
Метод расчета коррекции на свойства испытательного пространства K
2A, применяемой при отличии условий испытаний от идеальных, приведен в
Приложении A. Результаты измерений, выполненных в соответствии с настоящим стандартом, считают достоверными только при выполнении условия K
2A <= 7 дБ.
Примечание 1. Если K
2A > 7 дБ, то можно применить методы измерений, установленные в
[6],
[14] или
[15].
Примечание 2. В некоторых особых случаях горизонтальная поверхность испытательного пространства только частично является звукоотражающей (например, при испытаниях газонокосилок или землеройных машин некоторых типов). В соответствующем испытательном коде по шуму должны быть подробно описаны поверхность, на которую устанавливают машину при испытаниях, и возможное влияние выбора такой поверхности на неопределенность измерения.
5.1. Общие положения
В случае, если шум испытуемого источника постоянный, то допускается, чтобы измерительная система, включая микрофоны, соединительные кабели и ветрозащитные экраны, соответствовала требованиям к средствам измерений класса 2 по МЭК 61672-1. Однако предпочтительно использовать средства измерений класса 1 по МЭК 61672-1.
5.2. Калибровки
До и после каждой серии измерений проверяют калибровку каждой измерительной цепи на одной или нескольких частотах в пределах диапазона частот измерений с использованием акустического калибратора, удовлетворяющего требованиям МЭК 60942, без изменения регулировок измерительной цепи. Разность показаний до и после проведения измерений должна не превышать 0,5 дБ. Если данное требование не соблюдено, то результаты измерений считают недостоверными.
Для каждого средства измерений значение интервала между калибровками указывается в технической документации изготовителя.
6. Расположение, установка и работа
испытуемого источника шума
Способ установки испытуемого источника и условия его работы во время испытаний способны оказать существенное влияние на результаты измерений. Соблюдение требований настоящего раздела позволяет минимизировать изменчивость излучения шума источником, обусловленную способом его установки и условиями работы. При наличии испытательного кода по шуму, в котором подробно описаны условия размещения, установки и работы машин данного вида при их испытаниях, следует руководствоваться испытательным кодом. Эти условия должны быть одинаковыми при измерении уровней звукового давления излучения и уровней звуковой мощности.
Необходимо определить (особенно для крупных машин), какие именно элементы (узлы, вспомогательные устройства, источники питания и т.п.) являются неотъемлемой частью источника с точки зрения излучаемого ими шума.
6.2. Вспомогательное оборудование
Следует убедиться, что вспомогательное оборудование (кабели, трубопроводы, воздуховоды и т.п.), соединенное с испытуемым источником, не излучает значительную звуковую энергию в испытательное пространство.
По возможности все вспомогательное оборудование, необходимое для работы источника шума во время испытаний, но не составляющее его неотъемлемую часть, следует разместить за пределами испытательного пространства. Если это трудновыполнимо, то принимают меры, чтобы максимально снизить шум оборудования. При невозможности удалить вспомогательное оборудование, или существенно снизить его шум его считают составной частью испытуемого источника и с его учетом определяют размеры огибающего параллелепипеда (см.
7.1).
6.3. Расположение испытуемого источника шума
Испытуемый источник устанавливают относительно к звукоотражающей плоскости (плоскостям) или перемещают по звукоотражающей плоскости таким же образом, как и при использовании по назначению. Испытуемый источник должен находиться на достаточном удалении от стен, потолка и других отражающих объектов, чтобы выполнялись требования
Приложения A.
Типичные условия испытаний некоторых машин могут включать в себя две и более звукоотражающие поверхности (например, для машины, в условиях применения устанавливаемой у стены), свободное пространство (например, для работы грузоподъемного механизма) или вертикальную звукоотражающую плоскость с отверстием в ней (так чтобы излучение могло распространяться в обе стороны от нее). При размещении источника шума следует руководствоваться требованиями настоящего стандарта и соответствующего испытательного кода по шуму (при его наличии).
6.4.1. Общие положения
Во многих случаях условия установки источника шума на опорную поверхность существенно влияют на излучаемую звуковую мощность (звуковую энергию). Если существуют типовые способы монтажа испытуемого источника в условиях его применения, то их же по возможности следует использовать при испытаниях.
При выборе способа установки испытуемого источника следует руководствоваться рекомендациями изготовителя, если иное не установлено в испытательном коде по шуму для машин данного вида. Если типовых способов установки не существует или они не могут быть применены в испытаниях, а также при наличии нескольких допустимых способов, то следует убедиться, что выбранный способ установки не приводит к нетипичным изменениям шума данного источника. Следует выбирать такие способы, при которых вклад излучения опорной конструкции минимален.
Часто малошумные источники шума малых размеров в низкочастотной области могут при неудачном выборе способа крепления передавать значительную низкочастотную вибрацию в опорную конструкцию, обладающую хорошей акустической излучательной способностью в области низких частот. В этом случае рекомендуется использовать виброизолирующие прокладки между испытуемым источником и опорной конструкцией. При этом опорная конструкция должна быть весьма жесткой (т.е. иметь значительный входной механический импеданс), чтобы предотвратить возбуждение в ней чрезмерных колебаний, являющихся причиной ее звукового излучения. Виброизолирующие прокладки используют, только если это предусмотрено типичными условиями применения источника шума.
На звуковое излучение испытуемого источника могут также оказывать влияние условия сопряжения механизмов (например, привода и машины). Для исключения этого влияния может быть применена гибкая муфта. Применение гибкой муфты аналогично применению виброизолирующих прокладок.
6.4.2. Ручные машины и оборудование
Ручную машину при испытаниях удерживает руками оператор, или ее подвешивают таким образом, чтобы исключить передачу на нее вибрации через любые вспомогательные приспособления, не являющиеся ее частью. Если источник шума для своей работы требует опору, то опора должна быть малых размеров и рассматриваться как часть испытуемого источника. Вид опоры описывают в испытательном коде по шуму (при его наличии).
6.4.3. Машины настольные, настенные и устанавливаемые на основание
Машины данного вида при испытаниях устанавливают на звукоотражающую (акустически жесткую) поверхность (пол или стену). Машины, которые в условиях применения устанавливают на специальное основание рядом со стеной, при испытаниях устанавливают на акустически жесткую поверхность перед акустически жесткой стеной. Испытуемый настольный станок или другое настольное оборудование устанавливают на пол на расстоянии не менее 1,5 м от стены испытательного помещения, если стол или стенд не является необходимым элементом для нормальной работы машины согласно соответствующему испытательному коду по шуму. В последнем случае испытательный стол или стенд должны находиться на расстоянии не менее 1,5 м от любой звукопоглощающей поверхности испытательного пространства. Испытуемую машину устанавливают в центре стандартного испытательного стола.
Примечание. Пример испытательного стола приведен в
[18].
6.5. Работа источника шума во время испытаний
На излучаемую стационарным или движущимся источником звуковую мощность или звуковую энергию могут влиять приложенная нагрузка, рабочая скорость или скорость движения и режим работы. По возможности источник испытывают в условиях, когда его шум максимален при его типичном применении и, с другой стороны, обеспечивающих воспроизводимость результатов измерений. При наличии испытательного кода по шуму руководствуются установленными в нем требованиями к условиям работы источника, а при его отсутствии испытания проводят в одном или нескольких из следующих режимов:
a) в заданном режиме работы при заданной нагрузке;
b) при максимальной нагрузке, если она отличается от указанной в
перечислении a);
c) на холостом ходу;
d) на максимальной рабочей скорости в заданном режиме;
e) в типовом режиме работы, когда шум источника максимален;
f) в заданном режиме работы с моделируемой нагрузкой;
g) с воспроизведением типового рабочего цикла.
До проведения измерений уровня звуковой мощности или звуковой энергии, источник шума должен быть стабилизирован в заданном режиме, включая температурную стабилизацию источника питания и системы привода. Нагрузку, скорость и другие эксплуатационные характеристики в процессе испытаний либо поддерживают постоянными, либо циклически изменяют установленным образом.
Если излучение источника зависит от других факторов, таких как обрабатываемый материал или применяемый вставной инструмент, то их выбирают таким образом, чтобы они соответствовали, насколько это возможно, типичным условиям применения источника и при этом обеспечивали наименьший разброс результатов измерений. Если испытания проводят с моделированием нагрузки, то ее выбирают так, чтобы шум источника был представителен с точки зрения нормальных условий применения источника.
7. Огибающий параллелепипед и измерительная поверхность
7.1. Огибающий параллелепипед
Форму и размеры измерительной поверхности выбирают исходя из формы и размеров огибающего параллелепипеда. Последний представляет собой воображаемую поверхность в виде прямоугольного параллелепипеда наименьших размеров, полностью вмещающий в себя испытуемый источник шума за исключением, может быть, отдельных выступающих частей, про которые известно, что они не дают заметного вклада в излучаемый источником шум.
Положение огибающего параллелепипеда, измерительной поверхности и точек установки микрофонов определяют относительно системы координат, как показано на рисунке 1. Точка O начала координат является центром параллелепипеда, получаемого рядом зеркальных отражений от звукоотражающих плоскостей. Сначала отражают огибающий параллелепипед от первой (произвольно выбранной) звукоотражающей плоскости. Результатом является параллелепипед, образованный огибающим параллелепипедом и его отражением. Потом процедуру повторяют отражениями параллелепипеда, полученного на предыдущем шаге, относительно второй, а затем третьей звукоотражающей плоскости (при их наличии). Оси x и y системы координат лежат в плоскости горизонтальной звукоотражающей плоскости и параллельны соответствующим ребрам огибающего параллелепипеда. На рисунке 1 показан характеристический размер источника dO, используемый при определении размеров измерительной поверхности, для огибающих параллелепипедов в случае одной, двух и трех звукоотражающих плоскостей.

a) Одна звукоотражающая плоскость,

Рисунок 1. Огибающий параллелепипед для случаев одной,
двух и трех звукоотражающих плоскостей
b) Две звукоотражающие плоскости,

c) Три звукоотражающие плоскости,

dO - характеристический размер источника; l1, l2,
l3 - ширина, длина и высота огибающего параллелепипеда;
O - начало координат
Рисунок 1. Лист 2
7.2. Измерительная поверхность
7.2.1. Общие положения
Измерительная поверхность представляет собой воображаемую поверхность площади S, охватывающую огибающий параллелепипед и пересекающую все звукоотражающие плоскости, на которой лежат точки или кривые (места установки микрофонов или траекторий сканирования микрофоном) измерения уровней звукового давления. Измерительная поверхность может быть следующих видов:
a) полусфера, половина полусферы или четверть полусферы с измерительным радиусом r (см.
Приложение B);
b) прямоугольный параллелепипед, грани которого параллельны соответствующим граням огибающего параллелепипеда и отстоят от них на измерительное расстояние d (см.
Приложение C).
Примечание. Допускается использовать другие измерительные поверхности и точки измерений, например по ИСО 3744, если при этом обеспечивается повышенная точность измерений.
Для источника шума, устанавливаемого на подходящей открытой плоской площадке (см.
раздел 4), обычно выбирают большее измерительное расстояние и полусферическую измерительную поверхность. Для источника, устанавливаемого в испытательном пространстве с неблагоприятными акустическими условиями (например, при наличии звукоотражающих объектов или с высоким фоновым шумом), приходится выбирать уменьшенное измерительное расстояние и измерительную поверхность в виде параллелепипеда.
Если предполагается проведение испытаний для серии однотипных источников шума (например, машин одного типа или одного вида близких по размерам), то для них используют одну и ту же измерительную поверхность.
7.2.2. Ориентация микрофонов
Микрофоны на измерительной поверхности устанавливают таким образом, чтобы их рабочие оси (по МЭК 61672-1) были перпендикулярны измерительной поверхности.
Примечание. Обычно у микрофонов, предназначенных для измерений в свободном звуковом поле, рабочая ось совпадает с продольной осью корпуса микрофона (с предусилителем). Для микрофонов, предназначенных для измерений в диффузном поле, рабочая ось перпендикулярна продольной оси корпуса микрофона.
7.2.3. Полусферическая измерительная поверхность
Центр полусферической измерительной поверхности должен совпадать с началом координат O (см.
рисунок 1). Измерительный радиус r должен быть не менее удвоенного характеристического размера d
O, не менее 1 м и не более 16 м.
Для источников шума малых размеров допускается, чтобы измерительный радиус был менее 1 м, но не менее 0,5 м.
Если радиус полусферической поверхности r оказывается настолько большим, что не выполняются требования
раздела 4 к испытательному пространству, то вместо полусферической измерительной поверхности используют измерительную поверхность в виде параллелепипеда или комбинированную измерительную поверхность на основе параллелепипеда.
При наличии только одной звукоотражающей плоскости измерительная поверхность представляет собой полную полусферу площадью

(см.
8.3.5 и
8.4.4). Если испытуемый источник шума устанавливают у стены, то измерительная поверхность представляет собой половину полусферы и имеет площадь

. Если источник шума устанавливают в углу испытательного помещения, то измерительная поверхность представляет собой четверть полусферы, а ее площадь равна

.
7.2.4. Измерительная поверхность в виде параллелепипеда
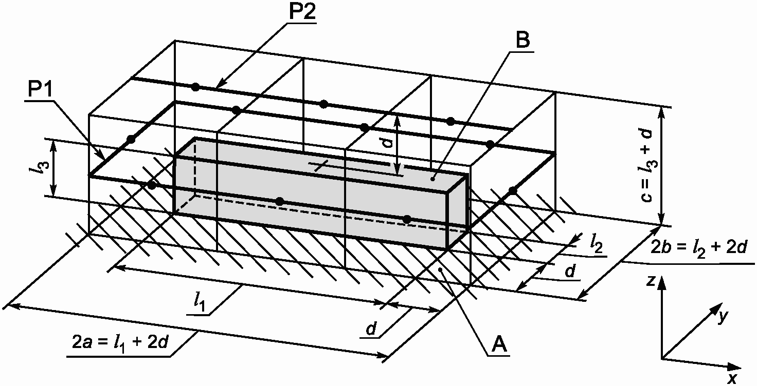
Параллелепипед, на поверхности которого проводят измерения, должен быть ориентирован относительно точки O также, как и огибающий параллелепипед. Измерительное расстояние d должно быть не менее 0,15 м, но по возможности следует выбирать его значения равными 1 м и более.
При наличии только одной звукоотражающей плоскости (см.
рисунки C.2 -
C.6) площадь S измерительной поверхности рассчитывают по формуле
S = 4(ab + bc + ca), (7)
где a = 0,5l1 + d;
b = 0,5l2 + d;
c = l3 + d;
l1, l2, l3 - длина, ширина и высота огибающего параллелепипеда соответственно.
Если испытуемый источник шума устанавливают у стены (см.
рисунок C.7), то измерительная поверхность имеет площадь, рассчитываемую по формуле
S = 2(2ab + bc + 2ca), (8)
где a = 0,5l2 + 0,5d;
b = 0,5l1 + d;
c = l3 + d;
l1 - длина огибающего параллелепипеда, определяемая по ребру, перпендикулярному к поверхности стены;
l2, l3 - ширина и высота огибающего параллелепипеда соответственно.
Если источник шума устанавливают в углу испытательного помещения (см.
рисунок C.8), то площадь измерительной поверхности рассчитывают по формуле
S = 2(2ab + bc + ca), (9)
где a = 0,5l1 + 0,5d;
b = 0,5l2 + 0,5d;
c = l3 + d;
l1, l2 - соответственно длина и ширина огибающего параллелепипеда, определяемые по ребрам, перпендикулярным к поверхностям, образующим угол стен;
l3 - высота огибающего параллелепипеда.
8. Измерения уровней звуковой мощности и звуковой энергии
8.1. Коррекция на свойства испытательного пространства
Вначале определяют коррекцию на свойства испытательного пространства K
2A согласно
Приложению A.
8.2. Расположение микрофонов на измерительной поверхности
8.2.1. Полусферическая измерительная поверхность
Если испытуемый источник расположен над одной звукоотражающей плоскостью, то микрофоны устанавливают в четырех точках измерений с номерами 4, 5, 6 и 10 (см.
рисунки B.1 и
B.2 в Приложении B), координаты которых указаны в
таблице B.1 (Приложение B).
Если испытуемый источник расположен рядом с двумя звукоотражающими плоскостями, то микрофоны устанавливают в трех точках измерений с номерами 14, 15 и 18, как указано в
таблице B.2 (см.
рисунок B.3).
| | ИС МЕГАНОРМ: примечание. В официальном тексте документа, видимо, допущена опечатка: таблица B.3 отсутствует. | |
Если испытуемый источник шума расположен рядом с тремя звукоотражающими плоскостями, то микрофоны устанавливают в трех точках измерений с номерами 14, 21 и 22, как указано в таблице B.3 (см.
рисунок B.4).
Кроме того, используют дополнительные точки измерений, если разность между максимальным и минимальным уровнями звука, полученными в результате измерений в основных точках в соответствии с
8.3.1, количественно вдвое и более превышает число точек измерений.
В качестве дополнительных точек измерений используют точки с номерами 14, 15, 16 и 20 по
таблице B.1 и на
рисунке B.2. Как вариант допускается проводить дополнительные измерения, не изменяя положение микрофонов, но последовательно поворачивая испытуемый источник с шагом 60°.
Если испытуемый источник излучает шум преимущественно в одном направлении или если этот источник имеет большие размеры, но излучает шум только через элементы относительно малых размеров, то следует рассмотреть возможность увеличения точек измерений в направлении (направлениях) максимального излучения, используя для этого методы по ИСО 3744.
8.2.2. Измерительная поверхность в виде параллелепипеда
Число микрофонов и места их установки или траектории сканирования зависят от размеров огибающего параллелепипеда l
1, l
2 и l
3, а также измерительного расстояния d. Руководство по определению числа и места точек измерений приведено в
Приложении C.
Кроме того, используют дополнительные точки измерений, если разность между максимальным и минимальным уровнями звука, полученными в результате измерений в основных точках в соответствии с
8.3.1, количественно вдвое и более превышает число точек измерений.
Число точек измерений (и соответствующих им участков измерительной поверхности равной площади) должно быть увеличено так, как показано на
рисунке C.1 (Приложение C).
Если испытуемый источник излучает преимущественно в одном направлении или если он имеет большие размеры, но излучает только через элементы относительно малых размеров, то следует рассмотреть необходимость увеличения числа точек измерений в направлении (направлениях) максимального излучения, используя для этого методы по ИСО 3744.
8.2.3. Уменьшение числа точек измерений
Число точек измерений может быть уменьшено, если предварительными исследованиями для источника шума данного вида установлено, что результат измерения усредненного по измерительной поверхности уровня звукового давления с использованием меньшего числа точек не будет отличаться от измеренного с использованием всех точек в соответствии с
8.2.1 и
8.2.2 более чем на 1 дБ. Это может иметь место, например, если звуковое поле излучения обладает симметрией.
Примечание. По соображениям безопасности наиболее высоко расположенные на измерительной поверхности точка или точки измерений могут быть исключены, если это предусмотрено соответствующим испытательным кодом по шуму.
8.3. Определение уровня звуковой мощности
8.3.1. Измерения эквивалентного уровня звука
В каждой точке установки микрофона i, i = 1, 2,..., n, измеряют эквивалентный уровень звука

испытуемого источника в каждом выбранном в соответствии с
6.5 режиме работы источника. При выборе продолжительности измерений учитывают характер шума источника. Продолжительность измерений указывают в протоколе испытаний. Продолжительность измерений должна быть не менее 10 с, если иное не указано в испытательном коде по шуму для машин данного вида.
Непосредственно до или сразу после измерений

в тех же точках измеряют эквивалентный уровень звука фонового шума

при той же продолжительности измерений.
8.3.2. Вычисление среднего на измерительной поверхности эквивалентного уровня звука
В случае, когда точкам установки микрофонов соответствуют участки измерительной поверхности равной площади, средний на измерительной поверхности эквивалентный уровень звука

испытуемого источника, работающего в заданном режиме, дБ, вычисляют по формуле

, (10)
где

- эквивалентный уровень звука в i-й точке установки микрофона или для i-й траектории сканирования при работающем испытуемом источнике шума, дБ;
NM - число точек установки микрофонов или траекторий сканирования.
Средний на измерительной поверхности эквивалентный уровень звука фонового шума

, дБ, вычисляют по формуле

, (11)
где Lpi(B) - эквивалентный уровень звука фонового шума в i-й точке установки микрофона или для i-й траектории сканирования, дБ;
NM - число точек установки микрофонов или траекторий сканирования.
Проверяют в соответствии с
4.2, выполнен ли критерий по фоновому шуму.
Если согласно
8.2.1 или
8.2.2 используются дополнительные точки измерений для более подробного описания звукового поля на отдельных участках измерительной поверхности, то усреднение по измерительной поверхности выполняют согласно ИСО 3744.
8.3.3. Коррекция на фоновый шум
Коррекцию на фоновый шум K1A, дБ, рассчитывают по формуле

, (12)
где

;

- средний на измерительной поверхности эквивалентный уровень звука при работающем испытуемом источнике шума, дБ;
LpA(B) - средний на измерительной поверхности эквивалентный уровень звука фонового шума, дБ.
| | ИС МЕГАНОРМ: примечание. Текст абзаца дан в соответствии с официальным текстом документа. | |
Если

10 дБ, то K
1A полагают равным нулю.
Коррекцию K
1A, рассчитанную по
формуле (12), используют, если

.
Если

, то это приводит к снижению точности измерений. В этом случае коррекцию K
1A принимают равной 3 дБ (соответствует

), и в тексте протокола испытаний, в табличном или графическом представлении результатов измерений указывают, что приведенные для таких полос данные представляют собой верхнюю оценку уровня звуковой мощности источника шума.
8.3.4. Расчет эквивалентного уровня звука на измерительной поверхности
Эквивалентный уровень звука на поверхности

, дБ, получают, вычитая коррекции на фоновый шум K
1A, дБ (см.
8.3.3), и на свойства испытательного пространства K
2A, дБ [см.
формулу (A.1)], из значения

по формуле

. (13)
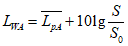
8.3.5. Расчет уровня звуковой мощности
Корректированный по A уровень звуковой мощности LWA, дБ, для атмосферных условий, имевших место во время испытаний, вычисляют по формуле

, (14)
где

- эквивалентный уровень звука на измерительной поверхности, дБ;
S - площадь измерительной поверхности, м2;
S0 = 1 м2.
8.4. Определение уровня звуковой энергии
8.4.1. Измерения уровня экспозиции давления однократного шумового процесса
В каждой точке установки микрофона измеряют уровень экспозиции однократного шумового процесса

, i = 1, 2,..., N
M испытуемого источника шума. Измерения проводят либо один раз на интервале времени, когда однократный шумовой процесс повторяется N
e раз, либо N
e раз для отдельных шумовых процессов (N
e >= 5). Измерения проводят одновременно во всех точках установки микрофонов на периоде, включающем в себя весь однократный шумовой процесс. Сканирование микрофоном при измерениях уровня экспозиции однократного шумового процесса не применяют.
Примечание. Требование одновременности измерений во всех точках может не исполняться, если однократный шумовой процесс обладает хорошей повторяемостью.
Непосредственно до или сразу после измерений

в тех же точках измеряют эквивалентный уровень звука фонового шума

при той же продолжительности измерений.
8.4.2. Коррекция на фоновый шум
Коррекцию на фоновый шум K1A, дБ, рассчитывают по формуле

, (15)
где

;

- средний на измерительной поверхности уровень экспозиции однократного шумового процесса при работающем испытуемом источнике шума, дБ;

- средний на измерительной поверхности эквивалентный уровень звука фонового шума, дБ.
Время интегрирования T = t
2 - t
1 и другие параметры измерений при определении L
pA(B) должны быть теми же, что и при определении

.
Если

, то K
1A полагают равным нулю.
Коррекцию K
1A, рассчитанную по
формуле (15), используют, если

.
Если

, то это приводит к снижению точности измерений. В этом случае коррекцию K
1A принимают равной 3 дБ (соответствует

), и в тексте протокола испытаний, в табличном или графическом представлении результатов измерений указывают, что приведенные для таких полос данные представляют собой верхнюю оценку уровня звуковой энергии источника шума.
8.4.3. Расчет уровня экспозиции однократного шумового процесса по измерительной поверхности
Если уровни экспозиции однократного шумового процесса измеряют N
e раз для каждого одиночного процесса в i-й точке установки микрофона, то средний по этим измерениям уровень экспозиции однократного шумового процесса

, дБ, рассчитывают по формуле

, (16)
где

- полученный в q-м измерении (q = 1, 2,..., N
e) уровень экспозиции однократного шумового процесса в i-й точке установки микрофона при работающем испытуемом источнике шума, дБ;
Ne - число измерений однократного шумового процесса.
Если уровень экспозиции однократного шумового процесса был измерен в i-й точке установки микрофона один раз для последовательности, включающей N
e одиночных процессов, то значение

, дБ, рассчитывают по формуле

, (17)
где

- измеренный уровень экспозиции в i-й точке установки микрофона при работающем испытуемом источнике шума по измерениям последовательности, включающей N
e одиночных однократных шумовых процессов, дБ;
Ne - число однократных шумовых процессов в измеряемой последовательности.
Измеренные в разных точках измерительной поверхности уровни экспозиции однократного шумового процесса

, дБ, усредняют по точкам измерений для расчета

, дБ, согласно
8.3.2.
Уровень экспозиции однократного шумового процесса на поверхности

, дБ, получают, вычитая коррекции на фоновый шум K
1A, дБ (см.
8.3.3), и на свойства испытательного пространства K
2A, дБ [см.
формулу (A.1)], из значения

по формуле

. (18)
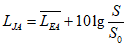
8.4.4. Расчет уровня звуковой энергии
Корректированный по A уровень звуковой энергии LJA, дБ, для атмосферных условий во время испытаний вычисляют по формуле

, (19)
где

- эквивалентный уровень звукового давления однократного шумового процесса на измерительной поверхности, дБ;
S - площадь измерительной поверхности, м2;
S0 = 1 м2.
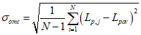
9. Неопределенность измерения
Стандартные неопределенности уровня звуковой мощности u(LW), дБ, и уровня звуковой энергии u(LJ), дБ, определяют в соответствии с настоящим стандартом как общее стандартное отклонение

. (20)
Общее стандартное отклонение рассчитывают на основании модели измерений в соответствии с Руководством ИСО/МЭК 98-3. При отсутствии необходимых сведений, позволяющих построить такую модель, прибегают к результатам сопоставительных измерений, выполненных в условиях воспроизводимости.
Тогда общее стандартное отклонение

определяют через стандартное отклонение воспроизводимости

и стандартное отклонение

, характеризующее нестабильность условий работы и установки испытуемого источника шума:

. (21)
Из
формулы (21) видно, что, прежде чем выбрать метод измерений заданного класса точности (характеризуемой

) для данного семейства машин, необходимо учесть возможный разброс результатов, обусловленный изменениями условий работы и установки этих машин (см.
9.5 и
раздел D.3).
Примечание. Результаты измерений, выполненные разными методами, установленными стандартами серии ИСО 3740, могут быть смещены друг относительно друга.
Расширенную неопределенность измерения U определяют через общее стандартное отклонение

по формуле

, (22)
где k - коэффициент охвата. В предположении, что результат измерений может быть описан нормально распределенной случайной величиной, коэффициент охвата k принимают равным двум, что приблизительно соответствует вероятности охвата 95%. Это означает, что интервалу охвата от (LW - U) до (LW + U) для уровня звуковой мощности или от (LJ - U) до (LJ + U) для уровня звуковой энергии будет соответствовать 95% площади под кривой плотности распределения случайной величины.
Если полученное в результате измерений значение уровня звуковой мощности (звуковой энергии) предполагается сопоставлять с неким предельным значением, то иногда более уместно может быть определить односторонний интервала охвата для указанной случайной величины. В этом случае при том же уровне доверия 95% значение коэффициента охвата будет равно k = 1,6.
9.2. Определение

Стандартное отклонение

[см.
формулу (D.1) в Приложении D], характеризующее неопределенность, связанную с нестабильностью воспроизведения условий работы и установки источника шума для испытаний может давать существенный вклад в неопределенность измерения уровня звуковой мощности (звуковой энергии). Для получения оценки

можно провести серию повторных измерений для одного и того же источника шума в одном и том же месте размещения одним и тем же испытателем, используя одну и ту же измерительную систему и одну и ту же точку (или точки) измерений. Повторные измерения

выполняют в точке измерений, где значение этой величины максимально, или определяют

. К полученным результатам применяют коррекцию на фоновый шум. Перед каждым повторным измерением испытуемый источник устанавливают заново и заново устанавливают необходимый режим работы. Если испытания проводят для единственного экземпляра источника шума, то полученное по повторным измерениям выборочное стандартное отклонение обозначают

. В соответствующем испытательном коде по шуму может быть приведена оценка

для семейства машин. Можно ожидать, что такая оценка была получена с учетом всех возможных источников вариативности в установке и условиях работы, на которые распространяется данный испытательный код.
Примечание. Если звуковая мощность мало изменяется в процессе повторных измерений, а измерения проведены правильно, то величине

можно приписать значение 0,5 дБ. В других случаях, например, когда на шум испытуемого источника существенное влияние оказывает обрабатываемый или производимый материал, а также при непредсказуемых изменениях в потреблении или производстве материала, подходящей оценкой

можно считать 2 дБ. Но в особых случаях очень сильной зависимости шума от свойств обрабатываемого материала (когда испытуемым источником шума являются такие машины, как камнедробилки, металлорежущие станки или прессы, работающие под нагрузкой) эта величина может достигать 4 дБ.
9.3. Определение

9.3.1. Общие положения
Стандартное отклонение

характеризует все источники неопределенности, которые могут оказать влияние на результаты измерений, проводимых в соответствии с настоящим стандартом (различия в характеристиках излучения источников шума, в применяемых средствах измерений), за исключением нестабильности звуковой мощности источника шума (последний фактор характеризуется значением

).
| | ИС МЕГАНОРМ: примечание. В официальном тексте документа, видимо, допущена опечатка: таблица 2 отсутствует. | |
Обобщение накопленного к данному времени опыта испытаний позволило установить оценки

, которые приведены в таблице 2. Эти оценки можно считать верхними оценками для большинства машин и оборудования, на которое распространяется настоящий стандарт. Для машин конкретного вида могут быть получены уточненные оценки путем проведения межлабораторных сравнительных испытаний (см. 9.3.2) или путем использования математического моделирования (см.
9.3.3). Такие оценки приводят в испытательных кодах по шуму для машин конкретных видов (см.
9.2 и
Приложение D).
9.3.2. Межлабораторные сравнительные испытания
Межлабораторные испытания для определения

проводят в соответствии с ИСО 5725, когда уровни звуковой мощности источника шума определяют в условиях воспроизводимости, т.е. с участием разных специалистов, проводящих измерения в разных местах расположения источника шума разными средствами измерений. Такой эксперимент позволяет получить оценку

общего стандартного отклонения для источника шума, рассылаемого лабораториям - участникам эксперимента. Предполагается, что в межлабораторных испытаниях будет обеспечена вариативность всех существенных факторов, которые могут оказать влияние на результат измерений звуковой мощности данного источника шума.
Полученная в результате межлабораторных испытаний оценка

, дБ, включает в себя оценку

, дБ, что позволяет получить оценку

по формуле

. (23)
Если оценки

, полученные в результате испытаний разных экземпляров источника шума данного вида, незначительно отличаются, то их среднее можно рассматривать как оценку

для всех источников шума данного вида в измерениях, проводимых в соответствии с настоящим стандартом. Такую оценку (вместе с оценкой

) следует по возможности указывать в испытательном коде по шуму и использовать для заявления значения шумовой характеристики машин.
Если межлабораторные испытания не проводились, то для реалистической оценки

используют накопленные знания об измерениях шума машин данного вида.
Иногда затраты на проведение межлабораторных испытаний можно сократить, исключив требование проведения измерений в разных местах расположения источника шума. Это можно сделать, например, если источник шума обычно устанавливают в условиях, когда коррекции на фоновый шум K
1 и на свойства испытательного пространства K
2 невелики, или если целью испытаний является подтверждение значения шумовой характеристики машины при ее работе в заданном месте расположения. Оценку, полученную в этих условиях ограниченной вариативности, обозначают

и используют в испытаниях крупногабаритных стационарно устанавливаемых машин. Следует ожидать, что полученные значения

будут ниже приведенных в
таблице 1.
Оценки

, полученные по
формуле (23), малодостоверны, если

незначительно превышает

. Достаточно надежные оценки

будут только в том случае, если

не превышает

.
9.3.3. Расчет

на основе математической модели
Обычно

зависит от нескольких факторов, дающих вклады c
iu
i (i = 1, 2,..., n) в общую неопределенность измерения уровня звуковой мощности (звуковой энергии). Такими факторами, в частности, являются применяемые средства измерений, коррекция на условия окружающей среды и местоположения микрофонов. Если предположить, что данные факторы влияют на общую неопределенность независимо друг от друга, то оценку

можно представить в виде (см. Руководство ИСО/МЭК 98-3)

. (24)
В
формулу (24) не входят неопределенности, связанные с нестабильностью излучения источника (поскольку они учтены в

). Источники неопределенности, дающие вклад в общую неопределенность измерения уровня звуковой мощности (звуковой энергии), рассматриваются в
Приложении D.
Примечание. Если источники неопределенности, входящие в модель измерений, коррелированы, то
формулу (24) применять нельзя. Кроме того, расчет на основе математической модели требует дополнительной информации, чтобы определить вклады c
iu
i всех составляющих в
формуле (24).
В противоположность этому оценки

, получаемые в результате межлабораторных испытаний, не требуют каких-либо дополнительных предположений о возможной корреляции источников неопределенности, входящих в
формулу (24). Оценки по результатам межлабораторных испытаний в общем случае являются более устойчивыми, чем полученные на основе математических моделей. Однако проведение межлабораторных испытаний не всегда осуществимо и зачастую их приходится заменять обобщением опыта прошлых измерений.
9.4. Типичные оценки

В таблице 1 приведены типичные верхние оценки стандартного отклонения

для технического метода измерения шума, которые могут применяться для большинства измерений, проводимых в соответствии с настоящим стандартом (см.
[27],
[28]). В особых случаях, а также когда требования настоящего стандарта не могут быть в полном объеме соблюдены для машин определенного вида или когда ожидается, что для машин данного вида

должно быть меньше значений, указанных в таблице 1, для уточнения оценки

рекомендуется проведение межлабораторных испытаний.
Таблица 1
Типичные верхние оценки

для измерений уровней
звуковой мощности (звуковой энергии), проводимых
в соответствии с настоящим стандартом
Характеристика источника шума | Стандартное отклонение воспроизводимости  , дБ |
Источник шума, не содержащего значительных тональных составляющих | 3 |
Источник шума, содержащего значительные тональные составляющие | 4 |
9.5. Общее стандартное отклонение

и расширенная неопределенность U
Общее стандартное отклонение

и расширенную неопределенность U рассчитывают по
формулам (21) и
(22) соответственно.
Пример - Ориентировочный метод измерений;

; k = 2; в результате измерения получено L
WA = 82 дБ. Определение

для машин данного вида выполнено не было, поэтому использовано значение

из
таблицы 1 
. По
формулам (21) и
(22) получаем

.
Дополнительные примеры расчета

приведены в
разделе D.3 (Приложение D).
Примечание. Расширенная неопределенность, определяемая по
формуле (22), не включает в себя стандартное отклонение производства, использованного в
[7] в целях определения и заявления значений шумовой характеристики для партии машин.
10. Регистрируемая информация
10.1. Общие положения
Для всех измерений, выполненных в соответствии с настоящим стандартом, должна быть получена и зарегистрирована информация, указанная в 10.2 -
10.5.
10.2. Испытуемый источник шума
Приводят следующие сведения:
a) общие данные об испытуемом источнике шума (изготовитель, наименование и вид, тип, технические данные, габаритные размеры, порядковый номер по системе нумерации изготовителя, год выпуска);
b) вспомогательное оборудование и способ его использования при испытаниях;
c) режимы работы при испытаниях и продолжительность измерений в каждом режиме;
d) условия установки испытуемого источника шума;
e) место расположения (расположения) источника шума в испытательном пространстве во время испытаний.
10.3. Акустические условия
Приводят следующие сведения:
a) описание испытательного пространства:
1) если испытания проводят в помещении - тип здания; конструкция и покрытие стен, пола и потолка; схема с указанием расположения испытуемого источника шума и других предметов в помещении;
2) если испытания проводят на открытом воздухе - описание звукоотражающей плоскости и прилегающей территории; схема с указанием расположения испытуемого источника шума;
3) описание дополнительных звукоотражающих поверхностей (стен);
b) результаты проверки пригодности испытательного пространства, выполненной в соответствии с
Приложением A.
10.4. Средства измерений
Приводят следующие сведения:
a) данные об измерительной аппаратуре (изготовитель, наименование, тип, порядковый номер по системе нумерации изготовителя);
b) дату и место калибровки (поверки), методы калибровки акустического калибратора, результаты проверки калибровки до и после проведения измерений, данные калибровки образцового источника шума (при его применении);
c) характеристики ветрозащитного экрана микрофона (при его применении).
10.5. Результаты измерений
Приводят следующие общие сведения:
a) размеры огибающего параллелепипеда l1, l2 и l3, форма измерительной поверхности, измерительный радиус r или измерительное расстояние d;
b) расположение точек измерений или траекторий сканирования микрофоном (с приложением, при необходимости, схем) с указанием связанных с ними участков измерительной поверхности неравной площади.
Указывают следующие сведения для каждого режима работы испытуемого источника шума в условиях измерений:
c) все результаты измерений эквивалентных уровней звукового давления (эквивалентных уровней звукового давления однократного шумового процесса) испытуемого источника шума и фонового шума;
d) коррекцию(и), в децибелах, на фоновый шум;
e) коррекцию(и), в децибелах, на свойства испытательного пространства с указанием метода ее определения согласно
Приложению A;
f) средние на измерительной поверхности эквивалентные уровни звука (уровни экспозиции однократного шумового процесса), в децибелах, для испытуемого источника шума и для фонового шума;
g) корректированные по A уровни звуковой мощности (звуковой энергии), в децибелах, округленные с точностью до 0,1 дБ. Дополнительно возможно представление данных характеристик в графическом виде.
Примечание. Согласно
[13] заявляемые корректированные по A уровни звуковой мощности L
WAd компьютеров и офисной техники выражают в белах (1 Б = 10 дБ);
h) расширенную неопределенность измерений, использованное значение коэффициента охвата и соответствующую вероятность охвата;
i) дату и время проведения измерений.
В протоколе испытаний указывают ту зарегистрированную в соответствии с
разделом 10 информацию, которая необходима в целях измерений. В протокол включают также все положения, необходимость которых указана в разделах настоящего стандарта. Если значения уровней звуковой мощности или звуковой энергии были получены в полном соответствии с требованиями настоящего стандарта, то соответствующая запись должна быть сделана в протоколе испытаний. Если при проверке соблюдения условий настоящего стандарта одна или несколько проверяемых акустических характеристик выходит за установленные предельные значения, то в протокол вносят запись о том, что измерения были проведены в соответствии с требованиями настоящего стандарта, за исключением указываемых в протоколе. При этом в протоколе не допускается прямо или неявно указывать на то, что испытания проведены в полном соответствии с настоящим стандартом.
(обязательное)
ОПРЕДЕЛЕНИЕ КОРРЕКЦИИ НА СВОЙСТВА
ИСПЫТАТЕЛЬНОГО ПРОСТРАНСТВА
Метод, рассматриваемый в настоящем Приложении, применим только для испытательных помещений, длина и ширина которых не превышают утроенную высоту потолка.
Примечание. Допускается также применение процедур в соответствии с ИСО 3744.
Коррекцию на свойства испытательного пространства K2A, дБ, рассчитывают по формуле

, (A.1)
где A - эквивалентная площадь звукопоглощения испытательного помещения, м2;
S - площадь измерительной поверхности, м2.
Чтобы учесть акустические свойства испытательного пространства, в
формулу (A.1) подставляют значение эквивалентной площади звукопоглощения A, м
2, рассчитанное по формуле

, (A.2)
где

- средний коэффициент звукопоглощения, взятый из
таблицы A.1;
SV - общая площадь внутренних поверхностей испытательного помещения (пола, стен и потолка), м2.
Таблица A.1
Приближенные значения среднего
коэффициента звукопоглощения

Средний коэффициент звукопоглощения a | Описание помещения |
0,05 | Практически пустое помещение с гладкими жесткими стенами из бетона, кирпича, оштукатуренными или покрытыми облицовочной плиткой |
0,10 | Частично заполненное помещение; помещение с гладкими стенами |
0,20 | Помещение с обстановкой, машинный зал или производственное помещение, форма которых значительно отличается от кубической |
0,25 | Помещение с мягкой мебелью, машинный зал или производственное помещение, потолок или стены которых частично покрыты звукопоглощающим материалом |
0,30 | Помещение со звукопоглощающим покрытием потолка, но не стен |
0,35 | Помещение со звукопоглощающими покрытиями потолка и стен |
0,50 | Помещение, потолок и стены которого покрыты с применением большого количества звукопоглощающего материала |
(обязательное)
ТОЧКИ ИЗМЕРЕНИЙ НА ПОЛУСФЕРИЧЕСКОЙ ИЗМЕРИТЕЛЬНОЙ ПОВЕРХНОСТИ
B.1. Основные и дополнительные точки измерений
Четыре основных точки установки микрофонов с номерами 4, 5, 6 и 10, которым соответствуют участки измерительной поверхности равной площади, показаны на
рисунках B.1 и
B.2. Их координаты в системе координат, определенной в
7.1, указаны в таблице B.1. Четыре дополнительные точки измерений с номерами 14, 15, 16 и 20 показаны на
рисунке B.2. Их координаты приведены в таблице B.1.
Таблица B.1
Точки измерений для источника шума
над звукоотражающей плоскостью (r - радиус
полусферической измерительной поверхности)
Номер точки | x/r | y/r | z/r |
4 | -0,45 | 0,77 | 0,45 |
5 | -0,45 | -0,77 | 0,45 |
6 | 0,89 | 0 | 0,45 |
10 | 0 | 0 | 1 |
14 | 0,45 | -0,77 | 0,45 |
15 | 0,45 | 0,77 | 0,45 |
16 | -0,89 | 0 | 0,45 |
20 | 0 | 0 | 1 |
Примечание. Точки 10 и 20 в вершине полусферы совпадают и могут быть опущены, если такая возможность допускается соответствующим испытательным кодом по шуму для машин данного вида. |
Примечание. Точки измерений, указанные в
таблице B.1, совпадают с соответствующими точками, указанными в ИСО 3744 для испытаний источников широкополосного шума.

- основные точки установки микрофонов; A - измерительная
поверхность; B - огибающий параллелепипед; r - радиус
измерительной поверхности; l1, l2, l3 - длина, ширина
и высота огибающего параллелепипеда
Рисунок B.1. Основные точки установки микрофонов
на полусферической измерительной поверхности

- основные точки установки микрофонов;

- дополнительные точки установки микрофонов;
A - измерительная поверхность; B - огибающий
параллелепипед; r - радиус измерительной поверхности
Рисунок B.2. Точки установки микрофонов
на полусферической измерительной поверхности
B.2. Точки измерений для источников шума, устанавливаемых рядом с двумя звукоотражающими плоскостями
Точки измерений на измерительной поверхности в случае установки источника шума рядом с двумя звукоотражающими плоскостями имеют номера 14, 15 и 18 и показаны на
рисунке B.3. Координаты этих точек указаны в таблице B.2. Радиус r измерительной поверхности должен быть не менее 3 м.
Таблица B.2
Точки измерений для источников, устанавливаемых
рядом с двумя или тремя звукоотражающими плоскостями
Номер точки | x/r | y/r | z/r |
14 | 0,45 | -0,77 | 0,45 |
15 | 0,45 | 0,77 | 0,45 |
18 | 0,66 | 0 | 0,75 |
21 | 0,77 | -0,45 | 0,45 |
22 | 0,47 | -0,47 | 0,75 |

- точки установки микрофонов; A - измерительная
поверхность; B - огибающий параллелепипед;
r - радиус измерительной поверхности
Рисунок B.3. Точки установки микрофонов
на полусферической измерительной поверхности
в случае двух звукоотражающих плоскостей
B.3. Точки измерений для источников шума, устанавливаемых рядом с тремя звукоотражающими плоскостями
Точки измерений на измерительной поверхности в случае установки источника шума рядом с тремя звукоотражающими плоскостями имеют номера 14, 21 и 22 и показаны на рисунке B.4. Координаты этих точек указаны в
таблице B.2. Радиус r измерительной поверхности должен быть не менее 3 м.

- точки установки микрофонов; A - измерительная
поверхность; B - огибающий параллелепипед;
r - радиус измерительной поверхности
Рисунок B.4. Точки установки микрофонов
на полусферической измерительной поверхности
в случае трех звукоотражающих плоскостей
(обязательное)
ТОЧКИ ИЗМЕРЕНИЙ НА ИЗМЕРИТЕЛЬНОЙ
ПОВЕРХНОСТИ В ВИДЕ ПАРАЛЛЕЛЕПИПЕДА
C.1. Точки измерений в случае одной звукоотражающей плоскости
Каждую из пяти плоскостей измерительной поверхности (граней параллелепипеда) рассматривают по отдельности и разбивают на минимальное число равных участков с максимальной длиной 3d, где d - измерительное расстояние по
3.10 (см. рисунок C.1). Микрофоны располагают в центре этих участков. Примеры расположения точек измерений показаны на
рисунках C.2 -
C.6.

- точки установки микрофонов;
d - измерительное расстояние
Рисунок C.1. Точки установки микрофонов
на измерительной поверхности в виде параллелепипеда

- точки установки микрофонов; A - звукоотражающая
плоскость; B - огибающий параллелепипед; 2a - длина
параллелепипеда измерительной поверхности; 2b - ширина
параллелепипеда измерительной поверхности; c - высота
параллелепипеда измерительной поверхности; d - измерительное
расстояние; l1 - длина огибающего параллелепипеда; l2 -
ширина огибающего параллелепипеда; l3 - высота огибающего
параллелепипеда; P1, P2 - траектории сканирования
Рисунок C.2. Пример измерительной поверхности, точек
установки микрофонов и траекторий сканирования
при испытаниях машин малых размеров
(l1 <= d, l2 <= d, l3 <= 2d)

- точки установки микрофонов; A - звукоотражающая
плоскость; B - огибающий параллелепипед; 2a - длина
параллелепипеда измерительной поверхности; 2b - ширина
параллелепипеда измерительной поверхности; c - высота
параллелепипеда измерительной поверхности; d - измерительное
расстояние; l1 - длина огибающего параллелепипеда; l2 -
ширина огибающего параллелепипеда; l3 - высота огибающего
параллелепипеда; P1, P2, P3 - траектории сканирования
Рисунок C.3. Пример измерительной поверхности, точек
установки микрофонов и траекторий сканирования
при испытаниях высоких машин с малой площадью основания
(l1 <= d, l2 <= d, 2d < l3 <= 5d)

- точки установки микрофонов; A - звукоотражающая
плоскость; B - огибающий параллелепипед; 2a - длина
параллелепипеда измерительной поверхности; 2b - ширина
параллелепипеда измерительной поверхности; c - высота
параллелепипеда измерительной поверхности; d - измерительное
расстояние; l1 - длина огибающего параллелепипеда; l2 -
ширина огибающего параллелепипеда; l3 - высота огибающего
параллелепипеда; P1, P2 - траектории сканирования
Рисунок C.4. Пример измерительной поверхности, точек
установки микрофонов и траекторий сканирования
при испытаниях длинных машин
(4d < l1 <= 7d, l2 <= d, l3 <= 2d)

- точки установки микрофонов; A - звукоотражающая
плоскость; B - огибающий параллелепипед; 2a - длина
параллелепипеда измерительной поверхности; 2b - ширина
параллелепипеда измерительной поверхности; c - высота
параллелепипеда измерительной поверхности; d - измерительное
расстояние; l1 - длина огибающего параллелепипеда; l2 -
ширина огибающего параллелепипеда; l3 - высота огибающего
параллелепипеда; P1, P2, P3 - траектории сканирования
Рисунок C.5. Пример измерительной поверхности, точек
установки микрофонов и траекторий сканирования
при испытаниях машин средних размеров
(d < l1 <= 4d, d < l2 <= 4d, 2d <= l3 <= 5d)

- точки установки микрофонов; A - звукоотражающая
плоскость; B - огибающий параллелепипед; 2a - длина
параллелепипеда измерительной поверхности; 2b - ширина
параллелепипеда измерительной поверхности; c - высота
параллелепипеда измерительной поверхности; d - измерительное
расстояние; l1 - длина огибающего параллелепипеда; l2 -
ширина огибающего параллелепипеда; l3 - высота огибающего
параллелепипеда; P1, P2, P3 - траектории сканирования
Рисунок C.6. Пример измерительной поверхности, точек
установки микрофонов и траекторий сканирования
при испытаниях машин больших размеров
(4d < l1 <= 7d, d < l2 <= 4d, 2d < l3 <= 5d)
C.2. Точки измерений в случае двух или трех звукоотражающих плоскостей
Для случая двух или трех звукоотражающих плоскостей точки установки микрофонов выбирают так, как показано на рисунках C.7 и
C.8.

- точки установки микрофонов; B - огибающий
параллелепипед; 2a - длина параллелепипеда измерительной
поверхности; 2b - ширина параллелепипеда измерительной
поверхности; c - высота параллелепипеда измерительной
поверхности; d - измерительное расстояние; l1 - длина
огибающего параллелепипеда; l2 - ширина огибающего
параллелепипеда; l3 - высота огибающего параллелепипеда;
S - площадь измерительной поверхности, S = 2(2ab + bc + 2ca)
Рисунок C.7. Измерительная поверхность в виде
параллелепипеда с четырьмя точками установки микрофонов
при испытаниях устанавливаемых на полу источников шума
в случае двух звукоотражающих плоскостей

- точки установки микрофонов; B - огибающий
параллелепипед; 2a - длина параллелепипеда измерительной
поверхности; 2b - ширина параллелепипеда измерительной
поверхности; c - высота параллелепипеда измерительной
поверхности; d - измерительное расстояние; l1 - длина
огибающего параллелепипеда; l2 - ширина огибающего
параллелепипеда; l3 - высота огибающего параллелепипеда;
S - площадь измерительной поверхности, S = 2(2ab + bc + ca)
Рисунок C.8. Измерительная поверхность в виде
параллелепипеда с тремя точками установки микрофонов
при испытаниях устанавливаемых на полу источников шума
в случае трех звукоотражающих плоскостей
(рекомендуемое)
ПО ПРИМЕНЕНИЮ ИНФОРМАЦИИ ДЛЯ РАСЧЕТА
НЕОПРЕДЕЛЕННОСТИ ИЗМЕРЕНИЯ
Общий формат представления неопределенности измерения установлен Руководством ИСО/МЭК 98-3. Он предполагает составление бюджета неопределенности, в котором идентифицированы основные источники неопределенности и их вклад в суммарную стандартную неопределенность.
Целесообразно разделить все источники неопределенности на две группы:
a) присущие методу измерений;
b) обусловленные нестабильностью излучаемого шума.
В настоящем Приложении приведены основанные на современном уровне знаний рекомендации по применению подхода Руководства ИСО/МЭК 98-3 к измерениям, проводимым в соответствии с настоящим стандартом.
D.2. Определение общего стандартного отклонения

Характеристикой неопределенности измерения, проводимого в соответствии с настоящим стандартом, является расширенная неопределенность U, непосредственно получаемая из общего стандартного отклонения

[см.
формулу (22)], которое рассматривается как аппроксимация стандартной неопределенности u(L
W).
В свою очередь,

определяется двумя разными по своей природе составляющими,

и

[см.
формулу (21)].
Оценки

и

предполагаются статистически независимыми и определяются по отдельности.
Стандартное отклонение

, характеризующее излучение конкретной машины, не может быть рассчитано теоретически и поэтому определяется экспериментально (см. раздел D.3). Составляющая

рассматривается в
разделе D.4.
D.3. Определение стандартного отклонения

Стандартное отклонение

, дБ (см.
9.2), рассчитывают по формуле

, (D.1)
где Lpj - корректированный на фоновый шум уровень звукового давления, полученный в j-м повторном измерении в заданной точке при заданных условиях установки и работы источника шума, дБ;
Lpav - среднее арифметическое Lpj по всем повторным измерениям.
Измерения для определения

проводят в точке установки микрофона, где уровень звукового давления максимален. Если используют усреднение по всем точкам измерения, то в
формуле (D.1) L
pj и L
pav заменяют на

и

соответственно.
В общем случае условия установки и работы машины при измерениях значения ее шумовой характеристики определяются испытательным кодом по шуму. При его отсутствии эти условия должны быть точно определены до проведения испытаний и зафиксированы в протоколе испытаний. Ниже приводятся некоторые рекомендации по определению таких условий и их возможному влиянию на

.
Условия работы при испытаниях должны соответствовать нормальному применению машины согласно рекомендациям изготовителя и практике пользователя. Однако даже при заданных нормальных условиях работы машины возможны некоторые вариации в режимах работы, обрабатываемом, потребляемом или производимом материале, между различными циклами работы машины и пр. Стандартное отклонение

характеризует неопределенность, связанную как с изменчивостью долговременных условий работы (например, день ото дня), так и изменения излучаемого шума после повторной установки и пуска машины.
Если машину в любых условиях ее применения устанавливают на пружинах, или на твердый массивный пол, то условия установки будут слабо влиять на результаты измерений. Однако если при испытаниях машину устанавливают на твердый массивный пол, а в условиях применения используют другую опору, то шум машины может различаться весьма сильно. Составляющая неопределенности, обусловленная установкой машины, будет наибольшей, если машина соединена со вспомогательным оборудованием. Также эта составляющая неопределенности будет велика в случае ручных машин. Необходимо исследовать, как перемещения машины или ее крепления влияют на ее шум. Если необходимо заявить значение шумовой характеристики машины для разных способов ее установки и крепления, то

оценивают по результатам измерений при всех возможных способах установки. Если влияние условий установки машины на ее шум известно, то в испытательном коде по шуму или в методике, применяемой пользователем, должен быть определен рекомендуемый способ установки машины при испытаниях.
| | ИС МЕГАНОРМ: примечание. В официальном тексте документа, видимо, допущена опечатка: таблица 2 отсутствует. | |
С точки зрения важности вклада тех или иных источников неопределенности в

исследования для определения

имеют большее значение, чем связанные с определением

[см.
формулу (21)]. Это объясняется тем, что

может принимать существенно большие значения, чем, например, стандартное отклонение

, которое для технического метода измерения, как это следует из таблицы 2, не превышает 3 дБ.
Если

, то проведение измерений с высокой точностью (т.е. с малым

) теряет смысл, поскольку это не способно привести к существенному снижению

. Примеры возможных соотношений между

и

приведены в таблице D.1.
Таблица D.1
Примеры расчета

для разных
соотношений между

и

Стандартное отклонение воспроизводимости метода  , дБ | Общее стандартное отклонение  , дБ, для разных условий установки и работы машины, характеризующихся разными значениями  , дБ |
Стабильные | Нестабильные | Очень нестабильные |
 , дБ |
0,5 | 2 | 4 |
0,5 (точный метод) | 0,7 | 2,1 | 4,0 |
1,5 (технический метод) | 1,6 | 2,5 | 4,3 |
3 (ориентировочный метод) | 3,0 | 3,6 | 5,0 |
Из этих примеров видно, что при нестабильных условиях установки и работы испытуемой машины излишне прилагать усилия в попытках обеспечить условия технического метода измерений.
Кроме того, в ситуации, когда

, у пользователя стандарта возможно формирование неправильного представления об общей неопределенности измерения, если он ориентируется на класс точности измерений, который в настоящем стандарте определяется только значением

.
D.4. Определение стандартного отклонения

D.4.1. Общие положения
Верхние оценки

приведены в
таблице 1. Кроме того, в
9.3 приведены рекомендации по проведению исследований для получения более реалистичных оценок

для отдельных машин или семейств машин. Такие исследования включают в себя либо проведение измерений в условиях воспроизводимости согласно ИСО 5725, либо расчеты на основании математической модели измерения [см.
формулу (24)], требующие привлечения дополнительной информации.
Если некоторые источники неопределенности несущественны для конкретных измерительных задач или трудны для исследования, то в испытательном коде по шуму приводят значение

, полученное либо в результате межлабораторных сравнительных испытаний, либо рассчитанное на основе модели, которое не учитывает вариативность этих источников.
Расчет на основе бюджета неопределенности предполагает статистическую независимость отдельных источников неопределенности и, главное, наличие уравнений измерения, используя которые можно было бы оценить вклад этих источников по результатам соответствующих измерений или на основе накопленного практического опыта. На настоящее время, однако, объема накопленной экспериментальной информации, которая могла бы быть использована в целях настоящего стандарта, недостаточно. Тем не менее, ниже приводятся данные, которые нельзя рассматривать как окончательные, но которые могут быть использованы для приближенной оценки вкладов отдельных составляющих неопределенности.
D.4.2. Вклад разных источников в

D.4.2.1. Общие положения
Предварительные исследования показали, что измеряемый корректированный по A уровень звуковой мощности LWA, дБ, может быть представлен следующей зависимостью от влияющих факторов (входных величин)

(D.2)
где

- входная величина, описывающая влияние применяемого метода измерений, дБ;

- входная величина, описывающая влияние условий установки и работы машины, дБ (эта величина не включена в расчеты

);

- средний на измерительной поверхности эквивалентный уровень звука при работающем испытуемом источнике шума, дБ;
S - площадь измерительной поверхности, м2;
S0 = 1 м2;
K
2A - коррекция на свойства испытательного пространства, дБ (см.
Приложение A);

- поправка, учитывающая разность опорных значений для определения уровней звукового давления и звуковой мощности, а также изменение звуковой мощности с изменением температуры и давления, дБ;

- входная величина, описывающая влияние применяемых средств измерений, дБ;

- входная величина, описывающая влияние конечного числа точек измерений на измерительной поверхности, дБ;

- входная величина, учитывающая разность направления излучения источника шума и нормали к измерительной поверхности, дБ;

- входная величина, спектральный состав шума и наличие в нем дискретных тонов, дБ.
Примечание 1. Если измеряемой величиной является уровень звуковой энергии, то для нее модель измерения будет иметь вид, аналогичный
(D.2).
Примечание 2. Входные величины в
формуле (D.2) отражают современное представление о факторах, способных оказать влияние на результат измерения уровня звуковой мощности при испытаниях по настоящему стандарту. Дальнейшие исследования могут показать необходимость модификации этой модели.
Каждой входной величине должно быть приписано соответствующее распределение вероятностей (нормальное, прямоугольное, Стьюдента и т.п.). Лучшей оценкой входной величины будет ее математическое ожидание. Стандартное отклонение распределения входной величины характеризует разброс ее возможных значений и принимается за ее стандартную неопределенность.
Составляющая неопределенности, связанная с условиями установки и работы источника шума, уже учтена в

. Остальные входные величины в совокупности характеризуются стандартным отклонением

.
Информация об ожидаемых значениях стандартных неопределенностей входных величин u
i и соответствующих им коэффициентов чувствительности c
i, необходимых для расчета

, дБ, по формуле

, приведена в таблице D.2.
Таблица D.2
Бюджет неопределенности для расчета

(для примера
измерения корректированного по A уровня звуковой мощности
источника шума с относительно "плоским" спектром)
Входная величина (см. D.4.2) | Оценка входной величины <a>, дБ | Стандартное отклонение <a> u i, дБ | Вид распределения | Коэффициент чувствительности <a> c i |
| 0 | 0,6 | Нормальное | 1 |
| | | Нормальное | |
S | | | Прямоугольное | 8,7/r |
K1A | | | Нормальное | |
K2A | | K2A/4 | Нормальное | 1 |
| Ha/1000 | 0,3 | Треугольное | 1 |
| 0 | Класс 1: 0,5 Класс 2: 1,0 | Нормальное | 1 |
| 0 | | Нормальное | 1 |
| 0 | Для параллелепипеда: 1,2 Для полусферы: 0,25 | Прямоугольное | |
| 0 | При наличии слышимых тонов: 3 При их отсутствии: 0 | Нормальное | 1 |
<b> Оценка, полученная в результате измерения данной входной величины. |
Расчет

выполнен в предположении, что все входные величины некоррелированны.
Для некоторых входных величин соответствующие стандартные неопределенности должны быть получены в результате дополнительных исследований.
Пример информации, необходимой для расчета суммарной стандартной неопределенности, приведен в
таблице D.2 и в D.4.2.2 -
D.4.2.11.
D.4.2.2. Метод измерения

Применение разных методов измерений может приводить к разным результатам измерений. Неопределенность, связанная с применяемым методом измерений, характеризуется смещением результата метода и стандартной неопределенностью оценки этого смещения u
method. В предположении, что все необходимые поправки к измеренному уровню звуковой мощности внесены должным образом, смещение можно оценить только исходя из практического опыта измерений или по результатам межлабораторных испытаний. В случае детально проработанной модели измерения, в которой учтены все основные влияющие величины, и для них получены количественные оценки этого влияния, неопределенность, связанная с методом измерения, будет мала. Если же знаний о возможных влияющих величинах недостаточно, имеются трудности в оценке пределов этого влияния или проводить такую оценку нецелесообразно из практических соображений, то данная составляющая неопределенности может стать доминирующей в оценке

. Примером может служить применение метода измерений недостаточно квалифицированным или неопытным испытателем.
В предположении, что анализ модели измерения был выполнен правильно и в полном объеме, в качестве ориентировочной оценки можно принять umethod = 0,6 дБ.
Смещение, обусловленное методом измерения, непосредственно входит в оценку измеряемой величины, поэтому коэффициент чувствительности cmethod = 1. Вклад cmethodumethod данного источника в суммарную стандартную неопределенность будет составлять 0,6 дБ.
D.4.2.3. Изменения звукового поля во время испытаний

При применении настоящего стандарта обычно выполняют однократное измерение среднего по измерительной поверхности эквивалентного уровня звукового давления испытуемого источника, и результат измерения считают удовлетворительной оценкой этой величины. Повторные измерения в условиях повторяемости (одним микрофоном в одной точке измерений, одним испытателем, одними средствами измерений, но с их повторным включением и настройкой перед каждым измерением) позволяют получить выборочное стандартное распределение

, которое может рассматриваться в качестве оценки стандартной неопределенности

, дБ, и рассчитывается по формуле

,
где

- некоррелированный на фоновый шум результат j-го повторного измерения в заданной точке эквивалентного уровня звукового давления в заданных условиях установки и работы испытуемого источника, дБ;

- арифметическое среднее по всем

, дБ;
N - число повторных измерений, которое должно быть не менее шести.
Стандартное отклонение повторяемости может сильно зависеть от выбранной продолжительности измерений.
Коэффициент чувствительности

представляет собой производную функции измерения L
WA по

[см.
формулу (D.2)] и зависит от уровня фонового шума. Вычисление производной после подстановки выражения для K
1A дает

.
Для наихудшего случая, когда уровень шума совпадает с предельно допустимым значением (см.
D.4.2.5),

. При этом только за счет флуктуаций фонового шума

будет не менее 1,5 дБ. Таким образом, вклад данного источника неопределенности

в суммарную неопределенность составит 3 дБ. Если к тому же продолжительность измерений T не позволяет охватить достаточное число циклов работы машины, то суммарная стандартная неопределенность может стать недопустимо большой для ориентировочного метода измерений. В случае малошумного испытуемого источника меры по снижению уровня фонового шума способны привести к снижению значения

максимум вдвое. Стандартную неопределенность

можно уменьшить за счет строгого контроля условий работы машины, увеличения продолжительности измерений или путем усреднения по многократным измерениям, выполненным в разных условиях, характерных для типичного применения машины. Уменьшить вклад данного источника можно также за счет увеличения числа точек измерений или увеличения измерительного расстояния (радиуса). В типичных измерениях вклад

в суммарную стандартную неопределенность обычно не превышает 1,5 дБ.
D.4.2.4. Измерительная поверхность (S)
Для полусферической измерительной поверхности площадью

неопределенность, связанная с определением площади S, связана с неопределенностью величины r, т.е. с неопределенностью положений микрофонов на измерительной поверхности. В предположении, что значение измерительного радиуса находится в интервале

, а соответствующая данной входной величине случайная величина имеет прямоугольное распределение внутри данного интервала, стандартное отклонение будет равно

.
Аналогично для измерительной поверхности в виде параллелепипеда с измерительным расстоянием d в предположении равномерного распределения в пределах интервала

получим

.
Коэффициент чувствительности cs вычисляется как производная LWA по r, что дает cs = 8,7/r для полусферической измерительной поверхности (и, соответственно, cs = 8,7/d для измерительной поверхности в виде параллелепипеда).
Обычно при тщательном контроле мест установки микрофонов можно добиться, чтобы вклад данной составляющей неопределенности не превышал 0,1 дБ.
D.4.2.5. Коррекция на фоновый шум (K
1A)
Оценку K
1A получают по результатам измерений эквивалентных уровней звукового давления испытуемого источника шума и фонового шума. Стандартная неопределенность u(K
1A), дБ, связанная с коррекцией на фоновый шум K
1A, может быть выражена через выборочное стандартное отклонение по серии повторных измерений (число которых в данном примере равно шести) разности

в одной точке измерений (точке установки микрофона) на измерительной поверхности.
Поскольку неопределенность, связанная с зависимостью L
WA от

, уже учтена в
D.4.2.3, коэффициент чувствительности c(K
1A) получают, взяв производную функции измерения L
WA по

, что дает (без учета знака)

.
В рассматриваемом примере u(K
1A) предполагается равным 3 дБ. В худшем случае, допускаемом настоящим стандартом, разность

равна 3 дБ, что дает значение коэффициента чувствительности c(K
1A) = 1 и вклад c(K
1A)u(K
1A) в суммарную стандартную неопределенность, равный 3,0 дБ. В большинстве измерительных ситуаций за счет обеспечения низкого уровня фонового шума данный вклад может быть уменьшен и составлять менее 1,5 дБ. Уменьшение флуктуаций фонового шума уменьшает вклад данной составляющей неопределенности. Кроме того, можно ожидать, что u(K
1A) снизится примерно вдвое, если вчетверо увеличить временной интервал усреднения T. Существенного снижения коэффициента чувствительности можно добиться за счет уменьшения фонового шума посредством выявления его источников с последующим принятием мер по их звукоизоляции или звукопоглощению. Такие меры могут включать в себя устройство надлежащего заземления, изоляцию проводов, виброизоляцию, использование дополнительных масс и дополнительных поглощающих материалов и т.д. Отношение уровня звукового давления фонового шума к уровню звукового давления шума испытуемого источника уменьшается на 3 дБ при уменьшении площади измерительной поверхности вдвое.
D.4.2.6. Коррекция на свойства испытательного пространства (K2A)
Оценку коррекции на свойства испытательного пространства получают в соответствии с
Приложением A. Практический опыт показывает, что расчетному значению коррекции на свойства испытательного пространства K
2A, дБ, можно поставить в соответствие стандартную неопределенность u(K
2A), дБ, приближенно определяемую по формуле u(K
2A) = K
2A/4. Например при K
2A = 7 дБ, u(K
2A) = 1,8 дБ.
Коэффициент чувствительности для данного фактора c(K2A) равен единице.
В худшем случае K2A = 7 дБ, u(K2A) = 1,8 дБ и c(KA)u(KA) = 1,8 дБ. Обычно значения коррекции K2A имеют меньшие значения, и вклад данной составляющей неопределенности не превышает 1,2 дБ. Вклад этой составляющей можно уменьшить, уменьшая измерительное расстояние (радиус), увеличивая звукопоглощение в испытательном помещении, проводя испытания в помещении с открытыми окнами и дверями или на открытом воздухе (в последнем случае данная составляющая неопределенности может быть пренебрежимо мала). Если значение K2A может быть снижено до 4 дБ и менее, то рекомендуется рассмотреть возможность повысить класс точности измерений.
D.4.2.7. Поправки на атмосферные условия

Если измерения проводят на большой высоте, то это приводит к заниженным оценкам уровня звукового давления по сравнению с теми, что получены при измерениях на уровне моря. Указанное смещение

приблизительно равно H
a/1000, где H
a - высота места измерения, м. При измерениях на уровне ниже 1500 м поправку на атмосферные условия обычно не учитывают, и связанная с этим неопределенность обычно мала (в предположении треугольного распределения значения H
a соответствующая стандартная неопределенность будет 0,6 дБ). При проведении измерений на высоте свыше 1500 м рекомендуется учитывать поправку на атмосферные условия в соответствии с ИСО 3744.
D.4.2.8. Инструментальная неопределенность

Оценка входной величины, связанной с инструментальной неопределенностью, равна нулю, а соответствующий коэффициент чувствительности - единице. Стандартная неопределенность uslm, обусловленная отклонением действительных метрологических характеристик шумомера от их номинальных значений, зависит от класса шумомера по МЭК 61672-1, а также от частотного состава и других свойств измеряемого шума. Для шумомеров, калиброванных на средних частотах, при условии, что шум имеет широкополосный характер и близок к стационарному, можно принять uslm = 0,5 дБ при использовании шумомеров класса 1 и uslm = 1 дБ при использовании шумомеров класса 2. Факторы, влияющие на инструментальную неопределенность при применении шумомеров, подробно рассматриваются в МЭК 61672-1.
D.4.2.9. Неравномерность распределения уровня звукового давления по измерительной поверхности

Стандартную неопределенность umic, связанную с конечным числом точек измерений на измерительной поверхности, можно оценить по формуле

,
где NM - число точек измерений на измерительной поверхности;

- среднее арифметическое результатов измерений

, дБ.
Коэффициент чувствительности для данного фактора cmic равен единице.
В качестве наихудшего случая можно рассматривать ситуацию, когда разброс результатов измерений по измерительной поверхности составляет 10 дБ, показатель направленности источника равен 5 дБ и более, и измерения проводятся на открытом воздухе. В этом случае umic = 2,5 дБ. Если звуковое поле является отчасти реверберационным, то разброс результатов измерений будет меньше, и в качестве более типичного значения можно взять umic = 1,4 дБ.
Уменьшить вклад данной составляющей неопределенности можно, увеличивая число точек измерений или увеличивая измерительное расстояние.
D.4.2.10. Отклонение угла падения звуковой волны от нормали к измерительной поверхности

Использование звукового давления для аппроксимации интенсивности звука в принципе ведет к завышенным оценкам уровня звуковой мощности. Смещение оценки зависит от свойств звукового поля, создаваемого источником шума, его направленности и измерительного расстояния. Привести какие-либо общие соотношения для получения оценки смещения

или связанной с ней стандартной неопределенности u
angle не представляется возможным. Такие оценки рекомендуется получать на основе экспериментальных исследований для разных источников шума сопоставлением разных методов измерений (например, звукового давления и интенсивности звука).
В случае полусферической измерительной поверхности в свободном звуковом поле над звукоотражающей плоскостью типичным значением стандартной неопределенности будет uangle = 0,25 дБ, а в случае измерительной поверхности в виде параллелепипеда - uangle = 1,25 дБ.
Примечание. На высоких частотах смещение, связанное с отклонением угла падения звуковой волны, может быть компенсировано направленностью микрофона.
Смещение

определяется только прямой звуковой волной, распространяющейся от источника шума, поэтому соответствующий коэффициент чувствительности имеет вид

. Наихудший случай имеет место, когда измерительная поверхность имеет вид параллелепипеда, а измерения проводят на открытом воздухе. В этом случае вклад данной составляющей неопределенности c
angleu
angle может составить 1,2 дБ. При K
2A = 5 дБ коэффициент чувствительности c
angle = 0,3 дБ, и вклад данной составляющей неопределенности уменьшается до 0,4 дБ. Для измерительной поверхности данного вида значение c
angleu
angle будет тем меньше, чем больше K
2A. Уменьшить его можно также за счет увеличения измерительного расстояния d. Для больших значений d и полусферической измерительной поверхности этот вклад может быть уменьшен до 0,25 дБ и менее.
D.4.2.11. Спектральный состав шума

Если в шуме испытуемого источника присутствуют слышимые тоны, то ограниченное число точек измерений на измерительной поверхности может привести к смещению результата измерений, связанному с интерференционными эффектами. Опыт показывает, что в таких случаях соответствующая стандартная неопределенность utone может быть принята равной 3 дБ. Если в шуме источника слышимые тоны отсутствуют или когда измерения проводят с использованием большого числа микрофонов, utone может быть принята равной 0 дБ. Коэффициент чувствительности ctone равен единице. При наличии тонов вклад соответствующей составляющей неопределенности может быть уменьшен за счет увеличения точек измерений.
D.4.2.12. Типичные значения

D.5. Суммарная стандартная неопределенность
В случае незначительной корреляции между входными величинами суммарную стандартную неопределенность u(LWA), дБ, для уровня звуковой мощности LWA, дБ, рассчитывают по формуле

. (D.3)
D.6. Использование результатов измерений в условиях воспроизводимости
При отсутствии информации о составляющих неопределенности и возможных корреляциях между входными величинами в качестве суммарной стандартной неопределенности u(L
WA) может быть использовано стандартное отклонение воспроизводимости (см.
раздел 9). Для получения расширенной неопределенности U выбирают значение коэффициента охвата k. По умолчанию интервал охвата определяют для вероятности охвата 95%. Тогда в предположении нормального распределения случайной величины, ассоциированной с измеряемой величиной L
WA, значение коэффициента охвата будет k = 2. Чтобы избежать неправильного толкования, вместе с расширенной неопределенностью в протоколе испытаний следует указывать примененное значение вероятности охвата.
(справочное)
СВЕДЕНИЯ О СООТВЕТСТВИИ ССЫЛОЧНЫХ МЕЖДУНАРОДНЫХ СТАНДАРТОВ
НАЦИОНАЛЬНЫМ СТАНДАРТАМ РОССИЙСКОЙ ФЕДЕРАЦИИ (И ДЕЙСТВУЮЩИМ
В ЭТОМ КАЧЕСТВЕ МЕЖГОСУДАРСТВЕННЫМ СТАНДАРТАМ)
Таблица ДА.1
Обозначение ссылочного международного стандарта | Степень соответствия | Обозначение и наименование национального стандарта |
ИСО 3744 | IDT | ГОСТ Р ИСО 3744-2013 "Акустика. Определение уровней звуковой мощности и звуковой энергии источников шума по звуковому давлению. Технический метод в существенно свободном звуковом поле над звукоотражающей плоскостью" |
ИСО 5725 (все части) | IDT | ГОСТ Р ИСО 5725-1-2002 "Точность (правильность и прецизионность) методов и результатов измерений. Часть 1. Основные положения и определения" ГОСТ Р ИСО 5725-2-2002 "Точность (правильность и прецизионность) методов и результатов измерений. Часть 2. Основной метод определения повторяемости и воспроизводимости стандартного метода измерений" ГОСТ Р ИСО 5725-3-2002 "Точность (правильность и прецизионность) методов и результатов измерений. Часть 3. Промежуточные показатели прецизионности стандартного метода измерений" ГОСТ Р ИСО 5725-4-2002 "Точность (правильность и прецизионность) методов и результатов измерений. Часть 4. Основные методы определения правильности стандартного метода измерений" ГОСТ Р ИСО 5725-5-2002 "Точность (правильность и прецизионность) методов и результатов измерений. Часть 5. Альтернативные методы определения правильности стандартного метода измерений" ГОСТ Р ИСО 5725-6-2002 "Точность (правильность и прецизионность) методов и результатов измерений. Часть 6. Использование значений точности на практике" |
ИСО 12001:1996 | - | |
Руководство ИСО/МЭК 98-3 | IDT | ГОСТ Р 54500.3-2011 "Неопределенность измерения. Часть 3. Руководство по выражению неопределенности измерения" |
МЭК 60942:2003 | IDT | |
МЭК 61672-1:2002 | MOD | ГОСТ 17187-2010 (IEC 61672-1:2002) "Шумомеры. Часть 1. Технические требования" |
<*> Соответствующий национальный стандарт отсутствует. До его утверждения рекомендуется использовать перевод на русский язык данного международного стандарта. Перевод данного международного стандарта находится в Федеральном информационном фонде технических регламентов и стандартов. Примечание. В настоящей таблице использованы следующие условные обозначения степени соответствия стандарта: - IDT - идентичные стандарты; - MOD - модифицированные стандарты. |
| ISO 3740, Acoustics - Determination of sound power levels of noise sources - Guidelines for the use of basic standards |
| ISO 3741, Acoustics - Determination of sound power levels and sound energy levels of noise sources using sound pressure - Precision methods for reverberation test rooms |
[3] | ISO 3743-1, Acoustics - Determination of sound power levels and sound energy levels of noise sources using sound pressure - Engineering methods for small movable sources in reverberant fields - Part 1: Comparison method for a hard-walled test room |
[4] | ISO 3743-2, Acoustics - Determination of sound power levels of noise sources using sound pressure - Engineering methods for small, movable sources in reverberant fields - Part 2: Methods for special reverberation test rooms |
| ISO 3745, Acoustics - Determination of sound power levels and sound energy levels of noise sources using sound pressure - Precision methods for anechoic test rooms and hemi-anechoic test rooms |
| ISO 3747, Acoustics - Determination of sound power levels and sound energy levels of noise sources using sound pressure - Engineering/survey methods for use in situ in a reverberant environment |
| ISO 4871, Acoustics - Declaration and verification of noise emission values of machinery and equipment |
[8] | ISO 6926, Acoustics - Requirements for the performance and calibration of reference sound sources used for the determination of sound power levels |
[9] | ISO 7574-1, Acoustics - Statistical methods for determining and verifying stated noise emission values of machinery and equipment - Part 1: General considerations and definitions |
[10] | ISO 7574-2, Acoustics - Statistical methods for determining and verifying stated noise emission values of machinery and equipment - Part 2: Methods for stated values for individual machines |
[11] | ISO 7574-3, Acoustics - Statistical methods for determining and verifying stated noise emission values of machinery and equipment - Part 3: Simple (transition) method for stated values for batches of machines |
[12] | ISO 7574-4, Acoustics - Statistical methods for determining and verifying stated noise emission values of machinery and equipment - Part 4: Methods for stated values for batches of machines |
| ISO 9296, Acoustics - Declared noise emission values of computer and business equipment |
| ISO 9614-1, Acoustics - Determination of sound power levels of noise sources using sound intensity - Part 1: Measurement at discrete points |
| ISO 9614-2, Acoustics - Determination of sound power levels of noise sources using sound intensity - Part 2: Measurement by scanning |
| ISO 9614-3, Acoustics - Determination of sound power levels of noise sources using sound intensity - Part 3: Precision method for measurement by scanning |
[17] | ISO 11200, Acoustics - Noise emitted by machinery and equipment - Guidelines for the use of basic standards for the determination of emission sound pressure levels at a work station and at other specified positions |
| ISO 11201, Acoustics - Noise emitted by machinery and equipment - Determination of emission sound pressure levels at a work station and at other specified positions in an essentially free field over a reflecting plane with negligible environmental corrections |
[19] | ISO 11202, Acoustics - Noise emitted by machinery and equipment - Determination of emission sound pressure levels at a work station and at other specified positions applying approximate environmental corrections |
[20] | ISO 11203, Acoustics - Noise emitted by machinery and equipment - Determination of emission sound pressure levels at a work station and at other specified positions from the sound power level |
| ISO 11204, Acoustics - Noise emitted by machinery and equipment - Determination of emission sound pressure levels at a work station and at other specified positions applying accurate environmental corrections |
| ISO/TR 25417, Acoustics - Definitions of basic quantities and terms |
| ISO 80000-8, Quantities and units - Part 8: Acoustics |
[24] | WITTSTOCK, V. On the uncertainty of meteorological corrections in sound power determination. Proceedings Inter-Noise 2004, CD-ROM, Prague, 2004 |
[25] | DAVIES, R.S. Equation for the determination of the density of moist air. Metrologia 1992, 29, pp. 67 - 70 |
[26] | CRAMER, O. The variation of the specific heat ratio and the speed of sound in air with temperature, humidity and CO2 concentration. J. Acoust. Soc. Am. 1993, 93, pp. 2510 - 2516 |
|  , G. Final results of a round robin test determining the sound power of machine/equipment. Proceedings Inter-Noise 1997, Budapest, 1997, pp. 1317 - 1322 |
| HELLWEG, R.D. International round robin test of ISO/DIS 7779. Proceedings Inter-Noise 1988, Avignon, 1988, pp. 1105 - 1108 |
[29] | WONG, G.S.K. Comments on "The variation of the specific heat ratio and the speed of sound in air with temperature, pressure, humidity, and CO2 concentration" [J. Acoust. Soc. Am. 93, 2510 - 2516 (1993)], J. Acoust. Soc. Am. 1995, 97, pp. 3177 - 3179 |
[30] | PROBST, W. Checking of sound emission values. Bremerhaven: Wirtschaftsverlag NW, Verlag  Neue Wissenschaft, 1999. 102 p. (Schriftenreihe der Bundesanstalt  Arbietsschutz und Arbeitsmedizin: Forschung, Fachbericht [Special report], 851.) |