Главная // Актуальные документы // ГОСТ Р (Государственный стандарт)СПРАВКА
Источник публикации
М.: Стандартинформ, 2014
Примечание к документу
Документ
введен в действие с 1 декабря 2014 года.
Название документа
"ГОСТ Р ИСО 3744-2013. Национальный стандарт Российской Федерации. Акустика. Определение уровней звуковой мощности и звуковой энергии источников шума по звуковому давлению. Технический метод в существенно свободном звуковом поле над звукоотражающей плоскостью"
(утв. и введен в действие Приказом Росстандарта от 05.12.2013 N 2177-ст)
"ГОСТ Р ИСО 3744-2013. Национальный стандарт Российской Федерации. Акустика. Определение уровней звуковой мощности и звуковой энергии источников шума по звуковому давлению. Технический метод в существенно свободном звуковом поле над звукоотражающей плоскостью"
(утв. и введен в действие Приказом Росстандарта от 05.12.2013 N 2177-ст)
Утвержден и введен в действие
агентства по техническому
регулированию и метрологии
от 5 декабря 2013 г. N 2177-ст
НАЦИОНАЛЬНЫЙ СТАНДАРТ РОССИЙСКОЙ ФЕДЕРАЦИИ
АКУСТИКА
ОПРЕДЕЛЕНИЕ УРОВНЕЙ ЗВУКОВОЙ МОЩНОСТИ И ЗВУКОВОЙ
ЭНЕРГИИ ИСТОЧНИКОВ ШУМА ПО ЗВУКОВОМУ ДАВЛЕНИЮ
ТЕХНИЧЕСКИЙ МЕТОД В СУЩЕСТВЕННО СВОБОДНОМ
ЗВУКОВОМ ПОЛЕ НАД ЗВУКООТРАЖАЮЩЕЙ ПЛОСКОСТЬЮ
Acoustics. Determination of sound power levels
and sound energy levels of noise sources using sound
pressure. Engineering method for an essentially
free field over a reflecting plane
ISO 3744:2010
Acoustics - Determination of sound power levels
and sound energy levels of noise sources using sound
pressure - Engineering methods for an essentially
free field over a reflecting plane
(IDT)
ГОСТ Р ИСО 3744-2013
Дата введения
1 декабря 2014 года
1. Подготовлен Автономной некоммерческой организацией "Научно-исследовательский центр контроля и диагностики технических систем" (АНО "НИЦ КД") на основе собственного аутентичного перевода на русский язык международного стандарта, указанного в
пункте 4.
2. Внесен Техническим комитетом по стандартизации ТК 358 "Акустика".
3. Утвержден и введен в действие
Приказом Федерального агентства по техническому регулированию и метрологии от 5 декабря 2013 г. N 2177-ст.
4. Настоящий стандарт идентичен международному стандарту ИСО 3744:2010 "Акустика. Определение уровней звуковой мощности и звуковой энергии источников шума по звуковому давлению. Технический метод в существенно свободном звуковом поле над звукоотражающей плоскостью" (ISO 3744:2010, "Acoustics - Determination of sound power levels and sound energy levels of noise sources using sound pressure - Engineering methods for an essentially free field over a reflecting plane").
При применении настоящего стандарта рекомендуется использовать вместо ссылочных международных стандартов соответствующие им национальные стандарты Российской Федерации и действующие в этом качестве межгосударственные стандарты, сведения о которых приведены в дополнительном
Приложении ДА.
Правила применения настоящего стандарта установлены в ГОСТ Р 1.0-2012
(раздел 8). Информация об изменениях к настоящему стандарту публикуется в ежегодном (по состоянию на 1 января текущего года) информационном указателе "Национальные стандарты", а официальный текст изменений и поправок - в ежемесячном указателе "Национальные стандарты". В случае пересмотра (замены) или отмены настоящего стандарта соответствующее уведомление будет опубликовано в ближайшем выпуске ежемесячного информационного указателя "Национальные стандарты". Соответствующая информация, уведомление и тексты размещаются также в информационной системе общего пользования - на официальном сайте Федерального агентства по техническому регулированию и метрологии в сети Интернет (gost.ru).
Настоящий стандарт входит в серию стандартов (см.
[2] -
[6], ИСО 3745), устанавливающих методы определения уровней звуковой мощности и звуковой энергии источников шума, таких как машины, оборудование и их узлы. Выбор конкретного метода зависит от целей испытаний по определению уровня звуковой мощности (звуковой энергии) и от имеющегося в распоряжении испытательного оборудования. Общее руководство по выбору метода испытаний установлено в
[1]. Стандарты
[2] -
[6], ИСО 3745 и настоящий стандарт дают только общие рекомендации по установке машин и условиям их работы при испытаниях. Подробные требования об этом должны быть установлены в испытательных кодах по шуму для машин разных видов.
Настоящий стандарт устанавливает методы определения уровней звуковой мощности и звуковой энергии в полосах частот, а также с коррекцией по частотной характеристике A.
Методы настоящего стандарта относятся к техническим методам по классификации ИСО 12001 и предполагают проведение измерений в условиях, близких к условиям свободного звукового поля над звукоотражающей плоскостью. Такие условия могут быть созданы в специально оборудованных лабораторных помещениях, промышленных помещениях или на площадках на открытом воздухе. В идеале испытуемый источник шума должен быть установлен на звукоотражающей плоскости в большом открытом пространстве. Если испытуемый источник при его применении устанавливают в цеховом помещении, то в результат измерения вносят поправку на отражение звука от близлежащих предметов, стен и потолка, а также поправку на фоновый шум в помещении.
Если задачи определения уровня звуковой мощности или звуковой энергии источника шума требуют более высокой точности, чем обеспечивает технический метод, то следует применить точные методы измерений, установленные
[2], ИСО 3745 или
[15]. К другим стандартам серии (
[2] -
[6], ИСО 3745) или к
[15] следует обращаться при невозможности обеспечения условий измерений в соответствии с требованиями настоящего стандарта.
1.1. Общие положения
Настоящий стандарт устанавливает методы измерения уровней звуковой мощности источников шума (машин и оборудования) или, в случае, если шум источника импульсный или имеет форму переходного процесса, уровней звуковой энергии в полосах частот или в широкой полосе частот с коррекции по частотной характеристике A (далее - корректированные по A) по результатам измерений уровней звукового давления в условиях, близких к условиям свободного звукового поля над звукоотражающей плоскостью.
Примечание. Разные формы измерительной поверхности, используемой при применении методов настоящего стандарта, могут дать отличающиеся результаты измерений. Информация о форме измерительной поверхности, применяющейся при испытаниях машин конкретного вида, может быть установлена в соответствующем испытательном коде по шуму (см. ИСО 12001).
1.2. Вид шума и источники шума
Настоящий стандарт распространяется на все виды шума (постоянный, непостоянный, флуктуирующий, единичные импульсы и др.) по классификации ИСО 12001.
Настоящий стандарт распространяется на источники шума всех видов и размеров (например, стационарное или медленно перемещающееся технологическое оборудование, установки, машины и их узлы), для которых может быть обеспечено соблюдение требований настоящего стандарта к условиям испытаний.
Примечание. Соблюдение требований настоящего стандарта к условиям испытаний может быть затруднено в случае очень высоких или очень протяженных источников шума, таких как дымовые трубы, конвейеры, трубопроводы или промышленные установки с множественными источниками шума. Методы измерений для таких объектов могут быть установлены в испытательных кодах по шуму.
1.3. Испытательное пространство
Условия испытаний, соответствующие требованиям настоящего стандарта, могут быть созданы внутри помещений или на открытом воздухе и предполагают наличие одной или нескольких звукоотражающих плоскостей, на которые или вблизи которых устанавливают испытуемый источник шума. Идеальные условия испытаний для методов настоящего стандарта представляют собой открытое пространство без границ и отражающих поверхностей, за исключением предусматриваемой методом звукоотражающей плоскости или плоскостей (таким условиям соответствует, например, аттестованная заглушенная камера со звукоотражающим полом). При отступлении условий испытаний от идеальных применяют соответствующие поправки (в пределах заданных ограничений).
1.4. Неопределенность измерения
В настоящем стандарте приведены сведения о неопределенности измерения корректированных по A уровней звуковой мощности (звуковой энергии) и в полосах частот. Неопределенность измерения соответствует установленной ИСО 12001 для технических методов измерений.
В настоящем стандарте использованы нормативные ссылки на следующие стандарты:
ИСО 3382-2 Акустика. Измерение акустических параметров помещений. Часть 2. Время реверберации обычных помещений (ISO 3382-2, Acoustics - Measurement of room acoustic parameters - Part 2: Reverberation time in ordinary rooms)
ИСО 3745 Акустика. Определение уровней звуковой мощности и звуковой энергии источников шума по звуковому давлению. Точные методы для заглушенных камер (ISO 3745, Acoustics - Determination of sound power levels and sound energy levels of noise sources using sound pressure - Precision methods for anechoic test rooms and hemi-anechoic test rooms)
ИСО 5725 (все части) Точность (правильность и прецизионность) методов и результатов измерений [ISO 5725, Accuracy (trueness and precision) of measurement methods and results]
ИСО 6926 Акустика. Требования к рабочим характеристикам и калибровке образцовых источников шума, используемых для определения уровней звуковой мощности (ISO 6926, Acoustics - Requirements for the performance and calibration of reference sound sources for the determination of sound power levels)
ИСО 12001:1996 Акустика. Шум, излучаемый машинами и оборудованием. Правила составления испытательных кодов по шуму (ISO 12001:1996, Acoustics - Noise emitted by machinery and equipment - Rules for the drafting and presentation of a noise test code)
Руководство ИСО/МЭК 98-3 Неопределенность измерения. Часть 3. Руководство по выражению неопределенности измерения (GUM) [ISO/IEC Guide 98-3, Uncertainty in measurement - Part 3: Guide to the expression of uncertainty in measurement (GUM:1995)]
МЭК 60942:2003 Электроакустика. Калибраторы акустические (IEC 60942:2003, Electroacoustics - Sound calibrators)
МЭК 61260:1995 Электроакустика. Фильтры полосовые октавные и на доли октавы (IEC 61260:1995, Electroacoustics - Octave-band and fractional-octave-band filters)
МЭК 61672-1:2002 Электроакустика, Шумомеры. Часть 1. Технические требования (IEC 61672-1:2002, Electroacoustics - Sound level meters - Part 1: Specifications)
В настоящем стандарте применены следующие термины с соответствующими определениями.
3.1. Звуковое давление (sound pressure) p: разность между мгновенным и статическим давлениями воздушной среды.
Примечание 1. Определение термина модифицировано по отношению к статье 8-9.2 в
[21].
Примечание 2. Выражают в паскалях (Па).
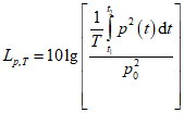
3.2. Уровень звукового давления (sound pressure level)

: десятикратный десятичный логарифм отношения квадрата звукового давления p к квадрату опорного звукового давления

, выраженный в децибелах (дБ) по формуле

. (1)
Примечание 1. В случае применения коррекций по частотным или временным характеристикам, а также в случае измерений в заданной полосе частот это отражают применением соответствующего подстрочного индекса, например,

- уровень звука (т.е. уровень корректированного по A звукового давления).
Примечание 2. Определение содержательно совпадает со статьей 8-22 в
[21].
3.3. Эквивалентный уровень звукового давления (time-averaged sound pressure level)

: десятикратный десятичный логарифм отношения усредненного на заданном временном интервале T (с началом

и окончанием

) квадрата звукового давления p к квадрату опорного звукового давления

, выраженный в децибелах (дБ) по формуле

.(2)
Примечание 1. Обычно подстрочный индекс T опускают, поскольку из названия термина следует, что величину

определяют на заданном временном интервале.
Примечание 2. В большинстве применений интегрирование на временном интервале T сопровождается использованием коррекции по частотной характеристике A. Соответствующую величину обозначают

или сокращенно

.
Примечание 3. Определение термина модифицировано по отношению к статье 2.3 в
[20].
3.4. Уровень экспозиции однократного шумового процесса (single event time-integrated sound pressure level)

: десятикратный десятичный логарифм отношения интегрированного на заданном временном интервале T (с началом

и окончанием

) квадрата звукового давления p отдельного шумового события (звукового импульса или переходного процесса) к опорному значению дозы шума

, выраженный в децибелах (дБ) по формуле

. (3)
Примечание 1. Данная величина может быть выражена через эквивалентный уровень звукового давления по формуле

, где

.
Примечание 2. В случае описания звуковой иммиссии данную величину обычно называют "уровень звукового воздействия" (см.
[20]).
3.5. Продолжительность измерений (measurement time interval) T: период, включающий в себя часть операционного цикла или несколько операционных циклов источника шума, в течение которого проводят измерения эквивалентного уровня звукового давления.
Примечание. T выражают в секундах (с).
3.6. Свободное (звуковое) поле (acoustic free field): звуковое поле в однородной изотропной безграничной среде.
Примечание. На практике свободным считают звуковое поле, в котором влияние отражения звука от границ или других объектов в диапазоне частот измерений пренебрежимо мало.
3.7. Свободное (звуковое) поле над звукоотражающей плоскостью (acoustic free field over a reflecting plane): свободное звуковое поле в полупространстве над бесконечной звукоотражающей плоскостью при отсутствии других объектов, влияющих на распространение звуковых волн.
3.8. Звукоотражающая плоскость (reflecting plane): отражающая звук плоская поверхность, на которую устанавливают испытуемый источник шума.
3.9. Диапазон частот измерений (frequency range of interest): в общем случае диапазон частот, включающий в себя октавные полосы со среднегеометрическими частотами (номинальными) от 125 до 8000 Гц (третьоктавные полосы со среднегеометрическими частотами от 100 до 10000 Гц).
Примечание. В отдельных случаях диапазон частот измерений может быть расширен или сокращен, если при этом условия испытаний и применяемые средства измерений будут удовлетворять требованиям настоящего стандарта. Любое расширение или сокращение диапазона частот измерений отражают в протоколе испытаний.
3.10. Огибающий параллелепипед (reference box): воображаемая поверхность в виде прямоугольного параллелепипеда наименьшего объема, опирающегося одной гранью на звукоотражающую плоскость (или несколькими гранями на несколько звукоотражающих плоскостей) и заключающего в себе все элементы испытуемого источника шума, излучение которых дает существенный вклад в общий шум источника, вместе с испытательным столом (стендом), на который источник шума установлен.
Примечание. При необходимости может быть использован испытательный стол самых малых размеров, обеспечивающий совместимость с измерениями звукового давления излучения в контрольных точках вблизи источника шума, например, в соответствии с
[18].
3.11. Характеристический размер (источника) (characteristic source dimension)

: расстояние от начала системы координат до самой дальней вершины огибающего параллелепипеда.
Примечание.

выражают в метрах (м).
3.12. Измерительное расстояние (measurement distance) d: расстояние между огибающим параллелепипедом и измерительной поверхностью в форме прямоугольного параллелепипеда.
Примечание. d выражают в метрах (м).
3.13. Измерительный радиус (measurement radius) r: радиус измерительной поверхности, имеющей вид полусферы, половины полусферы или четверти полусферы.
Примечание. r выражают в метрах (м).
3.14. Измерительная поверхность (measurement surface): воображаемая поверхность, охватывающая испытуемый источник шума, пересечение которой со звукоотражающей плоскостью (плоскостями) имеет вид замкнутой кривой и на которой располагают точки установки микрофонов (точки измерений).
3.15. Фоновый шум (background noise): шум от всех источников, кроме испытуемого.
Примечание. Фоновый шум может включать в себя воздушный шум, шум излучения вибрирующих поверхностей, электрический шум средств измерений.
3.16. Коррекция на фоновый шум (background noise correction)

: поправка к усредненному (методом энергетического суммирования) по точкам измерений (местам установки микрофонов) на измерительной поверхности эквивалентному уровню звукового давления, вносимая для учета влияния фонового шума.
Примечание 1.

выражают в децибелах (дБ).
Примечание 2. Коррекция на фоновый шум зависит от частоты. При измерениях в полосе частот коррекцию на фоновый шум обозначают

, где f - среднегеометрическая частота полосы. При измерениях в широкой полосе с коррекцией по частотной характеристике A коррекцию на фоновый шум обозначают

.
3.17. Коррекция на свойства испытательного пространства
<1> (environmental correction)

: поправка к усредненному (методом энергетического суммирования) по точкам измерений (местам установки микрофонов) на измерительной поверхности эквивалентному уровню звукового давления, вносимая для учета влияния отраженного и поглощенного звука.
Примечание 1.

выражают в децибелах (дБ).
Примечание 2. Коррекция на свойства испытательного пространства зависит от частоты. При измерениях в полосе частот коррекцию на свойства испытательного пространства обозначают

, где f - среднегеометрическая частота полосы. При измерениях в широкой полосе с коррекцией по частотной характеристике A коррекцию на свойства испытательного пространства обозначают

.
Примечание 3. В общем случае коррекция на свойства испытательного пространства зависит от площади S измерительной поверхности. Как правило, с увеличением S коррекция на свойства испытательного пространства увеличивается.
--------------------------------
<1> В прежней редакции стандарта
ГОСТ Р 51401-99 (ИСО 3744-99) для данной величины использовался термин "коррекция на акустические условия". В общем случае акустические условия (т.е. условия распространения звука) определяются не только видом звукового поля в испытательном пространстве (свободное, реверберационное и пр.), но и характеристиками среды распространения звука, в данном случае атмосферы. Настоящим стандартом вводятся отдельные поправки на отклонения атмосферных условий от нормальных (см.
Приложение G), которые в

не учитываются, что привело к необходимости уточнения наименования величины

.
3.18. Эквивалентный уровень звукового давления на поверхности (surface time-averaged sound pressure level)

: усредненный (методом энергетического суммирования) по точкам измерений или траекториям сканирования на измерительной поверхности эквивалентный уровень звукового давления после внесения коррекций на фоновый шум

и свойства испытательного пространства

.
Примечание.

выражают в децибелах (дБ).
3.19. Уровень экспозиции однократного шумового процесса на поверхности (surface time-averaged sound pressure level)

: усредненный (методом энергетического суммирования) по точкам измерений или траекториям сканирования на измерительной поверхности эквивалентный уровень звукового давления однократного шумового процесса после внесения коррекций на фоновый шум

и свойства испытательного пространства

.
Примечание.

выражают в децибелах (дБ).
3.20. Звуковая мощность (через поверхность) (sound power) P: интеграл по поверхности от произведения звукового давления p и составляющей скорости колебаний точки поверхности, нормальной к этой поверхности,

.
Примечание 1. P выражают в ваттах (Вт).
Примечание 2. Данная величина характеризует скорость излучения звуковой энергии источником в воздушную среду.
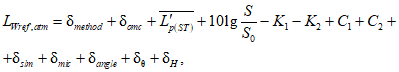
3.21. Уровень звуковой мощности (sound power level)

: десятикратный десятичный логарифм отношения звуковой мощности P к опорной звуковой мощности

, выраженный в децибелах по формуле

. (4)
Примечание 1. При измерениях с применением коррекции по одной из частотных характеристик, установленных МЭК 61672-1, или в заданной полосе частот в обозначение уровня звуковой мощности добавляют соответствующий подстрочный индекс, например,

обозначает корректированный по A уровень звуковой мощности.
Примечание 2. Определение содержательно совпадает со статьей 8-23 в
[21].
3.22. Звуковая энергия (sound power) J: интеграл от звуковой мощности P на заданном временном интервале T (с началом

и окончанием

)

. (5)
Примечание 1. J выражают в джоулях (Дж).
Примечание 2. Данную величину обычно используют для описания нестационарных процессов и перемежающихся звуковых событий.
3.23. Уровень звуковой энергии (sound energy level)

: десятикратный десятичный логарифм отношения звуковой энергии J к опорной звуковой энергии

, выраженный в децибелах по формуле

. (6)
Примечание. При измерениях с применением коррекции по одной из частотных характеристик, установленных МЭК 61672-1, или в заданной полосе частот в обозначение уровня звуковой энергии добавляют соответствующий подстрочный индекс, например,

обозначает корректированный по A уровень звуковой энергии.
3.24. Кажущийся показатель направленности (apparent directivity index)

: величина, характеризующая степень направленности излучения звука испытуемым источником шума в направлении i-й точки измерения (i-го места установки микрофона) на измерительной поверхности относительно излучения, усредненного по всей измерительной поверхности, и определяемая по формуле

, (7)
где

- эквивалентный уровень звукового давления или уровень экспозиции однократного шумового процесса с внесенной коррекцией на фоновый шум в i-й точке измерения (i-м месте установки микрофона) на измерительной поверхности при работающем испытуемом источнике шума, дБ;

- усредненный (методом энергетического суммирования) по точкам измерений на измерительной поверхности эквивалентный уровень звукового давления или уровень экспозиции однократного шумового процесса при работающем испытуемом источнике шума, дБ;

- коррекция на фоновый шум, дБ.
Примечание 1.

выражается в децибелах (дБ).
Примечание 2. Кажущийся показатель направленности определяют по результатам измерений уровней звукового давления, создаваемого испытуемым источником шума, с коррекцией на фоновый шум, но без коррекции на свойства испытательного пространства.
3.25. Кажущийся показатель неравномерности уровня звукового давления (на поверхности) (apparent surface sound pressure level non-uniformity index)

: величина, характеризующая неравномерность распределения уровней звукового давления по точкам измерительной поверхности и определяемая по формуле

, (8)
где

- эквивалентный уровень звукового давления или уровень экспозиции однократного шумового процесса с внесенной коррекцией на фоновый шум в i-й точке измерения (i-м месте установки микрофона) на измерительной поверхности при работающем испытуемом источнике шума, дБ;

- среднее арифметическое

, i = 1,...,

, дБ;

- число точек измерений (мест установки микрофонов).
Примечание 1.

выражается в децибелах (дБ).
Примечание 2. Если измерительная поверхность задана измерительным радиусом r или измерительным расстоянием d, то кажущийся показатель неравномерности уровня звукового давления обозначают соответственно

и

.
Примечание 3. Кажущийся показатель неравномерности уровня звукового давления определяют по результатам измерений уровней звукового давления, создаваемого испытуемым источником шума, с коррекцией на фоновый шум, но без коррекции на свойства испытательного пространства.
4. Испытательное пространство
Испытательным пространством, пригодным для проведения измерений в соответствии с настоящим стандартом, может быть:
a) лабораторное помещение или площадка на открытом воздухе, изолированные от внешнего фонового шума (см.
4.2) и обеспечивающие условия свободного звукового поля над отражающей плоскостью;
b) помещение или площадка на открытом воздухе с низким уровнем внешнего фонового шума (см.
4.2), в которых могут быть применены коррекции на свойства испытательного пространства, позволяющие учесть ограниченный вклад отраженных звуковых волн в звуковое давление на измерительной поверхности.
Испытания не следует проводить в условиях значительного негативного воздействия на микрофоны сильных электрических и магнитных полей, ветра, воздушных струй от испытуемого источника шума, высоких или низких температур, руководствуясь инструкциями изготовителей средств измерений.
Если измерения выполняют на открытом воздухе, то необходимо минимизировать негативное воздействие атмосферных условий (температуры и влажности воздуха, ветра, осадков) на излучение и распространение звука в диапазоне частот измерений, а также на фоновый шум в процессе измерений.
Если отражающая поверхность не является поверхностью земли или частью внутренней поверхности испытательного помещения, то следует убедиться, что эта поверхность не излучает значительный шум вследствие своей вибрации.
4.2. Требования к уровню фонового шума
4.2.1. Критерий по относительным значениям
Требования настоящего стандарта к фоновому шуму считают выполненными, если усредненные по точкам установки микрофонов или по траекториям сканирования (см.
8.2.2) эквивалентные уровни звукового давления фонового шума будут ниже соответствующего эквивалентного уровня звукового давления испытуемого источника шума, измеренного при наличии фонового шума, на величину

, равную или превышающую 6 дБ (предпочтительно 15 дБ). При измерениях в полосах частот указанное требование должно соблюдаться для каждой полосы в пределах диапазона частот измерений.
Примечание 1. Этот же критерий применяют при сравнении с уровнем экспозиции однократного шумового процесса, при этом продолжительность измерений для фонового шума должна совпадать с продолжительностью измерений для однократного шумового процесса.
Примечание 2. Если для перемещения микрофона по траектории сканирования используют специальный механизм, то шум данного механизма во время работы рассматривают как составляющую фонового шума, и измерения фонового шума для проверки соответствия критерию проводят при работающем механизме.
4.2.1.2. Критерий по относительным значениям для отдельных полос
Даже если фоновый шум в испытательном пространстве весьма низок, требование, установленное в
4.2.1.1, может не соблюдаться для какой-то одной или нескольких полос диапазона частот измерений. Допускается из проверки на соответствие критерию фонового шума исключить полосы частот, в которых корректированный по A уровень звуковой мощности (звуковой энергии) испытуемого источника шума будет не менее чем на 15 дБ ниже максимального значения этой величины по всем полосам диапазона частот измерений.
4.2.1.3. Критерий по относительным значениям для измерений с коррекцией по частотной характеристике A
Если целью измерений является определение корректированного по A уровня звуковой мощности (звуковой энергии), то для определения соответствия условий измерений критерию по фоновому шуму настоящего стандарта выполняют следующие действия:
a) вычисляют корректированный по A уровень звуковой мощности (звуковой энергии) по данным измерений в каждой полосе диапазона частот измерений;
b) повторяют вычисления, исключив полосы, для которых

.
Если разность значений, полученных в результате выполнения
этапов a) и
b), менее 0,5 дБ, то измерения корректированного по A уровня звуковой мощности (звуковой энергии) с использованием данных по всем полосам диапазона частот измерений можно считать выполненными с соблюдением критерия по фоновому шуму.
Примечание. При необходимости проведения измерений с точностью технического метода, когда разность между уровнями звукового давления фонового шума и фонового шума вместе с шумом испытуемого источника составляет менее 6 дБ, можно использовать методы, установленные в
[13] или
[14].
4.2.2. Критерий по абсолютным значениям
Если можно показать, что уровни фонового шума в испытательном пространстве во время проведения измерений не превышают значений, приведенных в таблице 1 для всех полос диапазона частот измерений, то считают, что требования настоящего стандарта к фоновому шуму выполнены даже в том случае, когда соответствие критерию по относительным значениям, установленному в
4.2.1.1, соблюдается не для всех полос диапазона. В этом случае можно предположить, что в указанных полосах излучение испытуемого источника незначительно и полученные для них результаты измерений уровня звуковой мощности (звуковой энергии) являются верхними оценками.
Таблица 1
Максимально допустимые уровни фонового
шума в испытательном пространстве
Среднегеометрическая частота третьоктавной полосы частот, Гц | Максимальный уровень звукового давления фонового шума, дБ |
50 | 44 |
63 | 38 |
80 | 32 |
100 | 27 |
125 | 22 |
160 | 16 |
200 | 13 |
250 | 11 |
315 | 9 |
400 | 8 |
500 | 7 |
630 | 7 |
800 | 7 |
1000 | 7 |
1250 | 7 |
1600 | 7 |
2000 | 7 |
2500 | 8 |
3150 | 8 |
4000 | 8 |
5000 | 8 |
6300 | 8 |
8000 | 12 |
10000 | 14 |
12500 | 11 |
16000 | 46 |
20000 | 46 |
Если эквивалентный уровень звукового давления (уровень экспозиции однократного шумового процесса) испытуемого источника окажется меньше значений, приведенных в
таблице 1, то соответствующие полосы исключают из диапазона частот измерений. В этом случае в протоколе испытаний указывают, в каком диапазоне частот были проведены измерения.
4.2.3. Несоответствие критериям по фоновому шуму
Если не соблюдены критерии ни по относительному (см.
4.2.1), ни по абсолютному (см.
4.2.2) значениям, то в протоколе испытаний должно быть указано, что требования настоящего стандарта к фоновому шуму не выполнены. Должны быть указаны полосы, в которых соответствие критериям не соблюдено. В этом случае в протоколе испытаний не допускается в явном или неявном виде указывать, что измерения проведены в полном соответствии с настоящим стандартом.
4.3. Требования к испытательному пространству
4.3.1. Общие положения
Испытательное пространство должно обеспечивать возможность построения измерительной поверхности, полностью лежащей внутри звукового поля, существенно свободного от нежелательных отражений звука от границ испытательного пространства (помещения) или соседних объектов.
По возможности из испытательного пространства следует удалить все звукоотражающие объекты, кроме предусмотренной методом отражающей плоскости (плоскостей).
Примечание 1. Посторонний объект вблизи источника шума рассматривают как звукоотражающий, если его ширина (например, диаметр шеста или опоры) более 1/10 расстояния от этого объекта до огибающего параллелепипеда.
Расстояние от линии пересечения измерительной поверхности со звукоотражающими плоскостями до границ этих плоскостей должно быть не менее 0,5 м. Коэффициент звукопоглощения звукоотражающих плоскостей должен быть не менее 0,1 во всем диапазоне частот измерений.
Примечание 2. Обычно в качестве звукоотражающих поверхностей выбирают гладкие поверхности с покрытием из бетона или уплотненного асфальта.
Методы определения коррекции на свойства испытательного пространства

, позволяющей учесть его отличие от идеальных условий испытаний, приведены в
Приложении A. Измерения считаются выполненными в соответствии с требованиями настоящего стандарта только в том случае, когда

(см.
4.3.2,
[25]).
Примечание 3. Если

, то при необходимости проведения измерений с точностью технического метода можно использовать методы, установленные в
[3],
[4],
[6],
[13] или
[14], а при необходимости проведения измерений с точностью ориентировочного метода - в
[5].
Примечание 4. В некоторых особых случаях горизонтальная поверхность испытательного пространства не является звукоотражающей (например, при испытаниях газонокосилок или землеройных машин некоторых типов). Тогда в соответствующем испытательном коде по шуму должны быть подробно описаны поверхность, на которую устанавливают машину при испытаниях, и возможное влияние выбора такой поверхности на неопределенность измерения.
При проведении испытаний в заглушенной камере со звукоотражающим полом, удовлетворяющей требованиям ИСО 3745, коррекцию на свойства испытательного пространства

считают равной нулю.
При проведении испытаний на плоских открытых площадках с асфальтовым или бетонным покрытием и отсутствии звукоотражающих объектов, расположенных на расстоянии от испытуемого источника шума меньшем, чем десятикратное максимальное расстояние от геометрического центра источника до точек измерений внизу измерительной поверхности, считают, что коррекция на свойства испытательного пространства

менее 0,5 дБ и может рассматриваться как незначительная.
4.3.2. Критерий пригодности испытательного пространства
Вначале определяют значение

для всего диапазона частот измерений одним из методов, описанных в
Приложении A. При этом, если:
a)

, то условия испытаний считают несоответствующими настоящему стандарту;
b)

, то измерения могут быть проведены в соответствии с настоящим стандартом в полосах частот или с коррекцией по частотной характеристике A при использовании измерительных поверхностей, описанных в
Приложениях B,
C и
D. Кроме того, может быть выполнено непосредственное измерение уровня звукового давления, корректированного по частотной характеристике A, при альтернативном размещении микрофонов в соответствии с
Приложением F.
Если измерения проводят в полосах частот, то соответствующие значения

должны быть получены для каждой полосы во всем диапазоне частот измерений в соответствии с
разделом A.2 или
A.3 (Приложение A). При этом

или

должны быть измерены в полосах частот, после чего по результатам этих измерений могут быть рассчитаны

или

(см.
Приложение E).
5.1. Общие положения
Измерительная система, включая микрофоны, соединительные кабели и ветрозащитные экраны, должна соответствовать требованиям к средствам измерений класса 1 по МЭК 61672-1:2002, а электронные фильтры - класса 1 по МЭК 61260:1995.
5.2. Калибровки
До и после каждой серии измерений проверяют калибровку каждой измерительной цепи на одной или нескольких частотах в пределах диапазона частот измерений с использованием акустического калибратора, удовлетворяющего требованиям МЭК 60942. Разность показаний до и после проведения измерений должна не превышать 0,5 дБ. Если данное требование не соблюдено, то результаты измерений считают недостоверными.
Для каждого средства измерений значение интервала между калибровками указывается в технической документации изготовителя.
6. Расположение, установка и работа
испытуемого источника шума
6.1. Общие положения
Способ установки испытуемого источника и условия его работы во время испытаний способны оказать существенное влияние на результаты измерений. Соблюдение требований настоящего раздела позволяет минимизировать изменчивость излучения шума источником, обусловленную способом его установки и условиями работы. При наличии испытательного кода по шуму, в котором подробно описаны условия размещения, установки и работы машин данного вида при их испытаниях, следует руководствоваться испытательным кодом. Эти условия должны быть одинаковыми при измерении уровней звукового давления излучения и уровней звуковой мощности.
Необходимо определить (особенно для крупных машин), какие именно элементы (узлы, вспомогательные устройства, источники питания и т.п.) являются неотъемлемой частью источника с точки зрения излучаемого им шума.
6.2. Вспомогательное оборудование
Следует убедиться, что вспомогательное оборудование (кабели, трубопроводы, воздуховоды и т.п.), соединенное с испытуемым источником, не излучает значительную звуковую энергию в испытательное пространство.
По возможности все вспомогательное оборудование, необходимое для работы источника шума во время испытаний, но не составляющее его неотъемлемую часть, следует разместить за пределами испытательного пространства. Если это трудновыполнимо, то принимают меры, чтобы максимально снизить шум оборудования. При невозможности удалить вспомогательное оборудование или существенно снизить его шум его считают составной частью испытуемого источника и с его учетом определяют размеры огибающего параллелепипеда (см.
7.1).
6.3. Расположение испытуемого источника шума
Испытуемый источник устанавливают относительно к звукоотражающей плоскости (плоскостям) или перемещают по звукоотражающей плоскости таким же образом, как и при использовании по назначению. Испытуемый источник должен находиться на достаточном удалении от стен, потолка и других отражающих объектов, чтобы была возможность построить вокруг него измерительную поверхность в соответствии с
Приложением A.
Типичные условия испытаний некоторых машин могут включать в себя две и более звукоотражающие поверхности (например, для машины, в условиях применения устанавливаемой у стены), свободное пространство (например, для работы грузоподъемного механизма) или вертикальную звукоотражающую плоскость с отверстием в ней (так, чтобы излучение могло распространяться в обе стороны от нее). При размещении источника шума следует руководствоваться требованиями настоящего стандарта и соответствующего испытательного кода по шуму (при его наличии).
6.4. Условия установки
6.4.1. Общие положения
Во многих случаях условия установки источника шума на опорную поверхность существенно влияют на излучаемую звуковую мощность (звуковую энергию). Если существуют типовые способы монтажа испытуемого источника в условиях его применения, то их же по возможности следует использовать при испытаниях.
При выборе способа установки испытуемого источника следует руководствоваться рекомендациями изготовителя, если иное не установлено в испытательном коде по шуму для машин данного вида. Если типовых способов установки не существует или они не могут быть применены в испытаниях, а также при наличии нескольких допустимых способов, то следует убедиться, что выбранный способ установки не приводит к нетипичным изменениям шума данного источника. Следует выбирать такие способы, при которых вклад излучения опорной конструкции минимален.
Часто маломощные источники шума малых размеров в низкочастотной области могут при неудачном выборе способа крепления передавать значительную низкочастотную вибрацию в опорную конструкцию, обладающую хорошей акустической излучательной способностью в области низких частот. В этом случае рекомендуется использовать виброизолирующие прокладки между испытуемым источником и опорной конструкцией. При этом опорная конструкция должна быть весьма жесткой (т.е. иметь значительный входной механический импеданс), чтобы предотвратить возбуждение в ней чрезмерных колебаний, являющихся причиной ее звукового излучения. Виброизолирующие прокладки используют, только если это предусмотрено типичными условиями применения источника шума.
На звуковое излучение испытуемого источника могут также оказывать влияние условия сопряжения механизмов (например, привода и машины). Для исключения этого влияния может быть применена гибкая муфта. Применение гибкой муфты аналогично применению виброизолирующих прокладок.
6.4.2. Ручные машины и оборудование
Ручную машину при испытаниях удерживает руками оператор, или ее подвешивают таким образом, чтобы исключить передачу на нее вибрации через любые вспомогательные приспособления, не являющиеся ее частью. Если источник шума для своей работы требует опору, то опора должна быть малых размеров и рассматриваться как часть испытуемого источника. Вид опоры описывают в испытательном коде по шуму (при его наличии).
6.4.3. Машины настольные, настенные и устанавливаемые на основание
Машины данного вида при испытаниях устанавливают на звукоотражающую (акустически жесткую) поверхность (пол или стену). Машины, которые в условиях применения устанавливают на специальное основание рядом со стеной, при испытаниях устанавливают на акустически жесткую поверхность перед акустически жесткой стеной. Испытуемый настольный станок или другое настольное оборудование устанавливают на пол на расстоянии не менее 1,5 м от стены испытательного помещения, если стол или стенд не является необходимым элементом для нормальной работы машины согласно соответствующему испытательному коду по шуму. В последнем случае испытательный стол или стенд должны находиться на расстоянии не менее 1,5 м от любой звукопоглощающей поверхности испытательного пространства. Испытуемую машину устанавливают в центре стандартного испытательного стола.
Примечание. Пример испытательного стола приведен в
[18].
6.5. Движущиеся источники шума
Звуковую мощность, излучаемую движущимися источниками шума, определяют в процессе перемещения источника по заданному участку прямолинейного пути. Колеса, гусеницы и другие средства, служащие для опоры и движения машины, а также система их подвески при испытаниях должны быть теми же, что и при нормальном применении таких машин.
6.6. Работа источника шума во время испытаний
На излучаемую стационарным или движущимся источником звуковую мощность или звуковую энергию могут влиять приложенная нагрузка, рабочая скорость или скорость движения и режим работы. По возможности источник испытывают в условиях, когда его шум максимален при его типичном применении и, с другой стороны, обеспечивающих воспроизводимость результатов измерений. При наличии испытательного кода по шуму руководствуются установленными в нем требованиями к условиям работы источника, а при его отсутствии испытания проводят в одном или нескольких из следующих режимов:
a) в заданном режиме работы при заданной нагрузке;
b) при максимальной нагрузке, если она отличается от указанной в
перечислении a);
c) на холостом ходу;
d) на максимальной рабочей скорости в заданном режиме;
e) в типовом режиме работы, когда шум источника максимален;
f) в заданном режиме работы с моделируемой нагрузкой;
g) с воспроизведением типового рабочего цикла.
До проведения измерений уровня звуковой мощности или звуковой энергии источник шума должен быть стабилизирован в заданном режиме, включая температурную стабилизацию источника питания и системы привода. Нагрузку, скорость и другие эксплуатационные характеристики в процессе испытаний либо поддерживают постоянными, либо циклически изменяют установленным образом.
Если излучение источника зависит от других факторов, таких как обрабатываемый материал или применяемый вставной инструмент, то их выбирают таким образом, чтобы они соответствовали, насколько это возможно, типичным условиям применения источника и при этом обеспечивали наименьший разброс результатов измерений. Если испытания проводят с моделированием нагрузки, то ее выбирают так, чтобы шум источника был представителен с точки зрения нормальных условий применения источника.
7. Огибающий параллелепипед и измерительная поверхность
7.1. Огибающий параллелепипед
Форму и размеры измерительной поверхности выбирают исходя из формы и размеров огибающего параллелепипеда. Последний представляет собой воображаемую поверхность в виде прямоугольного параллелепипеда наименьших размеров, полностью вмещающий в себя испытуемый источник шума, за исключением, может быть, отдельных выступающих частей, про которые известно, что они не дают заметного вклада в излучаемый источником шум.
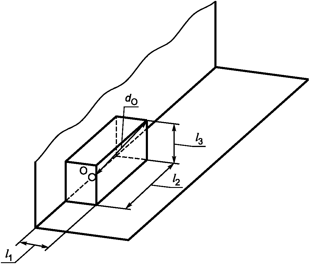
Положение огибающего параллелепипеда, измерительной поверхности и точек установки микрофонов определяют относительно системы координат, как показано на рисунке 1. Точка О начала координат является центром параллелепипеда, получаемого рядом зеркальных отражений от звукоотражающих плоскостей. Сначала отражают огибающий параллелепипед от первой (произвольно выбранной) звукоотражающей плоскости. Результатом является параллелепипед, образованный огибающим параллелепипедом и его отражением. Потом процедуру повторяют отражениями параллелепипеда, полученного на предыдущем шаге, от второй, а затем третьей звукоотражающей плоскости (при их наличии). Оси x и y системы координат лежат в плоскости горизонтальной звукоотражающей плоскости и параллельны соответствующим ребрам огибающего параллелепипеда. На рисунке 1 показан характеристический размер источника

, используемый при определении размеров измерительной поверхности, для огибающих параллелепипедов в случае одной, двух и трех звукоотражающих плоскостей.

a) Одна звукоотражающая плоскость,

- характеристический размер источника;

,

,

- ширина, длина и высота огибающего
параллелепипеда; О - начало координат
b) Две звукоотражающие плоскости,
Рисунок 1. Огибающий параллелепипед для случаев одной,
двух и трех звукоотражающих плоскостей (Лист 1)
c) Три звукоотражающие плоскости,

- характеристический размер источника;

,

,

- ширина, длина и высота огибающего
параллелепипеда; О - начало координат
Рисунок 1, лист 2
7.2. Измерительная поверхность
7.2.1. Общие положения
Измерительная поверхность представляет собой воображаемую поверхность площади S, охватывающую огибающий параллелепипед и пересекающую все звукоотражающие плоскости, на которой лежат точки измерений (места установки микрофонов) или траектории сканирования микрофоном. Измерительная поверхность может быть следующих видов:
a) полусфера, половина полусферы или четверть полусферы с измерительным радиусом r (см.
Приложение B);
b) прямоугольный параллелепипед, грани которого параллельны соответствующим граням огибающего параллелепипеда и отстоят от них на измерительное расстояние d (см.
Приложение C);
c) цилиндр, половина цилиндра или четверть цилиндра диаметром 2R и высотой h (см.
Приложение D);
d) комбинированная поверхность, элементы которой являются участками поверхностей, указанных в
перечислениях a) -
c).
В общем случае вид измерительной поверхности может быть выбран исходя из формы и размеров испытуемого источника шума, принципа, что расстояние от каждого микрофона до источника шума должно быть приблизительно одинаковым. Кроме того, результат измерения уровней звуковой мощности будет минимальным и наиболее близким к истинному значению измеряемой величины, когда звуковая волна от источника будет падать на измерительную поверхность под углом 90°. Таким образом, для источников шума относительно малых размеров наилучшим выбором может быть полусфера; для источников, чья форма близка к параллелепипеду, - прямоугольный параллелепипед, а для высоких, но не широких и не длинных источников - поверхность цилиндра. Однако поскольку разные измерительные поверхности требуют разные минимальные расстояния между микрофонами и источником, во внимание необходимо принимать также другие факторы, такие как уровень фонового шума и отраженного звука в испытательном помещении или размер источника по сравнению с областью измерений в испытательном пространстве.
Примечание. Если целью испытаний является получение уровня звуковой мощности или звуковой энергии, который потом будет сравниваться с некоторым предельным значением, то в испытательном коде по шуму могут быть указаны размер и форма измерительной поверхности, позволяющие уменьшить неопределенность результата сравнения.
Если предполагается проведение испытаний для серии однотипных источников шума (например, машин одного типа или одного вида, близких по размерам), то для них используют одну и ту же измерительную поверхность.
7.2.2. Ориентация микрофонов
Микрофоны на измерительной поверхности устанавливают таким образом, чтобы их рабочие оси (по МЭК 61672-1) были перпендикулярны измерительной поверхности. Если микрофон устанавливают в вершине измерительной поверхности в форме параллелепипеда, то его рабочая ось должна быть направлена в точку О начала координат (см.
рисунок 1).
Примечание. Обычно у микрофонов, предназначенных для измерений в свободном звуковом поле, рабочая ось совпадает с продольной осью корпуса микрофона (с предусилителем). Для микрофонов, предназначенных для измерений в диффузном поле, рабочая ось перпендикулярна продольной оси корпуса микрофона.
7.2.3. Полусферическая измерительная поверхность
Центр полусферической измерительной поверхности должен совпадать с началом координат О (см.
рисунок 1). Измерительный радиус r должен быть не менее удвоенного характеристического размера

, не менее 1 м и не более 16 м.
Для источников шума малых размеров, испытания которых проводят в ограниченном диапазоне частот (см.
3.9), допускается, чтобы измерительный радиус был менее 1 м, но не менее 0,5 м.
Примечание. Уменьшение измерительного радиуса до значений менее 1 м может налагать ограничение на нижнюю границу диапазона частот измерений.
Если радиус полусферической поверхности r оказывается настолько большим, что не выполняются требования
раздела 4 к испытательному пространству, то используют измерительные поверхности других видов, указанных в 7.2.1 [
перечисления b) -
d)].
При наличии только одной звукоотражающей плоскости измерительная поверхность представляет собой полную полусферу площадью

(см.
8.2.5 и
8.3.6). Если испытуемый источник шума устанавливают у стены, то измерительная поверхность представляет собой половину полусферы и имеет площадь

. Если источник шума устанавливают в углу испытательного помещения, то измерительная поверхность представляет собой четверть полусферы, а ее площадь равна

.
7.2.4. Измерительная поверхность в виде параллелепипеда
Параллелепипед, на поверхности которого проводят измерения, должен быть ориентирован относительно точки О так же, как и огибающий параллелепипед. Измерительное расстояние d должно быть не менее 0,25 м, но по возможности следует выбирать его значения равными 1 м и более.
Примечание. Уменьшение измерительного расстояния до значений менее 0,5 м может налагать ограничение на нижнюю границу диапазона частот измерений.
При наличии только одной звукоотражающей плоскости площадь измерительной поверхности S рассчитывают по формуле
S = 4(ab + bc + ca), (9)
где

;

;

;

,

,

- длина, ширина и высота огибающего параллелепипеда соответственно.
Если испытуемый источник шума устанавливают у стены (см.
рисунок C.12), то измерительная поверхность имеет площадь, рассчитываемую по формуле
S = 2(2ab + bc + 2ca), (10)
где

;

;

;

- длина огибающего параллелепипеда, определяемая по ребру, перпендикулярному к поверхности стены;

,

- ширина и высота огибающего параллелепипеда соответственно.
Если источник шума устанавливают в углу испытательного помещения (см.
рисунок C.13), то площадь измерительной поверхности рассчитывают по формуле
S = 2(2ab + bc + ca), (11)
где

;

;

;

,

- соответственно длина и ширина огибающего параллелепипеда, определяемые по ребрам, перпендикулярным к поверхностям, образующим угол стен;

- высота огибающего параллелепипеда.
7.2.5. Цилиндрическая измерительная поверхность
Цилиндрическая измерительная поверхность охватывает огибающий параллелепипед таким образом, что центр основания цилиндра совпадает с точкой О начала координат (см.
рисунок 1). Измерительные расстояния до боковых граней огибающего параллелепипеда обозначают соответственно

и

, а до верхней грани -

(см.
рисунок D.1). Радиус R цилиндра равен

,
а высота h

,
где

,

,

- длина, ширина и высота огибающего параллелепипеда соответственно. В настоящем стандарте для определенности полагается, что размеры огибающего параллелепипеда обозначены так, что

. Поскольку разным точкам измерений (местам установки микрофонов) соответствуют неравные участки измерительной поверхности (см.
Приложение D), значения

и

можно выбирать независимо исходя из размеров испытуемого источника или иных соображений. Значения

и

не могут быть меньше 0,5 м. Кроме того, ни одно из них не должно превышать другое более чем в 1,5 раза. Рекомендуется выбирать их равными и предпочтительно 1 м. После того, как

и

определены, определены и размеры цилиндра R и h, а значение

рассчитывается по формуле

.
Площадь S измерительной поверхности равна сумме площадей верхнего основания цилиндра

и его боковой поверхности

. При наличии только одной звукоотражающей плоскости площади основания и боковой поверхности рассчитывают соответственно по формулам

и

. Если испытуемый источник шума устанавливают у стены, то измерительная поверхность представляет собой половину цилиндра (см.
рисунок D.3) и для нее

и

. Если источник шума устанавливают в углу испытательного помещения, то измерительная поверхность представляет собой четверть цилиндра (см.
рисунок D.4), для которого

и

.
7.2.6. Комбинированная измерительная поверхность
Комбинированная измерительная поверхность представляет собой поверхность одного из трех основных видов, описанных в
7.2.3 -
7.2.5, но отдельные участки которой (на боковой поверхности или на вершине) имеют другую форму. Одним из таких возможных сочетаний является цилиндрическая измерительная поверхность, у которой плоская вершина заменена полусферой. Другим вариантом может быть измерительная поверхность в виде параллелепипеда, у которого вместо верхней плоской грани имеется половина цилиндрической поверхности. Ориентация комбинированной измерительной поверхности, требования к измерительным расстояниям (радиусам) и расчет площади измерительной поверхности такие же, как установленные для основных видов измерительной поверхности, на основе которого данная комбинированная поверхность построена. Комбинированная измерительная поверхность не должна иметь вогнутых участков и входящих углов.
8. Измерения уровней звуковой мощности и звуковой энергии
8.1. Расположение микрофонов на измерительной поверхности
8.1.1. Полусферическая измерительная поверхность
Если испытуемый источник расположен над одной звукоотражающей плоскостью, то микрофоны устанавливают в 10 основных точках измерений, пронумерованных от 1 до 10, координаты которых указаны в
таблице B.1 и на
рисунке B.1 (Приложение B).
Если источник излучает только широкополосный шум, т.е. в нем нет отчетливо различимых тональных составляющих, то можно выбрать другое расположение 10 основных точек измерений в соответствии с
таблицей B.2 и
рисунком B.2 или вместо точек измерений использовать сканирование микрофоном (траектории сканирования показаны на
рисунке B.5).
Примечание 1. По соображениям безопасности точка измерения в вершине полусферы может быть исключена, если это предусмотрено соответствующим испытательным кодом по шуму.
Если целью испытаний является определение корректированного по A уровня звуковой мощности непосредственно по измерениям уровней звука в точках на поверхности полусферы, то может использоваться расстановка микрофонов в соответствии с
Приложением F.
Примечание 2. В испытательном коде по шуму для машин конкретного вида указывается один предпочтительный способ расположения точек измерений из установленных настоящим стандартом.
Если испытуемый источник шума расположен рядом с двумя звукоотражающими плоскостями, то микрофоны устанавливают в пяти основных точках измерений с номерами 2, 3, 6, 7 и 9, как указано в
таблице B.2 (см.
рисунок B.3).
Если испытуемый источник шума расположен рядом стремя звукоотражающими плоскостями, то микрофоны устанавливают в трех основных точках измерений с номерами 1, 2 и 3, как указано в
таблице B.3 (см.
рисунок B.4).
Кроме того, для проведения измерений используют дополнительные точки измерений в следующих случаях:
a) разность между максимальным и минимальным уровнями звука, полученными в результате измерений в основных точках в соответствии с
8.2, превышает 10 дБ для случая одной звукоотражающей плоскости (точки от 1 до 10), 5 дБ для случая двух звукоотражающих плоскостей (точки 2, 3, 6, 7 и 9) или 3 дБ для случая трех звукоотражающих плоскостей (точки 1, 2 и 3);
b) испытуемый источник излучает шум с корректированными по A кажущимся показателем направленности (см.
8.4), превышающим 5 дБ в любом из направлений.
Примечание 3. На результат измерений кажущегося показателя направленности может оказать влияние фоновый шум. Если в какой-либо из точек измерений

отличается от максимального значения

не более чем на 6 дБ, то приоритет следует отдать мерам по снижению фонового шума, а не увеличению числа точек измерений;
c) у источника больших размеров шум излучается только через элементы малых размеров, например через отверстия в кожухе машины.
В
случае a) используют дополнительные точки измерений, пронумерованные от 11 до 20 в соответствии с
таблицей B.1 и
рисунком B.1 или
таблицей B.2 и
рисунком B.2, пронумерованные как 11, 14, 15 и 18 в соответствии с
рисунком B.3 или пронумерованные как 4, 5 и 6 в соответствии с
рисунком B.4, в зависимости от типа источника шума и числа звукоотражающих плоскостей. Дополнительные точки измерений на полной полусфере могут быть получены и другим способом. Для этого измерения проводят в тех же основных точках измерений, но с изменяющейся ориентацией испытуемого источника. Источник шума поворачивают против часовой стрелки с шагом 60° в случае, если основные точки измерений расположены, как указано в
таблице 1, или с шагом 180° в случае расположения основных точек измерений в соответствии с
таблицей B.2.
Если имеют место
случаи b) или
c), то дополнительные точки измерений размещают на участках измерительной поверхности, соответствующих направлениям максимального излучения шума, чтобы обеспечить более подробное описание изменений звукового поля на этих участках. Для этого определяют точку с максимальным уровнем звукового давления по измерительной поверхности, после чего вокруг нее размещают несколько дополнительных точек. Число таких точек выбирают количественно равным диапазону изменений уровней звукового давления в децибелах по измерительной поверхности (т.е. разности между максимальным и минимальным значениями уровня). При этом точкам измерения будут соответствовать неравные по площади участки измерительной поверхности, что необходимо будет учесть при расчете среднего уровня звукового давления (см.
8.2.2.2).
Число точек измерений может быть уменьшено, если предварительными исследованиями для источника шума данного вида установлено, что результат измерения усредненного по измерительной поверхности уровня звукового давления с использованием меньшего числа точек не будет отличаться от измеренного с использованием всех точек более чем на 0,5 дБ. Это может быть, например, если звуковое поле излучения обладает симметрией. В
Приложении F описан альтернативный способ размещения микрофонов, когда их число уменьшено до шести. Какой способ установки микрофонов из описанных в
Приложениях B и
F использовать в конкретном случае, должно быть указано в испытательном коде по шуму для машин данного вида. Если микрофоны устанавливают в соответствии с
таблицей B.2, то указанным шести позициям соответствуют номера 1, 11, 4, 14, 7 и 17, а если в соответствии с
таблицей F.1 - то номера 2, 4, 6, 8, 10 и 12.
Если вместо измерений в точках применяется сканирование микрофоном, то микрофон должен перемещаться с постоянной скоростью по концентрическим круговым траекториям, расположенным в параллельных плоскостях, как описано в
разделе B.4. Если испытуемый источник излучает стационарный широкополосный шум, то число круговых траекторий должно быть не менее пяти, а если в шуме присутствуют дискретные частотные составляющие, то не менее 10. Эквивалентный результат можно получить, если микрофон не перемещать по круговой траектории, а установить в фиксированном положении и при этом вращать испытуемый источник шума.
8.1.2. Измерительная поверхность в виде параллелепипеда
Число микрофонов и места их установки или траектории сканирования зависят от размеров огибающего параллелепипеда

,

и

, а также измерительного расстояния d. Руководство по определению числа и места точек измерений приведено в
Приложении C.
Кроме того, для проведения измерений используют дополнительные точки измерений в следующих случаях:
a) разность между максимальным и минимальным уровнями звука, полученными в результате измерений в основных точках в соответствии с
8.2, количественно превышает число точек измерений;
b) испытуемый источник излучает шум с корректированными по A кажущимся показателем направленности при измерениях с коррекцией по частотной характеристике A (см.
8.4), превышающим 5 дБ в любом из направлений.
Примечание 1. На результат измерений кажущегося показателя направленности может оказать влияние фоновый шум. Если в какой-либо из точек измерений

отличается от максимального значения

не более чем на 6 дБ, то приоритет следует отдать мерам по снижению фонового шума, а не увеличению числа точек измерений;
c) у источника больших размеров шум излучается только через элементы малых размеров, например через отверстия в кожухе машины.
Если имеют место
случаи b) или
c), то дополнительные точки измерений размещают на участках измерительной поверхности, соответствующих направлениям максимального излучения шума, чтобы обеспечить более подробное описание изменений звукового поля на этих участках (см.
рисунок C.3 или
рисунок C.6). Для этого определяют точку с максимальным уровнем звукового давления по измерительной поверхности, после чего вокруг нее размещают несколько дополнительных точек. Число таких точек выбирают количественно равным диапазону изменений уровней звукового давления в децибелах по измерительной поверхности (т.е. разности между максимальным и минимальным уровнями). При этом точкам измерения будут соответствовать неравные по площади участки измерительной поверхности, что необходимо будет учесть при расчете среднего уровня звукового давления (см.
8.2.2.2).
Число точек измерений может быть уменьшено, если предварительными исследованиями для источника шума данного вида установлено, что результат измерения усредненного по измерительной поверхности уровня звукового давления с использованием меньшего числа точек не будет отличаться от измеренного с использованием всех точек более чем на 0,5 дБ. Это может быть, например, если звуковое поле излучения обладает симметрией.
Примечание 2. По соображениям безопасности точка измерений в середине верхней грани параллелепипеда может быть исключена, если это предусмотрено соответствующим испытательным кодом по шуму.
Если шум испытуемого источника постоянен, то допускается проводить измерения сканированием микрофоном с постоянной скоростью вдоль параллельных линий (см.
Приложение C).
8.1.3. Цилиндрическая измерительная поверхность
Число микрофонов и места их установки или траектории сканирования зависят от размеров измерительной поверхности. Руководство по определению числа и мест точек измерений приведено в
Приложении D.
8.1.4. Комбинированная измерительная поверхность
Для каждого участка комбинированной измерительной поверхности правила определения числа микрофонов и мест их установки должны быть теми же, что и для основных видов измерительных поверхностей (см.
8.1.1 -
8.1.3), на основе которых данная комбинированная поверхность построена.
8.2. Определение уровня звуковой мощности
8.2.1. Измерения эквивалентного уровня звукового давления
В каждой точке установки микрофона или вдоль каждой траектории сканирования измеряют эквивалентный уровень звукового давления испытуемого источника шума

, i = 1, 2,...,

(в полосах частот или корректированный по A) в каждом выбранном в соответствии с
6.6 режиме работы источника. При выборе продолжительности измерений следует учитывать характер шума (постоянный или непостоянный). Продолжительность измерений указывают в протоколе испытаний. Продолжительность измерений в каждой полосе частот или в широкой полосе частот с коррекцией по частотной характеристике A должна быть не менее 10 с, но рекомендуется, чтобы она была 20 с и более. При сканировании микрофоном продолжительность измерений должна быть кратна времени прохождения по траектории с кратностью не менее двух.
Непосредственно до или сразу после измерений

в тех же точках или вдоль той же траектории движения микрофона измеряют эквивалентный уровень звукового давления фонового шума

при той же продолжительности измерений.
8.2.2. Вычисление среднего по измерительной поверхности эквивалентного уровня звукового давления
8.2.2.1. Измерительная поверхность с равномерным распределением точек измерений (траекторий сканирования)
В случае когда точкам установки микрофонов или траекториям сканирования соответствуют участки измерительной поверхности равной площади, средний на измерительной поверхности эквивалентный уровень звукового давления испытуемого источника

, дБ, вычисляют по формуле

, (12)
где

- эквивалентный уровень звукового давления (в полосе частот или корректированный по A) в i-й точке установки микрофона или для i-й траектории сканирования при работающем испытуемом источнике, дБ;

- число точек установки микрофонов или траекторий сканирования.
Средний на измерительной поверхности эквивалентный уровень звукового давления фонового шума

, дБ, вычисляют по формуле

, (13)
где

- эквивалентный уровень звукового давления фонового шума в i-й точке установки микрофона или для i-й траектории сканирования, дБ;

- число точек установки микрофонов или траекторий сканирования.
8.2.2.2. Измерительная поверхность с неравномерным распределением точек измерений (траекторий сканирования)
В случае когда точкам установки микрофонов или траекториям сканирования соответствуют участки измерительной поверхности неравной площади, средний на измерительной поверхности эквивалентный уровень звукового давления испытуемого источника шума

, дБ, вычисляют по формуле

, (14)
где

- эквивалентный уровень звукового давления (в полосе частот или корректированный по A) в i-й точке установки микрофона или для i-й траектории сканирования при работающем испытуемом источнике, дБ;

- площадь участка измерительной поверхности, соответствующего i-й точке измерений или i-й траектории сканирования, м2;
S - общая площадь измерительной поверхности, м2,

;

- число точек установки микрофонов или траекторий сканирования.
Средний на измерительной поверхности эквивалентный уровень звукового давления фонового шума

, дБ, вычисляют по формуле

, (15)
где

- эквивалентный уровень звукового давления фонового шума в i-й точке установки микрофона или для i-й траектории сканирования, дБ;

- площадь участка измерительной поверхности, соответствующего i-й точке измерений или i-й траектории сканирования, м2;
S - общая площадь измерительной поверхности, м2;

- число точек установки микрофонов или траекторий сканирования.
8.2.3. Определение коррекции на фоновый шум
Коррекцию на фоновый шум

, дБ, рассчитывают по формуле

, (16)
где

;

- средний на измерительной поверхности эквивалентный уровень звукового давления (в полосе частот или корректированный по A) при работающем испытуемом источнике, дБ;

- средний на измерительной поверхности эквивалентный уровень звукового давления фонового шума (в полосе частот или корректированный по A), дБ.
Если

, то

полагают равным нулю.
Коррекцию

, рассчитанную по
формуле (16), используют, если

.
Если для одной или нескольких полос

, то это может привести к снижению точности измерений. Для таких полос коррекцию

принимают равной 1,3 дБ (соответствует

). В этих случаях в тексте протокола испытаний, в табличном или графическом представлении результатов измерений указывают, что приведенные для таких полос данные представляют собой верхнюю оценку уровня звуковой мощности источника шума.
Примечание. Проверка соответствия требованиям, установленным к фоновому шуму, - по
4.2.
8.2.4. Расчет эквивалентного уровня звукового давления до измерительной поверхности
Эквивалентный уровень звукового давления по поверхности

, дБ, получают, вычитая коррекции на фоновый шум

, дБ (см.
8.2.3), и на свойства испытательного пространства

, дБ (см.
разделы A.2 и
A.3), из значения

, по формуле

. (17)
8.2.5. Расчет уровня звуковой мощности
Уровень звуковой мощности

, дБ, для атмосферных условий во время испытаний вычисляют по формуле

, (18)
где

- эквивалентный уровень звукового давления на измерительной поверхности, дБ;
S - площадь измерительной поверхности, м2;

.
При пониженном атмосферном давлении (например, в случае измерений на высоте более 500 м над уровнем моря) или при температурах ниже 10 °C оценка уровня звуковой мощности, полученная по
формуле (18), будет смещена. Приведение полученной оценки к значению

, соответствующему нормальным атмосферным условиям (статическому давлению 101,325 кПа и температуре воздуха 23,0 °C), - в соответствии с
Приложением G.
8.3. Определение уровня звуковой энергии
8.3.1. Измерения уровня экспозиции однократного шумового процесса
В каждой точке установки микрофона измеряют уровень экспозиции однократного шумового процесса, создаваемого испытуемым источником,

, i = 1, 2,...,

, в полосах частот или корректированного по A. Измерения проводят либо один раз на интервале времени, когда однократный шумовой процесс повторяется

раз, либо

раз для отдельных шумовых процессов

. Измерения проводят одновременно во всех точках установки микрофонов на периоде, включающем в себя весь однократный шумовой процесс. Сканирование микрофоном при измерениях уровней экспозиции однократного шумового процесса не применяют.
Примечание. Требование одновременности измерений во всех точках может не исполняться, если однократный шумовой процесс обладает хорошей повторяемостью.
Непосредственно до или сразу после измерений

в тех же точках измеряют эквивалентный уровень звукового давления фонового шума

при той же продолжительности измерений.
8.3.2. Усреднение уровня экспозиции однократного шумового процесса по повторным измерениям
Если уровни экспозиции однократного шумового процесса измеряют

раз для каждого одиночного процесса в i-й точке установки микрофона, то средний уровень экспозиции однократного шумового процесса

, дБ, рассчитывают по формуле

, (19)
где

- полученный в q-м измерении (q = 1, 2,...,

) уровень экспозиции однократного шумового процесса в полосе частот или корректированный по A в i-й точке установки микрофона при работающем испытуемом источнике, дБ;

- число измерений однократного шумового процесса.
Если уровень экспозиции однократного шумового процесса был измерен в i-й точке установки микрофона один раз для последовательности, включающей

одиночных процессов, то значение

, дБ, рассчитывают по формуле

, (20)
где

- полученный уровень экспозиции однократного шумового процесса в полосе частот или корректированный по A в i-й точке установки микрофона при работающем испытуемом источнике по измерениям последовательности, включающей

одиночных однократных шумовых процессов, дБ;

- число однократных шумовых процессов в измеряемой последовательности.
8.3.3. Вычисление среднего по измерительной поверхности уровня экспозиции однократного шумового процесса
Измеренные в разных точках измерительной поверхности уровни экспозиции однократного шумового процесса

, дБ, усредняют для получения

, дБ, согласно
8.2.2.
8.3.4. Коррекции на фоновый шум
Коррекцию на фоновый шум

, дБ, рассчитывают по формуле

, (21)
где

;

- средний на измерительной поверхности уровень экспозиции однократного шумового процесса (в полосе частот или корректированный по A) при работающем испытуемом источнике, дБ;

- средний на измерительной поверхности эквивалентный уровень звукового давления фонового шума (в полосе частот или корректированный по A), дБ (см.
8.2.2).
Время интегрирования

и другие параметры измерений при определении

должны быть теми же, что и при определении

.
8.3.5. Расчет уровня экспозиции однократного шумового процесса по измерительной поверхности
Уровень экспозиции однократного шумового процесса по поверхности

, дБ, получают, вычитая коррекции на фоновый шум

, дБ (см.
8.3.4), и на свойства испытательного пространства

, дБ (см.
разделы A.2 и
A.3), из значения

, по формуле

. (22)
8.3.6. Расчет уровня звуковой энергии
Уровень звуковой энергии

, дБ, для атмосферных условий во время испытаний вычисляют по формуле

, (23)
где

- уровень экспозиции однократного шумового процесса по измерительной поверхности, дБ;
S - площадь измерительной поверхности, м2;

.
При пониженном атмосферном давлении (например, в случае измерений на высоте более 500 м над уровнем моря) или при температурах ниже 10 °C оценка уровня звуковой мощности, полученная по
формуле (23), будет смещена. Приведение полученной оценки к значению

, соответствующему нормальным атмосферным условиям (статическое давление 101,325 кПа, температура воздуха 23,0 °C), - в соответствии с
Приложением G.
8.4. Расчет кажущегося показателя направленности
Для проверки достаточности точек измерений [см.
8.1.1 b) или
8.1.2 b)] рассчитывают кажущийся показатель направленности (см.
3.24) для измерительной поверхности.
8.5. Расчет кажущегося показателя неравномерности уровня звукового давления
При необходимости рассчитывают кажущийся показатель неравномерности уровня звукового давления (см.
3.25) на измерительной поверхности.
8.6. Определение корректированных по A уровней звуковой мощности и звуковой энергии
Корректированные по A уровни звуковой мощности и звуковой энергии,

и

соответственно, рассчитывают на основе результатов измерений в полосах частот в соответствии с
Приложением E.
Для источников, чей шум сосредоточен преимущественно на высоких или низких частотах вне диапазона частот измерений (см.
3.9), при определении

или

диапазон частот измерений следует расширить, чтобы включить в него указанные частоты. Диапазон частот, в котором были проведены измерения, должен быть указан в протоколе испытаний.
9. Неопределенность измерения
Стандартные неопределенности уровня звуковой мощности

, дБ, и уровня звуковой энергии

, дБ, определяют в соответствии с настоящим стандартом как общее стандартное отклонение

. (24)
Общее стандартное отклонение рассчитывают на основании модели измерений в соответствии с Руководством ИСО/МЭК 98-3. При отсутствии необходимых сведений, позволяющих построить такую модель, прибегают к результатам сопоставительных измерений, выполненных в условиях воспроизводимости.
Тогда общее стандартное отклонение

рассчитывают через стандартное отклонение воспроизводимости

и стандартное отклонение

, характеризующее нестабильность условий работы и установки испытуемого источника, по формуле

. (25)
Из
формулы (25) видно, что, прежде чем выбрать метод измерений заданного класса точности, характеризуемого значением

для данного семейства машин, необходимо учесть возможный разброс результатов, обусловленный изменениями условий работы и установки машин [см.
9.5 и
раздел H.3 (Приложение H)].
Примечание. Результаты измерений разными методами, установленными стандартами серии
[1], могут быть смещены друг относительно друга.
Расширенную неопределенность измерения U рассчитывают по общему стандартному отклонению

по формуле

, (26)
где k - коэффициент охвата. В предположении, что результат измерений может быть описан нормально распределенной случайной величиной, коэффициент охвата k принимают равным двум, что приблизительно соответствует вероятности охвата 95%. Это означает, что интервалу охвата от

до

для уровня звуковой мощности или от

до

для уровня звуковой энергии будет соответствовать 95% площади под кривой плотности распределения случайной величины.
Если измеренный уровень звуковой мощности (звуковой энергии) предполагается сопоставлять с неким предельным значением, то иногда может быть более уместно определить односторонний интервал охвата для указанной случайной величины. В этом случае при уровне доверия 95% значение коэффициента охвата будет равно k = 1,6.
9.2. Определение

Стандартное отклонение

[см.
формулу (H.1) в Приложении H], характеризующее неопределенность, связанную с нестабильностью воспроизведения условий работы и установки источника шума для испытаний, может давать существенный вклад в неопределенность измерения уровня звуковой мощности (звуковой энергии). Для получения оценки

можно провести серию повторных измерений для одного и того же источника шума в одном и том же месте размещения одним и тем же испытателем, используя одну и ту же измерительную систему и одну и ту же точку (или точки) измерений. Повторные измерения

[или

] выполняют в точке измерений, где значение этой величины максимально, или определяют

[или

]. К полученным результатам применяют коррекцию на фоновый шум. Перед каждым повторным измерением испытуемый источник устанавливают заново и заново устанавливают необходимый режим работы. Если испытания проводят для единственного экземпляра источника шума, то полученное по повторным измерениям выборочное стандартное отклонение обозначают

. В соответствующем испытательном коде по шуму может быть приведена оценка

для семейства машин. Можно ожидать, что такая оценка была получена с учетом всех возможных источников вариативности в установке и условиях работы, на которые распространяется данный испытательный код.
Примечание. Если звуковая мощность мало изменяется в процессе повторных измерений, а измерения проведены правильно, то величине

можно приписать значение 0,5 дБ. В других случаях, например, когда на шум испытуемого источника существенное влияние оказывает обрабатываемый или производимый материал, а также при непредсказуемых изменениях в потреблении или производстве материала, подходящей оценкой

можно считать 2 дБ. Но в особых случаях очень сильной зависимости шума от свойств обрабатываемого материала (когда испытуемым источником шума являются такие машины, как камнедробилки, металлорежущие станки или прессы, работающие под нагрузкой) эта величина может достигать 4 дБ.
9.3. Определение

9.3.1. Общие положения
Стандартное отклонение

характеризует все источники неопределенности, которые могут оказать влияние на результаты измерений, проводимых в соответствии с настоящим стандартом (различия в характеристиках излучения источников шума, в применяемых средствах измерений), за исключением нестабильности звуковой мощности источника шума (последний фактор характеризуется значением

).
Обобщение накопленного к данному времени опыта испытаний позволило установить оценки

, которые приведены в таблице 2. Эти оценки можно считать верхними оценками для большинства машин и оборудования, на которое распространяется настоящий стандарт. Для машин конкретного вида могут быть получены уточненные оценки путем проведения межлабораторных сравнительных испытаний (см.
9.3.2) или путем использования математического моделирования (см.
9.3.3). Такие оценки приводят в испытательных кодах по шуму для машин конкретных видов (см.
9.2 и
Приложение H).
Таблица 2
Типичные верхние оценки

для измерений уровней
звуковой мощности (звуковой энергии), проводимых
в соответствии с настоящим стандартом
Полоса частот измерений | Среднегеометрическая частота, Гц | Стандартное отклонение воспроизводимости  , дБ |
Третьоктавная полоса частот | От 100 до 160 | 3,0 |
От 200 до 315 | 2,0 |
От 400 до 5000 | 1,5 |
От 6300 до 10000 | 2,5 |
Широкая полоса частот с коррекцией по частотной характеристике A (см. Приложение E) | |
<a> Применительно к источникам, излучающим шум со сравнительно плоским спектром, в диапазоне частот от 100 до 10000 Гц. |
9.3.2. Межлабораторные сравнительные испытания
Межлабораторные испытания для определения

проводят в соответствии с ИСО 5725, когда уровни звуковой мощности источника шума определяют в условиях воспроизводимости, т.е. с участием разных специалистов, проводящих измерения в разных местах расположения источника шума разными средствами измерений. Такой эксперимент позволяет получить оценку

общего стандартного отклонения для источника шума, рассылаемого лабораториям - участникам эксперимента. Предполагается, что в межлабораторных испытаниях будет обеспечена вариативность всех существенных факторов, которые могут оказать влияние на результат измерений звуковой мощности данного источника шума.
Полученная в результате межлабораторных испытаний оценка

, дБ, включает в себя оценку

, дБ, что позволяет получить оценку

по формуле

. (27)
Если оценки

, полученные в результате испытаний разных экземпляров источника шума данного вида, незначительно отличаются, то их среднее можно рассматривать как оценку

для всех источников шума данного вида в измерениях, проводимых в соответствии с настоящим стандартом. Такую оценку (вместе с оценкой

) следует по возможности указывать в испытательном коде по шуму и использовать для заявления значения шумовой характеристики машин.
Если межлабораторные испытания не проводились, то для реалистической оценки

используют накопленные знания об измерениях шума машин данного вида.
Иногда затраты на проведение межлабораторных испытаний можно сократить, исключив требование проведения измерений в разных местах расположения источника шума. Это можно сделать, например, если источник шума обычно устанавливают в условиях, когда коррекции на фоновый шум

и на свойства испытательного пространства

невелики, или если целью испытаний является подтверждение значения шумовой характеристики машины при ее работе в заданном месте расположения. Оценку, полученную в этих условиях ограниченной вариативности, обозначают

и используют в испытаниях крупногабаритных стационарно устанавливаемых машин. Следует ожидать, что полученные значения

будут ниже приведенных в
таблице 2.
Оценки

, полученные по
формуле (27), малодостоверны, если

незначительно превышает

. Достаточно надежные оценки

будут только в том случае, если

не превышает

.
9.3.3. Расчет

на основе математической модели
Обычно

зависит от нескольких факторов, дающих вклады

(i = 1, 2,..., n) в общую неопределенность измерения уровня звуковой мощности (звуковой энергии). Такими факторами, в частности, являются применяемые средства измерений, коррекция на условия окружающей среды и местоположения микрофонов. Если предположить, что данные факторы влияют на общую неопределенность независимо друг от друга, то оценку

можно представить в виде (см. Руководство ИСО/МЭК 98-3)

. (28)
В
формулу (28) не входят неопределенности, связанные с нестабильностью излучения источника (поскольку они учтены в

). Источники неопределенности, дающие вклад в общую неопределенность измерения уровня звуковой мощности (звуковой энергии), рассматриваются в
Приложении H.
Примечание. Если источники неопределенности, входящие в модель измерений, коррелированы, то
формулу (28) применять нельзя. Кроме того, расчет на основе математической модели требует дополнительной информации, чтобы определить вклады

всех составляющих в
формуле (28).
В противоположность этому оценки

, получаемые в результате межлабораторных испытаний, не требуют каких-либо дополнительных предположений о возможной корреляции источников неопределенности, входящих в
формулу (28). Оценки по результатам межлабораторных испытаний в общем случае являются более устойчивыми, чем полученные на основе математических моделей. Однако проведение межлабораторных испытаний не всегда осуществимо и зачастую их приходится заменять обобщением опыта прошлых измерений.
9.4. Типичные оценки

В
таблице 2 приведены типичные верхние оценки стандартного отклонения

для технического метода измерения шума, которые могут применяться для большинства измерений, проводимых в соответствии с настоящим стандартом (см.
[25],
[26]). В особых случаях, а также когда требования настоящего стандарта не могут быть в полном объеме соблюдены для машин определенного вида или когда ожидается, что для машин данного вида

должно быть меньше значений, указанных в
таблице 2, для уточнения оценки

рекомендуется проведение межлабораторных испытаний.
9.5. Общее стандартное отклонение

и расширенная неопределенность U
Общее стандартное отклонение

и расширенную неопределенность U рассчитывают по
формулам (25) и
(26) соответственно.
Пример - Технический метод измерений;

; k = 2; в результате измерения получено

. Определение

для машин данного вида выполнено не было, поэтому использовано значение

из
таблицы 2 
. По
формулам (25) и
(26) получаем

.
Другие примеры расчета

приведены в
разделе H.3 (Приложение H).
Примечание. Расширенная неопределенность, определяемая по
формуле (26), не включает в себя стандартное отклонение производства, использованного в
[7] в целях определения и заявления значений шумовой характеристики для партии машин.
10. Регистрируемая информация
10.1. Общие положения
Для всех измерений, выполненных в соответствии с настоящим стандартом, должна быть получена и зарегистрирована информация, указанная в 10.2 -
10.5.
10.2. Испытуемый источник шума
Приводят следующие сведения:
a) общие данные об испытуемом источнике шума (изготовитель, наименование и вид, тип, технические данные, габаритные размеры, порядковый номер по системе нумерации изготовителя, год выпуска);
b) вспомогательное оборудование и способ его использования при испытаниях;
c) режимы работы при испытаниях и продолжительность измерений в каждом режиме;
d) условия установки испытуемого источника шума;
e) место расположения (расположений) источника шума в испытательном пространстве во время испытаний.
10.3. Акустические условия
Приводят следующие сведения:
a) описание испытательного пространства:
1) если испытания проводят в помещении - тип здания; конструкция и покрытие стен, пола и потолка; схема с указанием расположения испытуемого источника шума и других предметов в помещении;
2) если испытания проводят на открытом воздухе - описание звукоотражающей плоскости и прилегающей территории; схема с указанием расположения испытуемого источника шума;
3) описание дополнительных звукоотражающих поверхностей (стен);
b) результаты проверки пригодности испытательного пространства, выполненной в соответствии с
Приложением A;
c) атмосферные условия, включая температуру воздуха, в градусах Цельсия, и статическое атмосферное давление, в килопаскалях, вблизи источника шума во время испытаний.
10.4. Средства измерений
Приводят следующие сведения:
a) данные об измерительной аппаратуре (изготовитель, наименование, тип, порядковый номер по системе нумерации изготовителя);
b) дату и место калибровки (поверки), методы калибровки акустического калибратора, результаты проверки калибровки до и после проведения измерений, данные калибровки образцового источника шума (при его применении);
c) характеристики ветрозащитного экрана микрофона (при его применении).
10.5. Результаты измерений
Приводят следующие общие сведения:
a) размеры огибающего параллелепипеда

,

и

, форма измерительной поверхности, измерительный радиус r или измерительное расстояние d;
b) расположение точек измерений или траекторий сканирования микрофоном (с приложением, при необходимости, схем) с указанием связанных с ними участков измерительной поверхности неравной площади.
Указывают следующие сведения для каждого режима работы испытуемого источника в условиях измерений:
c) все результаты измерений эквивалентных уровней звукового давления (уровней экспозиции однократного шумового процесса) испытуемого источника шума и фонового шума;
d) коррекцию(и), в децибелах, на фоновый шум;
e) коррекцию(и), в децибелах, на свойства испытательного пространства с указанием метода ее определения согласно
Приложению A;
f) средние на измерительной поверхности эквивалентные уровни звукового давления (уровни экспозиции однократного шумового процесса), в децибелах, для испытуемого источника шума и для фонового шума;
g) уровни звуковой мощности (звуковой энергии), в децибелах, в полосах частот или корректированные по A, округленные с точностью до 0,1 дБ. Дополнительно возможно представление данных характеристик в графическом виде;
h) расширенную неопределенность измерения, использованное значение коэффициента охвата и соответствующую вероятность охвата;
i) максимальное значение кажущегося показателя направленности с указанием направления, в котором он максимален (при необходимости);
j) максимальное значение кажущегося показателя неравномерности уровня звукового давления на измерительной поверхности при данном измерительном радиусе или измерительном расстоянии (при необходимости);
k) дату и время проведения измерений.
В протоколе испытаний указывают зарегистрированную в соответствии с
разделом 10 информацию, которая необходима в целях измерений. В протокол включают также все особенности, необходимость учета которых указана в соответствующих разделах настоящего стандарта. Если уровни звуковой мощности или звуковой энергии получены в полном соответствии с требованиями настоящего стандарта, то соответствующая запись должна быть сделана в протоколе испытаний. Если при проверке соблюдения условий настоящего стандарта одна или несколько проверяемых акустических характеристик выходят за установленные предельные значения, то в протокол вносят запись о том, что измерения были проведены в соответствии с требованиями настоящего стандарта, за исключением указываемых в протоколе испытаний. При этом в протоколе не допускается прямо или неявно указывать на то, что испытания проведены в полном соответствии с настоящим стандартом.
(обязательное)
ПРОВЕРКА ПРИГОДНОСТИ ИСПЫТАТЕЛЬНОГО ПРОСТРАНСТВА
В настоящем Приложении устанавливаются два метода оценки влияния на результаты измерений отклонения условий распространения звука от условий свободного звукового поля над звукоотражающей плоскостью и расчета коррекции на свойства испытательного пространства

. В соответствии с этими методами определяют, пригодна ли данная измерительная поверхность для испытаний данного источника шума в соответствии с требованиями настоящего стандарта.
Первый метод является методом сравнения (см.
раздел A.2) и основан на использовании образцового источника шума и может применяться для оценки испытательного пространства как в помещении, так и на открытом воздухе. Он является предпочтительным, особенно если шум измеряют в полосах частот и имеется возможность удалить испытуемый источник шума из испытательного пространства.
Второй метод (см.
раздел A.3) основан на оценке звукопоглощающей способности испытательного помещения и требует определения эквивалентной площади звукопоглощения A. Данный метод применяют только для измерений в помещениях приблизительно кубической формы, внутри которых нет предметов, способных существенно повлиять на распространение звука и в которых поглощение звука осуществляется на их границах. Величина A может быть рассчитана четырьмя способами: по измерениям времени реверберации (см.
A.3.2), по измерениям уровней звукового давления испытуемого источника шума с использованием вспомогательной измерительной поверхности (см.
A.3.3), по измерениям с использованием образцового источника шума (см.
A.3.4) или на основе оценки среднего коэффициента звукопоглощения (см.
A.3.5). Последний метод является предпочтительным, если испытуемый источник шума имеет большие размеры и/или не может быть перемещен.
Примечание. В некоторых производственных зданиях с низким потолком и звукоотражающими поверхностями условия распространения звука сильно отличаются от требуемых настоящим стандартом. В этом случае второй метод неприменим, и следует использовать способ оценки пригодности испытательного пространства, указанный в соответствующем испытательном коде по шуму (при его наличии).
A.2.1. Общие положения
Если при испытаниях источника шума используют полусферическую измерительную поверхность, то образцовый источник шума, удовлетворяющий требованиям ИСО 6926, помещают приблизительно в то же место, в которое устанавливают испытуемый источник. Определяют уровень звуковой мощности образцового источника шума методом, описанным в
разделе 8, без внесения коррекции на свойства испытательного пространства

(т.е.

первоначально предполагают равным нулю). При этом используют ту же измерительную поверхность, что и для испытуемого источника шума.
Коррекцию на свойства испытательного пространства

, дБ, рассчитывают по формуле

, (A.1)
где

- уровень звуковой мощности образцового источника шума, измеренный в соответствии с
разделом 8, без внесения коррекции на свойства испытательного пространства

, дБ;

- уровень звуковой мощности образцового источника шума, полученный при его калибровке и приведенный к атмосферным условиям испытаний, дБ.
Данный метод применим к измерениям как в полосах частот, так и в широкой полосе с использованием коррекции по частотной характеристике A. Если распределения мощности в спектрах шума испытуемого источника и образцового источника сильно различаются, то коррекцию

рассчитывают по результатам измерений в полосах частот.
A.2.2. Расположение образцового источника шума
Если имеется возможность удалить испытуемый источник шума из испытательного пространства, то независимо от высоты этого источника образцовый источник шума устанавливают на его место на звукоотражающей плоскости, за исключением особых случаев, к которым относятся, например, ручные машины.
Примечание. Обычно при калибровке образцового источника шума его устанавливают в удалении от стен помещения, на полу или на специальном стенде на заданной высоте над полом. Если условия установки образцового источника шума в испытательном пространстве отличаются от условий его установки при калибровке, то это может привести к появлению систематической погрешности на низках частотах.
Если испытуемый источник имеет малые размеры, так что длина каждого из ребер огибающего параллелепипеда (

,

или

) не превышает 2 м, а его длина

сопоставима с шириной

, то допускается устанавливать образцовый источник шума только в одном месте в испытательном пространстве. Для испытуемых источников больших размеров, а также для имеющих соотношение длин

образцовый источник шума последовательно устанавливают в четырех точках пола, которые находятся в серединах сторон прямоугольника, образующего нижнюю грань огибающего параллелепипеда. Значение

рассчитывают по
формуле (12) на основе среднего по измерительной поверхности уровня звукового давления

, для получения которого определяют уровень звукового давления в каждой точке измерительной поверхности, усредненный (путем энергетического суммирования) по четырем значениям для каждого положения образцового источника шума в указанных точках.
Если источник шума не может быть удален из испытательного пространства, то образцовый источник шума располагают в одном или более местах, не совпадающих с местом установки испытуемого источника шума, про которые известно, что они по условиям звукоотражения эквивалентны месту установки испытуемого источника шума. Допускается установка образцового источника шума сверху на испытуемом источнике шума или вблизи от него в соответствии с
[6].
Число точек измерений на измерительной поверхности должно удовлетворять требованиям
8.1.1,
8.1.2 или
8.1.3 в зависимости от формы измерительной поверхности.
A.3. Метод на основе оценки звукопоглощающих свойств помещения
В соответствии с данным методом коррекцию на свойства испытательного пространства

, дБ, рассчитывают по формуле

, (A.2)
где A - эквивалентная площадь звукопоглощения испытательного помещения, м2;
S - площадь измерительной поверхности, м2.
Оценку отношения S/A можно получить четырьмя разными способами (см. A.3.2 -
A.3.5).
A.3.2. Оценка по времени реверберации
Данный способ оценки применим только для испытательных помещений, длина и ширина которых не превышают утроенную высоту потолка.
Эквивалентную площадь звукопоглощения A, м2, вычисляют по эмпирической формуле Сэбина, которая для температур помещения в интервале от 15 °C до 30 °C имеет вид

, (A.3)
где V - объем испытательного помещения, м3;

- измеренное в соответствии с ИСО 3382-2 время реверберации для данного помещения в узкой или широкой полосе частот, с.
Для определения коррекции

используют время реверберации для полосы со среднегеометрической частотой 1 кГц.
Способ неприменим для заглушенных камер с жестким полом и открытых площадок.
A.3.3. Оценка с использованием двух измерительных поверхностей
Данный способ оценки применим только для испытательных помещений, в которых

.
Выбирают две измерительные поверхности, охватывающие испытуемый источник шума. В качестве основной используют измерительную поверхность, удовлетворяющую требованиям
7.2, при определении уровня звуковой мощности. Площадь этой поверхности обозначают

. Вспомогательную измерительную поверхность с площадью

получают из первой преобразованием подобия с центром в начале координат О и коэффициентом подобия

, который должен быть не менее

(предпочтительно более 2). Точки измерений на обеих поверхностях лежат на одних и тех же лучах из точки О. Для обеих измерительных поверхностей должны быть соблюдены критерии по фоновому шуму, установленные в
4.2.
Отношение

, входящее в
формулу (A.2) [здесь

], находят из уравнения

, (A.4)
где

;

- средний на основной измерительной поверхности эквивалентный уровень звукового давления [см.
формулу (12)] с внесенной коррекцией на фоновый шум, но без коррекции на свойства испытательного пространства, дБ;

- средний на вспомогательной измерительной поверхности эквивалентный уровень звукового давления [см.
формулу (12)] с внесенной поправкой на фоновый шум, но без поправки на свойства испытательного пространства, дБ;

- площадь основной измерительной поверхности, м2;

- площадь вспомогательной измерительной поверхности, м2.
Коррекцию на свойства испытательного пространства

для результатов измерений в полосах частот или в широкой полосе с коррекцией по частотной характеристике A рассчитывают по
формуле (A.2), подставляя в нее значение S/A, полученное из
уравнения (A.4).
A.3.4. Определение эквивалентной площади звукопоглощения A прямым методом с использованием образцового источника шума
Образцовый источник шума, удовлетворяющий требованиям ИСО 6925, устанавливают в испытательном пространстве вблизи испытуемого источника. Измерительной поверхностью является полусфера, радиус r которой должен быть не менее 1 м и не менее удвоенного максимального габаритного размера образцового источника шума. Предпочтительным является значение r = 2 м. Расстояние от образцового источника шума до других отражающих поверхностей должно превышать r.
Примечание. Обычно при калибровке образцового источника шума его устанавливают в удалении от стен помещения, на полу или на специальном стенде на заданной высоте над полом. Если условия установки образцового источника шума в испытательном пространстве отличаются от условий его установки при калибровке, то это может привести к появлению систематической погрешности на низках частотах.
Микрофоны устанавливают в фиксированных точках, координаты которых приведены в
таблице B.2 (Приложение B).
Определяют в соответствии с
8.2.2 и
8.2.4 средний на полусферической измерительной поверхности эквивалентный уровень звукового давления образцового источника шума с коррекцией на фоновый шум

. Эквивалентную площадь звукопоглощения A, м2, рассчитывают по формуле

, (A.5)
где S - площадь полусферической измерительной поверхности, м2;

;

- средний на полусферической измерительной поверхности эквивалентный уровень звукового давления образцового источника шума с коррекцией на фоновый шум, но без коррекции на свойства испытательного пространства (см.
8.2.4), дБ;

- уровень звуковой мощности образцового источника шума, полученный при его калибровке и приведенный к атмосферным условиям испытаний, дБ.
Если при калибровке образцового источника шума, в результате которой было получено значение

, статическое давление или другие атмосферные характеристики существенно отличались от нормальных, то рекомендуется определить значение

для условий испытаний, руководствуясь рекомендациями изготовителя.
Если значение

неизвестно или если невозможно рассчитать поправку к

на атмосферные условия при испытаниях, то рекомендуется повторить вышеописанные измерения на открытом воздухе в условиях свободного звукового поля над звукоотражающей плоскостью для получения среднего по измерительной поверхности эквивалентного уровня звукового давления образцового источника шума

. Тогда эквивалентную площадь звукопоглощения A, м2, для помещения, в котором установлен испытуемый источник, рассчитывают по формуле

. (A.6)
A.3.5. Приближенная оценка для измерений с коррекцией по частотной характеристике A
Данный способ оценки применим только для испытательных помещений, длина и ширина которых не превышают утроенную высоту потолка.
Чтобы учесть акустические свойства испытательного пространства, коррекцию

вычисляют по
формуле (A.2), в которую подставляют значение эквивалентной площади звукопоглощения A, м2, рассчитанное по формуле

, (A.7)
где

- средний коэффициент звукопоглощения, взятый из
таблицы A.1;

- общая площадь внутренних поверхностей испытательного помещения (пола, стен и потолка), м2.
Таблица A.1
Приближенные значения среднего
коэффициента звукопоглощения

Средний коэффициент звукопоглощения  | Описание помещения |
0,05 | Практически пустое помещение с гладкими жесткими стенами из бетона, кирпича, оштукатуренные или покрытые облицовочной плиткой |
0,10 | Частично заполненное помещение; помещение с гладкими стенами |
0,15 | Помещение с обстановкой, машинный зал или производственное помещение почти кубической формы |
0,20 | Помещение с обстановкой, машинный зал или производственное помещение, форма которых значительно отличается от кубической |
0,25 | Помещение с мягкой мебелью, машинный зал или производственное помещение, потолок или стены которых частично покрыты звукопоглощающим материалом |
0,30 | Помещение со звукопоглощающим покрытием потолка, но не стен |
0,35 | Помещение со звукопоглощающими покрытиями потолка и стен |
0,50 | Помещение, потолок и стены которого покрыты с применением большого количества звукопоглощающего материала |
(обязательное)
ТОЧКИ ИЗМЕРЕНИЙ НА ПОЛУСФЕРИЧЕСКОЙ ИЗМЕРИТЕЛЬНОЙ ПОВЕРХНОСТИ
B.1. Основные и дополнительные точки измерений
Предпочтительные точки установки микрофонов, пригодные для источников шума всех видов, в том числе для излучающих шум на дискретных частотах, указаны в таблице B.1 и на
рисунке B.1. Для источников, излучение которых не содержит дискретных тонов, допускается использовать другие точки измерений, указанные в
таблице B.2 и на
рисунке B.2.
Таблица B.1
Предпочтительные точки установки микрофонов
для источников шума всех видов
Номер точки | x/r | y/r | z/r |
1 | 0,16 | -0,96 | 0,22 |
2 | 0,78 | -0,60 | 0,20 |
3 | 0,78 | 0,55 | 0,31 |
4 | 0,16 | 0,90 | 0,41 |
5 | -0,83 | 0,32 | 0,45 |
6 | -0,83 | -0,40 | 0,38 |
7 | -0,26 | -0,65 | 0,71 |
8 | 0,74 | -0,07 | 0,67 |
9 | -0,26 | 0,50 | 0,83 |
10 | 0,10 | -0,10 | 0,99 |
11 | 0,91 | -0,34 | 0,22 |
12 | 0,91 | 0,38 | 0,20 |
13 | -0,09 | 0,95 | 0,31 |
14 | -0,70 | 0,59 | 0,41 |
15 | -0,69 | -0,56 | 0,45 |
16 | -0,07 | -0,92 | 0,38 |
17 | 0,43 | -0,55 | 0,71 |
18 | 0,43 | 0,61 | 0,67 |
19 | -0,56 | 0,02 | 0,83 |
20 | 0,14 | 0,04 | 0,99 |
Таблица B.2
Точки установки микрофонов
для источников широкополосного шума
Номер точки | x/r | y/r | z/r |
1 | -0,99 | 0 | 0,15 |
2 | 0,50 | -0,86 | 0,15 |
3 | 0,50 | 0,86 | 0,15 |
4 | -0,45 | 0,77 | 0,45 |
5 | -0,45 | -0,77 | 0,45 |
6 | 0,89 | 0 | 0,45 |
7 | 0,33 | 0,57 | 0,75 |
8 | -0,66 | 0 | 0,75 |
9 | 0,33 | -0,57 | 0,75 |
10 | 0 | 0 | 1,00 |
11 | 0,99 | 0 | 0,15 |
12 | -0,50 | 0,86 | 0,15 |
13 | -0,50 | -0,86 | 0,15 |
14 | 0,45 | -0,77 | 0,45 |
15 | 0,45 | 0,77 | 0,45 |
16 | -0,89 | 0 | 0,45 |
17 | -0,33 | -0,57 | 0,75 |
18 | 0,66 | 0 | 0,75 |
19 | -0,33 | 0,57 | 0,75 |
20 | 0 | 0 | 1,00 |

- основные точки установки микрофонов;

- дополнительные точки установки микрофонов;
A - измерительная поверхность; B - огибающий параллелепипед
Рисунок B.1. Предпочтительные точки установки
микрофонов на полусферической измерительной поверхности
для испытаний источников шума всех видов

- основные точки установки микрофонов;

- дополнительные точки установки микрофонов;
A - измерительная поверхность; B - огибающий параллелепипед;
r - радиус измерительной поверхности
Рисунок B.2. Точки установки микрофонов
на полусферической измерительной поверхности
для испытаний источников широкополосного шума
В таблицах приведены координаты (x, y, z) точек измерений, каждой из которых соответствует участок равной площади на полусферической измерительной поверхности радиуса r с центром в точке О.
B.2. Точки измерений для источников шума, устанавливаемых рядом с двумя звукоотражающими плоскостями
Точки измерений на измерительной поверхности в случае установки источника шума рядом с двумя звукоотражающими плоскостями показаны на рисунке B.3. Координаты этих точек - согласно
таблице B.2. Радиус r измерительной поверхности должен быть не менее 3 м.

- основные точки установки микрофонов;

- дополнительные точки установки микрофонов;
A - измерительная поверхность; B - огибающий параллелепипед;
r - радиус измерительной поверхности
Рисунок B.3. Точки установки микрофонов
на полусферической измерительной поверхности
в случае двух звукоотражающих плоскостей
B.3. Точки измерений для источников шума, устанавливаемых рядом с тремя звукоотражающими плоскостями
Точки измерений на измерительной поверхности в случае установки источника шума рядом с тремя звукоотражающими плоскостями показаны на
рисунке B.4. Координаты этих точек указаны в таблице B.3. Радиус r измерительной поверхности должен быть не менее 3 м.
Таблица B.3
Точки установки микрофонов для источников, устанавливаемых
рядом с тремя звукоотражающими плоскостями
Номер точки | x/r | y/r | z/r |
1 | 0,86 | -0,50 | 0,15 |
2 | 0,45 | -0,77 | 0,45 |
3 | 0,47 | -0,47 | 0,75 |
4 | 0,50 | -0,86 | 0,15 |
5 | 0,77 | -0,45 | 0,45 |
6 | 0,47 | -0,47 | 0,75 |

- основные точки установки микрофонов;

- дополнительные точки установки микрофонов;
A - измерительная поверхность; B - огибающий параллелепипед;
r - радиус измерительной поверхности
Рисунок B.4. Точки установки микрофонов
на полусферической измерительной поверхности
в случае трех звукоотражающих плоскостей
B.4. Траектории сканирования
На рисунке B.5 показаны круговые траектории сканирования микрофоном, расположенные в параллельных плоскостях с центрами на одной оси. Траектории построены таким образом, чтобы им соответствовали сферические пояса измерительной поверхности равной площади.
A - измерительная поверхность; B - огибающий параллелепипед;
r - радиус измерительной поверхности; e - высота траектории
над звукоотражающей плоскостью; h - высота сферического
пояса соответствующей круговой траектории; z - ось
вращения микрофона по круговой траектории
Рисунок B.5. Круговые траектории сканирования микрофоном
(обязательное)
ТОЧКИ ИЗМЕРЕНИЙ НА ИЗМЕРИТЕЛЬНОЙ
ПОВЕРХНОСТИ В ВИДЕ ПАРАЛЛЕЛЕПИПЕДА
C.1. Точки измерений в случае одной звукоотражающей плоскости
Каждую из пяти плоскостей измерительной поверхности (граней параллелепипеда) рассматривают по отдельности и разбивают на равные участки с максимальной длиной 3d, где d - измерительное расстояние по
3.12. На
рисунке C.1 показан пример разбиения на участки прямоугольной формы, а на
рисунке C.4 - на участки треугольной формы. Минимальное число точек измерений равно 9 при разбиении на участки прямоугольной формы [см.
рисунок C.1, a) и b)] и 10 при разбиении на области треугольной формы [см.
рисунок C.4, a) и b)].
На
рисунке C.1 основные точки измерений находятся в центре каждого прямоугольного участка и в каждой его вершине, исключая вершины, попадающие на звукоотражающую плоскость. По такому принципу определены точки измерений для измерительных поверхностей, показанных на
рисунках C.7 -
C.11. Соседние точки измерений могут быть соединены между собой линиями, образующими траектории сканирования, как показано на
рисунках C.7 -
C.11.
При необходимости определяют дополнительные точки измерений [см.
перечисление a) 8.1.2] следующим образом:
- при разбиении на участки прямоугольной формы - как показано на
рисунке C.2. При этом минимальное число точек измерений увеличивается с 9 до 19;
- при разбиении на участки треугольной формы - как показано на
рисунке C.5. При этом минимальное число точек измерений увеличивается с 10 до 20.
Если в соответствии с
перечислениями b) или
c) 8.1.2 в какой-либо части измерительной поверхности требуется увеличить число точек измерений для более детального описания звукового поля, то дополнительные точки выбирают, как показано в примерах на
рисунках C.3 и
C.6.
Примечание 1. На
рисунках C.1 и
C.2 не показаны участки равной площади, ассоциированные с каждой точкой измерений, наличие которых предполагает процедура усреднения по
8.2.2.1 [см.
формулу (12)] для определения среднего на измерительной поверхности уровня звукового давления.
Примечание 2. Способ выбора точек измерений, показанный на
рисунках C.4 -
C.6, исключает установку микрофонов на ребрах и в вершинах параллелепипеда измерительной поверхности. При таком расположении точек измерений видна ясная связь между точками и соответствующими им участками равной площади, используемыми при расчетах по
формуле (12) или
(14).
C.2. Точки измерений в случае двух или трех звукоотражающих плоскостей
Для случая двух или трех звукоотражающих плоскостей точки установки микрофонов выбирают так, как показано на
рисунках C.12 и
C.13.

- основные точки установки микрофонов;
d - измерительное расстояние
Рисунок C.1. Основные точки установки микрофонов
на измерительной поверхности в виде параллелепипеда
с разбиением на прямоугольные участки

- основные точки установки микрофонов;

- дополнительные точки установки микрофонов;
d - измерительное расстояние
Рисунок C.2. Дополнительные точки установки микрофонов
по всей измерительной поверхности в виде параллелепипеда
с разбиением на прямоугольные участки

- основные точки установки микрофонов;

- дополнительные точки установки микрофонов;
d - измерительное расстояние
Примечание. Каждому прямоугольному участку, на которые разбита измерительная поверхность, номинально соответствуют две основные точки измерений. Дополнительные точки измерений на части измерительной поверхности приводят к образованию участков разной площади и к необходимости использовать процедуру усреднения результатов измерений согласно
8.2.2.2. В примере, показанном на данном рисунке, вместо одной основной появляются пять точек измерений, каждой из которых соответствует участок поверхности площадью в пять раз меньшей, чем для основных точек.
Рисунок C.3. Пример дополнительных точек
измерений на части измерительной поверхности в виде
параллелепипеда с разбиением на прямоугольные участки

- основные точки установки микрофонов;
d - измерительное расстояние;

- длина треугольного участка,

,

- ширина треугольного участка,

Рисунок C.4. Основные точки установки микрофонов
на измерительной поверхности в виде параллелепипеда
с разбиением на треугольные участки

- основные точки установки микрофонов;

- дополнительные точки установки микрофонов;
d - измерительное расстояние
Рисунок C.5. Дополнительные точки установки микрофонов
по всей измерительной поверхности в виде параллелепипеда
с разбиением на треугольные участки

- основные точки установки микрофонов;

- дополнительные точки установки микрофонов;
d - измерительное расстояние
Рисунок C.6. Пример дополнительных точек измерений
на части измерительной поверхности в виде параллелепипеда
с разбиением на треугольные участки

- точки установки микрофонов; A - звукоотражающая
плоскость; B - огибающий параллелепипед; 2a - длина
параллелепипеда измерительной поверхности; 2b - ширина
параллелепипеда измерительной поверхности; c - высота
параллелепипеда измерительной поверхности; d - измерительное
расстояние;

- длина огибающего параллелепипеда;

- ширина огибающего параллелепипеда;

- высота огибающего параллелепипеда;

,

,

- траектории сканирования
Рисунок C.7. Пример измерительной поверхности,
точек установки микрофонов и траекторий сканирования
при испытаниях машин малых размеров

- точки установки микрофонов; A - звукоотражающая
плоскость; B - огибающий параллелепипед; 2a - длина
параллелепипеда измерительной поверхности; 2b - ширина
параллелепипеда измерительной поверхности; c - высота
параллелепипеда измерительной поверхности; d - измерительное
расстояние;

- длина огибающего параллелепипеда;

- ширина огибающего параллелепипеда;

- высота огибающего параллелепипеда;
P1, P2, P3, P4, P5 - траектории сканирования
Рисунок C.8. Пример измерительной поверхности,
точек установки микрофонов и траекторий сканирования
при испытаниях высоких машин с малой площадью основания

- точки установки микрофонов; A - звукоотражающая
плоскость; B - огибающий параллелепипед; 2a - длина
параллелепипеда измерительной поверхности; 2b - ширина
параллелепипеда измерительной поверхности; c - высота
параллелепипеда измерительной поверхности; d - измерительное
расстояние;

- длина огибающего параллелепипеда;

- ширина огибающего параллелепипеда;

- высота огибающего параллелепипеда;
P1, P2, P3 - траектории сканирования
Рисунок C.9. Пример измерительной поверхности,
точек установки микрофонов и траекторий
сканирования при испытаниях длинных машин

- точки установки микрофонов; A - звукоотражающая
плоскость; B - огибающий параллелепипед; 2a - длина
параллелепипеда измерительной поверхности; 2b - ширина
параллелепипеда измерительной поверхности; c - высота
параллелепипеда измерительной поверхности; d - измерительное
расстояние;

- длина огибающего параллелепипеда;

- ширина огибающего параллелепипеда;

- высота огибающего параллелепипеда;
P1, P2, P3, P4, P5, P6 - траектории сканирования
Рисунок C.10. Пример измерительной поверхности,
точек установки микрофонов и траекторий сканирования
при испытаниях машин средних размеров

- точки установки микрофонов; A - звукоотражающая
плоскость; B - огибающий параллелепипед; 2a - длина
параллелепипеда измерительной поверхности; 2b - ширина
параллелепипеда измерительной поверхности; c - высота
параллелепипеда измерительной поверхности; d - измерительное
расстояние;

- длина огибающего параллелепипеда;

- ширина огибающего параллелепипеда;

- высота огибающего параллелепипеда;
P1, P2, P3, P4, P5, P6 - траектории сканирования
Рисунок C.11. Пример измерительной поверхности,
точек установки микрофонов и траекторий сканирования
при испытаниях машин больших размеров

- точки установки микрофонов; B - огибающий
параллелепипед; 2a - длина параллелепипеда измерительной
поверхности; 2b - ширина параллелепипеда измерительной
поверхности; c - высота параллелепипеда измерительной
поверхности; d - измерительное расстояние;

- длина
огибающего параллелепипеда;

- ширина огибающего
параллелепипеда;

- высота огибающего параллелепипеда;
S - площадь измерительной поверхности, S = 2(2ab + bc + 2ca)
Рисунок C.12. Измерительная поверхность в виде
параллелепипеда с шестью точками установки микрофонов
при испытаниях устанавливаемых на полу источников шума
в случае двух звукоотражающих плоскостей

- точки установки микрофонов; B - огибающий
параллелепипед; 2a - длина параллелепипеда измерительной
поверхности; 2b - ширина параллелепипеда измерительной
поверхности; c - высота параллелепипеда измерительной
поверхности; d - измерительное расстояние;

- длина
огибающего параллелепипеда;

- ширина огибающего
параллелепипеда;

- высота огибающего параллелепипеда;
S - площадь измерительной поверхности, S = 2(2ab + bc + ca)
Рисунок C.13. Измерительная поверхность в виде
параллелепипеда с четырьмя точками установки микрофонов
при испытаниях устанавливаемых на полу источников шума
в случае трех звукоотражающих плоскостей
(рекомендуемое)
ТОЧКИ ИЗМЕРЕНИЙ НА ЦИЛИНДРИЧЕСКОЙ ИЗМЕРИТЕЛЬНОЙ ПОВЕРХНОСТИ
На рисунках D.1 и
D.2 показаны различные варианты расположения круговых траекторий сканирования на боковой поверхности и верхнем основании цилиндрической измерительной поверхности.
A - звукоотражающая плоскость; B - огибающий
параллелепипед;

- измерительное расстояние (по длине);

- измерительное расстояние (по ширине);

- измерительное расстояние (по высоте);

- высота
измерительной поверхности;

- длина огибающего
параллелепипеда;

- ширина огибающего параллелепипеда;

- высота огибающего параллелепипеда; P1, P2, P3, P4,
P5, P6 - траектории сканирования на боковой поверхности;
P7, P8, P9 - траектории сканирования на верхнем основании;
2R - диаметр измерительной поверхности
Рисунок D.1. Пример цилиндрической измерительной поверхности
и расположения микрофонов (шесть траекторий сканирования
на боковой поверхности и три - на верхнем основании)

- микрофоны на траекториях сканирования;

- высота
измерительной поверхности; R - радиус измерительной
поверхности; z - ось вращения микрофонов при сканировании
Рисунок D.2. Пример расположения микрофонов
в случае пяти траекторий сканирования на боковой
поверхности и четырех на верхнем основании
Число траекторий сканирования и, соответственно, число поясов

на боковой поверхности и число колец

на верхнем основании цилиндра должно удовлетворять следующим требованиям:
a)

, где

- высота, м, цилиндрической поверхности (данное требование обеспечивает достаточное число траекторий на боковой поверхности, отстоящих друг от друга не более чем на 0,5 м);
b)

должно быть не менее четырех;
c)

.
Траектория сканирования по боковой поверхности i-м микрофоном лежит в горизонтальной плоскости на высоте

, м, над звукоотражающей плоскостью, которую рассчитывают по формуле

. (D.1)
Этим траекториям соответствуют цилиндрические пояса равной площади на боковой поверхности.
Траектории сканирования на верхнем основании цилиндра разбивают его на кольцевые участки неравной площади. Разность между радиусами соседних траекторий постоянна. Радиус

, м, внешней окружности i-го кольцевого участка рассчитывают по формуле

, (D.2)
где R - радиус верхнего основания цилиндрической измерительной поверхности, м.
Радиус

, м, соответствующей этому кольцевому участку траектории сканирования рассчитывают по формулам:

, (D.3)

. (D.4)
Площадь

, м2, i-го кольцевого участка рассчитывают по формулам:

, (D.5)

. (D.6)
Сканирование может быть реализовано либо перемещением микрофона вокруг неподвижного источника шума, либо вращением источника при стационарно установленных микрофонах.
Перемещение микрофонов по круговым траекториям особенно рекомендуется в случае источников постоянного шума. Если шум, излучаемый испытуемым источником, непостоянен, то измерения проводят при стационарно установленных микрофонах. В этом случае микрофоны располагают в точках круговой траектории по крайней мере в восьми одинаково отстоящих друг от друга угловых положениях.
При наличии двух звукоотражающих плоскостей измерительная поверхность представляет собой половину цилиндра (см. рисунок D.3), а в случае трех звукоотражающих плоскостей - четверть цилиндра (см.
рисунок D.4). Для таких измерительных поверхностей применяют только стационарную установку микрофонов. В случае измерительной поверхности в виде половины цилиндра используют не менее трех равноотстоящих точек измерений на каждой полуокружности, а в случае измерительной поверхности в виде четверти цилиндра - не менее двух точек измерений для каждой четверти окружности. Эти полуокружности и четверти окружности совпадают с соответствующими частями траекторий сканирования, которые были бы построены в случае измерительной поверхности в виде полного цилиндра. Площади кольцевых секторов на верхнем основании при использовании измерительной поверхности в виде половины и четверти цилиндра равны соответственно

и

. Аналогично, площади поясов на боковой поверхности равны соответственно 1/2 и 1/4 площади пояса полного цилиндра.


- точки установки микрофонов
Рисунок D.3. Пример расположения микрофонов на верхнем
основании измерительной поверхности в виде половины
цилиндра в случае двух звукоотражающих плоскостей

- точки установки микрофонов
Рисунок D.4. Пример расположения микрофонов на верхнем
основании измерительной поверхности в виде четверти
цилиндра в случае трех звукоотражающих плоскостей
Расположение измерительной поверхности относительно огибающего параллелепипеда показано на
рисунке D.1. На
рисунке D.2 показан пример с другим числом траекторий сканирования на боковой поверхности и на верхнем основании цилиндра.
На
рисунках D.3 и
D.4 показан вид сверху на измерительные поверхности в виде половины и четверти цилиндра с указанием положения фиксированных точек измерений.
Примечание. Положение точек измерений на боковых поверхностях полуцилиндра и четверти цилиндра то же, что и на боковой поверхности полного цилиндра.
(обязательное)
РАСЧЕТ КОРРЕКТИРОВАННЫХ ПО A УРОВНЕЙ
ЗВУКОВОЙ МОЩНОСТИ И ЗВУКОВОЙ ЭНЕРГИИ НА ОСНОВЕ
РЕЗУЛЬТАТОВ ИЗМЕРЕНИЙ В ПОЛОСАХ ЧАСТОТ
E.1. Корректированные по A уровни звуковой мощности
Корректированный по A уровень звуковой мощности

, дБ, вычисляют по формуле

, (E.1)
где

- уровень звуковой мощности в k-й полосе (третьоктавной или октавной) частот, дБ;

- поправка для k-й третьоктавной полосы частот по
таблице E.1 или для k-й октавной полосы частот по
таблице E.2;

,

- значения k для, соответственно, низшей и высшей полосы диапазона частот измерений.
E.2. Корректированные по A уровни звуковой энергии
Корректированный по A уровень звуковой энергии

, дБ, вычисляют по формуле

, (E.2)
где

- уровень звуковой энергии в k-й полосе (третьоктавной или октавной) частот, дБ;

- поправка для k-й третьоктавной полосы частот по
таблице E.1 или для k-й октавной полосы частот по
таблице E.2;

,

- значения k для, соответственно, низшей и вышей полосы диапазона частот измерений.
E.3. Значения k и

Для расчетов с использованием результатов измерений в третьоктавных и октавных полосах частот используют значения k и

, приведенные соответственно в
таблицах E.1 и
E.2.
Примечание. Если в шуме источника содержатся слышимые тоны, то для расчетов используют результаты измерений в третьоктавных полосах частот.
Таблица E.1
Значения k и

, соответствующие
среднегеометрическим частотам третьоктавных полос
k | Среднегеометрическая частота третьоктавной полосы, Гц | |
1 | 50 | |
2 | 63 | |
3 | 80 | |
4 | 100 | -19,1 |
5 | 125 | -16,1 |
6 | 160 | -13,4 |
7 | 200 | -10,9 |
8 | 250 | -8,6 |
9 | 315 | -6,6 |
10 | 400 | -4,8 |
11 | 500 | -3,2 |
12 | 630 | -1,9 |
13 | 800 | -0,8 |
14 | 1000 | 0,0 |
15 | 1250 | 0,6 |
16 | 1600 | 1,0 |
17 | 2000 | 1,2 |
18 | 2500 | 1,3 |
19 | 3150 | 1,2 |
20 | 4000 | 1,0 |
21 | 5000 | 0,5 |
22 | 6300 | -0,1 |
23 | 8000 | -1,1 |
24 | 10000 | -2,5 |
<a> Значения поправок  используют только в случае, если для данной третьоктавной полосы частот выполнены требования к испытательному пространству и средствам измерений. |
Таблица E.2
Значения k и

, соответствующие
среднегеометрическим частотам октавных полос
k | Среднегеометрическая частота октавной полосы, Гц | |
2 | 63 | |
5 | 125 | -16,1 |
8 | 250 | -8,6 |
11 | 500 | -3,2 |
14 | 1000 | 0,0 |
17 | 2000 | 1,2 |
20 | 4000 | 1,0 |
23 | 8000 | -1,1 |
<a> Значения поправки  используют только в случае, если для данной октавной полосы частот выполнены требования к испытательному пространству и средствам измерений. |
(обязательное)
АЛЬТЕРНАТИВНЫЙ СПОСОБ РАСПОЛОЖЕНИЯ МИКРОФОНОВ
НА ПОЛУСФЕРИЧЕСКОЙ ИЗМЕРИТЕЛЬНОЙ ПОВЕРХНОСТИ
ПРИ НЕПОСРЕДСТВЕННЫХ ИЗМЕРЕНИЯХ С КОРРЕКЦИЕЙ
ПО ЧАСТОТНОЙ ХАРАКТЕРИСТИКЕ A
F.1. Общие положения
В настоящем Приложении рассматривается альтернативный способ установки микрофонов (см.
8.1.1), применяемый, когда целью измерений является определение корректированного по A уровня звуковой мощности по результатам измерений уровня звука в точках на полусфере. Этот способ применим к источникам, работающим вне помещений, когда наиболее важным с точки воздействия шума является его распространение в горизонтальном направлении и когда имеются значительные перепады в диаграмме направленности их излучения вследствие их движения, их несимметричности, небольших отклонений в жесткости отражающей плоскости, наличия ветра или температурных градиентов.
F.2. Точки установки микрофонов на измерительной поверхности
Измерительная поверхность должна представлять собой полусферу с центром в начале координат О с измерительным радиусом r, который по крайней мере вдвое превышает характеристический размер источника

, округленный в большую сторону до одного из следующих значений: 4, 6, 8, 10, 12, 14 или 16 м.
В случае источников стационарного широкополосного шума и одной звукоотражающей плоскости микрофоны устанавливают либо в 10 точках с номерами от 1 до 10 согласно
таблице B.2 и
рисунку B.2 (Приложение B), либо в 12 точках согласно в
таблице F.1 и
рисунку F.1. В соответствующем испытательном коде по шуму должно быть указано, какой из этих двух вариантов следует выбрать. В испытательном коде по шуму независимо от выбранного варианта может содержаться указание о возможном снижении числа точек измерений до шести, если предварительными исследованиями показано, что при таком снижении результат измерений изменяется не более чем на 0,5 дБ. В случае сокращения числа точек измерений используют точки 1, 11, 4, 14, 7, если выбран вариант размещения по
таблице B.2, и точки 2, 4, 6, 8, 10 и 12, если выбран вариант размещения по
таблице F.1.
При испытаниях источника шума, движущегося над звукоотражающей плоскостью, используют точки измерений 2, 4, 6, 8, 10 и 12 по таблице F.1 (см.
рисунок F.1).
Таблица F.1
Точки установки микрофонов
при альтернативном способе их размещения
Номер точки | | | z/r | z, м |
1 | 1,00a | 0 | - | 1,5 |
2 | 0,707a | 0,707a | - | 1,5 |
3 | 0 | 1,00a | - | 1,5 |
4 | -0,707a | 0,707a | - | 1,5 |
5 | -1,00a | 0 | - | 1,5 |
6 | -0,707a | -0,707a | - | 1,5 |
7 | 0 | -1,00a | - | 1,5 |
8 | 0,707a | -0,707a | - | 1,5 |
9 | 0,65 | 0,27 | 0,71 | - |
10 | -0,27 | 0,65 | 0,71 | - |
11 | -0,65 | -0,27 | 0,71 | - |
12 | 0,27 | -0,65 | 0,71 | - |
<a> Постоянная a зависит от радиуса измерительной поверхности r и выбирается в соответствии с таблицей F.2. |
Таблица F.2
r, м | a |
4 | 0,927 |
6 | 0,968 |
8 | 0,982 |
10 | 0,989 |
12 | 0,992 |
14 | 0,994 |
16 | 0,996 |

- точки установки микрофонов; A - измерительная
поверхность; B - огибающий параллелепипед; r - радиус
измерительной поверхности
Рисунок F.1. Альтернативный способ установки микрофонов
на полусферической измерительной поверхности
при непосредственных измерениях с коррекцией
по частотной характеристике A
(обязательное)
ПРИВЕДЕНИЕ УРОВНЕЙ ЗВУКОВОЙ МОЩНОСТИ И ЗВУКОВОЙ
ЭНЕРГИИ К НОРМАЛЬНЫМ АТМОСФЕРНЫМ УСЛОВИЯМ
Уровень звуковой мощности, приведенный к нормальным атмосферным условиям (статическое давление 101,325 кПа, температура воздуха 23,0 °C),

, дБ, рассчитывают по формуле

, (G.1)
где

- измеренный уровень звуковой мощности [см.
формулу (18)], дБ;

- поправка, учитывающая разность опорных значений для определения уровней звукового давления и звуковой мощности и зависящая от характеристического импеданса воздушной среды в испытательном пространстве во время испытаний, дБ, рассчитанная по формуле

.
Примечание. Поправку

не применяют, если коррекция

определена методом сравнения в соответствии с
разделом A.2 (Приложение A);

- поправка на импеданс излучения, использования для приведения к нормальным атмосферным условиям, дБ. Эта величина должна быть определена в соответствующем испытательном коде по шуму. Если такой документ отсутствует, то используют следующую формулу, полученную для источника шума в виде монополя и рассматриваемую как результат усреднения для источников другого вида (см.
[23],
[29])

;

- статическое давление в испытательном пространстве во время испытаний, кПа;

- нормальное атмосферное давление,

;

- температура воздуха в испытательном пространстве во время испытаний, °C;

;

.
Если испытания проводят на высоте

, м, над уровнем моря, то статическое давление

, кПа, рассчитывают по формуле

, (G.2)
где

;
b = 5,2553.
Примечание. Температура

соответствует характеристическому импедансу воздуха 400 Н x с/м2 при нормальном атмосферном давлении 101,325 кПа (см.
[23],
[24]). Эта величина не связана с какими-либо реальными атмосферными условиями, а является следствием принятых опорных значений для звукового давления и звуковой мощности
Уровень звуковой энергии, приведенный к нормальным атмосферным условиям

, дБ, рассчитывают по формуле

, (G.3)
где

- уровень звуковой энергии, полученный в условиях испытаний [см.
формулу (23)], дБ;
Если значения уровней звуковой мощности или звуковой энергии приведены к нормальным атмосферным условиям, то это должно быть отражено в протоколе испытаний.
(рекомендуемое)
ПО ПРИМЕНЕНИЮ ИНФОРМАЦИИ ДЛЯ РАСЧЕТА
НЕОПРЕДЕЛЕННОСТИ ИЗМЕРЕНИЯ
Общий формат представления неопределенности измерения установлен Руководством ИСО/МЭК 98-3. Он предполагает составление бюджета неопределенности, в котором идентифицированы основные источники неопределенности и их вклад в суммарную стандартную неопределенность.
Целесообразно разделить все источники неопределенности на две группы:
a. присущие методу измерения;
b. обусловленные нестабильностью излучаемого шума.
В настоящем Приложении приведены основанные на современном уровне знаний рекомендации по применению подхода Руководства ИСО/МЭК 98-3 к измерениям, проводимым в соответствии с настоящим стандартом.
H.2. Определение общего стандартного отклонения

Характеристикой неопределенности измерения является расширенная неопределенность U, непосредственно получаемая из общего стандартного отклонения

[см.
формулу (26)], которое рассматривается как аппроксимация стандартной неопределенности

.
В свою очередь,

определяется двумя разными по своей природе составляющими,

и

[см.
формулу (25)].
Оценки

и

предполагаются статистически независимыми и определяются по отдельности.
Стандартное отклонение

, характеризующее излучение конкретной машины, не может быть рассчитано теоретически и поэтому определяется экспериментально (см. раздел H.3). Составляющая

рассматривается в
разделе H.4.
H.3. Определение стандартного отклонения

Стандартное отклонение

, дБ (см.
9.2), рассчитывают по формуле

, (H.1)
где

- корректированный на фоновый шум уровень звукового давления, полученный в j-м повторном измерении в заданной точке при заданных условиях установки и работы источника шума, дБ;

- среднее арифметическое

по всем повторным измерениям.
Измерения для определения

проводят в точке установки микрофона, где уровень звукового давления максимален. Если используют усреднение по всем точкам измерения, то в
формуле (H.1) 
и

заменяют на

и

соответственно.
В общем случае условия установки и работы машины при измерениях значения ее шумовой характеристики определяются испытательным кодом по шуму. При его отсутствии эти условия должны быть точно определены до проведения испытаний и зафиксированы в протоколе испытаний. Ниже приводятся некоторые рекомендации по определению таких условий и их возможному влиянию на

.
Условия работы при испытаниях должны соответствовать нормальному применению машины согласно рекомендациям изготовителя и практике пользователя. Однако даже при заданных нормальных условиях работы машины возможны некоторые вариации в режимах работы, обрабатываемом, потребляемом или производимом материале, между различными циклами работы машины и пр. Стандартное отклонение

характеризует неопределенность, связанную как с изменчивостью долговременных условий работы (например, день ото дня), так и с изменением излучаемого шума после повторной установки и пуска машины.
Если машину в любых условиях ее применения устанавливают на пружинах или на твердый массивный пол, то условия установки будут слабо влиять на результаты измерений. Однако если при испытаниях машину устанавливают на твердый массивный пол, а в условиях применения используют другую опору, то шум машины, может различаться весьма сильно. Составляющая неопределенности, обусловленная установкой машины, будет наибольшей, если машина соединена со вспомогательным оборудованием. Также эта составляющая неопределенности будет велика в случае ручных машин. Необходимо исследовать, как перемещения машины или ее крепления влияют на ее шум. Если необходимо заявить значение шумовой характеристики машины для разных способов ее установки и крепления, то

оценивают по результатам измерений при всех возможных способах установки. Если влияние условий установки машины на ее шум известно, то в испытательном коде по шуму или в методике, применяемой пользователем, должен быть определен рекомендуемый способ установки машины при испытаниях.
С точки зрения важности вклада тех или иных источников неопределенности в

исследования для определения

имеют большее значение, чем связанные с определением

[см.
формулу (25)]. Это объясняется тем, что

может принимать существенно большие значения, чем, например, стандартное отклонение

, которое для технического метода измерения, как это следует из
таблицы 2, не превышает 1,5 дБ.
Если

, то проведение измерений с высокой точностью (т.е. с малым

) теряет практический смысл, поскольку это не способно привести к существенному снижению

. Примеры возможных соотношений между

и

приведены в таблице H.1.
Таблица H.1
Примеры расчета

для разных
соотношений между

и

Стандартное отклонение воспроизводимости метода  , дБ | Общее стандартное отклонение  , дБ, для разных условий установки и работы машины, характеризующихся разными значениями  , дБ |
Стабильные | Нестабильные | Очень нестабильные |
 , дБ |
0,5 | 2 | 4 |
0,5 (точный метод) | 0,7 | 2,1 | 4,0 |
1,5 (технический метод) | 1,6 | 2,5 | 4,3 |
3 (ориентировочный метод) | 3,0 | 3,6 | 5,0 |
Из этих примеров видно, что при нестабильных условиях установки и работы испытуемой машины излишне пытаться обеспечить условия точного метода измерения.
Кроме того, в ситуации, когда

, у пользователя стандарта возможно формирование неправильного представления об общей неопределенности измерения, если он ориентируется на класс точности измерений, который в настоящем стандарте определяется только значением

.
H.4. Определение стандартного отклонения

Верхние оценки

приведены в
таблице 2. Кроме того, в
9.3 приведены рекомендации по проведению исследований для получения более реалистичных оценок

для отдельных машин или семейств машин. Такие исследования включают в себя либо проведение измерений в условиях воспроизводимости согласно ИСО 5725, либо расчеты на основании математической модели измерения [см.
формулу (28)], требующие привлечения дополнительной информации.
Если некоторые источники неопределенности несущественны для конкретных измерительных задач или трудны для исследования, то в испытательном коде по шуму приводят значение

, полученное либо в результате межлабораторных сравнительных испытаний, либо рассчитанное на основе модели, которое не учитывает вариативность этих источников.
Расчет на основе бюджета неопределенности предполагает статистическую независимость отдельных источников неопределенности и, главное, наличие уравнений измерения, используя которые можно было бы оценить вклад этих источников по результатам соответствующих измерений или на основе накопленного практического опыта. В настоящее время, однако, объема накопленной экспериментальной информации, которая могла бы быть использована в целях настоящего стандарта, недостаточно. Тем не менее ниже приводятся данные, которые нельзя рассматривать как окончательные, но которые могут быть использованы для приближенной оценки вкладов отдельных составляющих неопределенности.
H.4.2. Вклад разных источников в

Предварительные исследования показали, что приведенный к нормальным атмосферным условиям уровень звуковой мощности

, дБ, может быть представлен следующей зависимостью от влияющих факторов (входных величин)

(H.2)
где

- входная величина, описывающая влияние применяемого метода измерений, дБ;

- входная величина, описывающая влияние условий установки и работы машины, дБ (эта величина не включена в расчеты

);

- средний на измерительной поверхности корректированный на фоновый шум уровень звукового давления при работе испытуемого источника шума, дБ;
S - площадь измерительной поверхности, м2;

;

- коррекция на свойства испытательного пространства, дБ (см.
разделы A.2 и
A.3, Приложение A);

- поправка, учитывающая разность опорных значений для определения уровней звукового давления и звуковой мощности и зависящая от характеристического импеданса воздушной среды в испытательном пространстве во время испытаний, дБ;

- поправка на импеданс излучения, используемая для приведения к стандартным атмосферным условиям, дБ. Эта величина должна быть определена в соответствующем испытательном коде по шуму. Если такой документ отсутствует, то используют формулу, полученную для источника шума в виде монополя и рассматриваемую как результат усреднения для источников другого вида (см.
[23],
[29]);

- входная величина, описывающая влияние применяемых средств измерений, дБ;

- входная величина, описывающая влияние конечного числа точек измерений на измерительной поверхности, дБ;

- входная величина, учитывающая разность направления излучения источника шума и нормали к измерительной поверхности, дБ;

- входная величина, описывающая флуктуации температуры воздуха в испытательном пространстве, дБ;

- входная величина, описывающая флуктуации относительной влажности воздуха в испытательном пространстве, дБ.
Примечание 1. Если измеряемой величиной является уровень звуковой энергии, то для нее модель измерения будет иметь вид, аналогичный
(H.2).
Примечание 2. Модель, описываемую
формулой (H.2), применяют при измерениях как в полосе частот, так и с коррекцией по частотной характеристике A.
Примечание 3. Входные величины в
формуле (H.2) отражают современное представление о факторах, способных оказать влияние на результат измерения уровня звуковой мощности при испытаниях по настоящему стандарту. Дальнейшие исследования могут показать необходимость модификации этой модели.
Каждой входной величине должно быть приписано соответствующее распределение вероятностей (нормальное, прямоугольное, Стьюдента и т.п.). Лучшей оценкой входной величины будет ее математическое ожидание. Стандартное отклонение распределения входной величины характеризует разброс ее возможных значений и принимается за ее стандартную неопределенность.
Составляющая неопределенности, связанная с условиями установки и работы источника шума, уже учтена в

. Остальные входные величины в совокупности характеризуются стандартным отклонением

.
Информация об ожидаемых значениях стандартных неопределенностей входных величин

и соответствующих им коэффициентов чувствительности

, необходимых для расчета

, дБ, по формуле

, приведена в таблице H.2.
Таблица H.2
Бюджет неопределенности для расчета

(для примера
измерения уровня звуковой мощности источника шума
с относительно плоским спектром в октавных полосах
со среднегеометрическими частотами от 500 до 4000 Гц
или с коррекцией по частотной характеристике A)
| | ИС МЕГАНОРМ: примечание. В официальном тексте документа, видимо, допущена опечатка: имеется в виду пункт H.4.2, а не пункт G.4.2. | |
Входная величина (см. G.4.2) | Оценка входной величины <a>, дБ | Стандартное отклонение <a>  , дБ | Вид распределения | Коэффициент чувствительности <a>  |
| 0 | 0,4 | Нормальное | 1 |
| | | Нормальное | |
S | | | Прямоугольное | 8,7/r |
| | | Нормальное | |
| | | Нормальное | 1 |
| | 0,3 | Треугольное | 1 |
| 0 | 0,3 | Нормальное | 1 |
| 0 | | Нормальное | 1 |
| 0 | Для параллелепипеда: Для полусферы: 0,25 | Прямоугольное | |
| 0 | | Прямоугольное | |
| 0 | | Прямоугольное | |
<b> Оценка, полученная в результате измерения данной входной величины. |
Расчет

выполнен в предположении, что все входные величины некоррелированны.
Для некоторых входных величин соответствующие стандартные неопределенности должны быть получены в результате дополнительных исследований.
Пример информации, необходимой для расчета суммарной стандартной неопределенности, приведен в
таблице H.2 и в H.4.2.2 -
H.4.2.12.
H.4.2.2. Влияние метода измерения

Неопределенность, связанная с применяемым методом измерения, характеризуется смещением метода и стандартной неопределенностью оценки этого смещения

. В предположении, что все необходимые поправки к измеренному уровню звуковой мощности внесены должным образом, смещение можно оценить только исходя из практического опыта измерений или по результатам межлабораторных испытаний. В случае детально проработанной модели измерения, в которой учтены все основные влияющие величины и для них получены количественные оценки этого влияния, неопределенность, связанная с методом измерения, будет мала. Если же знаний о возможных влияющих величинах недостаточно, имеются трудности в оценке пределов этого влияния или проводить такую оценку нецелесообразно из практических соображений, то данная составляющая неопределенности может стать доминирующей в оценке

. Примером может служить применение метода измерения недостаточно квалифицированным или неопытным испытателем.
В предположении, что анализ модели измерения был выполнен правильно и в полном объеме, в качестве ориентировочной оценки можно принять

(см.
[26]).
Смещение, обусловленное методом измерения, непосредственно в качестве слагаемого входит в оценку измеряемой величины, поэтому коэффициент чувствительности

. Вклад

данного источника в суммарную стандартную неопределенность будет составлять 0,4 дБ.
H.4.2.3. Изменения звукового поля во время испытаний

Неопределенность, связанная с изменчивостью звукового поля источника шума, характеризуется разбросом результатов последовательных измерений. Соответственно, стандартная неопределенность

, дБ, может быть выражена через выборочное стандартное отклонение

результатов этих измерений и рассчитана по формуле

,
где

- некоррелированный на фоновый шум результат j-го повторного измерения в заданной точке эквивалентного уровня звукового давления в заданных условиях установки и работы испытуемого источника, дБ;

- арифметическое среднее по всем

, дБ;
N - число повторных измерений.
Повторные измерения выполнены в условиях повторяемости, т.е. за короткий промежуток времени в одном месте с использованием одного и того же метода измерений, включая средства измерений, одним и тем же испытателем. При каждом повторном испытании включение и настройку средств измерений выполняют заново.
Коэффициент чувствительности

представляет собой производную функции измерения

по

и зависит от уровня фонового шума. Вычисление производной дает

.
Это выражение может быть упрощено до вида

и для наихудшего случая, когда уровень шума совпадает с предельно допустимым значением (см.
H.4.2.5), может быть принято как

. Если продолжительность измерений T не позволяет охватить достаточное число циклов работы машины, то суммарная стандартная неопределенность может стать недопустимо большой для технического метода измерения. Влияние данного источника неопределенности может быть уменьшено за счет более строгого контроля условий работы машины, увеличения продолжительности измерений или путем усреднения по многократным измерениям, выполненным в разных условиях, характерных для типичного применения машины. Уменьшить вклад данного источника можно также за счет увеличения числа точек измерений или увеличения измерительного расстояния (радиуса). В рассматриваемом примере вклад

в суммарную стандартную неопределенность предполагается равным 0,3 дБ.
H.4.2.4. Измерительная поверхность (S)
В настоящем примере рассматривается стандартная неопределенность

, связанная с измерительным радиусом r (в случае измерительной поверхности в виде параллелепипеда расчеты будут аналогичны). Неопределенность размеров измерительной поверхности зависит от неточной информации об измерительном радиусе, значение которого, как предполагается, находится в интервале

. Соответствующей случайной величине может быть приписано прямоугольное распределение на этом интервале со стандартным отклонением

.
Формула для расчета уровня звуковой мощности имеет вид

. Коэффициент чувствительности

вычисляется как производная

по r, что дает

.
В качестве наихудшего варианта можно предположить, что

составляет 10% значения r. Ему соответствует вклад

в суммарную стандартную неопределенность, равный 0,5 дБ. Более тщательные измерения расстояний при построении измерительной поверхности позволяют уменьшить влияние данного фактора, который в большинстве случаев не будет превышать 0,3 дБ.
H.4.2.5. Коррекция на фоновый шум

Стандартная неопределенность

, дБ, связанная с коррекцией на фоновый шум

, может быть выражена через выборочное стандартное отклонение

по серии повторных измерений фонового шума в одной точке измерений (точки установки микрофона) на измерительной поверхности.
Коэффициент чувствительности

получают, взяв производную функции измерения

по

и используя
формулы (H.1) и
(16). Знак коэффициента чувствительности значения не имеет, поэтому его можно представить в виде

.
При

выражение для

может быть упрощено до вида

. В рассматриваемом примере

предполагается равным 3 дБ. В наихудшем случае

, что даст значение коэффициента чувствительности

и вклад

в суммарную стандартную неопределенность, равный 1,0 дБ. В большинстве измерительных ситуаций за счет обеспечения низкого уровня фонового шума данный вклад может быть уменьшен до 0,3 дБ. Уменьшение флуктуации фонового шума уменьшает вклад данной составляющей неопределенности. Кроме того, можно ожидать, что

снизится примерно вдвое, если вчетверо увеличить продолжительность измерений T. Существенного уменьшения коэффициента чувствительности можно добиться за счет снижения фонового шума посредством выявления его источников с последующим принятием мер по их звукоизоляции или звукопоглощению. Такие меры могут включать в себя надлежащее устройство заземления, изоляцию проводов, виброизоляцию, использование дополнительных масс и дополнительных поглощающих материалов и т.д. Отношение уровня звукового давления фонового шума к уровню звукового давления шума испытуемого источника уменьшается на 3 дБ при уменьшении площади измерительной поверхности вдвое.
H.4.2.6. Коррекция на свойства испытательного пространства

Практический опыт показывает, что расчетному значению коррекции на свойства испытательного пространства

, дБ, можно поставить в соответствие стандартную неопределенность

, приближенно определяемую по формуле

. Например, при

,

.
Коэффициент чувствительности для данного фактора

равен единице.
В худшем случае

,

и

. Вклад этой составляющей можно уменьшить, уменьшая измерительное расстояние (радиус), увеличивая звукопоглощение в испытательном помещении, проводя испытания в помещении с открытыми окнами и дверями или на открытом воздухе. В большинстве случаев можно принять

.
H.4.2.7. Поправки на атмосферные условия

В настоящем пункте рассматриваются поправки на атмосферные условия

и соответствующее им стандартное отклонение

, связанные с существенными изменениями постоянного давления

. Неопределенность, связанная с изменениями температуры, рассматривается в
H.4.2.11.
Если измерения проводят на высоте менее 500 м над уровнем моря, то поправку на атмосферные условия не учитывают (т.е. в данном примере

). На высоте 120 м при температуре воздуха 23 °C поправка равна нулю, а на высоте 500 м при той же температуре она равна 0,6 дБ. Приписывая случайной величине, связанной с неучетом поправки, треугольное распределение, получим для него стандартное отклонение

. Данное значение принимают за

.
Коэффициент чувствительности для данного фактора

равен единице.
Принимая, что испытания проводятся на высоте менее 500 м над уровнем моря и не внося поправку на атмосферные условия, получим, что вклад данной составляющей неопределенности равен 0,3 дБ. Этот вклад можно уменьшить, изменив место проведения испытаний или учитывая поправку на атмосферные условия.
H.4.2.8. Инструментальная неопределенность

При измерениях звуковой мощности с использованием шумомеров класса 1 стандартную неопределенность

, обусловленную применяемым средством измерений, можно принять равной приблизительно 0,5 дБ.
Инструментальная неопределенность дает непосредственный вклад в неопределенность измеряемой величины, поэтому соответствующий коэффициент чувствительности равен единице, а вклад данного источника неопределенности в суммарную стандартную неопределенность составляет 0,5 дБ. Факторы, влияющие на инструментальную неопределенность при применении шумомеров, подробно рассматриваются в МЭК 61672-1. Уменьшить значение коэффициента чувствительности

можно, если оценку коррекции

выполнять методом сравнения (см.
раздел A.2 в Приложении A), но при этом необходимо будет учитывать дополнительную неопределенность, связанную с применяемым образцовым источником шума.
H.4.2.9. Неравномерность распределения уровня звукового давления по измерительной поверхности

Стандартную неопределенность

, связанную с конечным числом точек измерений на измерительной поверхности, можно оценить по формуле

,
где

- кажущийся показатель неравномерности уровня звукового давления (см.
3.25);

- число точек измерений на измерительной поверхности.
Коэффициент чувствительности для данного фактора

равен единице.
Обычно разброс значений уровня звукового давления в разных точках измерительной поверхности не превышает 5 дБ. Предположив, что минимальное число точек измерений равно девяти, получим оценку

. Как наихудший случай можно рассматривать ситуацию, когда разброс значений составляет 10 дБ и при этом число точек измерений увеличено только на единицу, т.е. равно 10. Это будет соответствовать

. Стандартная неопределенность

уменьшается в два раза при увеличении числа точек измерений вчетверо. Ее можно также уменьшить, увеличив измерительное расстояние. В ряде случаев можно попытаться уменьшить данную составляющую неопределенности, изменяя положение испытуемого источника шума. Если в испытательном пространстве частично существует диффузное поле, то неопределенность измерения можно уменьшить за счет большей однородности этого поля, получаемой, например, при увеличении времени реверберации в испытательном помещении или при использовании акустических рассеивателей звука (см. также
[2]).
H.4.2.10. Отклонение угла падения звуковой волны от нормали к измерительной поверхности

Стандартную неопределенность, связанную с углом падения звуковой волны от испытуемого источника, обозначим

. Использование в настоящем стандарте звукового давления для аппроксимации интенсивности звука ведет к завышенным оценкам уровня звуковой мощности. Если измерительная поверхность имеет вид параллелепипеда, то смещение оценки может лежать в диапазоне от нуля до

в зависимости от угла падения звуковой волны и импеданса среды (т.е. от интенсивности звука испытуемого источника и когерентности звуковых волн, распространяющихся от разных частей источника). Величина смещения и, при необходимости, соответствующей поправки зависит от источника шума и должна быть указана в испытательном коде по шуму. Максимально завышенная оценка уровня звуковой мощности получается в случае, когда звук распространяется из точечного источника, расположенного вблизи середины ребра нижней грани параллелепипеда измерительной поверхности (примером может служить образцовый источник шума, размещенный рядом с машиной очень больших размеров). Для измерительной поверхности в виде параллелепипеда стандартную неопределенность

, дБ, можно приближенно оценить по формуле (см.
[27])

,
где d - измерительное расстояние, м;
S - площадь измерительной поверхности, м2.
Для измерений в свободном звуковом поле над звукоотражающей плоскостью с использованием полусферической измерительной поверхности

.
Примечание. На высоких частотах смещение, связанное с отклонением угла падения звуковой волны, может быть компенсировано направленностью микрофона.
Коэффициент чувствительности

может быть рассчитан по формуле

, которую получают следующим образом. Отклонение угла падения звуковой волны от нормали к измерительной поверхности влияет только на уровень звукового давления прямой волны

, распространяющейся от испытуемого источника. Поэтому коэффициент чувствительности

можно представить в виде производной

и преобразовать с учетом того, что

,
где

- вклад в уровень звукового давления на измерительной поверхности реверберационного звукового поля и

(см.
раздел A.2 Приложения A).
Наихудший случай имеет место, когда измерительная поверхность в виде параллелепипеда наиболее близка к испытуемому источнику больших размеров. Например, для машины, размеры которой в длину, ширину и высоту равны приблизительно 8 м, при измерительном расстоянии 1 м (согласно
Приложению C для такой измерительной поверхности потребуется более 100 точек измерений)

. Коэффициент чувствительности

максимален, когда

(т.е. при измерениях на открытом воздухе). Для более типичного случая, когда достаточно девяти точек измерений,

уменьшается до 1,0 дБ. Если принять

, то

, и вклад данной составляющей неопределенности

в суммарную стандартную неопределенность составит 0,6 дБ. Вклад будет тем меньше, чем больше

. Уменьшить его можно также за счет увеличения измерительного расстояния d. Для больших значений d и полусферической измерительной поверхности вклад может быть уменьшен до 0,25 дБ и быть еще меньше.
H.4.2.11. Температура воздуха

Изменения температуры воздуха влияют на коррекцию

в силу изменения звукопоглощающих свойств среды в испытательном помещении. В рассматриваемом примере предполагается, что изменения температуры

, °C, происходят в диапазоне

и характеризуются прямоугольным распределением в пределах этого диапазона. Тогда стандартная неопределенность

будет равна стандартному отклонению данного распределения, т.е.

.
Коэффициент чувствительности

получают дифференцированием

по

. Основная формула для

получена из
[2] заменой слагаемого

на

. Взятие производной от

было рассмотрено в
H.4.2.10. С учетом этого

,
где H - относительная влажность воздуха в испытательном пространстве, %;
f - максимальная частота, уровень звукового давления для которой оказывает существенное влияние на результат измерения корректированного по A уровня звуковой мощности.
Коэффициент чувствительности

принимает максимальные значения при большой коррекции

, высокой частоте f, если испытания проводят в сухом помещении при низкой температуре. Типичным неблагоприятным случаем можно считать, когда испытуемый источник шума изменяет температуру воздуха в помещении, например, на 10 °C, что дает

. Наихудшим случаем является ситуация, когда источник значительно излучает на частоте 10 кГц при

, температуре окружающего воздуха 10 °C и относительной влажности 10%. В этом случае коэффициент чувствительности будет равен приблизительно 0,3 дБ/°C, и вклад данного источника неопределенности

составит 0,8 дБ. Принятие специальных мер по обеспечению стабильной температуры в испытательном помещении или сокращение общего времени измерений позволит уменьшить эту составляющую неопределенности.
Коэффициент чувствительности может быть уменьшен при уменьшении

за счет увеличения звукопоглощения в испытательном помещении при проведении испытания в помещении с открытыми окнами и дверями. При повышении температуры и влажности воздуха коэффициент чувствительности

слабее зависит от изменений температуры. В
[2] рекомендуемыми диапазонами изменений являются +/- 1 °C для температуры и +/- 3% для влажности воздуха при температуре ниже 20 °C и при относительной влажности менее 30%. При температуре выше 20 °C и относительной влажности выше 50% такими диапазонами являются соответственно +/- 5 °C и +/- 10%. Обычно, если работа источника шума мало влияет на температуру окружающего воздуха, а в его шуме доминируют низкие частоты, то вклад данной составляющей неопределенности становится незначительным, например

.
H.4.2.12. Относительная влажность

В рассматриваемом примере предполагается, что изменения относительной влажности H, Па, происходят в диапазоне

, %, и характеризуются прямоугольным распределением в пределах этого диапазона. Тогда стандартная неопределенность

будет равна стандартному отклонению данного распределения, т.е.

.
Коэффициент чувствительности

получают дифференцированием

по относительной влажности аналогично
H.4.2.11, рассчитывая его по формуле:

,
где f - максимальная частота, уровень звукового давления для которой оказывает существенное влияние на корректированный по A уровень звуковой мощности.
Коэффициент чувствительности

принимает максимальные значения при f = 10 кГц, если испытания проводят в сухом помещении. Наихудшим случаем является ситуация, когда источник значительно излучает на частоте 10 кГц при

и относительной влажности 10%. В этом случае коэффициент чувствительности будет равен приблизительно 0,3. Если при этом относительная влажность изменяется в пределах +/- 5%, то вклад данного источника неопределенности

составит 1,0 дБ. Принятие специальных мер по обеспечению стабильности влажности воздуха в испытательном помещении или сокращение общего времени измерений позволит уменьшить эту составляющую неопределенности.
Коэффициент чувствительности может быть уменьшен при уменьшении

за счет увеличения звукопоглощения в испытательном помещении при проведении испытания в помещении с открытыми окнами и дверями. В
[2] рекомендуемыми диапазонами изменений относительной влажности воздуха являются от +/- 3% при H < 30% до +/- 10% при H > 50%. Обычно стабильность относительной влажности воздуха поддерживается в более узких пределах и с учетом того, что в шуме большинства испытуемых источников доминируют низкие частоты, вклад данной составляющей неопределенности становится незначительным, например,

.
H.4.2.13. Типичные значения

H.5. Суммарная стандартная неопределенность
В случае незначительной корреляции между входными величинами суммарную стандартную неопределенность

, дБ, для уровня звуковой мощности

, дБ, рассчитывают по формуле

. (H.3)
H.6. Использование результатов измерений в условиях воспроизводимости
При отсутствии информации о составляющих неопределенности и возможных корреляциях между входными величинами в качестве суммарной стандартной неопределенности

может быть использовано стандартное отклонение воспроизводимости (см.
раздел 9). Для получения расширенной неопределенности U выбирают значение коэффициента охвата k. По умолчанию интервал охвата определяют для вероятности охвата 95%. Тогда в предположении нормального распределения случайной величины, ассоциированной с измеряемой величиной

, k = 2. Чтобы избежать неправильного толкования, вместе с расширенной неопределенностью в протоколе испытаний следует указывать вероятность охвата.
(справочное)
СВЕДЕНИЯ О СООТВЕТСТВИИ ССЫЛОЧНЫХ МЕЖДУНАРОДНЫХ СТАНДАРТОВ
НАЦИОНАЛЬНЫМ СТАНДАРТАМ РОССИЙСКОЙ ФЕДЕРАЦИИ (И ДЕЙСТВУЮЩЕМУ
В ЭТОМ КАЧЕСТВЕ МЕЖГОСУДАРСТВЕННОМУ СТАНДАРТУ)
Таблица ДА.1
Обозначение ссылочного международного стандарта | Степень соответствия | Обозначение и наименование национального, межгосударственного стандарта |
ИСО 3382-2 | IDT | ГОСТ Р ИСО 3382-2-2013 "Акустика. Измерение акустических параметров помещений. Часть 2. Время реверберации обычных помещений" |
ИСО 3745 | - | |
ИСО 5725 (все части) | IDT | ГОСТ Р ИСО 5725-1-2002 "Точность (правильность и прецизионность) методов и результатов измерений. Часть 1. Основные положения и определения" ГОСТ Р ИСО 5725-2-2002 "Точность (правильность и прецизионность) методов и результатов измерений. Часть 2. Основной метод определения повторяемости и воспроизводимости стандартного метода измерений" ГОСТ Р ИСО 5725-3-2002 "Точность (правильность и прецизионность) методов и результатов измерений. Часть 3. Промежуточные показатели прецизионности стандартного метода измерений" ГОСТ Р ИСО 5725-4-2002 "Точность (правильность и прецизионность) методов и результатов измерений. Часть 4. Основные методы определения правильности стандартного метода измерений" ГОСТ Р ИСО 5725-5-2002 "Точность (правильность и прецизионность) методов и результатов измерений. Часть 5. Альтернативные методы определения правильности стандартного метода измерений" ГОСТ Р ИСО 5725-6-2002 "Точность (правильность и прецизионность) методов и результатов измерений. Часть 6. Использование значений точности на практике" |
ИСО 6926 | - | |
ИСО 12001:1996 | - | |
Руководство ИСО/МЭК 98-3 | IDT | ГОСТ Р 54500.3-2011 "Неопределенность измерения. Часть 3. Руководство по выражению неопределенности измерения" |
МЭК 60942:2003 | IDT | |
МЭК 61260:1995 | MOD | ГОСТ Р 8.714-2010 (МЭК 61260:1995) "Государственная система обеспечения единства измерений. Фильтры полосовые октавные и на доли октавы. Технические требования и методы испытаний" |
МЭК 61672-1:2002 | MOD | ГОСТ 17187-2010 (IEC 61672-1:2002) "Шумомеры. Часть 1. Технические требования" |
<*> Соответствующий национальный стандарт отсутствует. До его утверждения рекомендуется использовать перевод на русский язык данного международного стандарта. Перевод данного международного стандарта находится в Федеральном информационном фонде технических регламентов и стандартов. Примечание. В настоящей таблице использованы следующие условные обозначения степени соответствия стандарта: - IDT - идентичные стандарты; - MOD - модифицированные стандарты. |
| ISO 3740, Acoustics - Determination of sound power levels of noise sources - Guidelines for the use of basic standards |
| ISO 3741, Acoustics - Determination of sound power levels and sound energy levels of noise sources using sound pressure - Precision methods for reverberation test rooms |
| ISO 3743-1, Acoustics - Determination of sound power levels and sound energy levels of noise sources using sound pressure - Engineering methods for small movable sources in reverberant fields - Part 1: Comparison method for a hard-walled test room |
| ISO 3743-2, Acoustics - Determination of sound power levels of noise sources using sound pressure - Engineering methods for small, movable sources in reverberant fields - Part 2: Methods for special reverberation test rooms |
| ISO 3746, Acoustics - Determination of sound power levels and sound energy levels of noise sources using sound pressure - Survey methods using an enveloping measurement surface over a reflecting plane |
| ISO 3747, Acoustics - Determination of sound power levels and sound energy levels of noise sources using sound pressure - Engineering/survey methods for use in situ in a reverberant environment |
| ISO 4871, Acoustics - Declaration and verification of noise emission values of machinery and equipment |
[8] | ISO 7574-1, Acoustics - Statistical methods for determining and verifying stated noise emission values of machinery and equipment - Part 1: General considerations and definitions |
[9] | ISO 7574-2, Acoustics - Statistical methods for determining and verifying stated noise emission values of machinery and equipment - Part 2: Methods for stated values for individual machines |
[10] | ISO 7574-3, Acoustics - Statistical methods for determining and verifying stated noise emission values of machinery and equipment - Part 3: Simple (transition) method for stated values for batches of machines |
[11] | ISO 7574-4, Acoustics - Statistical methods for determining and verifying stated noise emission values of machinery and equipment - Part 4: Methods for stated values for batches of machines |
[12] | ISO 9296, Acoustics - Declared noise emission values of computer and business equipment |
| ISO 9614-1, Acoustics - Determination of sound power levels of noise sources using sound intensity - Part 1: Measurement at discrete points |
| ISO 9614-2, Acoustics - Determination of sound power levels of noise sources using sound intensity - Part 2: Measurement by scanning |
| ISO 9614-3, Acoustics - Determination of sound power levels of noise sources using sound intensity - Part 3: Precision method for measurement by scanning |
[16] | ISO 10534-1, Acoustics - Determination of sound absorption coefficient and impedance in impedance tubes - Part 1: Method using standing wave ratio |
[17] | ISO 10534-2, Acoustics - Determination of sound absorption coefficient and impedance in impedance tubes - Part 2: Transfer-function method |
| ISO 11201, Acoustics - Noise emitted by machinery and equipment - Determination of emission sound pressure levels at a work station and at other specified positions in an essentially free field over a reflecting plane with negligible environmental corrections |
[19] | ISO 13472-1, Acoustics - Measurement of sound absorption properties of road surfaces in situ - Part 1: Extended surface method |
| ISO/TR 25417:2007, Acoustics - Definitions of basic quantities and terms |
| ISO 80000-8:2007, Quantities and units - Part 8: Acoustics |
[22] | WITTSTOCK, V. On the uncertainty of meteorological corrections in sound power determination. Proceedings Inter-Noise 2004, CD-ROM, Prague, 2004 |
| DAVIES, R.S. Equation for the determination of the density of moist air. Metrologia 1992, 29, pp. 67 - 70 |
| CRAMER, O. The variation of the specific heat ratio and the speed of sound in air with temperature, humidity and CO2 concentration. J. Acoust. Soc. Am. 1993, 93, pp. 2510 - 2516 |
|  , G. Final results of a round robin test determining the sound power of machine/equipment. Proceedings Inter-Noise 1997, Budapest, 1997, pp. 1317 - 1322 |
| HELLWEG, R.D. International round robin test of ISO/DIS 7779. Proceedings Inter-Noise 1988, Avignon, 1988, pp. 1105 - 1108 |
| PROBST, W. Checking of sound emission values. Bremerhaven: Wirtschaftsverlag NW, Verlag  Neue Wissenschaft, 1999. 102 p. (Schriftenreihe der Bundesanstalt  Arbeitsschutz und Arbeitsmedizin: Forschung, Special report 851.) |
[28] | WONG, G.S.K. Comments on "The variation of the specific heat ratio and the speed of sound in air with temperature, pressure, humidity, and CO2 concentration", J. Acoust. Soc. Am. 93, 2510 - 2516 (1993). J. Acoust. Soc. Am. 1995, 97, pp. 3177 - 3179 |
|  , G. Accuracy consideration on the meteorological correction for a normalized sound power level. In: Proceedings Inter-Noise 2000, Nice, 2000 |
[30] |  , G. Analysis of errors in the measurement of machine noise. J. Acoust. Soc. Am. 1973, 54, pp. 967 - 977 |