Главная // Актуальные документы // ГОСТ Р (Государственный стандарт)СПРАВКА
Источник публикации
М.: ФГБУ "Институт стандартизации", 2024
Примечание к документу
Документ
введен в действие с 01.09.2024.
Название документа
"ГОСТ Р 71321-2024. Национальный стандарт Российской Федерации. Ринг боксерский. Технические условия"
(утв. и введен в действие Приказом Росстандарта от 02.04.2024 N 393-ст)
"ГОСТ Р 71321-2024. Национальный стандарт Российской Федерации. Ринг боксерский. Технические условия"
(утв. и введен в действие Приказом Росстандарта от 02.04.2024 N 393-ст)
Утвержден и введен в действие
по техническому регулированию
и метрологии
от 2 апреля 2024 г. N 393-ст
НАЦИОНАЛЬНЫЙ СТАНДАРТ РОССИЙСКОЙ ФЕДЕРАЦИИ
РИНГ БОКСЕРСКИЙ
ТЕХНИЧЕСКИЕ УСЛОВИЯ
Boxing ring. Specifications
ГОСТ Р 71321-2024
Дата введения
1 сентября 2024 года
1 РАЗРАБОТАН Ассоциацией Саморегулируемой организацией "Отраслевое объединение национальных производителей в сфере физической культуры и спорта "Промспорт" (СРО "Промспорт")
2 ВНЕСЕН Техническим комитетом по стандартизации ТК 444 "Спортивные и туристские изделия, оборудование, инвентарь, физкультурные и спортивные услуги"
3 УТВЕРЖДЕН И ВВЕДЕН В ДЕЙСТВИЕ
Приказом Федерального агентства по техническому регулированию и метрологии от 2 апреля 2024 г. N 393-ст
4 ВВЕДЕН ВПЕРВЫЕ
Правила применения настоящего стандарта установлены в статье 26 Федерального закона от 29 июня 2015 г. N 162-ФЗ "О стандартизации в Российской Федерации". Информация об изменениях к настоящему стандарту публикуется в ежегодном (по состоянию на 1 января текущего года) информационном указателе "Национальные стандарты", а официальный текст изменений и поправок - в ежемесячном информационном указателе "Национальные стандарты". В случае пересмотра (замены) или отмены настоящего стандарта соответствующее уведомление будет опубликовано в ближайшем выпуске ежемесячного информационного указателя "Национальные стандарты". Соответствующая информация, уведомление и тексты размещаются также в информационной системе общего пользования - на официальном сайте Федерального агентства по техническому регулированию и метрологии в сети Интернет (www.rst.gov.ru)
Настоящий стандарт распространяется на боксерские ринги, предназначенные для проведения соревнований и тренировок спортсменов в закрытых помещениях.
В настоящем стандарте использованы нормативные ссылки на следующие стандарты:
ГОСТ 9.032 Единая система защиты от коррозии и старения. Покрытия лакокрасочные. Группы, технические требования и обозначения
ГОСТ 9.301 Единая система защиты от коррозии и старения. Покрытия металлические и неметаллические неорганические. Общие требования
ГОСТ 9.302 (ИСО 1463-82, ИСО 2064-80, ИСО 2106-82) Единая система защиты от коррозии и старения. Покрытия металлические и неметаллические неорганические. Методы контроля
ГОСТ 9.410 Единая система защиты от коррозии и старения. Покрытия порошковые полимерные. Типовые технологические процессы
ГОСТ 1759.0 Болты, винты, шпильки и гайки. Технические условия
ГОСТ 3242 Соединения сварные. Методы контроля качества
ГОСТ 3813 (ИСО 5081-77, ИСО 5082-82) Материалы текстильные. Ткани и штучные изделия. Методы определения разрывных характеристик при растяжении
ГОСТ 5264 Ручная дуговая сварка. Соединения сварные. Основные типы, конструктивные элементы и размеры
ГОСТ ISO 898-1 Механические свойства крепежных изделий из углеродистых и легированных сталей. Часть 1. Болты, винты и шпильки установленных классов прочности с крупным и мелким шагом резьбы
ГОСТ ISO 898-2 Механические свойства крепежных изделий из углеродистых и легированных сталей. Часть 2. Гайки установленных классов прочности с крупным и мелким шагом резьбы
Примечание - При пользовании настоящим стандартом целесообразно проверить действие ссылочных стандартов в информационной системе общего пользования - на официальном сайте Федерального агентства по техническому регулированию и метрологии в сети Интернет или по ежегодному информационному указателю "Национальные стандарты", который опубликован по состоянию на 1 января текущего года, и по выпускам ежемесячного информационного указателя "Национальные стандарты" за текущий год. Если заменен ссылочный стандарт, на который дана недатированная ссылка, то рекомендуется использовать действующую версию этого стандарта с учетом всех внесенных в данную версию изменений. Если заменен ссылочный стандарт, на который дана датированная ссылка, то рекомендуется использовать версию этого стандарта с указанным выше годом утверждения (принятия). Если после утверждения настоящего стандарта в ссылочный стандарт, на который дана датированная ссылка, внесено изменение, затрагивающее положение, на которое дана ссылка, то это положение рекомендуется применять без учета данного изменения. Если ссылочный стандарт отменен без замены, то положение, в котором дана ссылка на него, рекомендуется применять в части, не затрагивающей эту ссылку.
В настоящем стандарте применены следующие термины с соответствующими определениями:
3.1 канаты: Горизонтальные элементы для ограничения пространства ринга с креплениями к угловым стойкам.
3.2 перемычка: Вертикальная лента, соединяющая четыре каната одной стороны.
3.3 верхнее покрытие: Материал, контактирующий с обувью спортсменов, воспринимающий вертикальные и горизонтальные нагрузки, создаваемые при перемещении по рингу.
3.4 демпфирующее покрытие: Эластичный материал, обеспечивающий выравнивание верхнего слоя и предназначенный для амортизации вертикальных нагрузок, создаваемых при перемещении по рингу.
Боксерские ринги подразделяют:
- по назначению: на тренировочные и соревновательные;
- по способу установки: на помосте и напольный.
Напольные ринги различают по способу монтажа: на растяжках или на упорах.
5.1 Общие требования
5.1.1 Ринги должны иметь форму квадрата. Стороны должны быть одинаковой длины, допускаемое отклонение - +/- 50,0 мм; угол, образуемый смежными сторонами - (90,0 +/- 1,5)°. Соревновательные ринги устанавливают на помосте, тренировочные могут быть напольными или на помосте. Соревновательные ринги изготовляют размерами 6100 x 6100 мм, измеренными по внутренней линии канатов; тренировочные - 4000 x 4000 и 5000 x 5000 мм (допускаются универсальные ринги, имеющие систему регулировки размеров ринга).
Размеры спортивной зоны ринга на помосте приведены в
таблице 1, схема показана на
рисунке 1.
Таблица 1
Основные параметры и размеры боксерских рингов
В миллиметрах
Наименование измеряемых деталей | Размер деталей | Допуск |
для официальных всероссийских соревнований | для других соревнований и тренировочных |
Длина стороны ринга | 6100 | От 4900 до 6100 | +/- 50 |
Длина стороны помоста | 7800 | От 5820 до 7800 |
Высота помоста от уровня пола или основания: | 1000 | | +/- 50 |
- тренировочных рингов | От 400 до 910 |
- соревновательных рингов | От 910 до 1220 |
Толщина мягкого настила | От 15 до 20 | - |
Диаметр канатов | 40 | +/- 20 |
Высота расположения канатов | 400, 700, 1000, 1300 | +/- 20 |
Ширина перемычек канатов | от 30 до 40 | - |
Расстояние между угловой стойкой и канатом, не менее | 500 | +/- 20 |
Ширина мягкого настила, выступающего за канатом, не менее |
Ширина зоны безопасности за канатами | >= 850 | >= 460 | - |
1 - ринг; 2 - красный угол; 3 - синий угол;
4 - нейтральный угол; 5 - канаты
Рисунок 1 - Схема соревновательного ринга на помосте
5.1.2 Помост сооружают на площадке, не имеющей неровностей. Покрытие полов помоста должно быть однородным и не иметь видимых дефектов (разломов, трещин и т.п.).
5.1.3 Помост снабжают тремя лестницами. Две из них устанавливают в противоположных углах, третью - в нейтральном углу.
5.1.4 Пространство ринга ограничивают канатами, натянутыми между четырьмя угловыми стойками. Канаты должны иметь мягкое гладкое покрытие. С каждой стороны ринга канаты соединяют двумя перемычками, выполненными из плотного материала (сходного по текстуре с тканью покрытия), расположенными через равные интервалы. Перемычки должны быть зафиксированы и не должны смещаться по канатам.
5.1.5 Верхнее покрытие пола ринга выполняют из текстильного материала синего цвета. Допускается нанесение логотипов площадью не более 30% площади покрытия.
5.2 Требования безопасности
5.2.1 В каждом углу ринга устанавливают стойки, которые должны быть защищены специальными подушками. Конструкция стоек должна выдерживать усилие натяжения канатов.
Растяжки крепления стоек должны быть выполнены способом, исключающим травмирование пользователей элементами крепления.
5.2.2 Натяжение канатов должно составлять от 900 до 1800 Н.
5.2.3 Покрытие ринга состоит не менее чем из двух слоев: верхнего и демпфирующего покрытий.
Верхнее покрытие пола ринга выполняют из текстильного материала плотностью от 630,0 до 650,0 г/м2. Покрытие должно быть не скользким, иметь коэффициент трения скольжения не менее 0,4.
Демпфирующее покрытие изготовляют из эластичных материалов плотностью 160 - 200 кг/м3, толщиной от 15 до 20 мм. Демпфирующее покрытие должно быть однородным, может быть монолитным или составным. Для соединения элементов демпфирующего покрытия применяют "ласточкин хвост" или аналогичное соединение, не допускающее разъединения деталей по горизонтали и вертикального сдвига (образования неровностей покрытия) и исключающее попадание ноги пользователя между составными частями покрытия.
5.2.4 Ширина зоны безопасности соревновательного ринга составляет не менее 850 мм по всему периметру, тренировочного - не менее 460 мм. Запрещено устанавливать ограждения по внешнему периметру зоны безопасности.
5.3 Требования к комплектующим изделиям и материалам
5.3.1 Прочность материала верхнего покрытия ринга на разрыв - от 300 до 370 Н.
5.3.2 Прочность канатов на разрыв - не менее 9 кН. При проведении испытаний канат должен выдержать приложенное усилие без повреждений и падения нагрузки более 5%.
5.3.3 Устойчивость угловых стоек к горизонтальной нагрузке - не менее 12,5 кН.
При приложении нагрузки допускается отклонение не более 50 мм.
5.3.5 Металлические части изготовляют из коррозийно-стойких материалов или защищают от коррозии в соответствии с требованиями
ГОСТ 9.032,
ГОСТ 9.301,
ГОСТ 9.410.
5.3.6 Сварные швы должны соответствовать требованиям
ГОСТ 5264.
Прочность сварного шва на сдвиг:
- в продольном направлении 650 Н;
- поперечном направлении 550 Н.
Швы сварных соединений должны иметь гладкую или равномерно чешуйчатую поверхность с плавными переходами к основному металлу, без наплывов и подрезов. Сварные швы должны быть плотными по всей длине, без видимых прожогов, сужений, перерывов, наплывов, недопустимых по размерам подрезов, непроваров в корне сварного шва, несплавлений по кромкам, шлаковых включений и пор.
Металл сварного шва и околошовной зоны должен быть без трещин любой ориентации и длины.
Кратеры сварных швов в местах остановки сварки должны быть переварены, а в местах окончания - заварены.
5.3.7 На наружной поверхности изделий не должно быть заусенцев, раковин и механических повреждений.
6.1 Внешний вид рингов, комплектность элементов и приспособлений, наличие механических повреждений проверяют визуально.
6.2 Ринги проверяют на соответствие размерам, указанным в настоящем стандарте и технической документации производителя после монтажа. Линейные и угловые измерения осуществляют средствами измерений 2-го класса точности.
6.3 Измерение зоны безопасности осуществляют от линии проекции каната на пол под углом (90 +/- 1)° в направлении линии противоположного края зоны безопасности.
6.4 Метод определения коэффициента трения скольжения
Сущность метода заключается в определении силы трения скольжения, возникающей при перемещении фрикционного цилиндра с постоянными скоростью и давлением по поверхности испытуемого образца.
Коэффициент трения скольжения определяют отношением силы тяги (силы трения скольжения) к нормальной силе, прижимающей фрикционный цилиндр к испытуемому образцу, закрепленному на опорной поверхности.
6.4.1 Оборудование
6.4.1.1 Для проведения испытаний применяют разрывную машину 2-го класса точности с пределом допускаемой относительной погрешности перемещения не более 1%, скоростью перемещения (150,0 +/- 1,5) мм/мин и диапазоном усилия не менее 30 Н.
6.4.1.2 Испытательное устройство состоит из следующих частей: разрывной машины, системы передачи движения, состоящей из ролика и троса, опорной поверхности, фрикционного цилиндра, как показано на
рисунке 2.
1 - разрывная машина; 2 - трос системы передачи движения;
3 - ролик системы передачи движения; 4 - опорная
поверхность, 5 - фрикционный цилиндр; 6 - образец;
F - сила тяги; N - нормальная сила
Рисунок 2 - Схема конструкции устройства для определения
силы трения скольжения
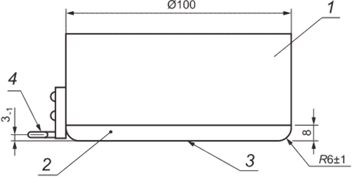
В устройстве применяют фрикционный цилиндр с каучуковым диском, как показано на
рисунке 3.
1 - цилиндр; 2 - диск каучуковый;
3 - трущаяся поверхность; 4 - проушина
Рисунок 3 - Фрикционный цилиндр
Фрикционный элемент весом (30 +/- 1,0) Н с резиновым диском твердостью от 60 до 65 по Шору А. Трущейся поверхности фрикционной детали придают шероховатость наждачной бумагой с размером зерна от 60 до 63.
6.4.1.3 Опорную поверхность размерами не менее 460 x 260 мм располагают горизонтально.
6.4.2 Подготовка образцов к испытанию
6.4.2.1 Размеры испытуемого образца [(460 x 200) +/- 1] мм.
6.4.2.2 Перед испытанием поверхность образца и трущуюся поверхность фрикционного цилиндра очищают от пыли.
6.4.2.3 Перед проведением испытания образцы кондиционируют в течение 4 ч при температуре проведения испытаний (22 +/- 2) °C.
6.4.2.4 Образец фиксируют на опорную поверхность способом, исключающим его горизонтальное смещение.
6.4.3 Проведение испытания
6.4.3.1 На образец устанавливают фрикционный цилиндр на расстояние от 5 до 10 мм от края образца.
6.4.3.2 Нормальная сила, действующая на трущуюся поверхность фрикционного цилиндра, должна составлять (30 +/- 1,0) Н.
6.4.3.3 Фрикционный цилиндр тянут по горизонтальной поверхности на расстояние 310 мм с постоянной скоростью (150 +/- 1,5) мм/мин. Регистрируют силу, действующую на цилиндр при его движении.
Проводят по три измерения для каждого испытываемого образца.
6.4.4 Обработка результатов
6.4.4.1 Для определения силы тяги строят градуировочную диаграмму.
Первые 4 с движения фрикционного цилиндра не учитывают при вычислении. Вычисляют среднее значение силы тяги для каждого испытания.
Определяют среднее значение силы тяги F, вычисляя его как среднее из средних значений силы тяги для проведенных испытаний.
6.4.4.2 Коэффициент трения скольжения

вычисляют по формуле

, (1)
где F - среднее арифметическое из средних значений силы тяги, Н;
N - нормальная сила, Н.
6.5 Метод определения прочности канатов
6.5.1 Оборудование
Для проведения испытаний применяют устройство натяжения, динамометр 2-го класса точности, две неподвижные силовые точки крепления.
6.5.2 Проведение испытания
Канат с креплением устанавливают на испытательном оборудовании.
На первую силовую точку закрепляют одну сторону каната, вторую сторону каната соединяют с силоизмерителем и устройством натяжения, прикрепленным ко второй силовой точке.
Устройством натяжения создают нагрузку на канат (9 +/- 0,3) кН и воздействуют не менее 60 с.
6.6 Метод определения устойчивости угловых стоек к горизонтальной нагрузке
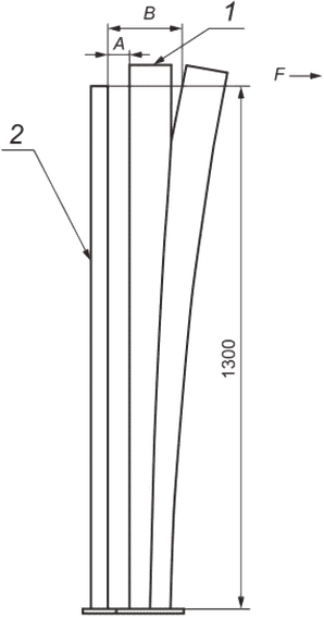
Сущность метода заключается в приложении горизонтальной нагрузки к угловой стойке для определения прогиба от вертикального положения в трех направлениях, как показано на
рисунке 4.
1 и 2 - рейки для усилия; F1 и F2 - направления усилия
Рисунок 4 - Схема испытания для определения прогиба
от вертикального положения
6.6.1 Подготовка к испытанию
К смонтированной стойке присоединяют динамометр и устройство создания усилия, прикрепленные к неподвижной силовой точке крепления. Рядом с основанием стойки устанавливают вертикальную рейку со стороны противоположной созданию усилия.
6.6.2 Проведение испытания
Устройством создания усилия создают усилие 12,5 кН на каждое направление на расстоянии 1300 мм от пола.
6.6.2.1 Замеряют расстояние
A от верхней точки стойки до вертикальной рейки, как показано на
рисунке 5.
1 - стойка; 2 - рейка; F - направление усилия
Рисунок 5 - Схема измерения отклонения стоек
от вертикального положения
6.6.2.2 Замеряют и регистрируют расстояние B от стойки до вертикальной рейки на расстоянии 1300 мм от пола.
6.6.3 Обработка результатов
По результатам замеров вычисляют отклонение C, мм, по формуле
C = B - A. (2)
6.7 Контроль защитного покрытия стоек проводят по
ГОСТ 9.302.
6.8 Определение прочности материала верхнего покрытия - по
ГОСТ 3813.
6.9 Контроль качества сварных соединений проводят визуально по
ГОСТ 3242.
7.1 Ринги должны иметь маркировку, содержащую следующие сведения:
- наименование или товарный знак изготовителя или поставщика;
- страну происхождения;
- обозначение настоящего стандарта.
7.2 Металлические элементы ринга допускается отпускать без упаковки, элементы из других материалов - в упаковочных материалах, предохраняющих от механических и климатических повреждений.
8 Транспортирование и хранение
8.1 Упакованные ринги следует транспортировать в соответствии с требованиями технической документации производителя.
8.2 Упакованные ринги следует хранить в складских условиях грузоотправителя и грузополучателя, обеспечивающих сохранность изделий от механических воздействий, загрязнений, действия агрессивных сред и прямых солнечных лучей, на расстоянии не менее 1 м от нагревательных приборов при температуре от 0 °C до 45 °C.
УДК 796.83:006.354 | |
Ключевые слова: ринг, помост, канаты, перемычки, демпфирующее покрытие, верхнее покрытие |