Главная // Актуальные документы // ГОСТ Р (Государственный стандарт)СПРАВКА
Источник публикации
М.: Стандартинформ, 2013
Примечание к документу
Документ утратил силу с 1 декабря 2015 года в связи с изданием
Приказа Росстандарта от 26.11.2014 N 1821-ст. Взамен введен в действие
ГОСТ EN 1498-2014.
Документ
введен в действие с 1 января 2013 года.
Название документа
"ГОСТ Р ЕН 1498-2012. Национальный стандарт Российской Федерации. Система стандартов безопасности труда. Средства индивидуальной защиты от падения с высоты. Спасательные петли. Общие технические требования. Методы испытаний"
(утв. и введен в действие Приказом Росстандарта от 21.08.2012 N 248-ст)
"ГОСТ Р ЕН 1498-2012. Национальный стандарт Российской Федерации. Система стандартов безопасности труда. Средства индивидуальной защиты от падения с высоты. Спасательные петли. Общие технические требования. Методы испытаний"
(утв. и введен в действие Приказом Росстандарта от 21.08.2012 N 248-ст)
Утвержден и введен в действие
агентства по техническому
регулированию и метрологии
от 21 августа 2012 г. N 248-ст
НАЦИОНАЛЬНЫЙ СТАНДАРТ РОССИЙСКОЙ ФЕДЕРАЦИИ
СИСТЕМА СТАНДАРТОВ БЕЗОПАСНОСТИ ТРУДА
СРЕДСТВА ИНДИВИДУАЛЬНОЙ ЗАЩИТЫ ОТ ПАДЕНИЯ С ВЫСОТЫ.
СПАСАТЕЛЬНЫЕ ПЕТЛИ
ОБЩИЕ ТЕХНИЧЕСКИЕ ТРЕБОВАНИЯ. МЕТОДЫ ИСПЫТАНИЙ
Occupational safety standards system.
Personal fall protection equipment. Rescue loops.
General technical requirements. Test methods
EN 1498:2006
Personal fall protection equipment - Rescue loops
(IDT)
ГОСТ Р ЕН 1498-2012
Дата введения
1 января 2013 года
Цели и принципы стандартизации в Российской Федерации установлены Федеральным
законом от 27 декабря 2002 г. N 184-ФЗ "О техническом регулировании", а правила применения национальных стандартов Российской Федерации -
ГОСТ Р 1.0-2004 "Стандартизация в Российской Федерации. Основные положения".
1. Подготовлен Рабочей группой подкомитета ПК 7 Технического комитета по стандартизации средств индивидуальной защиты ТК 320 "СИЗ" на основе аутентичного перевода на русский язык указанного в пункте 4 европейского регионального стандарта, который выполнен ФГУП "Стандартинформ".
2. Внесен Техническим комитетом по стандартизации средств индивидуальной защиты ТК 320 "СИЗ".
3. Утвержден и введен в действие
Приказом Федерального агентства по техническому регулированию и метрологии от 21 августа 2012 г. N 248-ст.
4. Настоящий стандарт идентичен европейскому региональному стандарту ЕН 1498:2006 "Средства индивидуальной защиты от падения с высоты. Спасательные петли" (EN 1498:2006 "Personal fall protection equipment - Rescue loops").
Наименование настоящего стандарта изменено относительно наименования европейского регионального стандарта для приведения в соответствие с ГОСТ Р 1.5
(пункт 3.5).
При применении настоящего стандарта рекомендуется использовать вместо ссылочных международных и европейских региональных стандартов соответствующие им национальные стандарты Российской Федерации, сведения о которых приведены в дополнительном
Приложении ДА.
5. Введен впервые.
Информация об изменениях к настоящему стандарту публикуется в ежегодно издаваемом информационном указателе "Национальные стандарты", а текст изменений и поправок - в ежемесячно издаваемых информационных указателях "Национальные стандарты". В случае пересмотра (замены) или отмены настоящего стандарта соответствующее уведомление будет опубликовано в ежемесячно издаваемом информационном указателе "Национальные стандарты". Соответствующая информация, уведомление и тексты размещаются также в информационной системе общего пользования - на официальном сайте Федерального агентства по техническому регулированию и метрологии в сети Интернет.
Настоящий стандарт устанавливает для спасательных петель общие технические требования, методы испытаний, маркировку и информацию, поставляемую изготовителем. Спасательные петли используют в качестве компонентов в спасательных системах.
В настоящем стандарте использованы нормативные ссылки на следующие стандарты:
ЕН 362 Средства индивидуальной защиты от падения с высоты. Соединительные элементы (EN 362, Personal protective equipment against falls from a height - Connectors)
ЕН 363:2002 Средства индивидуальной защиты от падения с высоты. Системы остановки падения с высоты (EN 363:2002, Personal protective equipment against falls from a height - Fall arrest systems)
ЕН 364:1992 Средства индивидуальной защиты от падения с высоты. Методы испытаний (EN 364:1992, Personal protective equipment against falls from a height - Test methods)
ЕН 365 Средства индивидуальной защиты от падения с высоты. Общие требования для инструкций по использованию, сохранению в рабочем состоянии, периодическому осмотру, ремонту, маркировке и упаковке (EN 365, Personal protective equipment against falls from a height - General requirements for instructions for use, maintenance, periodic examination, repair, marking and packaging)
ЕН 892 Альпинистское снаряжение. Динамические альпинистские канаты. Требования техники безопасности и методы испытаний (EN 892, Mountaineering equipment - Dynamic mountaineering ropes - Safety requirements and test methods)
ИСО 9227 Испытания на коррозию в искусственных атмосферах. Испытания в солевом тумане (Corrosion tests in artificial atmospheres - Salt spray tests).
В настоящем стандарте применены следующие термины с соответствующими определениями:
3.1. Спасательная петля (rescue loop): устройство, удерживающее тело человека, сконструированное в качестве компонента спасательной системы, состоящее из таких элементов, которые во время спасательного процесса удерживают и поддерживают спасаемого человека в определенной позиции.
3.2. Спасательная петля класса A (rescue loop class A): спасательная петля, сконструированная таким образом, что во время спасательного процесса спасаемый человек удерживается лямками спасательной петли, проходящими у шеи и под мышками.
Примечание. См. рисунок 1.
1 - спасательная петля; 2 - манекен корпуса человека;
3 - основная лямка; 4 - элемент подгонки;
5 - элемент крепления
Рисунок 1. Пример спасательной петли класса A
3.3. Спасательная петля класса B (rescue loop class B): спасательная петля, сконструированная таким образом, что во время спасательного процесса спасаемый человек удерживается в позиции сидения лямками спасательной петли.
Примечание. См. рисунок 2.
1 - спасательная петля; 2 - манекен корпуса человека;
3 - центральная лямка (вспомогательная лямка);
4 - элемент крепления
Рисунок 2. Пример спасательной петли класса B
3.4. Спасательная петля класса C (rescue loop class C): спасательная петля, сконструированная таким образом, что во время спасательного процесса спасаемый человек удерживается в позиции вниз головой лямками спасательной петли, расположенными вокруг лодыжек.
Примечание. См. рисунок 3.
1 - спасательная петля; 2 - основная лямка;
3 - элемент крепления
Рисунок 3. Пример спасательной петли класса C
в положении для спасения
3.5. Основные лямки (primary straps): лямки, предназначенные изготовителем, для того чтобы поддерживать или оказывать давление на тело человека во время спасения.
Примечание. Другие лямки называются вспомогательными.
3.6. Место подсоединения (attachment point): специальная точка, в которой имеются один и более элементов крепления для присоединения других компонентов.
3.7. Спасательная система (rescue system): система индивидуальной защиты от падения, с помощью которой человек может спасать самого себя или других людей таким образом, чтобы предотвратить падение.
3.8. Система индивидуальной защиты от падения (personal fall protection system): сборка компонентов для предохранения от падения с высоты во время работы, которая обязательно включает в себя устройство, удерживающее тело, подсоединенное к надежной анкерной точке.
Примечание. За исключением устройств для профессиональной и частной спортивной деятельности.
3.9. Максимальная расчетная нагрузка (спасательной петли) (maximum rated load (of rescue loop)): максимальная допустимая масса пользователя, включающая в себя массу инструментов и оборудования, указанная изготовителем для спасательной петли.
Примечание. Максимальную расчетную нагрузку выражают в килограммах.
Ширина основных лямок должна быть не менее 40 мм.
4.2. Материалы и конструкция
4.2.1. Общие положения
Материалы, которые могут соприкасаться с кожей пользователя, должны быть известны как не вызывающие раздражение или возбуждение при нормальном использовании спасательной петли.
4.2.2. Тканая лента и пряжа
Тканая лента и нити должны быть сделаны из комплексных нитей или множества синтетических волокон, пригодных для использования по назначению. Прочность на разрыв синтетического волокна должна быть известна и быть не менее 0,6 Н/текс.
Нитки, применяемые для сшивания, должны быть физически совместимы с лентой, а их качество должно быть сравнимым с качеством определенной ленты. Однако лента и нитки должны быть контрастными по оттенку для облегчения визуального осмотра.
4.2.3. Конструкция
При проверке по
5.1 спасательная петля не должна иметь острых кромок и заусенцев, которые могут нанести повреждение пользователю.
Спасательная петля должна быть сконструирована таким образом, чтобы при испытании по
5.2.3.1 предотвращалось случайное освобождение спасаемого человека от спасательной петли.
Должна быть возможность визуального осмотра каждого элемента или компонента спасательной петли.
4.2.4. Подсоединение
Спасательная петля должна иметь не менее одной точки подсоединения.
Ушко каждого элемента крепления должно быть диаметром 25 мм.
4.2.5. Соединительные элементы
Соединительные элементы - согласно ЕН 362.
4.3. Динамическая прочность
Испытание проводят по
5.2 на манекене корпуса человека для спасательных петель классов A и B и с испытательной массой для спасательных петель класса C, эквивалентной максимальной расчетной нагрузке, но не менее 100 кг. Манекен корпуса или испытательная масса должны быть удержаны без разрушения или разрыва основной лямки или элемента крепления спасательной петли. Ни один из элементов спасательной петли не должен быть отсоединен.
Если спасательная петля имеет несколько точек подсоединения, то испытание проводят на каждом элементе крепления.
4.4. Статическая прочность
При испытаниях по
5.3 с приложением силы, эквивалентной 10-кратной максимальной расчетной нагрузке, но не менее 15 кН, в течение 3 мин основные лямки и элемент крепления спасательной петли не должны разрушаться или разрываться. Ни один из элементов спасательной петли не должен быть отсоединен.
Если спасательная петля имеет более чем одну точку подсоединения, то испытание проводят на каждом элементе крепления.
4.5. Сопротивление коррозии
Металлические части спасательной петли испытывают по
5.4. После испытания они не должны иметь признаков коррозии, которые могли бы нарушить их функционирование (белый налет или потускнение металла являются допустимыми, если они не ухудшают функционирование металлических частей).
Примечание. Соответствие этому требованию не означает возможность использования спасательной петли в морской среде.
4.6. Маркировка и информация
Маркировка спасательной петли - согласно
разделу 6.
Информация, прилагаемая со спасательной петлей, должна соответствовать требованиям
раздела 7.
5.1. Исследование конструкции
Проверяют ширину каждой основной лямки путем измерения стальной линейкой.
Подтверждают путем сравнения с документацией, а также визуальным и/или тактильным исследованием спасательной петли, что она соответствует требованиям
4.2. Проверяют отверстие ушка каждого элемента для крепления, пропуская через него пруток диаметром

.
5.2. Проверка прочности динамической нагрузкой
5.2.1. Испытательное оборудование
Испытательное оборудование для динамического испытания спасательных петель классов A и B должно соответствовать требованиям ЕН 364 (пункты 4.2, 4.4 и 4.6).
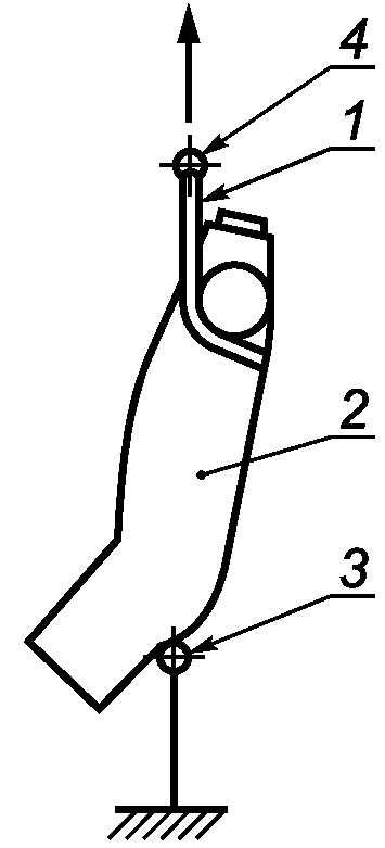
Испытательное оборудование для испытания спасательной петли класса C должно соответствовать требованиям ЕН 364 (пункты 4.4 и 4.6) и рисунку 4. Это должна быть жесткая структура, имеющая твердую и гладкую поверхность.
Рисунок 4. Тест-форма для проверки динамической
прочности спасательной петли класса C
5.2.2. Испытательная стропа
Испытательная стропа должна быть новым (еще не использованным) динамическим альпинистским канатом, соответствующим требованиям ЕН 892 для одинарного каната, должна иметь номинальный диаметр 11 мм и выдерживать известную ударную нагрузку (9 +/- 1,5) кН при первом испытании на ударную нагрузку по настоящему стандарту.
Концы каната заделывают петлями, связав узлы булинь (см. рисунок 5), и обеспечивают длину петли и узла не более 200 мм.
Рисунок 5. Узел булинь
Регулируют длину таким образом, чтобы при нагрузке

длина испытательной стропы, включая петли заделки обоих концов, составляла

(см. рисунок 6).
F - масса

или эквивалентная сила; 1 - узел булинь;
2 - петля заделки конца; 3 - точка/ушко для подсоединения
Рисунок 6. Испытательная стропа для проверки
прочности динамической нагрузкой
5.2.3. Методика проверки
5.2.3.1. Методика проверки для спасательных петель классов A и B
Подгоняют спасательную петлю под размеры манекена корпуса в соответствии с указаниями изготовителя. Подсоединяют одну петлю испытательной стропы к точке подсоединения спасательной петли, а вторую - к испытательному оборудованию.
Подвешивают манекен корпуса посредством спасательной петли, затем поднимают манекен на

с удалением от осевой линии оборудования не более 300 мм (см. рисунок 7). Удерживают его с помощью устройства быстрого расцепления.
a) - класс A; b) - класс B;
1 - спасательная петля; 2 - манекен корпуса человека;
3 - испытательная стропа; 4 - устройство быстрого
расцепления; 5 - элемент крепления;
6 - испытательное оборудование
Рисунок 7. Проверка прочности спасательных петель
классов A и B динамической нагрузкой
С помощью устройства быстрого расцепления отпускают манекен со спасательной петлей в свободное падение без начальной скорости.
Проверяют положение манекена корпуса в спасательной петле, а также на наличие оторвавшихся элементов спасательной петли. Проверяют основные лямки и элементы крепления на наличие признаков разрушения или разрыва.
В течение 15 мин проводят второй сброс с использованием той же самой стропы. Разрешается новая подгонка спасательной петли на манекене корпуса.
Проверяют положение манекена корпуса в спасательной петле, а также на наличие оторвавшихся элементов спасательной петли. Проверяют основные лямки и элементы крепления на наличие признаков разрушения или разрыва.
Повторяют это испытание для каждой точки крепления. При этом каждый раз разрешается повторная подгонка спасательной петли на манекене корпуса или ее замена.
5.2.3.2. Методика проверки для спасательных петель класса C
Проверку проводят по
5.2.3.1, но вместо манекена корпуса используют испытательную массу в соответствии с требованиями ЕН 364 (пункт 4.5). Схему расположения для этой проверки смотрите на рисунке 8.
1 - спасательная петля; 2 - тест-форма;
3 - испытательная стропа; 4 - испытательная масса;
5 - устройство быстрого расцепления
Рисунок 8. Проверка прочности спасательных петель
класса C динамической нагрузкой
Проверяют положение спасательной петли на тест-форме, а также проверяют спасательную петлю на наличие оторвавшихся элементов. Проверяют основные лямки и элементы крепления на наличие признаков разрушения или разрыва.
В течение 15 мин проводят второй сброс с использованием той же самой стропы. Разрешается новая подгонка спасательной петли на испытательной форме.
Снова проверяют положение спасательной петли на тест-форме, а также проверяют спасательную петлю на наличие оторвавшихся элементов. Проверяют основные лямки и элементы крепления на наличие признаков разрушения или разрыва.
Испытание повторяют для каждого элемента крепления. При этом каждый раз разрешается повторная подгонка спасательной петли на тест-форме или ее замена.
5.3. Проверка прочности статической нагрузкой
5.3.1. Испытательное оборудование
Испытательное оборудование для проверки статической прочности спасательных петель классов A и B должно соответствовать требованиям ЕН 364 (пункты 4.1, 4.2 и 4.3).
Испытательное оборудование для проверки статической прочности спасательных петель класса C должно соответствовать требованиям ЕН 364 (пункт 4.1) и
рисунку 4.
5.3.2. Методика проверки для спасательных петель классов A и B
Подгоняют спасательную петлю под размеры манекена корпуса в соответствии с информацией изготовителя. Устанавливают манекен корпуса и спасательную петлю в испытательный стенд и прикладывают силу, эквивалентную 10-кратной максимальной расчетной нагрузке с допуском +0,2 кН, но не менее

, между точкой подсоединения спасательной петли и нижним кольцом манекена корпуса (см. рисунки 9 и 10). Силу поддерживают в течение

.
1 - спасательная петля; 2 - манекен корпуса;
3 - нижнее кольцо манекена корпуса; 4 - элемент крепления
Рисунок 9. Проверка прочности спасательных петель
класса A статической нагрузкой
1 - спасательная петля; 2 - манекен корпуса;
3 - нижнее кольцо манекена корпуса; 4 - элемент крепления
Рисунок 10. Проверка прочности спасательных петель
класса B статической нагрузкой
При необходимости любую часть спасательной петли класса B, которая, возможно, мешает приложению силы к нижнему кольцу манекена корпуса, за исключением основных лямок, разрешается срезать на участке нижнего кольца.
Проверяют, нет ли отсоединения или разрывов любых элементов спасательной петли. Проверяют основные лямки и элементы присоединения на следы разрушения или разрыва.
Испытание повторяют для каждого элемента крепления. При этом каждый раз разрешается повторная подгонка спасательной петли на манекене корпуса или ее замена.
5.3.3. Методика проверки для спасательных петель класса C
Подгоняют спасательную петлю вокруг тест-формы, как показано на рисунке 11, и прикладывают силу, эквивалентную 10-кратной максимальной расчетной нагрузке с допуском +0,2 кН, но не менее

, в течение

.
Проверяют спасательную петлю на наличие оторвавшихся элементов. Проверяют основные лямки и элементы крепления на следы разрушения или разрыва.
Испытание повторяют для каждого элемента крепления. При этом каждый раз разрешается повторная подгонка спасательной петли на тест-форме или ее замена.
1 - спасательная петля; 2 - испытательная форма
Рисунок 11. Проверка прочности спасательных петель
класса C статической нагрузкой
5.4. Испытание на сопротивление коррозии
5.4.1. Испытательное оборудование
Аппаратура для проведения испытания спасательной петли на сопротивление коррозии должна быть способна обеспечивать методику испытания в нейтральном соляном тумане по ИСО 9227.
5.4.2. Методика испытания
5.4.2.1. Подвергают любые металлические части спасательной привязи воздействию нейтрального соляного тумана по ЕН ИСО 9227 на протяжении

и последующей сушки при температуре (20 +/- 2) °С в течение

и повторяют цикл еще один раз.
5.4.2.2. Исследуют образцы металлических частей и проверяют их на наличие признаков коррозии.
Примечание. Если спасательная петля в полной комплектации подвергается испытанию на коррозию, то, возможно, ее следует разобрать, чтобы получить доступ к осмотру некоторых металлических частей.
Маркировка на спасательной петле - согласно ЕН 365.
Кроме того, маркировка должна включать в себя:
- класс спасательной петли;
- максимальную расчетную нагрузку для спасательной петли.
7. Информация, предоставляемая изготовителем
Информация, предоставляемая изготовителем, должна быть согласно ЕН 365 и, кроме того, должна, по крайней мере, включать в себя:
a) рекомендации пользователю (спасателю или спасаемому), что следует прочитать и понять информацию изготовителя, прежде чем использовать спасательную петлю;
b) класс спасательной петли;
c) максимальную расчетную нагрузку для спасательной петли;
d) предупреждение о том, что спасательная петля предназначается только для целей спасения;
e) предупреждение о том, что спасателю следует удостовериться, что спасаемый человек не подвергается опасности из-за смещения лямок спасательной петли или контакта с элементами крепления, например, от удара соединительного элемента по голове спасаемого человека во время такого непреднамеренного инцидента, как короткое падение;
f) предупреждение об опасностях нанесения травм при приостановлении;
g) рекомендацию, касающуюся спасательных петель классов A и C: время удержания спасаемого в спасательной петле следует сократить до возможного минимума, чтобы уменьшить риск нарушения дыхания и кровообращения;
h) обозначение настоящего стандарта.
(справочное)
СВЕДЕНИЯ О СООТВЕТСТВИИ ССЫЛОЧНЫХ МЕЖДУНАРОДНЫХ
И ЕВРОПЕЙСКИХ РЕГИОНАЛЬНЫХ СТАНДАРТОВ ССЫЛОЧНЫМ
НАЦИОНАЛЬНЫМ СТАНДАРТАМ РОССИЙСКОЙ ФЕДЕРАЦИИ
Таблица ДА.1
┌───────────────────────┬────────────┬────────────────────────────────────┐
│Обозначение ссылочного │ Степень │ Обозначение и наименование │
│европейского региональ-│соответствия│ соответствующего национального │
│ного, международного │ │ стандарта │
│стандартов │ │ │
├───────────────────────┼────────────┼────────────────────────────────────┤
│ │ │тов безопасности труда. Средства │
│ │ │индивидуальной защиты от падения │
│ │ │с высоты. Соединительные элементы. │
│ │ │Общие технические требования. │
│ │ │Методы испытаний" │
├───────────────────────┼────────────┼────────────────────────────────────┤
│ │ │тов безопасности труда. Средства │
│ │ │индивидуальной защиты от падения │
│ │ │с высоты. Страховочные системы. │
│ │ │Общие технические требования" │
├───────────────────────┼────────────┼────────────────────────────────────┤
│ │ │тов безопасности труда. Средства │
│ │ │индивидуальной защиты от падения │
│ │ │с высоты. Методы испытаний" │
├───────────────────────┼────────────┼────────────────────────────────────┤
│ │ │тов безопасности труда. Средства │
│ │ │индивидуальной защиты от падения с │
│ │ │высоты. Основные требования к ин- │
│ │ │струкции по применению, техническому│
│ │ │обслуживанию, периодической провер- │
│ │ │ке, ремонту, маркировке и упаковке" │
├───────────────────────┼────────────┼────────────────────────────────────┤
│ЕН 892:1998 │ │ <*> │
├───────────────────────┼────────────┼────────────────────────────────────┤
│ИСО 9227 │ │ <*> │
├───────────────────────┴────────────┴────────────────────────────────────┤
│ <*> Соответствующий национальный стандарт отсутствует. До его│
│утверждения рекомендуется использовать перевод на русский язык данного│
│европейского регионального и международного стандартов. Перевод данного│
│европейского регионального и международного стандартов находится│
│в Федеральном информационном фонде технических регламентов и стандартов. │
│ │
│ Примечание. В настоящей таблице использованы следующие условные│
│обозначения степени соответствия стандартов: │
│ - MOD - модифицированные стандарты; │
│ - IDT - идентичные стандарты. │
└─────────────────────────────────────────────────────────────────────────┘