Главная // Актуальные документы // ГОСТ (Государственный стандарт)СПРАВКА
Источник публикации
М.: Стандартинформ, 2015
Примечание к документу
Текст данного документа приведен с учетом
поправки, опубликованной в "ИУС", N 7, 2019.
Документ
введен в действие с 1 декабря 2015 года.
Название документа
"ГОСТ EN 1498-2014. Межгосударственный стандарт. Система стандартов безопасности труда. Средства индивидуальной защиты от падения с высоты. Петли спасательные. Общие технические требования. Методы испытаний"
(введен в действие Приказом Росстандарта от 26.11.2014 N 1821-ст)
"ГОСТ EN 1498-2014. Межгосударственный стандарт. Система стандартов безопасности труда. Средства индивидуальной защиты от падения с высоты. Петли спасательные. Общие технические требования. Методы испытаний"
(введен в действие Приказом Росстандарта от 26.11.2014 N 1821-ст)
агентства по техническому
регулированию и метрологии
от 26 ноября 2014 г. N 1821-ст
МЕЖГОСУДАРСТВЕННЫЙ СТАНДАРТ
СИСТЕМА СТАНДАРТОВ БЕЗОПАСНОСТИ ТРУДА
СРЕДСТВА ИНДИВИДУАЛЬНОЙ ЗАЩИТЫ ОТ ПАДЕНИЯ С ВЫСОТЫ.
ПЕТЛИ СПАСАТЕЛЬНЫЕ
ОБЩИЕ ТЕХНИЧЕСКИЕ ТРЕБОВАНИЯ.
МЕТОДЫ ИСПЫТАНИЙ
Occupational safety standards system. Personal fall
protection equipment. Rescue loops. General technical
requirements. Test methods
(EN 1498:2006, IDT)
ГОСТ EN 1498-2014
Дата введения
1 декабря 2015 года
Цели, основные принципы и основной порядок проведения работ по межгосударственной стандартизации установлены
ГОСТ 1.0-92 "Межгосударственная система стандартизации. Основные положения" и
ГОСТ 1.2-2009 "Межгосударственная система стандартизации. Стандарты межгосударственные, правила и рекомендации по межгосударственной стандартизации. Правила разработки, принятия, применения, обновления и отмены".
1. Подготовлен Открытым акционерным обществом "Всероссийский научно-исследовательский институт сертификации (ОАО "ВНИИС").
2. Внесен Федеральным агентством по техническому регулированию и метрологии Российской Федерации.
3. Принят Межгосударственным советом по стандартизации, метрологи и сертификации (Протокол от 14 ноября 2014 г. N 72-П).
За принятие проголосовали:
Краткое наименование страны по МК (ИСО 3166) 004-97 | Код страны по МК (ИСО 3166) 004-97 | Сокращенное наименование национального органа по стандартизации |
Армения | AM | Минэкономики Республики Армения |
Казахстан | KZ | Госстандарт Республики Казахстан |
Киргизия | KG | Кыргызстандарт |
Россия | RU | Росстандарт |
Украина | UA | Минэкономразвития Украины |
4.
Приказом Федерального агентства по техническому регулированию и метрологии от 26 ноября 2014 г. N 1821-ст межгосударственный стандарт ГОСТ EN 1498-2014 в качестве национального стандарта Российской Федерации с 1 декабря 2015 г.
5. Настоящий стандарт идентичен европейскому региональному стандарту EN 1498:2006 "Personal fall protection equipment - Rescue loops" (Средства индивидуальной защиты от падения с высоты. Петли спасательные).
При применении настоящего стандарта рекомендуется использовать вместо ссылочных международных и европейских региональных стандартов соответствующие им национальные стандарты Российской Федерации, сведения о которых приведены в дополнительном
Приложении ДА.
Степень соответствия - идентичная (IDT).
6. Введен впервые.
Информация об изменениях к настоящему стандарту публикуется в ежегодном информационном указателе "Национальные стандарты", а текст изменений и поправок - в ежемесячном информационном указателе "Национальные стандарты". В случае пересмотра (замены) или отмены настоящего стандарта соответствующее уведомление будет опубликовано в ежемесячном информационном указателе "Национальные стандарты". Соответствующая информация, уведомление и тексты размещаются также в информационной системе общего пользования - на официальном сайте Федерального агентства по техническому регулированию и метрологии в сети Интернет.
Настоящий стандарт устанавливает общие технические требования для спасательных петель, методы испытаний, маркировку и информацию, поставляемую изготовителем. Спасательные петли используют в качестве компонентов в спасательных системах.
В настоящем стандарте использованы нормативные ссылки на следующие стандарты:
EN 362, Personal protective equipment against falls from a height - Connectors (Средства индивидуальной защиты от падения с высоты. Соединительные элементы)
EN 363, Personal protective equipment against falls from a height - Fall arrest systems (Средства индивидуальной защиты от падения с высоты. Системы остановки падения с высоты)
EN 364, Personal protective equipment against falls from a height (Средства индивидуальной защиты от падения с высоты)
EN 365, Personal protective equipment against falls from a height - General requirements for instructions for use, maintenance, periodic examination, repair, marking and packaging (Средства индивидуальной защиты от падения с высоты. Общие требования для инструкций по использованию, сохранению в рабочем состоянии, периодическому осмотру, ремонту, маркировке и упаковке)
EN 892, Mountaineering equipment - Dynamic mountaineering ropes - Safety requirements and test methods (Альпинистское снаряжение. Динамические альпинистские канаты. Требования техники безопасности и методы испытаний)
ISO 9227, Corrosion tests in artificial atmospheres - Salt spray tests (Испытания на коррозию в искусственных атмосферах. Испытания в солевом тумане).
В настоящем стандарте применены следующие термины с соответствующими определениями:
3.1. Спасательная петля (rescue loop): устройство, удерживающее тело человека, сконструированное в качестве компонента спасательной системы, состоящее из таких элементов, которые во время спасательного процесса удерживают и поддерживают спасаемого человека в определенной позиции.
3.2. Спасательная петля класса A (rescue loop class A): спасательная петля, сконструированная таким образом, что во время спасательного процесса спасаемый человек удерживается лямками спасательной петли, проходящими у шеи и под мышками.
Примечание. См. рисунок 1.
1 - спасательная петля; 2 - манекен корпуса человека;
3 - основная лямка; 4 - элемент подгонки;
5 - элемент крепления
Рисунок 1. Пример спасательной петли класса A
3.3. Спасательная петля класса B (rescue loop class B): спасательная петля, сконструированная таким образом, что во время спасательного процесса спасаемый человек удерживается в позиции сидения лямками спасательной петли.
Примечание. См. рисунок 2.
1 - спасательная петля; 2 - манекен корпуса человека;
3 - центральная лямка (вспомогательная лямка);
4 - элемент крепления
Рисунок 2. Пример спасательной петли класса B
3.4. Спасательная петля класса C (rescue loop class C): спасательная петля, сконструированная таким образом, что во время спасательного процесса спасаемый человек удерживается в позиции вниз головой лямками спасательной петли, расположенными вокруг лодыжек.
Примечание. См. рисунок 3.
1 - спасательная петля; 2 - основная лямка;
3 - элемент крепления
Рисунок 3. Пример спасательной петли класса C
в положении для спасания
3.5. Основные лямки (для спасательных привязей) [primary straps (for rescue harnesses)]: лямки, предназначенные изготовителем для того, чтобы поддерживать или оказывать давление на тело человека во время спасания.
Примечание. Другие лямки называются вспомогательными.
3.6. Место подсоединения (attachment point): специальная точка, в которой имеются один и более элементов крепления для присоединения других компонентов.
3.7. Спасательная система (rescue system): система индивидуальной защиты от падения, с помощью которой человек может спасать самого себя или других людей таким образом, чтобы предотвратить падение.
3.8. Система индивидуальной защиты от падения (personal fall protection system): сборка компонентов для предохранения от падения с высоты во время работы, которая обязательно включает в себя устройство, удерживающее тело, подсоединенное к надежной анкерной точке.
Примечание. За исключением устройств для профессиональной и частной спортивной деятельности.
3.9. Максимальная номинальная нагрузка (спасательной петли) [maximum rated load (of rescue loop)]: максимальная допустимая масса пользователя, включающая массу инструментов и оборудования, указанная изготовителем для спасательной петли.
Примечание. Максимальную номинальную нагрузку выражают в килограммах.
4.1. Эргономика
Ширина основных лямок должна быть не менее 40 мм.
4.2. Материалы и конструкция
4.2.1. Общие положения
Материалы, которые могут соприкасаться с кожей пользователя, не должны вызывать раздражение или возбуждение при нормальном использовании спасательной петли.
4.2.2. Тканая лента и пряжа
Тканая лента и нити должны быть изготовлены из комплексных нитей или множества синтетических волокон, пригодных для использования по назначению. Прочность на разрыв синтетического волокна должна быть известна и составлять не менее 0,6 Н/текс.
Нитки, применяемые для сшивания, должны быть физически совместимы с лентой, а их качество должно быть сравнимо с качеством определенной ленты. Однако лента и нитки должны быть контрастными по оттенку для облегчения визуального осмотра.
4.2.3. Конструкция
При проверке по
5.1 спасательная петля не должна иметь острых кромок и заусенцев, которые могут нанести повреждение пользователю.
Спасательная петля должна быть сконструирована таким образом, чтобы при испытании по
5.2.3.1 предотвращалось случайное освобождение спасаемого человека от спасательной петли.
Должна быть возможность визуального осмотра каждого элемента или компонента спасательной петли.
4.2.4. Подсоединение
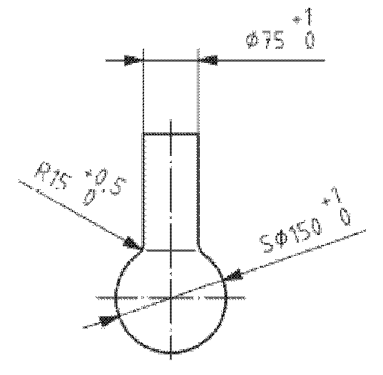
Спасательная петля должна иметь не менее одной точки подсоединения.
Ушко каждого элемента крепления должно быть диаметром 25 мм.
4.2.5. Соединительные элементы
Соединительные элементы - согласно EN 362.
4.3. Динамическая прочность
Испытание проводят по
5.2 на манекене корпуса человека для спасательных петель классов A и B и с испытательной массой для спасательных петель класса C, эквивалентной максимальной номинальной нагрузке, но не менее 100 кг. Манекен корпуса или испытательная масса должны быть удержаны без разрушения или разрыва основной лямки или элемента крепления спасательной петли. Ни один из элементов спасательной петли не должен быть отсоединен.
Если спасательная петля имеет несколько точек подсоединения, то испытание проводят на каждом элементе крепления.
4.4. Статическая прочность
При испытаниях по
5.3 с приложением силы, эквивалентной 10-кратной максимальной номинальной нагрузке, но не менее 15 кН, в течение 3 мин основные лямки и элемент крепления спасательной петли не должны разрушаться или разрываться. Ни один из элементов спасательной петли не должен быть отсоединен.
Если спасательная петля имеет более чем одну точку подсоединения, то испытание проводят на каждом элементе крепления.
4.5. Сопротивление коррозии
Металлические части спасательной петли испытывают по
5.4. После испытания они не должны иметь признаков коррозии, которые могли бы нарушить их функционирование (белый налет или потускнение металла являются допустимыми, если они не ухудшают функционирование металлических частей).
Примечание. Соответствие этому требованию не означает возможность для использования спасательной петли в морской среде.
4.6. Маркировка и информация
Маркировка спасательной петли - согласно
разделу 6.
Информация, предоставляемая со спасательной петлей, должна соответствовать требованиям
раздела 7.
5.1. Исследование конструкции
Проверяют ширину каждой основной лямки путем измерения стальной линейкой.
Подтверждают путем сравнения с документацией, а также визуальным и/или тактильным исследованием спасательной петли, что она соответствует требованиям
4.2. Проверяют отверстие ушка каждого элемента для крепления, пропуская через него пруток диаметром 25
+1 мм.
5.2. Проверка прочности динамической нагрузкой
5.2.1. Испытательное оборудование
Испытательное оборудование для динамического испытания спасательных петель классов A и B должно соответствовать требованиям EN 364 (подразделы 4.2, 4.4 и 4.6).
Испытательное оборудование для испытания спасательной петли класса C должно соответствовать требованиям ЕН 364 (подразделы 4.4 и 4.6) и рисунку 4. Это должна быть жесткая структура с твердой и гладкой поверхностью.
Рисунок 4. Тест-форма для проверки динамической
прочности спасательной петли класса C
5.2.2. Испытательная стропа
Испытательная стропа должна быть новым (еще не использованным) динамическим альпинистским канатом, соответствующим требованиям EN 892 для одинарного каната, должна иметь номинальный диаметр 11 мм и выдерживать известную ударную нагрузку (9 +/- 1,5) кН при первом испытании на ударную нагрузку по настоящему стандарту.
Концы каната заделывают петлями, связав узлы булинь (см. рисунок 5), и обеспечивают длину петли и узла не более 200 мм.
Рисунок 5. Узел булинь
Регулируют длину таким образом, чтобы при нагрузке 100+1 кг длина испытательной стропы, включая петли заделки обоих концов, составляла 2000+100 мм (см. рисунок 6).
F - масса 100+1 кг или эквивалентная сила; 1 - узел булинь;
2 - петля заделки конца; 3 - точка/ушко для подсоединения
Рисунок 6. Испытательная стропа для проверки
прочности динамической нагрузкой
5.2.3. Методика проверки
5.2.3.1. Методика проверки для спасательных петель классов A и B
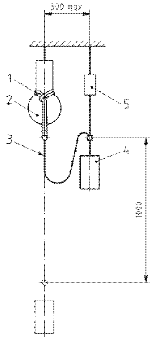
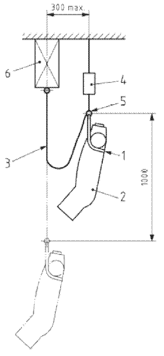
Подгоняют спасательную петлю под размеры манекена корпуса в соответствии с указаниями изготовителя. Подсоединяют одну петлю испытуемой стропы к точке подсоединения спасательной петли, а вторую - к испытательному оборудованию.
Подвешивают манекен корпуса посредством спасательной петли, затем поднимают манекен на 1000
+50 мм с удалением от осевой линии оборудования не более 300 мм (см.
рисунок 7). Удерживают его с помощью устройства быстрого расцепления.
a) Класс A
b) Класс B
1 - спасательная петля; 2 - манекен корпуса человека;
3 - испытательная стропа; 4 - устройство быстрого
расцепления; 5 - элемент крепления;
6 - испытательное оборудование
Рисунок 7. Проверка прочности спасательных петель
классов A и B динамической нагрузкой
С помощью устройства быстрого расцепления отпускают манекен со спасательной петлей в свободное падение без начальной скорости.
Проверяют положение манекена корпуса в спасательной петле, а также проверяют спасательную петлю на наличие оторвавшихся элементов. Проверяют основные лямки и элементы крепления на наличие признаков разрушения или разрыва.
В течение 15 мин проводят второй сброс с использованием той же самой стропы. Разрешена новая подгонка спасательной петли на манекене корпуса.
Проверяют положение манекена корпуса в спасательной петле, а также проверяют спасательную петлю на наличие оторвавшихся элементов. Проверяют основные лямки и элементы крепления на наличие признаков разрушения или разрыва.
Повторяют это испытание для каждой точки крепления. При этом каждый раз разрешена повторная подгонка спасательной петли на манекене корпуса или ее замена.
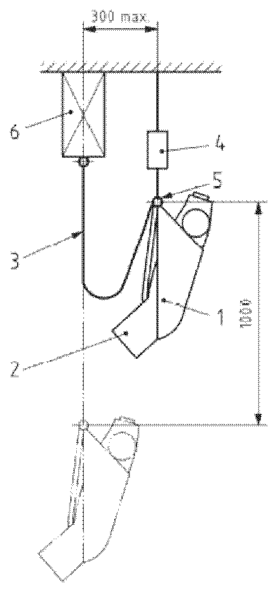
5.2.3.2. Методика проверки для спасательных петель класса C
Проверку проводят по
5.2.3.1, но вместо манекена корпуса используют испытательную массу в соответствии с требованиями EN 364 (подраздел 4.5). Схема расположения для этой проверки - см. на
рисунок 8.
1 - спасательная петля; 2 - тест-форма;
3 - испытательная стропа; 4 - испытательная масса;
5 - устройство быстрого расцепления
Рисунок 8. Проверка прочности спасательных петель
класса C динамической нагрузкой
Проверяют положение спасательной петли на тест-форме, а также проверяют спасательную петлю на наличие оторвавшихся элементов. Проверяют основные лямки и элементы крепления на наличие признаков разрушения или разрыва.
В течение 15 мин проводят второй сброс с использованием той же самой стропы. Разрешается новая подгонка спасательной петли на испытательной форме.
Снова проверяют положение спасательной петли на тест-форме, а также проверяют спасательную петлю на наличие оторвавшихся элементов. Проверяют основные лямки и элементы крепления на наличие признаков разрушения или разрыва.
Испытание повторяют для каждого элемента крепления. При этом каждый раз разрешена повторная подгонка спасательной петли на тест-форме или ее замена.
5.3. Проверка прочности статической нагрузкой
5.3.1. Испытательное оборудование
Испытательное оборудование для проверки статической прочности спасательных петель классов A и B должно соответствовать требованиям EN 364 (подразделы 4.1, 4.2 и 4.3).
Испытательное оборудование для проверки статической прочности спасательных петель класса C должно соответствовать требованиям EN 364 (подраздел 4.1) и
рисунку 4.
5.3.2. Методика проверки для спасательных петель классов A и B
Подгоняют спасательную петлю под размеры манекена корпуса в соответствии с информацией изготовителя. Устанавливают манекен корпуса и спасательную петлю в испытательный стенд и прикладывают силу, эквивалентную 10-кратной максимальной номинальной нагрузке с допуском +0,2 кН, но не менее 15
+0,2 кН, между точкой подсоединения спасательной петли и нижним кольцом манекена корпуса (см. рисунки 9 и
10). Силу поддерживают в течение

.
1 - спасательная петля; 2 - манекен корпуса; 3 - нижнее
кольцо манекена корпуса; 4 - элемент крепления
Рисунок 9. Проверка прочности спасательных петель
класса A статической нагрузкой
1 - спасательная петля; 2 - манекен корпуса; 3 - нижнее
кольцо манекена корпуса; 4 - элемент крепления
Рисунок 10. Проверка прочности спасательных петель
класса B статической нагрузкой
При необходимости любую часть спасательной петли класса B, которая, возможно, мешает приложению силы к нижнему кольцу манекена корпуса, за исключением основных лямок, разрешено срезать на участке нижнего кольца.
Проверяют, нет ли отсоединения или разрывов любых элементов спасательной петли. Проверяют основные лямки и элементы присоединения на следы разрушения или разрыва.
Испытание повторяют для каждого элемента крепления. При этом каждый раз разрешена повторная подгонка спасательной петли на манекене корпуса или ее замена.
5.3.3. Методика проверки для спасательных петель класса C
Подгоняют спасательную петлю вокруг тест-формы, как показано на
рисунке 11, и прикладывают силу, эквивалентную 10-кратной максимальной номинальной нагрузке с допуском +0,2 кН, но не менее 15
+0,2 кН, в течение 3
+0,25 мин.
1 - спасательная петля; 2 - испытательная форма
Рисунок 11. Проверка прочности спасательных петель
класса C статической нагрузкой
Проверяют спасательную петлю на наличие оторвавшихся элементов. Проверяют основные лямки и элементы крепления на следы разрушения или разрыва.
Испытание повторяют для каждого элемента крепления. При этом каждый раз разрешена повторная подгонка спасательной петли на тест-форме или ее замена.
5.4. Испытание на сопротивление коррозии
5.4.1. Испытательное оборудование
Аппаратура для проведения испытания спасательной петли на сопротивление коррозии должна быть способна обеспечивать методику испытания в нейтральном соляном тумане по ИСО 9227.
5.4.2. Методика испытания
5.4.2.1. Подвергают любые металлические части спасательной привязи воздействию нейтрального соляного тумана по EN ISO 9227 на протяжении 24+0,5 ч и последующей сушке при температуре (20 +/- 2) °C в течение 60+5 мин и повторяют цикл еще один раз.
5.4.2.2. Исследуют образцы металлических частей и проверяют их на наличие признаков коррозии.
Примечание. Если спасательную петлю подвергают испытанию на коррозию в полной комплектации, то ее следует разобрать, чтобы получить доступ к осмотру некоторых металлических частей.
Маркировка на спасательной петле - согласно EN 365.
Кроме того, маркировка должна включать в себя:
- класс спасательной петли;
- максимальную номинальную нагрузку для спасательной петли.
7. Информация, предоставляемая изготовителем
Информация, предоставляемая изготовителем, должна соответствовать требованиям EN 365 и, кроме того, должна по крайней мере включать в себя:
a) рекомендации пользователю (спасателю или спасаемому), что следует прочитать и понять информацию изготовителя, прежде чем использовать спасательную петлю;
b) класс спасательной петли;
c) максимальную номинальную нагрузку для спасательной петли;
d) предупреждение о том, что спасательная петля предназначается только для целей спасания;
e) предупреждение о том, что спасателю следует удостовериться, что спасаемый человек не подвергается опасности из-за смещения лямок спасательной петли или контакта с элементами крепления, например от удара соединительного элемента по голове спасаемого человека во время такого непреднамеренного инцидента, как короткое падение;
f) предупреждение об опасностях нанесения травм при приостановлении;
g) рекомендацию, касающуюся спасательных петель классов A и C: время удержания спасаемого в спасательной петле следует сократить до возможного минимума, чтобы уменьшить риск нарушения дыхания и кровообращения;
h) обозначение настоящего стандарта.
(справочное)
СВЕДЕНИЯ О СООТВЕТСТВИИ ССЫЛОЧНЫХ МЕЖДУНАРОДНЫХ
И ЕВРОПЕЙСКИХ РЕГИОНАЛЬНЫХ СТАНДАРТОВ
МЕЖГОСУДАРСТВЕННЫМ СТАНДАРТАМ
Обозначение ссылочного европейского регионального стандарта | Степень соответствия | Обозначение и наименование межгосударственного стандарта |
ЕН 362 | IDT | ГОСТ EN 362-2011 "Система стандартов безопасности труда. Средства индивидуальной защиты от падения с высоты. Соединительные элементы. Общие технические требования. Методы испытаний" |
ЕН 363 | IDT | ГОСТ EN 363-2011 "Система стандартов безопасности труда. Средства индивидуальной защиты от падения с высоты. Страховочные системы. Общие технические требования" |
EN 364 | - | |
ЕН 365 | - | <*> |
ЕН 892 | | <*> |
ИСО 9227 | | <*> |
<*> Соответствующий межгосударственный стандарт отсутствует. До его утверждения рекомендуется использовать перевод на русский язык данного европейского регионального стандарта или соответствующий национальный стандарт. Примечание. В настоящей таблице использовано следующее условное обозначение степени соответствия стандартов: - IDT - идентичный стандарт. |