Главная // Актуальные документы // ГОСТ Р (Государственный стандарт)СПРАВКА
Источник публикации
М.: Стандартинформ, 2020
Примечание к документу
Документ утратил силу с 01.06.2021 в связи с изданием
Приказа Росстандарта от 16.10.2020 N 867-ст. Взамен введен в действие
ГОСТ 5976-2020.
Документ
введен в действие с 01.09.2020.
Название документа
"ГОСТ Р 58641-2019. Национальный стандарт Российской Федерации. Вентиляторы радиальные общего назначения. Общие технические условия"
(утв. и введен в действие Приказом Росстандарта от 29.11.2019 N 1292-ст)
"ГОСТ Р 58641-2019. Национальный стандарт Российской Федерации. Вентиляторы радиальные общего назначения. Общие технические условия"
(утв. и введен в действие Приказом Росстандарта от 29.11.2019 N 1292-ст)
Утвержден и введен в действие
агентства по техническому
регулированию и метрологии
от 29 ноября 2019 г. N 1292-ст
НАЦИОНАЛЬНЫЙ СТАНДАРТ РОССИЙСКОЙ ФЕДЕРАЦИИ
ВЕНТИЛЯТОРЫ РАДИАЛЬНЫЕ ОБЩЕГО НАЗНАЧЕНИЯ
ОБЩИЕ ТЕХНИЧЕСКИЕ УСЛОВИЯ
General-purpose radial fans. General specifications
ГОСТ Р 58641-2019
Дата введения
1 сентября 2020 года
1 РАЗРАБОТАН Федеральным государственным унитарным предприятием "Российский научно-технический центр информации по стандартизации, метрологии и оценке соответствия" (ФГУП "СТАНДАРТИНФОРМ")
2 ВНЕСЕН Техническим комитетом по стандартизации ТК 061 "Вентиляция и кондиционирование"
3 УТВЕРЖДЕН И ВВЕДЕН В ДЕЙСТВИЕ
Приказом Федерального агентства по техническому регулированию и метрологии от 29 ноября 2019 г. N 1292-ст
4 ВВЕДЕН ВПЕРВЫЕ
Правила применения настоящего стандарта установлены в статье 26 Федерального закона от 29 июня 2015 г. N 162-ФЗ "О стандартизации в Российской Федерации". Информация об изменениях к настоящему стандарту публикуется в ежегодном (по состоянию на 1 января текущего года) информационном указателе "Национальные стандарты", а официальный текст изменений и поправок -
в ежемесячном информационном указателе "Национальные стандарты". В случае пересмотра (замены) или отмены настоящего стандарта соответствующее уведомление будет опубликовано в ближайшем выпуске ежемесячного информационного указателя "Национальные стандарты". Соответствующая информация, уведомление и тексты размещаются также в информационной системе общего пользования -
на официальном сайте Федерального агентства по техническому регулированию и метрологии в сети Интернет (www.gost.ru)
Радиальные вентиляторы принадлежат к классу воздуходувных машин и применяются практически во всех областях техники для создания движения различных газообразных смесей. Особенно широко вентиляторы используют в системах вентиляции, кондиционирования и отопления жилых общественных и производственных зданий, потребляя значительную долю вырабатываемой в стране электроэнергии. Проектирование таких систем с применением энергосберегающих технологий является важнейшей проблемой сегодняшнего дня.
Основу настоящего стандарта составляет
ГОСТ 5976, в котором рассмотрены требования к аэродинамическим, акустическим и конструктивным параметрам радиальных вентиляторов общего назначения, введены правила приемки и методы контроля основных характеристик вентиляторов, а также требования к транспортированию и хранению изготовленной продукции. Кроме того, даны указания по эксплуатации вентиляторов.
В настоящем стандарте расширена область применения радиальных вентиляторов по величине создаваемого полного давления и по использованию для перемещения различных газообразных сред, рассмотрены новые широко используемые в настоящее время компоновки вентиляторов, такие как вентиляторы без традиционного спирального корпуса, а также вентиляторы с цилиндрическим, квадратным и прямоугольным корпусом.
В настоящем стандарте рассмотрены различные типы аэродинамических стендов для проведения аэродинамических испытаний, а также определены современные параметры, характеризующие энергоэффективность вентиляторов: показатель и классы энергоэффективности, позволяющие сравнивать различные вентиляторы между собой и устанавливать качество изготавливаемой продукции.
Настоящий стандарт распространяется на радиальные вентиляторы общего назначения для обычных сред, одноступенчатые со спиральным, или цилиндрическим, или прямоугольным корпусом, а также без корпуса, односторонние и двусторонние, с рабочими колесами диаметром от 200 до 3150 мм, создающие полное давление не выше 30 000 Па (со степенью сжатия до 1,3) при плотности перемещаемой газообразной среды на входе 1,2 кг/м3 и предназначенные для перемещения неагрессивного воздуха с температурой от минус 50 °C до плюс 80 °C, не содержащего липких веществ, волокнистых материалов, пыли и других твердых примесей более 100 мг/м3 для вентиляторов с расположением привода вне корпуса вентилятора.
Примечания
1 Для вентиляторов, у которых двигатель расположен в корпусе или в рабочем колесе, температура перемещаемой среды не должна превышать 40 °C и содержание пыли и других твердых примесей должно быть не более 10 мг/м3.
2 Для вентиляторов двустороннего всасывания с расположением ременной передачи в перемещаемой среде температура газовоздушной среды не должна превышать 60 °C и содержание пыли и других твердых примесей должно быть не более 10 мг/м3.
Настоящий стандарт распространяется и устанавливает общие типовые требования также на вентиляторы специального назначения (теплостойкие, взрывозащищенные, коррозионно-стойкие и др.), предназначенные для работы в особых рабочих условиях. Однако в технической документации на специальные вентиляторы должны быть дополнительно приведены специальные требования к перемещаемой среде и к конструкции вентиляторов, обеспечивающие их надежную и безопасную работу при эксплуатации в реальных условиях.
Вентиляторы общего и специального назначения применяют в системах кондиционирования воздуха, вентиляции и для различных производственных целей. Настоящий стандарт устанавливает требования к аэродинамическим, акустическим параметрам, к различным вариантам конструкции вентиляторов, к комплектности, маркировке, упаковке и транспортированию вентиляторов.
В настоящем стандарте использованы нормативные ссылки на следующие межгосударственные стандарты:
ГОСТ 2.601 Единая система конструкторской документации. Эксплуатационные документы
ГОСТ 9.014 Единая система защиты от коррозии и старения. Временная противокоррозионная защита изделий. Общие требования
ГОСТ 9.032 Единая система защиты от коррозии и старения. Покрытия лакокрасочные. Группы, технические требования и обозначения
ГОСТ 9.402 Единая система защиты от коррозии и старения. Покрытия лакокрасочные. Подготовка металлических поверхностей к окрашиванию
ГОСТ 12.1.003 Система стандартов безопасности труда. Шум. Общие требования безопасности
ГОСТ 12.1.012 Система стандартов безопасности труда. Вибрационная безопасность. Общие требования
| | ИС МЕГАНОРМ: примечание. В официальном тексте документа, видимо, допущена опечатка: стандарт "Система стандартов безопасности труда. Изделия электротехнические. Общие требования безопасности" имеет номер ГОСТ 12.2.007.0, а не ГОСТ 12.2.007. | |
ГОСТ 12.2.007 Система стандартов безопасности труда. Изделия электротехнические. Общие требования безопасности
ГОСТ 12.3.019 Система стандартов безопасности труда. Испытания и измерения электрические. Общие требования безопасности
ГОСТ 12.4.026 Система стандартов безопасности труда. Цвета сигнальные, знаки безопасности и разметка сигнальная. Назначение и правила применения. Общие технические требования и характеристики. Методы испытаний
ГОСТ 2991 Ящики дощатые неразборные для грузов массой до 500 кг. Общие технические условия
ГОСТ 10198 Ящики деревянные для грузов массой св. 200 до 20000 кг. Общие технические условия
ГОСТ 10616 Вентиляторы радиальные и осевые. Размеры и параметры
ГОСТ 10921 Вентиляторы радиальные и осевые. Методы аэродинамических испытаний
ГОСТ 12971 Таблички прямоугольные для машин и приборов. Размеры
ГОСТ 15150 Машины, приборы и другие технические изделия. Исполнения для различных климатических районов. Категории, условия эксплуатации, хранения и транспортирования в части воздействия климатических факторов внешней среды
ГОСТ 15846 Продукция, отправляемая в районы Крайнего Севера и приравненные к ним местности. Упаковка, маркировка, транспортирование и хранение
ГОСТ 25346-2013 (ISO 286-1:2010) Основные нормы взаимозаменяемости. Характеристики изделий геометрические. Система допусков на линейные размеры. Основные положения, допуски, отклонения и посадки
ГОСТ 30893.1 (ИСО 2768-1-89) Основные нормы взаимозаменяемости. Общие допуски. Предельные отклонения линейных и угловых размеров с неуказанными допусками
ГОСТ 31350 (ИСО 14694:2003) Вибрация. Вентиляторы промышленные. Требования к производимой вибрации и качеству балансировки
ГОСТ 31351 (ИСО 14695:2003) Вибрация. Вентиляторы промышленные. Измерения вибрации
ГОСТ 31353.3 (ИСО 13347-3:2004) Шум машин. Вентиляторы промышленные. Определение уровней звуковой мощности в лабораторных условиях. Часть 3. Метод охватывающей поверхности
ГОСТ 31961 Вентиляторы промышленные. Показатели энергоэффективности
ГОСТ 33660 (ISO 12759:2010) Вентиляторы. Классификация по эффективности
ГОСТ 34002 (ISO 13349:2010) Вентиляторы. Термины и классификация
ГОСТ ISO 1940-1 Машины и технологическое оборудование. Системы классов точности балансировки. Основные положения
Примечание - При пользовании настоящим стандартом необходимо проверить действие ссылочных стандартов в информационной системе общего пользования - на официальном сайте Федерального агентства по техническому регулированию и метрологии в сети Интернет или по ежегодному информационному указателю "Национальные стандарты", который опубликован по состоянию на 1 января текущего года, и по выпускам ежемесячного информационного указателя "Национальные стандарты" за текущий год. Если заменен ссылочный стандарт, на который дана недатированная ссылка, то рекомендуется использовать действующую версию этого стандарта с учетом всех внесенных в данную версию изменений. Если заменен ссылочный стандарт, на который дана датированная ссылка, то рекомендуется использовать версию этого стандарта с указанным выше годом утверждения (принятия). Если после утверждения настоящего стандарта в ссылочный стандарт, на который дана датированная ссылка, внесено изменение, затрагивающее положение, на которое дана ссылка, то это положение рекомендуется применять без учета данного изменения. Если ссылочный стандарт отменен без замены, то положение, в котором дана ссылка на него, применяется в части, не затрагивающей эту ссылку.
В настоящем стандарте применены следующие термины с соответствующими определениями:
3.1 Геометрические параметры
3.1.1
вентилятор: Вращающаяся лопаточная машина, передающая механическую энергию газу в одном или нескольких рабочих колесах, и обеспечивающая таким образом непрерывное течение газа при его относительной максимальной степени сжатия не более 1,3. Примечания 1 Термин "вентилятор" означает, что вентилятор поставляется без каких-либо дополнительных устройств на входе или выходе, если они не указаны в технических описаниях. 2 Наименования вентиляторов определяют в соответствии с их компоновкой в воздуховодах, в зависимости от их функций, от направления потока в рабочем колесе и условий их работы в сети. 3 Степень сжатия перемещаемого газа равна отношению полного давления торможения на выходе из вентилятора к полному давлению торможения на входе в вентилятор. 4 Если работа на единицу массы превышает 25 кДж/кг, машину называют турбокомпрессором. Это означает, что при средней плотности торможения в вентиляторе, равной 1,2 кг/м3, давление, создаваемое вентилятором, не превышает 25 кДж/кг, что соответствует 30 кПа, а степень сжатия не превышает 1,3 при атмосферном давлении около 100 кПа. |
3.1.2
радиальный вентилятор: Вентилятор со спиральным корпусом, у которого направление меридиональной скорости потока на входе в рабочее колесо параллельно, а на выходе из рабочего колеса перпендикулярно оси его вращения. |
3.1.3
вентилятор с открытым валом: Вентилятор без привода, имеющий свободный конец вала. |
3.1.4
вентилятор с приводом: Вентилятор, имеющий в качестве привода или непосредственно присоединенный двигатель, или двигатель с ременной передачей, или двигатель с преобразователем частоты, или с каким-либо другим элементом. |
3.1.5
рабочее колесо вентилятора: Вращающая часть вентилятора, в которой механическая энергия передается воздуху посредством динамического действия лопаток. |
3.1.6 диаметр рабочего колеса D: Максимальный диаметр, измеренный по внешним кромкам лопаток рабочего колеса.
Примечания
1 Предпочтительные значения диаметров рабочего колеса приведены в
ГОСТ 10616.
2 Диаметр рабочего колеса определяет размер вентилятора. Размеры всех других элементов вентилятора, которые определяют в долях от диаметра колеса, являются безразмерными геометрическими параметрами.
3.1.7
номер вентилятора: Диаметр рабочего колеса по внешним концам лопаток, выраженный в дециметрах. |
3.1.8 лопатки рабочего колеса, загнутые вперед: Лопатки рабочего колеса, выходной участок которых загнут по направлению вращения рабочего колеса.
3.1.9 лопатки рабочего колеса, загнутые назад: Лопатки рабочего колеса, выходной участок которых загнут против направления вращения рабочего колеса.
3.1.10
| | ИС МЕГАНОРМ: примечание. В официальном тексте документа, видимо, допущена опечатка: имеется в виду пункт 3.8.1 ГОСТ 34002-2016, а не ГОСТ 10616-2015. | |
входное отверстие вентилятора: Отверстие обычно круглой формы, через которое воздух поступает во входной коллектор вентилятора. Примечания 1 Если вентилятор имеет на входе соединительный фланец или конец воздуховода, то размеры входного отверстия вентилятора определяют внутри такого соединения. Площадь входного сечения - это общая площадь, измеренная внутри фланца, т.е. без учета загромождения мотором, опорами подшипников и др. 2 Если площадь входного сечения точно не определена, то производитель и покупатель решают вопрос совместно. |
3.1.11
| | ИС МЕГАНОРМ: примечание. В официальном тексте документа, видимо, допущена опечатка: имеется в виду пункт 3.8.2 ГОСТ 34002-2016, а не ГОСТ 10616-2015. | |
выходное отверстие вентилятора: Отверстие обычно круглой или прямоугольной формы, через которое воздух выходит из корпуса вентилятора. |
Примечания
1 Если вентилятор имеет на выходе соединительный фланец или конец воздуховода, то размеры выходного отверстия вентилятора определяют внутри такого соединения.
2 Если вентилятор поставляется с диффузором, без которого он не может эксплуатироваться, то площадь выходного сечения измеряется так же, как и площадь выходного сечения диффузора.
3 Для вентилятора без корпуса площадь выходного сечения рабочего колеса определяют как произведение длины окружности диаметром D и ширины лопаток рабочего колеса в выходном сечении.
3.1.12 фланцы: Детали для присоединения входного и выходного отверстия вентилятора к воздуховоду.
Примечание - Размеры фланцев приведены в
ГОСТ 10616.
3.1.13 аэродинамическая схема: Схема всех элементов проточной части вентилятора с размерами, выраженными в процентах от диаметра колеса, содержащая все исходные данные для разработки конструкций серии геометрически подобных вентиляторов.
Примечание - Размеры вентиляторов приведены в
ГОСТ 10616.
3.1.14 геометрически подобные вентиляторы: Радиальные вентиляторы с одинаковыми безразмерными геометрическими параметрами всех элементов проточной части, выполненные по одной аэродинамической схеме и составляющие серию вентиляторов различных размеров.
3.2.1
односторонний радиальный вентилятор: Вентилятор одностороннего всасывания, имеющий один входной коллектор, одно рабочее колесо, установленное в спиральном корпусе с горизонтальной осью вращения и приводом [см.
рисунок 1 а)].
3.2.2
двусторонний радиальный вентилятор: Вентилятор двустороннего всасывания, имеющий два входных коллектора и два зеркальных рабочих колеса с общим центральным диском, установленных в общем спиральном корпусе с одним выходом, с горизонтальной осью вращения и общим приводом [см.
рисунок 1 б)].
3.2.3
радиальный вентилятор стандартной компоновки: Радиальный вентилятор, имеющий выходной коллектор, радиальное рабочее колесо с любым возможным типом лопаток, установленное в спиральном корпусе [см.
рисунки 1 а),
2].
Примечание - Радиальный вентилятор нестандартной компоновки вместо спирального корпуса может иметь корпус круглой, квадратной, прямоугольной или другой формы.
а) односторонний радиальный; б) двухсторонний вентилятор;
в) прямоточный вентилятор; г) вентилятор - свободное колесо;
д) вентилятор в вентиляторном блоке
Рисунок 1 - Радиальные вентиляторы различной конструкции
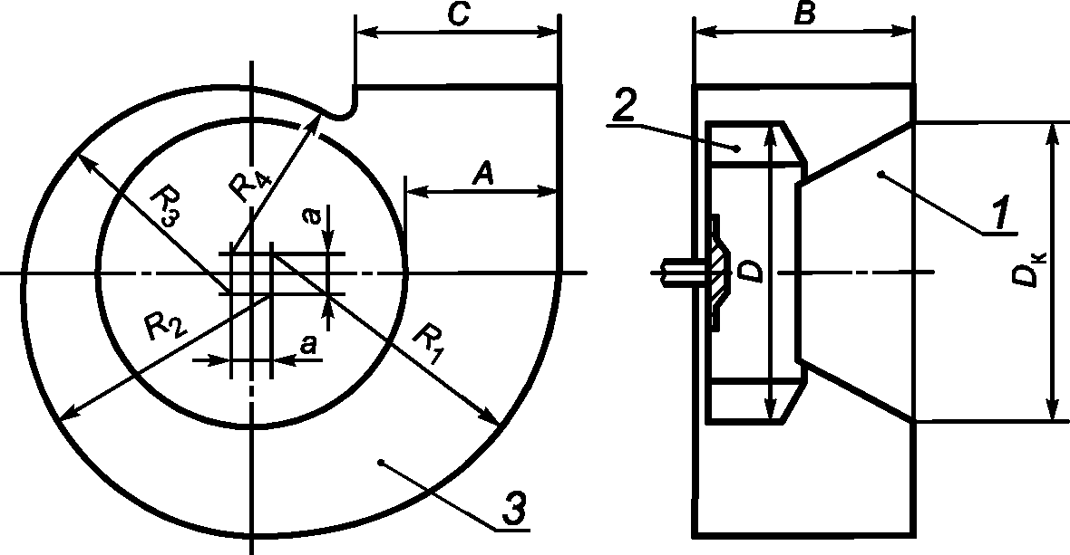
1 - входной коллектор; 2 - рабочее колесо;
3 - спиральный корпус
Рисунок 2 - Радиальный вентилятор стандартной компоновки
со спиральным корпусом
3.2.4
радиальный прямоточный вентилятор: Вентилятор с радиальным рабочим колесом, как правило, с загнутыми назад лопатками, установленным в цилиндрическом или другом корпусе, обеспечивающем одинаковое направление движения перемещаемой среды во входном и выходном сечениях с осью, совпадающей с осью вращения колеса; используется, как правило, в прямолинейных воздуховодах в качестве канального вентилятора [см.
рисунок 1 в)].
3.2.5
вентилятор - свободное колесо: Вентилятор с радиальным рабочим колесом с загнутыми назад лопатками, без корпуса, с прямым приводом, имеющий на входе перпендикулярную к оси вращения рабочего колеса пластину, переходящую во входной патрубок и предназначенную для крепления [см.
рисунок 1 г)].
Примечание - Рабочее колесо может быть изготовлено с радиальным вращающимся диффузором, образованным передним и задним дисками рабочего колеса, превышающими диаметр рабочего колеса на 5% - 20%.
3.2.6
вентилятор в вентиляторном блоке: Вентилятор с радиальным рабочим колесом, с загнутыми назад лопатками, без спирального корпуса, предназначенный для работы в вентиляторном блоке, который является его корпусом с квадратным или прямоугольным поперечным сечением [см.
рисунок 1 д)].
Примечание - Вентилятор может иметь как прямой, так и непрямой привод с двигателем.
3.3 Вентиляторы для разных условий работы
3.3.1 воздух: Обозначение среды, перемещаемой вентилятором.
3.3.2
стандартный воздух: Воздух с нормальной плотностью 1,2 кг/м3 при абсолютном давлении 101,2 кПа, температуре 20 °C и относительной влажности 50%. |
3.3.3 вентилятор общего назначения: Радиальный вентилятор с вынесенным двигателем, предназначенный для перемещения неагрессивного (нетоксичного, ненасыщенного, некоррозионного, негорючего) воздуха с температурой от минус 50 °C до плюс 80 °C и с запыленностью не более 100 мг/м3, изготавливаемый, как правило, из углеродистой стали.
3.3.4 вентилятор специального назначения: Радиальный вентилятор, предназначенный для работы в особых рабочих условиях для перемещения различных газообразных сред, обладающий набором специальных требований с учетом особенностей применения, которые должны быть приведены в соответствующей технической документации.
3.3.4.1 вентилятор теплостойкий: Радиальный вентилятор со спиральным корпусом, предназначенный для постоянной работы с горячим газом с температурой не выше 400 °C.
Примечания
1 При необходимости вентилятор с прямым или непрямым приводом может быть изготовлен из особых материалов.
2 Двигатель вентилятора с прямым приводом может быть как в струе воздуха, так и отделенным от нее.
3 Вентиляторы с непрямым приводом могут иметь средства для охлаждения ремней, подшипников или других компонентов привода, если это необходимо.
3.3.4.2 вентилятор дымоудаления: Радиальный вентилятор со спиральным корпусом, предназначенный для вытяжки горячего дыма в определенных временно-температурных условиях.
Примечания
1 При необходимости вентилятор с прямым или непрямым приводом может быть изготовлен из особых материалов.
2 Двигатель вентилятора с прямым приводом может быть как в струе воздуха, так и отделенным от нее.
3 Вентиляторы с непрямым приводом могут иметь средства для охлаждения ремней, подшипников или других компонентов привода, если это необходимо.
3.3.4.3 коррозионно-стойкий вентилятор: Вентилятор со спиральным корпусом с вынесенным двигателем для перемещения агрессивного воздуха с температурой не выше 80 °C и с запыленностью не более 100 мг/м3, выполненный из коррозионно-стойких материалов, либо его внутренние поверхности обработаны специальными агентами для снижения образования коррозии.
3.3.4.4 взрывозащищенный вентилятор: Радиальный вентилятор со спиральным корпусом с вынесенным двигателем для перемещения взрывоопасных смесей, не содержащих взрывчатых, волокнистых и липких веществ, спроектированный таким образом, чтобы снизить риск искрообразования или перегрева в результате соприкосновения вращающихся частей с неподвижными частями, что может способствовать воспламенению перемещаемой пыли или газа.
Примечание - Вентилятор изготовлен, как правило, из разнородных металлов.
3.4 Аэродинамические параметры
3.4.1
аэродинамическая характеристика вентилятора: Аэродинамическую характеристику вентилятора представляют в виде графика зависимости полного
pv и статического
psv и (или) динамического
pdv давлений, развиваемых вентилятором, потребляемой мощности
N, полного

и статического

КПД от производительности
Q при определенной плотности газа

перед входом в вентилятор и постоянной частоте вращения
n его рабочего колеса.
Примечания
1 Аэродинамическую характеристику радиального вентилятора определяют в результате его аэродинамических испытаний на стандартизированной установке или пересчетом с известной характеристики геометрически подобного вентилятора в соответствии с
ГОСТ 10921.
2 Размерности аэродинамических параметров - по
ГОСТ 10616.
3.4.2 рабочий участок аэродинамической характеристики: Участок аэродинамической характеристики радиального вентилятора, на котором КПД не более чем на 10% ниже его максимального значения.
Примечание - Максимальное значение КПД по
ГОСТ 10616.
3.4.3 производительность (объемный расход) вентилятора: Объемное количество газа, поступающего в вентилятор в единицу времени, отнесенное к условиям входа в вентилятор.
3.4.4 давление, создаваемое вентилятором
3.4.4.1 динамическое давление: Давление потока при выходе из вентилятора, рассчитанное по величине объемной производительности, средней плотности газа на выходе с учетом сжимаемости и площади выходного отверстия вентилятора.
3.4.4.2 полное давление: Давление, равное разности давлений торможения на выходе из вентилятора и на входе в него при определенной плотности газа, или представленное суммой статического и динамического давлений вентилятора.
3.4.4.3 статическое давление: Давление, равное разности между полным и динамическим давлением вентилятора, скорректированным на коэффициент учета сжимаемости перемещаемой среды в вентиляторе.
3.4.4.4 давление торможения: Давление, измеренное в определенной точке движущегося газа в предположении адиабатического процесса сжатия.
3.4.4.5 степень сжатия: Степень сжатия перемещаемого газа, равная отношению полного давления торможения на выходе из вентилятора к полному давлению торможения на входе в вентилятор.
3.4.5 Мощность, потребляемая вентилятором
3.4.5.1 полезная мощность вентилятора с учетом полного давления: Мощность, передаваемая газу в процессе политропического сжатия, равная произведению полного давления вентилятора и его производительности.
3.4.5.2 полезная мощность вентилятора с учетом статического давления: Мощность, передаваемая газу в процессе политропического сжатия, равная произведению статического давления вентилятора и его производительности.
3.4.5.3 мощность, потребляемая вентилятором: Мощность на свободном валу рабочего колеса без учета потерь в приводе и подшипниках.
3.4.5.4 мощность, подведенная к двигателю: Входная электрическая мощность, подведенная к двигателю с учетом мощности, расходуемой в приводе и подшипниках.
3.4.6 КПД вентилятора
3.4.6.1 полный КПД вентилятора: Отношение полезной мощности вентилятора с учетом полного давления к потребляемой вентилятором мощности.
Примечание - Режим с максимальным значением полного КПД соответствует номинальному режиму работы вентилятора.
3.4.6.2 полный КПД вентилятора с двигателем: Отношение полезной мощности вентилятора с учетом полного давления к подведенной к двигателю электрической мощности.
3.4.6.3 статический КПД вентилятора: Отношение полезной мощности вентилятора с учетом статического давления к потребляемой вентилятором мощности.
3.4.6.4 статический КПД вентилятора с двигателем: Отношение полезной мощности вентилятора с учетом статического давления к подведенной к двигателю электрической мощности.
3.4.6.5 показатель энергоэффективности вентилятора FEG: Параметр для серии геометрически подобных вентиляторов разных размеров, равный выраженному в процентах и округленному до целого числа максимальному значению полного КПД образца вентилятора этой серии с диаметром рабочего колеса более 630 мм.
Примечание - Диаметр рабочего колеса - по ГОСТ 31961.
3.5 Акустические параметры
3.5.1
акустическая характеристика: Характеристика вентилятора, представляемая или в виде графика, определяющего зависимость общего
Lw или корректированного
LwA уровней звуковой мощности от производительности
Q вентилятора на рабочем участке аэродинамической характеристики, или в виде значений одного из этих параметров при нескольких значениях производительности и дополняемая спектрами шума в виде таблицы октавных или третьоктавных уровней звуковой мощности
Lwi на режиме максимального значения КПД при определенной плотности газа

перед входом в вентилятор и при постоянной частоте вращения
n рабочего колеса.
Примечания
1 Акустические параметры определяют отдельно на сторонах входа в вентилятор, выхода из него и вокруг вентилятора.
2 Акустическую характеристику радиального вентилятора определяют по данным его акустических испытаний на стендах с указанием одного из четырех типов стандартизованных установок или с пересчетом известной акустической характеристики геометрически и акустически подобного вентилятора в соответствии с
ГОСТ 10616.
3.5.2 уровень звуковой мощности на входе: Уровень звуковой мощности, излучаемой со стороны входа в вентилятор.
3.5.3 уровень звуковой мощности на выходе: Уровень звуковой мощности, излучаемой со стороны выхода из вентилятора.
3.5.4
уровень звуковой мощности корпуса: Уровень звуковой мощности, излучаемой корпусом вентилятора. |
3.5.5
спектр шума: Уровни звуковой мощности, выраженные в дБ, в октавных или третьоктавных полосах со среднегеометрическими частотами в диапазоне от 63 до 8000 Гц. |
3.5.6
корректированный уровень звуковой мощности: Уровень звуковой мощности излучаемого шума, выраженный в дБА. |
| | ИС МЕГАНОРМ: примечание. Текст дан в соответствии с официальным текстом документа. | |
В настоящем стандарте документе используются следующие обозначения:
A | - раскрытие спирального корпуса, мм; |
a | - сторона конструкторского квадрата для построения спирали, мм; |
B | - ширина спирального корпуса, мм; |
C | - длина выходного сечения корпуса, мм; |
D | - диаметр рабочего колеса по внешним концам лопаток, мм; |
Dк | - диаметр входного отверстия входного коллектора, мм; |
Dд | - диаметр радиального диффузора, мм; |
D3 | - диаметр цилиндрического корпуса, мм; |
Fк | - площадь рабочего колеса, м2; |
Fвых | - площадь выходного сечения корпуса, м2; |
FEG | - показатель энергоэффективности вентилятора; |
f | - частота звука, Гц; |
Lw | - уровень звуковой мощности, излучаемой со стороны входа в вентилятор, выхода из вентилятора или корпусом вентилятора, дБ; |
LwA | - корректированный уровень звуковой мощности, дБА; |
Lwi | - уровень звуковой мощности в полосах частот, дБ; |
N | - мощность, потребляемая вентилятором, Вт; |
Ne | - мощность, потребляемая вентилятором вместе с приводом, Вт; |
Nv | - полезная мощность вентилятора с учетом полного давления, Вт; |
Nsv | - полезная мощность вентилятора с учетом статического давления, Вт; |
n | - частота вращения рабочего колеса, мин-1; |
pv | - полное давление, создаваемое вентилятором, Па; |
pdv | - динамическое давление, создаваемое вентилятором, Па; |
psv | - статическое давление, создаваемое вентилятором, Па; |
Q | - производительность вентилятора, м3/с; |
R1, 2, 3, 4 | - радиусы дуг окружности для построения спирали корпуса, мм; |
u | - окружная скорость рабочего колеса по внешним концам лопаток, м/с; |
| - угол входа лопатки рабочего колеса, градус; |
| - угол выхода лопатки рабочего колеса, градус; |
| - полный КПД вентилятора, %; |
| - максимальное значение полного КПД, %; |
| - статический КПД вентилятора, %; |
| - максимальное значение статического КПД, %; |
| - полный КПД вентилятора с двигателем, %; |
| - статический КПД вентилятора с двигателем, %; |
| - коэффициент потребляемой мощности; |
| - плотность воздуха, кг/м3; |
| - коэффициент производительности вентилятора; |
| - коэффициент создаваемого полного давления вентилятора; |
| - коэффициент создаваемого динамического давления вентилятора; |
| - коэффициент создаваемого статического давления вентилятора. |
5 Основные параметры и размеры
5.1 Основным геометрическим параметром радиальных вентиляторов является диаметр рабочего колеса
D (см.
рисунок 2), выраженный в дециметрах, который должен определять номер вентилятора. Значения диаметров рабочих колес должны соответствовать
ГОСТ 10616.
Примечание - Допускаются модификации вентиляторов с диаметрами колес, отличающимися от указанных в
ГОСТ 10616 на величину не более +/- 10% при остальных неизменных размерах проточной части вентиляторов.
5.2 Геометрическая форма проточной части вентиляторов должна соответствовать аэродинамической схеме вентилятора, на которой все размеры указанные в процентах от диаметра рабочего колеса. Геометрически подобные вентиляторы одной серии должны быть выполнены по одной аэродинамической схеме.
5.3 Радиальные вентиляторы стандартного исполнения (см.
рисунок 2) содержат входной коллектор, рабочее колесо с различной формой лопаток, установленное в спиральном корпусе, и привод.
5.4 Входной диаметр
Dк входного коллектора (см.
рисунок 2) должен предпочтительно совпадать с внутренним диаметром входного фланца и соответствовать значениям, приведенным в
ГОСТ 10616.
5.5 Рабочие колеса радиальных вентиляторов могут иметь лопатки, загнутые вперед, загнутые назад и радиально оканчивающиеся по отношению к направлению вращения рабочего колеса. Лопатки могут быть также плоскими: радиальными, или отклоненными назад, или профильными (см. рисунок 3).
а) листовые, загнутые назад лопатки; б) профильные, загнутые
назад лопатки; в) листовые, отклоненные назад лопатки;
г) радиально оканчивающиеся лопатки; д) лопатки радиальные;
е) лопатки загнутые вперед
Рисунок 3 - Различные конфигурации лопаток рабочего колеса
5.6 Углы входа

и выхода

лопаток рабочих колес радиальных вентиляторов в сечениях, перпендикулярных оси вращения, следует отсчитывать в соответствии с
рисунком 4.
Примечание - Лопатки, загнутые вперед, имеют углы выхода

; лопатки, загнутые назад, имеют углы выхода

; лопатки, радиально оканчивающиеся, имеют углы выхода

.
а) лопатки, загнутые назад; б) лопатки, загнутые вперед;
в) радиально оканчивающиеся лопатки
Рисунок 4 - Схемы листовых лопаток рабочего колеса
в плоскости его вращения
5.7 Спиральный корпус преимущественно имеет постоянную ширину B и спиральную обечайку. Спиральная обечайка корпуса с раскрытием
A, как правило, строится с помощью конструкторского квадрата (см.
рисунок 2) со стороной
a =
A/4 по четырем дугам окружности с радиусами, вычисляемыми по следующим формулам:
R1 = 0,5D + 3,5a; R2 = 0,5D + 2,5a;
R3 = 0,5D + 1,5a; R4 = 0,5D + 0,5a.
Примечание - Допускается очерчивать спиральную обечайку с помощью отрезка логарифмической спирали или другим способом.
5.8 Направление вращения вентилятора следует определять со стороны входа в рабочее колесо независимо от фактического положения привода (см.
рисунок 5). Направление вращения устанавливают по оси вентилятора со стороны входа в рабочее колесо: по часовой стрелке (правое вращение, символ "Пр") или против часовой стрелки (левое вращение, символ "Л") по
ГОСТ 34002.
Примечания
1 Для двустороннего радиального вентилятора направление вращения определяют со стороны всасывания, противоположной по отношению к приводу.
2 Вращение вентилятора по часовой стрелке может вызвать необходимость вращения приводного двигателя против часовой стрелки. Направление вращения двигателя всегда определяют со стороны конца вала двигателя с крыльчаткой охлаждения, при отсутствии крыльчатки - со стороны нерабочего конца вала.
Рисунок 5 - Схемы радиальных вентиляторов правого
и левого вращения с поворотными спиральными корпусами
5.9 Вентиляторы стандартного исполнения со спиральным корпусом с номерами от 2 до 12,5 включительно следует изготовлять с поворотными корпусами, допускающими их установку в любое из положений в соответствии с
рисунком 5, а с номерами выше 12,5 - с поворотными корпусами только по заказу потребителей.
5.10 Положение выходного отверстия радиального вентилятора должно быть определено в направлении вращения рабочего колеса углом поворота по отношению к исходному нулевому положению и обозначено символами, используемыми для направления вращения, т.е. "Л" или "Пр", после которых необходимо указывать в градусах угол между прямой, перпендикулярной опоре и проходящей через ось вращения рабочего колеса, и осью выходного сечения. При этом угол измеряют в направлении вращения, как определено в
5.8 (например, П135 или Л90) (см.
рисунок 5) в соответствии с
ГОСТ 34002.
5.11 Радиальный прямоточный вентилятор имеет рабочее колесо преимущественно с загнутыми назад лопатками, размещенное в цилиндрическом корпусе диаметром
D3, превышающим диаметр рабочего колеса не менее чем на 15%, или в корпусе с прямоугольными поперечными сечениями, и прямой привод с двигателем [см.
рисунок 1 в)].
Примечания
1 За радиальным рабочим колесом устанавливают специальные спрямляющие лопатки. В качестве спрямляющих лопаток могут быть использованы стойки для крепления двигателя.
2 В радиальном прямоточном вентиляторе может быть использовано рабочее колесо диагонального типа или радиальное рабочее колесо с уменьшенным по диаметру задним диском по сравнению с передним диском.
3 Радиальный прямоточный вентилятор используют в качестве канального вентилятора.
5.12 Вентилятор - свободное колесо - радиальный вентилятор с входным коллектором без корпуса [см.
рисунок 1 г)] - используют в следующих компоновках: в стандартных канальных вентиляторах, в установках с радиальным стационарным лопаточным или безлопаточным диффузором, а также в вентиляторных блоках кондиционеров.
Примечание - Свободное колесо может иметь радиальный безлопаточный вращающийся диффузор диаметром Dд = (1,05 - 1,2)D, образованный увеличенными дисками колеса.
5.13 Конструктивные исполнения радиальных вентиляторов стандартной компоновки с приводом и их обозначения приведены на
рисунке 6.
Примечание - Для вентиляторов исполнения 1 допускается крепление двигателя непосредственно к корпусу вентилятора.
Рисунок 6 - Конструктивные исполнения односторонних
и двусторонних радиальных вентиляторов
5.14 Аэродинамические качества вентилятора следует оценивать по аэродинамическим характеристикам, которые получают при аэродинамических испытаниях вентилятора на специальных стандартизованных установках в соответствии с
ГОСТ 10921.
5.15 Радиальные вентиляторы классифицируют по величине создаваемого полного давления на режиме максимального значения полного КПД при максимально допустимой окружной скорости рабочего колеса, которая определена его конструкцией по
ГОСТ 34002.
Примечание - Давление, создаваемое вентилятором, не должно превышать 95% максимального давления, развиваемого вентилятором при максимальной допустимой окружной скорости рабочего колеса.
5.16 Различают следующие типы вентиляторов по
ГОСТ 34002:
- вентиляторы низкого давления со степенью сжатия менее 1,02 и с числом Маха менее 0,15. Это соответствует величине создаваемого давления ниже 2 кПа при перемещении стандартного воздуха;
- вентиляторы среднего давления со степенью сжатия более 1,02, но менее 1,06. Это соответствует величине создаваемого давления в диапазоне от 2 до 6 кПа;
- вентиляторы высокого давления со степенью сжатия более 1,06 и менее 1,3 и с повышением создаваемого давления в диапазоне от 6 до 30 кПа.
5.17 Учет изменения плотности воздуха
У вентиляторов низкого и среднего давления с величиной создаваемого давления не выше 3 кПа изменение плотности перемещаемого воздуха в вентиляторе можно не учитывать. У вентиляторов, создающих давление выше 3 кПа, изменение плотности перемещаемого воздуха в вентиляторе необходимо учитывать (более подробно см.
ГОСТ 10921).
5.18 Вентиляторы одной серии, выполненные по одной аэродинамической схеме, должны иметь одинаковое наименование, присваиваемое организацией-разработчиком. Наименование может содержать:
- или аббревиатуру, определяющую краткое описание вентилятора (например, ВРАН9 - вентилятор радиальный с девятью загнутыми назад лопатками колеса);
- или информацию о параметрах вентилятора на номинальном режиме (например, ВР 80-75 - вентилятор радиальный, 80 - 100-кратная величина коэффициента полного давления, 75 - быстроходность на режиме максимального значения полного КПД);
- или другую информацию;
- торговую марку (товарный знак).
5.19 Обозначение радиального вентилятора должно содержать следующие обязательные данные:
- наименование;
- индекс применения/условий работы (см.
3.3);
- индекс аэродинамической схемы и/или конструктивного исполнения;
- номер;
- относительный диаметр рабочего колеса, % от номинального диаметра;
- положение и угол поворота спирального корпуса;
- параметры двигателя (частота вращения и установочная мощность);
- климатическое исполнение;
- наименование технической документации, по которым изготовлен вентилятор.
Для вентиляторов специального назначения необходимо также указывать:
- температуру перемещаемой среды;
- свойства перемещаемой среды (например, типы взрывоопасных смесей);
- другие данные, связанные с использованием вентилятора в различных системах.
Вентиляторы следует изготавливать в соответствии с требованиями настоящего стандарта,
ГОСТ 10616,
ГОСТ 34002 и технической документации на вентиляторы конкретного типа.
6.1 Аэродинамические характеристики
6.1.1 Аэродинамические характеристики вентиляторов должны быть определены на аттестованной в соответствии с государственной системой обеспечения единства измерений установке, соответствующей условиям дальнейшей эксплуатации вентилятора (см. рисунок 7) по
ГОСТ 10616.
Рисунок 7 - Типы испытательных установок
Примечания
1 Если заранее неизвестно, в каких условиях в дальнейшем будет использован данный вентилятор, в его аэродинамической характеристике должно быть указано на установке какого типа она получена.
2 Для вентиляторов больших номеров допускается определять аэродинамическую характеристику расчетным путем по известной характеристике геометрически подобного вентилятора небольших размеров с выполнением всех условий подобия в соответствии с
ГОСТ 10616.
6.1.2 Построение аэродинамической характеристики - по
ГОСТ 10616.
6.1.3 Для серии вентиляторов, выполненных по одной аэродинамической схеме, типовой (паспортной) аэродинамической характеристикой с максимальным значением КПД

считается характеристика вентилятора N 6,3 или большего номера, полученная в результате аэродинамических испытаний образца на одной из аттестованных аэродинамических установок при максимально допустимой окружной скорости по
ГОСТ 10616.
6.1.4 Для вентиляторов малых номеров от 2 до 6,3 допускается снижение максимального значения полного КПД вентилятора

(при сохранении значения показателя энергоэффективности
FEG) в зависимости от диаметра колеса
D в соответствии с формулой (1) или с графиком, приведенным на
рисунке А.1 приложения А,

(1)
где

- максимальное значение полного КПД вентилятора, полученное в результате аэродинамического испытания образца вентилятора этой серии с диаметром рабочего колеса более 0,63 м.
| | ИС МЕГАНОРМ: примечание. В официальном тексте документа, видимо, допущена опечатка: таблица А.2 отсутствует. Возможно, имеется в виду таблица А.1. | |
6.1.5 Вентиляторам следует присваивать класс энергоэффективности в соответствии с
таблицей А.2, приложения А в зависимости от максимального значения полного или статического КПД (показателя
FEG) на номинальном режиме и качества изготовления серийных образцов по ГОСТ 31961.
6.1.6 Допускаются отклонения действительной аэродинамической характеристики вентилятора от паспортной в пределах рабочего участка по величине:
- снижения полного/статического КПД не более 4%;
- полного/статического давления не более +/- 4%.
6.2 Акустические характеристики
6.2.1 Акустические характеристики вентиляторов должны быть определены на аттестованной в соответствии с государственной системой обеспечения единства измерений установке, соответствующей условиям дальнейшей эксплуатации вентилятора. При испытаниях определяют отдельно шум на входе в вентилятор, на выходе из вентилятора и шум, излучаемый корпусом вентилятора, на нескольких режимах его работы по
ГОСТ 10616.
Примечания
1 Если заранее не известно, в каких условиях в дальнейшем будет использован данный вентилятор, на его акустической характеристике должно быть указано на установке какого типа и в каком сечении вентилятора она получена.
2 Допускается определять создаваемый вентилятором шум на одной стороне вентилятора с указанием, какой стороне соответствуют данные измерений.
3 Для вентиляторов больших номеров (с диаметрами рабочих колес свыше 800 мм) допускается определять акустическую характеристику расчетным путем по известной характеристике геометрически и акустически подобного вентилятора меньших размеров с выполнением всех условий подобия в соответствии с
ГОСТ 10616.
6.2.2 Допускаются верхние отклонения значений действительных акустических параметров вентилятора от паспортных значений не более чем 2 дБ; нижние отклонения не ограничиваются.
6.3 Конструктивные параметры
| | ИС МЕГАНОРМ: примечание. Текст дан в соответствии с официальным текстом документа. | |
6.3.1 Требования к надежности, критерии отказов и критерии предельных состояний должны быть установлены в технической документации условиях на вентиляторы конкретного типа при режиме их эксплуатации, предусматривающем не более шести пусков-остановок в сутки с учетом допускаемого количества пусков двигателей.
6.3.2 Конструкция рабочего колеса вентилятора должна обеспечивать его прочность при окружной скорости, превышающей на 15% номинальную частоту вращения колеса, что достигается благодаря применению двигателя большей мощности и частотного преобразователя.
Примечания
1 Рабочее колесо после испытаний на прочность не должно иметь нарушений геометрических размеров, сварных и других соединений.
2 Допускается проверку на прочность рабочего колеса проводить с использованием апробированных расчетных методов.
6.3.3 Задние и передние диски рабочих колес, боковые стенки и спирали корпусов и входные коллекторы допускается изготавливать сварными при сохранении их прочности.
6.3.4 Допускаемые отклонения присоединительных и установочных размеров вентиляторов не должны превышать пределов класса точности "Средний" по
ГОСТ 25670.
6.3.5 Допускаемые отклонения габаритных размеров вентиляторов не должны превышать пределов класса точности "грубый" по
ГОСТ 30893.1.
6.3.6 Допускаемые отклонения линейных размеров проточной части вентиляторов должны быть в пределах полей допусков не ниже 14-го квалитета или класса точности "средний" по
ГОСТ 25346.
6.3.7 Углы входа и выхода лопаток рабочего колеса должны соответствовать аэродинамической схеме вентилятора, что должно обеспечиваться системой допускаемых отклонений линейных геометрических размеров.
6.3.8 Радиальный и осевой зазоры узла уплотнения между входным коллектором и рабочим колесом должны соответствовать аэродинамической схеме вентилятора, что должно быть обеспечено системой допускаемых отклонений линейных геометрических размеров.
6.3.9 Значения радиального биения рабочего колеса вентилятора, измеренные на внешних кромках лопаток, должны быть в пределах полей допусков 14-го квалитета по
ГОСТ 25346.
6.3.10 Значения осевого биения рабочего колеса вентилятора, измеренные на внешних кромках дисков, должны быть не более удвоенной величины радиального биения.
6.3.11 Разность между диаметром отверстия в боковой стенке спирального корпуса и диаметром вала (ступицы) для вентиляторов низкого и среднего давлений должна быть для вентиляторов номеров:
- от 2 до 6,3 - не более 4 мм;
- от 6,3 до 12,5 - не более 8 мм;
- от 12,5 и выше - не более 12 мм.
Примечание - Для вентиляторов высокого давления и теплостойких вентиляторов необходимо предусматривать специальные уплотнения.
6.3.12 Рабочие колеса и шкивы должны быть динамически отбалансированными. Возможность статической балансировки определяют в соответствии с ГОСТ ISO 1940-1.
6.3.13 Радиальные вентиляторы должны быть отбалансированными по классу точности не ниже BV-3 по
ГОСТ 31350. Допускаемые средние квадратические значения виброскорости вентиляторов на месте эксплуатации не должны превышать 6,3 мм/с, независимо от вида балансировки рабочих колес, шкивов и муфт.
6.3.14 Вентиляторы должны иметь защитные лакокрасочные покрытия, соответствующие условиям эксплуатации. Подготовка поверхности перед нанесением лакокрасочного покрытия - по
ГОСТ 9.402. Покрытию не подлежат посадочные поверхности, таблички, а также покупные изделия, имеющие окраску.
6.3.15 Рабочие колеса вентиляторов или наружные поверхности фланцев, сопрягаемые с воздуховодами, шкивы, муфты и защитные ограждения рекомендуется окрашивать в сигнальный цвет по
ГОСТ 12.4.026.
6.4 Требования к материалам и комплектующим изделиям
6.4.1 Покупные листовой и профильный прокаты для деталей вентиляторов должны иметь сертификат и соответствовать требованиям, установленным в национальных стандартах и технической документации на вентиляторы.
6.4.2 Трещины на деталях не допускаются. Допускается подварка с последующей зачисткой шва на деталях, не подверженных динамическим нагрузкам, при условии обеспечения прочности.
6.4.3 Допускаемые отклонения размеров отливок должны соответствовать требованиям технической документации и не влиять на характеристики вентилятора. В случае изменения технологии литья, которое привело к изменению размеров, вентилятор должен пройти периодические испытания.
6.4.4 Применяемые в производстве лакокрасочные материалы, растворители, разбавители, сиккативы, а также вспомогательные материалы должны соответствовать требованиям, установленным на них государственными стандартами и техническими условиями.
Примечание - Запрещается применять лакокрасочные материалы без аналитических паспортов, а также по истечении срока хранения.
6.4.5 Запасные части должны быть окрашены в основной цвет изделия.
Примечание - Допускается, по согласованию с потребителем запасные части изготавливать в загрунтованном виде.
6.4.6 Электродвигатели, подшипники, виброизоляторы и ремни должны соответствовать требованиям технической документации на изделия конкретного типа.
6.4.7 Конструкция и защитные покрытия вентиляторов должны быть выполнены с учетом требований технической эстетики.
6.5.1 Вентиляторы комплектуют в соответствии с технической документацией.
6.5.2 По заказу потребителя вентиляторы комплектуют виброизоляторами и/или гибкими вставками.
6.5.3 К вентиляторам должна быть приложена эксплуатационная документация по
ГОСТ 2.601, номенклатура которой должна быть указана в технической документации на конкретные вентиляторы.
6.6.1 На видном месте корпуса каждого вентилятора должна быть прикреплена табличка по
ГОСТ 12971, содержащая:
- наименование предприятия-изготовителя и (или) товарный знак;
- обозначение вентилятора;
- частоту вращения рабочего колеса, мин-1, и параметры двигателя;
- год выпуска;
- заводской номер;
- обозначение технических условий на вентилятор.
6.6.2 На корпусе вентилятора должно быть указано стрелкой направление вращения рабочего колеса. На рабочее колесо стрелку наносят в тех случаях, когда его транспортируют без корпуса или когда вентилятор транспортируют в разобранном виде.
6.6.3 Изображение, место нанесения и способ выполнения транспортной маркировки - по
ГОСТ 14192.
6.7.1 Вентиляторы транспортируют в упаковке или без упаковки в зависимости от способа транспортирования и района поставки.
6.7.2 При транспортировании железнодорожным и автомобильным транспортом вентиляторы должны поставлять с применением тары или без нее при условии обеспечения сохранности вентиляторов.
Примечания
1 При транспортировании вентиляторов без упаковки необходимо обеспечить защиту входных и выходных отверстий вентилятора.
2 При положении корпуса вентилятора под углом 270° входные и выходные отверстия вентилятора допускается не защищать.
6.7.3 При транспортировании воздушными, водными или смешанным железнодорожно-водными перевозками вентиляторы должны быть упакованы в ящики, изготовленные по
ГОСТ 2991 или
ГОСТ 10198.
6.7.4 Для районов Крайнего Севера и труднодоступных районов упаковка должна соответствовать
ГОСТ 15846.
6.7.5 Вентиляторы и отдельные узлы вентиляторов, не требующие защиты от механических повреждений и атмосферных воздействий, транспортируют без упаковки.
6.7.6 Вентиляторы и отдельные узлы вентиляторов, требующие защиты от механических повреждений и атмосферных воздействий, упаковывают по
ГОСТ 15846.
6.7.7 Сопроводительная документация, включая комплектовочную ведомость, должна быть помещена во влагонепроницаемую упаковку и прикреплена к вентилятору или к одному из его крупных узлов.
7 Требования безопасности и охраны окружающей среды
7.1 Рабочие колеса вентиляторов и/или наружные поверхности фланцев, сопрягаемые с воздуховодами, шкивы, муфты и защитные ограждения подлежат окраске в сигнальный цвет по
ГОСТ 12.4.026.
7.2 Все подвижные выступающие части вентилятора должны быть ограждены.
7.3 При использовании вентиляторов со свободным входом/выходом должна быть установлена защитная сетка на входе/выходе.
| | ИС МЕГАНОРМ: примечание. В официальном тексте документа, видимо, допущена опечатка: имеется в виду ГОСТ 12.2.007.0, а не ГОСТ 12.2.007. | |
7.4 Вентилятор и электродвигатель должны быть заземлены в соответствии с требованиями
ГОСТ 12.2.007.
7.5 В паспорте на вентилятор должно быть указано содержание цветных металлов в различных узлах.
7.6 В паспорте на вентилятор должно быть указано, какие из элементов вентилятора подлежат вторичной переработке.
8.1 Для проверки соответствия вентиляторов требованиям настоящего стандарта и технической документации проводят приемочный контроль и периодические испытания. Объем контроля и испытаний установлен в таблице 1.
Таблица 1
Объем контроля и испытаний
Наименование показателей | Объем испытаний | Методы контроля | Пределы (допуски) |
Приемочный контроль | Периодические испытания |
Контроль | Приемо-сдаточные испытания |
1 Габаритные, присоединительные и установочные размеры | - | + | + | | |
2 Осевые и радиальные зазоры между рабочим колесом и коллектором | + | + | + | | |
3 Биение рабочего колеса (проверять до сборки) | + | + | - | | |
4 Прочностные испытания рабочего колеса | + | - | - | | |
| - | - | + | | По технической документации |
6 Аэродинамические параметры номинального режима <*> | - | + | - | | |
7а Полная аэродинамическая характеристика | - | - | + | | |
7б Показатель энергоэффективности FEG | - | - | + | | |
8 Акустическая характеристика | - | - | + | | |
9 Вибрационная характеристика | - | + | + | | |
| - | - | По технической документации | | По технической документации |
11 Сопротивление заземления | + | + | + | | |
12 Лакокрасочные покрытия: | | | | | |
а) толщина покрытия | - | - | + | | |
б) качество покрытия | + | + | - | | |
13 Комплектность, упаковка и маркировка | + | + | + | | По технической документации |
<*> Допускается определение параметров на режиме, близком к номинальному режиму в области расходов, отличающихся на +/- 10% от номинального расхода. |
8.2 Изготовленные вентиляторы подвергают сплошному контролю по
графам 2 -
4,
11 -
13 таблицы 1: производят обкатку каждого вентилятора перед отправкой продукции потребителю.
Примечание - Вентиляторы номеров 12 и выше допускается предъявлять на приемочный контроль по узлам в разобранном виде.
8.3 Приемо-сдаточные испытания осуществляют для проверки качества выпускаемой продукции после успешной проверки вентиляторов по
8.2 в количестве, установленном на предприятии системой менеджмента качества. Планы контроля для конкретных типоразмеров должны быть указаны в технической документации. За партию принимают вентиляторы одного типоразмера и модификации по диаметру рабочего колеса, укомплектованные двигателями одного типоразмера.
8.4 В процессе приемо-сдаточных испытаний запрещают производить доработку и разбраковку продукции.
8.5 Партию вентиляторов, не выдержавшую приемо-сдаточных испытаний, после разбраковки и установки дефектов повторно предъявляют на приемку по пунктам несоответствия. Результаты повторных приемо-сдаточных испытаний считают окончательными и распространяют на всю партию.
8.6 Периодические испытания вентиляторов проводят с целью контроля стабильности качества изготавливаемой продукции, установления класса энергоэффективности вентиляторов и для определения готовности производства к выпуску новых серий вентиляторов в сроки, установленные технической документацией.
8.7 Периодическим испытаниям подвергают не менее двух образцов вентиляторов разных типоразмеров. Показатели по
графам 1,
2,
5 -
9,
11 -
13 таблицы 1 проверяют не реже одного раза в год, по
графе 10 не реже одного раза в три года, а также при освоении новой техники, модернизации и изменении существующей конструкции.
8.8 Вентиляторы, выпуск которых изготовителем возобновлен после перерыва, продолжительность которого превысила срок проведения периодических испытаний, подвергают периодическим испытаниям перед началом серийного выпуска.
8.9 Результаты периодических испытаний должны быть оформлены протоколом.
9.1 Перечисленные в
таблице 1 испытания проводят на специально оборудованных аттестованных в соответствии с государственной системой обеспечения единства измерений стендах, укомплектованных средствами измерения с действующими свидетельствами о поверке.
9.2 Габаритные, присоединительные и установочные размеры вентилятора, осевые и радиальные зазоры между рабочим колесом и входным коллектором на соответствие требованиям технической документации проверяют при помощи мерительных инструментов, обеспечивающих требуемую точность.
9.3 Радиальное и осевое биения рабочего колеса проверяют на стенде при помощи средств измерения, обеспечивающих заданную точность. Величины биения должны соответствовать значениям, указанным в технической документации.
9.4 Рабочее колесо каждого выпускаемого вентилятора должно подвергаться изготовителем прочностным испытаниям путем не менее двух кратковременных (не менее 30 с) разгонов при увеличении частоты вращения колеса от нуля до значения, превышающего на 15% номинальную частоту.
Примечание - Контроль проводят посредством внешнего осмотра рабочего колеса вентилятора на наличие деформаций, трещин или других дефектов.
9.5 Массу вентилятора до 8-го номера проверяют взвешиванием в сборе, выше номера 8 допускается проверять взвешиванием узлов оборудования, наименование которых приводят в технической документации на конкретный вентилятор.
9.6 Аэродинамические параметры номинального режима контролируют путем проведения приемо-сдаточных, упрощенных испытаний вентилятора с помощью съемных диафрагм в соответствии с
ГОСТ 10921.
9.7 Полную аэродинамическую характеристику и показатель энергоэффективности
FEG вентилятора проверяют путем проведения полных аэродинамических испытаний образца на специализированной установке определенного типа (см.
рисунок 7) в соответствии с
ГОСТ 10921.
Примечание - В характеристике вентилятора следует указывать, на установке какого типа она получена.
9.8 Акустическую характеристику вентилятора проверяют путем проведения акустических испытаний образца на специализированной установке определенного типа в соответствии с
ГОСТ 31353.3.
Примечание - В характеристике вентилятора следует указывать, на установке какого типа она получена и в каком сечении вентилятора (на входе, выходе или вокруг) проведены измерения.
9.9 Вибрационные характеристики вентилятора проверяют согласно
ГОСТ 31351.
9.10 Показатели надежности проверяют в соответствии с технической документацией на конкретные вентиляторы.
9.11 Сопротивление между болтом заземления и всех доступных к прикосновению металлических нетоковедущих частей вентилятора, которые могут оказаться под напряжением, проверяют до его подключения к источнику питания с помощью измерительных приборов, обеспечивающих требуемую точность, при соблюдении требований безопасности по
ГОСТ 12.3.019.
9.12 Лакокрасочные покрытия вентилятора проверяют:
- толщину покрытия - средствами измерения, указанными в соответствующей технической документации на вентиляторы.
9.13 Состояние комплектности, упаковки и маркировки контролируют визуально в соответствии с технической документацией на конкретный вентилятор.
10 Транспортирование и хранение
10.1 Вентиляторы транспортируют любым видом транспорта в соответствии с правилами перевозки грузов, действующими на данном виде транспорта.
10.2 Вентиляторы следует транспортировать в условиях, исключающих их механические повреждения.
10.3 Транспортирование вентиляторов по железной дороге проводят на платформах, в полувагонах и в вагонах.
10.4 Перевозка вентиляторов железнодорожным транспортом, размещение и крепление вентиляторов в ящичной упаковке, а также неупакованных вентиляторов должна быть произведена в соответствии с технической документацией на конкретные вентиляторы.
10.5 Все механически обработанные и неокрашенные поверхности вентилятора должны быть покрыты антикоррозионным составом, обеспечивающим хранение и транспортирование изделий в соответствии с
ГОСТ 9.014.
10.6 В зависимости от размеров и массы вентиляторы можно транспортировать в собранном или разобранном виде.
10.7 Вентиляторы следует хранить в условиях, исключающих их механические повреждения. Условия хранения вентиляторов должны обеспечивать их защиту от прямых атмосферных воздействий по
ГОСТ 15150.
10.8 Вентиляторы до номеров 12 включительно транспортируют в собранном виде. Вентиляторы номеров свыше 12 допускается транспортировать в разобранном виде укрупненными узлами.
11 Указания по эксплуатации
11.1 Требования по эксплуатации должны быть изложены в эксплуатационной документации на вентилятор.
11.2 Вентиляторы должны эксплуатировать в климатических условиях, предусмотренных технической документацией, и на режимах, соответствующих рабочему участку по
ГОСТ 10616 аэродинамической характеристики.
11.3 В условиях эксплуатации необходимо систематически проводить техническое обслуживание и планово-предупредительный ремонт вентиляторов в соответствии с порядком и сроками проведения этих работ, указанных в эксплуатационной документации.
| | ИС МЕГАНОРМ: примечание. В официальном тексте документа, видимо, допущена опечатка: имеется в виду ГОСТ 12.2.007.0, а не ГОСТ 12.2.007. | |
11.4 Монтаж и эксплуатация электрооборудования должны быть выполнены в соответствии с требованиями
ГОСТ 12.2.007.
11.5 Вибрация, создаваемая вентилятором на рабочем месте, не должна превышать значений, установленных
ГОСТ 12.1.012.
Примечание - В случае превышения указанных значений в конструкции вентиляционных систем должны быть предусмотрены средства их снижения до значений, нормированных
ГОСТ 12.1.012.
11.6 Уровни шума, создаваемые вентилятором на рабочем месте, не должны превышать значений, приведенных в
ГОСТ 12.1.003.
Примечание - В случае превышения указанных значений в конструкции вентиляционных систем должны быть предусмотрены средства снижения создаваемого шума до значений, нормированных
ГОСТ 12.1.003.
11.7 Для обеспечения устойчивой параллельной работы двух или нескольких вентиляторов на рабочем участке аэродинамической характеристики каждого вентилятора должен быть такой участок, на котором при увеличении производительности создаваемое вентилятором давление понижается.
12.1 Изготовитель должен гарантировать соответствие вентиляторов требованиям настоящего стандарта при соблюдении правил эксплуатации, транспортирования, хранения и монтажа.
12.2 Гарантийный срок эксплуатации вентиляторов составляет не менее 18 мес со дня их ввода в эксплуатацию.
12.3 Гарантийная наработка установлена в технической документации на конкретный вентилятор, но не менее установленной наработки на отказ.
12.4 Гарантийный срок хранения и способы переконсервации устанавливают в технической документации на конкретный вентилятор.
(рекомендуемое)
АЭРОДИНАМИЧЕСКИЕ ХАРАКТЕРИСТИКИ ВЕНТИЛЯТОРОВ
Зависимость максимального значения КПД от диаметра колеса
для вентиляторов одной серии
Рисунок А.1 - Допустимое снижение максимального значения КПД
вентилятора с уменьшением диаметра рабочего колеса
Таблица А.1
Классы радиальных вентиляторов по энергоэффективности и КПД
Тип вентилятора | Категория КПД | Показатели энергоэффективности и КПД для вентиляторов разных классов |
КЛ1 нормальный | КЛ2 повышенный | КЛ3 высокий |
Радиальный с загнутыми вперед и радиально оканчивающимися лопатками | Полный | FEG 67 | FEG 71 | FEG 75 |
Радиальный с загнутыми назад лопатками | Полный | FEG 75 | FEG 80 | FEG 85 |
Диагональный с загнутыми назад лопатками | Полный | FEG 71 | FEG 75 | FEG 80 |
Радиальный с загнутыми назад лопатками без корпуса | Статический | FEG 63 | FEG 67 | FEG 71 |
Примечание - Показатель FEG согласно ГОСТ 33660. |
УДК 697.92:006.354 | |
Ключевые слова: вентиляторы промышленные, радиальные вентиляторы, диаметр рабочего колеса, номер вентилятора, спиральный корпус, прямоточный вентилятор, свободное колесо, классификация вентиляторов, аэродинамические параметры, акустические параметры, показатели энергоэффективности, технические требования |