Главная // Актуальные документы // ГОСТ Р (Государственный стандарт)СПРАВКА
Источник публикации
М.: Стандартинформ, 2009
Примечание к документу
Документ включен в
Перечень документов в области стандартизации, в результате применения которых на добровольной основе обеспечивается соблюдение требований Федерального
закона от 22.07.2008 N 123-ФЗ "Технический регламент о требованиях пожарной безопасности" (
Приказ Росстандарта от 14.07.2020 N 1190).
Документ включен в
Перечень документов в области стандартизации, в результате применения которых на добровольной основе обеспечивается соблюдение требований Федерального
закона от 22.07.2008 N 123-ФЗ "Технический регламент о требованиях пожарной безопасности" (
Приказ Росстандарта от 03.06.2019 N 1317).
Документ включен в
Перечень документов в области стандартизации, в результате применения которых на добровольной основе обеспечивается соблюдение требований Федерального
закона от 22.07.2008 N 123-ФЗ "Технический регламент о требованиях пожарной безопасности" (
Приказ Росстандарта от 17.04.2019 N 832).
Документ включен в
Перечень документов в области стандартизации, в результате применения которых на добровольной основе обеспечивается соблюдение требований Федерального
закона от 22.07.2008 N 123-ФЗ "Технический регламент о требованиях пожарной безопасности" (
Приказ Росстандарта от 16.04.2014 N 474).
Документ включен в
Перечень национальных стандартов и сводов правил, в результате применения которых на добровольной основе обеспечивается соблюдение требований Федерального
закона от 22.07.2008 г. N 123-ФЗ "Технический регламент о требованиях пожарной безопасности" (
Приказ Ростехрегулирования от 30.04.2009 N 1573).
Документ включен в
Перечень национальных стандартов, содержащих правила и методы исследований (испытаний) и измерений, в том числе правила отбора образцов, необходимых для применения и исполнения Федерального
закона от 22.07.2008 N 123-ФЗ и осуществления оценки соответствия (
Распоряжение Правительства РФ от 10.03.2009 N 304-р).
В соответствии с
Приказом Ростехрегулирования от 18.02.2009 N 65-ст данный документ введен в действие с 1 мая 2009 года.
Название документа
"ГОСТ Р 53290-2009. Техника пожарная. Установки пенного пожаротушения. Генераторы пены низкой кратности для подслойного тушения резервуаров. Общие технические требования. Методы испытаний"
(утв. Приказом Ростехрегулирования от 18.02.2009 N 65-ст)
"ГОСТ Р 53290-2009. Техника пожарная. Установки пенного пожаротушения. Генераторы пены низкой кратности для подслойного тушения резервуаров. Общие технические требования. Методы испытаний"
(утв. Приказом Ростехрегулирования от 18.02.2009 N 65-ст)
Утвержден и введен в действие
от 18 февраля 2009 г. N 65-ст
НАЦИОНАЛЬНЫЙ СТАНДАРТ РОССИЙСКОЙ ФЕДЕРАЦИИ
ТЕХНИКА ПОЖАРНАЯ
УСТАНОВКИ ПЕННОГО ПОЖАРОТУШЕНИЯ.
ГЕНЕРАТОРЫ ПЕНЫ НИЗКОЙ КРАТНОСТИ
ДЛЯ ПОДСЛОЙНОГО ТУШЕНИЯ РЕЗЕРВУАРОВ
ОБЩИЕ ТЕХНИЧЕСКИЕ ТРЕБОВАНИЯ. МЕТОДЫ ИСПЫТАНИЙ
Fire Engineering. Foam Fire-Extinguishing Installations.
Low Expansion Foam Generators for subsurfase
Extinguishing in Tanks. General Technical Requirements.
Test Methods
ГОСТ Р 53290-2009
ОКС 13.220.30
Дата введения
1 января 2010 года
с правом досрочного применения
Цели и принципы стандартизации в Российской Федерации установлены Федеральным
законом от 27 декабря 2002 г. N 184-ФЗ "О техническом регулировании", а правила применения национальных стандартов Российской Федерации -
ГОСТ Р 1.0-2004 "Стандартизация в Российской Федерации. Основные положения".
1. Разработан ФГУ ВНИИПО МЧС России.
2. Внесен Техническим комитетом по стандартизации ТК 274 "Пожарная безопасность".
3. Утвержден и введен в действие
Приказом Федерального агентства по техническому регулированию и метрологии от 18 февраля 2009 г. N 65-ст.
4. Введен впервые.
Информация об изменениях к настоящему стандарту публикуется в ежегодно издаваемом информационном указателе "Национальные стандарты", а текст изменений и поправок - в ежемесячно издаваемых информационных указателях "Национальные стандарты". В случае пересмотра (замены) или отмены настоящего стандарта соответствующее уведомление будет опубликовано в ежемесячно издаваемом информационном указателе "Национальные стандарты". Соответствующая информация, уведомление и тексты размещаются также в информационной системе общего пользования - на официальном сайте Федерального агентства по техническому регулированию и метрологии в сети Интернет.
Настоящий стандарт распространяется на высоконапорные пеногенераторы (далее - генераторы), предназначенные для получения из водного раствора пенообразователя воздушно-механической пены низкой кратности в установках подслойного пожаротушения резервуаров.
Настоящий стандарт устанавливает общие технические требования к высоконапорным пеногенераторам, номенклатуру показателей и методы их оценки.
Настоящий стандарт может применяться при сертификационных испытаниях генераторов пены низкой кратности для подслойного тушения резервуаров.
В настоящем стандарте использованы нормативные ссылки на следующие стандарты:
ГОСТ Р 51114-97. Установки пенного пожаротушения автоматические. Дозаторы. Общие технические требования. Методы испытаний
ГОСТ 2.601-68. Единая система конструкторской документации. Эксплуатационные документы
ГОСТ 9.032-74. Единая система защиты от коррозии и старения. Покрытия лакокрасочные. Группы, технические требования и обозначения
ГОСТ 9.302-88. Единая система защиты от коррозии и старения. Покрытия металлические и неметаллические. Методы контроля
ГОСТ 9.303-84. Единая система защиты от коррозии и старения. Покрытия металлические и неметаллические. Общие требования к выбору
ГОСТ 12.2.003-91. Система стандартов безопасности труда. Оборудование производственное. Общие требования безопасности
ГОСТ 12.2.037-78. Система стандартов безопасности труда. Техника пожарная. Требования безопасности
ГОСТ 12.2.047-86. Система стандартов безопасности труда. Пожарная техника. Термины и определения
ГОСТ 12.4.009-83. Пожарная техника для защиты объектов. Основные виды. Размещение и обслуживание
| | ИС МЕГАНОРМ: примечание. Взамен ГОСТ 15.001-73 Постановлением Госстандарта СССР от 25.11.1988 N 3823 введен в действие с 1 марта 1989 года ГОСТ 15.001-88. | |
ГОСТ 15.001-73. Разработка и постановка продукции на производство. Основные положения
ГОСТ 27.410-87. Надежность в технике. Методы контроля показателей надежности и планы контрольных испытаний на надежность
ГОСТ 427-75. Линейки измерительные металлические. Технические условия
ГОСТ 4.99-83. Система показателей качества продукции. Пенообразователи для тушения пожаров. Номенклатура показателей
ГОСТ 15150-69. Машины, приборы и другие технические изделия. Исполнение для различных климатических районов. Категории, условия эксплуатации, хранения и транспортирования в части воздействия климатических факторов внешней среды.
Примечание. При пользовании настоящим стандартом целесообразно проверить действие ссылочных стандартов в информационной системе общего пользования - на официальном сайте Федерального агентства по техническому регулированию и метрологии в сети Интернет или по ежегодно издаваемому информационному указателю "Национальные стандарты", который опубликован по состоянию на 1 января текущего года, и по соответствующим ежемесячно издаваемым информационным указателям, опубликованным в текущем году. Если ссылочный стандарт заменен (изменен), то при пользовании настоящим стандартом следует руководствоваться заменяющим (измененным) стандартом. Если ссылочный стандарт отменен без замены, то положение, в котором дана ссылка на него, применяется в части, не затрагивающей эту ссылку.
В настоящем стандарте применены следующие термины с соответствующими определениями:
3.1. Установка пенного пожаротушения: установка пожаротушения, в которой в качестве огнетушащего вещества используют воздушно-механическую пену, получаемую из водного раствора пенообразователя.
3.2. Установка подслойного пожаротушения резервуара: установка, обеспечивающая подачу пены низкой кратности через нижний пояс резервуара непосредственно в слой горючей жидкости.
3.3. Высоконапорный пеногенератор: устройство для получения и подачи воздушно-механической пены низкой кратности.
3.4. Пленкообразующий пенообразователь: пенообразователь, огнетушащая способность и устойчивость к повторному воспламенению которого определяются образованием на поверхности нефти и нефтепродуктов водной пленки.
3.5. Коэффициент преобразования давления: коэффициент преобразования рабочего раствора пенообразователя в давление пенной струи, численно равный отношению давления пены к рабочему давлению.
3.6. Рабочее давление: давление раствора пенообразователя перед генератором.
4.1. Генераторы подразделяются по расходу раствора пенообразователя, конструкции соединительных устройств и комплектации дополнительными устройствами.
4.2. По расходу пенообразователя генераторы подразделяются на типоразмеры, установленные технической документацией.
4.3. По конструкции соединительных устройств генераторы подразделяются на:
- легкоразъемные переносные;
- стационарные с фланцевыми соединениями.
4.4. По комплектации дополнительными устройствами генераторы могут быть:
- без дополнительных устройств;
- с пеносмесителем;
- с обратным клапаном на линии подачи воздуха;
- с обратным клапаном для предотвращения слива горючего через генератор.
5. Технические требования
5.2.1. Основные параметры генераторов, установленные технической документацией на конкретный тип изделий, должны соответствовать значениям, приведенным в таблице 1.
Таблица 1
┌────────────────────────────────────────────────────┬───────────┐
│ Параметр │ Значения │
│ │ параметра │
├────────────────────────────────────────────────────┼───────────┤
│ -2 │ │
│Рабочее давление, МПа (кгс x см ), не менее
<*> │0,9 +/- 0,1│
│ │ (9 +/- 1) │
├────────────────────────────────────────────────────┼───────────┤
│Коэффициент преобразования давления, %, не менее: │ │
│- для резервуаров высотой до 12 м │ 30 │
│- резервуаров высотой 12 м и выше │ 40 │
├────────────────────────────────────────────────────┼───────────┤
│Производительность генератора по раствору │ 10 │
│ -1 │ │
│пенообразователя, л x с , не менее │ │
├────────────────────────────────────────────────────┼───────────┤
│Кратность пены, не менее │ 4 │
├────────────────────────────────────────────────────┴───────────┤
│ <*> Согласно технической документации производителя, но│
│не менее 0,8 МПа. │
└────────────────────────────────────────────────────────────────┘
5.2.2. Масса и основные размеры генераторов должны соответствовать требованиям технической документации на конкретный тип изделий.
5.2.3. Генераторы должны выдерживать гидравлическое давление, превышающее значение максимального рабочего давления, установленного технической документацией, в 1,5 раза, но не менее 1,5 МПа (

).
5.2.4. По устойчивости к климатическим воздействиям генераторы должны соответствовать исполнениям У, ХЛ, М или Т для категории размещения 1 по
ГОСТ 15150.
5.2.5. Генераторы должны быть стойкими к коррозионному воздействию. Детали генераторов, изготовленные из некоррозионно-стойких материалов, должны иметь защитные покрытия в соответствии с требованиями
ГОСТ 9.303.
5.2.6. Поверхность генераторов не должна иметь вмятин и других повреждений. Сварные швы не должны иметь посторонних включений, наплывов, непроваров, прожогов, подрезов.
5.2.7. Поверхности литых деталей не должны иметь трещин, посторонних включений и других дефектов, влияющих на прочность и герметичность стволов и ухудшающих внешний вид. На поверхностях литых деталей не допускаются раковины, длина которых превышает 3 мм, а глубина - более 25% от толщины стенки детали.
5.2.8. Генераторы должны соответствовать следующим показателям надежности:
- гамма-процентный (

) полный срок службы (

) - не менее 15 лет;
- гамма-процентный (

) срок сохраняемости (

) - не менее 3 лет;
- вероятность безотказной работы за цикл - не менее 0,995.
Пеносмесители генераторов должны соответствовать требованиям действующих нормативных документов.
5.3.1. В комплект поставки генераторов должен входить паспорт, объединенный с техническим описанием и инструкцией по эксплуатации в соответствии с ГОСТ 2.601. Количество паспортов, прилагаемых к партии генераторов, должно согласовываться изготовителем с заказчиком.
5.3.2. Техническая документация на генераторы, поступившие по импорту, должна быть выполнена на русском языке и содержать следующие сведения:
- тип и условное обозначение генератора;
- габаритные размеры и массу;
- условный диаметр прохода;
- тип соединения с магистральным трубопроводом и соединительные размеры;
- коррозионную стойкость деталей и комплектующих изделий;
- показатели надежности;
- тип используемого пенообразователя;
- рабочее давление;
- давление пены;
- производительность по раствору пенообразователя;
- копию сертификата по пожарной безопасности, заверенную в соответствии с действующим законодательством РФ.
5.4. Маркировка и упаковка
5.4.1. На корпусе генератора должна быть нанесена маркировка, содержащая следующие данные:
- товарный знак предприятия-изготовителя;
- условное обозначение генератора;
- год выпуска;
- рабочее давление;
- направление движения жидкости.
5.4.2. Маркировка должна сохраняться в течение всего срока службы генератора.
5.4.3. Транспортная маркировка должна соответствовать требованиям
ГОСТ 14192 и (или) договору между изготовителем и заказчиком.
5.4.4. Масса брутто единицы упаковки не должна превышать 80 кг.
5.5. Требования безопасности
5.5.1. Требования безопасности к конструкции генераторов должны соблюдаться в соответствии с требованиями, изложенными в
ГОСТ 12.2.003,
ГОСТ 12.3.046.
5.5.2. Безопасность конструкции генераторов должна обеспечиваться:
- конструктивной схемой генератора;
- фрикционной и электростатической искробезопасностью за счет применения соответствующих материалов и монтажных операций;
- включением требований безопасности в эксплуатационную документацию.
5.6. Требования охраны окружающей среды
5.6.1. При эксплуатации, техническом обслуживании и испытаниях генераторов должны соблюдаться требования
ГОСТ Р 50588 в части охраны окружающей среды.
5.6.2. Используемые пенообразователи по степени воздействия на организм человека не должны превышать III класс опасности по
ГОСТ 12.1.007.
| | ИС МЕГАНОРМ: примечание. Взамен ГОСТ 15.001-73 Постановлением Госстандарта СССР от 25.11.1988 N 3823 введен в действие с 1 марта 1989 года ГОСТ 15.001-88. | |
6.1. Для проверки соответствия генераторов требованиям настоящего стандарта и технической документации проводятся приемосдаточные и периодические испытания в порядке, установленном ГОСТ 15.001, испытания на надежность в соответствии с
ГОСТ 27.410 и сертификационные испытания.
6.2. Генераторы предъявляются на испытания партиями или единичными изделиями. Партия состоит из генераторов одного типоразмера и климатического исполнения, предъявляемых на испытания по одному документу.
6.3. Для испытаний генераторов, предъявленных одной партией, отбирают образцы в количестве 3% от партии, но не менее 3 штук. Для испытаний генераторов, предъявленных несколькими партиями, отбирают образцы не менее чем 30% от партий.
6.4. При приемосдаточных испытаниях каждый генератор проверяют на соответствие требованиям, изложенным в
разделе 4.
6.5. Периодические испытания следует проводить не реже одного раза в год на трех генераторах каждого типоразмера и климатического исполнения из числа прошедших приемосдаточные испытания.
6.6. Испытания на надежность следует проводить один раз в пять лет. Испытаниям подвергаются генераторы, отобранные методом случайного отбора из числа прошедших приемосдаточные испытания.
6.7. Показатель гамма-процентного полного срока службы (согласно
5.2.8) следует проверять обработкой данных, полученных в условиях эксплуатации генераторов путем сбора информации в соответствии с требованиями
[1].
Предельным состоянием следует считать такое техническое состояние генераторов, при котором восстановление их работоспособности невозможно или нецелесообразно.
6.8. Показатель срока сохраняемости следует проверять после хранения генераторов в условиях, предусмотренных технической документацией, в течение одного года в объеме приемосдаточных испытаний.
6.9. Показатели полного срока службы и срока сохраняемости (согласно
5.2.8) контролируют в соответствии с
[2] при следующих исходных данных:
- доверительная вероятность q - 0,9;
- регламентированная вероятность

- 0,9;
- количество испытываемых генераторов - 10 (каждого типоразмера, независимо от климатического исполнения);
- приемочное количество отказов - 0.
6.10. Показатель вероятности безотказной работы (согласно
5.2.8) контролируют в соответствии с
ГОСТ 27.410 одноступенчатым методом при следующих исходных данных:
- риск изготовителя

- 0,1;
- риск потребителя

- 0,1;
- приемочный уровень P - 0,999;
- браковочный уровень P - 0,993;
- количество циклов - 554 (для каждого генератора);
- количество испытываемых генераторов - 2 (каждого типоразмера, независимо от климатического исполнения);
- приемочное количество отказов - 1.
| | ИС МЕГАНОРМ: примечание. В официальном тексте документа, видимо, допущена опечатка: пункт 5.2.9 отсутствует. | |
При сертификации генераторов техническая документация должна пройти экспертизу метрологической службы органа сертификации.
6.12. Результаты проверки распространяются на всю партию (партии).
6.13. При получении неудовлетворительных результатов проводят повторный отбор образцов и повторные испытания. Результаты повторных испытаний являются окончательными и распространяются на весь объем испытываемой продукции.
7.2. Линейные размеры генераторов (согласно
5.2.3) проверяют линейкой по
ГОСТ 427 с ценой деления 1 мм и штангенциркулем по
ГОСТ 166 с ценой деления 0,1 мм.
7.3. Массу генераторов (согласно
5.2.2) и массу единицы упаковки (согласно
5.4.4) измеряют на весах с ценой деления 0,01 кг.
| | ИС МЕГАНОРМ: примечание. В официальном тексте документа, видимо, допущена опечатка: пункт 5.2.9 отсутствует. | |
7.6. Основные параметры (согласно
5.2.1), прочность и герметичность (согласно
5.2.3), показатель вероятности безотказной работы (согласно
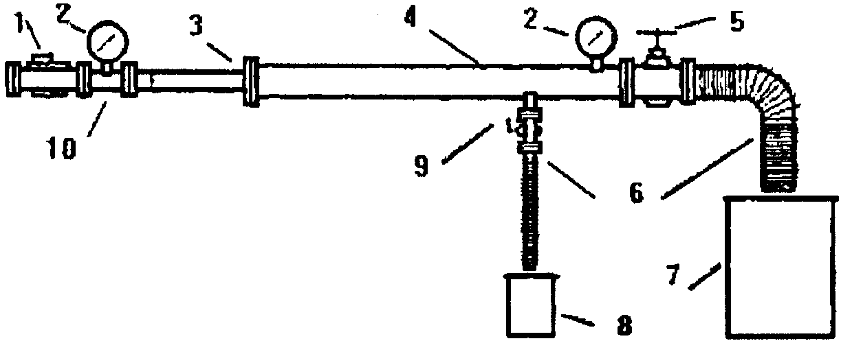
5.2.8) генераторов проверяют на установке, схема которой приведена на рисунке 1.
1 - расходомер; 2 - манометры; 3 - пеногенератор;
4 - основной трубопровод; 5 - задвижка; 6 - эластичные
рукава; 7, 8 - емкости на 2000 и 10 л; 9 - шаровой кран;
10 - дополнительный трубопровод
Рисунок 1. Схема установки для испытания
высоконапорных генераторов
Для подачи раствора пенообразователя (воды) используют стационарные насосы или передвижную пожарную технику.
7.7. Установка состоит из основного (см. рисунок 1, позиция 4) и дополнительного (см. рисунок 1, позиция 10) металлических трубопроводов с отводами, высоконапорного генератора (см. рисунок 1, позиция 3), манометров (см. рисунок 1, позиция 2), шарового крана (см. рисунок 1, позиция 9), задвижки (см. рисунок 1, позиция 5), расходомера (см. рисунок 1, позиция 1), эластичных рукавов (см. рисунок 1, позиция 6), емкостей объемом 10 л (см. рисунок 1, позиция 8) и не менее 2000 л (см. рисунок 1, позиция 7).
Диаметры основного и дополнительного трубопроводов определяют в соответствии с требованиями технической документации на конкретный тип генератора. Длина трубопровода (см.
рисунок 1, позиция 4) должна быть (3 +/- 0,1) м.
Дополнительный трубопровод с манометром (см.
рисунок 1, позиция 2), расходомером (см.
рисунок 1, позиция 1) и пеногенератор (см.
рисунок 1, позиция 3) устанавливаются перед проведением испытаний.
Расположение патрубка с шаровым краном (см.
рисунок 1, позиция 9) должно обеспечивать отбор пены из средней части потока.
7.8. Для проведения испытаний используют следующие средства измерения:
- манометр для определения давления раствора пенообразователя с диапазоном измерений от 0 до 1,6 МПа и классом точности не ниже 1,5;
- манометр для определения давления пены с диапазоном измерений от 0 до 0,4 МПа и классом точности не ниже 1,5;
- расходомер с погрешностью измерения расхода не более +/- 5%;
- секундомер с ценой деления 0,2 с и погрешностью измерений не более +/- 1%;
- весы с ценой деления 0,01 кг;
- барометр, термометр с погрешностями измерения не более +/- 2%.
7.9. Перед началом испытаний проводят следующие операции:
- отобранные образцы генераторов нумеруют и номера заносят в журнал испытаний;
- присоединяют испытываемый образец и средства измерения к испытательной установке;
- проверяют работоспособность элементов испытательной установки.
7.10. Испытания проводят при следующих условиях окружающей среды:
- температура окружающего воздуха (20 +/- 8) °C;
- атмосферное давление от 84 до 106,7 кПа.
7.11. При определении основных нормируемых показателей пеногенераторов следует применять нечувствительные к жесткости воды растворы пленкообразующих пенообразователей.
7.12. За расход раствора пенообразователя принимают расход воды, проходящей через генератор при значении рабочего давления, равном (0,9 +/- 0,1) МПа.
Измерения проводятся через 20 с с момента установившегося значения заданного рабочего давления. Рабочее давление определяют по манометру, установленному перед генератором. Включают секундомер и по расходомеру определяют количество воды, прошедшей через генератор в течение не менее 60 с.
Производительность генератора (

), л/с, рассчитывают по формуле

, (1)
где

- количество воды, прошедшей через расходомер, л;
t - время, с.
7.13. При рабочем давлении проводят не менее трех измерений. Погрешность измерений расхода должна составлять не более 10%.
7.14. Кратность пены определяют при рабочем давлении. Испытания проводят с применением раствора пенообразователя с концентрацией, соответствующей типу пенообразователя.
После установившегося давления перед генератором давление в пенопроводе постепенно повышают за счет перекрытия выходного сечения трубопровода с помощью задвижки (см.
рисунок 1, позиция 5) до значения, равного 40% рабочего давления раствора пенообразователя. Давление раствора пенообразователя и пены фиксируются по манометрам.
Затем открывают шаровой кран (см.
рисунок 1, позиция 9) и с помощью гибкого шланга заполняют пеной емкость объемом

(10,0 +/- 0,1) л. Путем взвешивания определяют массу пены (m).
7.15. Кратность пены (K) рассчитывают по формуле

, (2)
где

- объем пены, л;

- объем, л, раствора пенообразователя, численно равный массе пены, кг.
7.16. При рабочем давлении проводят не менее трех измерений. Погрешность измерений кратности пены должна составлять не более 10%.
7.17. Давление пены определяют при рабочем давлении. Испытания проводят с применением раствора пенообразователя с концентрацией, соответствующей типу пенообразователя.
| | ИС МЕГАНОРМ: примечание. В официальном тексте документа, видимо, допущена опечатка: пункты 6.15 и 6.16 отсутствуют. | |
7.18. При установившемся рабочем давлении постепенно перекрывают задвижку (см.
рисунок 1, позиция 5) и по манометру устанавливают максимальное значение давления пены, определенное технической документацией на конкретный тип изделия. Затем открывают шаровой кран (см.
рисунок 1, позиция 9) и проводят отбор пены и определение ее кратности в соответствии с требованиями 6.15 и 6.16.
7.19. Результат испытаний считают удовлетворительным, если полученное значение коэффициента преобразования давления составляет не менее 40% рабочего давления, а значение кратности пены - не менее 4.
7.20. При рабочем давлении проводят не менее трех измерений. Погрешность измерений давления пены должна составлять не более 10%.
7.21. Прочность и герметичность генераторов (согласно
5.2.3) проверяют гидравлическим давлением воды в течение 1 мин. Пенопровод перекрывают задвижкой (см.
рисунок 1, позиция 5). Отверстия для эжекции воздуха на корпусе генератора должны быть закрыты заглушками. В процессе проведения испытаний не допускается появления следов воды в виде капель и течи на наружных поверхностях деталей и в местах соединений.
7.22. При оценке показателя вероятности безотказной работы циклом считают подачу воды через генератор с постепенным повышением давления до максимального значения рабочего давления, установленного технической документацией, выдержку при этом давлении в течение 60 с и последующим уменьшением давления до 0.
| | ИС МЕГАНОРМ: примечание. Взамен ГОСТ 15.001-73 Постановлением Госстандарта СССР от 25.11.1988 N 3823 введен в действие с 1 марта 1989 года ГОСТ 15.001-88. | |
7.23. Результаты приемосдаточных, периодических испытаний и испытаний на надежность оформляют в соответствии с требованиями ГОСТ 15.001.
7.24. Результаты сертификационных испытаний оформляют в соответствии с требованиями Системы сертификации в области пожарной безопасности.
8. Транспортировка и хранение
8.1. Перевозку генераторов в упаковке следует осуществлять в крытых транспортных средствах в соответствии с правилами, действующими на данном виде транспорта.
8.2. При погрузке и выгрузке следует избегать ударов и других неосторожных механических воздействий на тару.
8.3. Хранение генераторов должно осуществляться согласно
ГОСТ 15150.
[1] Руководящий документ
РД 50-204-87. Надежность в технике. Сбор и обработка информации о надежности изделий в эксплуатации. Основные положения
[2] Руководящий документ
РД 50-690-89. Надежность в технике. Методы оценки показателей надежности по экспериментальным данным. Методические указания.