Главная // Актуальные документы // ГОСТ Р (Государственный стандарт)СПРАВКА
Источник публикации
М.: Стандартинформ, 2014
Примечание к документу
Документ
введен в действие с 1 октября 2014 года.
Название документа
"ГОСТ Р 55908-2013. Национальный стандарт Российской Федерации. Полы. Метод оценки скользкости покрытия"
(утв. и введен в действие Приказом Росстандарта от 17.12.2014 N 2286-ст)
"ГОСТ Р 55908-2013. Национальный стандарт Российской Федерации. Полы. Метод оценки скользкости покрытия"
(утв. и введен в действие Приказом Росстандарта от 17.12.2014 N 2286-ст)
Утвержден и введен в действие
Приказом Федерального
агентства по техническому
регулированию и метрологии
от 17 декабря 2014 г. N 2286-ст
НАЦИОНАЛЬНЫЙ СТАНДАРТ РОССИЙСКОЙ ФЕДЕРАЦИИ
ПОЛЫ
МЕТОД ОЦЕНКИ СКОЛЬЗКОСТИ ПОКРЫТИЯ
Floors. Method of the covering slipperiness evaluation
ГОСТ Р 55908-2013
Дата введения
1 октября 2014 года
1. Разработан Центральным научно-исследовательским и проектно-экспериментальным институтом промышленных зданий и сооружений (ОАО "ЦНИИПромзданий").
2. Внесен Техническим комитетом по стандартизации ТК 465 "Строительство".
3. Утвержден и введен в действие Приказом Федерального агентства по техническому регулированию и метрологии от 17 декабря 2014 г. N 2286-ст.
4. Введен впервые.
Правила применения настоящего стандарта установлены в ГОСТ Р 1.0-2012
(раздел 8). Информация об изменениях к настоящему стандарту публикуется в ежегодном (по состоянию на 1 января текущего года) информационном указателе "Национальные стандарты", а официальный текст изменений и поправок - в ежемесячном информационном указателе "Национальные стандарты". В случае пересмотра (замены) или отмены настоящего стандарта соответствующее уведомление будет опубликовано в ближайшем выпуске информационного указателя "Национальные стандарты". Соответствующая информация, уведомление и тексты размещаются также в информационной системе общего пользования - на официальном сайте Федерального агентства по техническому регулированию и метрологии в сети Интернет (gost.ru).
Настоящий стандарт разработан в соответствии с положениями Федерального
закона N 184-ФЗ "О техническом регулировании" во исполнение требований
статьи 12 Федерального закона N 384-ФЗ "Технический регламент о безопасности зданий и сооружений" о недопустимости несчастных случаев с людьми в результате скольжений, падений, столкновений и ожогов.
Стандарт не учитывает индивидуальные биомеханические особенности структуры и параметры ходьбы человека, его физическое и психическое состояние, а также конструктивные особенности обуви (обувь на высоких каблуках, платформах и т.п.).
Требования настоящего стандарта следует учитывать при разработке нормативных документов и технической документации, устанавливающих нормируемые показатели качества материалов для покрытий полов, обеспечивающие комфортные и безопасные условия при перемещении людей по поверхности покрытий полов.
Настоящий стандарт распространяется на метод оценки в лабораторных условиях скользкости покрытий полов на образцах, изготовленных в лаборатории или отобранных из исследуемого покрытия пола, при перемещении людей в обуви по сухим, влажным и замасленным поверхностям в помещениях зданий различного назначении, включая спортивные залы, производственные цеха, промышленные стиральные помещения, предприятия общественного питания, и босыми ногами при перемещении людей в залах бассейнов, ванных и душевых помещениях.
Стандарт не распространяется на неразрушающие методы испытаний скользкости изготовленного покрытия пола, а также на определение коэффициентов трения между колесом и поверхностью, по которой осуществляется перемещение тележек и напольных транспортных средств.
В настоящем стандарте использованы нормативные ссылки на следующие нормативные документы:
ГОСТ 166-89 (ИСО 3599-76) Штангенциркули. Технические условия
ГОСТ 3916.2-96 Фанера общего назначения с наружными слоями из шпона хвойных пород. Технические условия
ГОСТ 5094-74 Угольники чертежные. Технические условия
ГОСТ 10541-78 Масла моторные универсальные и для автомобильных карбюраторных двигателей. Технические условия
ГОСТ 12632-79 Пластины и детали резиновые пористые для низа обуви. Общие технические условия
ГОСТ 14637-89 Прокат тонколистовой из углеродистой стали обыкновенного качества. Технические условия
ГОСТ 18124-95 Листы хризотилоцементные плоские. Технические условия
ГОСТ 24902-81 Вода хозяйственно-питьевого назначения. Общие требования к полевым методам анализа
ГОСТ 26433.0-85 Система обеспечения точности геометрических параметров в строительстве. Правила выполнения измерений. Общие положения
ГОСТ 26433.1-89 Система обеспечения точности геометрических параметров в строительстве. Правила выполнения измерений. Элементы заводского изготовления
ГОСТ 28570-90 Бетоны. Методы определения прочности по образцам, отобранным из конструкции
ГОСТ 30494-96 Здания жилые и общественные. Параметры микроклимата в помещениях
Примечание. При пользовании настоящим стандартом целесообразно проверить действие ссылочных стандартов в информационной системе общего пользования - на официальном сайте Федерального агентства по техническому регулированию и метрологии в сети Интернет или по ежегодному информационному указателю "Национальные стандарты", который опубликован по состоянию на 1 января текущего года, и по выпускам ежемесячного информационного указателя "Национальные стандарты" за текущий год. Если заменен ссылочный стандарт, на который дана недатированная ссылка, то рекомендуется использовать действующую версию этого стандарта с учетом всех внесенных в данную версию изменений. Если заменен ссылочный стандарт, на который дана датированная ссылка, то рекомендуется использовать версию этого стандарта с указанным выше годом утверждения (принятия). Если после утверждения настоящего стандарта в ссылочный стандарт, на который дана датированная ссылка, внесено изменение, затрагивающее положение, на которое дана ссылка, то это положение рекомендуется применять без учета данного изменения. Если ссылочный стандарт отменен без замены, то положение, в котором дана ссылка на него, рекомендуется применять в части, не затрагивающей эту ссылку.
В настоящем стандарте применены следующие термины с соответствующими определениями:
3.1. Динамический коэффициент трения скольжения: коэффициент трения скольжения при данной постоянной скорости скольжения данной пары трущихся поверхностей.
3.2. Допускаемые коэффициенты трения: значения статического коэффициента трения скольжения и динамического коэффициента трения скольжения, при которых обеспечивается безопасность передвижения людей по покрытию пола.
3.3. Коэффициент трения скольжения: константа пропорции, выражающая отношение силы трения к прижимающей силе данной пары трущихся поверхностей.
3.4. Показатель скользкости: статический и динамический коэффициенты трения или угол скольжения.
3.5. Покрытие пола: верхний слой пола, непосредственно подвергающийся эксплуатационным воздействиям.
3.6. Поправочный коэффициент: коэффициент, учитывающий износ рабочего эталона подошвы обуви или рабочего эталона подошвы ноги человека.
3.7. Рабочий эталон подошвы ноги человека: образец, имитирующий подошву ноги человека.
3.8. Рабочий эталон подошвы обуви: образец, моделирующий подошву обуви.
3.9. Скользкость пола: свойство поверхности покрытия пола, характеризующее степень опасности передвижения по полу людей.
3.10. Статический коэффициент трения скольжения: коэффициент трения скольжения в момент перехода пары трущихся поверхностей от состояния покоя к скольжению.
3.11. Угол скольжения: значение угла наклона в градусах поверхности образца покрытия пола при начале скольжения по ней рабочего эталона подошвы обуви или рабочего эталона, имитирующего подошву ноги человека.
3.12. Эталонный образец покрытия пола: стекло по
ГОСТ Р 54170, предназначенное для проверки работоспособности установки и определения поправочного коэффициента к получаемым результатам испытаний исследуемых образцов покрытий полов.
В настоящем стандарте применены следующие обозначения:
Ктр | коэффициент трения скольжения; |
Ктр статический | статический коэффициент трения скольжения; |
Уск | угол скольжения эталонного образца подошвы обуви или эталонного образца подошвы ноги человека по исследуемому образцу покрытия; |
Ускэт | угол скольжения эталонного образца подошвы обуви или эталонного образца подошвы ноги человека по эталонному образцу покрытия пола; |
| поправочный коэффициент для угла скольжения при скольжении рабочего эталона подошвы обуви или рабочего эталона подошвы ноги человека по испытываемому образцу покрытия пола, учитывающий влияние износа рабочего эталона подошвы обуви или рабочего эталона подошвы ноги человека; |
| поправочный коэффициент для угла скольжения, учитывающий влияние износа рабочего эталона подошвы обуви при его скольжении по испытываемому покрытию пола с сухой поверхностью; |
| поправочный коэффициент для угла скольжения, учитывающий влияние износа рабочего эталона подошвы обуви при его скольжении по испытываемому покрытию пола с влажной поверхностью; |
| поправочный коэффициент для угла скольжения, учитывающий влияние износа рабочего эталона подошвы обуви при его скольжении по испытываемому покрытию пола с замасленной поверхностью; |
| поправочный коэффициент для угла скольжения, учитывающий влияние износа рабочего эталона подошвы ноги человека при его скольжении по испытываемому покрытию пола с влажной поверхностью; |
Ктр динамический | динамический коэффициент трения скольжения; |
Fтр | сила трения, возникающая при скольжении рабочего эталона подошвы обуви или рабочего эталона подошвы ноги человека по исследуемому образцу покрытия; |
Fтрэт | сила трения, возникающая при скольжении рабочего эталона подошвы обуви или рабочего эталона подошвы ноги человека по эталонному образцу покрытия пола; |
| поправочный коэффициент для силы трения, возникающей при скольжении рабочего эталона подошвы обуви или рабочего эталона подошвы ноги человека по испытываемому образцу покрытия пола, учитывающий влияние износа рабочего эталона подошвы обуви или рабочего эталона подошвы ноги человека; |
| поправочный коэффициент для силы трения, учитывающий влияние износа рабочего эталона подошвы обуви при его скольжении по испытываемому покрытию пола с сухой поверхностью; |
| поправочный коэффициент для силы трения, учитывающий влияние износа рабочего эталона подошвы обуви при его скольжении по испытываемому покрытию пола с влажной поверхностью; |
| поправочный коэффициент для силы трения, учитывающий влияние износа рабочего эталона подошвы обуви при его скольжении по испытываемому покрытию пола с замасленной поверхностью; |
| поправочный коэффициент для силы трения, учитывающий влияние износа рабочего эталона подошвы ноги человека при его скольжении по испытываемому покрытию пола с влажной поверхностью; |
Ктр предельный | допускаемые коэффициенты трения при ходьбе человека по горизонтальной плоскости; |
К1тр предельный | допускаемые коэффициенты трения при ходьбе человека по наклонной плоскости; |
К2тр предельный | допускаемые коэффициенты трения при ходьбе человека по горизонтальной плоскости с дополнительным горизонтальным усилием (например, переноска тяжестей); |
К3тр предельный | допускаемые коэффициенты трения при ходьбе человека по наклонной плоскости с дополнительным горизонтальным усилием (например, переноска тяжестей). |
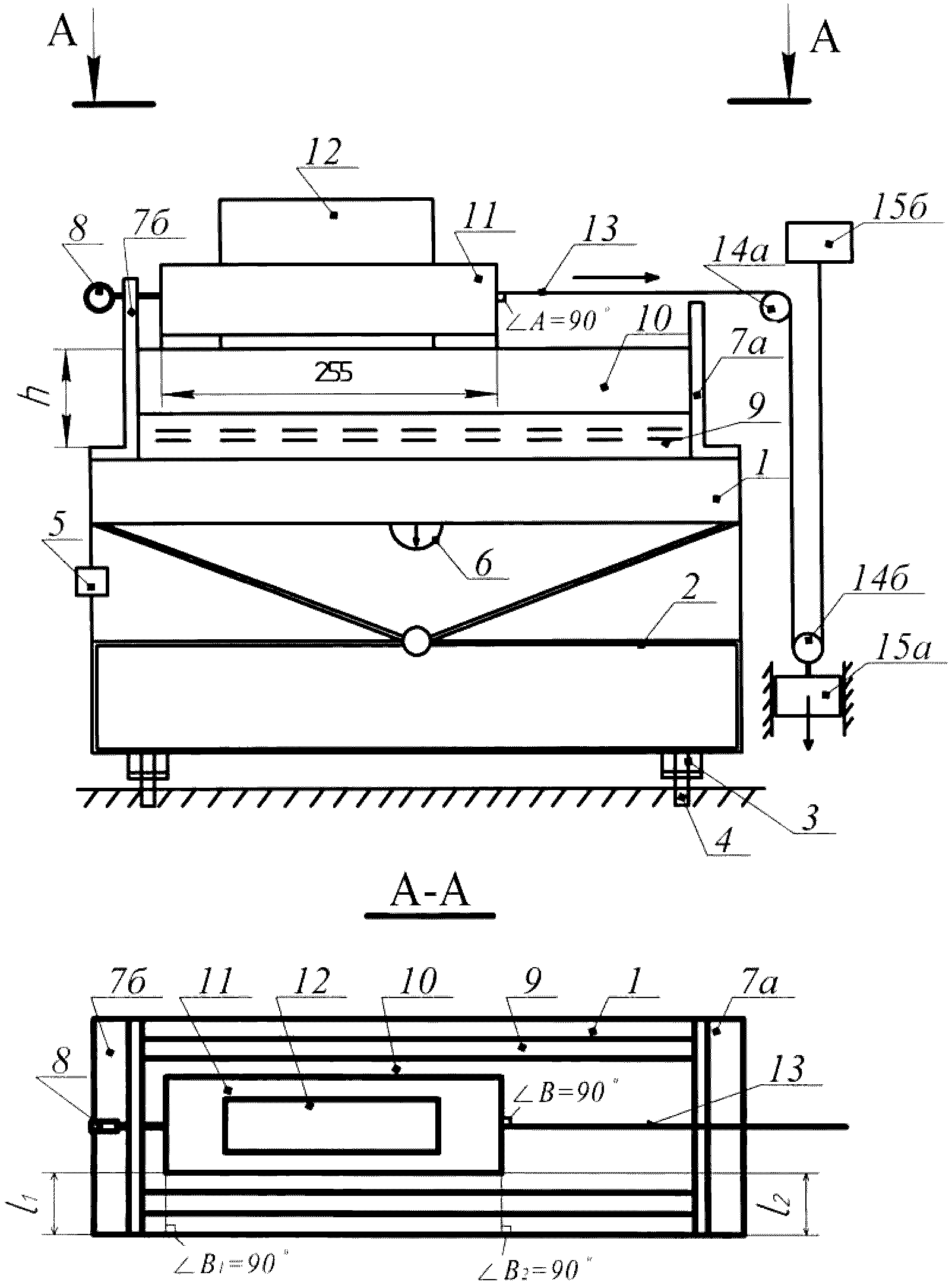
5.1. Для определения противоскользящих свойств поверхности покрытия пола используют универсальный испытательный стенд, позволяющий производить оценку безопасности передвижения по полу людей по значениям коэффициентов трения.
5.2. Испытательный стенд (рисунок 1) состоит из двухконсольной платформы 1 размером 950 x 700 мм с жестким дном, закрепленной посредине ее длины на горизонтальной оси к станине 2, жестко закрепленной на основании с помощью анкеров 4, оборудованных регулировочными гайками 3. Один из торцов платформы соединен с винтовым домкратом 5, позволяющим изменять ее угол наклона от 0° до 50°. На платформе расположены два упорных ребра 7а и 7б и уровнемер 6. Ребро 7а жестко закреплено к платформе, а ребро 7б способно перемещаться по ней. На упорном ребре 7б установлен индикатор часового типа 8. Передвижная грузовая платформа 11 размером 130 x 255 мм устанавливается на образец исследуемого покрытия пола 10, размещенный на двухконсольной платформе. Она выполнена в виде стальной коробки с наклеенным на ее опорной части с использованием полимерного клея по
ГОСТ 30535 рабочим эталоном подошвы обуви или рабочим эталоном подошвы ноги человека. Размеры и форма рабочего эталона подошвы обуви из пористой резины марки Б по ГОСТ 12632, а также схема его крепления на опорной части передвижной грузовой платформы приведены на
рисунке 2, а размер и форма рабочего эталона подошвы ноги человека из пенополиэтилена марки Пенофол-А по
[1], а также схема его крепления на опорной части передвижной грузовой платформы приведены на
рисунке 3. В передвижную грузовую платформу устанавливают прижимающий груз 12 массой 40 кг, что с учетом массы самой платформы обеспечивает создание прижимной силы (430 +/- 0,5) Н. При принятых размерах рабочего эталона подошвы обуви и рабочего эталона подошвы ноги человека данная прижимная сила обеспечивает передачу на поверхность образца покрытия пола удельного давления, равного 10,7 Н/см
2, что соответствует удельному давлению от человека массой 75 кг. К передвижной грузовой платформе закреплен трос 13, который через систему блоков 14а и 14б подсоединен к измерительной части разрывной машины 15а и 15б. Блок 14а располагается на подвижной нижней части разрывной машины 15а, а блок 14б на верхней измерительной части разрывной машины 15б. Трос 13 в процессе испытаний должен быть горизонтален и перпендикулярен к передвижной грузовой платформе 11, что достигается размещением между образцом исследуемого покрытия пола 10 и двухконсольной платформой 1 листа фанеры 9 необходимой толщины, зависящей от толщины образца исследуемого покрытия пола, и соответствующим размещением передвижной грузовой платформы на поверхности образца покрытия пола.

Рисунок 1. Принципиальная схема испытательного стенда
1 - двухконсольная платформа; 2 - станина;
3 - регулировочная гайка; 4 - анкер, 5 - винтовой домкрат;
6 - уровнемер; 7а и 7б - упорные ребра; 8 - индикатор
часового типа; 9 - лист фанеры; 10 - образец покрытия пола;
11 - передвижная грузовая платформа с рабочим эталоном
подошвы обуви или рабочим эталоном подошвы ноги человека;
12 - прижимающий груз; 13 - трос; 14а и 14б - система
блоков; 15а и 15б - разрывная машина
Рисунок 2. Схема крепления рабочего эталона подошвы обуви
1 - рабочий эталон подошвы обуви;
2 - нижняя поверхность передвижной грузовой платформы
Рисунок 3. Схема крепления рабочего
эталона подошвы ноги человека
1 - рабочий эталон ноги человека;
2 - нижняя поверхность передвижной платформы
5.3. Требования, предъявляемые к испытательному стенду
5.3.1. Значение уклона двухконсольной платформы в продольном и поперечном направлении - не более 0,1%.
5.3.2. Прижимная сила - 430 +/- 0,5 Н.
5.3.3. Сдвигающая сила - до 1000 Н.
5.3.4. Скорость перемещения передвижной грузовой платформы - 500 мм/мин.
5.3.5. Длина пути перемещения передвижной грузовой платформы - не менее 250 мм.
6. Подготовка к испытанию
6.1. Испытание проводят на образцах покрытия пола, изготовляемых в лабораторных условиях или отобранных из исследуемых готовых полов, выполненных на объектах строительства. Образцы пола должны быть прямоугольной формы с длиной не более 800 мм и не менее 400 мм и шириной не более 650 мм и не менее 200 мм.
6.2. Опытные образцы покрытий полов из рулонных материалов (линолеум, ковровые покрытия), паркетных планок, мелкоразмерных керамических или керамогранитных плиток, из сухих строительных смесей на основе цемента, а также эпоксидных, полиуретановых, полиэфирных и прочих полимерных компаундов выполняют по жесткому подстилающему слою из стального листа по
ГОСТ 14637, хризотилового плоского листа по
ГОСТ 18124 или древесноволокнистой плиты по
ГОСТ 4598, имитирующих бетонное основание или выравнивающую бетонную стяжку.
6.3. Образцы исследуемых бетонных, полимерцементобетонных, асфальтобетонных, ксилолитовых и мозаичных покрытий полов изготовляют без дополнительного подстилающего слоя.
6.4. Материалы, из которых выполняется опытный образец покрытия пола, а также технология его изготовления должны удовлетворять требованиям соответствующих нормативных документов. Покрытие должно соответствовать требованиям, предъявляемым
СП 29.13330.2011 к покрытиям полов.
Испытания проводят после достижения материалами покрытия пола проектной прочности, регламентируемой соответствующими нормативными документами и технической документацией для данного вида покрытия пола.
6.5. Перед испытанием следует проверить наличие адгезии покрытия пола к подстилающему основанию простукиванием молоточком поверхности испытываемого образца пола.
6.6. Испытания исследуемых образцов крупноразмерных керамических или керамогранитных плиток, бетонных или мозаичных плит, а также паркетных досок и ламинированного паркета допускается проводить при укладке их "насухо" на платформу испытательного стенда.
6.7. Исследование влияния тонкослойных отделочных слоев (лаков и пропиток) на скользкость покрытия пола осуществляется на вышеуказанных образцах покрытия с нанесенным на их лицевую поверхность лакового или пропиточного слоя.
6.8. Отбор образцов из готовых покрытий полов производят выпиливанием с помощью распиловочных станков, указанных в
ГОСТ 28570, с режущим инструментом в виде отрезных алмазных дисков или алмазных сегментных кругов. Выпиливание образцов осуществляется на всю толщину покрытия пола, включая адгезионные к покрытию элементы пола.
6.9. Изготовленные для исследования образцы должны иметь маркировку, отражающую их принадлежность к конкретному объекту, с приложением схемы места их отбора.
6.10. Опорная поверхность исследуемого образца с целью обеспечить плотности его опирания на платформу испытательного стенда и горизонтальность положения в случае необходимости должна быть выровнена цементно-песчаным раствором марки не ниже М150.
6.11. Перед началом испытаний горизонтальность положения двухконсольной платформы испытательного стенда в соответствии с требованиями
ГОСТ 26433.0 и
ГОСТ 26433.1 проверяют уровнем, соответствующим требованиям
ГОСТ 9416. В случае необходимости осуществляют выравнивание платформы испытательного стенда с использованием регулировочных гаек.
6.12. Рабочий эталон подошвы обуви или рабочий эталон подошвы ноги человека и поверхность исследуемого образца покрытия пола должны быть очищены от пыли мягкой щеткой.
6.13. В помещении для проведения испытаний должны быть нормальные температурно-влажностные условия: в соответствии с требованиями
ГОСТ 30494 - температура воздуха +(18 +/- 2) °C, относительная влажность - не более 60%. По согласованию с заказчиком могут быть проведены испытания и при других температурно-влажностных условиях. Кондиционирование приготовленных к испытанию образцов покрытий полов осуществляется в течение не менее 8 ч.
7.1. Определение статического коэффициента трения скольжения К
тр статический
7.1.1. Метод базируется на определении угла скольжения рабочего эталона подошвы обуви или рабочего эталона подошвы ноги человека по исследуемому образцу покрытия пола Уск.
7.1.2. Определение угла скольжения рабочего эталона подошвы обуви или рабочего эталона подошвы ноги человека по исследуемому образцу покрытия пола включает в себя следующие этапы.
7.1.2.1. Эталонный образец покрытия пола - стекло по
ГОСТ Р 54170 размещается на расположенной горизонтальной двухконсольной платформе испытательного стенда таким образом, чтобы он упирался в неподвижное упорное ребро 7а.
7.1.2.2. При определении значения угла скольжения по мокрой или замасленной поверхности покрытия пола поверхность эталонного образца покрытия пола и поверхность рабочего эталона подошвы обуви (при исследовании покрытий полов, предназначенных для передвижения по ним людей в обуви) или рабочего эталона подошвы ноги человека (при исследовании покрытий полов, предназначенных для передвижения по ним людей босыми ногами) при помощи пульверизатора смачивается водой по
ГОСТ 24902 или замасливается моторным маслом по
ГОСТ 10541.
7.1.2.3. Передвижную грузовую платформу 11 с прикрепленным на ней рабочим эталоном подошвы обуви или рабочим эталоном подошвы ноги человека, подготовленным в соответствии с требованиями
6.11, устанавливают на образец эталонного покрытия пола так, чтобы ее продольная ось совпадала с направлением скольжения, и затем загружают прижимающим грузом 12 массой 40 кг. Проверку правильности установки передвижной грузовой платформы осуществляют путем измерения с помощью угольника по ГОСТ 5094 расстояния между точками на боковой грани передвижной грузовой платформы и боковой гранью двухконсольной платформы испытательного стенда. Проводят не менее двух измерений. Критерием правильности установки является равенство данных расстояний.
| | ИС МЕГАНОРМ: примечание. Текст дан в соответствии с официальным текстом документа. | |
7.1.2.4. После перемещения подвижного упорного ребра 7б с размещенным на нем индикатором часового типа 8 до контакта его с передвижной грузовой платформой 11 его закрепляется.
7.1.2.5. С помощью винтового домкрата 5 осуществляют наклон двухконсольной платформы испытательного стенда со скоростью не более 10 град/мин, фиксируя при этом индикатором часового типа 8 начало перемещения передвижной грузовой платформы 11, за которое принимают значение перемещения, равное 2 мм.
7.1.2.6. Угол наклона двухконсольной платформы испытательного стенда, определенный по уровнемеру 6, соответствующий перемещению передвижной грузовой платформы 11 на 2 мм, определяет значение угла скольжения эталонного образца подошвы обуви или эталонного образца подошвы ноги человека по эталонному образцу покрытия пола Ускэт.
7.1.2.7. После окончания каждого разового скольжения при испытании покрытия пола с сухой поверхностью рабочий эталон подошвы обуви перед каждым следующим испытанием очищают в соответствии с требованиями
6.11, передвижную грузовую платформу возвращают в исходное положение, а рабочий эталон покрытия пола перемещают таким образом, чтобы следующее скольжение осуществлялось по новой поверхности.
7.1.2.8. Результирующее значение угла скольжения рабочего эталона подошвы обуви или рабочий эталон подошвы ноги человека по эталонному образцу покрытия пола У
скэт - среднеарифметическое значение замеров по результатам трех измерений. Если разница между значениями замеров составляет более 10%, проводят дополнительные замеры.
7.1.2.9. Используя полученное результирующее значение угла скольжения рабочего эталона подошвы обуви или рабочего эталона подошвы ноги человека по эталонному образцу покрытия пола У
скэт, проводят расчет поправочного коэффициента для угла скольжения

, учитывающего влияние износа рабочего эталона подошвы обуви или рабочего эталона подошвы ноги человека, по формулам:
- поправочного коэффициента для угла скольжения, учитывающего влияние износа рабочего эталона подошвы обуви при его скольжении по испытываемому покрытию пола с сухой поверхностью,


, (7.1)
где 33° - контрольный угол скольжения эталонного образца подошвы обуви по эталонному образцу покрытия пола с сухой поверхностью;
УскэтI - результирующее значение угла скольжения рабочего эталона подошвы обуви по эталонному образцу покрытия пола с сухой поверхностью.
- поправочного коэффициента для угла скольжения, учитывающего влияние износа рабочего эталона подошвы обуви при его скольжении по испытываемому покрытию пола с влажной поверхностью,


, (7.2)
где 24° - контрольный угол скольжения рабочего эталона подошвы обуви по эталонному образцу покрытия пола с влажной поверхностью;
УскэтII - результирующее значение угла скольжения рабочего эталона подошвы обуви по эталонному образцу покрытия пола с влажной поверхностью.
- поправочного коэффициента для угла скольжения, учитывающего влияние износа рабочего эталона подошвы обуви при его скольжении по испытываемому покрытию пола с замасленной поверхностью,


, (7.3)
где 17° - контрольный угол скольжения рабочего эталона подошвы обуви по эталонному образцу покрытия пола с замасленной поверхностью;
УскэтIII - результирующее значение угла скольжения рабочего эталона подошвы обуви по эталонному образцу покрытия пола с замасленной поверхностью;
- поправочного коэффициента для угла скольжения, учитывающего влияние износа рабочего эталона подошвы ноги человека при его скольжении по испытываемому покрытию пола с влажной поверхностью,


, (7.4)
где 12° - контрольный угол скольжения рабочего эталона подошвы ноги человека по эталонному образцу покрытия пола с влажной поверхностью;
УскэтIV - результирующее значение угла скольжения рабочего эталона подошвы ноги человека по эталонному образцу покрытия пола с влажной поверхностью.
Должно соблюдаться условие

. В противном случае необходимо заменить рабочий эталон подошвы обуви или рабочий эталон подошвы ноги человека.
7.1.2.10. Испытания исследуемого образца покрытия пола производят в последовательности и по указаниям, изложенным в
7.1.2.1 -
7.1.2.8.
7.1.2.11. Используя полученное результирующее значение угла скольжения рабочего эталона подошвы обуви или рабочего эталона подошвы ноги человека по исследуемому образцу покрытия пола У
ск с учетом поправочного коэффициента

, учитывающего влияние износа рабочего эталона подошвы обуви или рабочего эталона подошвы ноги человека, статический коэффициент трения скольжения К
тр статический рассчитывают по формуле

, (7.5)
где

- поправочный коэффициент, учитывающий влияние износа рабочего эталона подошвы обуви или рабочего эталона подошвы ноги человека;
Уск - результирующее значение угла скольжения рабочего эталона подошвы обуви или рабочего эталона подошвы ноги человека по исследуемому образцу покрытия.
7.2. Определение динамического коэффициента трения скольжения К
тр динамический
7.2.1. Метод базируется на определении силы трения при горизонтальном перемещении рабочего эталона подошвы обуви или рабочего эталона подошвы ноги человека по исследуемому образцу покрытия пола Fтр.
7.2.2. Определение силы трения рабочего эталона подошвы обуви или рабочего эталона подошвы ноги человека по исследуемому образцу покрытия пола включает в себя следующие этапы.
7.2.2.1. С помощью штангенциркуля по
ГОСТ 166 измеряют толщину эталонного образца покрытия пола - стекла по
ГОСТ Р 54170 и подбирают толщину листа фанеры по
ГОСТ 3916.2, обеспечивающего горизонтальность действия сдвигающей силы, - совместная толщина эталонного образца покрытия пола и листа фанеры должна быть равной h (см.
рисунок 1).
7.2.2.2. Лист фанеры и эталонный образец покрытия пола - стекло последовательно размещаются на расположенной горизонтально двухконсольной платформе испытательного стенда таким образом, чтобы они упирались в неподвижное упорное ребро 7а.
7.2.2.3. Передвижная грузовая платформа 11 с прикрепленным на ней рабочим эталоном подошвы обуви или рабочим эталоном подошвы ноги человека, подготовленным в соответствии с требованиями
6.11, устанавливается на образец эталонного покрытия пола так, чтобы ее продольная ось совпадала с направлением скольжения и чтобы сдвигающая сила была перпендикулярна торцевой грани грузовой платформы, и затем загружается прижимающим грузом 12 массой 40 кг.
7.2.2.4. К передвижной грузовой платформе закрепляется трос 13, который через систему блоков 14а и 14б подсоединяется к измерительной части разрывной машины 15б.
7.2.2.5. Включают разрывную машину, устанавливают скорость передвижения рабочего эталона подошвы обуви или рабочего эталона подошвы ноги человека, равную 100 мм/мин, и на регистрирующем приборе разрывной машины регистрируют возникающую сдвигающую силу. При достижении ею значения, равного 20 Н (2 кг), разрывная машина выключается без снятия нагрузки.
7.2.2.6. Осуществляется проверка правильности установки подвижной грузовой платформы методом измерения с помощью угольника по ГОСТ 5094 угла, образованного натянутым тросом с торцевой гранью платформы (
рисунок 1 
). Критерием правильности установки подвижной грузовой платформы является равенство данного угла 90°. В случае необходимости проводят корректировку расположения подвижной грузовой платформы методом ее смещения по поверхности эталонного покрытия пола.
7.2.2.7. Включают разрывную машину, устанавливают скорость передвижения рабочего эталона подошвы обуви или рабочего эталона подошвы ноги человека, равную 500 мм/мин, и на регистрирующем приборе разрывной машины получают график зависимости силы от перемещения. Вид зависимости приведен на рисунке 4. Длина пути скольжения рабочего эталона подошвы обуви или рабочего эталона подошвы ноги человека должна составлять 60 - 120 мм.
Рисунок 4. Принципиальная схема зависимости
сдвигающей силы от перемещения
7.2.2.8. После окончания каждого разового скольжения при испытании покрытия пола с сухой поверхностью рабочий эталон подошвы обуви или рабочий эталон подошвы ноги человека очищают в соответствии с требованиями
6.11, возвращают в исходное положение, а эталонный образец покрытия пола перемещают таким образом, чтобы следующее скольжение осуществлялось по новой поверхности.
7.2.2.9. Определяют значение сдвигающей силы при скольжении рабочего эталона подошвы обуви или рабочего эталона подошвы ноги человека по эталонному образцу покрытия пола. За основу берется средний отрезок графической записи, соответствующий длине скольжения 50 - 100 мм. Значение сдвигающей силы определяется планиметрически или путем разбивки полученного графика прямой, параллельной оси абсцисс, таким образом, чтобы сумма плоскостей, расположенных над прямой, была равна сумме плоскостей, расположенных под ней. В точке пересечения прямой с осью ординат отсчитывают значение сдвигающей силы в ньютонах (Н). Результирующее значение сдвигающей силы определяют среднеарифметическим значением результатов трех измерений. Если разница между значениями составляет более 10%, проводят дополнительные замеры.
7.2.2.10. Используя полученное результирующее значение сдвигающей силы при скольжении рабочего эталона подошвы обуви или рабочего эталона подошвы ноги человека по эталонному образцу покрытия пола F
трэт, проводят расчет поправочного коэффициента для силы трения, возникающей при скольжении рабочего эталона подошвы обуви или рабочего эталона подошвы ноги человека по испытываемому образцу покрытия пола, учитывающего влияние износа рабочего эталона подошвы обуви или рабочего эталона подошвы ноги человека,

по формулам:
- поправочного коэффициента для силы трения, учитывающего влияние износа рабочего эталона подошвы обуви при его скольжении по испытываемому покрытию пола с сухой поверхностью,


, (7.6)
где 259 - контрольное значение сдвигающей силы при скольжении рабочего эталона подошвы обуви по эталонному образцу покрытия пола с сухой поверхностью, в Н;
FтрэтI - сдвигающая сила при скольжении рабочего эталона подошвы обуви по эталонному образцу покрытия пола с сухой поверхностью, в Н;
- поправочного коэффициента для силы трения, учитывающего влияние износа рабочего эталона подошвы обуви при его скольжении по испытываемому покрытию пола с влажной поверхностью,


, (7.7)
где 172 - контрольное значение сдвигающей силы при скольжении рабочего эталона подошвы обуви по эталонному образцу покрытия пола с влажной поверхностью, в Н;
FтрэтII - сдвигающая сила при скольжении рабочего эталона подошвы обуви по эталонному образцу покрытия пола с влажной поверхностью (в Н);
- поправочного коэффициента для силы трения, учитывающего влияние износа рабочего эталона подошвы обуви при его скольжении по испытываемому покрытию пола с замасленной поверхностью,


, (7.8)
где 113 - контрольное значение сдвигающей силы при скольжении рабочего эталона подошвы обуви по эталонному образцу покрытия пола с замасленной поверхностью, в Н;
FтрэтIII - сдвигающая сила при скольжении рабочего эталона подошвы обуви по эталонному образцу покрытия пола с замасленной поверхностью, в Н;
- поправочного коэффициента для силы трения, учитывающего влияние износа рабочего эталона ноги человека при его скольжении по испытываемому покрытию пола с влажной поверхностью,


, (7.9)
где 60 - контрольное значение сдвигающей силы при скольжении рабочего эталона подошвы ноги человека по эталонному образцу покрытия пола с влажной поверхностью, в Н;
FтрэтIV - сдвигающая сила при скольжении рабочего эталона подошвы ноги человека по эталонному образцу покрытия пола с влажной поверхностью, в Н.
Должно соблюдаться условие

. В противном случае необходимо заменить рабочий эталон подошвы обуви или рабочий эталон подошвы ноги человека.
7.2.2.11. Испытания исследуемого образца покрытия пола производят в последовательности и по указаниям, изложенным в
7.2.2.1 -
7.2.2.9.
7.2.2.12. Используя полученное результирующее значение сдвигающей силы при скольжении рабочего эталона подошвы обуви или рабочего эталона подошвы ноги человека по исследуемому образцу покрытия пола F
тр и поправочный коэффициент

, учитывающий влияние износа рабочего эталона подошвы обуви или рабочего эталона подошвы ноги человека, рассчитывают динамический коэффициент трения скольжения К
тр динамический по формуле:

, (7.10)
где

- поправочный коэффициент, учитывающий влияние износа рабочего эталона подошвы обуви или рабочего эталона подошвы ноги человека;
Fтр - сила трения при скольжении рабочего эталона подошвы обуви или рабочего эталона подошвы ноги человека по исследуемому образцу покрытия пола;
FN - прижимная сила от прижимного груза и массы платформы, равная (430 +/- 0,5) Н.
8. Оценка скользкости покрытий полов
Допускаемые коэффициенты трения для различных областей применения покрытия пола из условия безопасности передвижения по нему людей приведены в
СП 29.13330.2011. Покрытие считается безопасным для перемещения человека при условии, что значения статического К
тр статический и динамического К
тр статический коэффициентов трения выше допускаемого значения коэффициента трения К
тр предельный в конкретной области применения покрытия пола.
[1] ТУ 2244-056-04696843-2001 Утеплитель "Пенофол"