Главная // Актуальные документы // ГОСТ Р (Государственный стандарт)СПРАВКА
Источник публикации
М.: Стандартинформ, 2013
Примечание к документу
Документ утратил силу с 01.01.2024 в связи с изданием
Приказа Росстандарта от 13.07.2023 N 513-ст. Взамен введен в действие
ГОСТ Р 54571-2023.
Документ
введен в действие с 1 января 2013 года.
Название документа
"ГОСТ Р 54571-2011. Национальный стандарт Российской Федерации. Пропанты магнезиально-кварцевые. Технические условия"
(утв. и введен в действие Приказом Росстандарта от 30.11.2011 N 659-ст)
"ГОСТ Р 54571-2011. Национальный стандарт Российской Федерации. Пропанты магнезиально-кварцевые. Технические условия"
(утв. и введен в действие Приказом Росстандарта от 30.11.2011 N 659-ст)
Утвержден и введен в действие
агентства по техническому
регулированию и метрологии
от 30 ноября 2011 г. N 659-ст
НАЦИОНАЛЬНЫЙ СТАНДАРТ РОССИЙСКОЙ ФЕДЕРАЦИИ
ПРОПАНТЫ МАГНЕЗИАЛЬНО-КВАРЦЕВЫЕ
ТЕХНИЧЕСКИЕ УСЛОВИЯ
Magnesial-quartz proppants. Specifications
ISO 13503-2:2006
(NEQ)
ГОСТ Р 54571-2011
Дата введения
1 января 2013 года
Цели и принципы стандартизации в Российской Федерации установлены Федеральным
законом от 27 декабря 2002 г. N 184-ФЗ "О техническом регулировании", а правила применения национальных стандартов Российской Федерации -
ГОСТ Р 1.0-2004 "Стандартизация в Российской Федерации. Основные положения".
1. Разработан Обществом с ограниченной ответственностью "Научно-технический центр "Огнеупоры" (ООО "НТЦ "Огнеупоры").
2. Внесен Техническим комитетом по стандартизации ТК 9 "Огнеупоры".
3. Утвержден и введен в действие
Приказом Федерального агентства по техническому регулированию и метрологии от 30 ноября 2011 г. N 659-ст.
4. Настоящий стандарт разработан с учетом основных нормативных положений международного стандарта ИСО 13503-2:2006 "Промышленность нефтяная и газовая. Растворы и материалы для вскрытия продуктивного пласта. Часть 2. Измерения свойств расклинивающих наполнителей, используемых для гидравлического разрыва пласта и заполнения скважинного фильтра гравием" (ISO 13503-2:2006 "Petroleum and natural gas industries - Completion fluids and materials - Part 2: Measurement of properties of proppants used in hydraulic fracturing and gravel-packing operations", NEQ), включая техническую поправку AMENDMENT 1:2009.
5. Введен впервые.
Информация об изменениях к настоящему стандарту публикуется в ежегодно издаваемом информационном указателе "Национальные стандарты", а текст изменений и поправок - в ежемесячно издаваемых информационных указателях "Национальные стандарты". В случае пересмотра (замены) или отмены настоящего стандарта соответствующее уведомление будет опубликовано в ежемесячно издаваемом информационном указателе "Национальные стандарты". Соответствующая информация, уведомление и тексты размещаются также в информационной системе общего пользования - на официальном сайте Федерального агентства по техническому регулированию и метрологии в сети Интернет.
Настоящий стандарт распространяется на магнезиально-кварцевые пропанты (далее - пропанты), предназначенные для использования при добыче нефти методом гидравлического разрыва пласта.
В настоящем стандарте использованы нормативные ссылки на следующие стандарты:
ГОСТ Р 12.4.230.1-2007 (ЕН 166-2002) Система стандартов безопасности труда. Средства индивидуальной защиты глаз. Общие технические требования
ГОСТ Р ИСО 5725-1-2002 Точность (правильность и прецизионность) методов и результатов измерений. Часть 1. Основные положения и определения
ГОСТ Р 50779.10-2000 (ИСО 3534-1-93) Статистические методы. Вероятность и основы статистики. Термины и определения
ГОСТ Р 51568-99 (ИСО 3310-1-90) Сита лабораторные из металлической проволочной сетки. Технические условия
ГОСТ Р 53228-2008 Весы неавтоматического действия. Часть 1. Метрологические и технические требования. Испытания
ГОСТ 12.1.005-88 Система стандартов безопасности труда. Общие санитарно-гигиенические требования к воздуху рабочей зоны
ГОСТ 12.1.007-76 Система стандартов безопасности труда. Вредные вещества. Классификация и общие требования безопасности
ГОСТ 12.3.009-76 Система стандартов безопасности труда. Работы погрузочно-разгрузочные. Общие требования безопасности
ГОСТ 12.4.028-76 Система стандартов безопасности труда. Респираторы ШБ-1 "Лепесток". Технические условия
ГОСТ 12.4.041-2001 Система стандартов безопасности труда. Средства индивидуальной защиты органов дыхания фильтрующие. Общие технические требования
ГОСТ 17.0.0.01-76 Система стандартов в области охраны природы и улучшения использования природных ресурсов. Основные положения
ГОСТ 17.2.3.02-78 Охрана природы. Атмосфера. Правила установления допустимых выбросов вредных веществ промышленными предприятиями
ГОСТ 2211-65 (ИСО 5018-83) Огнеупоры и огнеупорное сырье. Методы определения плотности
| | ИС МЕГАНОРМ: примечание. ГОСТ 2642.0-86 утратил силу с 1 января 2016 года в связи с введением в действие ГОСТ 2642.0-2014 (Приказ Росстандарта от 31.03.2015 N 206-ст). | |
ГОСТ 2642.0-86 Огнеупоры и огнеупорное сырье. Общие требования к методам анализа
ГОСТ 2642.3-97 Огнеупоры и огнеупорное сырье. Методы определения оксида кремния (IV)
ГОСТ 2642.8-97 Огнеупоры и огнеупорное сырье. Методы определения оксида магния
ГОСТ 9546-75 Реактивы. Аммоний фтористый кислый. Технические условия
ГОСТ 10484-78 Реактивы. Кислота фтористоводородная. Технические условия
ГОСТ 24717-2004 Огнеупоры и огнеупорное сырье. Маркировка, упаковка, транспортирование и хранение
ГОСТ 25336-82 Посуда и оборудование лабораторные стеклянные. Типы, основные параметры и размеры
ГОСТ 30108-94 Материалы и изделия строительные. Определение удельной эффективной активности естественных радионуклидов
Примечание. При пользовании настоящим стандартом целесообразно проверить действие ссылочных стандартов в информационной системе общего пользования - на официальном сайте Федерального агентства по техническому регулированию и метрологии в сети Интернет или по ежегодно издаваемому информационному указателю "Национальные стандарты", который опубликован по состоянию на 1 января текущего года, и по соответствующим ежемесячно издаваемым информационным указателям, опубликованным в текущем году. Если ссылочный стандарт заменен (изменен), то при пользовании настоящим стандартом следует руководствоваться заменяющим (измененным) стандартом. Если ссылочный стандарт отменен без замены, то положение, в котором дана ссылка на него, применяется в части, не затрагивающей эту ссылку.
3.1.
Пропанты: гранулированный огнеупорный порошок высокой прочности, предназначенный для использования при добыче нефти способом гидравлического разрыва пласта. |
3.2. Магнезиально-кварцевые пропанты: пропанты, изготовленные на основе силиката магния и кварцевого песка.
3.3. Фракция пропантов: совокупность гранул пропантов определенного размера.
3.4. Основная фракция пропантов: совокупность гранул пропантов, большая часть которых, проходя через сито, номер которого указан в числителе обозначения фракции
(таблица 1), задерживается на сите, номер которого указан в знаменателе.
3.5. Насыпная плотность пропантов: отношение массы свободно насыпанных пропантов к занимаемому ими объему, выраженное в граммах на кубический сантиметр.
3.6. Кажущаяся плотность пропантов: отношение массы пропантов к их общему объему, выраженное в граммах на кубический сантиметр.
3.7. Общий объем пропантов: объем гранул пропантов с учетом открытых и закрытых пор, выраженный в кубических сантиметрах.
3.8. Абсолютная (истинная) плотность пропантов: отношение массы пропантов к их истинному объему, выраженное в граммах на кубический сантиметр.
3.9. Истинный объем пропантов: объем гранул пропантов без учета открытых пор и пустот между гранулами, выраженный в кубических сантиметрах.
3.10. Сопротивление раздавливанию пропантов: массовая доля гранул пропантов, разрушенных под воздействием заданной сжимающей нагрузки, выраженная в процентах.
3.11. Округлость гранулы пропантов: степень относительной сглаженности углов при вершинах и ребер гранул пропантов, выраженная в условных единицах.
3.12. Сферичность гранулы пропантов: степень приближения формы гранулы пропантов к форме сферы, выраженная в условных единицах.
3.13. Мутность: интенсивность рассеяния света на взвешенных частицах в единице объема водной суспензии пропантов, выраженная в нефелометрических единицах мутности, NTU.
3.14. Потеря массы пропантов при прокаливании: относительное уменьшение массы пропантов с полимерным покрытием после нагрева и выдержки их при заданной температуре до достижения постоянной массы, выраженное в процентах.
3.15. Растворимость пропантов в кислоте (смеси кислот): относительное изменение массы пропантов после обработки растворами, содержащими кислоту (смесь кислот), выраженное в процентах.
3.16. Комнатная температура: температура окружающей среды, при которой проводят испытания, находящаяся в интервале значений (22 +/- 3) °C.
Пропанты в зависимости от размера гранул основной фракции подразделяют на фракции, приведенные в таблице 1.
Таблица 1
Обозначение фракций пропантов
Обозначение фракции | Характеристика |
10/14 | Гранулы проходят через сито номер 10 и задерживаются на сите номер 14 |
12/18 | Гранулы проходят через сито номер 12 и задерживаются на сите номер 18 |
16/20 | Гранулы проходят через сито номер 16 и задерживаются на сите номер 20 |
16/30 | Гранулы проходят через сито номер 16 и задерживаются на сите номер 30 |
20/40 | Гранулы проходят через сито номер 20 и задерживаются на сите номер 40 |
30/50 | Гранулы проходят через сито номер 30 и задерживаются на сите номер 50 |
40/70 | Гранулы проходят через сито номер 40 и задерживаются на сите номер 70 |
Примечания. 1. Номера сит указаны по [1]. 2. Основные требования, предъявляемые к ситам, приведены в Приложении А. |
5. Технические требования
5.1. По физико-химическим и физико-механическим показателям, гранулометрическому составу и форме пропанты должны соответствовать требованиям, приведенным в таблице 2.
Таблица 2
Наименование показателя | Норма для фракции |
10/14 | 12/18 | 16/20 | 16/30 | 20/40 | 30/50 | 40/70 |
1. Массовая доля, %, не менее: | |
MgO | 8 |
SiO2 | 50 |
2. Гранулометрический состав, %, не более - массовая доля гранул: - оставшихся на сите номер: | |
6 | 0,1 | - | - | - | - | - | - |
8 | - | 0,1 | - | - | - | - | - |
12 | - | - | 0,1 | 0,1 | - | - | - |
16 | - | - | - | - | 0,1 | - | - |
20 | - | - | - | - | - | 0,1 | - |
30 | - | - | - | - | - | - | 0,1 |
- прошедших через сито номер: | | | | | | | |
20 | 1,0 | - | - | - | - | - | - |
30 | - | 1,0 | - | - | - | - | - |
40 | - | - | 1,0 | 1,0 | - | - | - |
50 | - | - | - | - | 1,0 | - | - |
70 | - | - | - | - | - | 1,0 | - |
100 | - | - | - | - | - | - | 1,0 |
3. Массовая доля гранул основной фракции, %, не менее | 90,0 |
4. Сферичность, условные единицы, не менее | 0,7 |
5. Округлость, условные единицы, не менее | 0,7 |
6. Растворимость в смеси кислот, %, не более | 10,0 |
7. Растворимость в соляной кислоте, %, не более | 1,0 |
8. Мутность, NTU, не более | 250 |
9. Насыпная плотность, г/см3, не более | 1,75 |
10. Кажущаяся плотность, г/см3, не более | 3,10 |
11. Абсолютная (истинная) плотность, г/см3, не более | 3,10 |
12. Сопротивление раздавливанию, %, не более при давлении, МПа: | |
34,5 | 20,0 | 15,0 | 15,0 | 10,0 | 5,0 | - | - |
51,7 | 25,0 | 20,0 | 20,0 | 15,0 | 7,0 | 5,0 | - |
68,9 | - | 25,0 | 25,0 | 20,0 | 10,0 | 10,0 | 8,0 |
13. Потеря массы при прокаливании, %, не более | 4,0 |
14. Эффективная удельная активность естественных радионуклидов, Бк/кг, не более | 370 |
Примечания 1. Сопротивление раздавливанию определяют при давлениях 34,5; 51,7 и 68,9 МПа, что соответствует давлению 5000; 7500 и 10000 фунт/дюйм2. 2. По соглашению сторон допускается изготовлять пропанты дополнительных фракций (таблица 6), что оговаривают в контракте на поставку. |
5.2.1. Пропанты упаковывают в мягкие стройные специализированные контейнеры разового использования массой брутто не более 1000 кг с пределом допускаемой погрешности взвешивания не более 20 кг.
5.2.2. Маркировку наносят на контейнеры с пропантами несмываемой краской на боковые поверхности каждого контейнера с двух сторон с указанием:
- наименования и товарного знака предприятия-изготовителя;
- обозначения фракции;
- аббревиатуры (сокращенного наименования) предприятия-изготовителя.
5.2.3. К стропам каждого контейнера прикрепляют ярлык с указанием:
- наименования предприятия-изготовителя и его товарного знака;
- обозначения настоящего стандарта;
- обозначения фракции;
- номера партии;
- номера контейнера;
- массы брутто контейнера;
- даты изготовления.
6. Требования безопасности и охраны окружающей среды
6.1. Пропанты по степени воздействия на организм относятся к III классу опасности по
ГОСТ 12.1.007. Образующаяся при применении пропантов пыль обладает раздражающим действием на слизистую оболочку глаз и верхних дыхательных путей.
6.2. Пропанты не взрывоопасны, негорючи, не образуют токсичных соединений в воздушной среде и сточных водах.
По санитарно-гигиеническим показателям производство и применение пропантов должно соответствовать требованиям
[2].
6.3. В местах возможного пыления необходимо обеспечивать принудительную приточно-вытяжную вентиляцию и использование индивидуальных противопыльных или фильтрующих респираторов по
ГОСТ 12.4.028 или
ГОСТ 12.4.041 и индивидуальных средств защиты глаз по
ГОСТ Р 12.4.230.1. Места возможного пыления следует орошать водой и проводить влажную уборку складских и производственных помещений.
6.4. При производстве и применении пропантов контроль воздуха рабочей зоны осуществляют по
ГОСТ 12.1.005 и
[3], а именно: для силикатсодержащей пыли, силикатов, алюмосиликатов (высокоглиноземистая огнеупорная глина, цемент, оливин, апатит, глина, каолиновый шамот) - предельно допустимая концентрация (ПДК) составляет 8 мг/м
3.
6.5. При погрузочно-разгрузочных работах следует соблюдать общие требования безопасности по
ГОСТ 12.3.009.
6.7. Пропанты по эффективной удельной активности природных радионуклидов

относятся к I классу опасности в соответствии с требованиями
[4] -
[6].
Транспортирование, хранение и использование - без ограничений по радиационному фактору.
7.1.1. Масса партии пропантов: не более 60 т.
7.1.2. Масса мгновенной пробы: не менее 0,3 кг.
7.1.3. Мгновенные пробы отбирают с использованием пробоотборника от каждого контейнера с пропантами каждой предъявляемой к приемке партии пропантов.
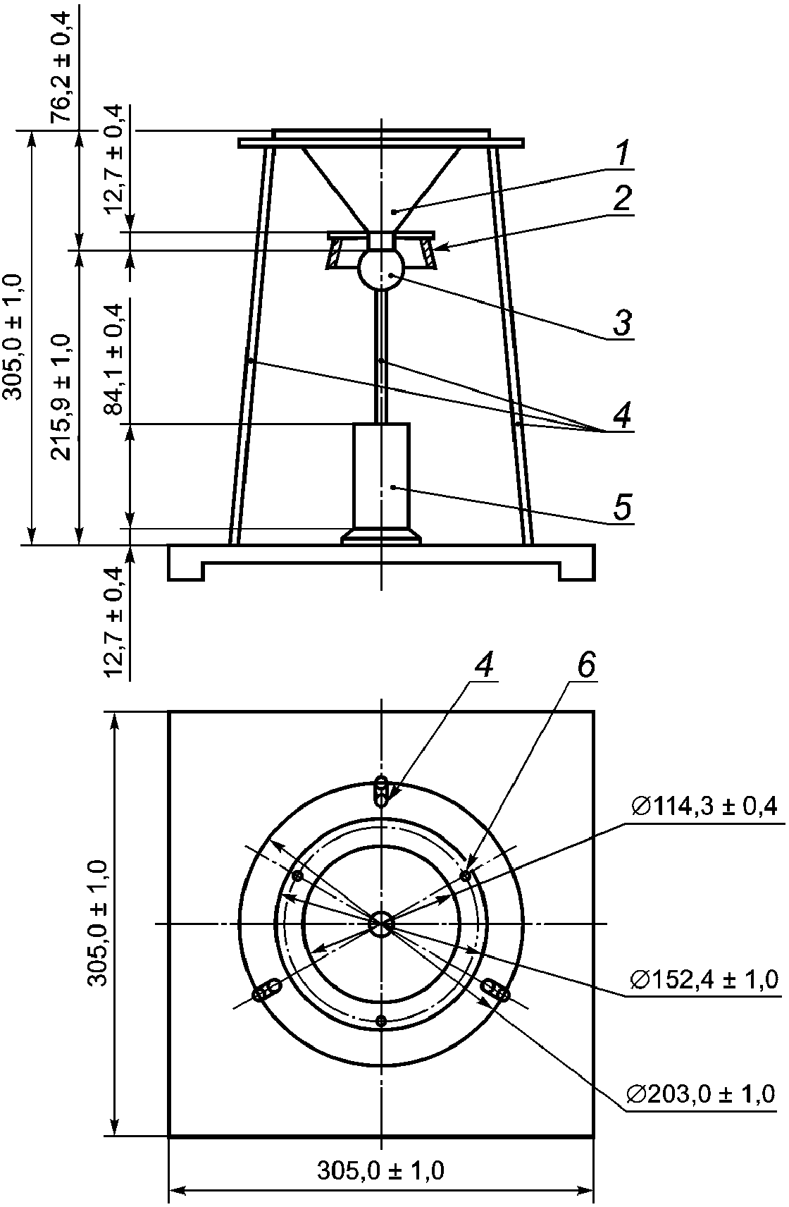
7.1.3.1. Мгновенные пробы объединяют в суммарную пробу путем сокращения и деления (например, на ручном делителе, приведенном на рисунке 1, до получения лабораторной пробы массой не менее 2 кг).
1 - основной корпус с габаритными размерами
(29,5 +/- 0,5) x (28,0 +/- 0,5) x (16,5 +/- 0,5) см;
2 - рукоятка; 3 - задвижка; 4 - бункер; 5 - поддон;
6 - лопасти размером (1,25 +/- 0,05) см
Рисунок 1. Ручной делитель пробы
Если массы суммарной пробы недостаточно для получения необходимой массы лабораторной пробы, увеличивают количество мгновенных проб.
7.1.3.2. Перед началом приемосдаточных испытаний лабораторную пробу высушивают при температуре 105 °C до постоянной массы в сушильном шкафу и остужают на воздухе до комнатной температуры.
7.1.4. При проверке соответствия качества пропантов требованиям настоящего стандарта проводят приемосдаточные испытания в соответствии с таблицей 3.
Таблица 3
Наименование показателя | Периодичность проведения испытаний |
Гранулометрический состав | От каждой партии |
Массовая доля основной фракции | От каждой партии |
Насыпная плотность | От каждой партии |
Кажущаяся плотность | От каждой партии |
Сопротивление раздавливанию | От каждой партии |
Сферичность | От каждой партии |
Округлость | От каждой партии |
Потеря массы при прокаливании | От каждой партии |
Массовая доля MgO и  | От каждой десятой партии |
Абсолютная (истинная) плотность | От каждой десятой партии |
Растворимость в смеси кислот | От каждой десятой партии |
Растворимость в соляной кислоте | От каждой десятой партии |
Мутность | От каждой десятой партии |
Эффективная удельная активность естественных радионуклидов | От каждой 500 партии, но не реже двух раз в год |
7.1.5. Партия должна сопровождаться одним документом о качестве, содержащим:
- наименование предприятия-изготовителя и/или его товарный знак;
- наименование организации-грузополучателя;
- наименование продукции с обозначением настоящего стандарта;
- обозначение фракции;
- номер партии и дату отгрузки;
- массу партии;
- дату изготовления партии;
- номер вагона (автомашины);
- результаты лабораторных испытаний.
7.1.6. На случай разногласий в оценке качества пропантов не менее половины массы лабораторной пробы хранят в плотно закрытой упаковке в архиве при поставках:
- по стране - в течение 6 месяцев;
- на экспорт - в течение 12 месяцев.
8.1. Определение массовой доли оксида магния и оксида кремния (IV)
| | ИС МЕГАНОРМ: примечание. ГОСТ 2642.0-86 утратил силу с 1 января 2016 года в связи с введением в действие ГОСТ 2642.0-2014 (Приказ Росстандарта от 31.03.2015 N 206-ст). | |
Массовую долю оксида магния и оксида кремния (IV) определяют по ГОСТ 2642.0,
ГОСТ 2642.8 и
ГОСТ 2642.3 или другими методами, обеспечивающими необходимую точность.
8.2. Определение гранулометрического состава
8.2.1. Сущность метода
Метод основан на определении массовой доли пропантов, оставшихся на каждом сите из набора сит после вибрационного воздействия на пробу для испытаний.
8.2.2. Средства измерений, аппаратура и вспомогательные устройства
Лабораторный вибростенд с одновременным вращением и встряхиванием, рассчитанный с возможностью установки сит. Технические требования к вибростенду приведены в таблице 4.
Таблица 4
Частота вращения эксцентрика, об/мин | Число встряхиваний в минуту | Пределы допускаемой погрешности таймера, с |
От 280 до 290 | От 150 до 160 | +/- 5 |
Наборы из семи сит, снабженные поддоном и крышкой (
таблицы 5 и
6).
Металлическая емкость для взвешивания.
Примечание. Не допускается использовать емкости из пластика, стекла или бумаги.
Таблица 5
Наборы сит для определения гранулометрического состава
Номер сита по [1] в наборе для рассева фракций пропантов |
10/14 | 12/18 | 16/20 | 16/30 | 20/40 | 30/50 | 40/70 |
6 | 8 | 12 | 12 | 16 | 20 | 30 |
8 | 12 | 16 | 16 | 20 | 30 | 40 |
10 | 14 | 18 | 18 | 25 | 40 | 45 |
12 | 16 | 20 | 20 | 30 | 45 | 50 |
14 | 18 | 25 | 25 | 35 | 50 | 60 |
16 | 20 | 30 | 30 | 40 | 60 | 70 |
20 | 30 | 40 | 40 | 50 | 70 | 100 |
Поддон | Поддон | Поддон | Поддон | Поддон | Поддон | Поддон |
Примечание. Полужирным шрифтом выделены верхнее основное и нижнее основное сита в наборе. |
Таблица 6
Наборы сит для определения гранулометрического
состава дополнительных фракций пропантов
Номер сита по [1] в наборе для рассева фракций пропантов |
6/12 | 8/16 | 12/20 | 40/60 | 70/140 |
4 | 6 | 8 | 30 | 50 |
6 | 8 | 12 | 40 | 70 |
8 | 10 | 14 | 45 | 80 |
10 | 12 | 16 | 50 | 100 |
12 | 14 | 18 | 60 | 120 |
14 | 16 | 20 | 70 | 140 |
16 | 20 | 30 | 100 | 200 |
Поддон | Поддон | Поддон | Поддон | Поддон |
Примечание. Полужирным шрифтом выделены верхнее основное и нижнее основное сита в наборе. |
8.2.3. Проведение испытаний
Составляют набор из семи сит с поддоном и крышкой в соответствии с
таблицей 5 таким образом, чтобы размеры ячеек сита уменьшались сверху вниз.
Пробу для испытаний массой 100 г взвешивают в металлической емкости с погрешностью не более 0,1 г. Взвешивают каждое сито и поддон. Помещают пробу на верхнее сито. Устанавливают набор сит с поддоном и крышкой на лабораторный вибростенд и встряхивают в течение 10 мин. Снимают набор сит с вибростенда. Взвешивают каждое сито и поддон с оставшимися на них гранулами пропантов.
Массовую долю гранул пропантов, %, оставшихся на i-м сите и поддоне, вычисляют по формуле

, (1)
где i = 1, 2...8 (номер сита или поддона);

- масса i-го сита или поддона с гранулами пропантов, г;

- масса i-го сита или поддона, г;

- масса пробы для испытаний, г.
Требования к погрешности измерений по
разделу 9.
8.3. Определение массовой доли гранул основной фракции
8.3.1. Средства измерений, аппаратура и вспомогательные устройства
Сита номеров 6, 10, 12, 14, 16, 18, 20, 30, 40, 50, 70, 100 с поддоном и крышкой.
Лабораторный вибростенд по
8.2.2.
Металлическая емкость для взвешивания по
8.2.2.
Щетка для очистки сит.
8.3.2. Проведение испытаний
Пробу для испытаний массой 200 г взвешивают с погрешностью не более 0,1 г и помещают на верхнее сито набора сит, соответствующего испытуемой фракции пропантов
(таблица 5) и состоящего из верхнего основного сита, нижнего основного сита, поддона и крышки. Набор сит устанавливают на ситовой лабораторный вибростенд и встряхивают в течение 10 мин. Снимают сита с вибростенда. С помощью щетки аккуратно переносят пропанты, оставшиеся на нижнем сите, в емкость, в которой взвешивали пробу для испытаний.
Массовую долю гранул основной фракции, %, оставшихся на нижнем сите, вычисляют по формуле

, (2)
где

- масса гранул, оставшихся на нижнем сите, г;
m - масса пробы для испытаний, г.
Требования к погрешности измерений по
разделу 9.
8.4. Определение сферичности и округлости
8.4.1. Сущность метода
Метод основан на визуальной оценке формы гранул пропантов, увеличенных с помощью микроскопа.
8.4.2. Аппаратура и вспомогательные материалы
Оптический микроскоп с кратностью увеличения от 10 до 40.
Диаграмма Крумбьена - Шлосса (рисунок 2).
X - округлость, Y - сферичность
Рисунок 2. Диаграмма Крумбьена - Шлосса
для визуальной оценки сферичности и округлости
8.4.3. Проведение испытаний
Пробу для испытаний массой от 1 до 2 г насыпают на бумагу или другой материал слоем толщиной в одну гранулу и помещают на предметный столик микроскопа. Для светлых пропантов используют темную бумагу, для темных пропантов - белую. Для оценки формы произвольно выбирают не менее 20 гранул, находящихся в поле зрения.
При соответствующем увеличении микроскопа определяют сферичность, а затем округлость каждой из выбранных гранул путем сравнения с диаграммой Крумбьена - Шлосса
(рисунок 2). Записывают показатели сферичности и округлости для каждой выбранной гранулы.
Вычисляют среднеарифметическое значение сферичности и округлости оцененного набора гранул с точностью до второго десятичного знака.
Предел погрешности

с доверительной вероятностью 0,95 определения округлости и сферичности в диапазоне измерений от 0,3 до 0,9 условных единиц составляет 0,1.
За результат принимают среднеарифметическое значение результатов проверенного набора гранул.
8.4.4. Допускается выполнять определение сферичности и округлости гранул пропантов, изображение которых увеличено с использованием фотографических и цифровых технологий, например цифровой фотокамеры, персонального компьютера или другого оборудования, позволяющего получать необходимую кратность увеличения.
Порядок проведения испытаний аналогичен
8.4.3.
8.5. Определение растворимости в смеси кислот
8.5.1. Сущность метода
Метод основан на гравиметрическом определении изменения массы навески пропантов после обработки рабочими растворами кислот: смеси концентрированных соляной и фтористоводородной кислот или смеси концентрированной соляной кислоты и фтористого кислого аммония.
8.5.2. Средства измерений, аппаратура, материалы и вспомогательные устройства
Водяная баня, обеспечивающая нагрев и поддержание температуры 66 °C с предельно допускаемыми отклонениями +/- 3 °C.
Сушильный шкаф, обеспечивающий нагрев и поддержание температуры 105 °C с предельно допускаемыми отклонениями +/- 3 °C.
Соляная кислота по
ГОСТ 3118 квалификации не ниже ч.д.а.
Фтористоводородная кислота по
ГОСТ 10484 квалификации не ниже ч.д.а.
Фтористый кислый аммоний по ГОСТ 9546 или другому нормативному документу квалификации не ниже ч.д.а.
Химический стакан вместимостью от 150 до 200 см3 из фторопласта, полиэтилена или полипропилена высокой плотности.
Мерный цилиндр или мерная колба вместимостью 1000 см3 из полиэтилена или полипропилена высокой плотности.
Аналитический кислотостойкий фильтровальный аппарат (например, из фарфора, полиэтилена или полипропилена высокой плотности), использующий вакуум-фильтрацию с воронкой Гуча или воронкой Бюхнера.
Беззольный фильтр сорта "белая лента".
Таймер с пределами допускаемой погрешности +/- 5 с.
Эксикатор по
ГОСТ 25336 со стандартным осушителем (безводным хлоридом кальция).
8.5.3. Приготовление рабочего раствора
8.5.3.1. Рабочий раствор смеси соляной и фтористоводородной кислот HCl:HF с массовым соотношением 4:1
К 500 см3 дистиллированной воды, налитой в мерный цилиндр или мерную колбу вместимостью 1000 см3, добавляют 54 см3 концентрированной фтористоводородной кислоты (концентрация 52%) и 293 см3 концентрированной соляной кислоты (концентрация 37%). При других концентрациях указанные объемы корректируют. Доводят объем до 1000 см3 дистиллированной водой и тщательно перемешивают.
8.5.3.2. Рабочий раствор смеси соляной кислоты и фтористого кислого аммония

с массовым соотношением 4:1
К 500 см
3 дистиллированной воды, налитой в мерный цилиндр или мерную колбу вместимостью 1000 см
3, добавляют 46,23 г чистого фтористого кислого аммония

и растворяют при перемешивании. Массу навески

с чистотой менее 100% рассчитывают делением 46,23 г на чистоту

, выраженную в массовых долях. Добавляют 361 см
3 концентрированной соляной кислоты (концентрация 37%). При другой концентрации соляной кислоты указанный объем корректируют. Доводят объем раствора до 1000 см
3 дистиллированной водой и тщательно перемешивают.
8.5.4. Проведение испытаний
Испытаниям подвергают пропанты, не прошедшие дополнительной механической обработки, например просеивание на сите, испытания на сопротивление раздавливанию, измельчение.
Пробу для анализа массой 5 г, предварительно высушенную при 105 °C до постоянной массы и охлажденную в эксикаторе, взвешивают с погрешностью не более 0,001 г. Помещают ее в химический стакан, содержащий 100 см
3 рабочего раствора кислот, приготовленного по
8.5.3, и закрывают прозрачной крышкой. Кислота и навеска должны иметь комнатную температуру.
Устанавливают стакан на водяную баню при 66 °C и выдерживают, не перемешивая, в течение 30 мин.
Фильтровальную воронку и фильтр "белая лента" высушивают в сушильном шкафу при 105 °C до постоянной массы, охлаждают в эксикаторе и определяют массу высушенной воронки с фильтром.
Переносят содержимое стакана в фильтровальный аппарат, убедившись, что все частицы из стакана перенесены на фильтр, фильтруют через предварительно взвешенную фильтровальную воронку. Вакуум-фильтрование выполняют в течение 1 мин.
Промывают пробу для анализа в фильтровальном аппарате тремя порциями по 20 см3 дистиллированной воды.
Фильтр с оставшейся на нем пробой высушивают при температуре 105 °C до постоянной массы и взвешивают. Перед взвешиванием фильтр "белая лента" с пробой охлаждают в эксикаторе.
Растворимость в смеси кислот, %, вычисляют по формуле

, (3)
где

- масса пробы для анализа до обработки рабочим раствором, г;

- масса высушенной воронки с фильтром, г;

- масса фильтра с пробой для анализа после обработки рабочим раствором, г.
Требования к погрешности измерений по
разделу 9.
8.6. Определение растворимости в соляной кислоте
8.6.1. Сущность метода
Метод основан на гравиметрическом определении изменения массы навески пропантов после обработки раствором соляной кислоты с массовой долей HCl 15%.
8.6.2. Средства измерений, аппаратура, материалы и вспомогательные устройства
Водяная баня, обеспечивающая нагрев и поддержание температуры 66 °C с предельно допускаемыми отклонениями +/- 3 °C.
Сушильный шкаф, обеспечивающий нагрев и поддержание температуры 105 °C с предельно допускаемыми отклонениями +/- 3 °C.
Соляная кислота по
ГОСТ 3118 квалификации не ниже ч.д.а.
Химический стакан вместимостью от 150 до 200 см3.
Мерный цилиндр или мерная колба вместимостью 1000 см3.
Аналитический кислотостойкий фильтровальный аппарат, например из фарфора, полиэтилена или полипропилена высокой плотности с режимом вакуум-фильтрации с воронкой Гуча или воронкой Бюхнера.
Беззольный фильтр сорта "белая лента".
Таймер с пределами допускаемой погрешности +/- 5 с.
Эксикатор по
ГОСТ 25336 со стандартным осушителем (безводным хлоридом кальция).
8.6.3. Проведение испытаний
Испытаниям подвергают пропанты, не прошедшие дополнительной механической обработки, например просеивание на сите, испытания на сопротивление раздавливанию, измельчение.
Предварительно готовят рабочий раствор соляной кислоты с массовой долей HCl 15%.
Пробу для анализа массой 5 г, предварительно высушенную при 105 °C до постоянной массы и охлажденную в эксикаторе, взвешивают с погрешностью не более 0,001 г.
Помещают ее в химический стакан, содержащий 100 см3 рабочего раствора соляной кислоты, и закрывают прозрачной крышкой. Кислота и проба должны иметь комнатную температуру.
Устанавливают стакан на водяную баню при 66 °C и выдерживают, не перемешивая, в течение 30 мин.
Фильтровальную воронку и фильтр "белая лента" высушивают в сушильном шкафу при 105 °C до постоянной массы, охлаждают в эксикаторе и определяют массу высушенной воронки с фильтром.
Переносят содержимое стакана в фильтровальный аппарат, убедившись, что все частицы из стакана перенесены на фильтр, и фильтруют через предварительно взвешенную фильтровальную воронку. Вакуум-фильтрование выполняют в течение 1 мин.
Промывают пробу в фильтровальном аппарате тремя порциями по 20 см3 дистиллированной воды.
Фильтр с оставшейся на нем пробой высушивают при 105 °C до постоянной массы и взвешивают. Перед взвешиванием фильтр с пробой охлаждают в эксикаторе.
Растворимость в соляной кислоте

, %, вычисляют по
формуле (3), заменяя S на

.
Требования к погрешности измерений по
разделу 9.
8.7. Определение мутности
8.7.1. Сущность метода
Метод основан на определении интенсивности рассеяния света в пробе пропантов нефелометрическим методом в единицах NTU.
8.7.2. Средства измерений, аппаратура и вспомогательные устройства
Турбидиметр, обеспечивающий измерения мутности с погрешностью не более +/- 2%.
Встряхиватель для колб, обеспечивающий вращение виброэксцентрика со скоростью от 0 до 3000 об/мин и диаметром вращения (амплитудой) 4,5 мм.
Мерные колбы вместимостью 100, 200, 1000 см3.
Пипетки вместимостью 1, 5, 10, 20 см3.
Коническая колба из полипропилена вместимостью 250 см3 с винтовой полипропиленовой крышкой.
Коническая колба вместимостью 500 см3.
Стеклянный мерный цилиндр вместимостью 100 см3.
Сернокислый гидразин по
ГОСТ 5841 квалификации не ниже ч.д.а.
Технический уротропин (гексаметилентетрамин) по
ГОСТ 1381 квалификации не ниже ч.д.а.
Таймер с пределами допускаемой погрешности +/- 5 с.
8.7.3. Приготовление стандартных растворов формазина для градуировки турбидиметра
8.7.3.1. Приготовление исходного раствора формазина с мутностью 4000 NTU
Навеску сернокислого гидразина массой 5,000 г растворяют в 400 см3 дистиллированной воды, навеску гексаметилентетрамина массой 50,000 г растворяют в 400 см3 дистиллированной воды. Количественно переносят оба приготовленных раствора в мерную колбу вместимостью 1000 см3 и доводят до метки дистиллированной водой.
Полученный раствор тщательно перемешивают и дают отстояться в течение 24 ч при комнатной температуре.
Срок хранения исходного раствора формазина с мутностью 4000 NTU - не более одного года.
8.7.3.2. Приготовление стандартных растворов формазина с мутностью 20, 100 и 800 NTU
Растворы с мутностью 20 и 100 NTU готовят растворением 1,0 и 5,0 см3 исходного раствора формазина в двух мерных колбах вместимостью 200 см3. Раствор с мутностью 800 NTU готовят растворением 20,0 см3 исходного раствора формазина в мерной колбе вместимостью 100 см3. Растворы готовят в день выполнения измерений.
8.7.4. Проведение испытаний
Выбирают кюветы для выполнения измерений и их положение в держателе кюветного отделения в соответствии с инструкцией по эксплуатации прибора и градуируют турбидиметр.
Для испытаний берут 20 см
3 сухой пробы. Допускается отбирать пробу для испытаний на весах, предварительно рассчитав ее массу умножением рекомендованного объема 20 см
3 на значение насыпной плотности испытуемых пропантов по
8.8, с погрешностью взвешивания не более 0,1 г.
Пробу для испытаний помещают в коническую колбу вместимостью 250 см3 и добавляют 100 см3 дистиллированной воды. Колбу закрывают крышкой и выдерживают в течение 30 мин.
Устанавливают частоту на встряхивателе на значение 10, встряхивают колбу в течение 30 с. Снимают колбу и выдерживают в течение 5 мин.
С помощью пипетки отбирают от 15 до 20 см3 воды со взвесью из середины объема воды над пропантами, не допуская попадания частиц пропантов в пипетку.
Помещают отобранную аликвоту водной суспензии в кювету турбидиметра для измерений мутности. Результаты измерений записывают в единицах NTU.
Требования к погрешности измерений по
разделу 9.
8.8. Определение насыпной плотности
8.8.1. Сущность метода
Метод основан на взвешивании пропантов в калиброванном цилиндре после определения его вместимости с использованием специального устройства.
8.8.2. Средства измерений, аппаратура и вспомогательные устройства
Калиброванный металлический мерный цилиндр из немагнитного металла или сплава.
Стеклянная (выравнивающая) пластина, полностью перекрывающая отверстие цилиндра.
Устройство для измерения насыпной плотности
(рисунок 3), состоящее из:
- штатива для воронки, имеющего квадратное металлическое основание размерами (305,0 +/- 1,0) мм x (305,0 +/- 1,0) мм и треногу высотой (305,0 +/- 1,0) мм;
- калиброванного металлического мерного цилиндра из немагнитного металла или сплава вместимостью около 100 см3 с внутренним диаметром (38,9 +/- 0,1) мм;
- воронки из нержавеющей стали с гладкими внутренними швами и отсекающим клапаном на выходе.
1 - воронка; 2 - пружина; 3 - стопорный
резиновый шарик; 4 - опора; 5 - калиброванный
цилиндр; 6 - отверстия для винтов
Рисунок 3. Устройство для измерений насыпной плотности
Основные размеры воронки приведены в таблице 7.
Таблица 7
В миллиметрах
Верхний внутренний диаметр | Нижний внутренний диаметр | Высота конической части | Высота цилиндрической части |
114,3 +/- 0,4 | 12,7 +/- 0,4 | 76,2 +/- 0,4 | 12,7 +/- 0,4 |
Верхняя часть опоры состоит из горизонтального кольца диаметром (203,0 +/- 1,0) мм, представляющего собой опору для сменной воронки, которую юстируют и крепят с помощью винтов.
Для гарантированного расположения цилиндра по центру выпускного отверстия воронки на основании устройства проставляют метки.
Клапан состоит из резинового стопорного шарика диаметром 34,9 мм, прикрепленного к воронке двумя винтовыми пружинами с усилием, обеспечивающим его плотное прилегание.
Допускается применение устройства для измерений насыпной плотности с другими размерами, не влияющими на точность измерений.
8.8.3. Определение вместимости цилиндра
Взвешивают пустой сухой цилиндр со стеклянной пластиной с погрешностью не более 0,02 г. Наполняют цилиндр дистиллированной водой и проводят пластиной по верхней кромке цилиндра, удаляя воду точно по плоскости кромки. При плотно прижатой пластине удаляют, например, с помощью фильтровальной бумаги избыток воды и определяют общую массу цилиндра с водой и пластиной с погрешностью не более 0,02 г.
Вместимость цилиндра, см3, вычисляют по формуле

, (4)
где

- общая масса цилиндра с водой и стеклянной пластиной, г;

- масса пустого сухого цилиндра со стеклянной пластиной, г;

- плотность воды, соответствующая ее температуре во время определения вместимости цилиндра, г/см
3.
8.8.4. Проведение испытаний
Испытания проводят в интервале температур от 19 °C до 28 °C. Взвешивают сухой пустой калиброванный цилиндр с погрешностью не более 0,1 г. В воронку, выходное отверстие которой закрыто резиновым стопорным шариком, насыпают 150 см3 пробы для испытаний. Под центром выходного отверстия воронки помещают калиброванный цилиндр. Перемещая резиновый шарик влево или вправо, выпускают весь объем пропантов в цилиндр. Излишек пропантов в калиброванном цилиндре аккуратно снимают стеклянной пластиной по кромке цилиндра без встряхивания и трамбования.
Взвешивают калиброванный цилиндр с пробой с погрешностью не более 0,1 г.
Насыпную плотность, г/см3, вычисляют по формуле

, (5)
где

- масса калиброванного цилиндра с пробой для испытаний, г;

- масса сухого пустого калиброванного цилиндра, г.
Требования к погрешности измерений по
разделу 9.
8.9. Определение кажущейся плотности
8.9.1. Сущность метода
Метод основан на пикнометрическом определении плотности пропантов путем установления объема пробы пропантов для испытаний с учетом имеющихся в них открытых пор.
8.9.2. Средства измерений, аппаратура, материалы и вспомогательные устройства
Ртутный термометр с диапазоном измерений от 0 °C до 50 °C и ценой деления шкалы не более 0,1 °C.
Жидкостной пикнометр вместимостью 25 или 50 мл по
ГОСТ 22524.
Сушильный шкаф, обеспечивающий нагрев и поддержание температуры 105 °C с предельно допускаемыми отклонениями +/- 3 °C.
Вакуумная установка, состоящая из вакуумного насоса, вакуумного эксикатора, манометра и многоходового крана и позволяющая создавать и поддерживать остаточное давление 8 кПа (60 мм рт. ст.).
Емкость для взвешивания.
Пипетка с острым носиком.
Воронка с ножкой для установки внутри пикнометра.
Эксикатор по
ГОСТ 25336 со стандартным осушителем (безводным хлоридом кальция).
Емкость для вакуумированной дистиллированной воды.
8.9.3. Приготовление вакуумированной дистиллированной воды
В эксикатор вакуумной установки помещают емкость с дистиллированной водой, создают в нем остаточное давление (8 +/- 2) кПа [(60 +/- 15) мм рт. ст.] и выдерживают емкость при данном давлении в течение 45 мин. Затем давление доводят до атмосферного, извлекают емкость и плотно закрывают крышкой.
8.9.4. Проведение испытаний
Осторожно заполняют пикнометр до метки вакуумированной дистиллированной водой. Проверяют, чтобы в жидкости отсутствовали пузырьки воздуха. Удаляют излишки жидкости с внешней поверхности пикнометра.
Взвешивают пикнометр, заполненный вакуумированной дистиллированной водой, с погрешностью не более 0,01 г.
Определяют массу емкости для взвешивания, добавляют приблизительно 10 г пробы для испытаний, предварительно просушенной при 105 °C до постоянной массы и охлажденной в эксикаторе. Взвешивают емкость с пробой с погрешностью не более 0,01 г. Рассчитывают массу пропантов. Выливают примерно половину объема воды из пикнометра и помещают взвешенную пробу из емкости для взвешивания в пикнометр. Для перенесения пропантов из емкости в пикнометр используют воронку.
Осторожно пипеткой добавляют вакуумированную дистиллированную воду комнатной температуры в пикнометр до метки и удаляют ее остатки с поверхности пикнометра. Взвешивают пикнометр с пропантами и вакуумированной дистиллированной водой с погрешностью не более 0,01 г.
Кажущуюся плотность, г/см3, вычисляют по формуле

, (6)
где

- расчетная масса пропантов, г;

- плотность вакуумированной дистиллированной воды при комнатной температуре
(3.16) по
ГОСТ 2211, г/см
3;

- масса пикнометра с вакуумированной дистиллированной водой, г;

- масса пикнометра с вакуумированной дистиллированной водой и пробой для испытаний, г.
Требования к погрешности измерений по
разделу 9.
8.10. Определение абсолютной (истинной) плотности
8.10.1. Сущность метода
Метод основан на определении плотности пропантов путем установления объема пробы пропантов с учетом имеющихся в них открытых и закрытых пор с помощью гелиевого пикнометра. Измерения давления газа при заполнении им камеры пикнометра с пробой для испытаний и затем при перекачивании его во вторую пустую камеру пикнометра позволяют рассчитать объем твердой фазы пробы.
8.10.2. Средства измерений, аппаратура, материалы и вспомогательные устройства
Газовый пикнометр, позволяющий выполнять измерения с относительной погрешностью не более +/- 0,3%.
Сушильный шкаф, обеспечивающий нагрев и поддержание температуры 105 °C с предельно допускаемыми отклонениями +/- 3 °C.
Газообразный сжатый очищенный гелий.
Эксикатор по
ГОСТ 25336 со стандартным осушителем (безводным хлоридом калия).
8.10.3. Проведение испытаний
Выполняют калибровку газового пикнометра в соответствии с инструкцией по эксплуатации. Пропанты в количестве, равном 2/3 объема ячейки для пробы пикнометра, высушивают при 105 °C до постоянной массы и охлаждают в эксикаторе до комнатной температуры. Определяют массу пробы для испытаний с погрешностью не более +/- 0,01 г.
Устанавливают ячейку с пропантами в камеру для пробы пикнометра. Продувают камеру газом при давлении не более 13,8 кПа в течение времени, установленного стандартной программой измерений пикнометра.
Проводят определение абсолютной (истинной) плотности пробы пропантов, выполняя 10 продувок пробы газом и пять промежуточных измерений плотности.
За результат принимают среднее значение пяти промежуточных измерений.
Требования к погрешности измерений по
разделу 9.
8.11. Определение сопротивления раздавливанию
8.11.1. Сущность метода
Метод основан на определении массовой доли гранул, разрушенных заданной сжимающей нагрузкой.
8.11.2. Средства измерений, аппаратура и вспомогательные устройства
Гидравлическая машина для испытаний на сжатие, обеспечивающая постепенное и плавное увеличение усилия и оборудованная системой измерений приложенного усилия с предельно допускаемыми отклонениями не более +/- 2%.
Ячейка для раздавливания гранул (рисунок 4) или аналогичная.
1 - пуансон; 2 - форма
Рисунок 4. Ячейка для раздавливания гранул
Примечания.
1. Ячейку рекомендуется изготовлять из стали 4340 с твердостью по шкале Роквелла C не менее 43 или стали аналогичной марки, обеспечивающей при закалке требуемую твердость.
2. Форму периодически проверяют на износ по внутреннему диаметру.
3. В случае превышения значения внутреннего диаметра формы более 3,25% осуществляют ее замену.
4. Допускается применение ячеек других размеров, не приводящее к изменению аттестованных характеристик метода испытаний.
Лабораторные сита, поддон и крышка. Номера сит определяют фракцией испытуемых пропантов.
Лабораторный вибростенд по
8.2.2.
Таймер с пределами допускаемой погрешности +/- 5 с.
Металлическая емкость для взвешивания по
8.2.2.
8.11.3. Подготовка пробы
Пробу для испытаний массой от 100 до 120 г просеивают на лабораторном вибростенде в течение 10 мин через набор сит, номера которых соответствуют фракциям испытуемых пропантов
(8.3). Пропанты, оставшиеся на верхнем сите и прошедшие через нижнее сито, удаляют, а остальные используют для испытаний.
8.11.4. Проведение испытаний
Массу пробы для испытаний, г, вычисляют по формуле

, (7)
где 1,22 - постоянная ячейки для раздавливания, учитывающая объем пропантов, приходящийся на 1 см2 площади дна ячейки, см;

- внутренний диаметр ячейки для раздавливания, см.
Взвешивают рассчитанное количество просеянных пропантов с погрешностью не более +/- 0,1 г и засыпают через воронку в ячейку для раздавливания, перемещая струю пропантов так, чтобы их поверхность в ячейке была ровной. Поверхность пропантов выравнивают поворотом пуансона на 180° без приложения усилия.
Затем без встряхивания помещают ячейку в машину для испытаний на сжатие.
Усилие, Н, необходимое для обеспечения заданного давления, вычисляют по формуле

, (8)
где p - давление, МПа.
Равномерно в течение 1 мин увеличивают нагрузку до достижения рассчитанного усилия и поддерживают его в течение 2 мин.
Примечание. Допускается увеличивать нагрузку с постоянным ее возрастанием на 13,8 МПа в мин до достижения рассчитанного усилия, которое поддерживают в течение 2 мин.
Снижают усилие до нуля, снимают ячейку для раздавливания гранул с машины для испытаний и переносят ее содержимое на набор сит. После рассева на лабораторном вибростенде в течение 10 мин взвешивают разрушенные гранулы из поддона с погрешностью не более +/- 0,1 г.
Массовую долю разрушенных гранул (сопротивление раздавливанию), %, вычисляют по формуле

, (9)
где

- масса разрушенных гранул, г.
Требования к погрешности измерений по
разделу 9.
8.12. Определение потери массы при прокаливании
8.12.1. Сущность метода
Метод основан на определении количества сгораемого материала в пробе пропантов с полимерным покрытием при прокаливании в муфельной печи.
8.12.2. Средства измерений, аппаратура и вспомогательные устройства
Сушильный шкаф, обеспечивающий нагрев и поддержание температуры 105 °C с предельно допускаемыми отклонениями +/- 3 °C.
Обычная или микроволновая муфельная печь, обеспечивающая нагрев и поддержание температуры 950 °C с предельно допускаемыми отклонениями +/- 20 °C.
Керамический или кварцевый тигель с крышкой для прокаливания.
Тигельные щипцы.
Прочные и изолирующие хлопчатобумажные перчатки и экран для защиты лица.
Эксикатор по
ГОСТ 25336 со стандартным осушителем (безводным хлоридом кальция).
8.12.3. Проведение испытаний
Тигель с крышкой предварительно прокаливают до постоянной массы в печи, нагретой до температуры 930 °C. Затем охлаждают в эксикаторе до комнатной температуры и взвешивают, г, с точностью до четырех десятичных знаков.
Для получения представительной пробы массой до 10 г используют ручной делитель пробы, а также последовательное квартование.
Затем отбирают в тигель пробу для испытаний массой от 6 до 8 г, предварительно высушенную в сушильном шкафу при температуре 105 °C до постоянной массы и охлажденную в эксикаторе.
Взвешивают тигель с крышкой и пробой, г, с точностью до четырех десятичных знаков.
Помещают закрытый тигель с пробой в муфельную печь, нагревают ее до температуры 930 °C. Прокаливают пробу при этой температуре до постоянной массы. Рекомендуемое время прокаливания:
в муфельной печи - не менее 2 ч;
в микроволновой печи - 15 минут.
Повторно взвешивают тигель с крышкой и пробой, г, с точностью до четырех десятичных знаков.
Потерю массы при прокаливании, %, вычисляют по формуле

. (10)
Требования к погрешности измерений по
разделу 9.
8.13. Определение эффективной удельной активности естественных радионуклидов
Определение эффективной удельной активности естественных радионуклидов по
ГОСТ 30108.
9. Требования к погрешности измерений
9.1. Значения показателей точности, повторяемости и воспроизводимости результатов измерений при выполнении испытаний приведены в таблице 8. Определения и методы измерений точности, повторяемости и воспроизводимости по
ГОСТ Р ИСО 5725-1.
Диапазон измерений показателя | Предел допускаемой погрешности,  | Показатель воспроизводимости СКО  | Показатель внутрилабораторной прецизионности, СКО  | Показатель повторяемости СКО  |
1. Гранулометрический состав, %: | | | | |
от 0,05 до 2 включ. | 0,4 · X | 0,20 · X | 0,17 · X | 0,14 · X |
св. 2 " 5 " | 0,9 | 0,48 | 0,40 | 0,33 |
" 5 " 10 " | 1,1 | 0,58 | 0,48 | 0,40 |
" 10 " 20 " | 1,5 | 0,79 | 0,66 | 0,55 |
" 20 " 50 " | 2,7 | 1,4 | 1,2 | 1,0 |
" 50 " 95 " | 4 | 2,2 | 1,8 | 1,5 |
2. Массовая доля гранул основной фракции, %: | | | | |
от 80,0 до 99,9 включ. | 1,5 | 0,75 | 0,71 | 0,68 |
3. Мутность, NTU: | | | | |
от 20 до 50 включ. | 6 | 3,0 | 2,5 | 1,5 |
св. 50 " 100 " | 9 | 4,8 | 4,0 | 2,4 |
" 100 " 200 " | 15 | 7,6 | 6,3 | 3,8 |
" 200 " 500 " | 25 | 13 | 11 | 6,5 |
4. Растворимость в смеси кислот, %: | | | | |
от 1 до 2 включ. | 0,3 | 0,17 | 0,14 | 0,12 |
св. 2 " 5 " | 0,5 | 0,24 | 0,20 | 0,17 |
" 5 " 10 " | 0,7 | 0,34 | 0,29 | 0,24 |
" 10 " 20 " | 1,0 | 0,53 | 0,44 | 0,37 |
5. Растворимость в соляной кислоте, %: | | | | |
от 0,1 до 0,5 включ. | 0,3 | 0,17 | 0,14 | 0,12 |
св. 0,5 " 1 " | 0,4 | 0,20 | 0,17 | 0,14 |
6. Насыпная плотность, г/см3: | | | | |
от 1,00 до 1,75 включ. | 0,01 | 0,0070 | 0,0040 | 0,0036 |
7. Кажущаяся плотность, г/см3: | | | | |
от 1,0 до 2,0 включ. | 0,07 | 0,035 | 0,029 | 0,024 |
св. 2,0 " 5,0 " | 0,11 | 0,056 | 0,047 | 0,039 |
" 5,0 " 6,0 " | 0,12 | 0,062 | 0,052 | 0,043 |
8. Абсолютная (истинная) плотность, г/см3: | | | | |
от 1,0 до 2,0 включ. | 0,007 | 0,0034 | 0,0028 | 0,0024 |
св. 2,0 " 5,0 " | 0,010 | 0,0052 | 0,0043 | 0,0036 |
" 5,0 " 6,0 " | 0,011 | 0,0056 | 0,0047 | 0,0039 |
9. Сопротивление раздавливанию (массовая доля разрушенных гранул), %: | | | | |
от 1,0 до 50 включ. | 20 · X | 0,10 · X | 0,08 · X | 0,06 · X |
10. Потеря массы при прокаливании, %: | | | | |
от 1,0 до 2,0 включ. | 0,11 | 0,056 | 0,047 | 0,039 |
св. 2,0 " 5,0 " | 0,17 | 0,087 | 0,073 | 0,061 |
9.2. Значения пределов повторяемости, воспроизводимости и нормативы контроля результатов при выполнении измерений приведены в таблице 9.
Диапазон измерений показателя | Предел повторяемости r | Критический диапазон CR0,95(4) | Норматив контроля внутрилабораторной прецизионности RЛ (P = 0,95) | Предел воспроизводимости R | Норматив контроля процедуры выполнения измерений KТ (P = 0,90) |
1. Гранулометрический состав, %: | | | | | |
от 0,05 до 2 включ. | 0,4 · X | 0,5 · X | 0,5 · X | 0,6 · X | - |
св. 2 " 5 " | 0,9 | 1,2 | 1,1 | 1,3 |
" 5 " 10 " | 1,1 | 1,5 | 1,3 | 1,6 |
" 10 " 20 " | 1,5 | 2,0 | 1,8 | 2,2 |
" 20 " 50 " | 2,7 | 3,6 | 3,3 | 3,9 |
" 50 " 95 " | 4 | 5 | 5 | 6 |
2. Массовая доля гранул основной фракции, %: | | | | | |
от 80,0 до 99,9 включ. | 1,9 | 2,5 | 2,0 | 2,1 | 1,2 |
3. Мутность, NTU: | | | | | |
от 20 до 50 включ. | 4 | 5 | 7 | 8 | - |
св. 50 " 100 " | 7 | 9 | 11 | 13 |
" 100 " 200 " | 11 | 14 | 17 | 21 |
" 200 " 500 " | 18 | 24 | 30 | 36 |
4. Растворимость в смеси кислот, %: | | | | | |
от 1 до 2 включ. | 0,3 | 0,4 | 0,4 | 0,5 | 0,2 |
св. 2 " 5 " | 0,5 | 0,6 | 0,6 | 0,7 | 0,3 |
" 5 " 10 " | 0,7 | 0,9 | 0,8 | 0,9 | 0,5 |
" 10 " 20 " | 1,0 | 1,3 | 1,2 | 1,5 | 0,7 |
5. Растворимость в соляной кислоте, %: | | | | | |
от 0,1 до 0,5 включ. | 0,3 | 0,4 | 0,4 | 0,5 | 0,2 |
св. 0,5 " 1 " | 0,4 | 0,5 | 0,5 | 0,6 | 0,3 |
6. Насыпная плотность, г/см3: | | | | | |
от 1,00 до 1,75 включ. | 0,01 | 0,01 | 0,01 | 0,02 | 0,01 |
7. Кажущаяся плотность, г/см3: | | | | | |
от 1,0 до 2,0 включ. | 0,07 | 0,09 | 0,08 | 0,10 | 0,05 |
св. 2,0 " 5,0 " | 0,11 | 0,14 | 0,13 | 0,16 | 0,08 |
" 5,0 " 6,0 " | 0,12 | 0,16 | 0,14 | 0,17 | 0,09 |
8. Абсолютная (истинная) плотность, г/см3: | | | | | |
от 1,0 до 2,0 включ. | 0,007 | 0,009 | 0,008 | 0,009 | 0,005 |
св. 2,0 " 5,0 " | 0,010 | 0,013 | 0,012 | 0,014 | 0,007 |
" 5,0 " 6,0 " | 0,011 | 0,014 | 0,013 | 0,016 | 0,008 |
9. Сопротивление раздавливанию (массовая доля разрушенных гранул), %: | | | | | |
от 1,0 до 50 включ. | 0,17 · X | 0,22 · X | 0,22 · X | 0,28 · X | 0,13 · X |
10. Потеря массы при прокаливании, %: | | | | | |
от 1,0 до 2,0 включ. | 0,11 | 0,14 | 0,13 | 0,16 | 0,08 |
св. 2,0 " 5,0 " | 0,17 | 0,22 | 0,20 | 0,24 | 0,12 |
9.3. Проверка приемлемости и обработка результатов измерений
9.3.1. Проверку приемлемости результатов измерений выполняют для определения химического и гранулометрического составов, массовой доли гранул основной фракции, растворимости в смеси кислот, растворимости в соляной кислоте, мутности, насыпной, кажущейся и истинной плотностей, сопротивления раздавливанию и относительного изменения массы при прокаливании.
9.3.2. Проверка приемлемости и обработка результатов измерений, полученных в условиях повторяемости
Выполняют два параллельных измерения в условиях повторяемости. Абсолютное расхождение полученных результатов измерений

сравнивают с пределом повторяемости r, равным

при доверительной вероятности P 0,95
(таблица 8). Если абсолютное расхождение результатов двух параллельных измерений не более значения повторяемости

, то результаты измерений признают приемлемыми и в качестве окончательного результата принимают их среднеарифметическое значение по формуле

. (11)
Если абсолютное расхождение

более значения r, то проводят еще два параллельных измерения.
Если абсолютное расхождение между результатами четырех измерений

не более критического диапазона

, равного

, т.е.

, то в качестве окончательного результата принимают среднеарифметическое значение четырех измерений. Если условие

не выполнено, в качестве окончательного результата принимают медиану результатов четырех измерений, которую вычисляют по формуле

, (12)
где

- второй по значению наименьший результат измерений;

- третий по значению наименьший результат измерений.
В этом случае выясняют и устраняют причину повышенного разброса результатов измерений.
В протоколе испытаний указывают результат измерений, его погрешность

в абсолютных единицах в виде

с доверительной вероятностью 0,95.
Допускается вместо погрешности результатов измерений приводить ссылку на настоящий стандарт.
9.3.3. Проверка приемлемости и обработка результатов измерений, полученных в условиях воспроизводимости
9.3.3.1. Результаты измерений, полученные в двух лабораториях,

и

признают приемлемыми, если значение их абсолютного расхождения не более значения предела воспроизводимости R, приведенного в
таблице 9, т.е.

.
При выполнении этого условия в качестве окончательного результата может быть принято общее среднее значение результатов измерений.
При нарушении условия устанавливают причины, вызвавшие недопускаемое расхождение результатов измерений.
9.3.4. Контроль качества результатов измерений при выполнении испытаний
Оперативный контроль точности выполняют для определения химического и гранулометрического составов, массовой доли гранул основной фракции, растворимости в смеси кислот, растворимости в соляной кислоте, мутности, насыпной, кажущейся и истинной плотностей, сопротивления раздавливанию и относительного изменения массы при прокаливании.
Контроль внутрилабораторной прецизионности результатов измерений выполняют для показателей качества пропантов, приведенных в
9.3.1.
9.3.4.1. Оперативный контроль точности выполнения измерений
Для контроля процедуры выполнения измерений (контроля точности результатов измерений) проводят измерения образца для контроля. Если значение отклонения результата измерений образца для контроля X от аттестованного (расчетного) значения C не более значения норматива контроля

, приведенного в
таблице 9, т.е.

, то результаты контрольной процедуры признают удовлетворительными.
При невыполнении данного условия испытания прекращают до выявления и устранения причин, приводящих к неудовлетворительным результатам.
9.3.4.2. Контроль внутрилабораторной прецизионности результатов измерений
В целях контроля внутрилабораторной прецизионности выполняют повторные измерения проб, ранее уже проходивших процедуру выполнения измерений для определения значения контролируемого показателя качества, изменяя влияющие факторы (разное время, разные средства измерений и испытательное оборудование, разные операторы и т.д.).
Значение абсолютного расхождения между двумя результатами измерений, полученными в условиях внутрилабораторной прецизионности,

и

не более значения норматива контроля внутрилабораторной прецизионности

по
таблице 9.
При нарушении данного условия устанавливают и устраняют причины, вызвавшие недопускаемое расхождение результатов измерений.
При соблюдении условий
9.3.4 погрешность результата измерений не должна превышать значения

, приведенного в
таблице 8.
10. Транспортирование и хранение
10.1. Транспортирование и хранение по
ГОСТ 24717 с дополнениями по 10.1.1 и
10.1.2.
10.1.1. Пропанты, упакованные по
5.2, транспортируют железнодорожным транспортом в открытом подвижном составе или автомобильным транспортом.
10.1.2. Пропанты хранят в крытых складских помещениях в условиях, исключающих повреждение упаковки, дополнительное увлажнение пропантов и упаковки.
Допускается хранить пропанты на открытых площадках при условии использования упаковочной тары с полиэтиленовыми вкладышами толщиной более 40 мкм.
(справочное)
ПРЕДЪЯВЛЯЕМЫЕ К СИТАМ ДЛЯ ИСПЫТАНИЙ
А.1. Основные требования, предъявляемые к ситам для испытаний по
[1], приведены в таблице А.1.
В миллиметрах
Номер сита | Номинальный размер ячейки в свету X, Y | Предельно допускаемое отклонение среднего размера ячейки в свету от номинального | Номинальный диаметр проволоки  |
6 | 3,350 | +/- 0,110 | 1,250 |
8 | 2,360 | +/- 0,080 | 1,000 |
10 | 2,000 | +/- 0,070 | 0,900 |
12 | 1,700 | +/- 0,060 | 0,800 |
14 | 1,400 | +/- 0,050 | 0,710 |
16 | 1,180 | +/- 0,045 | 0,630 |
18 | 1,000 | +/- 0,040 | 0,560 |
20 | 0,850 | +/- 0,035 | 0,500 |
25 | 0,710 | +/- 0,030 | 0,450 |
30 | 0,600 | +/- 0,025 | 0,400 |
35 | 0,500 | +/- 0,020 | 0,315 |
40 | 0,425 | +/- 0,019 | 0,280 |
50 | 0,300 | +/- 0,014 | 0,200 |
60 | 0,250 | +/- 0,012 | 0,160 |
70 | 0,212 | +/- 0,010 | 0,140 |
100 | 0,150 | +/- 0,008 | 0,100 |
А.2. Сита изготовляют из проволочных тканых полотен с квадратными ячейками и с плоским плетением.
Для изготовления полотен используют проволоку из нержавеющей стали, латуни, бронзы или других аналогичных материалов без покрытия.
Плетение полотна должно быть жестким, без видимых дефектов.
А.3. Средний размер ячейки в свету измеряют, как показано на рисунке А.1, в горизонтальном направлении X и вертикальном Y относительно центра ячейки.
Рисунок А.1. Схема измерений размеров ячейки и проволоки
Каждое из измеренных значений должно соответствовать номинальному размеру ячейки в свету с учетом предельно допускаемого отклонения по
таблице А.1.
А.4. Средний диаметр проволоки измеряют, как показано на
рисунке А.1.
Предельно допускаемое отклонение от номинального диаметра каждого из измеренных значений не более +/- 15%.
А.5. Допускается использовать лабораторные сита из металлической проволочной сетки по
ГОСТ Р 51568.
| ASTM E 11-04 | Standard Specification for Wire Cloth and Sieves for Testing Purposes (Стандартная спецификация проволочного полотна и сит для испытаний) |
| | Гигиенические требования к организации технологических процессов, производственному оборудованию и рабочему инструменту |
| | Химические факторы производственной среды. ПДК вредных веществ в воздухе рабочей зоны |
| | Гигиенические требования по ограничению облучения населения за счет природных источников ионизирующего излучения |
[5] | | Нормы радиационной безопасности (НРБ-99/2009) |
| | Основные санитарные правила обеспечения радиационной безопасности (ОСПОРБ-99) |