Главная // Актуальные документы // ГОСТ Р (Государственный стандарт)СПРАВКА
Источник публикации
М.: Стандартинформ, 2012
Примечание к документу
Документ утратил силу с 01.07.2015 в связи с изданием
Приказа Росстандарта от 31.10.2013 N 1293-ст. Взамен введен в действие ГОСТ 32152-2013.
Документ
введен в действие с 01.07.2012.
Название документа
"ГОСТ Р 54375-2011. Национальный стандарт Российской Федерации. Пищевые продукты переработки яиц сельскохозяйственной птицы. Методы определения содержания янтарной, молочной и 3D-оксимасляной кислот"
(утв. и введен в действие Приказом Росстандарта от 05.08.2011 N 220-ст)
"ГОСТ Р 54375-2011. Национальный стандарт Российской Федерации. Пищевые продукты переработки яиц сельскохозяйственной птицы. Методы определения содержания янтарной, молочной и 3D-оксимасляной кислот"
(утв. и введен в действие Приказом Росстандарта от 05.08.2011 N 220-ст)
Утвержден и введен в действие
агентства по техническому
регулированию и метрологии
от 5 августа 2011 г. N 220-ст
НАЦИОНАЛЬНЫЙ СТАНДАРТ РОССИЙСКОЙ ФЕДЕРАЦИИ
ПИЩЕВЫЕ ПРОДУКТЫ ПЕРЕРАБОТКИ ЯИЦ СЕЛЬСКОХОЗЯЙСТВЕННОЙ ПТИЦЫ
МЕТОДЫ ОПРЕДЕЛЕНИЯ СОДЕРЖАНИЯ ЯНТАРНОЙ,
МОЛОЧНОЙ И 3D-ОКСИМАСЛЯНОЙ КИСЛОТ
Foodstuffs of processed poultry eggs.
Methods for determination of succinic,
lactic and 3D-hydroxibutyric acids
ГОСТ Р 54375-2011
Дата введения
1 июля 2012 года
Цели и принципы стандартизации в Российской Федерации установлены Федеральным
законом от 27 декабря 2002 г. N 184-ФЗ "О техническом регулировании", а правила применения национальных стандартов Российской Федерации -
ГОСТ Р 1.0-2004 "Стандартизация в Российской Федерации. Основные положения".
1. Разработан Государственным научным учреждением Всероссийским научно-исследовательским институтом птицеперерабатывающей промышленности Российской академии сельскохозяйственных наук (ГНУ ВНИИПП Россельхозакадемии).
2. Внесен Техническим комитетом по стандартизации ТК 116 "Продукты переработки птицы, яиц и сублимационной сушки".
3. Утвержден и введен в действие
Приказом Федерального агентства по техническому регулированию и метрологии от 5 августа 2011 г. N 220-ст.
4. Введен впервые.
Информация об изменениях к настоящему стандарту публикуется в ежегодно издаваемом информационном указателе "Национальные стандарты", а текст изменений и поправок - в ежемесячно издаваемых информационных указателях "Национальные стандарты". В случае пересмотра (замены) или отмены настоящего стандарта соответствующее уведомление будет опубликовано в ежемесячно издаваемом информационном указателе "Национальные стандарты". Соответствующая информация, уведомление и тексты размещаются также в информационной системе общего пользования - на официальном сайте Федерального агентства по техническому регулированию и метрологии в сети Интернет.
Настоящий стандарт распространяется на сухой, концентрированный и жидкий яичный меланж, кроме меланжа, подвергнутого ферментативной обработке, и устанавливает газохроматографический метод с насадочной колонкой и метод капиллярной газожидкостной хроматографии для определения массовой концентрации молочной, янтарной и 3D-оксимасляной (далее - бета-оксимасляной) кислот в пересчете на сухое вещество.
Метод капиллярной газожидкостной хроматографии используют в качестве арбитражного при возникновении разногласий.
В настоящем стандарте использованы нормативные ссылки на следующие стандарты:
ГОСТ Р ИСО 5725-1-2002. Точность (правильность и прецизионность) методов и результатов измерений. Часть 1. Основные положения и определения
ГОСТ Р 53228-2008. Весы неавтоматического действия. Часть 1. Метрологические и технические требования. Испытания
ГОСТ Р 53669-2009. Пищевые продукты переработки яиц сельскохозяйственной птицы. Методы отбора проб и органолептического анализа
ГОСТ Р 53746-2009. Пищевые продукты переработки яиц сельскохозяйственной птицы. Методы физико-химического анализа
ГОСТ 12.1.004-91. Система стандартов безопасности труда. Пожарная безопасность. Общие требования
ГОСТ 12.1.007-76. Система стандартов безопасности труда. Вредные вещества. Классификация и общие требования безопасности
ГОСТ 12.1.019-79. Система стандартов безопасности труда. Электробезопасность. Общие требования и номенклатура видов защиты
ГОСТ 745-2003. Фольга алюминиевая для упаковки. Технические условия
ГОСТ 1770-74 (ИСО 1042-83, ИСО 4788-80). Посуда мерная лабораторная стеклянная. Цилиндры, мензурки, колбы, пробирки. Общие технические условия
ГОСТ 3769-78. Реактивы. Аммоний сернокислый. Технические условия
ГОСТ 4166-76. Реактивы. Натрий сернокислый. Технические условия
ГОСТ 4328-77. Реактивы. Натрия гидроокись. Технические условия
ГОСТ 4919.1-77. Реактивы и особо чистые вещества. Методы приготовления растворов индикаторов
ГОСТ 5829-71. Реактивы. Ацетил хлористый. Технические условия
ГОСТ 6341-75. Реактивы. Кислота янтарная. Технические условия
ГОСТ 9147-80. Посуда и оборудование лабораторные фарфоровые. Технические условия
ГОСТ 9293-74. Азот газообразный и жидкий. Технические условия
ГОСТ 12026-76. Бумага фильтровальная лабораторная. Технические условия
ГОСТ 14919-83. Электроплиты, электроплитки и жарочные электрошкафы бытовые. Общие технические условия
ГОСТ 18300-87. Спирт этиловый ректификованный технический. Технические условия
ГОСТ 25336-82. Посуда и оборудование лабораторные стеклянные. Типы, основные параметры и размеры
ГОСТ 25794.1-83. Реактивы. Методы приготовления титрованных растворов для кислотно-основного титрования
ГОСТ 26703-93. Хроматографы аналитические газовые. Общие технические требования и методы испытаний
ГОСТ 29169-91 (ИСО 648-77). Посуда лабораторная стеклянная. Пипетки с одной отметкой
ГОСТ 29228-91 (ИСО 835-2-81). Посуда лабораторная стеклянная. Пипетки градуированные. Часть 2. Пипетки градуированные без установленного времени ожидания
ГОСТ 29251-91 (ИСО 385-1-84). Посуда лабораторная стеклянная. Бюретки. Часть 1. Общие требования.
Примечание. При пользовании настоящим стандартом целесообразно проверить действие ссылочных стандартов в информационной системе общего пользования - на официальном сайте Федерального агентства по техническому регулированию и метрологии в сети Интернет или по ежегодно издаваемому информационному указателю "Национальные стандарты", который опубликован по состоянию на 1 января текущего года, и по соответствующим ежемесячно издаваемым информационным указателям, опубликованным в текущем году. Если ссылочный стандарт заменен (изменен), то при пользовании настоящим стандартом следует руководствоваться заменяющим (измененным) стандартом. Если ссылочный стандарт отменен без замены, то положение, в котором дана ссылка на него, применяется в части, не затрагивающей эту ссылку.
3. Отбор проб и подготовка их к испытаниям
3.2. Представительная проба жидкого или концентрированного яичного меланжа должна быть массой не менее 500 г, сухого яичного меланжа - не менее 150 г. Пробы до проведения испытаний хранят в плотно закрытой стеклянной посуде в холодильнике не более двух суток. Замораживание и хранение в замороженном состоянии охлажденных жидких и концентрированных яичных продуктов не допускается.
3.3. Перед проведением испытаний замороженные яичные продукты размораживают при комнатной температуре или на водяной бане при температуре не более 50 °C. Охлажденные и размороженные жидкие яичные продукты перемешивают до образования однородной массы.
3.4. Сухой яичный меланж хранят в плотно закрытых пакетах или стеклянной емкости и перед проведением испытаний растирают слегка пестиком для разбивания комков и тщательно перемешивают.
4. Определение массовой концентрации молочной, янтарной
и бета-оксимасляной кислот газохроматографическим методом
с насадочной колонкой
4.1. Сущность метода заключается в экстрагировании карбоновых кислот из подкисленного водного экстракта пробы диэтиловым эфиром, получении производных кислот в виде их изопропиловых эфиров, разделении и количественном определении изопропиловых эфиров молочной, янтарной и бета-оксимасляной кислот с помощью газожидкостной хроматографии с использованием насадочной колонки и внутреннего стандарта.
4.2. Метрологические характеристики метода
Метрологические характеристики метода при доверительной вероятности P = 0,95 приведены в таблице 1.
┌────────────────────────┬─────────────┬──────────┬───────────────────────┐
│ Диапазон измерений │ Границы │Предел │ Критическая разность │
│ массовой доли │относительной│повторяе- │ (n = n = 2) CD , │
│ (содержания) в │ погрешности │мости │ 1 2 0,95 │
│ пересчете на сухое │+/- дельта, %│r , % │ % │
│ вещество, │ │ отн │ │
│ -1 │ │ │ │
│ млн (мг/кг) │ │ │ │
├────────────────────────┼─────────────┼──────────┼───────────────────────┤
│ Молочная кислота: │ │ │ │
│ от 40,0 до 400,0 включ.│ 11 │ 8 │ 14 │
│ св. 400,0 │ 9 │ 6 │ 11 │
├────────────────────────┼─────────────┼──────────┼───────────────────────┤
│ Янтарная кислота: │ │ │ │
│ от 8,0 до 50,0 включ. │ 14 │ 10 │ 18 │
│ св. 50,0 │ 12 │ 8 │ 16 │
├────────────────────────┼─────────────┼──────────┼───────────────────────┤
│ Бета-оксимасляная │ │ │ │
│кислота: │ │ │ │
│ от 12,0 до 30,0 включ. │ 15 │ 11 │ 18 │
│ св. 30,0 │ 12 │ 8 │ 16 │
└────────────────────────┴─────────────┴──────────┴───────────────────────┘
4.3. Средства измерений, вспомогательные устройства, реактивы и материалы
Газовый хроматограф по
ГОСТ 26703 с пламенно-ионизационным детектором, пределом детектирования не более

по гептану.
Колонка хроматографическая стеклянная длиной 3 м, диаметром 4 мм.
Микрошприц для газовой хроматографии вместимостью 5 мм3.
Весы лабораторные по
ГОСТ Р 53228 с пределом допускаемой абсолютной погрешности однократного взвешивания не более +/- 0,0002 г.
Весы лабораторные по
ГОСТ Р 53228 с пределом допускаемой абсолютной погрешности однократного взвешивания не более +/- 0,02 г.
Шкаф сушильный лабораторный вакуумный с насосом, обеспечивающий поддержание температуры 50 °C - 60 °C и остаточное давление не более 40 мм рт. ст.
Ротационный испаритель.
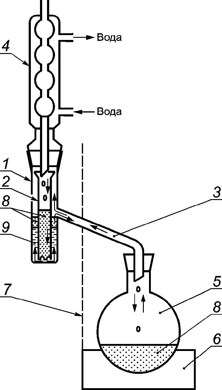
Аппарат для непрерывной экстракции органических кислот диэтиловым эфиром (см. рисунок 1).
1 - пробирка со шлифом; 2 - трубка с расширением,
вставляемая в пробирку 1; 3 - боковой отвод;
4 - холодильник; 5 - экстракционная колба;
6 - колбонагреватель (электроплитка);
7 - теплоизолирующий экран; 8 - диэтиловый
эфир; 9 - водная вытяжка пробы
Рисунок 1. Аппарат для непрерывной экстракции
Термостат жидкостной, обеспечивающий поддержание температуры (60 +/- 1) °C.
Баня водяная.
Секундомер.
Воронки делительные ВД-3-50 ХС и ВД-3-250 ХС по
ГОСТ 25336.
Колбы мерные 2-50-1, 2-100-1, 2-200-1, 2-250-1, 1-1000-2 по
ГОСТ 1770.
Пипетки градуированные 1-го класса точности вместимостью 1, 2, 5, 10 см3 по
ГОСТ 29228.
Пипетки с одной отметкой 1-1-1, 1-1-2, 2-1-5, 2-1-10 и 2-1-25 по
ГОСТ 29169.
Цилиндры мерные 1-25-1 и 1-100-1 по
ГОСТ 1770.
Колбы конические Кн-1-500-29/32 ТХС и Кн-1-1000-29/32 ТХС по
ГОСТ 25336.
Холодильники ХШ-1-400-29/32 и ХШ-1-200-14/23 по
ГОСТ 25336.
Стаканы химические В-1-50 ХС, В-1-250 ТХС, В-1-500 ТСХ и В-1-1000 ТХС по
ГОСТ 25336.
Палочки стеклянные.
Виалы с завинчивающейся крышкой вместимостью 5 см3.
Спирт изопропиловый (2-пропанол) абсолютированный по
ГОСТ 9805.
Носитель для жидкой фазы хроматон N или хромосорб W зернением 0,100 - 0,125 мм.
Жидкая фаза - диэтиленгликольсукцинат стабилизированный (ДЭГС) (например, HI-EFF-1BP) или готовая фаза 10% ДЭГС на хроматоне N или хромосорбе W (0,100 - 0,125 мм).
Диметилдихлорсилан массовой долей основного вещества не менее 98%.
Кальций молочнокислый (лактат кальция) 5-водный массовой долей основного вещества не менее 99%.
Натрия бета-оксибутират (натриевая соль DL-3-оксимасляной кислоты) массовой долей основного вещества не менее 98%.
Ацетофенон (метилфенилкетон) массовой долей основного вещества не менее 99%.
Ацетил хлористый по ГОСТ 5829, ч.д.а.
Эфир диэтиловый (этиловый) безводный, содержащий менее 0,05% этилового спирта, о.с.ч.
Натрия гидроокись по
ГОСТ 4328, ч. или х.ч., или стандарт-титр водного раствора гидроокиси натрия молярной концентрацией 0,1 моль/дм3.
Кислота фосфорно-вольфрамовая водная, х.ч.
Индикатор фенолфталеин, спиртовой раствор по
ГОСТ 4919.1.
Бумага лакмусовая индикаторная.
Воздух сжатый марки А или воздушный компрессор, обеспечивающий необходимое давление и чистоту воздуха согласно инструкции по эксплуатации хроматографа.
Газ азот сжатый, о.с.ч., по
ГОСТ 9293 или генератор азота, обеспечивающий необходимое давление и чистоту азота согласно инструкции по эксплуатации хроматографа.
Газ водород сжатый марки А по
ГОСТ 3022 или генератор водорода, обеспечивающий необходимое давление и чистоту водорода согласно инструкции по эксплуатации хроматографа.
Бумага фильтровальная диаметром 24 см быстрофильтрующая по
ГОСТ 12026.
Фольга алюминиевая гладкая без покрытий по
ГОСТ 745.
Допускается применение других средств измерений с метрологическими характеристиками и оборудования с техническими характеристиками не хуже, а также реактивов по качеству не ниже указанных в
4.3.
4.4. Подготовка к проведению измерений
4.4.1. Приготовление фазы для хроматографической колонки 10% ДЭГС на хроматоне N или хромосорбе W
В стакане вместимостью 250 см3 растворяют 1,2 г ДЭГС в ацетоне, добавляют 10,8 г хроматона N или хромосорба W зернением 0,100 - 0,125 мм. Выпаривают растворитель на водяной бане, периодически перемешивая стеклянной палочкой, и затем высушивают в вакуумном сушильном шкафу при температуре 50 °C - 60 °C в течение 1 ч.
4.4.2. Приготовление стеклянной хроматографической колонки
Стеклянную колонку длиной 3 м и диаметром 4 мм заливают раствором диметилдихлорсилана в толуоле массовой концентрацией примерно 50 г/дм3 [(2,5 +/- 0,1) г диметилдихлорсилана растворяют в 50 см3 толуола и перемешивают] и оставляют на 5 мин. Затем содержимое колонки удаляют и промывают ее метиловым спиртом до нейтральной реакции на лакмус (расход метанола примерно 300 см3). Колонку сушат, подсоединив водоструйный насос, заполняют носителем с нанесенной фазой, устанавливают в хроматограф, не подключая к детектору, и кондиционируют при температуре 200 °C потоком азота 30 см3/мин в течение 48 ч.
Допускается использовать другие колонки и фазы, дающие эквивалентное разделение изопропиловых эфиров молочной, янтарной и бета-оксимасляной кислот.
4.4.3. Приготовление насыщенного раствора сернокислого аммония
В стакане вместимостью 250 см3 растворяют 75 г сернокислого аммония в 100 см3 подогретой до 40 °C - 50 °C дистиллированной воды и доводят температуру раствора до комнатной температуры.
Срок хранения раствора - не более 8 мес.
4.4.4. Приготовление разбавленной (1:1) серной кислоты
Равные объемы концентрированной серной кислоты и дистиллированной воды смешивают в термостойкой посуде, осторожно вливая кислоту в воду и перемешивая, и охлаждают до комнатной температуры.
Срок хранения раствора - не более 12 мес.
4.4.5. Приготовление раствора серной кислоты молярной концентрацией 0,5 моль/дм3
В термостойкой посуде, содержащей 200 см3 дистиллированной воды, осторожно растворяют 27 см3 концентрированной серной кислоты, отмеренной с помощью мерного цилиндра, перемешивают, охлаждают до комнатной температуры, переносят в мерную колбу вместимостью 1 дм3 и доводят объем дистиллированной водой до 1000 см3.
Срок хранения раствора - не более 9 мес.
4.4.6. Приготовление раствора серной кислоты молярной концентрацией 9 моль/дм3
В термостойкой посуде, содержащей 100 см3 дистиллированной воды, осторожно растворяют 80 см3 концентрированной серной кислоты, отмеренной с помощью мерного цилиндра, перемешивают и охлаждают до комнатной температуры.
Срок хранения раствора - не более 9 мес.
4.4.7. Приготовление раствора гидроокиси натрия молярной концентрацией 0,05 моль/дм3
В стаканчике взвешивают (0,200 +/- 0,001) г гидроокиси натрия, растворяют в дистиллированной воде, количественно переносят в мерную колбу вместимостью 100 см3 и доводят объем дистиллированной водой до метки.
Срок хранения раствора в плотно укупоренной полиэтиленовой емкости - не более 3 мес.
4.4.8. Приготовление раствора фосфорно-вольфрамовой кислоты массовой концентрацией 200 г/дм3
К 200 г фосфорно-вольфрамовой кислоты, помещенной в стакан вместимостью 1000 см3, добавляют 600 см3 дистиллированной воды, перемешивают стеклянной палочкой до полного растворения (при необходимости подогревают смесь), переносят в мерную колбу вместимостью 1000 см3 и доводят объем до метки дистиллированной водой.
Срок хранения раствора - не более 6 мес.
4.4.9. Приготовление раствора гидроокиси натрия молярной концентрацией 0,1 моль/дм3
Раствор готовят по
ГОСТ 25794.1 или из стандарт-титра согласно прилагаемой инструкции.
Срок хранения раствора в плотно укупоренной полиэтиленовой емкости - не более 3 мес.
4.4.10. Приготовление раствора гидрохлорида (HCl) в изопропиловом спирте (реагент для этерификации кислот) массовой долей 11,2%
В высокую пробирку вносят 5 см3 абсолютированного изопропилового спирта, осторожно по каплям, стараясь не попасть на стенки пробирки, добавляют 0,5 см3 хлористого ацетила, закрывают пробкой и перемешивают.
Реагент готовят непосредственно перед проведением этерификации кислот.
4.4.11. Приготовление стандартного раствора молочной кислоты массовой концентрацией 5 г/дм3
В мерной колбе вместимостью 100 см3 взвешивают 856 мг кальция молочнокислого 5-водного с записью результата взвешивания в миллиграммах до целого числа, растворяют в дистиллированной воде и доводят объем до метки дистиллированной водой. Полученный раствор лактата кальция эквивалентен раствору молочной кислоты массовой концентрацией 5 г/дм3 (раствор A).
Срок хранения раствора в холодильнике - не более 14 дней.
4.4.12. Приготовление стандартного раствора бета-оксимасляной кислоты массовой концентрацией 0,5 г/дм3
В мерной колбе вместимостью 200 см3 взвешивают 121,0 мг натриевой соли бета-оксимасляной кислоты с записью результата взвешивания в миллиграммах до одного десятичного знака, растворяют в дистиллированной воде и доводят объем до метки дистиллированной водой. Полученный раствор бета-оксибутирата натрия эквивалентен раствору бета-оксимасляной кислоты массовой концентрацией 0,5 г/дм3.
Срок хранения раствора в холодильнике - не более 14 дней.
4.4.13. Приготовление стандартного раствора янтарной кислоты массовой концентрацией 1 г/дм3
В мерной колбе вместимостью 100 см3 взвешивают 100,0 мг янтарной кислоты с записью результата взвешивания в миллиграммах до одного десятичного знака, растворяют в дистиллированной воде и доводят объем до метки дистиллированной водой (раствор F).
Срок хранения раствора в холодильнике - не более 30 дней.
4.4.14. Приготовление стандартного раствора ацетофенона массовой концентрацией 8 г/дм3
В мерной колбе вместимостью 100 см3 взвешивают 800 мг ацетофенона с записью результата взвешивания в миллиграммах до одного десятичного знака, растворяют в изопропиловом спирте и доводят объем до метки изопропиловым спиртом.
Срок хранения раствора при комнатной температуре - не более 30 дней.
Перед использованием (не реже одного раза в день) 10 см3 стандартного раствора ацетофенона помещают в делительную воронку вместимостью 250 см3, добавляют 20 см3 толуола, 40 см3 насыщенного раствора сернокислого аммония, закрывают, встряхивают в течение примерно 1 мин и оставляют для разделения слоев. Нижний водный слой сливают и отбрасывают. Верхний слой переносят в колбу со стеклянной пробкой и добавляют 5 г сернокислого натрия.
4.4.15. Приготовление разбавленных градуировочных растворов смеси молочной и янтарной кислот
В мерные колбы вместимостью 50 см3 помещают 25, 20, 15 и 5 см3 стандартного раствора A молочной кислоты (см.
4.4.11) и доводят объем до метки дистиллированной водой. Массовая концентрация эквивалента молочной кислоты в этих растворах: 2,5 (раствор B); 2,0 (раствор C); 1,5 (раствор D) и 0,5 (раствор E) г/дм3.
В мерные колбы вместимостью 50, 100 и 100 см3 помещают соответственно 25, 25 и 15 см3 стандартного раствора F янтарной кислоты (см.
4.4.13) и доводят объемы до метки дистиллированной водой. Массовая концентрация янтарной кислоты в этих растворах: 5,0 (раствор G); 2,5 (раствор H) и 1,5 (раствор I) г/дм3.
Составление градуировочных смесей, состоящих из лактата кальция и янтарной кислоты, проводят в соответствии с таблицей 2.
Таблица 2
Объемы растворов лактата кальция и янтарной
кислоты для градуировки хроматографа
Номер комби- нации | Лактат кальция | Янтарная кислота |
Эквива- лентное количество молочной кислоты в смеси, мг | Объем разбавленно- го стандарт- ного раствора, взятый для приготовле- ния смеси, см3 | Обозна- чение раствора | Количество янтарной кислоты в смеси, мг | Объем разбавленно- го стандарт- ного раствора, взятый для приготовле- ния смеси, см3 | Обозна- чение раствора |
1 | 1,0 | 2 | E | 0,30 | 2 | I |
2 | 3,0 | 2 | D | 0,50 | 2 | H |
3 | 4,0 | 2 | C | 0,75 | 3 | H |
4 | 5,0 | 2 | B | 1,00 | 2 | G |
5 | 6,0 | 4 | D | 1,50 | 3 | G |
6 | 8,0 | 4 | C | 2,00 | 2 | F |
7 | 10,0 | 2 | A | 2,50 | 5 | G |
8 | 12,5 | 5 | B | 3,00 | 3 | F |
9 | 15,0 | 3 | A | 4,00 | 4 | F |
Градуировочные смеси хранению не подлежат.
4.4.16. Получение изопропиловых эфиров молочной и янтарной кислот
В грушевидную колбу вместимостью 50 см3 вносят указанные в
таблице 2 для конкретной комбинации объемы градуировочных растворов и высушивают досуха при температуре 100 °C с помощью ротационного испарителя.
В колбу с высушенным остатком добавляют 2 см3 реагента по
4.4.10, подсоединяют холодильник, устанавливают колбу в предварительно нагретый до температуры (60 +/- 1) °C жидкостной термостат и выдерживают при этой температуре в течение (70 +/- 5) мин. Вынимают из термостата и охлаждают до комнатной температуры. Добавляют 4 см3 насыщенного раствора сернокислого аммония, 1 см3 стандартного раствора ацетофенона, приготовленного по
4.4.14 (внутренний стандарт), 2 см3 толуола и перемешивают содержимое вращательным движением колбы.
Содержимое колбы переносят в делительную воронку вместимостью 50 см3, закрывают, встряхивают в течение 1 мин и выдерживают до разделения слоев. Нижний водный слой сливают и отбрасывают. Верхний слой переносят в виалу вместимостью 5 см3 и добавляют примерно 3 г сернокислого натрия. Виалу покрывают алюминиевой фольгой, закрывают крышкой с отверстием и встряхивают 1 - 2 раза. Содержимое виалы используют для хроматографирования.
Срок хранения раствора в холодильнике - не более 48 ч.
4.4.17. Получение изопропилового эфира бета-оксимасляной кислоты
В четыре грушевидные колбы вместимостью 50 см3 вносят 1, 5, 10 и 15 см3 стандартного раствора бета-оксибутирата натрия (см.
4.4.12) (эквивалентное содержание бета-оксимасляной кислоты в указанных объемах составляет соответственно 0,5; 2; 5; и 7,5 мг). Содержимое колб высушивают досуха при температуре 50 °C с помощью ротационного испарителя.
В каждую колбу с высушенным остатком добавляют 2 см3 реагента по
4.4.10 и далее поступают в соответствии с
4.4.16.
4.4.18. Подготовка хроматографа
Хроматограф готовят в соответствии с инструкцией по эксплуатации.
Рекомендуемые режимы хроматографа:
температура испарителя 200 °C;
температура колонки 140 °C;
температура детектора 200 °C;
расход газа-носителя (азот) 40 см3/мин;
расход водорода и воздуха - в соответствии с инструкцией по эксплуатации хроматографа.
В каждом конкретном случае режимы хроматографа могут отличаться от указанных выше и должны быть подобраны для наилучшего разделения изопропиловых эфиров кислот.
Если регистрация хроматограммы проводится на самописец, то предварительно настраивают величину выходного сигнала хроматографа и шкалу самописца так, чтобы пики изопропиловых эфиров кислот всех указанных в
4.4.15 и
4.4.16 градуировочных смесей регистрировались без дополнительных разбавлений. При правильной настройке высота пика внутреннего стандарта составляет примерно 1/3 от всей шкалы самописца. Хроматографирование градуировочных смесей и пробы проводят при одинаковой настройке хроматографа.
4.4.19. Градуировка хроматографа
Шприцем отбирают из виалы раствор изопропиловых эфиров кислот (см.
4.4.16,
4.4.17), протыкая иглой алюминиевую фольгу, и вводят в испаритель хроматографа (3,0 +/- 0,2) мм3 отобранного раствора. Регистрацию хроматограммы проводят два раза для каждой из указанных в
таблице 1 и
4.4.17 градуировочных смесей. Измеряют высоту пиков изопропиловых эфиров молочной, янтарной, бета-оксимасляной кислот и ацетофенона (внутренний стандарт). Для каждой анализируемой кислоты вычисляют отношение K высоты пика эфира кислоты к высоте пика внутреннего стандарта и строят графики зависимости K от массы M анализируемой кислоты, мг, использованной для получения изопропиловых эфиров (см.
таблицу 1,
4.4.17).
Если пик изопропилового эфира молочной кислоты попадает на "хвост" растворителя, то высоту этого пика измеряют от базовой линии, экстраполирующей продолжение "хвоста" растворителя в область пика эфира молочной кислоты.
4.4.20. Приготовление пробы
4.4.20.1. Приготовление водной вытяжки из жидкого или размороженного яичного меланжа
В предварительно взвешенной сухой конической колбе вместимостью 1 дм3 взвешивают 200 г пробы с записью результата взвешивания в граммах до второго десятичного знака, добавляют 500 см3 дистиллированной воды и хорошо перемешивают, избегая сильного встряхивания. Затем добавляют 75 см3 раствора серной кислоты молярной концентрацией 0,5 моль/дм3, хорошо перемешивают и добавляют 125 см3 фосфорно-вольфрамовой кислоты массовой концентрацией 200 г/дм3. Массу содержимого колбы

доводят до 1000 г добавлением дистиллированной воды, встряхивают в течение 1 мин и фильтруют в предварительно взвешенный сухой стакан вместимостью 1 дм3 через складчатый фильтр диаметром 24 см из быстрофильтрующей фильтровальной бумаги до получения примерно 500 см3 фильтрата, заменяя фильтр на новый после получения половины необходимого объема фильтрата. Стакан с фильтратом взвешивают и вычисляют массу фильтрата

с записью результата в граммах до второго десятичного знака. В процессе фильтрования воронку и стакан покрывают алюминиевой фольгой для уменьшения испарения воды.
Фильтрат в стакане выпаривают сначала на электроплитке до объема примерно 100 см3, затем на водяной бане до объема примерно 25 см3.
Если в наличии имеется менее 200 г пробы, то допускается взять навеску массой 100 г, к которой добавляются половины из указанных выше объемов растворов и реактивов, и доводят массу содержимого колбы

водой до 500 г. В этом случае полученный раствор пробы вместе с осадком фильтруют на воронке Бюхнера с разряжением, собирая как можно больше фильтрата. Весь полученный фильтрат взвешивают

и используют для выпаривания.
4.4.20.2. Приготовление водной вытяжки из сухого яичного меланжа
В стакане вместимостью 500 см3 взвешивают 50 г пробы с записью результата взвешивания в граммах до второго десятичного знака, добавляют дистиллированную воду и, перемешивая толстой стеклянной палочкой, превращают в однородную пасту. Затем содержимое стакана переносят в предварительно взвешенную сухую коническую колбу вместимостью 1 дм3, смывая остатки пробы со стенок стакана и палочки дистиллированной водой. Массу содержимого конической колбы

доводят до 700 г добавлением дистиллированной воды, добавляют 50 см3 раствора серной кислоты молярной концентрацией 0,05 моль/дм3, перемешивают, добавляют 25 см3 раствора фосфорно-вольфрамовой кислоты массовой концентрацией 200 г/дм3 и далее поступают, как указано в
4.4.20.1.
4.4.21. Подготовка аппарата для непрерывной экстракции диэтиловым эфиром
4.4.21.1. Аппарат собирают в соответствии с
рисунком 1 (размеры пробирки и трубки приведены в
Приложении А). Принцип действия аппарата (см.
рисунок 1): 40 см3 водной вытяжки из пробы (см.
4.4.20.1 или
4.4.20.2) помещают в пробирку 1 с боковым отводом (экстрактор), в пробирку вставляют трубку 2, верхняя часть которой имеет расширение, а нижняя - выемки для прохождения жидкости. По боковому отводу 3 пары диэтилового эфира из подогреваемой экстракционной колбы 5 поступают в холодильник 4. Сконденсированный жидкий эфир из холодильника через трубку 2, водную вытяжку из пробы 9 и боковой отвод 3 возвращается в экстракционную колбу 5. Этот процесс прохождения эфира через водный раствор пробы повторяется непрерывно, а экстрагированные органические кислоты накапливаются в экстракционной колбе 5. В процессе экстракции весь эфир должен возвращаться в экстракционную колбу, поэтому необходимо использовать как можно более эффективный холодильник 4 и низкую температуру охлаждающей воды, а между пробиркой и колбонагревателем желательно установить теплоизолирующий экран 7. Продолжительность экстракции может быть рассчитана исходя из того, что для полной экстракции молочной, янтарной и бета-оксимасляной кислот через 40 см3 их водного раствора необходимо пропустить не менее 7500 см3 диэтилового эфира (пример расчета приведен в
Приложении Б).
4.4.21.2. Определение продолжительности полного экстрагирования по молочной кислоте
В экстрактор помещают (342 +/- 1) мг лактата кальция 5-водного (эквивалент 200 мг молочной кислоты), 0,5 см3 раствора серной кислоты молярной концентрацией 9 моль/дм3, 15 г сернокислого аммония и 40 см3 дистиллированной воды и экстрагируют полученную смесь диэтиловым эфиром до тех пор, пока не будет экстрагировано не менее 98% молочной кислоты (примерно 3 - 5 ч).
Для определения количества экстрагированной молочной кислоты в экстракционную колбу добавляют 20 см3 дистиллированной воды и выпаривают диэтиловый эфир на водяной бане (необходимо следить, чтобы колба не оставалась на водяной бане после того, как весь эфир выпарился). Охлаждают до комнатной температуры, добавляют несколько капель фенолфталеина и титруют из бюретки раствором гидроокиси натрия массовой концентрацией 0,1 моль/дм3 (см.
4.4.9).
Массу экстрагированной молочной кислоты

, мг, рассчитывают по формуле

, (1)
где 90,08 - молекулярная масса молочной кислоты, г/моль;
C - молярная концентрация раствора NaOH, моль/дм3;
V - объем раствора NaOH молярной концентрацией 0,1 моль/дм3, израсходованный на титрование, см3.
4.4.22. Экстракция диэтиловым эфиром молочной, янтарной и бета-оксимасляной кислоты из водной вытяжки пробы и получение их изопропиловых эфиров
В сухую экстрагирующую пробирку 1 (см.
рисунок 1), содержащую 15 г сернокислого аммония, переносят из стакана упаренную аликвоту водной вытяжки пробы (см.
4.4.20), смывая остатки дистиллированной водой и добавляя ее в пробирку до получения объема смеси в пробирке 40 см3 (на пробирке предварительно делают отметку на объем 40 см3). Добавляют 0,5 см3 разбавленной (1:1) серной кислоты и перемешивают путем поднятия и опускания вставленной в пробирку трубки. Стакан промывают примерно 50 см3 диэтилового эфира и вливают его в экстрактор через вставленную трубку. Подсоединяют к пробирке холодильник 4 (см.
рисунок 1), включают как можно больший поток охлаждающей воды, подсоединяют экстракционную колбу 5 (см.
рисунок 1), содержащую 150 см3 диэтилового эфира, и медленно опускают на нагреватель (электроплитка с асбестовым покрытием или колбонагреватель), не допуская перегрева эфира. Между экстрактором и нагревателем помещают лист термостойкого теплоизолирующего материала 7 (см.
рисунок 1) и проводят экстракцию в течение времени, необходимого для экстрагирования всех трех кислот (при достаточно быстром кипении эфира, низкой температуре охлаждающей воды и постоянном потоке возвращаемого в колбу эфира полная экстракция может быть проведена за 3 ч).
После окончания экстракции диэтиловый эфир выпаривают из экстракционной колбы при температуре 30 °C с помощью ротационного испарителя до объема примерно 1 см3 (если экстракция эфиром заканчивается в конце дня, то эфир не выпаривают, а колбу с эфирным экстрактом оставляют на ночь присоединенной к экстрактору).
Для получения изопропиловых эфиров кислот в колбу с упаренным экстрактом добавляют 2 см3 реагента (см.
4.4.10) и далее поступают согласно
4.4.17.
4.5. Проведение измерений
Шприцем отбирают из виалы (3,0 +/- 0,2) мм3 раствора изопропиловых эфиров кислот, экстрагированных из пробы (см.
4.4.22), протыкая иглой алюминиевую фольгу, и вводят в испаритель хроматографа. Регистрацию хроматограммы проводят два раза. Измеряют высоты хроматографических пиков изопропиловых эфиров молочной, янтарной и бета-оксимасляной кислот и внутреннего стандарта (ацетофенона) и рассчитывают отношения

высот пиков кислот к высоте пика внутреннего стандарта. По полученному значению

из градуировочной зависимости и с учетом разбавлений определяют массу m кислоты, содержащейся в аликвоте фильтрата водной вытяжки пробы (среднее значение по результатам двух вводов раствора в хроматограф).
Если высоты пиков выходят за пределы градуировочных зависимостей, проводят разбавление анализируемого раствора: из виалы отбирают 1 см3 раствора, переносят в другую виалу, добавляют в нее 1 см3 или более раствора ацетофенона и 0,2 г сернокислого натрия, накрывают алюминиевой фольгой, закрывают крышкой и встряхивают. Отбирают шприцем (3,0 +/- 0,2) мм3 полученного раствора и дважды вводят в испаритель хроматографа. При необходимости использования растворов изопропиловых эфиров на следующий день после приготовления их хранят в холодильнике. Для каждой кислоты в качестве результата измерений используют высоту пика, укладывающегося в градуировочный диапазон и соответствующего наименьшему разбавлению раствора. Например, если разбавление требуется только для молочной кислоты, то содержание этой кислоты определяют по хроматограммам разбавленного раствора, а содержание других кислот - по хроматограммам неразбавленного раствора.
4.6. Обработка результатов
Массовую долю (содержание)

,

(мг/кг), молочной, янтарной и бета-оксимасляной кислот в пересчете на сухое вещество рассчитывают по формуле

, (2)
где F - коэффициент разбавления раствора изопропиловых эфиров кислот;
m - масса анализируемой кислоты, определенная по градуировочной зависимости по
4.4.20 с помощью измеренного отношения высот пиков

изопропилового эфира анализируемой кислоты и внутреннего стандарта, мг;

- масса отобранной для анализа аликвоты водной отфильтрованной вытяжки пробы (см.
4.4.20.1 или
4.4.20.2), г;

- масса пробы, взятая для анализа, г;
P - массовая доля сухих веществ в пробе, %, измеренная по
ГОСТ Р 53746.
За окончательный результат измерения принимают среднеарифметическое значение результатов анализов, выполненных в условиях повторяемости по
ГОСТ Р ИСО 5725-1 для двух идентичных проб, если выполняется условие приемлемости

, (3)
где

,

- результаты определений массовой доли анализируемой органической кислоты для двух идентичных проб,

(мг/кг);

- относительный предел повторяемости при P = 0,95, % (см.
таблицу 1).
Расхождение между результатами двух независимых определений, полученных при использовании одного и того же метода, на одной и той же пробе, в разных лабораториях, разными операторами, с использованием различного оборудования, должно удовлетворять следующему условию приемлемости

, (4)
где

,

- среднеарифметические значения результатов определений массовой доли анализируемой органической кислоты, полученных в двух разных лабораториях (по два параллельных определения в каждой лаборатории),

(мг/кг);

- критическая разность при P = 0,95 и

, % (см.
таблицу 1).
4.7. Оформление результатов
Результат измерений представляют в виде:

, (5)
где

- среднеарифметическое значение результатов измерений массовой доли анализируемой органической кислоты для двух идентичных проб, признанных приемлемыми по
формуле (3),

(мг/кг);

- границы абсолютной погрешности при P = 0,95,

(мг/кг).
Границы абсолютной погрешности

,

(мг/кг), вычисляют по формуле

, (6)
где

- границы относительной погрешности при P = 0,95, %
(таблица 1).
Значение

вычисляют с округлением до двух значащих цифр. Среднеарифметическое значение

округляют до цифры того же разряда, что и последняя значащая цифра границы абсолютной погрешности

.
5. Определение массовой доли молочной,
янтарной и бета-оксимасляной кислоты методом
капиллярной газожидкостной хроматографии
5.1. Сущность метода заключается в экстрагировании карбоновых кислот из подкисленного водного экстракта пробы диэтиловым эфиром, получении производных кислот в виде их изопропиловых эфиров и разделении и количественном определении изопропиловых эфиров молочной, янтарной и бета-оксимасляной кислот с помощью газожидкостной хроматографии с использованием капиллярной колонки и внутреннего стандарта.
5.2. Метрологические характеристики метода
Метрологические характеристики метода при доверительной вероятности P = 0,95 приведены в таблице 3.
┌───────────────────────────┬─────────────┬─────────┬─────────────────────┐
│Диапазон измерений массовой│ Границы │Предел │Критическая разность │
│ доли (содержания) │относительной│повторяе-│(n = n = 2) CD ,│
│ в пересчете на сухое │ погрешности │мости │ 1 2 0,95 │
│ вещество, │ дельта, % │r , % │ % │
│ -1 │ │ отн │ │
│ млн (мг/кг) │ │ │ │
├───────────────────────────┼─────────────┼─────────┼─────────────────────┤
│Молочная кислота: │ │ │ │
│ от 20,0 до 400,0 включ. │ 9 │ 6 │ 13 │
│ св. 400,0 │ 7 │ 5 │ 10 │
├───────────────────────────┼─────────────┼─────────┼─────────────────────┤
│Янтарная кислота: │ │ │ │
│ от 4,0 до 50,0 включ. │ 11 │ 8 │ 16 │
│ св. 50,0 │ 9 │ 6 │ 14 │
├───────────────────────────┼─────────────┼─────────┼─────────────────────┤
│Бета-оксимасляная кислота: │ │ │ │
│ от 6,0 до 30,0 включ. │ 12 │ 10 │ 17 │
│ св. 30,0 │ 10 │ 7 │ 14 │
└───────────────────────────┴─────────────┴─────────┴─────────────────────┘
5.3. Средства измерений, вспомогательные устройства, реактивы и материалы
Применяют средства измерений, вспомогательные устройства, реактивы и материалы, указанные в
4.3, а также:
- хроматограф газовый по
ГОСТ 26703 с пламенно-ионизационным детектором с пределом детектирования не более

по гептану и инжектором с делением потока;
- капиллярную хроматографическую колонку длиной 30 м, внутренним диаметром 0,32 мм и толщиной фазы 0,25 мкм или аналогичную колонку с неподвижной фазой из сшитого полиэтиленгликоля.
5.4. Подготовка к проведению измерений
5.4.1. Подготовка к проведению измерений в части приготовления реактивов и экстракции анализируемых кислот из пробы проводится по
4.4, за исключением приготовления стандартных растворов ацетофенона, янтарной, молочной и бета-оксимасляной кислот, массовая концентрация которых должна быть в два раза меньше концентраций, указанных в
4.4.11 -
4.4.14 (при приготовлении стандартных растворов используют в два раза меньшие массы ацетофенона, янтарной кислоты, кальция молочнокислого и натриевой соли бета-оксимасляной кислоты, чем указано в
4.4.11 -
4.4.14): массовая концентрация приготовленных стандартных растворов: ацетофенона 4 г/дм3, молочной кислоты 2,5 г/дм3 (раствор A), янтарной кислоты 0,5 г/дм3 (раствор F) и бета-оксимасляной кислоты 0,25 г/дм3.
5.4.2. Приготовление разбавленных градуировочных растворов, градуировочных смесей и получение изопропиловых эфиров молочной и янтарной кислот проводят в соответствии с
4.4.15,
4.4.16 с использованием стандартных растворов ацетофенона, янтарной и молочной кислот по
5.4.1. Массовая концентрация эквивалента молочной кислоты в приготовленных разбавленных стандартных растворах: 1,25 (раствор B); 1,0 г/дм3 (раствор C); 0,75 (раствор D) и 0,25 г/дм3 (раствор E). Массовая концентрация янтарной кислоты в разбавленных стандартных растворах: 2,5 (раствор G); 1,25 (раствор H) и 0,75 (раствор I) г/дм3. Составление градуировочных смесей молочной и янтарной кислот проводят в соответствии с таблицей 4.
Таблица 4
Объемы растворов лактата кальция и янтарной
кислоты для градуировки хроматографа
Номер комби- нации | Лактат кальция | Янтарная кислота |
Эквива- лентное количество молочной кислоты в смеси, мг | Объем разбавленно- го стандарт- ного раствора, взятый для приготовле- ния смеси, см3 | Обозна- чение раствора | Количество янтарной кислоты в смеси, мг | Объем разбавленно- го стандарт- ного раствора, взятый для приготовле- ния смеси, см3 | Обозна- чение раствора |
1 | 0,5 | 2 | E | 0,15 | 2 | I |
2 | 1,5 | 2 | D | 0,25 | 2 | H |
3 | 2 | 2 | C | 0,375 | 3 | H |
4 | 2,5 | 2 | B | 0,5 | 2 | G |
5 | 3,0 | 4 | D | 0,75 | 3 | G |
6 | 4,0 | 4 | C | 1,0 | 2 | F |
7 | 5,0 | 2 | A | 1,25 | 5 | G |
8 | 6,25 | 5 | B | 1,5 | 3 | F |
9 | 7,5 | 3 | A | 2,0 | 4 | F |
5.4.3. Приготовление изопропиловых эфиров бета-оксимасляной кислоты проводят по
4.4.17 с использованием стандартного раствора по
5.4.1. Масса бета-оксимасляной кислоты в отобранных по
4.4.17 для градуировки объемах стандартного раствора: 0,25; 1,0; 2,5 и 3,75 мг.
5.4.4. Подготовка хроматографа
Подготовку хроматографа проводят в соответствии с инструкцией по эксплуатации. Рекомендуются следующие режимы хроматографа:
температура испарителя 230 °C;
деление потока 1:30;
расход газа-носителя (азот) 1 см3/мин;
объем вводимой пробы в хроматограф 1 мм3;
программирование температуры колонки: нагрев от 50 °C до 130 °C со скоростью 8 °C/мин; нагрев от 130 °C до 200 °C со скоростью 3 °C/мин.
Температуру детектора, расход воздуха и водорода устанавливают в соответствии с инструкцией по эксплуатации хроматографа.
5.4.5. Градуировка хроматографа
Шприцем отбирают из виалы раствор изопропиловых эфиров кислот (см.
5.4.2,
5.4.3), протыкая иглой алюминиевую фольгу, и вводят в испаритель хроматографа (1,0 +/- 0,1) мм3 отобранного раствора. Регистрацию хроматограммы проводят два раза для каждой из указанных в
таблице 4 и
5.4.3 градуировочных смесей. Измеряют площадь пиков изопропиловых эфиров молочной, янтарной, бета-оксимасляной кислот и ацетофенона (внутренний стандарт). Для каждой анализируемой кислоты вычисляют отношение K площади пика эфира кислоты к площади пика внутреннего стандарта и строят графики зависимости величины K от массы M анализируемой кислоты, мг, использованной для получения изопропиловых эфиров (
5.4.3,
таблица 4).
5.5. Проведение измерений
Шприцем отбирают из виалы 1 мм3 раствора изопропиловых эфиров кислот, экстрагированных из пробы (см.
4.4.22), протыкая иглой алюминиевую фольгу, и вводят в испаритель хроматографа. Регистрацию хроматограммы проводят два раза. Измеряют площади хроматографических пиков изопропиловых эфиров молочной, янтарной и бета-оксимасляной кислот и внутреннего стандарта (ацетофенона) и рассчитывают отношения

площадей пиков кислот к площади пика внутреннего стандарта. По полученному значению

из градуировочной зависимости и с учетом разбавлений определяют массу кислоты m, содержащейся в аликвоте фильтрата водной вытяжки пробы (среднее значение по результатам двух вводов раствора в хроматограф).
5.6. Обработка и оформление результатов
Обработку и оформление результатов измерений проводят по
4.6 и
4.7 с использованием значений предела повторяемости

, критической разности

и границ относительной погрешности

из
таблицы 3.
6. Требования безопасности
6.1. При подготовке и проведении измерений необходимо соблюдать требования техники безопасности при работе с химическими реактивами по
ГОСТ 12.1.007 и требования пожарной безопасности по
ГОСТ 12.1.004.
6.2. Помещение, в котором проводятся измерения, должно быть снабжено приточно-вытяжной вентиляцией. Работу необходимо проводить в вытяжном шкафу. Особые меры предосторожности следует принимать при работе с диэтиловым эфиром, не допуская накопление его паров в помещении.
6.3. При работе с электроприборами необходимо соблюдать требования безопасности по
ГОСТ 12.1.019.
6.4. При работе с сжатыми газами необходимо соблюдать правила работы с устройствами, работающими под давлением.
6.5. Ацетилхлорид вызывает раздражение кожи и слизистых оболочек, поражает дыхательные пути, поэтому работу с ацетилхлоридом следует проводить только в вытяжном шкафу с применением индивидуальных средств защиты.
(обязательное)
РАЗМЕРЫ ПРОБИРКИ С ОТВОДОМ И ТРУБКИ
АППАРАТА ДЛЯ НЕПРЕРЫВНОЙ ЭКСТРАКЦИИ
А.1. Основные размеры деталей аппарата для непрерывной экстракции (мм) приведены на рисунках А.1 и
А.2.
Рисунок А.1. Пробирка с отводом
Рисунок А.2. Трубка, вставляемая в пробирку
(справочное)
РАСЧЕТ ПРОДОЛЖИТЕЛЬНОСТИ ПОЛНОЙ ЭКСТРАКЦИИ ОРГАНИЧЕСКИХ
КИСЛОТ ДИЭТИЛОВЫМ ЭФИРОМ С ПОМОЩЬЮ АППАРАТА ДЛЯ ЭКСТРАКЦИИ
Б.1. Время T, необходимое для полной экстракции кислот, рассчитывают по формуле

, (Б.1)
где 7500 - объем диэтилового эфира, необходимого для полной экстракции анализируемых кислот, см3;
y - время, необходимое для прохождения объема x из экстракционной колбы и заполнения пробирки, мин;
x - объем эфира, необходимый для заполнения пробирки экстрактора до переливания через боковой отвод, см3.
Для определения x в пробирку аппарата наливают 50 см3 дистиллированной воды и 0,5 см3 разбавленной (1:1) серной кислоты. Удерживая пробирку с отводом вертикально, вливают в нее через вставленную трубку из мерного цилиндра диэтиловый эфир, пока он не начнет переливаться через боковой отвод. Разница в начальном и конечном уровнях эфира в цилиндре равна объему x.
Определение времени y проводят в обычных условиях в начале каждой экстракции. С помощью секундомера отмечают время от падения первой капли эфира из холодильника до первой капли возвращаемого в экстракционную колбу эфира.
Рассчитанная по этой методике продолжительность экстракции будет соблюдаться практически, если скорость кипения и конденсации будут поддерживаться постоянными в течение экстрагирования.