Главная // Актуальные документы // ГОСТ Р (Государственный стандарт)СПРАВКА
Источник публикации
М.: Стандартинформ, 2016
Примечание к документу
Документ
введен в действие с 1 мая 2017 года.
Название документа
"ГОСТ Р 57251-2016. Национальный стандарт Российской Федерации. Спирт этиловый технический. Правила приемки и методы анализа"
(утв. и введен в действие Приказом Росстандарта от 09.11.2016 N 1652-ст)
"ГОСТ Р 57251-2016. Национальный стандарт Российской Федерации. Спирт этиловый технический. Правила приемки и методы анализа"
(утв. и введен в действие Приказом Росстандарта от 09.11.2016 N 1652-ст)
Утвержден и введен в действие
по техническому регулированию
и метрологии
от 9 ноября 2016 г. N 1652-ст
НАЦИОНАЛЬНЫЙ СТАНДАРТ РОССИЙСКОЙ ФЕДЕРАЦИИ
СПИРТ ЭТИЛОВЫЙ ТЕХНИЧЕСКИЙ
ПРАВИЛА ПРИЕМКИ И МЕТОДЫ АНАЛИЗА
Technical ethyl alcohol.
Acceptance rules and methods of analysis
ГОСТ Р 57251-2016
Дата введения
1 мая 2017 года
1 РАЗРАБОТАН Некоммерческим партнерством "Координационно-информационный центр содействия предприятиям по вопросам безопасности химической продукции" при участии ООО "Центр промышленной биотехнологии им. княгини Е.Р. Дашковой"
2 ВНЕСЕН Техническим комитетом по стандартизации ТК 326 "Биотехнологии"
3 УТВЕРЖДЕН И ВВЕДЕН В ДЕЙСТВИЕ
приказом Федерального агентства по техническому регулированию и метрологии от 9 ноября 2016 г. N 1652-ст
4 ВВЕДЕН ВПЕРВЫЕ
Правила применения настоящего стандарта установлены в
статье 26 Федерального закона от 29 июня 2015 г. N 162-ФЗ "О стандартизации в Российской Федерации". Информация об изменениях к настоящему стандарту публикуется в ежегодном (по состоянию на 1 января текущего года) информационном указателе "Национальные стандарты", а официальный текст изменений и поправок - в ежемесячном информационном указателе "Национальные стандарты". В случае пересмотра (замены) или отмены настоящего стандарта соответствующее уведомление будет опубликовано в ближайшем выпуске ежемесячного информационного указателя "Национальные стандарты". Соответствующая информация, уведомление и тексты размещаются также в информационной системе общего пользования - на официальном сайте Федерального агентства по техническому регулированию и метрологии в сети Интернет (www.gost.ru)
Настоящий стандарт распространяется на технический этиловый спирт, ректификованный спирт, вырабатываемый из непищевого растительного сырья, и устанавливает правила приемки и следующие методы анализа: внешнего вида, сухого остатка, определения карбонильных соединений, фурфурола, сивушных масел, метилового спирта, определения серы, сложных эфиров, кислот и щелочи.
В настоящем стандарте использованы нормативные ссылки на следующие стандарты:
ГОСТ 84-76 Реактивы. Натрий углекислый 10-водный. Технические условия
ГОСТ 1770-74 (ИСО 1042-83, ИСО 4788-80) Посуда мерная лабораторная стеклянная. Цилиндры, мензурки, колбы, пробирки. Общие технические условия
ГОСТ 4108-72 Реактивы. Барий хлорид 2-водный. Технические условия
ГОСТ 4166-76 Реактивы. Натрий сернокислый. Технические условия
ГОСТ 4206-75 Реактивы. Калий железосинеродистый. Технические условия
ГОСТ 4233-77 Реактивы. Натрий хлористый. Технические условия
ГОСТ 4328-77 Реактивы. Натрия гидроокись. Технические условия
ГОСТ 4517-87 Реактивы. Методы приготовления вспомогательных реактивов и растворов, применяемых при анализе
ГОСТ 4919.1-77 Реактивы и особо чистые вещества. Методы приготовления растворов индикаторов
ГОСТ 5456-79 Реактивы. Гидроксиламина гидрохлорид. Технические условия
ГОСТ 5830-79 Реактивы. Спирт изоамиловый. Технические условия
ГОСТ 5962-2013 Спирт этиловый ректификованный из пищевого сырья. Технические условия
ГОСТ 6016-77 Реактивы. Спирт изобутиловый. Технические условия
ГОСТ 7298-79 Реактивы. Гидроксиламин сернокислый. Технические условия
ГОСТ 9147-80 Посуда и оборудование лабораторные фарфоровые. Технические условия
ГОСТ 10749.5-80 Спирт этиловый технический. Метод определения кислот
ГОСТ 10930-74 Реактивы. Фурфурол. Технические условия
ГОСТ 20490-75 Реактивы. Калий марганцовокислый. Технические условия
ГОСТ 25336-82 Посуда и оборудование лабораторные стеклянные. Типы, основные параметры и размеры
ГОСТ 25794.1-83 Реактивы. Методы приготовления титрованных растворов для кислотно-основного титрования
ГОСТ 29227-91 (ИСО 835-1-80) Посуда лабораторная стеклянная. Пипетки градуированные. Часть 1. Общие требования
ГОСТ 29251-91 (ИСО 385-1-84) Посуда лабораторная стеклянная. Бюретки. Часть 1. Общие требования
ГОСТ Р 55878-2013 Спирт этиловый технический гидролизный ректификованный. Технические условия
Примечание - При пользовании настоящим стандартом целесообразно проверить действие ссылочных стандартов в информационной системе общего пользования - на официальном сайте Федерального агентства по техническому регулированию и метрологии в сети Интернет или по ежегодному информационному указателю "Национальные стандарты", который опубликован по состоянию на 1 января текущего года, и по выпускам ежемесячного информационного указателя "Национальные стандарты" за текущий год. Если заменен ссылочный стандарт, на который дана недатированная ссылка, то рекомендуется использовать действующую версию этого стандарта с учетом всех внесенных в данную версию изменений. Если заменен ссылочный стандарт, на который дана датированная ссылка, то рекомендуется использовать версию этого стандарта с указанным выше годом утверждения (принятия). Если после утверждения настоящего стандарта в ссылочный стандарт, на который дана датированная ссылка, внесено изменение, затрагивающее положение, на которое дана ссылка, то это положение рекомендуется применять без учета данного изменения. Если ссылочный стандарт отменен без замены, то положение, в котором дана ссылка на него, рекомендуется применять в части, не затрагивающей эту ссылку.
3 Метод определения внешнего вида
3.1 Отбор проб
Пробы отбирают в соответствии с требованиями
ГОСТ 5962.
3.2 Посуда и реактивы
Цилиндр 2-50 или 4-50 по
ГОСТ 1770 или пробирки ГГ 1-16-150 ХС (или П2-16-150 ХС) по
ГОСТ 25336.
3.3 Проведение анализа
3.3.1 Анализируемый спирт помещают в цилиндр или пробирку из бесцветного стекла. В другой такой же цилиндр или пробирку помещают дистиллированную воду, налитую в том же объеме.
3.3.2 Анализируемый спирт не должен отличаться от дистиллированной воды при просмотре сверху вниз в направлении оси сосуда на белом фоне при дневном свете или при освещении лампами дневного света.
4 Метод определения сухого остатка
4.1.1 Пробы отбирают в соответствии с требованиями
ГОСТ 5962.
4.2 Посуда и реактивы
Весы лабораторные равноплечие BJIP-200 или аналитические весы другого типа с наибольшим пределом взвешивания не более 200 г, с ценой деления не более 0,0001 г, не ниже 2-го класса точности.
Баня водяная;
Электропечь (электрошкаф сушильный) по технической документации.
4.3 Проведение анализа
4.3.1 200 см3 анализируемого спирта выпаривают на водяной бане небольшими порциями в чашке, предварительно высушенной при 100 °C - 105 °C до постоянной массы.
Остаток в чашке сушат в сушильном шкафу при 100 °C - 105 °C до постоянной массы.
Результаты взвешивания в граммах записывают с точностью до четвертого десятичного знака.
4.4 Обработка результатов
4.4.1 Массовую концентрацию сухого остатка X, мг/дм3, вычисляют по формуле

, (1)
где m - масса чашки с сухим остатком, г;
m1 - масса чашки, г.
4.4.2 За результат анализа принимают среднеарифметическое значение двух параллельных определений, допускаемые расхождения между которыми не должны превышать 10% относительно средней величины при доверительной вероятности P = 0,95.
Округление результатов измерения - до целого числа.
5 Метод определения карбонильных соединений
5.1 Отбор проб
5.1.1 Пробы отбирают в соответствии с требованиями
ГОСТ 5962 на этиловый спирт.
5.2 Посуда и реактивы
Колба Кн-1-250-14/23 или Кн-1-250-19/26 по
ГОСТ 25336.
Пипетка 2-1(2)-10 по нормативному документу (НД).
Бюретка 6-1(2)-2 по НД.
Натрия гидроокись по
ГОСТ 4328, раствор концентрации
c NaOH = 0,05 моль/дм
3 (0,05 н.); готовят по
ГОСТ 25794.1.
Гидроксиламина гидрохлорид по
ГОСТ 5456, раствор концентрации
c (NH
2OH·HCl) = 1 моль/дм
3 (1 н.).
Бромфеноловый синий (индикатор), щелочной раствор; готовят по
ГОСТ 4919.1.
Индикатор смешанный кислотно-основной; готовят из метилового оранжевого и индигокармина по
ГОСТ 4919.1.
5.3 Проведение анализа
5.3.1 В колбу вносят пипеткой 10 см3 анализируемого спирта, цилиндром - 50 см3 дистиллированной воды и пипеткой - 10 см3 раствора гидроксиламина.
Содержимое колбы осторожно перемешивают, закрывают пробкой и оставляют на 15 мин. После этого выделившуюся кислоту титруют раствором гидроокиси натрия в присутствии смешанного индикатора до появления зеленой окраски раствора или в присутствии бромфенолового синего до появления синей окраски.
Одновременно в тех же условиях проводят контрольный опыт. Для этого в колбу помещают 50 см3 дистиллированной воды и 10 см3 раствора гидроксиламина.
5.4 Обработка результатов
5.4.1 Массовую концентрацию карбонильных соединений в пересчете на уксусный альдегид X, мг/дм3, вычисляют по формуле
X = (V - V1) - 2,2 - 100, (2)
где V - объем раствора гидроокиси натрия концентрации точно c (NaOH) = 0,05 моль/дм3, израсходованный на титрование выделившейся при анализе кислоты, см3;
V1 - объем раствора гидроокиси натрия концентрации точно c (NaOH) = 0,05 моль/дм3, израсходованный на титрование кислоты в контрольном опыте, см3;
2,2 - масса уксусного альдегида, соответствующая 1 см3 раствора гидроокиси натрия концентрации точно c (NaOH) = 0,05 моль/дм3, мг.
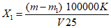
5.4.2 Объемную долю карбонильных соединений в пересчете на уксусный альдегид X1, %, вычисляют по формуле

, (3)
где 0,788 - плотность уксусного альдегида, г/см3.
5.4.3 За результат анализа принимают среднеарифметическое значение двух параллельных определений, допускаемые расхождения между которыми не должны превышать 10% относительно средней величины при доверительной вероятности P = 0,95. Округляют результаты измерения: массовую концентрацию - до целого числа, объемную долю - до первого десятичного знака.
6 Метод определения фурфурола
6.1 Отбор проб
6.1.1 Пробы отбирают в соответствии с требованиями
ГОСТ 5962.
6.2 Приборы, посуда, реактивы и растворы
Весы лабораторные равноплечие типа BJIP-200 или аналитические весы другого типа с наибольшим пределом взвешивания 200 г, с ценой деления не более 0,0001 г, не ниже 2-го класса точности.
Спирт этиловый технический гидролизный, ректификованный по
ГОСТ Р 55878, высшего сорта, не содержащий фурфурола.
Фурфурол по ГОСТ 10930, ч.д.а., свежеприготовленный.
6.2.1 Раствор сравнения готовят следующим образом: 5 мг фурфурола (результаты взвешивания в граммах записывают с точностью до второго десятичного знака) растворяют в 1 дм3 этилового спирта, не содержащего фурфурол.
6.3 Проведение анализа
6.3.1 В три цилиндра помещают по 10 капель анилина и три капли соляной кислоты. Затем в первый цилиндр доливают до метки этиловый спирт, не содержащий фурфурол, во второй - раствор сравнения и в третий - анализируемый спирт. Содержимое цилиндров перемешивают легким встряхиванием, оставляют на 10 мин, а затем сравнивают окраску растворов.
6.3.2 Если окраска анализируемого раствора не интенсивнее окраски раствора в первом цилиндре, считают, что анализируемый спирт не содержит фурфурол. Если окраска анализируемого раствора интенсивнее окраски раствора в первом цилиндре, но не интенсивнее окраски свежеприготовленного раствора сравнения, считают, что спирт содержит не более 5 мг/дм3 фурфурола.
7 Метод определения сивушных масел
7.1 Отбор проб
7.1.1 Пробы отбирают в соответствии с требованиями
ГОСТ 5962.
7.2 Приборы, посуда, реактивы и растворы
Весы лабораторные технические с наибольшим пределом взвешивания 500 и 1000 г любого типа, с ценой деления 0,01 г 1-го или 2-го класса точности.
Пипетки 2-1(2)-5, 2-1(2)-10, 2-1(2)-20, 6-1(2)-25 по технической документации.
Колбы Кн-1-100-14/23 (или Кн-1-100-19/26), Кн-1-50-14/23 (или Кн-1-50-19/26), К-1-50-14/23 ТС по
ГОСТ 25336.
Капельница из темного стекла с пришлифованной пробкой.
Холодильник ХПТ-1-400-14/23 ХС (или ХПТ-1-300-14/23 ХС) по
ГОСТ 25336.
Гидроксиламин сернокислый по ГОСТ 7298.
Фурфурол по ГОСТ 10930, ч., 1%-ный спиртовой свежеприготовленный раствор.
7.2.1 Раствор, содержащий сивушные масла; готовят следующим образом: 10 см3 смеси, состоящей из 80% об. изоамилового и 20% об. изобутилового спиртов, помещают в мерную колбу вместимостью 1 дм3 и доводят объем до метки этиловым спиртом (раствор А).
Раствор годен в течение года.
7.2.2 Растворы сравнения с концентрацией сивушных масел 500 мг/дм3 (N 1) и 1000 мг/дм3 (N 2); готовят следующим образом: 5 см3 раствора А (для раствора сравнения N 1) или 10 см3 (для раствора сравнения N 2) помещают в мерные колбы вместимостью 100 см3 и добавляют до метки этиловый спирт. 25 см3 каждого полученного раствора смешивают с 15 см3 дистиллированной воды.
7.3 Подготовка к анализу
7.3.1 25 см
3 анализируемого спирта смешивают с 15 см
3 дистиллированной воды. 10 см
3 полученной смеси помещают в колбу вместимостью 50 см
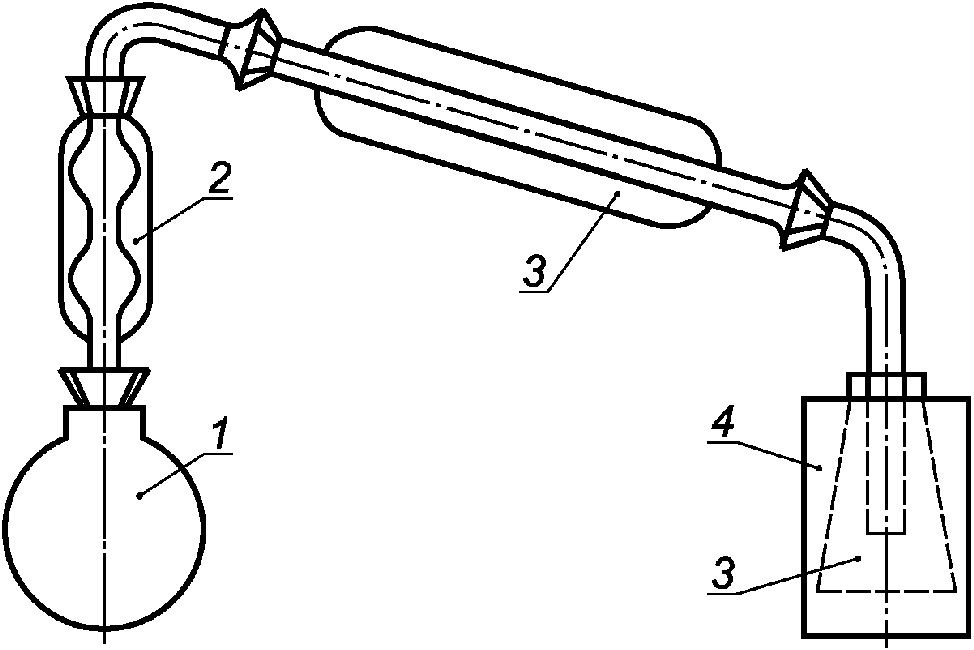
3, добавляют 1 г сернокислого гидроксиламина (результаты взвешивания в граммах записывают с точностью до второго десятичного знака) и кипятят с обратным холодильником 10 мин
(рисунок 1).
1 - круглодонная колба; 2 - холодильник
Рисунок 1 - Прибор для обработки спирта гидроксиламином
После охлаждения собирают прибор для отгонки
(рисунок 2), используя тот же холодильник, отгоняют 9 см
3 дистиллята в мерный цилиндр вместимостью 10 см
3, добавляют воды до 10 см
3 и перемешивают.
1 - круглодонная колба; 2 - изгиб; 3 - холодильник;
4 - аллонж; 5 - цилиндр
Рисунок 2 - Прибор для отгонки
7.4 Проведение анализа
7.4.1 В три конические колбы вместимостью 50 см3 каждая помещают:
- в первую - 5 см3 раствора сравнения N 1;
- во вторую - 5 см3 раствора сравнения N 2;
- в третью - 5 см3 подготовленного к анализу спирта.
В каждую колбу добавляют по четыре капли раствора фурфурола и осторожно по стенке, не перемешивая, приливают из цилиндра по 7 см3 серной кислоты. Колбы неплотно закрывают во избежание разбрызгивания серной кислоты, содержимое их одновременно перемешивают несколько раз круговыми движениями и оставляют на 25 мин, после чего сравнивают окраски растворов.
7.4.2 Анализируемый этиловый спирт будет содержать не более 500 мг/дм3 сивушных масел, если окраска анализируемого раствора не интенсивнее окраски раствора сравнения N 1, или не более 1000 мг/дм3, если окраска анализируемого раствора интенсивнее окраски раствора сравнения N 1, но не интенсивнее окраски раствора сравнения N 2.
8 Метод определения метилового спирта
8.1 Отбор проб
8.1.1 Пробы отбирают в соответствии с требованиями
ГОСТ 5962.
8.2 Приборы, посуда, реактивы и растворы
Весы лабораторные технические с наибольшим пределом взвешивания 500 г или 1000 г любого типа, с ценой деления не более 0,01 г, 1-го или 2-го класса точности.
Колбы 2-100-1(2), 2-500-1(2) и 2-1000-1(2) по
ГОСТ 1770.
Склянки из темного стекла вместимостью 1,5 - 2 дм3 с пришлифованной пробкой.
Пипетки 4-1(2)-1-0,01 и 6-1(2)-5-0,1 по
ГОСТ 29227.
Кислота серная по
ГОСТ 4204, х.ч. или ч.д.а., выдерживающая пробу Савалля, концентрированная, и 65%-ный раствор.
Кислота щавелевая по
ГОСТ 22180, х.ч., насыщенный раствор.
Калий марганцовокислый по
ГОСТ 20490, х.ч., 1%-ный раствор.
| | ИС МЕГАНОРМ: примечание. В официальном тексте документа, видимо, допущена опечатка: имеется в виду пункт [1] Библиографии, а не [2]. | |
Натрий сернистокислый пиро по
[2]; раствор готовят следующим образом: 40 г пиросернистокислого натрия (результаты взвешивания в граммах записывают с точностью до второго десятичного знака) помещают в мерную колбу вместимостью 100 см
3, приливают 40 см
3 дистиллированной воды и выдерживают 5 - 6 ч при комнатной температуре.
Полученный насыщенный раствор отфильтровывают через бумажный складчатый фильтр на воронке, прикрытой часовым стеклом. Фильтрат собирают в цилиндр и доводят его плотность дистиллированной водой до 1,260 г/см3.
Раствор готовят непосредственно перед его использованием. Реактив следует хранить в склянке с пришлифованной пробкой.
Фуксин основной для фуксинсернистой кислоты.
Спирт этиловый бессивушный и безальдегидный.
Метанол-яд по
ГОСТ 6995, х.ч., перегнанный, с температурой кипения 64,7 °C, плотностью 0,7964 г/см
3, 0,1%-ный раствор по объему в бессивушном и безальдегидном этиловом спирте (раствор сравнения) или типовые растворы метилового спирта.
8.2.1 Реактив фуксинсернистый; готовят следующим образом: 0,55 г основного фуксина (результаты взвешивания, в граммах, записывают с точностью до второго десятичного знака) помещают в мерную колбу вместимостью 500 см3, приливают 200 см3 дистиллированной воды и нагревают на кипящей водяной бане 1 ч, периодически помешивая раствор до полного растворения фуксина.
Затем раствор охлаждают до температуры 20 °C, доводят объем до метки дистиллированной водой и перемешивают. Полученный раствор переливают в склянку с пришлифованной пробкой вместимостью 600 см3 и прибавляют к нему 12,5 см3 раствора пиросернистого натрия (плотность - 1,260 г/см3) и 2,5 см3 концентрированной серной кислоты (плотность - 1,830 г/см3).
Реактив выдерживают 24 ч при температуре 8 °C - 10 °C; хранят в склянке из темного стекла не более 2 мес.
8.3 Проведение анализа
8.3.1 1 см3 анализируемого спирта смешивают в пробирке с 5 см3 раствора марганцовокислого калия и 0,4 см3 65%-ного раствора серной кислоты и тщательно перемешивают.
По истечении ровно 3 мин при перемешивании к смеси приливают 1 см3 раствора щавелевой кислоты. Когда жидкость приобретает слабо-желтую окраску, для полного обесцвечивания к ней приливают из бюретки 1 см3 концентрированной серной кислоты и перемешивают.
После этого прибавляют 5 см3 фуксинсернистого реактива, перемешивают и оставляют на 20 мин. Одновременно проводят контрольный опыт с раствором сравнения, применяя его вместо анализируемого спирта в тех же объемах.
8.3.2 Окраска анализируемого раствора не должна быть интенсивнее окраски раствора сравнения.
9.1 Отбор проб
9.1.1 Пробы отбирают в соответствии с требованиями
ГОСТ 5962.
9.2 Приборы, посуда, реактивы и растворы
1 - 3, 8, 9 - поглотительные сосуды; 4 - гибкое соединение;
5 - трубка горелки; 6 - ламповое стекло; 7 - холодильник
Рисунок 3 - Прибор для определения серы
Рисунок 4 - Горелка для сжигания спирта
Колориметр-нефелометр фотоэлектрический типа ФЭК-56, ФЭК-56М или ФЭК-60.
Мешалка магнитная.
Весы лабораторные равноплечие типа BJIP-200 или аналитические весы другого типа с наибольшим пределом взвешивания не более 200 г, с ценой деления не более 0,0001 г, не ниже 2-го класса точности.
Весы лабораторные технические с наибольшим пределом взвешивания 500 г или 1000 г любого типа, с ценой деления не более 0,01 г, 1-го или 2-го класса точности.
Пробирки стеклянные с притертой пробкой и меткой на 100 см3.
Стаканы В-1-250 и В-1-50 (или В-1-100) по
ГОСТ 25336.
Пипетки 7-1(2)-10, 2-1(2)-20 и 2-1(2)-25 по технической документации.
| | ИС МЕГАНОРМ: примечание. В официальном тексте документа, видимо, допущена опечатка: стандарт имеет номер ГОСТ Р 55878-2013, а не ГОСТ 55878. | |
Спирт этиловый технический гидролизный, ректификованный по
ГОСТ 55878, высшего сорта.
Спирт этиловый ректификованный из пищевого сырья по
ГОСТ 5962 (эталон).
Барий хлористый по
ГОСТ 4108, х.ч., 10%-ный; раствор готовят по
ГОСТ 4517, при этом 10 г хлористого бария растворяют в 90 см
3 воды.
Кислота соляная по
ГОСТ 3118, х.ч., концентрированная и раствор концентрации
c (HCl) = 1 моль/дм
3 (1 н.); готовят по
ГОСТ 25794.1.
Водорода перекись по
ГОСТ 10929, х.ч., 15%-ные и 3%-ные растворы.
Натрий хлористый по
ГОСТ 4233, х.ч., раствор концентрации
c (NaCl) = 2 моль/дм
3 (2 н.); готовят растворением 116,886 г хлористого натрия в мерной колбе вместимостью 1 дм
3, содержащей 400 см
3 раствора соляной кислоты концентрации
c (HCl) = 1 моль/дм
3, и доведением до метки дистиллированной водой.
Вода дистиллированная, дважды перегнанная (бидистиллят); готовят по
ГОСТ 4517.
Натрий сернокислый безводный по
ГОСТ 4166, х.ч., раствор; готовят следующим образом: 0,4440 г сернокислого натрия, предварительно высушенного при 110 °C - 150 °C до постоянной массы, растворяют в бидистилляте в мерной колбе вместимостью 1 дм
3, приливают бидистиллят до метки, тщательно перемешивают и разбавляют в 10 раз. 1 см
3 полученного раствора содержит 0,01 мг серы.
Смесь спиртоглицериновая; готовят смешиванием технического этилового спирта и глицерина (1:2).
Натрия гидроокись по
ГОСТ 4328, х.ч., 30%-ный раствор.
Натрий углекислый кристаллический по
ГОСТ 84.
Калий железосинеродистый по
ГОСТ 4206, раствор готовят следующим образом: 150 г железосинеродистого калия и 185 г углекислого натрия (результаты взвешивания в граммах записывают с точностью до второго десятичного знака) растворяют в дистиллированной воде в мерной колбе вместимостью 1 дм
3, доводят объем водой до метки и тщательно перемешивают.
9.3 Подготовка к анализу
9.3.1 Для проведения анализа собирают прибор в соответствии с
рисунком 3. В поглотительный сосуд
1 наливают 50 см
3 раствора гидроокиси натрия, в поглотительный сосуд
2 - 50 см
3 раствора железосинеродистого калия, в поглотительный сосуд
3 - дистиллированную воду.
Поглотительные сосуды 1 - 3 предназначены для очистки воздуха, можно пользоваться сосудом с 15%-ной перекисью водорода. Растворы в сосудах следует менять два раза в месяц.
В поглотительные сосуды 8 и 9 наливают по 50 см3 3%-ного раствора перекиси водорода. Поглотительный сосуд 9 является контрольным.
Поглотительные сосуды 1, 2, 3, 8 соединяют с контрольным сосудом 9 гибким соединением 4.
9.4 Проведение анализа
9.4.1 В трубку горелки 5 вставляют фитиль из марли и в резервуар горелки вносят 20 см3 анализируемого спирта при массовой концентрации серы в спирте до 5 мг/дм3, 10 см3 - при концентрации выше 5 мг/дм3.
Зажигают фитиль, быстро надевают ламповое стекло 6 и через холодильник 7 соединяют горелку с поглотительными сосудами 8 и 9.
Постоянный ток воздуха в системе создают при помощи сжатого воздуха, поступающего через поглотительные сосуды 1 - 3. Подачу сжатого воздуха регулируют так, чтобы спирт горел небольшим пламенем и горение не прекращалось до полного его сгорания. Спирт зажигают пламенем, свободным от серы.
После того как спирт будет сожжен, подачу воздуха в систему не прекращают еще 5 - 10 мин.
Жидкость из поглотительного сосуда 8 переносят в химический стакан, а поглотительный сосуд и холодильник 7 несколько раз промывают водой. Жидкость и промывные воды кипятят в стакане 4 - 5 мин для удаления избытка перекиси водорода.
Далее определение проводят по
9.4.2 методом сравнения со шкалой растворов или по
9.4.3 на фотоэлектроколориметре-нефелометре. При этом, если в анализируемом спирте массовая концентрация серы будет более 10 мг/дм
3, поглотительный раствор разбавляют бидистиллятом в два раза, тщательно перемешивают и для анализа берут половину полученного раствора.
Перед анализом содержимого сосуда 8 необходимо убедиться в полноте поглощения продуктов сгорания серы. При обнаружении сульфата-йона в контрольном сосуде 9 сжигание пробы повторяют при меньшей скорости воздуха.
Для проверки отсутствия серы в применяемых реактивах и в сжатом воздухе проводят контрольный опыт в тех же условиях, применяя вместо анализируемого спирта ректификованный этиловый спирт по
ГОСТ 5962 или технический ректификованный гидролизный этиловый спирт по
ГОСТ Р 55878.
Для определения серы в техническом ректификованном гидролизном этиловом спирте по
ГОСТ Р 55878 высшего сорта или сорта "экстра" в качестве контрольного следует применять только спирт по
ГОСТ 5962 (эталон).
9.4.2 Метод сравнения со шкалой растворов
После удаления перекиси водорода поглотительный раствор фильтруют через плотный фильтр, промытый горячим бидистиллятом, в мерную пробирку, подкисляют двумя каплями концентрированной соляной кислоты, добавляют 5 см3 раствора хлористого бария, приливают воду до метки, тщательно перемешивают и выдерживают 20 мин.
Интенсивность помутнения раствора сравнивают со шкалой растворов сравнения, которую готовят одновременно с анализируемым раствором следующим образом: в такие же пробирки помещают пипеткой 0,5 см3 раствора сернокислого натрия в первую пробирку и от 1,0 до 40,0 см3 - в следующие пробирки с интервалом 1,0 см3, подкисляют двумя каплями соляной кислоты, добавляют 5 см3 раствора хлористого бария, приливают воду до метки, тщательно перемешивают и выдерживают 20 мин.
9.4.2.1 Обработка результатов
Массовую концентрацию серы X, мг/дм3, вычисляют по формуле

, (4)
где V - объем раствора сернокислого натрия в пробирке, интенсивность помутнения в которой одинакова с интенсивностью помутнения в пробирке с анализируемым раствором, см3;
V1 - объем раствора сернокислого натрия в пробирке, интенсивность помутнения в которой одинакова с интенсивностью помутнения в контрольном опыте, см3;
0,01 - масса серы, содержащаяся в 1 см3 раствора сернокислого натрия, мг;
K - коэффициент разбавления поглотительного раствора при концентрации серы более 10 мг/дм3;
V2 - объем анализируемого спирта, см3.
9.4.3 Метод с применением фотоэлектроколориметра-нефелометра
9.4.3.1 Построение градуировочного графика
В мерные колбы вместимостью 100 см3 каждая с интервалом 1,0 см3 вносят пипеткой от 1,0 до 40,0 см3 раствора сернокислого натрия, прибавляют по 10 см3 раствора хлористого натрия, по 20 см3 спиртоглицериновой смеси и доливают до метки бидистиллятом.
Каждый раствор перемешивают 3 мин в стакане магнитной мешалкой и выдерживают 4 мин. 25 см3 полученного раствора выливают в кювету с толщиной поглощающего свет слоя 50 мм и используют в качестве раствора сравнения.
Из оставшегося раствора отбирают еще 25 см3, помещают в стакан вместимостью 50 - 100 см3, прибавляют 2 см3 раствора хлористого бария, перемешивают 3 мин мешалкой, выдерживают 4 мин и измеряют оптическую плотность при длине волны 434 - 490 нм.
За результат анализа принимают среднеарифметическое значение не менее трех параллельных измерений.
Строят градуировочный график, откладывая по оси ординат оптическую плотность, а по оси абсцисс - массу серы в 25 см3 спирта в миллиграммах.
9.4.3.1.1 Допускается готовить шкалу по
9.4.2 и
9.4.3.1 с меньшим количеством растворов сравнения (но не менее пяти), если известна примерная концентрация серы в анализируемом спирте.
9.4.3.2 Проведение анализа
Поглотительный раствор (см.
4.1) упаривают до 50 - 60 см
3, охлаждают, фильтруют через плотный фильтр, промытый горячим бидистиллятом, в мерную колбу вместимостью 100 см
3, куда прибавляют 10 см
3 раствора хлористого натрия, 20 см
3 спиртоглицериновой смеси и доливают до метки бидистиллятом. Далее поступают так же, как при построении градуировочного графика.
9.4.3.3 Обработка результатов
Массовую концентрацию серы X1, мг/дм3, вычисляют по формуле

, (5)
где m - масса серы в 25 см3 анализируемого раствора, найденная по градуировочному графику, мг;
m1 - масса серы в 25 см3 контрольного раствора, найденная по градуировочному графику, мг;
V - объем спирта, взятый для анализа, см3;
K - коэффициент разбавления поглотительного раствора при концентрации серы более 10 мг/дм3.
9.4.3.4 За результат анализа принимают среднеарифметическое значение двух параллельных определений, допускаемые расхождения между которыми не должны превышать 0,5 мг/дм3 при доверительной вероятности P = 0,95. Отсутствием серы в спирте считается результат 0,5 мг/дм3 серы и менее. Округление результатов измерения - до целого числа.
При разногласиях в оценке массовой концентрации серы определение проводят по
9.4.3.
10 Метод определения сложных эфиров
10.1 Отбор проб
10.1.1 Пробы отбирают в соответствии с требованиями
ГОСТ 5962.
10.2 Посуда, реактивы и растворы
Колба Кн-1-500-24/29 (или Кн-1-500-29/32) и К-1-500-29/32 ТС по
ГОСТ 25336.
Трубка с натронной известью.
Бюретки 1-1(2)-25-0,05 и 1-1(2)-10-0,05 по технической документации.
Натрия гидроокись по
ГОСТ 4328, растворы концентрации
c (NaOH) = 0,5 моль/дм
3 (0,5 н.) и 0,1 моль/дм
3 (0,1 н.); готовят по
ГОСТ 25794.1.
Бромтимоловый синий (индикатор), спиртовой раствор; готовят по
ГОСТ 4919.1.
Кислота соляная по
ГОСТ 3118 или кислота серная по
ГОСТ 4204, растворы концентраций
c (HCl) = 0,05 моль/дм
3 (0,05 н.) и
c (1/2 H
2SO
4) = 0,05 моль/дм
3 (0,05 н.); готовят по
ГОСТ 25794.1.
10.3 Подготовка к анализу
10.3.1 Определение сложных эфиров в анализируемом спирте, имеющем концентрацию альдегидов менее 0,5% (5 г/дм3), проводят в нейтрализованной смеси воды и спирта после определения кислот по ГОСТ 10749.5.
Если в анализируемом спирте содержится 0,5% альдегидов и более, к 100 см3 спирта, смешанного со 100 см3 воды, прибавляют кристаллический гидрохлорид гидроксиламина, массу которого X, г, предварительно вычисляют по формуле

, (6)
где X - объемная доля альдегидов в анализируемом спирте, %.
69,5 - молекулярная масса гидрохлорида гидроксиламина;
0,788 - плотность уксусного альдегида, г/см3;
44,0 - молекулярная масса уксусного альдегида.
Выделившуюся соляную кислоту титруют сначала раствором гидроксида натрия концентрации c (NaOH) = 0,5 моль/дм3, а затем c (NaOH) = 0,1 моль/дм3 в присутствии индикатора до появления устойчивой синей окраски раствора, не исчезающей в течение 10 с.
10.4 Проведение анализа
10.4.1 К нейтрализованной смеси воды и спирта, полученной после определения кислот или приготовленной, как указано в
разделе 3, прибавляют 10 см
3 раствора гидроокиси натрия концентрации
c (NaOH) = 0,1 моль/дм
3 и кипятят смесь в колбе, соединенной с обратным холодильником, в течение 1 ч.
Смесь охлаждают до комнатной температуры, при этом холодильник закрывают трубкой с натронной известью. По истечении 1 ч снимают трубку и холодильник промывают водой. Избыток гидроокиси натрия титруют раствором кислоты в присутствии индикатора до устойчивой желтой окраски раствора, не исчезающей в течение 10 с.
10.5 Обработка результатов
10.5.1 Массовую концентрацию сложных эфиров в пересчете на уксусноэтиловый эфир X2, мг/дм, вычисляют по формуле

(7)
где 10 - объем раствора гидроокиси натрия концентрации точно 0,1 моль/дм3, израсходованный на омыление сложных эфиров, см3;
V - объем раствора кислоты концентрации точно c (HCl) = 0,05 моль/дм3, израсходованный на титрование избытка гидроокиси натрия, см3;
8,8 - масса уксусноэтилового эфира, соответствующая 1 см3 раствора гидроокиси натрия концентрации точно 0,1 моль/дм3.
10.5.2 За результат анализа принимают среднеарифметическое значение двух параллельных определений, допускаемые расхождения между которыми не должны превышать 10% относительно средней величины при доверительной вероятности P = 0,95.
Округление результатов измерения - до целого числа.
11 Метод определения кислот
11.1 Отбор проб
11.1.1 Пробы отбирают в соответствии с требованиями
ГОСТ 5962 на этиловый спирт.
11.2 Посуда, реактивы и растворы
Колба Кн-1-500-24/29 или Кн-1-500-29/32 по
ГОСТ 25336.
Натрия гидроокись по
ГОСТ 4328 или калия гидроокись по
ГОСТ 24363, растворы концентрации
c (NaOH) = 0,05 моль/дм
3 (0,05 н.) и
c (KOH) = 0,05 моль/дм
3 (0,05 н.); готовят по
ГОСТ 25794.1.
Бромтимоловый синий (индикатор), спиртовой раствор, готовят по
ГОСТ 4919.1.
11.3 Проведение анализа
11.3.1 В колбу помещают 100 см3 дистиллированной воды, прибавляют 3 - 5 капель раствора индикатора и нейтрализуют раствором гидроокиси натрия или гидроокиси калия до появления синей окраски раствора, не исчезающей в течение 10 с.
Затем быстро приливают 100 см3 анализируемого спирта и, если синяя окраска раствора исчезнет, титруют раствором гидроокиси натрия или гидроокиси калия до появления устойчивой синей окраски раствора, не исчезающей в течение 10 с.
11.4 Обработка результатов
11.4.1 Массовую концентрацию кислот в пересчете на уксусную кислоту X, мг/дм3, вычисляют по формуле

, (8)
где 3 - масса уксусной кислоты, соответствующая 1 см3 раствора гидроокиси натрия или гидроокиси калия концентрации точно c (NaOH или KOH) = 0,05 моль/дм3, мг;
V - объем раствора гидроокиси натрия или гидроокиси калия концентрации точно c (NaOH или KOH) = 0,05 моль/дм3, израсходованный на титрование кислоты в анализируемом спирте, см3.
11.4.2 За результат анализа принимают среднеарифметическое значение двух параллельных определений, допускаемые расхождения между которыми не должны превышать 10% относительно средней величины при доверительной вероятности P = 0,95.
Округление результатов измерения - до целого числа.
11.5 Определение щелочности и кислотности по фенолфталеину
11.5.1 Метод применим для анализа спирта с массовой долей кислот 0,0008% и менее и заключается в разбавлении анализируемого спирта водой, не содержащей двуокиси углерода.
Если анализируемый спирт имеет щелочную реакцию по фенолфталеину, то это отмечают в результатах анализа. Если анализируемый спирт имеет кислую реакцию, то проводят титрование раствором гидроокиси натрия установленной молярной концентрации.
11.5.2 Реактивы
Для анализа используют дистиллированную воду или воду эквивалентной чистоты, не содержащую двуокиси углерода.
11.5.2.1 Вода, не содержащая двуокиси углерода.
Дистиллированную воду кипятят, охлаждают и хранят в склянке с пробкой, в которую вставлена трубка, заполненная натронной известью.
11.5.2.2 Натрия гидроокись, раствор молярной концентрации точно
c (NaOH) = 0,1 моль/дм
3; готовят по
ГОСТ 25794.1.
11.5.2.3 Фенолфталеин (индикатор), спиртовой раствор концентрации 5 г/дм
3: 0,5 г фенолфталеина растворяют в 100 см
3 раствора спирта с объемной долей 95%, далее добавляют раствор гидроокиси натрия, приготовленный по
11.5.2.2, до бледно-розовой окраски.
11.5.3 Приборы
Обычные лабораторные приборы.
Колбы конические из боросиликатного стекла вместимостью 500 см3, снабженные пробкой со шлифом и стеклянной трубкой, заполненной натронной известью.
Бюретка вместимостью 10 см3 с ценой делений 0,02 см3.
11.5.4 Метод анализа
11.5.4.1 Анализируемая проба
Для анализа берут (100 +/- 0,1) см3 анализируемого спирта.
11.5.4.2 Проведение анализа
100 см
3 воды, приготовленной по
11.5.2.1, помещают в коническую колбу, прибавляют 0,5 см
3 раствора фенолфталеина и титруют раствором гидроокиси натрия до розовой окраски.
Далее добавляют анализируемую пробу и 0,5 см3 раствора фенолфталеина, при этом наблюдают окраску раствора. Если раствор имеет бледно-розовую окраску, то анализируемый раствор щелочной, о чем отмечают в результатах анализа.
Если раствор бесцветный, то анализируемый спирт имеет кислую реакцию. В этом случае проводят титрование раствором гидроокиси натрия до бледно-розовой окраски, оставляют колбу и наблюдают за окраской раствора. Титрование считают законченным, когда бледно-розовая окраска раствора сохраняется в течение 15 с.
После каждого прибавления раствора гидроокиси натрия колбу с содержимым оставляют и закрывают пробкой.
11.5.5 Обработка результатов
11.5.5.1 Щелочность
Указывают, является ли анализируемый спирт щелочным в присутствии фенолфталеина.
11.5.5.2 Кислотность
Массовую долю кислот, %, в пересчете на уксусную кислоту (CH3COOH) вычисляют по формуле

, (9)
где 0,006 - масса уксусной кислоты, соответствующая 1 см3 раствора гидроокиси натрия молярной концентрации точно 0,100 моль/дм3;
V - объем раствора гидроокиси натрия молярной концентрации точно 0,1 моль/дм3, израсходованный на титрование, см3;

- плотность анализируемой пробы при 20 °C, г/см
3, плотность определяют по
ГОСТ 18995.1 ареометром.
Примечание - Если молярная концентрация раствора гидроокиси натрия неточная, то вводят поправочный коэффициент.
12 Метод определения щелочи
12.1 Отбор проб
12.1.1 Пробы отбирают в соответствии с требованиями
ГОСТ 5962.
12.2 Посуда и реактивы
Колба Кн-1-500-24/29 или Кн-1-500-29/32 по
ГОСТ 25336.
Кислота соляная по
ГОСТ 3118 или кислота серная по
ГОСТ 4204, растворы концентраций
c (HCl) = 0,05 моль/дм
3 (0,05 н.) и
c (1/2H
2SO
4) = 0,05 моль/дм
3 (0,05 н.); готовят по
ГОСТ 25794.1.
Натрия гидроокись по
ГОСТ 4328 или калия гидроокись по
ГОСТ 24363, растворы концентрации
c (NaOH) = 0,05 моль/дм
3 (0,05 н.) и
c (KOH) = 0,05 моль/дм
3 (0,05 н.); готовят по
ГОСТ 25794.1.
Бромтимоловый синий (индикатор), спиртовой раствор, готовят по
ГОСТ 4919.1.
12.3 Проведение анализа
12.3.1 В коническую колбу помещают примерно 100 см3 дистиллированной воды, прибавляют 3 - 5 капель индикатора и титруют раствором гидроокиси натрия или гидроокиси калия до устойчивой синей окраски раствора, не исчезающей в течение 10 с.
Затем быстро приливают 100 см3 спирта и, если синяя окраска раствора сохранилась, титруют раствором кислоты до устойчивой желтой окраски раствора, не исчезающей в течение 10 с.
12.4 Обработка результатов
12.4.1 Массовую концентрацию щелочи в пересчете на гидроокись натрия X, мг/дм3, вычисляют по формуле

, (10)
где 2 - масса гидроокиси натрия, соответствующая 1 см3 раствора кислоты концентрации точно c HCl = 0,05 моль/дм3, мг;
V - объем раствора кислоты концентрации точно c (HCl) = 0,05 моль/дм3, израсходованный на нейтрализацию щелочи в анализируемом спирте, см3.
12.4.2 За результат анализа принимают среднеарифметическое значение двух параллельных определений, допускаемые расхождения между которыми не должны превышать 10% относительно средней величины при доверительной вероятности P = 0,95.
Округление результатов измерения - до целого числа.
[1] ТУ 6-09-4327-78 Натрий сернистокислый пиро