Главная // Актуальные документы // ГОСТ Р (Государственный стандарт)СПРАВКА
Источник публикации
М.: Стандартинформ, 2020
Примечание к документу
Документ
введен в действие с 01.08.2020.
Название документа
"ГОСТ Р 58867-2020. Национальный стандарт Российской Федерации. Подшипники качения приборные. Методы измерения твердости деталей подшипников"
(утв. и введен в действие Приказом Росстандарта от 28.05.2020 N 235-ст)
"ГОСТ Р 58867-2020. Национальный стандарт Российской Федерации. Подшипники качения приборные. Методы измерения твердости деталей подшипников"
(утв. и введен в действие Приказом Росстандарта от 28.05.2020 N 235-ст)
Утвержден и введен в действие
по техническому регулированию
и метрологии
от 28 мая 2020 г. N 235-ст
НАЦИОНАЛЬНЫЙ СТАНДАРТ РОССИЙСКОЙ ФЕДЕРАЦИИ
ПОДШИПНИКИ КАЧЕНИЯ ПРИБОРНЫЕ
МЕТОДЫ ИЗМЕРЕНИЯ ТВЕРДОСТИ ДЕТАЛЕЙ ПОДШИПНИКОВ
Instrument rolling bearings.
Methods of measuring hardness parts of bearings
ГОСТ Р 58867-2020
Дата введения
1 августа 2020 года
1 РАЗРАБОТАН Техническим комитетом по стандартизации ТК 218 "Приборные подшипники качения", Открытым акционерным обществом "ОК-Лоза" (ОАО "ОК-Лоза")
2 ВНЕСЕН Техническим комитетом по стандартизации ТК 218 "Приборные подшипники качения"
3 УТВЕРЖДЕН И ВВЕДЕН В ДЕЙСТВИЕ
Приказом Федерального агентства по техническому регулированию и метрологии от 28 мая 2020 г. N 235-ст
4 ВВЕДЕН ВПЕРВЫЕ
Правила применения настоящего стандарта установлены в статье 26 Федерального закона от 29 июня 2015 г. N 162-ФЗ "О стандартизации в Российской Федерации". Информация об изменениях к настоящему стандарту публикуется в ежегодном (по состоянию на 1 января текущего года) информационном указателе "Национальные стандарты", а официальный текст изменений и поправок - в ежемесячном информационном указателе "Национальные стандарты". В случае пересмотра (замены) или отмены настоящего стандарта соответствующее уведомление будет опубликовано в ближайшем выпуске ежемесячного информационного указателя "Национальные стандарты". Соответствующая информация, уведомление и тексты размещаются также в информационной системе общего пользования - на официальном сайте Федерального агентства по техническому регулированию и метрологии в сети Интернет (www.gost.ru)
Настоящий стандарт устанавливает методы измерения твердости в закаленном и (или) упрочненном состоянии деталей шариковых приборных подшипников качения.
Настоящий стандарт распространяется на детали приборных шариковых подшипников качения и шарикоподшипниковых опор (далее - подшипники) и применяется при их изготовлении, контроле, подтверждении соответствия требованиям нормативных документов или технической документации.
В настоящем стандарте использованы нормативные ссылки на следующие стандарты:
ГОСТ 12.1.030 Система стандартов безопасности труда. Электробезопасность. Защитное заземление, зануление
ГОСТ 2789 Шероховатость поверхности. Параметры и характеристики
ГОСТ 2999 Металлы и сплавы. Метод измерения твердости по Виккерсу
ГОСТ 9013 (ИСО 6508-86) Металлы. Метод измерения твердости по Роквеллу
ГОСТ 9031 Меры твердости образцовые. Технические условия
ГОСТ 9377 Наконечники и бойки алмазные к приборам для измерения твердости металлов и сплавов. Технические условия
ГОСТ 21014 Прокат черных металлов. Термины и определения дефектов поверхности
ГОСТ 22975 Металлы и сплавы. Метод измерения твердости по Роквеллу при малых нагрузках (по Супер-Роквеллу)
ГОСТ 23505 Обработка абразивная. Термины и определения
ГОСТ 23677 Твердомеры для металлов. Общие технические требования
ГОСТ 24955 Подшипники качения. Термины и определения
ГОСТ 33439 Металлопродукция из черных металлов и сплавов на железоникелевой и никелевой основе. Термины и определения по термической обработке
Примечание - При пользовании настоящим стандартом целесообразно проверить действие ссылочных стандартов в информационной системе общего пользования - на официальном сайте Федерального агентства по техническому регулированию и метрологии в сети Интернет или по ежегодному информационному указателю "Национальные стандарты", который опубликован по состоянию на 1 января текущего года, и по выпускам ежемесячного информационного указателя "Национальные стандарты" за текущий год. Если заменен ссылочный стандарт, на который дана недатированная ссылка, то рекомендуется использовать действующую версию этого стандарта с учетом всех внесенных в данную версию изменений. Если заменен ссылочный стандарт, на который дана датированная ссылка, то рекомендуется использовать версию этого стандарта с указанным выше годом утверждения (принятия). Если после утверждения настоящего стандарта в ссылочный стандарт, на который дана датированная ссылка, внесено изменение, затрагивающее положение, на которое дана ссылка, то это положение рекомендуется применять без учета данного изменения. Если ссылочный стандарт отменен без замены, то положение, в котором дана ссылка на него, рекомендуется применять в части, не затрагивающей эту ссылку.
В настоящем стандарте применены термины по
ГОСТ 21014, ГОСТ 23505, ГОСТ 24955,
ГОСТ 33439, а также следующие термины с соответствующими определениями:
3.1 микрошлиф: Образец детали, имеющий полированную гладкую поверхность и используемый для исследования микроструктуры материала.
3.2 тонкостенные детали (образцы): Детали подшипников (образцы), у которых отношение толщины к размеру наружной поверхности лежит в диапазоне от 0,04 до 0,065.
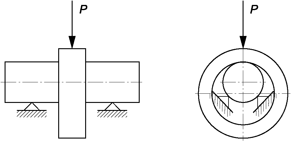
4.1 Условные обозначения, принятые в схемах, приведены в
таблице 1.
Обозначение элемента | Наименование элемента |
| Направление приложенной нагрузки P при вдавливании измерительного наконечника твердомера |
| Опорная плоскость |
| Неподвижный упор |
Пределы относительной погрешности измерения твердости деталей подшипников составляют не более 3% от значений измеряемой величины и определяются погрешностью применяемых твердомеров (в соответствии с
ГОСТ 23677 для твердомеров различного типа) и погрешностями определения геометрических параметров отпечатков наконечников твердомеров на контролируемой поверхности.
6 Средства измерения и вспомогательные устройства
6.1 При выполнении измерений применяют следующие средства измерения (СИ) и вспомогательные устройства:
- наконечники алмазные для измерения твердости в соответствии с ГОСТ 9377;
- наконечники стальные шариковые в соответствии с
ГОСТ 23677;
- образцовые меры твердости 2-го разряда по ГОСТ 9031;
- средства вспомогательные (устройства центрирующие, столы предметные, тиски, подставки опорные, оправки), предназначенные для установки и центрирования деталей подшипников на твердомерах.
Примечания
1 Вспомогательные средства для установки деталей подшипников на твердомеры проектируются предприятием - изготовителем подшипников с соблюдением требований к установленной точности измерений по настоящему стандарту.
2 Применимость конкретных вспомогательных средств для установки деталей подшипников должна быть определена технической документацией предприятия - изготовителя подшипников на операции измерения твердости.
6.2 Наконечники для твердомеров выбираются в соответствии с
ГОСТ 23677.
6.3 Используемые твердомеры должны быть исправны и поверены в установленном порядке. Использование неповеренных твердомеров не допускается.
6.4 Используемые образцовые меры твердости должны быть поверены.
6.5 Подъемное устройство рабочего стола твердомера не должно произвольно перемещаться в процессе измерения.
6.6 Программное обеспечение используемых СИ должно быть защищено от несанкционированной настройки и вмешательства, которые могут привести к искажению результатов измерений и их обработки.
6.7 Допускается применение аналогичных СИ, обеспечивающих заданную точность измерения твердости.
7.1 Измерение твердости деталей подшипников в зависимости от размера деталей или образцов, а также глубины упрочненного (азотирование, цементация, нитроцементация и др.) поверхностного слоя проводят по методу Роквелла в соответствии с
ГОСТ 9013, Супер-Роквелла по
ГОСТ 22975 или Виккерса согласно
ГОСТ 2999.
7.2 Методы измерения твердости деталей подшипников основаны на вдавливании в поверхность образца наконечника определенной формы (в зависимости от выбранного метода измерения) при установленной нагрузке, последующем измерении геометрических параметров отпечатка (глубины или длины диагоналей - в зависимости от метода) и на определении по ним значения твердости.
8 Требования безопасности
8.1 Перед началом работы следует проверить исправность твердомеров на отсутствие повреждений корпуса, комплектующих частей, повреждений электрической проводки, надежность их крепления между собой, прочность фиксации движущихся частей твердомеров в рабочем положении, устойчивость расположения твердомеров на рабочем столе и исправность вспомогательных устройств для установки и центрирования деталей подшипников на твердомерах.
8.2 Применяемые твердомеры должны быть надежно заземлены в соответствии с
ГОСТ 12.1.030.
8.3 Конструкция твердомеров и вспомогательных устройств должна обеспечивать возможность удобного и безопасного выполнения работ.
8.4 Твердомеры и вспомогательные устройства следует использовать в соответствии с руководствами (инструкциями) по эксплуатации и/или паспортами.
9 Требования к квалификации персонала
К выполнению измерений и обработке их результатов допускается персонал, прошедший обучение и соблюдающий требования эксплуатационной документации на твердомеры и настоящего стандарта.
10 Условия выполнения измерений
10.1 При выполнении измерений необходимо соблюдать следующие условия:
- температура воздуха -

;
- относительная влажность воздуха - (58 +/- 20) °C;
- отсутствие вибрации опорных поверхностей рабочих столов, пола в том помещении, в котором установлены твердомеры;
- общая освещенность в помещении - от 200 до 400 лк, освещенность на рабочих местах - 750 лк.
10.2 Детали подшипников, подлежащие измерению, должны быть выдержаны в помещении с вышеуказанными условиями не менее 2 ч до начала измерений.
10.3 Детали подшипников перед измерением должны быть чистыми, сухими и размагниченными. Промывка и размагничивание деталей - в соответствии с технической документацией на подшипники.
11 Подготовка к выполнению измерений
11.1 При подготовке к выполнению измерений необходимо провести следующие работы:
- проверить исправность СИ; - проверить работоспособность программного обеспечения;
- подобрать вспомогательные устройства, необходимые для установки деталей подшипников на твердомеры, проверить их исправность;
- провести контрольные измерения твердости на образцовых мерах твердости;
- подготовить образцы или детали подшипников.
11.2 Перед выполнением измерений необходимо убедиться в том, что твердомеры и их отдельные части (корпус, предметный стол, дисплей и т.д.) не имеют видимых механических повреждений, следов пыли, загрязнений, коррозии, масла и т.п., а также проверить устойчивость положения твердомеров на поверхности рабочего стола. При необходимости следует устранить все выявленные замечания.
11.3 При использовании соответствующего программного обеспечения для измерений необходимо убедиться в его работоспособности (программа реагирует на команды пользователя, отсутствуют сообщения о неисправностях).
11.4 Осуществляют подбор необходимых вспомогательных устройств для установки деталей подшипников на твердомеры в соответствии с технической документацией предприятия - изготовителя подшипников на операции контроля твердости деталей подшипников.
11.5 Проверяют выбранные вспомогательные устройства на предмет наличия механических повреждений (сколов, выступаний металла на контактных поверхностях, следов износа, загрязнений, коррозии на контактных и присоединительных поверхностях и т.д.). При необходимости устраняют все выявленные замечания.
11.6 Контрольные измерения твердости образцовых мер проводят после каждой смены наконечников, предметного стола твердомера или после измерения твердости партии образцов или деталей подшипников (не менее 100 шт.). Число контрольных измерений - не менее шести. При этом результаты первых трех измерений не учитывают.
Твердомер считают пригодным к работе в том случае, если разница между значением твердости образцовой меры и результатом каждого из контрольных измерений (за исключением первых трех) не превышает заданную погрешность твердомера.
11.7 При проверке состояния образцов или деталей подшипников необходимо убедиться в отсутствии на них окалины, пережогов, обезуглероженного слоя, трещин, раковин и других дефектов.
11.8 Установку образцов или деталей подшипников на твердомеры необходимо производить с соблюдением следующих условий:
- контролируемые образцы или детали должны лежать на предметном столике устойчиво, чтобы во время измерения не могло произойти их смещение;
- контролируемые образцы или детали во время измерения твердости не должны прогибаться или пружинить, а опорная поверхность не должна иметь незачищенных следов отпечатков от предыдущих измерений;
- должна быть обеспечена перпендикулярность приложения действующей нагрузки к поверхности образца или участка детали.
12.1.1 Измерение твердости фиксирует состояние микроструктуры деталей в закаленном или упрочненном состоянии и является основным показателем качества деталей после термической и химико-термической обработки.
12.1.2 Измерение твердости деталей подшипников проводят при следующих нагрузках:
- по методу Роквелла (HRC и HRA) - 1500 и 600 Н (150 и 60 кгс);
- методу Супер-Роквелла (HRN30) - 300 Н (30 кгс);
- методу Виккерса (HV) - 10, 20, 50, 100 Н (1, 2, 5, 10 кгс).
12.1.3 При выборе метода измерения твердости существенным условием является оптимальная измерительная нагрузка на контролируемую поверхность. При измерении опорная поверхность контролируемой детали, образца не должна иметь следы деформации от отпечатка твердомера.
12.1.4 Основной мерой твердости, величина которой должна быть указана в технической документации на подшипники, является твердость, измеренная по Роквеллу при нагрузке 1500 Н (150 кгс).
12.1.5 Методом измерения твердости по Роквеллу при нагрузке 600 Н (60 кгс) контролируют детали, у которых размеры базовых поверхностей для вдавливания алмазного конуса при нагрузке 1500 Н (150 кгс) являются недостаточными.
12.1.6 Метод измерения твердости по Супер-Роквеллу с нагрузкой 300 Н (30 кгс) применяют для контроля деталей, твердость которых невозможно определить по Роквеллу при нагрузке 1500 и 600 Н (150 и 60 кгс).
12.1.7 Метод измерения твердости по Виккерсу применяют для контроля тонкостенных деталей, тонкостенных образцов или упрочненных поверхностных слоев.
12.1.8 Для контроля твердости на каждой детали должно быть проведено три измерения. За фактическое значение твердости деталей подшипников по Роквеллу, Супер-Роквеллу и Виккерсу принимают среднее арифметическое результатов трех измерений.
12.1.9 Соотношение единиц твердости, полученных в результате измерений по разным методам при различных нагрузках, приведено в
таблице 2.
Твердость по Супер-Роквеллу при нагрузке 300 Н (30 кгс) HRN30 | Твердость по Роквеллу при нагрузке 600 Н (60 кгс) HRA | Твердость по Роквеллу при нагрузке 1500 Н (150 кгс) HRC | Твердость по Виккерсу HV |
86,8 | 86,7 | 71,0 | 1120 |
86,1 | 86,2 | 70,0 | 1010 |
85,3 | 85,6 | 69,0 | 947 |
84,4 | 85,1 | 68,0 | 905 |
83,6 | 84,5 | 67,0 | 868 |
82,8 | 83,9 | 66,0 | 834 |
82,0 | 83,4 | 65,0 | 802 |
81,3 | 82,8 | 64,0 | 774 |
80,4 | 82,3 | 63,0 | 748 |
79,6 | 81,7 | 62,0 | 720 |
78,8 | 81,2 | 61,0 | 697 |
78,1 | 80,6 | 60,0 | 674 |
77,3 | 80,1 | 59,0 | 653 |
76,5 | 79,6 | 58,0 | 632 |
75,7 | 79,0 | 57,0 | 612 |
74,9 | 78,5 | 56,0 | 595 |
74,1 | 77,9 | 55,0 | 576 |
73,3 | 77,4 | 54,0 | 558 |
72,5 | 76,8 | 53,0 | 542 |
71,7 | 76,3 | 52,0 | 525 |
70,9 | 75,8 | 51,0 | 510 |
70,1 | 75,2 | 50,0 | 495 |
68,5 | 74,1 | 48,0 | 468 |
67,7 | 73,5 | 47,0 | 454 |
66,8 | 73,0 | 46,0 | 441 |
66,1 | 72,4 | 45,0 | 428 |
65,3 | 71,9 | 44,0 | 417 |
64,5 | 71,4 | 43,0 | 407 |
63,6 | 70,8 | 42,0 | 396 |
62,9 | 70,3 | 41,0 | 386 |
62,0 | 69,7 | 40,0 | 376 |
61,2 | 69,2 | 39,0 | 366 |
60,4 | 68,6 | 38,0 | 356 |
59,6 | 68,1 | 37,0 | 348 |
58,8 | 67,5 | 36,0 | 338 |
58,0 | 67,0 | 35,0 | 330 |
57,2 | 66,4 | 34,0 | 321 |
56,4 | 65,8 | 33,0 | 312 |
55,6 | 65,4 | 32,0 | 304 |
54,8 | 64,8 | 31,0 | 296 |
54,0 | 64,4 | 30,0 | 288 |
Примечание - Перевод значений твердости из одной шкалы в другую имеет неизбежные погрешности. Наиболее точное определение твердости возможно только при прямом измерении. |
Определение промежуточных значений твердости производят методом линейной интерполяции.
12.1.10 При измерении твердости необходимо соблюдать следующие условия:
- плавное приведение наконечника в контакт с поверхностью детали, образца;
- плавное приложение измерительных нагрузок и поддержание их постоянства в течение установленного времени;
- плавное снятие измерительной нагрузки.
12.1.11 Механическая обработка (шлифование и полирование) деталей при подготовке образцов не должна вызывать нагрева, который может повлиять на показатель твердости.
12.2 Измерение твердости по Роквеллу и Супер-Роквеллу
12.2.1 Общие положения
12.2.1.1 По методу Роквелла допускается проводить измерения с твердостью по шкале C не более 70 единиц в связи с большой вероятностью разрушения алмазного наконечника твердомера. Изделия из сверхтвердых сплавов, а также с тонким упрочненным слоем следует контролировать по шкале A метода Роквелла или по шкале N (при нагрузке 30 кгс) метода Супер-Роквелла.
12.2.1.2 Шероховатость Ra контролируемой поверхности колец и тел качения должна быть не более 2,5 мкм по
ГОСТ 2789.
12.2.1.3 Минимальная толщина контролируемого образца или слоя должна быть не менее восьмикратной глубины внедрения измерительного наконечника после снятия основной нагрузки.
12.2.1.4 При приложении предварительной нагрузки образец или деталь должны перемещаться плавно, сближаясь с измерительным наконечником. Если приложенная величина предварительной нагрузки оказалась выходящей за пределы допуска, то предварительная нагрузка должна быть снята, а измерение твердости произведено в другой точке образца (детали). Основная нагрузка снимается плавно через 1 - 3 с после замедления движения стрелки индикатора твердомера.
12.2.2 Измерение твердости колец
12.2.2.1 При контроле твердости колец основной базой для вдавливания алмазного конуса служит плоская торцовая поверхность. Минимальное расстояние от центра отпечатка до края торца и минимальная ширина торцовой поверхности при измерении твердости по Роквеллу (шкалы C и A) и по Супер-Роквеллу [шкала N (нагрузка 30 кгс)] должны быть не менее величин, указанных в
таблице 3.
Примечание - За ширину торцовой поверхности принимают минимально допустимую по чертежу ширину контролируемого плоского торца.
Твердость колец | Расстояние от центра отпечатка до края контролируемой поверхности, не менее, мм | Ширина контролируемой поверхности колец, не менее, мм |
по Роквеллу | по Супер-Роквеллу HRN30 |
HRC | HRA |
- | - | 80 - 84 | 0,50 | 1,10 |
- | - | 77 - 79 | 0,55 | 1,20 |
- | - | 74 - 76 | 0,60 | 1,30 |
- | - | 71 - 73 | 0,65 | 1,40 |
- | 84,0 - 86,0 | - | 0,70 | 1,50 |
- | 81,0 - 83,5 | - | 0,80 | 1,70 |
- | 77,5 - 80,5 | - | 0,90 | 1,90 |
- | 74,0 - 77,0 | - | 1,00 | 2,10 |
66 - 69 | 71,5 - 73,5 | - | 1,10 | 2,30 |
63 - 65 | - | - | 1,20 | 2,50 |
59 - 62 | - | - | 1,30 | 2,70 |
55 - 58 | - | - | 1,40 | 2,90 |
51 - 54 | - | - | 1,50 | 3,10 |
47 - 50 | - | - | 1,60 | 3,30 |
43 - 46 | - | - | 1,70 | 3,50 |
39 - 42 | - | - | 1,80 | 3,70 |
Примечание - Для определения минимального расстояния от центра отпечатка до края контролируемой поверхности и минимальной ширины контролируемой поверхности необходимо исходить из нижнего предела твердости детали, указанного в технической документации. |
12.2.2.2 При минимальной ширине торца алмазный конус измерительного наконечника должен вдавливаться в среднюю точку ширины торца. Для этого необходимо иметь предметный столик с V-образной упорной пластиной (см.
рисунок 1), которая при измерении твердости колец разного диаметра, передвигаясь в том или ином направлении, центрирует среднюю точку торцовой поверхности относительно вершины алмазного конуса.
12.2.2.3 Твердость тонкостенных наружных колец подшипников, ширина торцовых поверхностей которых меньше величин, указанных в
таблице 2, можно контролировать путем вдавливания алмазного конуса в наружную цилиндрическую поверхность при наличии специальных подставок с цилиндрическими стержнями (см.
рисунки 2 и
3).
12.2.2.4 При измерении твердости малогабаритных колец радиальных подшипников по наружной цилиндрической поверхности с применением опорных подставок, изображенных на
рисунке 2, внутренний диаметр колец должен быть не менее 5,0 мм, а соответствующий диаметр цилиндрического стержня - не менее 4,5 мм, причем ширина П-образного выреза предметного столика должна быть только на 1,0 мм более ширины (высоты) кольца.
12.2.2.5 При контроле твердости колец на торцовой или цилиндрической поверхности минимальная толщина детали в точке вдавливания алмазного конуса при нагрузках 300 Н (30 кгс), 600 Н (60 кгс), 1500 Н (150 кгс) должна соответствовать значениям, указанным в
таблице 4, а минимальное расстояние от центра отпечатка до края контролируемой поверхности - в
таблице 3.
Примечание - Данные, приведенные в
таблице 4, следует использовать также при выборе нагрузки для измерения твердости деталей с упрочненным слоем, полученным химико-термическим или другим методом обработки.
Нагрузка, Н (кгс) | Твердость детали HRC | Минимальная толщина детали или упрочненного слоя в точке вдавливания измерительного наконечника, мм |
300 (30) | 84,0 - 85,0 | 0,28 |
80,0 - 84,0 | 0,33 |
75,0 - 79,0 | 0,38 |
70,0 - 74,0 | 0,43 |
600 (60) | 85,0 - 87,0 | 0,45 |
80,0 - 84,0 | 0,50 |
75,0 - 79,0 | 0,60 |
70,0 - 74,0 | 0,70 |
1500 (150) | 68,0 - 71,0 | 0,70 |
61,0 - 67,0 | 0,80 |
56,0 - 60,0 | 0,90 |
51,0 - 55,0 | 1,00 |
46,0 - 50,0 | 1,10 |
41,0 - 45,0 | 1,20 |
Примечание - Для определения минимальной толщины детали или упрочненного слоя необходимо исходить из нижнего предела твердости детали, указанного в технической документации. |
12.2.2.6 При измерении твердости на выпуклых цилиндрических поверхностях (наружная цилиндрическая поверхность колец) в результаты измерений вводят поправки.
Величина поправки твердости, полученной при нагрузке 1500 Н (150 кгс), приведена в
таблице 5, а при нагрузке 600 Н (60 кгс) - в
таблице 6. Поправки прибавляются к полученным значениям твердости.
Таблица 5
Величина поправки твердости (HRC) для выпуклой
цилиндрической поверхности (кольца)
при нагрузке 1500 Н (150 кгс)
Номинальный диаметр кольца, мм | Твердость на выпуклой цилиндрической поверхности HRC |
31 | 32 | 33 | 34 | 35 | 36 | 37 | 38 |
Величина поправки твердости для выпуклой цилиндрической поверхности (кольца) |
5,0 - 5,5 | 6,0 | 6,0 | 5,5 | 5,5 | 5,5 | 5,0 | 5,0 | 5,0 |
6,0 - 6,5 | 5,0 | 5,0 | 5,0 | 4,5 | 4,5 | 4,5 | 4,5 | 4,0 |
7,0 - 7,5 | 4,5 | 4,0 | 4,0 | 4,0 | 4,0 | 4,0 | 4,0 | 3,6 |
8,0 - 8,5 | 4,0 | 3,5 | 3,5 | 3,5 | 3,5 | 3,0 | 3,0 | 3,0 |
9,0 - 9,5 | 3,5 | 3,5 | 3,0 | 3,0 | 3,0 | 3,0 | 3,0 | 3,0 |
10,0 - 10,5 | 3,0 | 3,0 | 3,0 | 3,0 | 3,0 | 3,0 | 2,5 | 2,5 |
11,0 - 11,5 | 3,0 | 2,5 | 2,5 | 2,5 | 2,5 | 2,5 | 2,5 | 2,5 |
12,0 - 12,5 | 2,5 | 2,5 | 2,5 | 2,5 | 2,5 | 2,0 | 2,0 | 2,0 |
13,0 - 13,5 | 2,5 | 2,5 | 2,5 | 2,0 | 2,0 | 2,0 | 2,0 | 2,0 |
14,0 - 14,5 | 2,5 | 2,0 | 2,0 | 2,0 | 2,0 | 2,0 | 2,0 | 2,0 |
15,0 - 15,5 | 2,0 | 2,0 | 2,0 | 2,0 | 2,0 | 2,0 | 2,0 | 2,0 |
16,0 - 16,5 | 2,0 | 2,0 | 2,0 | 2,0 | 2,0 | 2,0 | 2,0 | 1,5 |
17,0 - 17,5 | 2,0 | 2,0 | 2,0 | 1,5 | 1,5 | 1,5 | 1,5 | 1,5 |
18,0 - 18,5 | 2,0 | 2,0 | 1,5 | 1,5 | 1,5 | 1,5 | 1,5 | 1,5 |
19,0 - 19,5 | 2,0 | 1,5 | 1,5 | 1,5 | 1,5 | 1,5 | 1,5 | 1,5 |
20,0 - 20,5 | 1,5 | 1,4 | 1,4 | 1,4 | 1,3 | 1,3 | 1,3 | 1,2 |
21,0 - 21,5 | 1,4 | 1,4 | 1,4 | 1,3 | 1,3 | 1,3 | 1,2 | 1,2 |
22,0 - 22,5 | 1,4 | 1,4 | 1,3 | 1,3 | 1,2 | 1,2 | 1,1 | 1,1 |
23,0 - 23,5 | 1,3 | 1,3 | 1,3 | 1,2 | 1,2 | 1,1 | 1,1 | 1,0 |
24,0 - 24,5 | 1,3 | 1,3 | 1,2 | 1,2 | 1,1 | 1,1 | 1,0 | 1,0 |
25,0 - 25,5 | 1,2 | 1,1 | 1,1 | 1,1 | 1,1 | 1,0 | 1,0 | 0,9 |
26,0 - 26,5 | 1,2 | 1,1 | 1,1 | 1,1 | 1,0 | 1,0 | 1,0 | 0,9 |
27,0 - 27,5 | 1,1 | 1,1 | 1,1 | 1,0 | 1,0 | 1,0 | 1,0 | 0,9 |
28,0 - 28,5 | 1,1 | 1,1 | 1,0 | 1,0 | 1,0 | 0,9 | 0,9 | 0,9 |
29,0 - 29,5 | 1,0 | 1,0 | 1,0 | 0,9 | 0,9 | 0,9 | 0,9 | 0,8 |
30,0 | 1,0 | 1,0 | 0,9 | 0,9 | 0,9 | 0,8 | 0,8 | 0,8 |
Продолжение таблицы 5
Номинальный диаметр кольца, мм | Твердость на выпуклой цилиндрической поверхности HRC |
39 | 40 | 41 | 42 | 43 | 44 | 45 | 46 |
Величина поправки твердости для выпуклой цилиндрической поверхности (кольца) |
5,0 - 5,5 | 5,0 | 4,5 | 4,5 | 4,5 | 4,5 | 4,5 | 4,5 | 4,5 |
6,0 - 6,5 | 4,0 | 4,0 | 4,0 | 4,0 | 4,0 | 4,0 | 4,0 | 4,0 |
7,0 - 7,5 | 3,5 | 3,5 | 3,5 | 3,5 | 3,5 | 3,5 | 3,5 | 3,5 |
8,0 - 8,5 | 3,0 | 3,0 | 3,0 | 3,0 | 3,0 | 3,0 | 3,0 | 3,0 |
9,0 - 9,5 | 3,0 | 3,0 | 3,0 | 3,0 | 3,0 | 3,0 | 3,0 | 2,5 |
10,0 - 10,5 | 2,5 | 2,5 | 2,5 | 2,5 | 2,5 | 2,5 | 2,5 | 2,5 |
11,0 - 11,5 | 2,5 | 2,5 | 2,5 | 2,5 | 2,5 | 2,5 | 2,5 | 2,0 |
12,0 - 12,5 | 2,0 | 2,0 | 2,0 | 2,0 | 2,0 | 2,0 | 2,0 | 2,0 |
13,0 - 13,5 | 2,0 | 2,0 | 2,0 | 2,0 | 2,0 | 2,0 | 2,0 | 2,0 |
14,0 - 14,5 | 2,0 | 2,0 | 2,0 | 2,0 | 2,0 | 2,0 | 2,0 | 2,0 |
15,0 - 15,5 | 2,0 | 2,0 | 2,0 | 2,0 | 2,0 | 2,0 | 2,0 | 2,0 |
16,0 - 16,5 | 1,5 | 1,5 | 1,5 | 1,5 | 1,5 | 1,0 | 1,0 | 1,0 |
17,0 - 17,5 | 1,5 | 1,5 | 1,5 | 1,5 | 1,5 | 1,0 | 1,0 | 1,0 |
18,0 - 18,5 | 1,5 | 1,5 | 1,0 | 1,0 | 1,0 | 1,0 | 1,0 | 1,0 |
19,0 - 19,5 | 1,5 | 1,1 | 1,0 | 1,0 | 1,0 | 1,0 | 1,0 | 1,0 |
20,0 - 20,5 | 1,2 | 1,1 | 1,0 | 1,0 | 1,0 | 0,9 | 0,8 | 0,8 |
21,0 - 21,5 | 1,1 | 1,1 | 1,0 | 1,0 | 0,9 | 0,9 | 0,8 | 0,8 |
22,0 - 22,5 | 1,1 | 1,0 | 1,0 | 1,0 | 0,9 | 0,9 | 0,8 | 0,8 |
23,0 - 23,5 | 1,0 | 1,0 | 0,9 | 0,9 | 0,8 | 0,8 | 0,7 | 0,7 |
24,0 - 24,5 | 1,0 | 0,9 | 0,9 | 0,9 | 0,8 | 0,8 | 0,7 | 0,7 |
25,0 - 25,5 | 0,9 | 0,9 | 0,8 | 0,8 | 0,8 | 0,8 | 0,7 | 0,7 |
26,0 - 26,5 | 0,9 | 0,8 | 0,8 | 0,8 | 0,8 | 0,7 | 0,7 | 0,7 |
27,0 - 27,5 | 0,9 | 0,8 | 0,8 | 0,8 | 0,8 | 0,7 | 0,7 | 0,7 |
28,0 - 28,5 | 0,8 | 0,8 | 0,7 | 0,7 | 0,7 | 0,7 | 0,7 | 0,6 |
29,0 - 29,5 | 0,8 | 0,8 | 0,7 | 0,7 | 0,7 | 0,7 | 0,6 | 0,6 |
30,0 | 0,8 | 0,8 | 0,7 | 0,7 | 0,7 | 0,6 | 0,6 | 0,6 |
Продолжение таблицы 5
Номинальный диаметр кольца, мм | Твердость на выпуклой цилиндрической поверхности HRC |
47 | 48 | 49 | 50 | 51 | 52 | 53 | 54 |
Величина поправки твердости для выпуклой цилиндрической поверхности (кольца) |
5,0 - 5,5 | 4,0 | 4,0 | 4,0 | 4,0 | 3,5 | 3,5 | 3,5 | 3,5 |
6,0 - 6,5 | 3,5 | 3,5 | 3,5 | 3,5 | 3,0 | 3,0 | 3,0 | 3,0 |
7,0 - 7,5 | 3,0 | 3,0 | 3,0 | 3,0 | 3,0 | 2,5 | 2,5 | 2,5 |
8,0 - 8,5 | 3,0 | 2,5 | 2,5 | 2,5 | 2,5 | 2,5 | 2,0 | 2,0 |
9,0 - 9,5 | 2,5 | 2,5 | 2,5 | 2,5 | 2,0 | 2,0 | 2,0 | 2,0 |
10,0 - 10,5 | 2,5 | 2,0 | 2,0 | 2,0 | 2,0 | 2,0 | 2,0 | 1,5 |
11,0 - 11,5 | 2,0 | 2,0 | 2,0 | 2,0 | 2,0 | 1,5 | 1,5 | 1,5 |
12,0 - 12,5 | 2,0 | 2,0 | 2,0 | 2,0 | 1,5 | 1,5 | 1,5 | 1,5 |
13,0 - 13,5 | 2,0 | 2,0 | 1,5 | 1,5 | 1,5 | 1,5 | 1,5 | 1,5 |
14,0 - 14,5 | 2,0 | 2,0 | 1,5 | 1,5 | 1,5 | 1,5 | 1,5 | 1,5 |
15,0 - 15,5 | 2,0 | 1,5 | 1,5 | 1,5 | 1,5 | 1,5 | 1,5 | 1,0 |
16,0 - 16,5 | 1,0 | 1,0 | 1,0 | 1,0 | 1,0 | 1,0 | 1,0 | 1,0 |
17,0 - 17,5 | 1,0 | 1,0 | 1,0 | 1,0 | 1,0 | 1,0 | 1,0 | 1,0 |
18,0 - 18,5 | 1,0 | 1,0 | 1,0 | 1,0 | 1,0 | 1,0 | 1,0 | 1,0 |
19,0 - 19,5 | 1,0 | 1,0 | 1,0 | 1,0 | 1,0 | 1,0 | 1,0 | 1,0 |
20,0 - 20,5 | 0,8 | 0,8 | 0,8 | 0,8 | 0,8 | 0,8 | 0,7 | 0,7 |
21,0 - 21,5 | 0,8 | 0,7 | 0,7 | 0,7 | 0,6 | 0,6 | 0,5 | 0,5 |
22,0 - 22,5 | 0,7 | 0,7 | 0,6 | 0,6 | 0,6 | 0,5 | 0,5 | 0,5 |
23,0 - 23,5 | 0,7 | 0,6 | 0,6 | 0,6 | 0,6 | 0,5 | 0,5 | 0,4 |
24,0 - 24,5 | 0,7 | 0,6 | 0,6 | 0,6 | 0,5 | 0,5 | 0,5 | 0,4 |
25,0 - 25,5 | 0,7 | 0,6 | 0,6 | 0,6 | 0,5 | 0,5 | 0,5 | 0,4 |
26,0 - 26,5 | 0,7 | 0,6 | 0,6 | 0,6 | 0,5 | 0,5 | 0,5 | 0,4 |
27,0 - 27,5 | 0,7 | 0,6 | 0,6 | 0,6 | 0,5 | 0,5 | 0,5 | 0,4 |
28,0 - 28,5 | 0,6 | 0,6 | 0,6 | 0,5 | 0,5 | 0,5 | 0,5 | 0,4 |
29,0 - 29,5 | 0,6 | 0,6 | 0,5 | 0,5 | 0,5 | 0,5 | 0,5 | 0,4 |
30,0 | 0,6 | 0,5 | 0,5 | 0,5 | 0,5 | 0,5 | 0,4 | 0,4 |
Продолжение таблицы 5
Номинальный диаметр кольца, мм | Твердость на выпуклой цилиндрической поверхности HRC |
55 | 56 | 57 | 58 | 59 | 60 | 61 | 62 |
Величина поправки твердости для выпуклой цилиндрической поверхности (кольца) |
5,0 - 5,5 | 3,0 | 3,0 | 3,0 | 3,0 | 2,5 | 2,5 | 2,5 | 2,5 |
6,0 - 6,5 | 3,0 | 2,5 | 2,5 | 2,5 | 2,5 | 2,0 | 2,0 | 2,0 |
7,0 - 7,5 | 2,5 | 2,5 | 2,0 | 2,0 | 2,0 | 2,0 | 1,5 | 1,5 |
8,0 - 8,5 | 2,0 | 2,0 | 2,0 | 2,0 | 2,0 | 1,5 | 1,5 | 1,5 |
9,0 - 9,5 | 2,0 | 1,5 | 1,5 | 1,5 | 1,5 | 1,5 | 1,5 | 1,0 |
10,0 - 10,5 | 1,5 | 1,5 | 1,5 | 1,5 | 1,5 | 1,0 | 1,0 | 1,0 |
11,0 - 11,5 | 1,5 | 1,5 | 1,5 | 1,5 | 1,0 | 1,0 | 1,0 | 1,0 |
12,0 - 12,5 | 1,5 | 1,5 | 1,0 | 1,0 | 1,0 | 1,0 | 1,0 | 1,0 |
13,0 - 13,5 | 1,5 | 1,0 | 1,0 | 1,0 | 1,0 | 1,0 | 1,0 | 0,5 |
14,0 - 14,5 | 1,0 | 1,0 | 1,0 | 1,0 | 1,0 | 1,0 | 1,0 | 0,5 |
15,0 - 15,5 | 1,0 | 1,0 | 1,0 | 1,0 | 1,0 | 1,0 | 0,5 | 0,5 |
16,0 - 16,5 | 1,0 | 1,0 | 1,0 | 0,5 | 0,5 | 0,5 | 0,5 | 0,5 |
17,0 - 17,5 | 1,0 | 1,0 | 0,5 | 0,5 | 0,5 | 0,5 | 0,5 | 0,5 |
18,0 - 18,5 | 1,0 | 1,0 | 0,5 | 0,5 | 0,5 | 0,5 | 0,5 | 0,5 |
19,0 - 19,5 | 1,0 | 1,0 | 0,5 | 0,5 | 0,5 | 0,5 | 0,5 | 0,5 |
20,0 - 20,5 | 0,7 | 0,7 | 0,4 | 0,3 | 0,3 | 0,3 | 0,3 | 0,3 |
21,0 - 21,5 | 0,4 | 0,4 | 0,3 | 0,3 | 0,3 | 0,3 | 0,2 | 0,2 |
22,0 - 22,5 | 0,4 | 0,4 | 0,3 | 0,3 | 0,3 | 0,3 | 0,2 | 0,2 |
23,0 - 23,5 | 0,4 | 0,3 | 0,3 | 0,3 | 0,3 | 0,3 | 0,2 | 0,2 |
24,0 - 24,5 | 0,4 | 0,3 | 0,3 | 0,3 | 0,3 | 0,3 | 0,2 | 0,2 |
25,0 - 25,5 | 0,4 | 0,3 | 0,3 | 0,3 | 0,3 | 0,3 | 0,2 | 0,2 |
26,0 - 26,5 | 0,4 | 0,3 | 0,3 | 0,3 | 0,3 | 0,3 | 0,2 | 0,2 |
27,0 - 27,5 | 0,4 | 0,3 | 0,3 | 0,3 | 0,3 | 0,2 | 0,2 | 0,2 |
28,0 - 28,5 | 0,4 | 0,3 | 0,3 | 0,3 | 0,3 | 0,2 | 0,2 | 0,2 |
Окончание таблицы 5
Номинальный диаметр кольца, мм | Твердость на выпуклой цилиндрической поверхности HRC |
63 | 64 | 65 | 66 | 67 | 68 | 69 | 70 | 71 |
Величина поправки твердости для выпуклой цилиндрической поверхности (кольца) |
5,0 - 5,5 | 2,0 | 2,0 | 2,0 | 1,5 | 0,8 | 0,7 | 0,5 | 0,4 | 0,2 |
6,0 - 6,5 | 2,0 | 2,0 | 1,5 | 1,0 | 0,7 | 0,6 | 0,4 | 0,3 | 0,2 |
7,0 - 7,5 | 1,5 | 1,5 | 1,5 | 1,0 | 0,6 | 0,5 | 0,4 | 0,3 | 0,2 |
8,0 - 8,5 | 1,5 | 1,5 | 1,5 | 1,0 | 0,5 | 0,4 | 0,3 | 0,2 | 0,1 |
9,0 - 9,5 | 1,0 | 1,0 | 1,0 | 1,0 | 0,5 | 0,4 | 0,3 | 0,2 | 0,1 |
10,0 - 10,5 | 1,0 | 1,0 | 1,0 | 0,5 | 0,4 | 0,3 | 0,3 | 0,2 | 0,1 |
11,0 - 11,5 | 1,0 | 1,0 | 0,5 | 0,5 | 0,4 | 0,3 | 0,2 | 0,2 | 0,1 |
12,0 - 12,5 | 0,5 | 0,5 | 0,5 | 0,5 | 0,4 | 0,3 | 0,2 | 0,2 | 0,1 |
13,0 - 13,5 | 0,5 | 0,5 | 0,5 | 0,5 | 0,3 | 0,3 | 0,2 | 0,1 | 0,1 |
14,0 - 14,5 | 0,5 | 0,5 | 0,5 | 0,5 | 0,3 | 0,2 | 0,2 | 0,1 | 0,1 |
15,0 - 15,5 | 0,5 | 0,5 | 0,5 | 0,5 | 0,3 | 0,2 | 0,2 | 0,1 | 0,1 |
16,0 - 16,5 | 0,5 | 0,5 | 0,5 | 0,5 | 0,3 | 0,2 | 0,2 | 0,1 | 0,1 |
17,0 - 17,5 | 0,5 | 0,5 | 0,5 | 0,5 | 0,2 | 0,2 | 0,2 | 0,1 | 0,1 |
18,0 - 18,5 | 0,5 | 0,5 | 0,5 | 0,5 | 0,2 | 0,2 | 0,1 | 0,1 | 0,1 |
19,0 - 19,5 | 0,5 | 0,5 | 0,5 | 0,5 | 0,2 | 0,2 | 0,1 | 0,1 | 0,1 |
20,0 - 20,5 | 0,2 | 0,2 | 0,2 | 0,2 | 0,2 | 0,2 | 0,1 | 0,1 | 0,1 |
21,0 - 21,5 | 0,2 | 0,1 | 0,1 | 0,1 | 0,1 | 0,1 | 0,1 | 0,1 | 0 |
22,0 - 22,5 | 0,2 | 0,1 | 0,1 | - | - | - | - | - | - |
23,0 - 23,5 | 0,2 | 0,1 | - | - | - | - | - | - | - |
24,0 - 24,5 | 0,2 | 0,1 | - | - | - | - | - | - | - |
25,0 - 25,5 | 0,2 | 0,1 | - | - | - | - | - | - | - |
26,0 - 26,5 | 0,2 | 0,1 | - | - | - | - | - | - | - |
27,0 - 27,5 | 0,1 | - | - | - | - | - | - | - | - |
28,0 - 28,5 | 0,1 | - | - | - | - | - | - | - | - |
29,0 - 29,5 | 0,1 | - | - | - | - | - | - | - | - |
30,0 | 0,1 | - | - | - | - | - | - | - | - |
Таблица 6
Величина поправки твердости (HRA) для выпуклой
цилиндрической поверхности (кольца)
при нагрузке 600 Н (60 кгс)
Твердость на выпуклой цилиндрической поверхности HRA | Диаметр кольца, мм |
2,50 | 3,00 | 3,50 | 4,00 | 4,50 | 4,99 | 5,0 - 5,5 | 6,0 - 6,5 | 7,0 - 7,5 |
Величина поправки твердости для выпуклой цилиндрической поверхности (кольца) |
86,5 | 0,6 | 0,5 | 0,4 | 0,4 | 0,3 | 0,3 | 0,3 | 0,3 | 0,2 |
86,0 | 0,7 | 0,6 | 0,5 | 0,4 | 0,4 | 0,3 | 0,4 | 0,4 | 0,3 |
85,5 | 0,8 | 0,7 | 0,6 | 0,5 | 0,4 | 0,4 | 0,5 | 0,4 | 0,4 |
85,0 | 0,8 | 0,7 | 0,6 | 0,5 | 0,5 | 0,4 | 0,5 | 0,4 | 0,4 |
84,5 | 0,9 | 0,8 | 0,7 | 0,6 | 0,6 | 0,5 | 0,6 | 0,5 | 0,4 |
84,0 | 0,9 | 0,9 | 0,7 | 0,6 | 0,6 | 0,5 | 0,6 | 0,5 | 0,4 |
83,5 | 1,0 | 1,0 | 0,8 | 0,7 | 0,6 | 0,6 | 0,7 | 0,6 | 0,5 |
83,0 | 1,1 | 1,1 | 0,9 | 0,7 | 0,7 | 0,6 | 0,7 | 0,6 | 0,5 |
82,5 | 1,2 | 1,1 | 0,9 | 0,8 | 0,7 | 0,7 | 0,8 | 0,7 | 0,6 |
82,0 | 1,3 | 1,2 | 1,0 | 0,8 | 0,8 | 0,7 | 0,8 | 0,7 | 0,6 |
81,5 | 1,4 | 1,2 | 1,1 | 0,9 | 0,8 | 0,8 | 0,9 | 0,8 | 0,7 |
81,0 | 1,5 | 1,3 | 1,2 | 1,0 | 0,9 | 0,8 | 0,9 | 0,8 | 0,7 |
80,5 | 1,6 | 1,4 | 1,2 | 1,0 | 0,9 | 0,9 | 1,0 | 0,8 | 0,7 |
80,0 | 1,7 | 1,5 | 1,3 | 1,1 | 1,0 | 0,9 | 1,0 | 0,9 | 0,8 |
79,5 | 1,8 | 1,6 | 1,3 | 1,1 | 1,0 | 0,9 | 1,1 | 0,9 | 0,8 |
79,0 | 1,9 | 1,7 | 1,4 | 1,2 | 1,1 | 1,0 | 1,1 | 1,0 | 0,9 |
78,5 | 2,0 | 1,7 | 1,4 | 1,3 | 1,1 | 1,0 | 1,1 | 1,0 | 0,9 |
78,0 | 2,1 | 1,8 | 1,5 | 1,4 | 1,2 | 1,1 | 1,2 | 1,1 | 0,9 |
77,5 | 2,2 | 1,9 | 1,6 | 1,4 | 1,2 | 1,1 | 1,2 | 1,2 | 1,0 |
77,0 | 2,3 | 2,0 | 1,7 | 1,5 | 1,3 | 1,2 | 1,2 | 1,2 | 1,0 |
76,5 | 2,4 | 2,0 | 1,7 | 1,5 | 1,3 | 1,2 | 1,3 | 1,2 | 1,1 |
76,0 | 2,5 | 2,1 | 1,8 | 1,6 | 1,4 | 1,3 | 1,3 | 1,2 | 1,1 |
75,5 | 2,6 | 2,2 | 1,8 | 1,6 | 1,4 | 1,3 | 1,4 | 1,3 | 1,2 |
75,0 | 2,7 | 2,3 | 1,9 | 1,7 | 1,5 | 1,4 | 1,4 | 1,3 | 1,2 |
74,5 | 2,8 | 2,3 | 2,0 | 1,7 | 1,5 | 1,4 | 1,4 | 1,3 | 1,2 |
74,0 | 2,9 | 2,4 | 2,1 | 1,8 | 1,6 | 1,4 | 1,5 | 1,3 | 1,2 |
73,5 | 3,0 | 2,5 | 2,1 | 1,8 | 1,6 | 1,5 | 1,5 | 1,3 | 1,3 |
73,0 | 3,1 | 2,6 | 2,2 | 1,9 | 1,7 | 1,5 | 1,5 | 1,4 | 1,3 |
72,5 | 3,2 | 2,7 | 2,3 | 2,0 | 1,7 | 1,6 | 1,6 | 1,4 | 1,3 |
72,0 | 3,3 | 2,8 | 2,4 | 2,1 | 1,8 | 1,6 | 1,6 | 1,4 | 1,3 |
Окончание таблицы 6
Твердость на выпуклой цилиндрической поверхности HRA | Диаметр кольца, мм |
8,0 - 8,5 | 9,0 - 9,5 | 10,0 - 10,5 | 11,0 - 11,5 | 12,0 - 12,5 | 13,0 - 13,5 | 14,0 - 14,5 | 15,0 - 15,5 |
Величина поправки твердости для выпуклой цилиндрической поверхности (кольца) |
86,5 | 0,2 | 0,2 | 0,2 | 0,1 | 0,1 | 0,1 | 0,1 | 0,1 |
86,0 | 0,3 | 0,4 | 0,2 | 0,2 | 0,2 | 0,2 | 0,2 | 0,1 |
85,5 | 0,3 | 0,3 | 0,2 | 0,2 | 0,2 | 0,2 | 0,2 | 0,2 |
85,0 | 0,3 | 0,3 | 0,3 | 0,3 | 0,2 | 0,2 | 0,2 | 0,2 |
84,5 | 0,4 | 0,4 | 0,3 | 0,3 | 0,3 | 0,2 | 0,2 | 0,2 |
84,0 | 0,4 | 0.4 | 0,3 | 0,3 | 0,3 | 0,3 | 0,2 | 0,2 |
83,5 | 0,4 | 0,4 | 0,3 | 0,3 | 0,3 | 0,3 | 0,3 | 0,2 |
83,0 | 0,5 | 0,4 | 0,4 | 0,3 | 0,3 | 0,3 | 0,3 | 0,3 |
82,5 | 0,5 | 0,5 | 0,4 | 0,4 | 0,3 | 0,3 | 0,3 | 0,3 |
82,0 | 0,6 | 0,5 | 0,4 | 0,4 | 0,4 | 0,3 | 0,3 | 0,3 |
81,5 | 0,6 | 0,5 | 0,4 | 0,4 | 0,4 | 0,3 | 0,3 | 0,3 |
81,0 | 0,6 | 0,6 | 0,5 | 0,4 | 0,4 | 0,4 | 0,3 | 0,3 |
80,5 | 0,7 | 0,6 | 0,5 | 0,5 | 0,4 | 0,4 | 0,4 | 0,3 |
80,0 | 0,7 | 0,6 | 0,5 | 0,5 | 0,4 | 0,4 | 0,4 | 0,3 |
79,5 | 0,7 | 0,7 | 0,5 | 0,5 | 0,5 | 0,4 | 0,4 | 0,4 |
79,0 | 0,7 | 0,7 | 0,6 | 0,5 | 0,5 | 0,4 | 0,4 | 0,4 |
78,5 | 0,8 | 0,7 | 0,6 | 0,6 | 0,5 | 0,4 | 0,4 | 0,4 |
78,0 | 0,8 | 0,8 | 0,6 | 0,6 | 0,6 | 0,5 | 0,4 | 0,4 |
77,5 | 0,8 | 0,8 | 0,7 | 0,6 | 0,6 | 0,5 | 0,5 | 0,4 |
77,0 | 0,9 | 0,8 | 0,7 | 0,6 | 0,6 | 0,5 | 0,5 | 0,4 |
76,5 | 0,9 | 0,8 | 0,7 | 0,7 | 0,6 | 0,5 | 0,5 | 0,5 |
76,0 | 0,9 | 0,9 | 0,8 | 0,7 | 0,7 | 0,6 | 0,5 | 0,5 |
75,5 | 1,0 | 0,9 | 0,8 | 0,7 | 0,7 | 0,6 | 0,6 | 0,5 |
75,0 | 1,0 | 0,9 | 0,8 | 0,8 | 0,7 | 0,6 | 0,6 | 0,5 |
74,5 | 1,0 | 0,9 | 0,8 | 0,8 | 0,7 | 0,6 | 0,6 | 0,5 |
74,0 | 1,1 | 1,0 | 0,9 | 0,8 | 0,8 | 0,7 | 0,7 | 0,6 |
73,5 | 1,1 | 1,0 | 0,9 | 0,9 | 0,8 | 0,7 | 0,7 | 0,6 |
73,0 | 1,2 | 1,0 | 0,9 | 0,9 | 0,8 | 0,7 | 0,7 | 0,6 |
72,5 | 1,2 | 1,1 | 1,0 | 0,9 | 0,9 | 0,8 | 0,8 | 0,7 |
72,0 | 1,2 | 1,1 | 1,0 | 1,0 | 0,9 | 0,8 | 0,8 | 0,7 |
12.2.2.7 Твердость колец диаметром не более 300 мм контролируют на настольных твердомерах Роквелла; твердость колец диаметром от 300 до 600 мм - на настольных твердомерах Роквелла, оснащенных подъемными механизмами (ручные или автоматизированные), или переносными твердомерами; твердость колец диаметром свыше 600 мм - переносными твердомерами.
Примечание - Разрешается контролировать твердость до окончательной механической обработки на образцах, вырезанных из кольца.
12.2.2.8 Если из-за недостаточных размеров базовых поверхностей для вдавливания алмазного конуса (см.
таблицы 3 и
4) невозможно осуществить контроль твердости колец по методу Роквелла, то качество термической обработки данных колец проверяют измерением твердости по методу Виккерса.
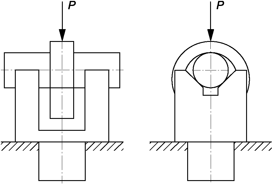
12.2.3 Измерение твердости шариков
12.2.3.1 Твердость шариков диаметром 4,763 мм и более контролируют по методу Роквелла при нагрузке 1500 Н (150 кгс); твердость шариков диаметром от 2,500 до 4,500 мм по методу Роквелла при нагрузке 600 Н (60 кгс) и шариков диаметром от 2,000 до 2,381 мм - по Супер-Роквеллу при нагрузке 300 Н (30 кгс).
Твердость шариков диаметром менее 2,00 мм проверяют по методу Виккерса.
Примечание - Диаметром шарика является его номинальный диаметр.
12.2.3.2 Контроль твердости шариков малых размеров по криволинейным поверхностям проводят на твердомере, оснащенном специальным центрирующим устройством (см.
рисунок 4) с регулировочными винтами микроперемещения.
Примечание - Допускается применение других конструкций центрирующих устройств, обеспечивающих надежное центрирование измеряемых деталей.
12.2.3.3 При вдавливании алмазного конуса в сферическую поверхность под нагрузкой 1500 Н (150 кгс) твердость шариков с учетом влияния кривизны поверхностей определяют путем введения поправок, приведенных в
таблице 7. Поправки суммируют с полученными значениями твердости.
Таблица 7
Величина поправки твердости (HRC) для сферической
поверхности (шарика) при нагрузке 1500 Н (150 кгс)
Номинальный диаметр шарика | Твердость на сферической поверхности HRC |
31 | 32 | 33 | 34 | 35 | 36 | 37 | 38 |
дюйм | мм | Величина поправки твердости для сферической поверхности |
3/16 | 4,763 | 13,5 | 13,0 | 13,0 | 12,5 | 12,0 | 11,5 | 11,5 | 11,0 |
7/32 | 5,556 | 11,5 | 11,5 | 11,5 | 11,0 | 10,5 | 10,0 | 10,0 | 9,5 |
15/64 | 5,953 | 10,5 | 10,5 | 10,5 | 10,5 | 10,0 | 10,0 | 9,5 | 9,5 |
1/4 | 6,350 | 10,0 | 9,5 | 9,5 | 9,0 | 9,0 | 8,5 | 8,5 | 8,0 |
9/32 | 7,144 | 8,5 | 8,5 | 8,5 | 8,0 | 8,0 | 8,0 | 7,5 | 7,5 |
5/16 | 7,938 | 7,5 | 7,5 | 7,5 | 7,5 | 7,5 | 7,0 | 7,0 | 6,5 |
11/32 | 8,731 | 7,5 | 7,0 | 7,0 | 7,0 | 6,5 | 6,5 | 6,5 | 6,0 |
3/8 | 9,525 | 6,5 | 6,5 | 6,0 | 6,0 | 6,0 | 5,5 | 5,5 | 5,5 |
13/32 | 10,319 | 6,0 | 6,0 | 6,0 | 5,5 | 5,5 | 5,5 | 5,0 | 5,0 |
7/16 | 11,112 | 5,5 | 5,5 | 5,5 | 5,0 | 5,0 | 5,0 | 5,0 | 5,0 |
15/32 | 11,906 | 5,0 | 5,0 | 5,0 | 5,0 | 5,0 | 4,5 | 4,5 | 4,5 |
31/64 | 12,303 | 5,0 | 5,0 | 5,0 | 4,5 | 4,5 | 4,5 | 4,0 | 4,0 |
1/2 | 12,700 | 5,0 | 5,0 | 4,5 | 4,5 | 4,5 | 4,0 | 4,0 | 4,0 |
17/32 | 13,494 | 4,5 | 4,5 | 4,5 | 4,5 | 4,0 | 4,0 | 4,0 | 4,0 |
9/16 | 14,288 | 4,5 | 4,0 | 4,0 | 4,0 | 4,0 | 4,0 | 3,5 | 3,5 |
19/32 | 15,081 | 4,0 | 4,0 | 4,0 | 4,0 | 4,0 | 3,5 | 3,5 | 3,5 |
5/8 | 15,875 | 4,0 | 3,9 | 3,8 | 3,7 | 3,6 | 3,4 | 3,4 | 3,3 |
21/32 | 16,669 | 3,7 | 3,6 | 3,5 | 3,4 | 3,3 | 3,2 | 3,1 | 3,0 |
11/16 | 17,462 | 3,5 | 3,4 | 3,3 | 3,2 | 3,1 | 3,0 | 2,9 | 2,8 |
23/32 | 18,256 | 3,4 | 3,3 | 3,2 | 3,1 | 3,0 | 2,9 | 2,8 | 2,8 |
3/4 | 19,050 | 3,2 | 3,1 | 3,0 | 2,9 | 2,8 | 2,8 | 2,7 | 2,6 |
25/32 | 19,844 | 3,1 | 3,0 | 2,9 | 2,8 | 2,7 | 2,7 | 2,6 | 2,6 |
13/16 | 20,638 | 3,0 | 2,9 | 2,8 | 2,7 | 2,7 | 2,6 | 2,6 | 2,5 |
27/32 | 21,431 | 2,9 | 2,8 | 2,7 | 2,6 | 2,6 | 2,5 | 2,5 | 2,4 |
7/8 | 22,225 | 2,8 | 2,7 | 2,6 | 2,6 | 2,5 | 2,4 | 2,4 | 2,4 |
29/32 | 23,019 | 2,7 | 2,6 | 2,6 | 2,5 | 2,4 | 2,3 | 2,3 | 2,2 |
15/16 | 23,812 | 2,6 | 2,5 | 2,5 | 2,4 | 2,3 | 2,2 | 22 | 2,1 |
1 | 25,400 | 2,4 | 2,3 | 2,2 | 2,2 | 2,1 | 2,1 | 2,0 | 2,0 |
11/32 | 26,194 | 2,4 | 2,3 | 2,2 | 2,2 | 2,2 | 2,1 | 2,0 | 1,9 |
11/16 | 26,988 | 2,3 | 2,2 | 2,2 | 2,1 | 2,1 | 2,0 | 2,0 | 1,9 |
13/32 | 27,781 | 2,2 | 2,2 | 2,1 | 2,1 | 2,0 | 1,9 | 1,9 | 1,9 |
11/8 | 28,575 | 2,2 | 2,1 | 2,0 | 2,0 | 1,9 | 1,9 | 1,8 | 1,8 |
13/16 | 30,162 | 2,0 | 2,0 | 1,9 | 1,8 | 1,8 | 1,7 | 1,7 | 1,6 |
Продолжение таблицы 7
Номинальный диаметр шарика | Твердость на сферической поверхности HRC |
39 | 40 | 41 | 42 | 43 | 44 | 45 | 46 |
дюйм | мм | Величина поправки твердости для сферической поверхности |
3/16 | 4,763 | 10,5 | 10,5 | 10,0 | 10,0 | 9,5 | 9,0 | 8,5 | 8,5 |
7/32 | 5,556 | 9,0 | 9,0 | 8,5 | 8,5 | 8,0 | 8,0 | 7,5 | 7,5 |
15/64 | 5,953 | 9,0 | 9,0 | 8,5 | 8,5 | 8,5 | 7,5 | 7,5 | 7,0 |
1/4 | 6,350 | 8,0 | 7,5 | 7,5 | 7,5 | 7,0 | 7,0 | 7,0 | 6,5 |
9/32 | 7,144 | 7,0 | 6,5 | 6,5 | 6,0 | 6,0 | 5,5 | 5,5 | 5,5 |
5/16 | 7,938 | 6,5 | 6,0 | 6,0 | 6,0 | 5,5 | 5,5 | 5,5 | 5,0 |
11/32 | 8,731 | 6,0 | 6,0 | 5,5 | 5,5 | 5,0 | 5,0 | 5,0 | 4,5 |
3/8 | 9,525 | 5,0 | 5,0 | 5,0 | 5,0 | 4,5 | 4,5 | 4,5 | 4,0 |
13/32 | 10,319 | 5,0 | 4,5 | 4,5 | 4,5 | 4,5 | 4,0 | 4,0 | 4,0 |
7/16 | 11,112 | 5,0 | 4,5 | 4,5 | 4,5 | 4,5 | 4,0 | 4,0 | 4,0 |
15/32 | 11,906 | 4,5 | 4,5 | 4,0 | 4,0 | 4,0 | 4,0 | 3,5 | 3,5 |
31/64 | 12,303 | 4,0 | 4,0 | 4,0 | 4,0 | 4,0 | 3,5 | 3,5 | 3,5 |
1/2 | 12,700 | 4,0 | 4,0 | 4,0 | 4,0 | 4,0 | 3,5 | 3,5 | 3,5 |
17/32 | 13,494 | 4,0 | 3,5 | 3,5 | 3,5 | 3,5 | 3,0 | 3,0 | 3,0 |
9/16 | 14,288 | 3,5 | 3,5 | 3,5 | 3,5 | 3,5 | 3,0 | 3,0 | 3,0 |
19/32 | 15,081 | 3,5 | 3,5 | 3,5 | 3,5 | 3,0 | 3,0 | 3,0 | 2,5 |
5/8 | 15,875 | 3,3 | 3,2 | 3,1 | 3,0 | 2,8 | 2,7 | 2,7 | 2,5 |
21/32 | 16,669 | 2,9 | 2,8 | 2,7 | 2,6 | 2,5 | 2,4 | 2,4 | 2,3 |
11/16 | 17,462 | 2,7 | 2,6 | 2,5 | 2,4 | 2,3 | 2,2 | 2,2 | 2,1 |
23/32 | 18,256 | 2,6 | 2,5 | 2,4 | 2,4 | 2,3 | 2,2 | 2,1 | 2,0 |
3/4 | 19,050 | 2,5 | 2,4 | 2,4 | 2,3 | 2,2 | 2,1 | 2,0 | 1,9 |
25/32 | 19,844 | 2,5 | 2,4 | 2,3 | 2,3 | 2,2 | 2,0 | 1,9 | 1,8 |
13/16 | 20,638 | 2,4 | 2,3 | 2,2 | 2,2 | 2,1 | 1,9 | 1,8 | 1,7 |
27/32 | 21,431 | 2,3 | 2,2 | 2,1 | 2,1 | 2,0 | 1,9 | 1,8 | 1,7 |
7/8 | 22,225 | 2,2 | 2,1 | 2,0 | 2,0 | 1,9 | 1,8 | 1,7 | 1,6 |
29/32 | 23,019 | 2,1 | 2,0 | 1,9 | 1,9 | 1,8 | 1,7 | 1,6 | 1,5 |
15/16 | 23,812 | 2,0 | 1,9 | 1,8 | 1,8 | 1,7 | 1,6 | 1,5 | 1,5 |
1 | 25,400 | 1,9 | 1,8 | 1,7 | 1,6 | 1,6 | 1,5 | 1,5 | 1,4 |
11/32 | 26,194 | 1,9 | 1,8 | 1,7 | 1,6 | 1,6 | 1,5 | 1,5 | 1,4 |
11/16 | 26,988 | 1,9 | 1,8 | 1,7 | 1,6 | 1,6 | 1,5 | 1,5 | 1,4 |
13/32 | 27,781 | 1,8 | 1,7 | 1,6 | 1,6 | 1,6 | 1,5 | 1,4 | 1,3 |
11/8 | 28,575 | 1,7 | 1,7 | 1,6 | 1,6 | 1,5 | 1,3 | 1,4 | 1,3 |
13/16 | 30,162 | 1,5 | 1,5 | 1,4 | 1,4 | 1,3 | 1,3 | 1,2 | 1,2 |
Продолжение таблицы 7
Номинальный диаметр шарика | Твердость на сферической поверхности HRC |
47 | 48 | 49 | 50 | 51 | 52 | 53 | 54 |
дюйм | мм | Величина поправки твердости для сферической поверхности |
3/16 | 4,763 | 8,0 | 8,0 | 7,5 | 7,0 | 7,0 | 6,5 | 6,0 | 6,0 |
7/32 | 5,556 | 7,0 | 7,0 | 6,5 | 6,5 | 6,0 | 6,0 | 5,5 | 5,5 |
15/64 | 5,953 | 7,0 | 6,5 | 6,5 | 6,0 | 5,5 | 5,5 | 5,0 | 4,5 |
1/4 | 6,350 | 6,5 | 6,0 | 6,0 | 5,5 | 5,5 | 5,0 | 5,0 | 4,5 |
9/32 | 7,144 | 5,0 | 5,0 | 5,0 | 4,5 | 4,5 | 4,0 | 4,0 | 4,0 |
5/16 | 7,938 | 5,0 | 4,5 | 4,5 | 4,5 | 4,0 | 4,0 | 4,0 | 3,5 |
11/32 | 8,731 | 4,5 | 4,5 | 4,0 | 4,0 | 4,0 | 3,5 | 3,5 | 3,5 |
3/8 | 9,525 | 4,0 | 4,0 | 3,5 | 3,5 | 3,5 | 3,0 | 3,0 | 3,0 |
13/32 | 10,319 | 4,0 | 3,5 | 3,5 | 3,5 | 3,5 | 3,0 | 3,0 | 3,0 |
7/16 | 11,112 | 3,5 | 3,5 | 3,5 | 3,0 | 3,0 | 3,0 | 2,5 | 2,5 |
15/32 | 11,906 | 3,5 | 3,5 | 3,5 | 3,0 | 3,0 | 3,0 | 2,5 | 2,5 |
31/64 | 12,303 | 3,0 | 3,0 | 3,0 | 3,0 | 2,5 | 2,5 | 2,5 | 2,5 |
1/2 | 12,700 | 3,0 | 3,0 | 3,0 | 2,5 | 2,5 | 2,5 | 2,5 | 2,0 |
17/32 | 13,494 | 3,0 | 3,0 | 2,5 | 2,5 | 2,5 | 2,5 | 2,0 | 2,0 |
9/16 | 14,288 | 3,0 | 2,5 | 2,5 | 2,5 | 2,0 | 2,0 | 2,0 | 2,0 |
19/32 | 15,081 | 2,5 | 2,5 | 2,0 | 2,0 | 2,0 | 2,0 | 1,8 | 1,5 |
5/8 | 15,875 | 2,4 | 2,2 | 2,1 | 2,0 | 1,9 | 1,8 | 1,7 | 1,5 |
21/32 | 16,669 | 2,1 | 2,0 | 1,9 | 1,8 | 1,8 | 1,7 | 1,6 | 1,5 |
11/16 | 17,462 | 2,0 | 1,9 | 1,8 | 1,7 | 1,7 | 1,6 | 1,5 | 1,4 |
23/32 | 18,256 | 1,9 | 1,8 | 1,7 | 1,6 | 1,6 | 1,5 | 1,4 | 1,3 |
3/4 | 19,050 | 1,8 | 1,7 | 1,6 | 1,5 | 1,5 | 1,4 | 1,4 | 1,3 |
25/32 | 19,844 | 1,8 | 1,7 | 1,6 | 1,5 | 1,5 | 1,4 | 1,3 | 1,2 |
13/16 | 20,638 | 1,7 | 1,6 | 1,5 | 1,4 | 1,3 | 1,3 | 1,2 | 1,1 |
27/32 | 21,431 | 1,6 | 1,6 | 1,4 | 1,3 | 1,2 | 1,2 | 1,1 | 1,1 |
7/8 | 22,225 | 1,6 | 1,5 | 1,4 | 1,3 | 1,2 | 1,2 | 1,1 | 1,0 |
29/32 | 23,019 | 1,5 | 1,4 | 1,3 | 1,2 | 1,1 | 1,1 | 1,0 | 1,0 |
15/16 | 23,812 | 1,4 | 1,4 | 1,3 | 1,2 | 1,1 | 1,0 | 1,0 | 0,9 |
1 | 25,400 | 1,4 | 1,3 | 1,3 | 1,2 | 1,1 | 1,0 | 1,0 | 0,9 |
11/32 | 26,194 | 1,4 | 1,3 | 1,3 | 1,2 | 1,1 | 1,0 | 1,0 | 0,9 |
11/16 | 26,988 | 1,4 | 1,3 | 1,3 | 1,2 | 1,0 | 0,9 | 0,9 | 0,8 |
13/32 | 27,781 | 1,3 | 1,3 | 1,2 | 1,1 | 1,0 | 0,9 | 0,9 | 0,8 |
11/8 | 28,575 | 1,3 | 1,3 | 1,2 | 1,1 | 1,0 | 0,9 | 0,9 | 0,8 |
13/16 | 30,162 | 1,1 | 1,1 | 1,0 | 1,0 | 0,9 | 0,9 | 0,8 | 0,7 |
Продолжение таблицы 7
Номинальный диаметр шарика | Твердость на сферической поверхности, HRC |
55 | 56 | 57 | 58 | 59 | 60 | 61 | 62 |
дюйм | мм | Величина поправки твердости для сферической поверхности |
3/16 | 4,763 | 5,5 | 5,0 | 4,5 | 4,5 | 4,0 | 4,0 | 4,0 | 3,5 |
7/32 | 5,556 | 5,0 | 4,5 | 4,0 | 4,0 | 3,5 | 3,5 | 3,5 | 3,0 |
15/64 | 5,953 | 4,5 | 4,5 | 4,0 | 4,0 | 3,5 | 3,5 | 3,0 | 3,0 |
1/4 | 6,350 | 4,5 | 4,0 | 3,5 | 3,5 | 3,5 | 3,0 | 3,0 | 3,0 |
9/32 | 7,144 | 3,5 | 3,5 | 3,0 | 3,0 | 3,0 | 2,5 | 2,5 | 2,5 |
5/16 | 7,938 | 3,5 | 3,0 | 3,0 | 3,0 | 2,5 | 2,5 | 2,5 | 2,0 |
11/32 | 8,731 | 3,0 | 3,0 | 3,0 | 2,5 | 2,5 | 2,0 | 2,0 | 2,0 |
3/8 | 9,525 | 3,0 | 2,5 | 2,5 | 2,5 | 2,0 | 2,0 | 2,0 | 1,5 |
13/32 | 10,319 | 2,5 | 2,5 | 2,5 | 2,0 | 2,0 | 2,0 | 1,5 | 1,5 |
7/16 | 11,112 | 2,5 | 2,5 | 2,0 | 2,0 | 2,0 | 1,5 | 1,5 | 1,5 |
15/32 | 11,906 | 2,5 | 2,5 | 2,0 | 2,0 | 2,0 | 1,5 | 1,5 | 1,0 |
31/64 | 12,303 | 2,0 | 2,0 | 2,0 | 2,0 | 1,5 | 1,5 | 1,5 | 1,0 |
1/2 | 12,700 | 2,0 | 2,0 | 1,5 | 1,5 | 1,5 | 1,5 | 1,0 | 1,0 |
17/32 | 13,494 | 2,0 | 2,0 | 1,5 | 1,5 | 1,5 | 1,5 | 1,0 | 1,0 |
9/16 | 14,288 | 1,5 | 1,5 | 1,5 | 1,0 | 1,0 | 1,0 | 1,0 | 0,5 |
19/32 | 15,081 | 1,5 | 1,5 | 1,0 | 1,0 | 1,0 | 1,0 | 1,0 | 0,5 |
5/8 | 15,875 | 1,5 | 1,4 | 1,0 | 1,0 | 1,0 | 1,0 | 0,8 | 0,5 |
21/32 | 16,669 | 1,4 | 1,3 | 1,0 | 1,0 | 1,0 | 0,9 | 0,8 | 0,5 |
11/16 | 17,462 | 1,3 | 1,2 | 1,0 | 1,0 | 0,9 | 0,8 | 0,8 | 0,5 |
23/32 | 18,256 | 1,2 | 1,1 | 1,0 | 0,9 | 0.8 | 0,7 | 0,7 | 0,5 |
3/4 | 19,050 | 1,2 | 1,1 | 1,0 | 0,9 | 0,8 | 0,7 | 0,7 | 0,5 |
25/32 | 19,844 | 1,1 | 1,0 | 1,0 | 0,9 | 0,7 | 0,7 | 0,7 | 0,5 |
13/16 | 20,638 | 1,0 | 1,0 | 0,9 | 0,8 | 0,7 | 0,6 | 0,6 | 0,5 |
27/32 | 21,431 | 1,0 | 0,9 | 0,8 | 0,8 | 0,7 | 0,6 | 0,5 | 0,5 |
7/8 | 22,225 | 1,0 | 0,9 | 0,8 | 0,7 | 0,6 | 0,6 | 0,5 | 0,5 |
29/32 | 23,019 | 0,9 | 0,9 | 0,8 | 0,7 | 0,6 | 0,5 | 0,5 | 0,5 |
15/16 | 23,812 | 0,9 | 0,8 | 0,7 | 0,7 | 0,6 | 0,5 | 0,5 | 0,5 |
1 | 25,400 | 0,9 | 0,8 | 0,7 | 0,7 | 0,6 | 0,5 | 0,5 | 0,5 |
11/32 | 26,194 | 0,8 | 0,7 | 0,7 | 0,6 | 0,5 | 0,5 | 0,5 | 0,5 |
11/16 | 26,988 | 0,8 | 0,7 | 0,6 | 0,6 | 0,5 | 0,5 | 0,5 | 0,5 |
13/32 | 27,781 | 0,7 | 0,6 | 0,6 | 0,5 | 0,5 | 0,5 | 0,5 | 0,5 |
11/8 | 28,575 | 0,7 | 0,6 | 0,5 | 0,5 | 0,5 | 0,5 | 0,5 | 0,5 |
13/16 | 30,162 | 0,6 | 0,6 | 0,5 | 0,5 | 0,5 | 0,5 | 0,5 | 0,4 |
Окончание таблицы 7
Номинальный диаметр шарика | Твердость на сферической поверхности HRC |
63 | 64 | 65 | 66 | 67 | 68 | 69 | 70 | 71 |
дюйм | мм | Величина поправки твердости для сферической поверхности |
3/16 | 4,763 | 3,5 | 3,0 | 3,0 | 25 | 1,8 | 1,5 | 1,1 | 0,8 | 0,5 |
7/32 | 5,556 | 3,0 | 2,5 | 2,5 | 2,0 | 1,5 | 1,2 | 1,0 | 0,7 | 0,4 |
15/64 | 5,953 | 3,0 | 2,5 | 2,0 | 2,0 | 1,4 | 1,2 | 0,9 | 0,6 | 0,4 |
1/4 | 6,350 | 3,0 | 2,5 | 2,0 | 2,0 | 1,3 | 1,1 | 0,8 | 0,6 | 0,4 |
9/32 | 7,144 | 2,5 | 2,0 | 2,0 | 1,5 | 1,2 | 1,0 | 0,8 | 0,5 | 0,3 |
5/16 | 7,938 | 2,0 | 2,0 | 1,5 | 1,5 | 1,1 | 0,9 | 0,7 | 0,5 | 0,3 |
11/32 | 8,731 | 1,5 | 1,5 | 1,5 | 1,1 | 1,0 | 0,8 | 0,6 | 0,4 | 0,3 |
3/8 | 9,525 | 1,5 | 1,5 | 1,0 | 1,0 | 0,9 | 0,7 | 0,6 | 0,4 | 0,2 |
13/32 | 10,319 | 1,0 | 1,0 | 1,0 | 0,5 | 0,5 | 0,5 | 0,5 | 0,4 | 0,2 |
7/16 | 11,112 | 1,0 | 1,0 | 1,0 | 0,5 | 0,5 | 0,5 | 0,5 | 0,3 | 0,2 |
15/32 | 11,906 | 1,0 | 1,0 | 0,5 | 0,5 | 0,5 | 0,5 | 0,5 | 0,3 | 0,2 |
31/64 | 12,303 | 1,0 | 1,0 | 0,5 | 0,5 | 0,5 | 0,5 | 0,4 | 0,3 | 0,2 |
1/2 | 12,700 | 1,0 | 0,5 | 0,5 | 0,5 | 0,5 | 0,5 | 0,4 | 0,3 | 0,2 |
17/32 | 13,494 | 1,0 | 0,5 | 0,5 | 0,5 | 0,5 | 0,5 | 0,4 | 0,3 | 0,2 |
9/16 | 14,288 | 0,5 | 0,5 | 0,5 | 0,5 | 0,5 | 0,4 | 0,3 | 0,3 | 0,2 |
19/32 | 15,081 | 0,5 | 0,5 | 0,5 | 0,5 | 0,5 | 0,4 | 0,3 | 0,2 | 0,1 |
5/8 | 15,875 | 0,5 | 0,5 | 0,5 | 0,5 | 0,5 | 0,4 | 0,3 | 0,2 | 0,1 |
21/32 | 16,669 | 0,5 | 0,5 | 0,5 | 0,5 | 0,5 | 0,4 | 0,3 | 0,2 | 0,1 |
11/16 | 17,462 | 0,5 | 0,5 | 0,5 | 0,5 | 0,5 | 0,4 | 0,3 | 0,2 | 0,1 |
23/32 | 18,256 | 0,5 | 0,5 | 0,5 | 0,5 | 0,5 | 0,4 | 0,3 | 0,2 | 0,1 |
3/4 | 19,050 | 0,5 | 0,5 | 0,5 | 0,5 | 0,4 | 0,3 | 0,3 | 0,2 | 0,1 |
25/32 | 19,844 | 0,5 | 0,5 | 0,5 | 0,4 | 0,4 | 0,3 | 0,2 | 0,2 | 0,1 |
13/16 | 20,638 | 0,5 | 0,5 | 0,5 | 0,4 | 0,4 | 0,3 | 0,2 | 0,2 | 0,1 |
27/32 | 21,431 | 0,5 | 0,5 | 0,5 | 0,4 | 0,4 | 0,3 | 0,2 | 0,2 | 0,1 |
7/8 | 22,225 | 0,5 | 0,5 | 0,5 | 0,4 | 0,4 | 0,3 | 0,2 | 0,2 | 0,1 |
29/32 | 23,019 | 0,5 | 0,5 | 0,4 | 0,4 | 0,3 | 0,3 | 0,2 | 0,1 | 0,1 |
15/16 | 23,812 | 0,5 | 0,5 | 0,4 | 0,4 | 0,3 | 0,3 | 0,2 | 0,1 | 0,1 |
1 | 25,400 | 0,5 | 0,5 | 0,4 | 0,4 | 0,3 | 0,3 | 0,2 | 0,1 | 0,1 |
1 1/32 | 26,194 | 0,5 | 0,4 | 0,4 | 0,4 | 0,3 | 0,2 | 0,2 | 0,1 | - |
1 1/16 | 26,988 | 0,4 | 0,4 | 0,4 | 0,3 | 0,2 | 0,2 | 0,1 | 0,1 | - |
1 3/32 | 27,781 | 0,4 | 0,4 | 0,4 | 0,3 | 0,2 | 0,2 | 0,1 | 0,1 | - |
1 1/8 | 28,575 | 0,4 | 0,4 | 0,4 | 0,3 | 0,2 | 0,2 | 0,1 | 0,1 | - |
1 3/16 | 30,162 | 0,4 | 0,3 | 0,3 | 0,2 | 0,2 | 0,1 | 0,1 | - | - |
12.2.3.4 При измерении твердости шариков на сферической поверхности при нагрузке 600 Н (60 кгс) твердость определяют путем введения поправок, приведенных в
таблице 8. Поправки суммируют с полученными значениями твердости.
Таблица 8
Величина поправки твердости (HRA) для сферической
поверхности (шарика) при нагрузке 600 Н (60 кгс)
Твердость на сферической поверхности HRA | Номинальный диаметр шарика, мм |
2,500 | 3,175 | 3,500 | 3,960 | 4,500 |
Величина поправки твердости для сферической поверхности |
86,5 | 1,2 | 1,0 | 0,9 | 0,8 | 0,7 |
86,0 | 1,4 | 1,1 | 1,0 | 0,9 | 0,8 |
85,5 | 1,6 | 1,2 | 1,1 | 1,0 | 0,9 |
85,0 | 1,8 | 1,4 | 1,2 | 1,1 | 1,0 |
84,5 | 1,9 | 1,5 | 1,4 | 1,2 | 1,1 |
84,0 | 2,1 | 1,6 | 1,5 | 1,8 | 1,1 |
83,5 | 2,2 | 1,8 | 1,6 | 1,4 | 1,2 |
83,0 | 2,3 | 1,9 | 1,7 | 1,5 | 1,3 |
82,5 | 2,6 | 2,0 | 1,9 | 1,6 | 1,4 |
82,0 | 2,8 | 2,2 | 2,0 | 1,7 | 1,5 |
81,5 | 3,0 | 2,2 | 2,1 | 1,8 | 1,6 |
81,0 | 3,1 | 2,5 | 2,2 | 1,9 | 1,7 |
80,5 | 3,3 | 2,6 | 2,3 | 2,0 | 1,8 |
80,0 | 3,5 | 2,7 | 2,4 | 2,1 | 1,9 |
79,5 | 3,6 | 2,9 | 2,6 | 2,2 | 2,0 |
79,0 | 3,8 | 3,0 | 2,7 | 2,3 | 2,1 |
78,5 | 4,0 | 3,1 | 2,8 | 2,4 | 2,2 |
78,0 | 4,2 | 3,3 | 2,9 | 2,5 | 2,3 |
77,5 | 4,4 | 3,4 | 3,0 | 2,6 | 2,4 |
77,0 | 4,5 | 3,6 | 3,1 | 2,7 | 2,5 |
76,5 | 4,7 | 3,7 | 3,2 | 2,8 | 2,6 |
76,0 | 4,9 | 3,8 | 3,3 | 2,9 | 2,7 |
75,5 | 5,0 | 4,0 | 3,5 | 3,0 | 2,8 |
75,0 | 5,2 | 4,1 | 3,6 | 3,1 | 2,9 |
74,5 | 5,4 | 4,2 | 3,8 | 3,2 | 3,0 |
74,0 | 5,6 | 4,3 | 4,0 | 3,3 | 3,1 |
73,5 | 5,8 | 4,5 | 4,1 | 3,4 | 3,2 |
73,0 | 6,0 | 4,7 | 4,2 | 3,5 | 3,3 |
72,5 | 6,1 | 4,8 | 4,3 | 3,6 | 3,4 |
72,0 | 6,3 | 5,0 | 4,4 | 3,7 | 3,5 |
12.2.3.5 Соотношение единиц твердости шариков, измеренных при нагрузке 1500 Н (150 кгс) и 600 Н (60 кгс), приведено в
таблице 2.
12.2.3.6 При измерении твердости шариков диаметром от 2,000 до 2,381 мм по шкале HRN30 на сферической поверхности твердость определяют путем введения соответствующих поправок, приведенных в
таблице 9. Поправки прибавляются к полученным значениям твердости.
Таблица 9
Величина поправки твердости (HRN30) для сферической
поверхности (шарика) при нагрузке 300 Н (30 кгс)
Твердость на сферической поверхности HRA30 | Номинальный диаметр шарика, мм |
2,00 | 2,38 |
Величина поправки твердости для сферической поверхности |
86,0 | 1,2 | 1,0 |
85,0 | 1,5 | 1,3 |
84,0 | 1,8 | 1,5 |
83,0 | 2,1 | 1,8 |
82,0 | 2,4 | 2,0 |
81,0 | 2,7 | 2,2 |
80,0 | 3,0 | 2,5 |
79,0 | 3,3 | 2,8 |
78,0 | 3,6 | 3,0 |
77,0 | 3,9 | 3,3 |
76,0 | 4,2 | 3,5 |
75,0 | 4,6 | 3,8 |
74,0 | 4,8 | 4,0 |
73,0 | 5,1 | 4,3 |
72,0 | 5,4 | 4,6 |
71,0 | 5,7 | 4,8 |
70,0 | 6,0 | 5,0 |
69,0 | 6,3 | 5,3 |
68,0 | 6,6 | 5,5 |
67,0 | 6,9 | 5,8 |
66,0 | 7,2 | 6,0 |
65,0 | 7,5 | 6,3 |
64,0 | 7,8 | 6,6 |
63,0 | 8,1 | 6,8 |
62,0 | 8,4 | 7,0 |
61,0 | 8,7 | 7,3 |
60,0 | 9,0 | 7,5 |
59,0 | 9,3 | 7,8 |
58,0 | 9,6 | 8,0 |
57,0 | 9,9 | 8,3 |
56,0 | 10,2 | 8,5 |
55,0 | 10,6 | 8,8 |
54,0 | 10,8 | 9,0 |
53,0 | 11,1 | 9,3 |
52,0 | 11,4 | 9,6 |
12.2.3.7 Перевод твердости, измеренной при нагрузке 300 Н (30 кгс) на твердость, измеренную при нагрузке 1500 Н (150 кгс), приведены в
таблице 2.
12.2.3.8 Если при измерении твердость HRC шариков с учетом поправок для сферических поверхностей не соответствует установленным настоящим стандартом нормам, то твердость шариков проверяют на плоских поверхностях. Для этого шарики шлифуют без прижогов на плоскошлифовальном станке с двух противоположных сторон.
12.2.3.9 Твердость шариков диаметром от 2,0 до 5,0 мм можно контролировать на микрошлифах по методу Виккерса. Для получения плоских поверхностей шарики помещают внутрь литейной формы и заливают легкоплавким сплавом серы, пластмассы типа АСТ-Т и другими, имеющими низкую температуру плавления - от 60 °C до 130 °C (см.
рисунок 5), или вставляют в разъемный патрон (см.
рисунок 6).
12.2.4 Измерение твердости валиков
12.2.4.1 Измерение твердости валиков проводят по методу Роквелла путем вдавливания алмазного наконечника в испытуемую поверхность при нагрузках 600 Н (60 кгс) и 1500 Н (150 кгс).
Примечание - Твердость валиков до окончательной механической обработки можно контролировать на микрошлифах по методу Виккерса (см.
рисунок 7). Для этого валики шлифуют без прижогов на плоскошлифовальном станке с одной из сторон вдоль оси (для получения плоских поверхностей валики помещают в литейную форму и заливают легкоплавким сплавом серы, пластмассы типа АСТ-Т и другими, имеющими низкую температуру плавления - от 60 °C до 130 °C.
12.2.4.2 При контроле твердости валиков основной базой для вдавливания алмазного конуса служит цилиндрическая поверхность (см.
рисунок 8). Место контроля предусмотрено технической документацией на подшипник.
12.2.4.3 Твердость валиков диаметром 5,00 мм и более контролируют по Роквеллу при нагрузке 1500 Н (150 кгс); твердость валиков диаметром от 2,50 до 4,99 мм - по Роквеллу при нагрузке 600 Н (60 кгс).
12.2.4.4 Минимальное расстояние от центра отпечатка до края цилиндрической или плоской поверхности валика и минимальная толщина стенки полого валика (см.
рисунок 9) в точке вдавливания алмазного наконечника при нагрузке 600 Н (60 кгс) и 1500 Н (150 кгс) должны соответствовать значениям, приведенным в
таблицах 3 и
4.
12.2.4.5 Вдавливание алмазного наконечника в цилиндрическую поверхность валика осуществляют при наличии специальной подставки с V-образным вырезом, обеспечивающей центрирование криволинейной поверхности относительно вершины алмазного наконечника (см.
рисунки 8,
9).
12.2.4.6 Центрирование цилиндрической поверхности валика относительно вершины алмазного наконечника также может быть осуществлено при помощи координатного столика с винтами микроперемещения (см.
рисунок 10).
12.2.4.7 При вдавливании алмазного наконечника в цилиндрическую поверхность при нагрузках 1500 Н (150 кгс) и 600 Н (60 кгс) твердость валиков с учетом искажающего влияния кривизны поверхности определяют путем введения поправок, приведенных в
таблицах 5 и
6.
12.2.4.8 Если при измерении твердость HRC с учетом искажающего влияния криволинейных поверхностей валиков не соответствует установленным настоящим стандартом нормам, то твердость валиков проверяется на плоских поверхностях. Для этого валики шлифуют без прижогов на плоскошлифовальном станке с двух противоположных сторон вдоль оси.
Примечание - Валики диаметром менее 4,99 мм можно контролировать на микрошлифах по методу Виккерса (см.
рисунок 7). При этом для удобства изготовления микрошлифов валики закрепляют в специальных струбцинах или помещают в литейную форму и заливают легкоплавким сплавом серы, пластмассы типа АСТ-Т и другими, имеющими низкую температуру плавления - от 60 °C до 130 °C.
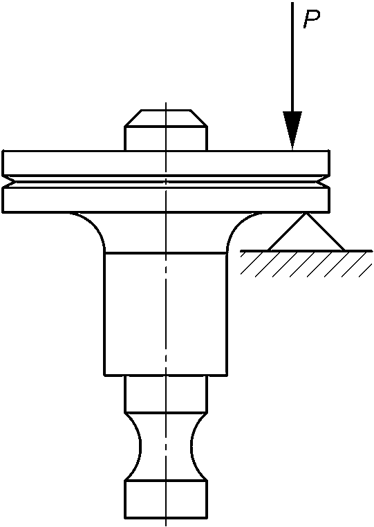
12.2.5 Измерение твердости цапф
12.2.5.1 Измерение твердости цапф проводят по методу Роквелла путем вдавливания алмазного наконечника в испытуемую поверхность при нагрузках 600 Н (60 кгс) и 1500 Н (150 кгс).
12.2.5.2 При контроле твердости цапф базой для вдавливания алмазного наконечника служит цилиндрическая поверхность (см.
рисунок 11) или плоская поверхность фланца.
12.2.5.3 Твердость цилиндрической поверхности цапфы диаметром 5,00 мм и более контролируют по Роквеллу при нагрузке 1500 Н (150 кгс); твердость цилиндрической поверхности диаметром от 2,50 до 4,99 мм - по Роквеллу при нагрузке 600 Н (60 кгс).
12.2.5.4 Минимальное расстояние от центра отпечатка до края цилиндрической поверхности и минимальное расстояние от центра отпечатка до края фланца или отверстия на фланце должны соответствовать значениям, приведенным в
таблице 3.
12.2.5.5 Контроль твердости на цилиндрической поверхности цапфы осуществляют при наличии специальной подставки с V-образным вырезом (см.
рисунок 11), обеспечивающей центрирование криволинейной поверхности относительно вершины алмазного наконечника.
12.2.5.6 При вдавливании алмазного наконечника в цилиндрическую поверхность при нагрузках 1500 Н (150 кгс) и 600 Н (60 кгс) твердость цапф с учетом искажающего влияния кривизны поверхности определяют путем введения поправок, приведенных в
таблицах 5 и
6.
12.2.5.7 Контроль твердости на фланце цапфы осуществляют при наличии специальной подставки (см.
рисунок 12), позволяющей производить измерения при ограниченных размерах опорной поверхности.
12.2.5.8 Если при измерении твердость HRC с учетом искажающего влияния криволинейных поверхностей цапф не соответствует установленным настоящим стандартом нормам, то твердость цапф проверяют на плоских поверхностях. Для этого цапфы шлифуют без прижогов на плоскошлифовальном станке с двух противоположных сторон вдоль оси.
Примечание - Цапфы, диаметр цилиндрической поверхности которых менее 4,99 мм, можно контролировать на микрошлифах по методу Виккерса. При этом для удобства изготовления микрошлифов цапфы закрепляют в специальных струбцинах или помещают в литейную форму и заливают легкоплавким сплавом серы, пластмассы типа АСТ-Т и другими, имеющими низкую температуру плавления - от 60 °C до 130 °C.
12.3 Измерение твердости по Виккерсу
12.3.1 Общие требования
12.3.1.1 Твердость по методу Виккерса контролируют на тех деталях, на которых невозможно измерить твердость по Роквеллу и Супер-Роквеллу.
12.3.1.2 Шероховатость Ra контролируемой поверхности колец и тел качения должна быть не более 0,16 мкм по
ГОСТ 2789.
12.3.1.3 Минимальная толщина контролируемого образца или упрочненного слоя должна быть больше диагонали отпечатка в 1,2 раза.
12.3.1.4 При измерении твердости по Виккерсу применяют нагрузки 100 Н (10 кгс) и 50 Н (5 кгс). Допускается проводить измерение твердости при нагрузках 10 Н (1 кгс) или 20 Н (2 кгс).
12.3.1.5 Измерение твердости при малых нагрузках проводят в том случае, когда ширина испытуемой поверхности не позволяет производить контроль при больших нагрузках, а также в том случае, когда толщина детали или упрочненного слоя соответствует величинам, указанным в
таблице 10.
Толщина детали или упрочненного слоя в точке вдавливания алмазной пирамиды, не менее, мм | Твердость детали при нагрузках HV |
100 Н (10 кгс) | 50 Н (5 кгс) | 20 Н (2 кгс) | 10 Н (1 кгс) |
0,75 | - | - | 940 - 1100 | 475 - 1100 |
0,100 | - | - | 544 - 900 | 270 - 471 |
0,125 | - | 857 - 940 | 345 - 528 | - |
0,150 | - | 595 - 832 | - | - |
0,175 | 865 - 940 | 434 - 577 | - | - |
0,200 | 674 - 832 | 336 - 423 | - | - |
0,225 | 528 - 653 | - | - | - |
0,250 | 427 - 513 | - | - | - |
0,275 | 354 - 423 | - | - | - |
Примечание - Для определения минимальной толщины детали или упрочненного слоя необходимо исходить из нижнего предела твердости детали, указанного в технической документации. |
12.3.1.6 При измерении твердости деталей подшипников по криволинейным поверхностям центрирование считают удовлетворительным в том случае, если разность диагоналей отпечатка не превышает 2% меньшей из них.
12.3.2 Измерение твердости колец
12.3.2.1 Твердость колец определяют одним из двух способов вдавливания алмазной пирамиды в контролируемую поверхность, а именно:
- в плоскую торцовую или в плоскую, выполненную на наружной цилиндрической поверхности;
- в цилиндрическую.
12.3.2.2 Основной базой для контроля твердости колец путем вдавливания алмазной пирамиды служит плоская торцовая поверхность. Минимальное расстояние от центра отпечатка до края торца и минимальная ширина торцовых поверхностей при измерении по Виккерсу должны быть не менее величин, указанных в
таблице 11.
Примечание - За ширину торцовой поверхности принимают минимально допустимую по чертежу ширину контролируемого плоского торца.
Расстояние от центра отпечатка до края контролируемой поверхности, не менее, мм | Ширина контролируемой поверхности, не менее, мм | Твердость колец при нагрузках HV |
100 Н (10 кгс) | 50 Н (5 кгс) | 20 Н (2 кгс) | 10 Н (1 кгс) |
0,15 | 0,35 | - | - | - | 513 - 1150 |
0,20 | 0,45 | - | - | 577 - 1000 | 302 - 498 |
0,25 | 0,55 | - | - | 372 - 560 | - |
0,30 | 0,65 | - | 653 - 940 | - | - |
0,35 | 0,75 | 900 - 1100 | 484 - 633 | - | - |
0,40 | 0,85 | 653 - 865 | 363 - 471 | - | - |
0,45 | 0,95 | 513 - 633 | - | - | - |
0,50 | 1,05 | 412 - 498 | - | - | - |
Примечание - Для определения минимального расстояния от центра отпечатка до края контролируемой поверхности и минимальной ширины контролируемой поверхности необходимо исходить из нижнего предела твердости детали, указанного в технической документации. |
12.3.2.3 Твердость колец, у которых ширина торцовых поверхностей менее указанной в
таблице 11, можно контролировать на плоской площадке, выполненной на наружной цилиндрической поверхности. Для подготовки плоских площадок на наружной цилиндрической поверхности кольца помещают в литейную форму и заливают легкоплавким сплавом серы, пластмассы типа АСТ-Т и другими, имеющими низкую температуру плавления - от 60 °C до 130 °C.
12.3.2.4 При измерении твердости колец на плоской площадке, выполненной на наружной цилиндрической поверхности, минимальная толщина материала в точке вдавливания алмазной пирамиды должна соответствовать значениям, указанным в
таблице 10, а минимальное расстояние от центра отпечатка до края цилиндрической поверхности кольца - значениям, указанным в
таблице 11.
12.3.2.5 Перевод единиц твердости HV, измеренной по Виккерсу, на единицы твердости HRC, измеренной по Роквеллу, осуществляют по
таблице 2.
12.3.2.6 Перевод величины диагонали отпечатка, полученного при нагрузках 10 Н (1 кгс) и 20 Н (2 кгс), 50 Н (5 кгс) и 100 Н (10 кгс), на твердость HRC, измеренную по Роквеллу, выполняют по диаграммам, приведенным в
приложении А.
12.3.2.7 Измерение твердости колец на наружной цилиндрической поверхности колец осуществляют при наличии специальных тисков с V-образной упорной поверхностью, предназначенных для крепления кольца, свободно подвешенного на цилиндрическом стержне (см.
рисунок 13).
Внутренний диаметр кольца должен быть не менее 1,50 мм, а диаметр вспомогательного стержня - не менее 1,00 мм.
12.3.2.8 При измерении твердости на наружной цилиндрической поверхности кольца расстояние от центра отпечатка до фаски и толщина стенки должны соответствовать величинам, указанным в
таблицах 10 и
11.
12.3.2.9 Центрирование цилиндрической поверхности кольца относительно вершины алмазной пирамиды осуществляют при помощи координатного столика с винтами микроперемещения (см.
рисунок 13). Диагональ отпечатка на цилиндрической поверхности кольца должна быть ориентирована под углом 45° к продольной оси образца.
12.3.2.10 Для контроля твердости колец на наружной цилиндрической поверхности применяют твердомеры, конструктивно обеспечивающие центрирование криволинейной поверхности относительно вершины алмазной пирамиды.
12.3.2.11 Если из-за недостаточных размеров базовых поверхностей для вдавливания алмазной пирамиды (см.
таблицы 10 и
11) невозможно осуществить контроль твердости колец по Виккерсу, то твердость таких колец не проверяют, а качество их термической обработки контролируют по микроструктуре.
12.3.3 Измерение твердости шариков
12.3.3.1 Измерение твердости шариков диаметром от 1,000 до 1,984 мм проводят одним из двух способов вдавливания алмазной пирамиды в контролируемую поверхность - плоскую или сферическую.
12.3.3.2 Контроль твердости шариков диаметром от 0,68 до 0,85 мм осуществляют способом вдавливания алмазной пирамиды в плоскую поверхность.
Примечание - Твердость шариков диаметром менее 4,763 мм до окончательной механической обработки можно контролировать по методу Виккерса на плоской поверхности.
12.3.3.3 Шарики диаметром менее 0,68 мм по твердости не проверяют, качество их термической обработки контролируют по микроструктуре.
12.3.3.4 Для получения плоских поверхностей шарики помещают в литейную форму и заливают легкоплавким сплавом серы, пластмассы типа АСТ-Т и другими, имеющими низкую температуру плавления - от 60 °C до 130 °C (см.
рисунок 5), или вставляют в разъемный патрон (см.
рисунок 6).
12.3.3.5 Для контроля твердости на плоской поверхности шариков диаметром от 0,680 мм до 0,850 мм применяют нагрузки 10 Н (1 кгс) или 20 Н (2 кгс), диаметром от 1,000 мм до 1,588 мм - нагрузку 50 Н (5 кгс) и диаметром 1,984 мм - нагрузку 100 Н (10 кгс).
Примечание - Для шариков диаметром от 1,000 до 1,588 мм, вставленных в разъемный патрон (см.
рисунок 6), может быть применена нагрузка 100 Н (10 кгс).
12.3.3.6 Измерение твердости на сферических поверхностях осуществляют только для шариков после окончательной механической обработки при наличии таких твердомеров, на которых возможно соответствующее центрирование шариков относительно алмазного наконечника.
12.3.3.7 Для вдавливания алмазной пирамиды в сферическую поверхность шарики должны быть тщательно отцентрированы относительно вершины алмазного наконечника.
Центрирование шариков осуществляют при помощи координатного столика с двумя взаимно перпендикулярными микрометрическими винтами (см.
рисунок 14). Точность центрирования считается удовлетворительной, если разность диагоналей отпечатка соответствует условиям, указанным в
12.3.1.6.
12.3.3.8 При вдавливании алмазной пирамиды в сферическую поверхность для шариков диаметром от 1,000 до 1,984 мм применяют нагрузку 100 Н (10 кгс).
13 Обработка и оформление результатов измерений
Результаты измерений твердости деталей подшипников записывают в протоколы измерений в соответствии с порядком и формой, принятыми на предприятии-изготовителе или предприятии-потребителе. В протоколе в обязательном порядке указывают обозначение образца (детали), измеренное значение твердости, величину нагрузки (или обозначение шкалы твердости) (дополнительно для метода Виккерса - размер диагоналей отпечатков измерительного наконечника). При использовании для измерений программного обеспечения или электронного блока с возможностью автоматической записи результаты измерений сохраняют в электронном виде.
(рекомендуемое)
ДИАГРАММЫ ПЕРЕВОДА ВЕЛИЧИНЫ ОТПЕЧАТКА ИЗМЕРИТЕЛЬНОГО
НАКОНЕЧНИКА, ПОЛУЧЕННОГО МЕТОДОМ ВИККЕРСА НА ПЛОСКОЙ
ПОВЕРХНОСТИ, НА ТВЕРДОСТЬ ПО РОКВЕЛЛУ HRC
На
рисунках А.1,
А.2 приведена зависимость твердости по Роквеллу HRC от величины отпечатка измерительного наконечника, полученного методом Виккерса при нагрузках 10, 20, 50, 100 Н (1, 2, 5, 10 кгс) на плоской поверхности.
Размеры в миллиметрах
Рисунок А.1 - Перевод величины диагонали отпечатка,
полученного при нагрузках 10 Н (1 кгс) и 20 Н (2 кгс)
Размеры в миллиметрах
Рисунок А.2 - Перевод величины диагонали отпечатка,
полученного при нагрузках 50 Н (5 кгс) и 100 Н (10 кгс)
УДК 621.822.7:006.354 | | |
Ключевые слова: шариковые приборные подшипники качения, твердость, метод Роквелла, метод Супер-Роквелла, метод Виккерса, твердомер, измерительная нагрузка, кольца, шарики, валики, цапфы, микрошлифы |