Главная // Актуальные документы // ГОСТ Р (Государственный стандарт)СПРАВКА
Источник публикации
М.: ФГБУ "РСТ", 2022
Примечание к документу
Текст данного документа приведен с учетом
поправки, введенной в действие с 02.07.2022, опубликованной в "ИУС", N 8, 2022.
Документ
введен в действие с 01.04.2022.
Название документа
"ГОСТ Р 59866-2022. Национальный стандарт Российской Федерации. Дороги автомобильные общего пользования. Показатели деформативности конструктивных слоев дорожной одежды из несвязных материалов и грунтов земляного полотна. Технические требования и методы определения"
(утв. и введен в действие Приказом Росстандарта от 10.03.2022 N 125-ст)
"ГОСТ Р 59866-2022. Национальный стандарт Российской Федерации. Дороги автомобильные общего пользования. Показатели деформативности конструктивных слоев дорожной одежды из несвязных материалов и грунтов земляного полотна. Технические требования и методы определения"
(утв. и введен в действие Приказом Росстандарта от 10.03.2022 N 125-ст)
Утвержден и введен в действие
агентства по техническому
регулированию и метрологии
от 10 марта 2022 г. N 125-ст
НАЦИОНАЛЬНЫЙ СТАНДАРТ РОССИЙСКОЙ ФЕДЕРАЦИИ
ДОРОГИ АВТОМОБИЛЬНЫЕ ОБЩЕГО ПОЛЬЗОВАНИЯ
ПОКАЗАТЕЛИ ДЕФОРМАТИВНОСТИ КОНСТРУКТИВНЫХ СЛОЕВ ДОРОЖНОЙ
ОДЕЖДЫ ИЗ НЕСВЯЗНЫХ МАТЕРИАЛОВ И ГРУНТОВ ЗЕМЛЯНОГО ПОЛОТНА
ТЕХНИЧЕСКИЕ ТРЕБОВАНИЯ И МЕТОДЫ ОПРЕДЕЛЕНИЯ
Automobile roads of general use. Flexible pavement
indexes of deformation of structural layers of loose
materials and soils. Technical requirements
and methods of determination
ГОСТ Р 59866-2022
Дата введения
1 апреля 2022 года
1 РАЗРАБОТАН Обществом с ограниченной ответственностью "Доринжсервис" (ООО "Доринжсервис") совместно с Обществом с ограниченной ответственностью "Инновационный технический центр" (ООО "ИТЦ")
2 ВНЕСЕН Техническим комитетом по стандартизации ТК 418 "Дорожное хозяйство"
3 УТВЕРЖДЕН И ВВЕДЕН В ДЕЙСТВИЕ
Приказом Федерального агентства по техническому регулированию и метрологии от 10 марта 2022 г. N 125-ст
4 ВВЕДЕН ВПЕРВЫЕ
Правила применения настоящего стандарта установлены в статье 26 Федерального закона от 29 июня 2015 г. N 162-ФЗ "О стандартизации в Российской Федерации". Информация об изменениях к настоящему стандарту публикуется в ежегодном (по состоянию на 1 января текущего года) информационном указателе "Национальные стандарты", а официальный текст изменений и поправок - в ежемесячном информационном указателе "Национальные стандарты". В случае пересмотра (замены) или отмены настоящего стандарта соответствующее уведомление будет опубликовано в ближайшем выпуске ежемесячного информационного указателя "Национальные стандарты". Соответствующая информация, уведомление и тексты размещаются также в информационной системе общего пользования - на официальном сайте Федерального агентства по техническому регулированию и метрологии (www.rst.gov.ru)
Настоящий стандарт распространяется на показатели деформативности конструктивных слоев дорожных одежд из несвязных материалов и показатели деформативности грунтов земляного полотна автомобильных дорог общего пользования и устанавливает требования к ним, а также методы их определения на стадии строительного контроля при строительстве, реконструкции, капитальном ремонте автомобильных дорог с использованием статического и динамического методов нагружения.
В настоящем стандарте использованы нормативные ссылки на следующие стандарты:
ГОСТ 5180 Грунты. Методы лабораторного определения физических характеристик
ГОСТ 12071 Грунты. Отбор, упаковка, транспортирование и хранение образцов
ГОСТ 32758 Дороги автомобильные общего пользования. Временные технические средства организации дорожного движения. Технические требования и правила применения
ГОСТ 33063 Дороги автомобильные общего пользования. Классификация типов местности и грунтов
ГОСТ Р 59120 Дороги автомобильные общего пользования. Дорожная одежда. Общие требования
Примечание - При пользовании настоящим стандартом целесообразно проверить действие ссылочных стандартов в информационной системе общего пользования - на официальном сайте Федерального агентства по техническому регулированию и метрологии в сети Интернет или по ежегодному информационному указателю "Национальные стандарты", который опубликован по состоянию на 1 января текущего года, и по выпускам ежемесячного информационного указателя "Национальные стандарты" за текущий год. Если заменен ссылочный стандарт, на который дана недатированная ссылка, то рекомендуется использовать действующую версию этого стандарта с учетом всех внесенных в данную версию изменений. Если заменен ссылочный стандарт, на который дана датированная ссылка, то рекомендуется использовать версию этого стандарта с указанным выше годом утверждения (принятия). Если после утверждения настоящего стандарта в ссылочный стандарт, на который дана датированная ссылка, внесено изменение, затрагивающее положение, на которое дана ссылка, то это положение рекомендуется применять без учета данного изменения. Если ссылочный стандарт отменен без замены, то положение, в котором дана ссылка на него, рекомендуется применять в части, не затрагивающей эту ссылку.
В настоящем стандарте применены термины по
ГОСТ 33063,
ГОСТ Р 59120, а также следующие термины с соответствующими определениями:
3.1 несвязный материал: Материал для устройства конструктивных слоев дорожной одежды, обладающий сыпучестью в сухом состоянии.
Примечание - К несвязным материалам относятся щебень, устроенный по способу заклинки, щебеночно-песчаные смеси (ЩПС), щебеночно-гравийно-песчаные смеси (ЩГПС), песчано-гравийные смеси (ПГС), песок и т.д.
3.2 показатели деформативности: Комплекс показателей, применяемых для характеристики несущей способности на поверхности конструктивного слоя или грунта земляного полотна (Eу, EV1, EV2, EVd) и косвенной оценки качества и однородности уплотнения конструктивных слоев или грунта земляного полотна [Ke, V(EVd)].
3.3 модули деформации (при первичном и повторном циклах нагружения) EV1, EV2, МН/м2 (МПа), при статическом нагружении: Показатели деформативности, определяемые общей относительной деформацией от прилагаемой нагрузки при проведении измерений методом статического нагружения при первичном и повторном циклах нагружения.
3.4 модуль деформации при динамическом нагружении EVd, МН/м2 (МПа): Показатель деформативности, определяемый общей относительной деформацией от прилагаемой нагрузки при проведении измерений методом динамического нагружения.
3.5 показатель однородности модуля деформации при динамическом нагружении V(EVd): Величина, характеризуемая коэффициентом вариации V(EVd) модуля деформации при динамическом нагружении EVd.
3.6 общий модуль упругости (на поверхности конструктивного слоя или грунта земляного полотна) Eу, МН/м2 (МПа), при статическом нагружении: Показатель деформативности, определяемый обратимой относительной деформацией от прилагаемой нагрузки, при проведении измерений методом статического нагружения, используемый для характеристики несущей способности на поверхности конструктивного слоя дорожной одежды или грунта земляного полотна.
3.7 обратимая относительная деформация: Отношение обратимого (упругого) прогиба к диаметру отпечатка нагрузочной плиты.
3.8 общая относительная деформация: Отношение общего (полного) прогиба к диаметру отпечатка нагрузочной плиты.
3.9 осадка (прогиб): Деформация, возникающая под действием нагрузки.
3.10 относительный показатель уплотнения Ke: Показатель, определяемый при проведении измерений методом статического нагружения как отношение модулей деформации при повторном и первичном циклах нагружения, характеризующий качество уплотнения и служащий для косвенной оценки степени уплотнения конструктивных слоев дорожной одежды или грунта земляного полотна.
3.11 характерный участок: Однотипный участок автомобильной дороги, в пределах которого не наблюдается изменений конструкции дорожной одежды и грунта земляного полотна.
Требования к показателям деформативности и однородности уплотнения представлены в таблицах 1,
2.
Таблица 1
Требования к показателям деформативности слоев
дорожной одежды из несвязных материалов
Материал слоя | Конструктивный слой дорожной одежды | Показатели деформативности |
при статическом нагружении | при динамическом нагружении <1> |
Модуль упругости Eу, МПа | Модуль деформации при повторном цикле нагружения EV2, МН/м 2 (МПа) <2> | Относительный показатель уплотнения Ke <3> | Модуль деформации при динамическом нагружении EVd, МН/м 2 (МПа) <4> | Показатель однородности модуля деформации при динамическом нагружении V(EVd), не более |
ЩПС, ЩГПС, ПГС, щебень, устроенный по способу заклинки | Верхний из несвязных слоев основания на автомобильных дорогах категории I | Не ниже проектного значения <5> | >= 180 | <= 2,2 | >= 65 | 0,16 |
Нижний слой основания на автомобильных дорогах категории I; слои основания на автомобильных дорогах категорий II - IV | | | | |
Дополнительный слой основания | >= 120 | <= 2,5 | >= 60 | 0,16 |
Покрытие дорожных одежд переходного типа | >= 130 | <= 2,5 | >= 60 | 0,18 |
Песок | Слой основания, включая дополнительный слой | >= 80 | <= 3,3 | >= 35 | 0,20 |
<1> Наибольшая крупность зерна материала устраиваемого слоя, при которой целесообразно определять модуль деформации установками динамического нагружения ( Dнаиб = 1/4 от диаметра нагрузочной плиты). <2> Допускаются отклонения не более чем для 20% измерений от общего числа на измерительном участке значений модуля деформации при повторном цикле нагружения EV2 в меньшую сторону от требуемого значения, но не более чем на 10% (при соблюдении требований к относительному показателю уплотнения Ke). <3> Допускается отклонение Ke не более чем для 20% измерений от общего числа на измерительном участке не более чем на 10% в большую сторону от максимально допустимого значения. <4> Допускаются отклонения 10% значений модуля деформации при динамическом нагружении EVd из общего числа измерений на измерительном участке в меньшую сторону от требуемого значения, но не более чем на 10%. <5> Проектное значение - величина модуля упругости на поверхности конструктивного слоя или грунта земляного полотна, рассчитанная при проектировании дорожной одежды по критерию упругого прогиба. Допускают отклонение значений Eу не более чем для 20% измерений от общего числа на измерительном участке не более чем на 10% в меньшую сторону (при соблюдении требований к относительному показателю уплотнения Ke). <6> При интенсивности движения более 10 001 ед./сут (интенсивность, приведенная к легковому автомобилю) на автомобильной дороге категории II требования к показателям деформативности устанавливаются как для автомобильной дороги категории I. |
Таблица 2
Требования к показателям деформативности грунтов
земляного полотна
Грунт | Модуль упругости на поверхности рабочего слоя Eу, МПа | Модуль деформации при повторном цикле нагружения EV2 на поверхности рабочего слоя при относительной влажности <1>, <2>, МН/м 2 (МПа) | Относительный показатель уплотнения Ke | Модуль деформации при динамическом нагружении EVd, МН/м2 (МПа) |
0,60 | 0,70 | 0,80 | на поверхности рабочего слоя | при послойной отсыпке насыпи |
Крупнообломочные грунты | Не ниже проектного значения <3> | 100 | <= 3,0 | <= 3,0 | Для набора статистики |
Песок | 70 | <= 3,3 | <= 3,5 |
Пылеватый песок | 60 | <= 3,3 | <= 3,5 |
Легкая супесь | 45 | 40 | 35 | <= 2,7 | <= 3,0 |
Пылеватая супесь, суглинки, глины | 60 | 35 | 25 | <= 2,5 | <= 2,7 |
<1> При значениях относительной влажности грунта, отличных от приведенных, пользуются методами интерполяции и экстраполяции. <2> Относительная влажность грунта определяется как отношение естественной влажности к влажности на границе текучести. <3> Допускают отклонение значений Eу не более чем для 20% измерений от общего числа на измерительном участке не более чем на 10% в меньшую сторону (при соблюдении требований к относительному показателю уплотнения Ke). Примечание - Грунты, обладающие тиксотропными свойствами, требуют дополнительных проектных решений, направленных на стабилизацию их свойств. |
5 Последовательность проведения оценки показателей деформативности методами статического и динамического нагружений на участках автомобильных дорог
5.1 Проведение оценки показателей деформативности слоев основания
На участке автомобильной дороги определение показателей деформативности выполняют комплексно методами статического и динамического нагружений. Последовательность проведения оценки показателей деформативности методами статического и динамического нагружений приведена в
приложении А.
После определения показателей деформативности, при соответствии показателей требованиям
таблицы 1, дальнейшие измерения на характерных участках допускается проводить только методом динамического нагружения только в случае наличия устойчивой регрессионной связи (линейной, логарифмической, степенной, полиномиальной второй степени) между показателями
EV2 и
EVd, подтверждаемой коэффициентом детерминации
R2 не ниже 0,85. Для построения регрессионной зависимости необходимо провести не менее шести измерений статическим и динамическим нагружениями, при этом испытания динамическим нагружением должны быть проведены не далее 1 м от испытаний статическим нагружением. Результаты построения зависимости прикладывают к протоколу проведения испытаний.
При наличии устойчивой регрессионной связи между показателями
EV2 и
EVd испытания на характерных участках допускается выполнять только методом динамического нагружения. При этом в случае несоответствия
V(
EVd) требованиям
таблицы 1 или снижения среднего значения
EVd на характерном участке более чем на 10% относительно определенного на первом участке, необходимо провести мероприятия по повышению показателей деформативности слоя до достижения соответствия
V(
EVd) требованиям
таблицы 1 и соответствующего среднего значения
EVd на первом участке или повторно провести комплексные измерения в соответствии с
приложением А.
Регрессионную зависимость между показателями EV2 и EVd необходимо подтверждать не реже чем через каждые 3 км или один раз в 30 календарных суток (какое из условий наступит первым), отсчет суток ведется от даты первого определения. Построение регрессионной зависимости необходимо проводить каждый раз при смене поставщика продукции или смене сырья для ее производства.
В спорных ситуациях определение показателей деформативности проводят комплексно статическим и динамическим нагружениями в соответствии с
приложением А.
Пример оценки показателей деформативности представлен в
приложении Б.
5.2 Проведение оценки показателей деформативности грунтов земляного полотна
Определение показателей деформативности грунтов земляного полотна выполняют методом статического нагружения; определение модуля деформации при динамическом нагружении
EVd проводят с целью набора статистических данных. Последовательность проведения оценки показателей деформативности методом статического нагружения приведена в
приложении А.
Показатели деформативности грунтов земляного полотна должны соответствовать требованиям, приведенным в
таблице 2.
6.1 Требования к средствам измерений, вспомогательным устройствам и материалам
6.1.1 При выполнении измерений методом статического нагружения применяют следующие средства измерений, вспомогательные устройства и материалы:
а) установка статического нагружения штамповая.
Штамповая установка статического нагружения включает в себя:
1) механизм нагружения - гидравлический насос с гидроцилиндром и поршнем или механический домкрат, развивающий требуемое усилие в соответствии с
таблицей 3.
Конструкция механизма нагружения должна обеспечивать возможность нагружения штампа ступенями давления 0,01 МН/м2, осуществлять центрированную передачу нагрузки на штамп и поддерживать постоянство давления на каждой ступени нагружения.
Для компенсации расстояния от гидроцилиндра до противовеса применяют удлиняющие элементы (металлические насадки), которые должны обеспечивать возможность упора гидравлического цилиндра в противовес на высоту до 1 м. Металлические насадки не должны деформироваться под создаваемой нагрузкой. Допускают применение магнитных шарниров с плоской подошвой для упора гидроцилиндра в противовес;
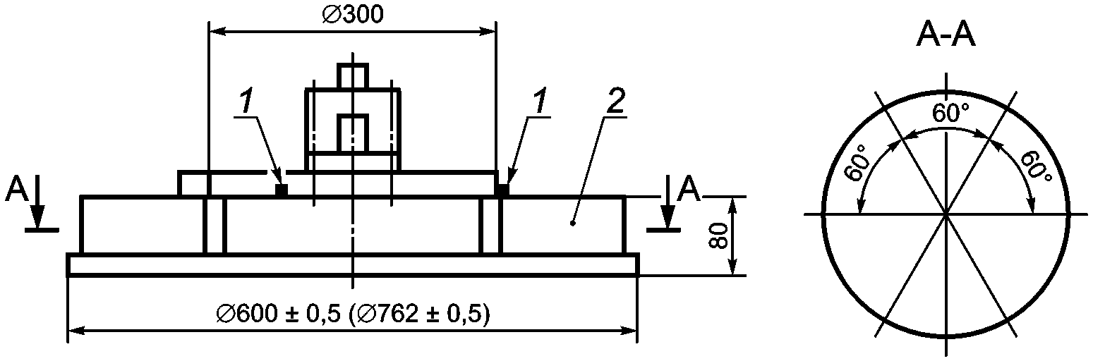
2) нагрузочные плиты, выполненные из стали. Допускают применение нагрузочных плит диаметром (300,00 +/- 0,25), (600,00 +/- 0,50), (762,00 +/- 0,50) мм.
Нагрузочная плита диаметром 300 мм должна иметь толщину не менее 20 мм.
Нагрузочные плиты диаметром 600 и 762 мм изготавливают с ребрами жесткости, расположенными симметрично по радиусу, и их толщина должна быть не менее 20 мм.
Нагрузочные плиты диаметром 600 и 762 мм должны иметь центрирующие упоры (штифты) для установки и удерживания плиты диаметром 300 мм.
Нагрузочная плита диаметром 300 мм представлена на рисунке 1.
1 - центрирующая цапфа с поворотной головкой
для гидроцилиндра; 2 - туннель для измерения осадки
Рисунок 1 - Схема нагрузочной плиты диаметром 300 мм
Нагрузочные плиты диаметром 600 и 762 мм представлены на рисунке 2;
Примечание - Сечение А-А показано схематично.
1 - центрирующие упоры для установки нагрузочной плиты
диаметром 300 мм; 2 - ребра жесткости, толщиной
не менее 20 мм
Рисунок 2 - Схема нагрузочных плит диаметром 600 и 762 мм
3) нагрузочное устройство. Нагрузочное устройство состоит из гидравлического насоса, связанного с гидравлическим цилиндром с использованием шланга высокого давления. Допускается использование нагрузочных устройств иного принципа действия, способных воспроизводить и поддерживать требуемые нагрузки с заданной точностью. Нагрузочное устройство должно обеспечивать нагрузку и разгрузку нагрузочной плиты на отдельных ступенях нагружения;
4) устройство для измерения нагрузки (динамометр) с допускаемой относительной погрешностью не более 1% от максимальной ступени нагружения или устройство для измерения давления (манометр) с ценой деления не менее: для нагрузочных плит 300 и 600 мм - 0,01 МН/м2, для нагрузочных плит диаметром 762 мм - 0,001 МН/м2. Допускается применять манометр с допускаемой относительной погрешностью не более 1% от максимальной ступени нагружения, который градуирован по создаваемым усилиям в зависимости от диаметра применяемой нагрузочной плиты;
5) устройство для измерения осадки нагрузочной плиты (прогибомер), состоящее:
- из несущего каркаса, расположенного не менее чем на трех опорах;
- вертикально перемещаемого щупа со считывающим устройством, устойчивого к кручению и изгибу;
- измерителя деформации с абсолютной погрешностью измерения в диапазоне от 0 до 0,1 мм - не более 0,015 мм, и относительной погрешностью измерения в диапазоне от 0,1 мм - не более 2%.
Допускается применять прогибомеры с поворотным щупом, прогибомеры с перемещающимся по оси щупом в линейном подшипнике и прогибомеры с измерителем деформации, расположенным по оси нагружения.
Прогибомер с поворотным щупом применяют для измерений в котлованах глубиной до 0,3 м. Прогибомер с перемещающимся по оси щупом и прогибомеры с индикатором перемещения, расположенным по оси нагружения, допускается применять для изменений в более глубоких котлованах. При применении прогибомера с поворотным щупом измерения осадки проводят при изменяющемся соотношении рычагов L1/L2. При применении прогибомера с перемещающимся по оси щупом измерения осадки плиты проводят при фиксированном соотношении длины рычагов 1:1.
Соотношение длин рычагов
L1/
L2 (см.
рисунок 3) должно быть отрегулировано и зафиксировано во избежание изменения в процессе измерения. Соотношение длин рычагов
L1/
L2 должно быть не более 2,0.
Расстояние от центра нагрузочной плиты до оси ближайших к нагрузочной плите опор
L3 (см.
рисунки 3 -
5) должно составлять от 1,5 до 1,6 м.
Прогибомер с поворотным щупом представлен на рисунке 3.
1 - измеритель деформации; 2 - несущий каркас; 3 - точка
вращения; 4 - щуп; 5 - нагрузка; 6 - считывающее устройство;
7 - опоры; S1 - фактическая осадка, мм; L1 - расстояние
от центра нагрузочной плиты до точки вращения, м;
L2 - расстояние от точки вращения до измерителя деформации,
м; L3 - расстояние от центра нагрузочной плиты до ближайшей
опоры, м; h - максимальная глубина выемки, равная 0,3 м
Рисунок 3 - Схема прогибомера с поворотным щупом
Прогибомер со щупом, перемещаемым по оси, представлен на рисунке 4.
1 - индикатор или датчик перемещения; 2 - несущий каркас;
3 - считывающее устройство; 4 - щуп; 5 - нагрузка;
6 - линейный подшипник; 7 - опоры; S - осадка нагрузочной
плиты, мм; L3 - расстояние от центра нагрузочной плиты
до ближайшей опоры, м
Рисунок 4 - Схема прогибомера с перемещающимся по оси щупом
в линейном подшипнике
Прогибомер с индикатором перемещения, расположенным по оси нагружения, представлен на рисунке 5.
1 - индикатор или датчик перемещения; 2 - несущий каркас;
3 - опоры; 4 - щуп; 5 - нагрузка; 6 - линейный подшипник;
S - осадка нагрузочной плиты, мм; L3 - расстояние
от центра нагрузочной плиты до ближайшей опоры, м
Рисунок 5 - Схема прогибомера с индикатором перемещения,
расположенным по оси нагружения
б) противовес. В качестве противовеса допускается использовать строительную технику или иные устройства, нагрузка от которых не менее чем на 10 кН превышает максимальную нагрузку, создаваемую штамповой установкой статического нагружения в процессе измерения;
в) секундомер;
г) песок сухой без включения частиц размером более 2 мм.
6.1.2 При выполнении измерений методом динамического нагружения применяют следующие средства измерений, вспомогательные устройства и материалы:
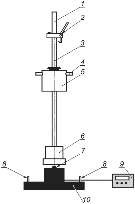
а) установка динамического нагружения штамповая.
Штамповая установка динамического нагружения должна обеспечивать измерение деформации с относительной погрешностью не более 5% от измеряемой величины и состоять из следующих элементов:
1) механизм нагружения - падающий по направляющей штанге груз весом:
- (10,0 +/- 0,1) кг, создающий импульс нагружения (7,07 +/- 0,05) кН и обеспечивающий давление под нагрузочной плитой на поверхность испытуемого слоя (0,10 +/- 0,01) МН/м2, либо
- (15,0 +/- 0,1) кг, создающий импульс нагружения (10,60 +/- 0,05) кН и обеспечивающий давление под нагрузочной плитой на поверхность испытуемого слоя (0,15 +/- 0,01) МН/м2;
2) нагрузочную плиту с ручками для переноски, выполненную из стали диаметром (300,00 +/- 0,25) мм толщиной не менее 20 мм;
3) переходный упругий элемент (амортизатор) между нагрузочной плитой и нагрузочным устройством;
б) устройства и материалы вспомогательные в соответствии с перечислениями
6.1.1.
6.2.1 Метод измерений статическим нагружением
Сущность метода заключается в проведении статического нагружения двумя циклами, с неполной разгрузкой после первого цикла, на поверхности конструктивных слоев дорожных одежд или грунта земляного полотна с определением осадки нагрузочной плиты от прилагаемой нагрузки и последующим расчетом показателей деформативности.
6.2.2 Метод измерений динамическим нагружением
Сущность метода заключается в проведении динамического нагружения на поверхности конструктивных слоев дорожных одежд или грунта земляного полотна с определением осадки нагрузочной плиты от прилагаемой нагрузки и последующим расчетом показателей деформативности.
1 - рукоятка; 2 - механизм фиксации и освобождения груза;
3 - направляющая штанга; 4 - ручка падающего груза;
5 - падающий груз; 6 - упругий элемент; 7 - шаровая опора,
8 - ручки для переноски; 9 - электронный регистрирующий
блок; 10 - нагрузочная плита
Рисунок 6 - Схема штамповой установки
динамического нагружения
6.3 Требования безопасности
6.3.1 В случае, если во время проведения измерений автомобильная дорога используется для передвижения строительной или иной техники, места выполнения работ должны быть огорожены временными техническими средствами организации дорожного движения в соответствии с
ГОСТ 32758.
6.3.2 Специалисты, выполняющие измерения, должны соблюдать инструкции по охране труда, иметь спецодежду, обеспечивающую повышенную видимость в условиях проведения работ.
Специалисты, выполняющие измерения, должны знать устройство средств измерений и вспомогательных устройств, представленных в
разделе 6, правила обращения с ними, а также правила их эксплуатации.
6.4 Требования к условиям измерений
6.4.1 Измерения должны проводиться при температуре окружающего воздуха выше 0 °C.
6.4.2 Материалы слоев дорожной одежды и грунты рабочего слоя земляного полотна не должны находиться в замерзшем состоянии.
6.4.3 При проведении измерений на расстоянии не менее 5 м не должно находиться движущейся строительной техники, штамповая установка и противовес не должны испытывать вибрацию во время измерений.
6.5 Подготовка к выполнению измерений
6.5.1.1 На участке автомобильной дороги протяженностью менее 500 м, количество измерений методом статического нагружения должно быть не менее шести. Количество измерений методом динамического нагружения - не менее 30.
Точки для проведения измерений выбирают в произвольном порядке по всей протяженности участка или на основании георадарных обследований. Первая и последняя точки измерений должны находиться в пределах от 1% до 10% длины участка от начала и конца участка соответственно. Минимальное расстояние между точками проведения измерений методом статического нагружения составляет 10 м.
В случае установления в результате визуального осмотра участка одинакового уплотнения материала по всей протяженности участка, измерения методами статического и динамического нагружений проводят через приблизительно равное расстояние по длине контролируемого участка.
При необходимости допускается проведение большего количества измерений. Рекомендуется назначать дополнительные точки в местах, где по результатам визуального осмотра или по результатам георадарного обследования выявлено недоуплотнение слоя.
На участке автомобильной дороги протяженностью свыше 500 м измерения методом статического нагружения проводят не менее одного раза на каждые 100 пог. м, методом динамического нагружения не менее одного раза на каждые 50 пог. м в соответствии со схемами, представленными на
рисунках 7 и
8.
Примечание - При необходимости проведения большего количества измерений допускается иное расположение дополнительных точек.
При выполнении измерений на участках автомобильных дорог шириной более 25 м их необходимо делить на отдельные участки таким образом, чтобы на 12 500 м2 приходилось не менее шести измерений статическим штампом и не менее 30 измерений динамическим штампом.
При наличии разделительной полосы измерения проводят по каждому направлению движения отдельно.
1 - бровка; 2 - ось; 3 - граница участка;

- точки проведения измерений;
L - протяженность участка
Рисунок 7 - Рекомендуемая схема расположения точек измерения
методом статического нагружения
6.5.1.2 При контроле качества уплотнения грунта насыпи земляного полотна при его послойной отсыпке контролируют только относительный показатель уплотнения грунта
Ke. Расположение и количество точек измерения принимают в соответствии с
6.5.1.1.
1 - бровка; 2 - ось; 3 - граница участка;
x - точки проведения измерений; L - протяженность участка
Рисунок 8 - Рекомендуемая схема расположения точек измерения
методом динамического нагружения
6.5.1.3 Влажность и влажность на границе текучести определяют в соответствии с
ГОСТ 5180. Пробы грунта отбирают в день выполнения штамповых испытаний на расстоянии не более 1 м от точки проведения испытаний, не менее одного раза на участке. Отбор, упаковку, транспортирование и хранение грунта выполняют по
ГОСТ 12071. На основании полученных результатов вычисляют относительную влажность в момент проведения испытаний, которую учитывают при определении показателей деформативности связных грунтов земляного полотна.
6.5.2 Подготовка к выполнению измерений методом статического нагружения
6.5.2.1 Подготовку к выполнению измерений методом статического нагружения выполняют в следующей последовательности:
- подготовка поверхности слоя к проведению измерений;
- подготовка и установка нагрузочной плиты и штамповой установки статического нагружения;
- установка противовеса.
Примечание - Допускается устанавливать противовес на место измерения перед подготовкой поверхности и установкой нагрузочной плиты и штамповой установки статического нагружения.
6.5.2.2 Подготовка поверхности слоя к проведению измерений
Перед установкой нагрузочной плиты необходимо подготовить поверхность слоя для проведения измерений. Поверхность слоя в месте установки нагрузочной плиты необходимо выровнять соответствующими вспомогательными средствами (лопата, шпатель и т.п.), без нарушения сложившейся структуры материала слоя.
Поверхность нагрузочной плиты должна максимально плотно прилегать к поверхности контролируемого слоя. При необходимости, с целью заполнения пустот и неровностей на поверхности слоя, а также увеличения площади контакта с нагрузочной плитой, допускается использовать сухой песок. Для этого на поверхности испытуемого слоя создают параллельную этому слою выравнивающую площадку из сухого песка, превышающую площадь нагрузочной плиты. Песок тщательно выравнивают без нарушения сложившейся структуры материала слоя.
Перед проведением измерений на песках во всех случаях и на грунтах, на поверхности которых образуется корка или поверхность которых замочена, а также на грунтах, имеющих неоднородную поверхность в верхней зоне, верхнюю часть слоя (от 5 до 10 см) необходимо удалить. Поверхность слоя в месте установки нагрузочной плиты необходимо выровнять соответствующими вспомогательными средствами (лопата, шпатель и т.п.).
6.5.2.3 Подготовка и установка нагрузочной плиты и штамповой установки статического нагружения
При проведении измерений конструктивных слоев дорожной одежды и грунтов земляного полотна применяют нагрузочные плиты диаметром 300 мм. При проведении измерений на слабых или крупнообломочных грунтах, а также слоях из материалов с включением частиц более 90 мм применяют нагрузочные плиты диаметром 600 или 762 мм.
На поверхность измеряемого слоя устанавливают нагрузочную плиту. Расстояние от края нагрузочной плиты до ближайшей опорной поверхности противовеса (колеса автомобиля, вальца катка и т.д.) должно быть не менее 0,5 м. Для обеспечения ее неподвижности, положения, перпендикулярного к поверхности слоя, и полного прилегания к поверхности допускается притирание или легкое постукивание по нагрузочной плите. В верхней части уплотненного слоя, контактирующей с нагрузочной плитой, не должно быть зерен каменного материала размером более 1/4 диаметра этой плиты. Наличие зерен определяют по результатам визуальной оценки слоя.
Гидравлический цилиндр устанавливают в середине нагрузочной плиты, перпендикулярно к ней под противовесом, и фиксируют во избежание опрокидывания. Гидравлический цилиндр должен упираться в противовес, для этого допускается применять металлические насадки для удлинения штока.
Примечание - В отдельных моделях оборудования гидравлический цилиндр упирается в магнитный шарнир с плоской подошвой, который установлен под противовесом.
Устанавливают манометр или динамометр.
Примечание - В отдельных моделях оборудования динамометр или манометр и нагрузочное устройство являются неразъемными.
Прогибомер устанавливают в рабочем, горизонтальном положении для измерения осадки нагрузочной плиты. Устанавливают считывающее устройство в середине нагрузочной плиты. Копирное острие считывающего устройства для измерения осадки должно свободно вводиться в измерительный туннель цоколя нагрузочной плиты и размещаться в центре нагрузочной плиты.
Устанавливают измеритель осадки перпендикулярно к испытуемой поверхности.
Выполняют мероприятия в соответствии с руководством по эксплуатации.
6.5.2.4 Установка противовеса
Противовес устанавливают над местом проведения измерений, исключая его перемещения в процессе проведения испытания, например блокируют тормозами и закрепляют на месте при помощи тормозных башмаков, при наличии. Место проведения измерений выбирают в соответствии с
6.5.1.
6.5.3 Подготовка к выполнению измерений методом динамического нагружения
При подготовке к выполнению измерений методом динамического нагружения проводят подготовку поверхности слоя к проведению измерений в соответствии с
6.5.2.2.
На поверхность измеряемого слоя устанавливают нагрузочную плиту. Для обеспечения ее неподвижности, горизонтального положения и полного прилегания к поверхности допускается притирание или легкое постукивание по нагрузочной плите. На поверхности уплотненного слоя под нагрузочной плитой не должно быть зерен каменного материала размером более 1/4 диаметра этой плиты. Наличие зерен определяют по результатам визуальной оценки.
На нагрузочную плиту устанавливают штангу с падающим грузом и присоединяют к нагрузочной плите электронный блок.
6.6 Порядок проведения измерений
6.6.1 Порядок проведения измерений методом статического нагружения
6.6.1.1 Выполнение измерений проводят в следующей последовательности:
- предварительное нагружение;
- первичное нагружение;
- разгрузка;
- повторное нагружение.
Результаты измерений заносят в журналы измерений. Допускается применение автоматизированных средств сохранения результатов измерений, предусмотренных конструкцией и комплектностью штамповой установки.
6.6.1.2 Предварительное нагружение
Для устранения возможных случайных деформаций и смещений нагрузочной плиты выполняют предварительное нагружение.
Предварительное нагружение выполняют в следующей последовательности:
- для исключения случайных деформаций нагружение начинают с передачи на штамп диаметром 300 мм давления 0,04 МН/м
2, диаметром 600 мм - 0,02 МН/м
2, диаметром 762 мм - 0,01 МН/м
2, с мгновенной разгрузкой до значений нулевой ступени нагружения

, соответствующей для плит диаметром 300 и 600 мм давлению 0,01 МН/м
2, а для плиты диаметром 762 мм - 0,005 МН/м
2;
- показания измерителя осадки устанавливают на значение "0" при измерениях на конструктивных слоях дорожных одежд по истечении с момента достижения нулевой ступени нагружения не менее 60 с, при измерениях на грунтах земляного полотна - по истечении с момента достижения нулевой ступени нагружения не менее 120 с.
Примечание - Допускается не устанавливать измеритель осадки на значение "0", а вместо этого зафиксировать отсчет после проведения предварительного нагружения. В этом случае в дальнейшем величина осадки определяется как разница в отсчетах до и после нагружения или разгрузки.
6.6.1.3 Первичное нагружение
Первичное нагружение проводят не менее чем в шесть ступеней до достижения предварительно выбранной максимальной нагрузки в соответствии с
таблицей 3.
Максимальное давление для нагрузочной плиты диаметром 300 мм составляет 0,50 МН/м2. При измерениях на конструктивных слоях из песка и на грунтах земляного полотна при применении нагрузочной плиты диаметром 300 мм максимальное давление составляет 0,25 МН/м2.
Максимальное давление для нагрузочной плиты диаметром 600 мм составляет 0,25 МН/м2.
Максимальное давление для нагрузочной плиты диаметром 762 мм составляет 0,20 МН/м2.
Время выдержки на каждой ступени при измерениях должно составлять не менее 60 с, но до достижения интенсивности изменения деформаций не более 0,02 мм/мин.
Во время выдержки на каждой ступени нагрузка и расчетное давление должны поддерживаться в пределах +/- 1% от максимальной ступени нагружения.
Первичное нагружение выполняют до достижения максимального давления в зависимости от диаметра нагрузочной плиты ступенями в соответствии с таблицей 3.
Таблица 3
Значения нагрузки и давления в зависимости от диаметра
нагрузочной плиты при проведении первичного нагружения
Ступень нагружения | Диаметр нагрузочной плиты |
300 мм | | 600 мм | 762 мм |
Нагрузка, кН | Расчетное давление для создания требуемой нагрузки, МН/м2 | Нагрузка, кН | Расчетное давление для создания требуемой нагрузки, МН/м2 | Нагрузка, кН | Расчетное давление для создания требуемой нагрузки, МН/м2 | Нагрузка, кН | Расчетное давление для создания требуемой нагрузки, МН/м2 |
0 | 0,71 | 0,01 | 0,71 | 0,01 | 2,82 | 0,01 | 2,28 | 0,005 |
1 | 5,65 | 0,08 | 2,84 | 0,04 | 11,31 | 0,04 | 9,12 | 0,02 |
2 | 11,31 | 0,16 | 5,65 | 0,08 | 22,62 | 0,08 | 18,24 | 0,04 |
3 | 17,67 | 0,25 | 8,52 | 0,12 | 33,93 | 0,12 | 36,48 | 0,08 |
4 | 23,33 | 0,33 | 11,31 | 0,16 | 45,24 | 0,16 | 54,72 | 0,12 |
5 | 29,69 | 0,42 | 14,20 | 0,20 | 56,65 | 0,20 | 76,96 | 0,16 |
6 | 35,35 | 0,50 | 17,67 | 0,25 | 70,69 | 0,25 | 91,21 | 0,20 |
<1> При измерениях на конструктивных слоях из песка и на грунтах земляного полотна. |
6.6.1.4 Разгрузка
Выполняют плавную разгрузку ступенями в соответствии с таблицей 4.
Таблица 4
Значения нагрузки и давления в зависимости от диаметра
нагрузочной плиты при разгрузке
Ступень разгрузки | Диаметр нагрузочной плиты |
300 мм | | 600 мм | 762 мм |
Нагрузка, кН | Расчетное давление для создания требуемой нагрузки, МН/м2 | Нагрузка, кН | Расчетное давление для создания требуемой нагрузки, МН/м2 | Нагрузка, кН | Расчетное давление для создания требуемой нагрузки, МН/м2 | Нагрузка, кН | Расчетное давление для создания требуемой нагрузки, МН/м2 |
1 | 17,67 | 0,25 | 8,52 | 0,12 | 33,93 | 0,12 | 45,61 | 0,10 |
2 | 8,52 | 0,12 | 4,26 | 0,06 | 16,96 | 0,06 | 22,80 | 0,05 |
3 | 0,71 | 0,01 | 0,71 | 0,01 | 2,28 | 0,01 | 2,28 | 0,005 |
<1> При измерениях на конструктивных слоях из песка и на грунтах земляного полотна. |
Время выдержки на каждой ступени принимают в соответствии с
6.6.1.3.
6.6.1.5 Повторное нагружение
Выполняют повторное нагружение с доведением давления до значения на ступень менее максимального давления при первичном нагружении в соответствии с таблицей 5.
Таблица 5
Значения нагрузки и давления в зависимости от диаметра
нагрузочной плиты при проведении повторного нагружения
Ступень нагружения | Диаметр нагрузочной плиты |
300 мм | | 600 мм | 762 мм |
Нагрузка, кН | Расчетное давление для создания требуемой нагрузки, МН/м2 | Нагрузка, кН | Расчетное давление для создания требуемой нагрузки, МН/м2 | Нагрузка, кН | Расчетное давление для создания требуемой нагрузки, МН/м2 | Нагрузка, кН | Расчетное давление для создания требуемой нагрузки, МН/м2 |
0 | 0,71 | 0,01 | 0,71 | 0,01 | 2,82 | 0,01 | 2,28 | 0,005 |
1 | 5,65 | 0,08 | 2,84 | 0,04 | 11,31 | 0,04 | 9,12 | 0,02 |
2 | 11,31 | 0,16 | 5,65 | 0,08 | 22,62 | 0,08 | 18,24 | 0,04 |
3 | 17,67 | 0,25 | 8,52 | 0,12 | 33,93 | 0,12 | 36,48 | 0,08 |
4 | 23,33 | 0,33 | 11,31 | 0,16 | 45,24 | 0,16 | 54,72 | 0,12 |
5 | 29,69 | 0,42 | 14,20 | 0,20 | 56,65 | 0,20 | 76,96 | 0,16 |
<1> При измерениях на конструктивных слоях из песка и на грунтах земляного полотна. |
Время выдержки на каждой ступени принимают в соответствии с
6.6.1.3.
6.6.2 Порядок проведения измерений методом динамического нагружения
Выполнение измерений проводят в следующей последовательности:
- выполняют предварительное нагружение тремя сбросами груза без регистрации деформаций для устранения возможных случайных деформаций;
- выполняют три сбрасывания груза с регистрацией деформации при каждом сбрасывании.
6.7 Обработка результатов измерений
6.7.1 Расчет осадки плиты в зависимости от типа штамповой установки
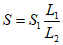
Расчетную осадку нагрузочной плиты S, мм, определяют для прогибомеров:
- с поворотным щупом (см.
рисунок 3) - по формуле

, (1)
где S1 - вертикальное перемещение щупа, измеренное прогибомером (измеренная осадка), мм;
L1 - расстояние от центра нагрузочной плиты до точки вращения прогибомера (см.
рисунок 3), мм;
L2 - расстояние от точки вращения прогибомера до измерителя осадки (см.
рисунок 3), мм;
- с перемещающимся по оси щупом в линейном подшипнике (см.
рисунок 4) - фактическим показанием измерителя осадки;
- с индикатором перемещения, расположенным по оси нагружения (см.
рисунок 5), - фактическим показанием измерителя осадки.
6.7.2 Расчет модулей деформации при первичном и повторном нагружениях
Модули деформации при первичном и повторном нагружениях EV, МН/м2 (МПа), рассчитывают по формуле

, (2)
где 0,75 - коэффициент, учитывающий специфику проведения измерений нагрузочными плитами и усредненный коэффициент Пуассона;
D - диаметр нагрузочной плиты, мм;
a1 - постоянная многочлена второй степени, мм/(МН/м2);
a2 - постоянная многочлена второй степени, мм/(МН2/м4);

- максимальное давление при измерении, МН/м
2.
Для определения модулей деформации при первичном и повторном нагружениях за основу принимают компенсирующие линии установления давления. Компенсирующие линии установления давления рассчитывают с помощью многочлена второй степени, постоянные которого определяют путем приведения в соответствие измеренных значений осадки по методу наименьших квадратов. Расчетную осадку нагрузочной плиты S, мм, рассчитывают по формуле

, (3)
где a0 - постоянная многочлена второй степени, мм;
a1 - постоянная многочлена второй степени, мм/(МН/м2);

- максимальное давление на ступени нагружения, МН/м
2;
a2 - постоянная многочлена второй степени, мм/(МН2/м4).
Для расчета постоянных многочлена первичной нагрузки не учитывают ступень нагрузки "0".
Уравнения для расчета постоянных многочлена второй степени представлены в
приложении В.
Пример расчета модулей деформации при первичном и повторном нагружениях приведен в
приложении Г.
При использовании специальных программ для расчета модулей деформации осуществляют их проверку при помощи расчетов, приведенных в
приложении Г.
6.7.3 Расчет относительного показателя уплотнения конструктивного слоя и грунта земляного полотна
Показатель Ke рассчитывают по формуле

, (4)
где EV2 - модуль деформации при повторном нагружении, МН/м2 (МПа);
EV1 - модуль деформации при первичном нагружении, МН/м2 (МПа).
6.7.4 Расчет модуля упругости на поверхности конструктивного слоя и грунта земляного полотна
Модуль упругости Eу, МПа, рассчитывают по формуле

, (5)
где

- максимальная нагрузка при первичном нагружении, МН/м
2;

- нагрузка при нулевой ступени нагружения, МН/м
2;
D - диаметр нагрузочной плиты, мм;
Sу - упругая деформация при первичном нагружении, мм;

- коэффициент Пуассона, принимаемый равным 0,3.
Упругую деформацию при первичном нагружении Sу, мм, рассчитывают по формуле
Sу = S1 - Sост, (6)
где S1 - полная деформация при максимальной нагрузке при первичном нагружении, мм;
Sост - остаточная деформация после проведения разгрузки, мм.
6.7.5 Расчет модуля деформации при динамическом нагружении
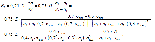
Модуль деформации при динамическом нагружении EVd, МН/м2 (МПа), рассчитывают по формуле

, (7)
где 0,75 - коэффициент, учитывающий специфику проведения измерений нагрузочными плитами и усредненный коэффициент Пуассона;

- нагрузка, МН/м
2;
D - диаметр нагрузочной плиты, мм;

- средняя величина деформации, рассчитываемая как среднеарифметическое деформаций при трех сбрасываниях груза, мм.
6.7.6 Расчет однородности модуля деформации
Однородность модуля деформации V(EVd) рассчитывают по формуле

(8)
где EVdi - i-е значение модуля деформации на поверхности конструктивного слоя или грунта земляного полотна при динамическом нагружении, МН/м2 (МПа);

- среднеарифметическое значение модуля деформации на поверхности конструктивного слоя или грунта земляного полотна при динамическом нагружении на измеряемом участке, МН/м
2 (МПа);
n - количество измерений.
6.8 Оформление результатов измерений
Результаты измерений оформляют в виде протокола.
Форма протокола измерений методами статического и динамического нагружений приведена в приложении Д.
Формы журналов измерений методами статического и динамического нагружений приведены в
приложении Е.
6.9 Контроль точности результатов измерений
6.9.1 Точность результатов измерений обеспечивается:
- соблюдением требований настоящего стандарта;
- проведением периодической оценки метрологических характеристик средств измерений;
- проведением периодической аттестации испытательного оборудования.
6.9.2 Допускается применять иные средства измерения с метрологическими и техническими характеристиками, обеспечивающие измерение с заданной погрешностью. Референтными результатами являются результаты, полученные с использованием средств измерений, представленных в настоящем стандарте.
6.9.3 Нормы сходимости и воспроизводимости результатов испытаний приведены в таблице 6.
Таблица 6
Нормы сходимости (повторяемости)
и воспроизводимости результатов испытаний
Параметр | Модуль деформации EV2 и модуль упругости Eу при статическом нагружении | Модуль деформации EVd при динамическом нагружении |
Воспроизводимость (R) | 20% | 25% |
Сходимость (r) | 15% | 20% |
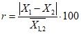
Сходимость результатов r, %, рассчитывают по формуле

, (9)
где X1 и X2 - результаты испытаний одного конструктивного элемента дорожной одежды в одном месте измерений, выполненные в соответствии с требованиями настоящего стандарта, одним и тем же оператором, с применением одного и того же экземпляра оборудования последовательно друг за другом, МН/м2 (МПа);

- среднее арифметическое результатов испытаний
X1 и
X2.
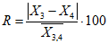
Воспроизводимость результатов R, %, рассчитывают по формуле

, (10)
где X3 и X4 - результаты испытаний одного конструктивного элемента дорожной одежды в одном месте измерений, выполненные в соответствии с требованиями настоящего стандарта различными операторами, с применением различных экземпляров оборудования, при схожих условиях измерения, МН/м2 (МПа);

- среднее арифметическое результатов испытаний
X3 и
X4.
При определении сходимости и воспроизводимости результатов испытаний при статическом нагружении местом проведения измерений является область, в которой точки проведения измерений располагаются друг от друга на расстоянии не более 1 м от центра приложения нагрузки; при динамическом нагружении - в непосредственной близости друг к другу, на расстоянии не более двух диаметров применяемой нагрузочной плиты.
(обязательное)
ПОСЛЕДОВАТЕЛЬНОСТЬ ПРОВЕДЕНИЯ ОЦЕНКИ ПОКАЗАТЕЛЕЙ
ДЕФОРМАТИВНОСТИ МЕТОДАМИ СТАТИЧЕСКОГО И ДИНАМИЧЕСКОГО
НАГРУЖЕНИЙ НА ХАРАКТЕРНОМ УЧАСТКЕ
А.1 Оценку показателей деформативности и однородности уплотнения проводят на характерном участке. Количество и места точек измерения принимают в соответствии с
6.5.1.1. Допускается проведение оценки показателей деформативности в каждом технологическом слое. Оценку показателей деформативности и однородности уплотнения проводят в следующем порядке:
а) определяют влажность грунта и влажность на границе текучести грунта в соответствии с
ГОСТ 5180 (при определении показателей деформативности грунтов земляного полотна);
б) проводят измерение
EV1 и
EV2 и рассчитывают
Ke. Если определенные показатели не соответствуют требованиям, приведенным в
таблицах 1,
2, проводят мероприятия по повышению показателей деформативности. Затем проводят повторное измерение
EV1 и
EV2 и расчет
Ke. Данную процедуру повторяют до тех пор, пока значения не будут соответствовать требованиям
таблиц 1,
2;
в) в случае проведения измерений на поверхности конструктивного слоя с заданным проектным модулем упругости
Eу на поверхности рассчитывают фактический модуль упругости
Eу. В случае послойной отсыпки конструктивного слоя, при проведении испытаний на промежуточных слоях (в промежуточных отметках), допускается не рассчитывать модуль упругости
Eу.
Если модуль упругости
Eу не соответствует требованиям, приведенным в
таблицах 1 и
2, проводят мероприятия по достижению модулем упругости
Eу проектных значений. После этого повторно проводят действия в соответствии с
перечислениями а) -
в);
г) проводят измерение модуля деформации при динамическом нагружении
EVd и рассчитывают показатель однородности модуля деформации при динамическом нагружении
V(
EVd) на участке. В случае если модуль деформации при динамическом нагружении
EVd и/или показатель однородности модуля деформации при динамическом нагружении
V(
EVd) не соответствует требованиям, приведенным в
таблице 1, проводят мероприятия по повышению показателей деформативности. Затем проводят повторное измерение модуля деформации при динамическом нагружении
EVd и рассчитывают показатель однородности модуля деформации при динамическом нагружении
V(
EVd) на участке.
Примечание - Определение показателей деформативности и однородности уплотнения методами динамического нагружения проводят только на несвязных слоях основания;
д) при соответствии показателей деформативности требованиям
таблиц 1 и
2 принимают решение о приемке грунта или конструктивного слоя на характерном участке автомобильной дороги;
е) после определения показателей деформативности и однородности уплотнения на характерном участке, при соответствии показателей требованиям
раздела 5, дальнейшие измерения на характерных участках допускается проводить только методом динамического нагружения.
Примечание - Однородность уплотнения определяется только на несвязных слоях основания.
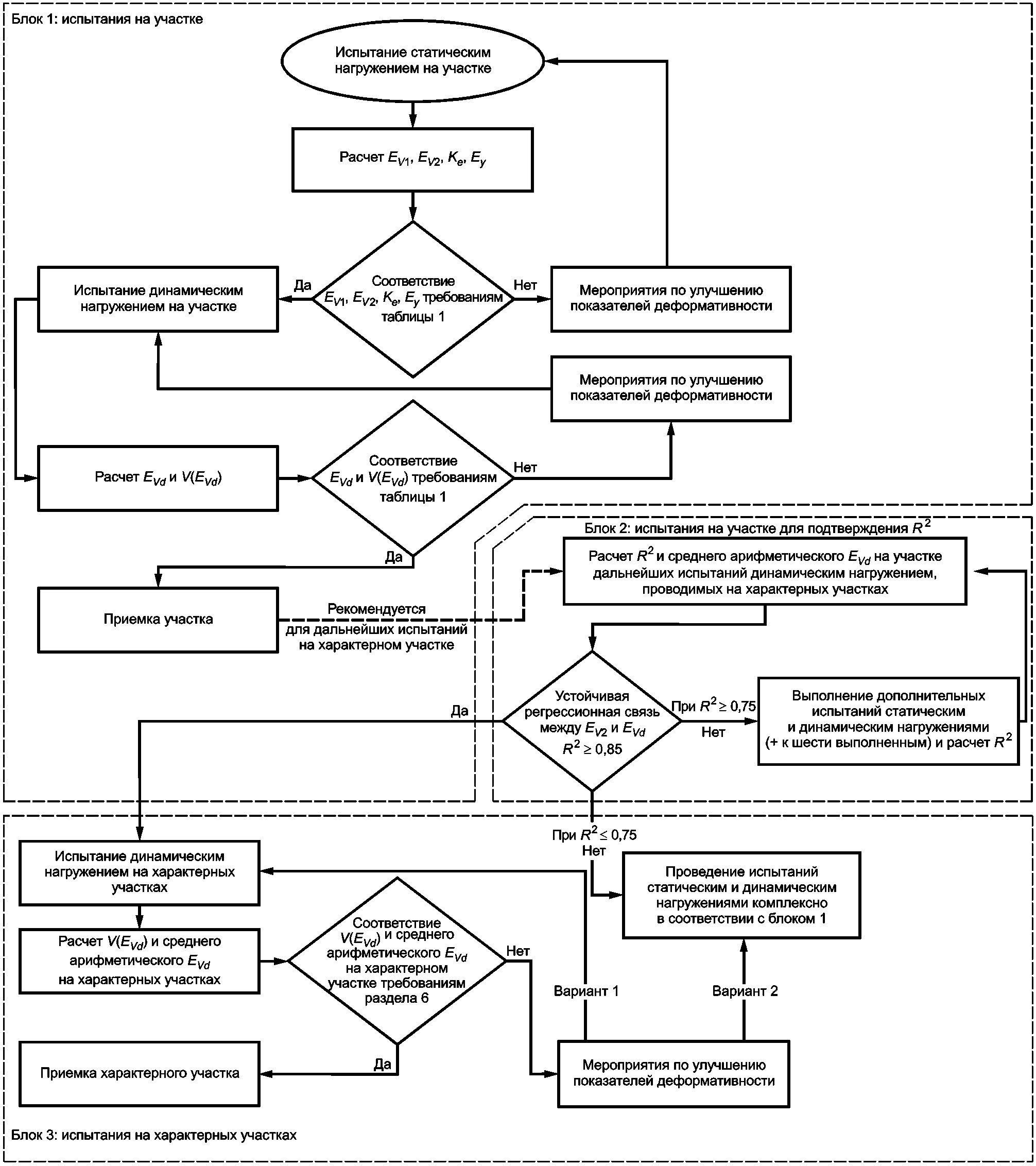
Блок-схема с алгоритмом проведения оценки показателей деформативности представлена на рисунке А.1.
Примечание - Вариант 1 является рекомендуемым вариантом, вариант 2 применяется при невозможности обеспечения требований по варианту 1.
Рисунок А.1 - Алгоритмом проведения оценки
показателей деформативности
(справочное)
ПРИМЕР ПРОВЕДЕНИЯ ОЦЕНКИ ПОКАЗАТЕЛЕЙ ДЕФОРМАТИВНОСТИ
Б.1 Необходимо определить показатели деформативности и однородность уплотнения нижнего слоя основания из ЩПС на автомобильной дороге категории 1Б. Длина участка составляет 300 м. Проектный модуль упругости на поверхности конструктивного слоя составляет 145 МПа.
Б.1.1 Проводят определение показателей деформативности методом статического нагружения в шести точках в соответствии с
6.5.1. Определяют значения показателей
EV1,
EV2,
Ke и
Eу. Результаты измерений показателей деформативности методом статического нагружения представлены в таблице Б.1.
Таблица Б.1
Результаты измерений показателей деформативности
методом статического нагружения
Точка измерения | EV1, МН/м2 | EV2, МН/м2 | Ke | Eу, МПа |
1 | 61,8 | 154,5 | 2,5 | 158,3 |
2 | 71,6 | 164,6 | 2,3 | 166,2 |
3 | 68,7 | 151,2 | 2,2 | 151,4 |
4 | 56,1 | 145,7 | 2,6 | 138,5 |
5 | 76,1 | 175,2 | 2,3 | 170,4 |
6 | 70,3 | 161,4 | 2,3 | 163,4 |
Б.1.2 Проверяют условие соблюдения требований к показателям деформативности, приведенных в
таблице 1:
- из шести значений показателя уплотнения
Ke пять соответствуют требованиям
таблицы 1, одно значение (16,6%) превышает требуемое значение (2,5) на 4%, что допускается
таблицей 1;
- из шести значений модуля упругости
Eу пять значений превышают проектное, одно значение (16,6%) ниже проектного модуля на 4%, что допускается
таблицей 1;
- из шести значений модуля деформации
EV2 пять значений удовлетворяют требованиям
таблицы 1, одно значение (16,6%) ниже требуемого на 3%, что допускается
таблицей 1.
Б.1.3 Проводят определение показателей деформативности методом динамического нагружения в 10 равномерно распределенных поперечниках по трем измерениям на каждом в соответствии с
6.5.1. Результаты измерений представлены в таблице Б.2.
Таблица Б.2
Результаты измерений показателей деформативности
методом динамического нагружения
Точка измерения | EVd, МН/м2 | Точка измерения | EVd, МН/м2 | Точка измерения | EVd, МН/м2 |
1 | 52 | 11 | 70 | 21 | 64 |
2 | 80 | 12 | 95 | 22 | 81 |
3 | 71 | 13 | 57 | 23 | 88 |
4 | 61 | 14 | 53 | 24 | 83 |
5 | 58 | 15 | 63 | 25 | 81 |
6 | 55 | 16 | 61 | 26 | 63 |
7 | 73 | 17 | 73 | 27 | 64 |
8 | 86 | 18 | 64 | 28 | 61 |
9 | 91 | 19 | 60 | 29 | 65 |
10 | 84 | 20 | 62 | 30 | 61 |
Б.1.4 Проверяют условие соблюдения требований к показателю
EVd и показателя однородности модуля деформации при динамическом нагружении
V(
EVd), приведенных в
таблице 1:
- из 30 значений модуля деформации
EVd пять (17%) значений не соответствуют требованиям
таблицы 1;
- фактическая однородность составляет 0,17, что не соответствует требованиям
таблицы 1.
Принимают решения о доуплотнении конструктивного слоя. После проведения двух дополнительных проходов катка по одному следу повторно проводят измерение модулей деформации при динамическом нагружении. Результаты измерений представлены в таблице Б.3.
Таблица Б.3
Результаты измерений показателей деформативности методом
динамического нагружения после доуплотнения слоя
Точка измерения | EVd, МН/м2 | Точка измерения | EVd, МН/м2 | Точка измерения | EVd, МН/м2 |
1 | 78 | 11 | 70 | 21 | 78 |
2 | 71 | 12 | 68 | 22 | 80 |
3 | 83 | 13 | 65 | 23 | 88 |
4 | 82 | 14 | 63 | 24 | 83 |
5 | 76 | 15 | 68 | 25 | 81 |
6 | 65 | 16 | 64 | 26 | 75 |
7 | 72 | 17 | 73 | 27 | 76 |
8 | 86 | 18 | 64 | 28 | 72 |
9 | 88 | 19 | 65 | 29 | 69 |
10 | 84 | 20 | 71 | 30 | 66 |
Проверяют условие соблюдения требований к показателю
EVd и показателя однородности модуля деформации при динамическом нагружении
V(
EVd), приведенных в
таблице 1:
- все 30 значений модуля деформации
EVd соответствуют требованиям
таблицы 1;
- фактическая однородность составляет 0,10, что соответствует требованиям
таблицы 1.
После доуплотнения показатели деформативности и однородности отвечают требованиям настоящего стандарта.
Б.2 Определение регрессионной зависимости модуля деформации при повторном нагружении EV2 и модуля деформации при динамическом нагружении EVd
Для построения регрессионной зависимости необходимо провести не менее шести измерений статическим и динамическим штампами, при этом испытания динамическим штампом должны быть проведены не далее 1 м от испытаний статическим штампом. Результаты построения зависимости прикладывают к протоколу проведения испытаний.
Результаты измерений статическим и динамическим нагружениями представлены в таблице Б.4.
Таблица Б.4
Результаты измерений статическим и динамическим нагружениями
Точка измерения | EV2, МН/м2 | Ke | EVd, МН/м2 |
1 | 154,5 | 2,5 | 54 |
2 | 164,6 | 2,3 | 74 |
3 | 151,2 | 2,2 | 62 |
4 | 145,7 | 2,6 | 50 |
5 | 175,2 | 2,3 | 82 |
6 | 161,4 | 2,3 | 66 |
По результатам измерений строят график зависимости EV2 и EVd и определяют коэффициент детерминации R2.
График зависимости EV2 и EVd представлен на рисунке Б.1.
Примечание - График построен при помощи программного комплекса MS Excel.
Рисунок Б.1 - График зависимости
EV2 и
EVd
По полученным зависимостям, представленным на
рисунке Б.1, вычисляют значение коэффициента детерминации
R2. Т.к.
R2 >= 0,85, дальнейшие испытания на характерных участках допускается выполнять только динамическим нагружением.
(обязательное)
УРАВНЕНИЯ ДЛЯ РАСЧЕТА ПОСТОЯННЫХ МНОГОЧЛЕНА
ВТОРОЙ СТЕПЕНИ ДЛЯ ОПРЕДЕЛЕНИЯ ЛИНИЙ ОСАДКИ
И ВЫВОД ФОРМУЛЫ РАСЧЕТА МОДУЛЕЙ ДЕФОРМАЦИИ
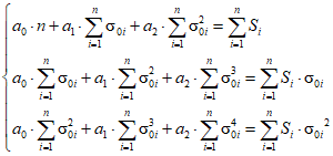
В.1 Для определения постоянных многочлена второй степени и расчета
формулы (3) по результатам испытания составляют систему линейных уравнений

(В.1)
где a0 - постоянная многочлена второй степени, мм;
n - количество ступеней нагружения;
a1 - постоянная многочлена второй степени, мм/(МН/м2);

- максимальное давление на ступени нагружения, МН/м
2;
a2 - постоянная многочлена второй степени, мм/(МН2/м4);
Si - осадка нагрузочной плиты на i-й ступени нагружения, мм.
По результатам решения системы линейных
уравнений (В.1) определяют параметры
a0,
a1 и
a2.
В.2 Модуль деформации
EV рассчитывают на основании теории упругого полупространства как секущий модуль. Секущую определяют точками квадратичной параболы, соответствующими значениям деформации при нагрузке

и

.
Модуль деформации
EV рассчитывают по
формуле (2), которую выводят следующим образом:

(В.2)
где 0,75 - коэффициент, учитывающий специфику проведения измерений нагрузочными плитами и усредненный коэффициент Пуассона;
D - диаметр нагрузочной плиты, мм;

- прирост давления в интервале от 30% до 70% от максимального давления, МН/м
2;

- максимальное давление при измерении, МН/м
2;

- прирост осадки нагрузочной плиты при давлении в интервале от 30% до 70% от максимального давления, мм;

- давление, соответствующее 70% от максимального давления, МН/м
2;

- давление, соответствующее 30% от максимального давления, МН/м
2;
S2 - осадка при давлении 70% от максимального давления, мм;
S1 - осадка при давлении 30% от максимального давления, мм;
a0 - постоянная многочлена второй степени, мм;
a1 - постоянная многочлена второй степени, мм/(МН/м2);
a2 - постоянная многочлена второй степени, мм/(МН2/м4).
(справочное)
ПРИМЕР РАСЧЕТА ПОКАЗАТЕЛЕЙ ДЕФОРМАТИВНОСТИ ПРИ ПРОВЕДЕНИИ
ИЗМЕРЕНИЙ МЕТОДОМ СТАТИЧЕСКОГО НАГРУЖЕНИЯ
В результате проведения измерений штамповой установкой статического нагружения с поворотным щупом с нагрузочной плитой диаметром 300 мм получают данные, представленные в
таблицах Г.1 -
Г.3.
Соотношение рычагов составляет

.
Таблица Г.1
Результаты измерения при первичном нагружении
Ступень нагружения | Нагрузка, кН | Давление, МН/м2 | Измеренная осадка нагрузочной плиты S1, мм | Расчетная осадка нагрузочной плиты S, мм |
0 | 0,71 | 0,01 | 0 | 0 |
1 | 5,65 | 0,08 | 0,05 | 0,1 |
2 | 11,31 | 0,16 | 0,14 | 0,28 |
3 | 17,67 | 0,25 | 0,27 | 0,54 |
4 | 23,33 | 0,33 | 0,38 | 0,76 |
5 | 29,69 | 0,42 | 0,51 | 1,02 |
6 | 35,35 | 0,50 | 0,63 | 1,26 |
Таблица Г.2
Результаты измерения при разгрузке
Ступень разгрузки | Нагрузка, кН | Давление, МН/м2 | Измеренная осадка нагрузочной плиты S1, мм | Расчетная осадка нагрузочной плиты S, мм |
1 | 17,67 | 0,25 | 0,54 | 1,08 |
2 | 8,52 | 0,12 | 0,46 | 0,92 |
3 | 0,71 | 0,01 | 0,34 | 0,68 |
Таблица Г.3
Результаты измерения при повторном нагружении
Ступень нагружения | Нагрузка, кН | Давление, МН/м2 | Измеренная осадка нагрузочной плиты S1, мм | Расчетная осадка нагрузочной плиты S, мм |
1 | 5,65 | 0,08 | 0,39 | 0,78 |
2 | 11,31 | 0,16 | 0,45 | 0,9 |
3 | 17,67 | 0,25 | 0,51 | 1,02 |
4 | 23,33 | 0,33 | 0,56 | 1,12 |
5 | 29,69 | 0,42 | 0,63 | 1,26 |
Примечание - Значение нагрузки необходимо указывать только в случае применения приборов, оборудованных динамометром.
На основании данных, представленных в
таблицах Г.1 -
Г.3, строят график с кривыми осадки при первичном нагружении, разгрузке и повторном нагружении, представленный на рисунке Г.1.

- точки измерения деформации при первичном нагружении;

- точки измерения деформации при вторичном нагружении;

- точки измерения деформации при разгрузке;
1 - соединительная линия между деформацией при 0,01 МН/м2
и деформацией при первой ступени нагрузки; 2 - первая
ступень нагрузки при первичном нагружении; 3 - секущая линия
между деформацией, соответствующей

и деформацией,
соответствующей

;
4 - квадратичная парабола,
построенная по первичному нагружению; 5 - квадратичная
парабола, построенная по повторному нагружению;
6 - начальная точка повторного нагружения;
7 - ветвь разгрузки
Рисунок Г.1 - График измерений методом статического
нагружения с нагрузочной плитой диаметром 300 мм
Для решения системы линейных
уравнений (В.1) приложения В и определения постоянных многочлена второй степени необходимо выполнить приведенную ниже последовательность действий.
1) Рассчитывают сумму давлений ступеней нагружения (ступени 1 - 6 включительно) при первом нагружении:

. (Г.1)
2) Рассчитывают

(ступени 1 - 6 включительно) при первом нагружении:

. (Г.2)
3) Рассчитывают

(ступени 1 - 6 включительно) в кубе при первом нагружении:

. (Г.3)
4) Рассчитывают

(ступени 1 - 6 включительно) в 4-й степени при первом нагружении:

. (Г.4)
5) Рассчитывают сумму осадок нагрузочной плиты на ступенях нагружения (ступени 1 - 6 включительно) при первом нагружении:

. (Г.5)
6) Рассчитывают сумму произведений осадок нагрузочной плиты и давлений на ступенях нагружения (ступени 1 - 6 включительно) при первом нагружении:

(Г.6)
7) Рассчитывают сумму произведений осадок нагрузочной плиты и квадратов давлений на ступенях нагружения (ступени 1 - 6 включительно) при первом нагружении:

(Г.7)

(Г.8)
9) Для решения системы линейных
уравнений (Г.8), представляют ее в виде матрицы коэффициентов (
A) и вектора свободных членов (
B):
10) Рассчитывают обратную матрицу по отношению к матрице A:

(Г.9)
11) Решают систему уравнений:

(Г.10)
Примечания
1 Обратная матрица - это такая матрица
A-1, при умножении на которую исходная матрица
A дает единичную матрицу. Решение системы
уравнения (В.1) приложения В возможно осуществлять иным методом, позволяющем получить точное решение.
2 В примере расчета показателей деформативности при проведении измерений методом статического нагружения значения округлены до пятого знака после запятой.
12) Определяют постоянные многочлена второй степени для первичных нагружений a0, a1 и a2:
a0 = -0,10007 a1 = 2,34965 a2 = 0,74954
13) Аналогично, по
пунктам 1) -
11) рассчитывают постоянные многочлена второй степени для повторного нагружения.
14) Определяют упругую деформацию при первичном нагружении Sу и модуль упругости Eу:
Sу = S1 - Sост = 1,26 - 0,68 = 0,58. (Г.11)

(Г.12)
На основании данных, представленных в
таблицах Г.1 -
Г.3, рассчитывают показатели
EV1,
EV2 и
Ke. Результаты расчета представлены в таблице Г.4.
Таблица Г.4
Результаты расчета показателей деформативности
Параметр | Единицы измерения | Первичное нагружение | Повторное нагружение |
| МН/м2 | 0,5 | 0,42 |
a0 | мм | -0,1 | 0,668 |
a1 | мм/(МН/м2) | 2,348 | 1,414 |
a2 | мм/(МН2/м4) | 0,752 | -0,037 |
EV | МН/м2 | 82,6 | 161,3 |
Eу | МПа | 181,1 | - |
Ke | - | 1,95 |
По результатам измерений методом статического нагружения значения показателей деформативности составляют: EV1 = 82,6 МН/м2; EV2 = 161,3 МН/м2; Ke = 1,95; Eу = 181,1 МПа.
В результате проведения измерений штамповой установкой статического нагружения с перемещающимся по оси щупом в линейном подшипнике с нагрузочной плитой диаметром 300 мм получают данные, представленные в таблицах Г.5 -
Г.7.
Таблица Г.5
Результаты измерения при первичном нагружении
Ступень нагружения | Нагрузка, кН | Давление, МН/м2 | Расчетная осадка нагрузочной плиты S, мм |
0 | 0,71 | 0,01 | 0 |
1 | 5,65 | 0,08 | 0,30 |
2 | 11,31 | 0,16 | 0,62 |
3 | 17,67 | 0,25 | 0,85 |
4 | 23,33 | 0,33 | 1,10 |
5 | 29,69 | 0,42 | 1,39 |
6 | 35,35 | 0,50 | 1,51 |
Таблица Г.6
Результаты измерения при разгрузке
Ступень разгрузки | Нагрузка, кН | Давление, МН/м2 | Расчетная осадка нагрузочной плиты S, мм |
1 | 17,67 | 0,25 | 1,38 |
2 | 8,52 | 0,12 | 1,28 |
3 | 0,71 | 0,01 | 1,04 |
Таблица Г.7
Результаты измерения при повторном нагружении
Ступень нагружения | Нагрузка, кН | Давление, МН/м2 | Расчетная осадка нагрузочной плиты S, мм |
1 | 5,65 | 0,08 | 1,09 |
2 | 11,31 | 0,16 | 1,16 |
3 | 17,67 | 0,25 | 1,24 |
4 | 23,33 | 0,33 | 1,33 |
5 | 29,69 | 0,42 | 1,51 |
Таблица Г.8
Результаты расчета показателей деформативности
Параметр | Единицы измерения | Первичное нагружение | Повторное нагружение |
| МН/м2 | 0,5 | 0,42 |
a0 | мм | -0,001 | 1,044 |
a1 | мм/(МН/м2) | 4,001 | 0,362 |
a2 | мм/(МН2/м4) | -1,883 | 1,713 |
EV | МН/м2 (МПа) | 73,5 | 184,6 |
Eу | МПа | 223,4 | - |
Ke | - | 2,51 |
По результатам измерений методом статического нагружения значения показателей деформативности составляют: EV1 = 73,5 МН/м2; EV2 = 184,6 МН/м2; Ke = 2,51; Eу = 223,4 МПа.
(рекомендуемое)
ФОРМА ПРОТОКОЛА ИЗМЕРЕНИЯ ПОКАЗАТЕЛЕЙ ДЕФОРМАТИВНОСТИ
Протокол измерения показателей деформативности
Наименование организации | |
Наименование объекта строительства | |
Местоположение измерительного участка | |
Протяженность измерительного участка | |
Наименование конструктивного слоя | |
Материал конструктивного слоя | |
Толщина конструктивного слоя, см | |
Влажность грунта земляного полотна | |
Расчетное значение модуля упругости на поверхности конструктивного слоя, МН/м2 | |
Штамповая установка статического нагружения | Наименование | |
Серийный номер | |
Информация о соответствии метрологических характеристик (вид и дата документа) | |
Диаметр нагрузочной плиты, мм | |
Показатели деформативности при статическом нагружении | Точка измерения 1 | EV1(1), МН/м2 | |
EV2(1), МН/м2 | |
Ke(1) | |
EV(1), МН/м2 | |
Точка измерения 2 | EV1(2), МН/м2 | |
EV2(2), МН/м2 | |
Ke(2) | |
Eу(1), МН/м2 | |
Точка измерения m | EV1(m), МН/м2 | |
EV2(m), МН/м2 | |
Ke(m) | |
Eу(m), МПа | |
Штамповая установка динамического нагружения | Наименование | |
Серийный номер | |
Информация о соответствии метрологических характеристик (вид и дата документа) | |
Показатели деформативности при динамическом нагружении | EVd1, МН/м2 | |
EVd2, МН/м2 | |
EVdn, МН/м2 | |
Однородность модуля деформации | V(EVd) | |
Ф.И.О. ответственных лиц | | |
Дата проведения измерений | | |
Примечания |
(рекомендуемое)
ФОРМЫ ЖУРНАЛОВ ИЗМЕРЕНИЙ МЕТОДАМИ
СТАТИЧЕСКОГО И ДИНАМИЧЕСКОГО НАГРУЖЕНИЙ
Е.1 Форма журнала измерений методом статического нагружения в точке измерения
Наименование объекта строительства | |
Наименование конструктивного слоя | |
Материал конструктивного слоя | |
Место проведения измерений | |
Дата проведения измерений | |
Ступень нагружения-разгружения | Нагрузка, кН | Давление, МН/м2 | Деформация, мм |
Первичное нагружение |
0 | | | |
1 | | | |
2 | | | |
3 | | | |
4 | | | |
5 | | | |
6 | | | |
Разгрузка |
1 | | | |
2 | | | |
3 | | | |
Повторное нагружение |
1 | | | |
2 | | | |
3 | | | |
4 | | | |
5 | | | |
Показатели деформативности |
EV1, МН/м2 | EV2, МН/м2 | Ke | Eу, МПа |
| | | |
Примечания |
Е.2 Форма журнала измерений методом статического нагружения на участке измерений
Точка измерения | Место проведения измерений | Результаты измерений |
EV1, МН/м2 | EV2, МН/м2 | Ke | Eу, МПа |
1 | | | | | |
2 | | | | | |
... | | | | | |
m | | | | | |
Среднее значение по участку | | | | | |
Е.3 Форма журнала измерений относительного показателя уплотнения методом статического нагружения на участке при послойной отсыпке насыпи земляного полотна
Точка измерения | Место проведения измерений | Результаты измерений |
EV1, МН/м2 | EV2, МН/м2 | Ke |
1 | | | | |
2 | | | | |
... | | | | |
m | | | | |
Среднее значение по участку | | | | |
Е.4 Форма журнала измерений методом динамического нагружения
Наименование объекта строительства | |
Наименование конструктивного слоя | |
Материал конструктивного слоя | |
Место проведения измерений | |
Дата проведения измерений | |
Испытание | Нагружение | S, мм |  , мм | EVd, МН/м2 |
1 | 1 | | | |
2 | |
3 | |
... | ... | | | |
n | m | | | |
Однородность модуля деформации V(EVd) на участке | | | |
УДК 625.7:006.354 | |
Ключевые слова: показатели деформативности, конструктивный слой, несвязные слои основания, грунт земляного полотна, уплотнение, штамповая установка, нагружение, модуль упругости, модуль деформации |