Главная // Актуальные документы // ГОСТ Р (Государственный стандарт)СПРАВКА
Источник публикации
М.: Стандартинформ, 2021
Примечание к документу
Документ
введен в действие с 01.06.2021.
Название документа
"ГОСТ Р 59488-2021. Национальный стандарт Российской Федерации. Дороги автомобильные общего пользования. Мостовые сооружения. Правила расчета при усилении железобетонных балочных пролетных строений"
(утв. и введен в действие Приказом Росстандарта от 18.05.2021 N 361-ст)
"ГОСТ Р 59488-2021. Национальный стандарт Российской Федерации. Дороги автомобильные общего пользования. Мостовые сооружения. Правила расчета при усилении железобетонных балочных пролетных строений"
(утв. и введен в действие Приказом Росстандарта от 18.05.2021 N 361-ст)
Утвержден и введен в действие
агентства по техническому
регулированию и метрологии
от 18 мая 2021 г. N 361-ст
НАЦИОНАЛЬНЫЙ СТАНДАРТ РОССИЙСКОЙ ФЕДЕРАЦИИ
ДОРОГИ АВТОМОБИЛЬНЫЕ ОБЩЕГО ПОЛЬЗОВАНИЯ
МОСТОВЫЕ СООРУЖЕНИЯ
ПРАВИЛА РАСЧЕТА ПРИ УСИЛЕНИИ ЖЕЛЕЗОБЕТОННЫХ
БАЛОЧНЫХ ПРОЛЕТНЫХ СТРОЕНИЙ
Automobile roads of general use. Bridge constructions.
The rules for structural analysis while strengthening
the reinforced concrete girder spans
ГОСТ Р 59488-2021
Дата введения
1 июня 2021 года
1 РАЗРАБОТАН Обществом с ограниченной ответственностью "Транспортный инжиниринг и строительство" (ООО "ТИиС")
2 ВНЕСЕН Техническим комитетом по стандартизации ТК 418 "Дорожное хозяйство"
3 УТВЕРЖДЕН И ВВЕДЕН В ДЕЙСТВИЕ
Приказом Федерального агентства по техническому регулированию и метрологии от 18 мая 2021 г. N 361-ст
4 ВВЕДЕН ВПЕРВЫЕ
Правила применения настоящего стандарта установлены в статье 26 Федерального закона от 29 июня 2015 г. N 162-ФЗ "О стандартизации в Российской Федерации". Информация об изменениях к настоящему стандарту публикуется в ежегодном (по состоянию на 1 января текущего года) информационном указателе "Национальные стандарты", а официальный текст изменений и поправок - в ежемесячном информационном указателе "Национальные стандарты". В случае пересмотра (замены) или отмены настоящего стандарта соответствующее уведомление будет опубликовано в ближайшем выпуске ежемесячного информационного указателя "Национальные стандарты". Соответствующая информация, уведомление и тексты размещаются также в информационной системе общего пользования - на официальном сайте Федерального агентства по техническому регулированию и метрологии в сети Интернет (www.gost.ru)
Настоящий стандарт распространяется на железобетонные балочные пролетные строения мостовых сооружений, расположенные на автомобильных дорогах общего пользования (далее - автомобильные дороги), и устанавливает требования к правилам расчета при усилении железобетонных балочных пролетных строений при проектировании реконструкции, капитального ремонта или ремонта мостовых сооружений.
Требования стандарта распространяются на мостовые сооружения, предназначенные для эксплуатации в любых климатических условиях и в районах с расчетной сейсмичностью до 9 баллов включительно.
В настоящем стандарте использованы нормативные ссылки на следующие документы:
ГОСТ 14759 Клеи. Метод определения прочности при сдвиге
ГОСТ 14760 Клеи. Метод определения прочности при отрыве
ГОСТ 24297 Верификация закупленной продукции. Организация проведения и методы контроля
ГОСТ 26633 Бетоны тяжелые и мелкозернистые. Технические условия
ГОСТ 27751-2014 Надежность строительных конструкций и оснований. Основные положения
ГОСТ 32656 Композиты полимерные. Методы испытаний. Испытания на растяжение
ГОСТ 32943 Материалы и системы для защиты и ремонта бетонных конструкций. Требования к клеевым соединениям элементов усиления конструкций
ГОСТ 32960-2014 Дороги автомобильные общего пользования. Нормативные нагрузки, расчетные схемы нагружения
ГОСТ 33178 Дороги автомобильные общего пользования. Классификация мостов
ГОСТ 33384-2015 Дороги автомобильные общего пользования. Проектирование мостовых сооружений. Общие требования
ГОСТ 33390-2015 Дороги автомобильные общего пользования. Мосты. Нагрузки и воздействия
ГОСТ Р 53772 Канаты стальные арматурные семипроволочные стабилизированные. Технические условия
ГОСТ Р 55374 Прокат из стали конструкционной легированной для мостостроения. Общие технические условия
ГОСТ 5781 Сталь горячекатаная для армирования железобетонных конструкций. Технические условия
ГОСТ 7348 Проволока из углеродистой стали для армирования предварительно напряженных железобетонных конструкций. Технические условия
СП 63.13330.2018 "СНиП 52-01-2003 Бетонные и железобетонные конструкции. Основные положения"
СП 79.13330.2012 "СНиП 3.06.07-86 Мосты и трубы. Правила обследований и испытаний"
СП 164.1325800.2014 Усиление железобетонных конструкций композитными материалами. Правила проектирования
Примечание - При пользовании настоящим стандартом целесообразно проверить действие ссылочных стандартов (сводов правил) в информационной системе общего пользования - на официальном сайте Федерального агентства по техническому регулированию и метрологии в сети Интернет или по ежегодному информационному указателю "Национальные стандарты", который опубликован по состоянию на 1 января текущего года, и по выпускам информационного указателя "Национальные стандарты" за текущий год. Если заменен ссылочный документ, на который дана недатированная ссылка, то рекомендуется использовать действующую версию этого документа с учетом всех внесенных в данную версию изменений. Если заменен ссылочный документ, на который дана датированная ссылка, то рекомендуется использовать версию этого документа с указанным выше годом утверждения (принятия). Если после утверждения настоящего стандарта в ссылочный документ, на который дана датированная ссылка, внесено изменение, затрагивающее положение, на которое дана ссылка, то это положение рекомендуется применять без учета данного изменения. Если ссылочный документ отменен без замены, то положение, в котором дана ссылка на него, рекомендуется применять в части, не затрагивающей эту ссылку.
В настоящем стандарте применены следующие термины с соответствующими определениями:
3.1
несущая способность: Максимальный эффект воздействия, реализуемый в строительном объекте без превышения предельных состояний. |
3.2
надежность: Способность строительного объекта выполнять требуемые функции в течение расчетного срока эксплуатации. |
3.3
нормальная эксплуатация: Эксплуатация строительного объекта в соответствии с условиями, предусмотренными в строительных нормах или задании на проектирование, включая соответствующее техническое обслуживание, капитальный ремонт и реконструкцию. |
3.4 грузоподъемность пролетного строения: Показатель технического состояния, соответствующий максимальному воздействию временной вертикальной нагрузки, при котором в основных несущих конструкциях пролетного строения не наступает предельное состояние первой группы.
3.5 ламель: Полимерный композиционный материал (ПКМ) в виде тонкой пластины, армированной одним слоем армирующего наполнителя.
3.6 холст: Полимерный композиционный материал (ПКМ) в виде гибкой ткани с одно- или двунаправленным расположением волокон.
3.7 неподатливое соединение: Конструкция объединения стыкуемых элементов, позволяющая при расчете принимать их как единое целое (не допускающее взаимного сдвига и поворота).
3.8 виброползучесть бетона: Увеличение деформаций при вибрационных нагрузках, объясняемое тиксотропными свойствами гелевой составляющей цементного камня.
4.1 Усиление железобетонных балочных пролетных строений при реконструкции, капитальном ремонте или в рамках производства работ по ремонту мостовых сооружений следует выполнять в том случае, если несущая способность одной или нескольких главных балок с учетом дефектов и повреждений не обеспечивает надежность пролетного строения при его нормальной эксплуатации.
4.2 В рамках производства работ по ремонту мостовых сооружений допускается оценивать несущую способность главных балок до и после усиления только по I группе предельных состояний (по грузоподъемности). При проектировании реконструкции или капитального ремонта необходимо оценивать несущую способность железобетонных балочных пролетных строений по I и II группам предельных состояний согласно
ГОСТ 27751.
4.3 Требования настоящего стандарта распространяются на балочные пролетные строения с классификационными признаками в соответствии с
ГОСТ 33178:
- по материалу пролетного строения: железобетонные преднапряженные и железобетонные с ненапрягаемой арматурой;
- по виду очертания в плане: прямые, косые, криволинейные и сложные;
- по типу сопряжения пролетов (статической схеме): разрезные, неразрезные, температурно-неразрезные, консольные;
- по типу основной несущей конструкции: балки ребристые с диафрагмами, балки ребристые без диафрагм, коробчатые.
4.4 Усиление каждого мостового сооружения должно выполняться по индивидуальному проекту, исходя из его фактического состояния.
Железобетонные балочные пролетные строения могут быть усилены следующими методами:
а) с использованием монолитных, сборно-монолитных или сборных накладных плит;
б) изменение статических схем пролетных строений за счет объединения разрезных балочных пролетных строений в неразрезные;
в) установка и омоноличивание дополнительной арматуры в растянутых зонах балок;
г) усиление балок полимерными композиционными материалами (ПКМ) в виде ламелей или холстов;
д) усиление балок комбинированными металлическими каркасами (внешнее жесткое армирование);
е) установка и включение в работу напрягаемых элементов (шпренгельных конструкций) из высокопрочных материалов (стержней, прядей, канатов).
4.5 Усиление по
4.4, а) с использованием накладных плит допускается только при одновременном выполнении следующих условий:
а) соединение накладной плиты с существующими конструкциями главных балок является неподатливым, конструктивно обеспечивает передачу усилий между накладной плитой и главными балками; выполняются проверки прочности каждого соединительного элемента на сдвиг по всей площади объединения. На концевых участках пролетных строений следует также учитывать усилия, отрывающие плиту от балки. Усилия сдвига и отрыва воспринимают только соединительные элементы, сцепление бетона накладной плиты с бетоном главной балки не учитывается. Элементы соединения монолитных накладных плит с главными балками рекомендуется устраивать согласно схемам, приведенным в
приложении А;
б) расчетные проверки для главных балок и накладной плиты выполняются с учетом всех стадий изменения поперечных сечений несущих конструкций и последовательности загружения постоянными и временными нагрузками;
в) выполняется условие

(1)
где

- приращение допустимых усилий от временной нагрузки вследствие увеличения рабочей высоты сечения, усиленного накладной плитой;

- приращение усилий от постоянной нагрузки.
4.6 Усиление по
4.4, б) с переводом статически разрезных схем в балочно-неразрезные может выполняться только при обеспечении расчетных проверок всех характерных сечений главных балок по I и II группам предельных состояний, а также трещинообразования растянутого бетона в надопорных зонах.
4.7 Все методы усиления должны предусматривать максимально возможную разгрузку (определяется для каждого конкретного случая индивидуально) пролетных строений от постоянной нагрузки перед началом монтажа конструкций усиления. До момента включения конструкций усиления в совместную работу с главными балками, собственный вес и вес конструкций усиления воспринимается главными балками с учетом их фактического состояния (с дефектами и повреждениями при их наличии).
При оценке рациональности метода усиления по критерию доведения несущей способности до уровня, обеспечивающего требуемую надежность пролетного строения при проектировании реконструкции, капитального ремонта или ремонта мостового сооружения, следует выбирать метод, при котором проводится необходимое и достаточное усиление ослабленных (не соответствующих требуемому уровню надежности) сечений, и не проводится необоснованное чрезмерное усиление остальных сечений.
4.8 Методы усиления с использованием накладных плит
(4.4, а) и комбинированных металлических каркасов
(4.4, д), как правило, применяются на ребристых разрезных пролетных строениях с ненапрягаемой арматурой.
4.9 Для балочно-неразрезных и консольных пролетных строений с недостаточной несущей способностью в зонах действия отрицательных изгибающих моментов (над промежуточными опорами) может оказаться эффективным комбинированное усиление с использованием монолитной накладной плиты
(4.4, а) совместно с установкой и омоноличиванием дополнительной арматуры в этих зонах
(4.4, в) в теле накладной плиты.
4.10 Метод усиления композиционными материалами
(4.4, г), как правило, обеспечивает высокую эффективность в тех случаях, когда требуется усиление растянутых зон (либо, при использовании предварительного натяжения, где требуется дополнительное обжатие).
4.11 Перевод статически разрезных схем в балочно-неразрезные
(4.4, б) рекомендуется для пролетных строений, позволяющих использовать существующие конструкции в качестве несъемной опалубки для устройства участков омоноличивания.
4.12 Установка напрягаемых элементов (шпренгелей) из высокопрочных материалов
(4.4, е) может применяться для всех типов пролетных строений с классификационными признаками, указанными в
4.3, при условии обеспечения долговечности конструкций усиления, а также при обязательной проверке напряжений в усиливаемых конструкциях, вызванных дополнительным обжатием.
5 Общие сведения о применяемых расчетных моделях
5.1 Пролетные строения с конструкциями усиления следует рассчитывать по предельным состояниям, учитывая требования безопасности
статьи 3 [1], рекомендации настоящего раздела,
разделов 6,
7 и рекомендаций, приведенных в
приложении Б. Схемы нагружения и классы нагрузок АК и НК по
ГОСТ 32960, расчетные коэффициенты, прочие нагрузки и воздействия и их сочетания по
ГОСТ 33390. Расчет конструкций по устойчивости против опрокидывания по ГОСТ 33384-2015
(пункт 7.4), по устойчивости против сдвига по ГОСТ 33384-2015
(пункт 7.5). Проверки пролетных строений с конструкциями усиления по деформациям и перемещениям следует выполнять согласно критериям, указанным в ГОСТ 33384-2015
(пункт 8.2).
Допускается выполнять расчеты с использованием нелинейной деформационной модели (НДМ), базирующейся на применении:
- уравнений равновесия;
- уравнений, определяющих распределение деформаций по сечению;
- зависимостей, связывающих напряжения и относительные продольные деформации бетона, стальной арматуры (существующей), и внешней арматуры (усиления);
- гипотезы плоских сечений (при обосновании расчетом соединительных элементов, обеспечивающих совместность работы конструкций усиления с главными балками).
5.2 В расчетах с использованием НДМ применяются диаграммы деформирования бетона и арматуры согласно указаниям
СП 63.13330.2018. Значения предельных относительных деформаций согласно СП 35.13330.2011 (
пункты 7.32 и
7.47):
- для растянутой ненапрягаемой арматуры

, напрягаемой

;
- для бетона в случае осевого сжатия

;
- для бетона в случае сжатия с изгибом

;
- для бетона в случае осевого растяжения

;
- для бетона в случае растяжения с изгибом

.
Значение модулей упругости бетона, ненапрягаемой и напрягаемой арматуры, а также их расчетных сопротивлений, при отсутствии опытных данных следует принимать согласно СП 35.13330.2011
(раздел 7).
5.3 Во всех расчетах железобетонных элементов пролетных строений мостов, проводимых по формулам упругого тела, кроме расчетов элементов с ненапрягаемой арматурой на выносливость и на трещиностойкость, следует использовать отношения модулей упругости
n1 (
Es/
Eb или
Er/
Eb). При расчетах элементов с ненапрягаемой арматурой на выносливость и на трещиностойкость, при определении напряжений и геометрических характеристик приведенных сечений площадь арматуры учитывается согласно СП 35.13330.2011
(пункт 7.48) с коэффициентом отношения модулей упругости
n', при котором учитывается виброползучесть бетона, в зависимости от классов:
- B20: 22,5;
- B22,5 и B25: 20;
- B27,5: 17;
- B30 и B35: 15;
- B40 и выше: 10.
5.4 Модуль упругости и модуль сдвига стальных элементов усиления из марок стали 09Г2СД, 15ХСНД, 14ХГНДЦ, 10ХСНД (классы прочности C325, C345, C390) принимаются равными: E = 206 ГПа, G = 78 ГПа.
5.5 Расчеты стальных элементов усиления железобетонных балочных пролетных строений следует проводить в упругой стадии, без использования коэффициентов, учитывающих ограниченное развитие пластических деформаций в сечении.
5.6 Для стальных элементов, ослабленных отверстиями под обычные болты, при расчетах на прочность и выносливость согласно СП 35.13330.2011
(пункт 8.24) следует принимать сечения нетто, а на устойчивость и жесткость - сечения брутто. Для элементов с фрикционными соединениями на высокопрочных болтах на выносливость, устойчивость и жесткость следует принимать сечения брутто, а на прочность - нетто с уменьшением усилия, приходящегося на ослабленное сечение, на 50% вследствие того, что остальная часть усилия, приходящегося на данный болт, уже передана силами трения.
5.7 При усилении с использованием напрягаемых элементов необходимо учитывать потери предварительного напряжения СП 35.13330.2011
(пункт 7.10).
В усиливаемых конструкциях из предварительно напряженного железобетона вторые потери не учитывают. В усиливаемых конструкциях из железобетона с ненапрягаемой арматурой учитывают вторые потери, за исключением потерь от усадки бетона.
5.8 Физико-механические характеристики композиционных материалов должны быть определены испытаниями по ГОСТ 32656. Деформации сдвига в клеевом слое не учитывают.
ПКМ должны иметь сопроводительную документацию, подтверждающую их соответствие нормативным требованиям, включая паспорта качества, и должны подвергаться входному контролю по
ГОСТ 24297.
5.9 При расчете по прочности нормальных сечений конструкций, усиленных ПКМ, для существующей растянутой ненапрягаемой арматуры должно выполняться условие

(2)
для существующей растянутой напрягаемой арматуры

(3)
где

,

- предельные относительные деформации растянутой арматуры по
5.2;

,

- начальное значение относительной деформации соответственно ненапрягаемой и напрягаемой существующей арматуры конструкции;
Rf, Ef - расчетное сопротивление растяжению и модуль упругости композиционного материала.
6.1 Нормативные вертикальные нагрузки от собственного веса пролетных строений, элементов усиления и мостового полотна следует определять по фактическим (определенным по результатам обследования существующих элементов и конструкций) или проектным (для новых элементов и конструкций) объемам элементов и частей конструкции, включая постоянные смотровые приспособления, опоры и провода линий электропередач и связи и другие коммуникации. Для балочных пролетных строений нагрузку от собственного веса в соответствии с ГОСТ 33390-2015
(пункт 4.1) допускается предусматривать равномерно распределенной по длине пролета, если величина ее на отдельных участках отклоняется от средней величины не более чем на 10%.
6.2 Ползучесть бетона сжатых накладных плит в статически неопределимых конструкциях необходимо учитывать при определении усилий от постоянных нагрузок и воздействий, если наибольшие напряжения в бетоне от них превосходят 0,2
Rb, где
Rb - расчетное сопротивление бетона сжатию.
6.3 При расчетах на усадку бетона элементов усиления разгружающее влияние усадки не учитывается.
В статически неопределимых конструкциях перераспределение усилий от усадки и ползучести бетона, а также саморазогрева бетона в процессе твердения в направлении их преобладающего влияния допускается учитывать путем умножения суммарных расчетных усилий от расчетных сочетаний нагрузок на коэффициент учета неупругих деформаций 1,1 (0,9). Значение в скобках следует принимать в случаях, когда при этом сочетании нагрузок создается более невыгодное воздействие на элементы конструкции.
6.4 Класс нагрузки от транспортных средств "К" для нагрузок АК и НК и схемы нагружения следует принимать в соответствии с
ГОСТ 32960.
6.5 Нагрузка на тротуары мостовых сооружений принимается согласно ГОСТ 32960-2014
(пункт 3.5) при учете совместно с нагрузкой АК, и 4,0 кПа при отсутствии нагрузки АК.
6.6 Расчетную сейсмичность определяют по СП 268.1325800.2016
(раздел 4). Сейсмическое воздействие учитывается при расчете пролетных строений и элементов усиления по I группе предельных состояний.
6.7 При учете совместно с сейсмическими воздействиями динамический коэффициент к временной подвижной нагрузке

принимается равным 1,0.
6.8 Коэффициенты сочетания для временных подвижных и сейсмических нагрузок следует принимать равными:
- 1,0 - для сейсмических нагрузок, действующих совместно с постоянными без учета временных подвижных;
- 0,8 - для сейсмических нагрузок совместно с нагрузками от подвижного состава;
- 0,5 - для временных подвижных нагрузок совместно с сейсмическими.
7 Учет конструктивно-технологических факторов в расчетах пролетных строений с элементами усиления
7.1 Расчеты пролетных строений с усилением следует выполнять по стадиям, число которых
n =
n1 +
n2 +
n3 +
n4 определяется:
а) количеством частей поперечных сечений, последовательно включаемых в работу n1;
б) количеством участков одновременного бетонирования дополнительных конструкций по длине пролетного строения (при бетонировании захватками) n2;
в) количеством мероприятий по регулированию усилий n3;
г) количеством изменений статической схемы пролетного строения n4.
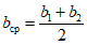
Для каждого участка и для каждой части сечения действующие напряжения определяются суммированием их по стадиям работы.
7.2 При расчете на поперечную силу наклонных сечений ребристых главных балок, усиленных монолитной накладной плитой, последняя учитывается только в пределах средней ширины ребра балки
(рисунок 1):
b1 - ширина ребра балки в нижней части; b2 - ширина ребра
балки в уровне нижней плоскости плиты (без учета вутов);

- среднее значение ширины ребра балки;
hб - полная высота сечения балки; hнп - высота сечения
накладной плиты, УМС - участок монолитный средний
Рисунок 1 - Схема определения геометрических размеров
бетонного сечения ребра балки с накладной плитой
при расчете наклонных сечений на поперечную силу
7.3 Сборная накладная плита не учитывается при расчетах несущей способности наклонных сечений главных балок на поперечную силу. Если применяется сборно-монолитная накладная плита, то в расчетах на поперечную силу учитываются только участки монолитной плиты над ребрами балок согласно
рисунку 1.
7.4 Расчеты по прочности железобетонных балок, усиленных внешними напрягаемыми элементами, не имеющими сцепления с бетоном, проводятся с учетом СП 35.13330.2011
(пункт 7.65) при расчете нормальных сечений, и с учетом СП 35.13330.2011 (
пункты 7.78 и
7.85) при расчете наклонных сечений.
7.5 Элементы соединения конструкций усиления с главными балками должны быть рассчитаны на усилия от действующих на них постоянных нагрузок (с учетом последовательности монтажа и момента их включения в совместную работу) и временных подвижных нагрузок. Усиливаемые конструкции должны быть проверены на местные напряжения и смятие бетона в местах установки соединительных элементов согласно
[2].
7.6 Элементы соединения (за исключением анкеров, рассчитываемых как гибкие упоры и устанавливаемых по правилам анкеровки арматуры согласно
А.1 и
А.2 без проверки по местным напряжениям) рекомендуется располагать таким образом, чтобы местные напряжения были минимальными и не требовали установки дополнительной арматуры или увеличения бетонного сечения усиливаемой балки. Не рекомендуется установка элементов соединения в зонах действия главных растягивающих напряжений в бетоне усиливаемой конструкции, близких к предельным значениям.
7.7 Если в местах установки элементов соединения не обеспечивается трещиностойкость и (или) проверка по главным растягивающим напряжениям, необходимо выполнить усиление сечения балки (увеличение бетонного сечения, установка дополнительной арматуры) с повторным выполнением проверок по местным напряжениям либо переместить элементы соединения в сжатую зону бетона с отгибом внешней арматуры под углом не более 45°.
7.8 При усилении внешним армированием (в том числе в виде ПКМ), устанавливаемым в растянутой зоне балки, необходимо проверять относительную высоту сжатой зоны бетона согласно СП 35.13330.2011
(пункт 7.61), с учетом элементов усиления.
7.9 При усилении комбинированными металлическими каркасами не следует учитывать сцепление с усиливаемой конструкцией по клеевому шву. Растяжение в основном элементе усиления (как правило, в виде жесткой арматуры - швеллера, установленного на низ ребра балки) должно полностью восприниматься тяжами и упорами, с помощью которых жесткая арматура прикреплена к ребру балки.
8 Регулирование усилий при усилении железобетонных пролетных строений
8.1 Регулирование заключается в том, что в конструкции тем или иным способом искусственно создаются начальные постоянно действующие усилия, обратные по знаку тем, которые возникают от эксплуатационных нагрузок. Напряжения в элементах от эксплуатационной нагрузки суммируются с напряжениями от начальных усилий и могут быть существенно снижены.
8.2 При усилении балочных пролетных строений наиболее эффективным способом регулирования усилий, как правило, является максимально возможная разгрузка усиливаемых элементов от постоянных нагрузок непосредственно перед монтажом элементов усиления и вплоть до их включения в совместную работу.
8.3 В случаях, когда используется возможность передачи всех постоянных нагрузок (в том числе от собственного веса усиливаемых конструкций) в процессе усиления на временные поддерживающие конструкции, допускается проводить расчет несущей способности сечений в одну стадию, предполагая, что всю постоянную нагрузку после демонтажа поддерживающих конструкций воспринимает усиленное сечение (
n1 = 1 по
7.1).
8.4 Технологические приемы регулирования усилий в неразрезных пролетных строениях разрабатываются индивидуально для каждого конкретного объекта усиления и включают в себя один или несколько методов:
а) определение оптимального порядка монтажа/демонтажа конструкций;
б) поэтапное введение конструкции в работу с изменением статической схемы и (или) геометрических характеристик сечений;
в) установка временных пригрузов в определенных местах конструкции и на определенных этапах монтажа/демонтажа;
г) изменение отметок узлов опирания после замыкания системы (как правило, с целью снижения отрицательных изгибающих моментов над промежуточными опорами путем подъемки концов пролетного строения на крайних опорах, или опускания узлов опирания на промежуточных опорах).
8.5 Основным конструктивным приемом регулирования усилий и напряжений в разрезных и неразрезных пролетных строениях является добавление напрягаемых затяжек (шпренгелей): прямолинейных - для усиления балок на действие изгибающего момента, полигональных - для усиления на действие изгибающего момента и поперечной силы (см. также
приложение А). При использовании данного метода обязательно следует выполнять проверки общих и местных (в местах расположения анкеров и оттяжек) напряжений в усиливаемых конструкциях с учетом их дополнительного обжатия.
9 Технические требования к объединению элементов усиления с существующими конструкциями
9.1 Для монолитных, сборно-монолитных и сборных элементов усиления (накладные плиты, участки установки и омоноличивания дополнительной арматуры, соединительные участки при переводе разрезных схем в неразрезные и т.п.) следует использовать бетон с классом прочности на сжатие по
ГОСТ 26633 не ниже B30, но не менее, чем у главных балок усиливаемого пролетного строения.
9.2 Ненапрягаемая арматура элементов усиления - А240, А400 по
ГОСТ 5781.
9.3 Напрягаемые элементы усиления, как правило, следует принимать в виде пучков из высокопрочной гладкой проволоки В1500 - В1200 по
ГОСТ 7348 или канатов К7 по
ГОСТ Р 53772. При внешнем армировании необходимо обеспечить надежную антикоррозионную защиту на весь срок службы элементов усиления.
9.4 Комбинированные металлические каркасы следует выполнять, как правило, из стали марок 09Г2СД, 15ХСНД, 14ХГНДЦ, 10ХСНД (классы прочности C325, C345, C390) по
ГОСТ Р 55374.
9.5 Технические требования к композиционным материалам принимают по нормативной документации производителей. В общем случае должны быть обеспечены следующие минимальные требования к ремонтируемой поверхности:
а) класс прочности бетона балок на сжатие при наклейке холстов должен быть не ниже B25, при наклейке ламелей - не ниже B30;
б) прочность на осевое растяжение бетона балок в зоне наклейки композитов должна быть не менее 1,0 МПа при применении холстов, и не менее 1,5 МПа при применении ламелей;
в) глубина карбонизации бетона не должна превышать толщину защитного слоя;
г) перед наклейкой ПКМ бетонное основание должно быть выровнено. Допустимые отклонения от ровности поверхности составляют 5 мм на базе 2 м или 1 мм на базе 0,3 м;
д) клеевые смеси подбираются исходя из климатических условий, и должны обеспечивать отсутствие относительного сдвига между композиционным материалом и поверхностью бетона. Для клеящих составов должны быть определены прочность на сдвиг по
ГОСТ 14759, и прочность на отрыв по
ГОСТ 14760;
е) требования к клеевым соединениям элементов усиления по
ГОСТ 32943.
(рекомендуемое)
ТИПОВЫЕ УЗЛЫ И КОНСТРУКЦИИ УСИЛЕНИЯ ЖЕЛЕЗОБЕТОННЫХ БАЛОК
А.1 Элементы соединения монолитных накладных плит с главными балками рекомендуется устраивать по двум вариантам применительно к схемам на
рисунке А.1:
ds - диаметр соединительного элемента (анкерного стержня);
han - глубина анкеровки в главную балку; sарм - шаг арматуры
накладной плиты, расположенной перпендикулярно к оси балки;
nарм - число стержней этой арматуры.
Для радиусов загиба без скобок дано значение для гладкой
арматуры, в скобках - периодического профиля
Рисунок А.1 - Варианты узлов соединения накладной плиты
с главной балкой
Вариант 1 предполагает установку одиночных стержней с крюками на концах, расположенных согласно направлению сдвига (для разрезных балок - от середины пролета к торцам). Шаг таких стержней совпадает с шагом поперечной (горизонтальной и расположенной поперек оси балки) арматуры накладной плиты.
Вариант 2 предполагает установку П-образных скоб, для которых направление сдвига не имеет значения. Такие скобы охватывают поперечные стержни накладной плиты попарно.
В поперечном сечении балки соединительные элементы рекомендуется устанавливать парами симметрично оси ребра, с расстоянием между стержнями в свету не менее 3ds. Вдоль оси балки расстояние в свету между соседними соединительными элементами также должно быть не менее 3ds.
Глубина анкеровки han составляет:
- при анкеровке в сжатой от постоянных нагрузок зоне бетона (во всех случаях при устройстве накладной плиты на разрезных пролетных строениях): не менее 20ds, но не менее 250 мм для арматуры класса А240; не менее 12ds для арматуры класса А400;
- при анкеровке в растянутой от постоянных нагрузок зоне бетона (усиление согласно
4.9) применение гладкой арматуры не допускается. Глубина анкеровки арматуры класса А400 в этом случае должна быть не менее 30
ds.
А.2 Сдвигающее усилие
Sh, приходящееся на одну ветвь соединительного элемента, выполненного по
А.1, должно удовлетворять условиям прочности
- по бетону

(А.1)
где ds - диаметр ветви соединительного элемента, см;
Rb - расчетное сопротивление бетона на сжатие, МПа (наименьшее среди значений для накладной плиты и для главной балки);
- по металлу соединительного элемента на срез

(А.2)
где Rs - расчетное сопротивление соединительного элемента, МПа;
m = 0,8 - коэффициент условий работы соединительного элемента.
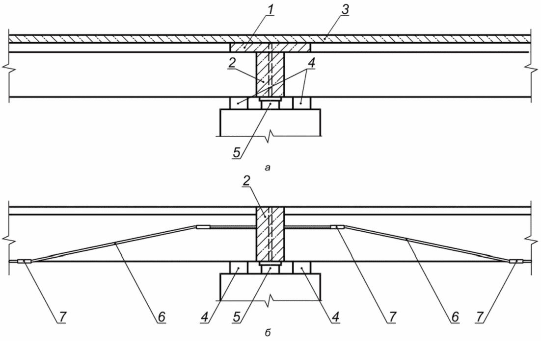
А.3 Усиление изгибаемых балочных конструкций с использованием полимерных композиционных материалов (ПКМ) осуществляется путем их наклейки на нижнюю поверхность ребра с направлением волокон вдоль оси усиливаемой конструкции либо на боковую грань ребра балки с направлением волокон перпендикулярно или под углом к продольной оси пролетного строения. ПКМ используется в виде холстов (гибких тканей с одно- или двунаправленным расположением волокон; могут применяться в виде хомутов при усилении балок пролетных строений, имеющих сложную конфигурацию) или пластин (ламелей). Возможна наклейка ПКМ на нижнюю часть ребра в виде U-образной обоймы с закреплением вертикальными холстами (хомутами) или без них. На
рисунках А.2,
А.3 и
А.4 показаны возможные (но не исчерпывающие) схемы усиления.
Рисунок А.2 - Схема усиления слоями ПКМ на нижней грани
двутавровых и тавровых балок с закреплением
вертикальными хомутами
Рисунок А.3 - Схема усиления слоями ПКМ на нижней грани
двутавровых и тавровых балок с закреплением
наклонными хомутами
Рисунок А.4 - Схема усиления с устройством U-образной обоймы
Конструкция усиливающих элементов должна обеспечивать возможность миграции влаги из тела бетона. Максимальное количество слоев усиления ограничивается расчетной силой сцепления с поверхностью основания. Первый слой продольной полосы пластины или холста следует заводить в зону, где действующие усилия не приводят к его отслоению, а каждый последующий слой следует обрезать не ближе 150 мм от обреза предыдущего слоя. Количество слоев приклейки рекомендуется принимать: для пластин - не более трех, для холстов - не более пяти.
Для усиления по наклонным сечениям в приопорной зоне рекомендуется устанавливать вертикальные либо наклонные холсты (хомуты). При вертикальных хомутах следует их наклеивать таким образом, чтобы каждый продольный слой был перехвачен соответствующим вертикальным хомутом. Наклонные хомуты выполняются из двух отрезков, стыкуемых по нижней (потолочной) поверхности ребра.
При оборачивании конструкций с наружных углов должна быть снята фаска с катетом от 20 до 30 мм или сделано скругление радиусом от 20 до 30 мм. На внутренних углах ремонтными смесями должна быть выполнена галтель радиусом не менее 200 мм в соответствии с
рисунком А.5:
а - фаска; б - скругление; в - галтель
Рисунок А.5 - Пример подготовки углов конструкции
к наклейке холстов ПКМ
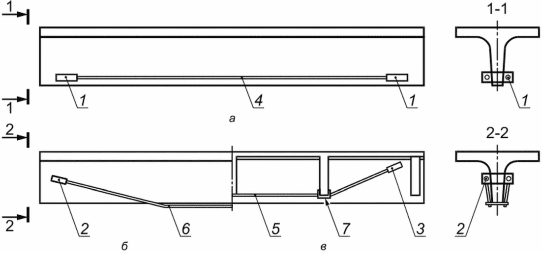
А.4 Схемы усиления железобетонных пролетных строений путем перевода статически разрезных систем в балочно-неразрезные могут быть представлены двумя основными типами, показанными на
рисунке А.6:
1 - участок омоноличивания по плитам балок; 2 - участок
омоноличивания по ребрам (торцам); 3 - монолитная накладная
плита; 4 - опорная часть разрезной балки (демонтируется
после выполнения работ); 5 - опорная часть неразрезной
балки; 6 - дополнительная внешняя высокопрочная арматура;
7 - оттяжка
Рисунок А.6 - Основные способы перевода статически разрезных
пролетных строений в балочно-неразрезные
По схеме а на торцах балок и приопорных участках плиты проводят частичную разборку бетона с оголением и объединением существующей арматуры; при наличии конструктивной возможности добавляют арматуру в верхней зоне 1. В случае недостаточной площади сечения продольной арматуры плит балок для работы на отрицательный момент (обусловленной ее малым диаметром в типовых конструкциях) возможно устройство монолитной накладной плиты 3 с усиленным продольным армированием в надопорной зоне. Монолитные участки, объединяющие ребра балок, могут быть выполнены в виде диафрагмы на всю ширину пролетного строения.
Схема б предполагает устройство дополнительной внешней полигональной высокопрочной арматуры, которая во вновь образованной неразрезной балке располагается в верхней зоне надопорного сечения и воспринимает отрицательный изгибающий момент.
А.5 Усиление разрезных балок предварительно напряженными элементами из высокопрочных материалов, как правило, выполняют в виде прямолинейных или полигональных шпренгелей (напрягаемых затяжек) в соответствии с принципиальными схемами, показанными на
рисунке А.7:
1 - 3 - анкерные узлы различной конструкции;
4 - прямолинейные и 5 - полигональные шпренгели
(напрягаемые затяжки); 6, 7 - оттяжки (огибающие
устройства) различной конструкции
Рисунок А.7 - Принципиальные схемы размещения внешней
высокопрочной напрягаемой арматуры на ребристых разрезных
пролетных строениях с диафрагмами и без них
Шпренгели, как правило, выполняют из двух ветвей, расположенных симметрично по разным сторонам ребра балки. При прямолинейном шпренгеле (
рисунок А.7,
а) происходит увеличение предельного изгибающего момента, а при полигональном (
рисунок А.7,
б,
в) дополнительно увеличивается предельная поперечная сила в приопорных зонах. В балках с диафрагмами допускается опирание на них оттяжек.
Конструкции анкерных узлов и огибающих устройств определяются расчетами на смятие бетона и местные напряжения элементов балки, к которым они монтируются (стенка, нижний пояс, диафрагма), а также расчетами самих анкерных узлов и огибающих устройств на главные и эквивалентные напряжения, местную устойчивость элементов согласно
[2].
Пример крепления напрягаемой затяжки к ребру тавровой балки показан на
рисунке А.8:
1 - внутренний цилиндрический упор, устанавливаемый
в просверленное в ребре отверстие (при сверлении отверстий
запрещается перерезать рабочую арматуру в ребре балки);
2 - анкер для закрепления каната; 3 - бетон омоноличивания
анкерного узла; 4 - пучок из одиночного каната К7
в полиэтиленовой трубке d = 32 мм; 5 - цилиндрическое
отгибающее устройство
Рисунок А.8 - Вариант схемы размещения внешней высокопрочной
напрягаемой арматуры на крайней балке пролетного строения
длиной 11,36 м
(рекомендуемое)
ТРЕБОВАНИЯ К СОСТАВЛЕНИЮ РАСЧЕТНЫХ СХЕМ
ЖЕЛЕЗОБЕТОННЫХ ПРОЛЕТНЫХ СТРОЕНИЙ МОСТОВ С УСИЛЕНИЕМ
В ПРОГРАММНЫХ КОМПЛЕКСАХ, РЕАЛИЗУЮЩИХ МКЭ
Б.1 Пролетные строения мостов совместно с элементами усиления необходимо рассчитывать на действие постоянных и неблагоприятных сочетаний временных нагрузок. Расчеты следует выполнять по предельным состояниям в соответствии с требованиями
ГОСТ 27751 и
СП 35.13330.2011.
Б.2 Расчет главных балок пролетных строений и элементов усиления необходимо выполнять с учетом их совместной пространственной работы.
Б.3 В расчетах следует учитывать косину и расположение пролетных строений на кривой в плане.
Б.4 В расчетах усиления пролетных строений следует учитывать последовательность установки элементов усиления и мероприятия по регулированию усилий (при их наличии).
Б.5 В случае устройства на пролетном строении монолитной накладной плиты в расчетах следует учитывать неупругие деформации от длительных процессов согласно
6.2 и
6.3.
Б.6 Значения коэффициентов надежности к постоянным нагрузкам и воздействиям следует принимать по
ГОСТ 33390.
Б.7 Нормативное значение временной нагрузки от подвижного состава и пешеходов, схемы установки временной нагрузки на пролетном строении, значения коэффициентов надежности и динамичности, а также значения коэффициентов полосности при многополосном движении следует учитывать в соответствии с
ГОСТ 32960.
Б.8 При составлении расчетных схем железобетонных балочных пролетных строений мостов с элементами усиления в программных комплексах, реализующих метод конечных элементов (МКЭ), допускается главные балки пролетных строений и элементы усиления моделировать стержневыми конечными элементами.
Б.9 Взаимное расположение нейтральных осей всех несущих стержневых конечных элементов должно соответствовать реальным геометрическим характеристикам пролетных строений.
Б.10 На тех участках, где элементы усиления не имеют связей с главными балками, моделирующие их конечные элементы также не должны иметь связей с КЭ главных балок. На остальных участках связи КЭ между собой должны моделировать реальную работу соединений (жесткое, абсолютный шарнир или шарнир с конечной жесткостью).
Б.11 Расчет железобетонных балочных пролетных строений с элементами усиления по прочности в общем случае следует проводить по предельным деформациям с использованием нелинейной деформационной модели и диаграмм деформирования бетона и арматуры согласно указаниям
раздела 5.
Расчет по прочности наклонных сечений, усиленных композиционными материалами, на действие поперечной силы следует выполнять согласно СП 164.1325800.2014
(пункт 6.4), принимая поперечную силу, воспринимаемую бетоном и поперечной стальной арматурой согласно СП 35.13330.2011
(пункт 7.78). Предельное значение поперечной силы с учетом усиления не должно превышать значение прочности бетона между наклонными трещинами, вычисленное без учета усиления ПКМ по СП 35.13330.2011
(пункт 7.77).
(справочное)
ПРАВИЛА ИСПЫТАНИЙ ЖЕЛЕЗОБЕТОННЫХ ПРОЛЕТНЫХ СТРОЕНИЙ МОСТОВ
ПОСЛЕ ВЫПОЛНЕНИЯ РАБОТ ПО ИХ УСИЛЕНИЮ
В.1 Испытания железобетонных пролетных строений мостов после выполнения работ по их усилению проводят с учетом требований
СП 79.13330.2012 и рекомендаций настоящего приложения.
В.2 Испытания пролетных строений мостов после их усиления следует, как правило, проводить непосредственно после выполнения работ по усилению (приемочные испытания) с целью контроля их напряженно-деформированного состояния, выявления особенностей работы и соответствия их проектным параметрам и расчетам.
В.3 Для железобетонных балочных пролетных строений, усиленных по методам
4.4, а),
б) и
в), рекомендуется проведение статических и динамических испытаний (после того, как бетон элементов усиления наберет 100% прочности). Для остальных типов усиления рекомендуется использовать только статические испытания.
В.4 При статических испытаниях пролетных строений с усилением определяют основные показатели соответствия работы конструкции расчетным значениям (прогибы, деформации материала в характерных точках и т.п.). Для элементов усиления с внешним армированием (комбинированные металлические каркасы, предварительно напряженные элементы и т.п.) при наличии возможности рекомендуется проводить измерение усилий в этих элементах.
В.5 При динамических испытаниях пролетных строений с усилением определяют периоды и формы собственных колебаний, характеристики декремента затухания колебаний и сравнивают их с полученными расчетом значениями.
В.6 При определении расчетных (целевых) значений прогибов, деформаций, усилий, периодов и форм собственных колебаний, характеристики декремента затухания колебаний в испытываемых элементах необходимо проверить и учесть:
а) соответствие усиленных конструкций техническим требованиям, указанным в
разделе 9;
б) наличие информации о регулировании усилий согласно
разделу 8;
в) имеющиеся в несущих конструкциях пролетных строений устраненные и не устраненные дефекты и повреждения, их влияние на расчет НДС системы с усилением.
В.7 Величина усилий и напряжений от испытательной нагрузки должна быть не менее 60% и не более 80% от создаваемых нормативной автомобильной нагрузкой, принятой в проекте (с коэффициентом надежности, равным единице, и динамическим коэффициентом).
При испытаниях сооружений с пониженной несущей способностью и сооружений, на которые отсутствует техническая документация, максимальные усилия от испытательной нагрузки определяют путем расчета по действующим нормативным документам с учетом фактического состояния конструкций.
| | Безопасность автомобильных дорог |
| Рекомендации по применению предварительно-напряженной арматуры и технологии подъемки железобетонных пролетных строений при ремонте и реконструкции мостов (утверждены распоряжением Росавтодора от 3 июля 2000 г. N 136-р) |
УДК 624.21:624.046.2:006.354 | |
Ключевые слова: автодорожные мосты, балочные пролетные строения, усиление железобетонных пролетных строений, правила расчета |