Главная // Пожарная безопасность СПРАВКА
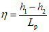
Источник публикации
В данном виде документ опубликован не был.
Первоначальный текст документа опубликован в издании
М.: ИПК Издательство стандартов, 2001.
Информацию о публикации документов, создающих данную редакцию, см. в справке к этим документам.
Примечание к документу
С 1 июля 2003 года до вступления в силу технических регламентов акты федеральных органов исполнительной власти в сфере технического регулирования носят рекомендательный характер и подлежат обязательному исполнению только в части, соответствующей целям, указанным в
пункте 1 статьи 46 Федерального закона от 27.12.2002 N 184-ФЗ.
Название документа
"ГОСТ 8.346-2000. Межгосударственный стандарт. Государственная система обеспечения единства измерений. Резервуары стальные горизонтальные цилиндрические. Методика поверки"
(введен в действие Постановлением Госстандарта РФ от 23.04.2001 N 185-ст)
(ред. от 17.09.2012)
"ГОСТ 8.346-2000. Межгосударственный стандарт. Государственная система обеспечения единства измерений. Резервуары стальные горизонтальные цилиндрические. Методика поверки"
(введен в действие Постановлением Госстандарта РФ от 23.04.2001 N 185-ст)
(ред. от 17.09.2012)
Постановлением Госстандарта РФ
от 23 апреля 2001 г. N 185-ст
МЕЖГОСУДАРСТВЕННЫЙ СТАНДАРТ
ГОСУДАРСТВЕННАЯ СИСТЕМА ОБЕСПЕЧЕНИЯ ЕДИНСТВА ИЗМЕРЕНИЙ
РЕЗЕРВУАРЫ СТАЛЬНЫЕ ГОРИЗОНТАЛЬНЫЕ ЦИЛИНДРИЧЕСКИЕ
МЕТОДИКА ПОВЕРКИ
State system for ensuring the uniformity
of measurements. Steel horisontal cylindric tanks.
Calibration methods
ГОСТ 8.346-2000
| | Список изменяющих документов Приказом Росстандарта от 17.09.2012 N 308-ст) | |
Группа Т88.3
Дата введения
1 января 2002 года
1. Разработан Государственным научным метрологическим центром - Всероссийским научно-исследовательским институтом расходометрии (ГНМЦ-ВНИИР) Госстандарта России.
Внесен Госстандартом России.
2. Принят Межгосударственным советом по стандартизации, метрологии и сертификации (Протокол N 17 от 22 июня 2000 г.).
За принятие проголосовали:
Наименование государства | Наименование национального органа по стандартизации |
Азербайджанская Республика | Азгосстандарт |
Республика Армения | Армгосстандарт |
Республика Беларусь | Госстандарт Республики Беларусь |
Грузия | Грузстандарт |
Республика Казахстан | Госстандарт Республики Казахстан |
Кыргызская Республика | Кыргызстандарт |
Республика Молдова | Молдовастандарт |
Российская Федерация | Госстандарт России |
Республика Таджикистан | Таджикгосстандарт |
Туркменистан | Главгосинспекция "Туркменстандартлары" |
Республика Узбекистан | Узгосстандарт |
Украина | Госстандарт Украины |
3. В стандарте полностью учтены требования международной рекомендации МОЗМ Р-71.
4. Постановлением Государственного комитета Российской Федерации по стандартизации и метрологии от 23 апреля 2001 г. N 185-ст межгосударственный стандарт ГОСТ 8.346-2000 введен в действие непосредственно в качестве государственного стандарта Российской Федерации с 1 января 2002 г.
Настоящий стандарт распространяется на цилиндрические резервуары вместимостью от 3 до 200 м3, используемые для определения объема нефти и нефтепродуктов при выполнении государственных учетных операций и для их хранения, при осуществлении торговли и товарообменных операций с нефтью и нефтепродуктами, и устанавливает методику первичной, периодической и внеочередной поверок.
(в ред.
Изменения N 1, введенного в действие Приказом Росстандарта от 17.09.2012 N 308-ст)
В настоящем стандарте использованы ссылки на следующие стандарты:
| | ИС МЕГАНОРМ: примечание. Взамен ГОСТ 8.400-80 Приказом Росстандарта от 30.12.2013 N 2372-ст с 1 июля 2015 года введен в действие ГОСТ 8.400-2013. | |
ГОСТ 8.400-80. Государственная система обеспечения единства измерений. Мерники металлические образцовые. Методика поверки
ГОСТ 10-88. Нутромеры микрометрические. Технические условия
ГОСТ 12.0.004-90. Система стандартов безопасности труда. Организация обучения безопасности труда. Общие положения
ГОСТ 12.1.005-88. Система стандартов безопасности труда. Общие санитарно-гигиенические требования к воздуху рабочей зоны
ГОСТ 12.1.011-78 <*>. Система стандартов безопасности труда. Смеси взрывоопасные. Классификация и методы испытаний
ГОСТ 12.4.087-84 Система стандартов безопасности труда. Строительство. Каски строительные. Технические условия
(ссылка введена
Изменением N 1, введенным в действие Приказом Росстандарта от 17.09.2012 N 308-ст)
ГОСТ 12.4.099-80. Комбинезоны женские для защиты от нетоксичной пыли, механических воздействий и общих производственных загрязнений. Технические условия
ГОСТ 12.4.100-80. Комбинезоны мужские для защиты от нетоксичной пыли, механических воздействий и общих производственных загрязнений. Технические условия
ГОСТ 166-89 (ИСО 3599-76). Штангенциркули. Технические условия
ГОСТ 427-75. Линейки измерительные металлические. Технические условия
ГОСТ 2405-88. Манометры, вакуумметры, мановакуумметры, напоромеры, тягомеры и тягонапоромеры. Общие технические условия
ГОСТ 2874-82 <**>. Вода питьевая. Гигиенические требования и контроль за качеством
ГОСТ 3900-85. Нефть и нефтепродукты. Методы определения плотности
ГОСТ 7502-98. Рулетки измерительные металлические. Технические условия
ГОСТ 9392-89. Уровни рамные и брусковые. Технические условия
ГОСТ 13837-79. Динамометры общего назначения. Технические условия
ГОСТ 18481-81. Ареометры и цилиндры стеклянные. Общие технические условия
ГОСТ 28498-90. Термометры жидкостные стеклянные. Общие технические требования. Методы испытаний.
--------------------------------
В настоящем стандарте применяются следующие термины с соответствующими определениями:
3.1. Поверка резервуара: совокупность операций, выполняемых организациями национальной (государственной) метрологической службы или аккредитованными на право поверки метрологическими службами юридических лиц с целью подтверждения соответствия резервуаров метрологическим требованиям.
(в ред.
Изменения N 1, введенного в действие Приказом Росстандарта от 17.09.2012 N 308-ст)
Градуировочная таблица - зависимость вместимости от уровня наполнения резервуара при нормированном значении температуры. Таблицу прилагают к свидетельству о поверке резервуара и применяют для определения объема жидкости в нем.
3.2. Резервуар горизонтальный стальной: металлический сосуд в форме горизонтально лежащего цилиндра со сферическими, плоскими, коническими или усеченно-коническими днищами, применяемый для хранения и измерений объема жидкостей.
3.3. Градуировка резервуара: операция по установлению зависимости вместимости резервуара от уровня его наполнения, выполняемая организациями национальной (государственной) метрологической службы или аккредитованными на право поверки метрологическими службами юридических лиц при выпуске из производства или ремонта и при эксплуатации.
3.4. Вместимость резервуара: внутренний объем резервуара, который может быть наполнен жидкостью до определенного уровня.
3.5. Дозовая вместимость резервуара: объем жидкости в резервуаре, соответствующий уровню налитых в него доз жидкости.
3.6. Посантиметровая вместимость резервуара: объем жидкости в резервуаре, соответствующий уровню налитых в него доз жидкости, приходящихся на 1 см высоты наполнения.
3.7. Номинальная вместимость резервуара: вместимость резервуара, соответствующая максимальному уровню его наполнения, установленная нормативным документом на горизонтальный резервуар конкретного типа.
3.8. Уровень жидкости (высота наполнения): расстояние по вертикали между плоскостью, принятой за начало отсчета, и свободной поверхностью жидкости, находящейся в резервуаре.
3.9. Базовая высота резервуара: расстояние по вертикали от плоскости, принятой за начало отсчета, до верхнего края горловины резервуара или измерительной трубы.
(в ред.
Изменения N 1, введенного в действие Приказом Росстандарта от 17.09.2012 N 308-ст)
3.10. "Мертвая" полость резервуара: нижняя часть резервуара, из которой нельзя осуществить отпуск (прием) жидкости, используя стационарные приемно-раздаточные патрубки, клапаны или иные устройства".
(п. 3.10 в ред.
Изменения N 1, введенного в действие Приказом Росстандарта от 17.09.2012 N 308-ст)
3.11. Поверочная жидкость: жидкость, применяемая при поверке резервуара объемным методом. В качестве поверочной жидкости применяют: воду по
ГОСТ 2874 и светлые нефтепродукты, кроме бензина. Параметры поверочной жидкости должны соответствовать требованиям
5.3.5.5.
Примечание. При применении для поверки резервуаров передвижных эталонных установок со сдвигом дозирования и проскоком в качестве поверочной жидкости используют только воду.
(примечание введено
Изменением N 1, введенным в действие Приказом Росстандарта от 17.09.2012 N 308-ст)
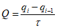
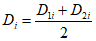
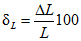
3.12. Степень наклона резервуара: величина

, выражаемая через тангенс угла наклона резервуара, рассчитываемая по формуле

,
где

- угол наклона резервуара в градусах.
3.13. Геометрический метод поверки резервуара: метод поверки резервуара, заключающийся в определении вместимости резервуара по результатам измерений его геометрических параметров.
3.14. Объемный динамический метод поверки резервуара: метод поверки, заключающийся в определении вместимости резервуара путем непрерывного наполнения его поверочной жидкостью и в одновременном измерении уровня, объема и температуры поверочной жидкости для каждого изменения уровня на 1 см (10 мм).
3.15. Объемный статический метод поверки резервуара: метод поверки, заключающийся в определении вместимости резервуара путем наполнения его отдельными дозами поверочной жидкости и в одновременном измерении уровня, объема и температуры поверочной жидкости для каждого изменения уровня в пределах от 10 до 30 мм.
3.16. Государственные учетная и торговая операции: операции, проводимые между поставщиком и потребителем, заключающиеся в определении приведенного объема или массы нефти и нефтепродуктов для последующих учетных операций, а также для арбитража.
3.17. Хранение: операция, проводимая на предприятии, в технологическом процессе, заключающаяся в определении приведенного объема или массы нефти и нефтепродуктов для последующих учетных операций.
3.18. Полная вместимость резервуара: вместимость резервуара, соответствующая предельному уровню наполнения, определенная по результатам его поверки.
(п. 3.18 введен
Изменением N 1, введенным в действие Приказом Росстандарта от 17.09.2012 N 308-ст)
3.19. Предельный уровень: предельный уровень определения посантиметровой вместимости резервуара, соответствующий расстоянию по вертикали между плоскостью, принятой за начало отсчета при его поверке, и нижним краем горловины резервуара.
(п. 3.19 введен
Изменением N 1, введенным в действие Приказом Росстандарта от 17.09.2012 N 308-ст)
3.20. Максимальный уровень: максимально допускаемый уровень наполнения резервуара жидкостью при его эксплуатации, установленный технической документацией на резервуар.
(п. 3.20 введен
Изменением N 1, введенным в действие Приказом Росстандарта от 17.09.2012 N 308-ст)
3.21. "Мертвый" остаток: объем жидкости в резервуаре, находящийся ниже плоскости, принятой за начало отсчета уровня жидкости в резервуаре.
(п. 3.21 введен
Изменением N 1, введенным в действие Приказом Росстандарта от 17.09.2012 N 308-ст)
Приказом Росстандарта от 17.09.2012 N 308-ст)
4.1. Поверку резервуара проводят геометрическим или объемным (динамическим или статическим) методом.
Допускается комбинация динамического объемного и статического объемного методов поверки.
(в ред.
Изменения N 1, введенного в действие Приказом Росстандарта от 17.09.2012 N 308-ст)
Выбор метода поверки зависит от номинальной вместимости резервуара, наличия требуемых средств измерений, удобства и возможности выполнения измерений, а также экономической целесообразности.
4.2. При геометрическом методе поверки резервуара его вместимость определяют по результатам измерений диаметров (или длин окружностей), длин и толщин стенок поясов резервуара и высот (выпуклостей) и толщин стенок днищ резервуара.
4.3. При объемном методе поверки резервуара его вместимость определяют путем непосредственных измерений уровня поверочной жидкости, поступившей в резервуар, с одновременными измерениями ее температуры и объема, соответствующих измеренному уровню жидкости.
5. Технические требования
5.1. Требования к погрешности измерений параметров резервуаров
5.1.1. Погрешности измерений параметров резервуаров не должны превышать значений, указанных в таблице 1 при геометрическом методе, в
таблице 2 - при объемном методе.
Таблица 1
Погрешность измерений параметров резервуаров
при геометрическом методе
Измеряемый параметр | Пределы допускаемой погрешности измерений параметров резервуаров вместимостью,  |
25 - 75 | 100 - 200 |
Внутренний диаметр пояса (при внутренних измерениях), % | | |
Длина пояса, % | | |
Внутренний диаметр пояса (при наружном измерении), % | | |
Координата точки измерения базовой высоты, мм | | |
Высота столба жидкости (при определении степени наклона), мм | | |
Выпуклость днища (высота конуса), мм | | |
Объем внутренних деталей,  | | |
Примечание. Резервуары вместимостью от 3 до 10  поверяют только объемным методом. |
Таблица 2
Погрешность измеряемых параметров резервуаров
при объемном методе
Измеряемый параметр | Пределы допускаемой погрешности измерений |
Объем дозы жидкости при градуировке, % | |
Уровень жидкости, мм | |
Температура жидкости, °C | |
Температура воздуха, °C | |
Давление жидкости избыточное, % | |
5.1.2. При соблюдении указанных в
таблице 2 пределов допускаемой погрешности измерений погрешность определения вместимости резервуара при объемном методе поверки не должна превышать:
+/- 0,25% - при измерениях объема дозы жидкости с погрешностью +/- 0,15%;
+/- 0,20% - при измерениях объема дозы жидкости с погрешностью +/- 0,1%.
5.1.4. Значение погрешности определения вместимости резервуара должно быть приведено при объемном методе поверки на титульном листе градуировочной таблицы, а при геометрическом методе - в градуировочной таблице.
5.2. Требования по применению рабочих эталонов и вспомогательных средств поверки
(в ред.
Изменения N 1, введенного в действие Приказом Росстандарта от 17.09.2012 N 308-ст)
5.2.1. При поверке резервуара геометрическим методом применяют следующие средства поверки:
5.2.1.1. Рулетки измерительные 2-го класса точности с верхними пределами измерений 10, 20 и 30 м по
ГОСТ 7502.
5.2.1.2. Рулетки измерительные с грузом 2-го класса точности с верхними пределами измерений 5 и 10 м по
ГОСТ 7502.
5.2.1.3. Линейка измерительная металлическая с диапазоном измерений от 0 до 500 мм по
ГОСТ 427.
5.2.1.4. Нутромеры микрометрические с диапазоном измерений от 1250 до 4000 мм по
ГОСТ 10.
5.2.1.5. Толщиномер ультразвуковой по
[1] с диапазоном измерений от 0,6 до 30 мм и пределами допускаемой погрешности +/- 0,1 мм.
5.2.1.6. Динамометр с диапазоном измерений от 0 до 100 Н по
ГОСТ 13837.
5.2.1.7. Штангенциркуль с диапазоном измерений от 0 до 125 мм, от 0 до 250 мм, от 0 до 400 мм по
ГОСТ 166.
(пп. 5.2.1.3 - 5.2.1.7 в ред.
Изменения N 1, введенного в действие Приказом Росстандарта от 17.09.2012 N 308-ст)
5.2.1.9. Термометр с ценой деления шкалы 1 °C по
ГОСТ 28498.
5.2.1.13. Линейки измерительные с магнитными держателями (
рисунок А.5).
5.2.1.14. Анемометр чашечный типа МС-13 с диапазоном измерений от 0 до 20 м/с.
(п. 5.2.1.14 в ред.
Изменения N 1, введенного в действие Приказом Росстандарта от 17.09.2012 N 308-ст)
5.2.1.15. Газоанализатор-течеискатель типа АНТ-2М по
[2].
(п. 5.2.1.15 в ред.
Изменения N 1, введенного в действие Приказом Росстандарта от 17.09.2012 N 308-ст)
5.2.1.16. Вспомогательное оборудование: чертилка, щетки (металлические), мел, микрокалькулятор.
5.2.2. При поверке резервуара объемным методом применяют следующие средства поверки:
5.2.2.1. Эталонный уровнемер 2-го разряда (далее - уровнемер) с пределами допускаемой погрешности +/- 1 мм по
[3].
| | ИС МЕГАНОРМ: примечание. Взамен ГОСТ 8.400-80 Приказом Росстандарта от 30.12.2013 N 2372-ст с 1 июля 2015 года введен в действие ГОСТ 8.400-2013. | |
5.2.2.2. Эталонные мерники (далее - мерники) 2-го разряда вместимостью 2; 5; 10; 20; 50; 100; 200; 500; 1000 дм3 по ГОСТ 8.400.
5.2.2.3. Эталонный счетчик жидкости (далее - счетчик жидкости) с пределами допускаемой погрешности +/- 0,15% по
[4].
5.2.2.4. Термометр с ценой деления шкалы 0,1 °C по
ГОСТ 28498.
5.2.2.5. Термометр с ценой деления шкалы 0,5 °C по
ГОСТ 28498.
5.2.2.6. Манометр класса точности 0,4 по
ГОСТ 2405.
5.2.2.7. Ареометр с ценой деления шкалы 0,5 кг/м3 по
ГОСТ 18481.
5.2.2.8. Секундомер 3-го класса точности с ценой деления шкалы 0,2 с по
[5].
5.2.2.9. Вспомогательное оборудование:
- насос для подачи жидкости, снабженный линиями приема и подачи с кранами (вентилями), регулятором расхода (дросселем), фильтром и трехходовым краном;
- расширитель струи.
5.2.2.10. Газоанализатор-течеискатель типа АНТ-2М по
[2].
(п. 5.2.2.10 введен
Изменением N 1, введенным в действие Приказом Росстандарта от 17.09.2012 N 308-ст)
5.2.3. Применяемые рабочие эталоны и средства измерений должны быть поверены в установленном порядке.
(в ред.
Изменения N 1, введенного в действие Приказом Росстандарта от 17.09.2012 N 308-ст)
5.2.4. Допускается применение других, вновь разработанных или находящихся в эксплуатации средств поверки (в том числе передвижных эталонных установок), удовлетворяющих по точности и пределам измерений требованиям настоящего стандарта.
5.3. Требования к условиям поверки
При поверке резервуара соблюдают следующие условия.
5.3.1. Резервуар должен быть установлен на твердом, не изменяющем своего положения, фундаменте. При заглубленной установке исключают возможность попадания в прямоток грунтовых вод.
(п. 5.3.1 в ред.
Изменения N 1, введенного в действие Приказом Росстандарта от 17.09.2012 N 308-ст)
5.3.2. Подземные и заглубленные резервуары поверяют только объемным методом.
(п. 5.3.2 в ред.
Изменения N 1, введенного в действие Приказом Росстандарта от 17.09.2012 N 308-ст)
5.3.3. При применении геометрического метода поверки допускается степень наклона резервуара до 0,03 при условии определения вместимости резервуара с учетом его угла наклона.
5.3.4. При геометрическом методе, кроме того, соблюдают следующие условия:
5.3.4.1. Температура окружающего воздуха и внутри резервуара (20 +/- 15) °C.
(п. 5.3.4.1 в ред.
Изменения N 1, введенного в действие Приказом Росстандарта от 17.09.2012 N 308-ст)
5.3.4.2. Скорость ветра - не более 10 м/с.
5.3.4.3. Состояние погоды - без осадков.
5.3.5. При объемном методе, кроме того, соблюдают следующие условия:
5.3.5.1. Температура окружающего воздуха и поверочной жидкости (20 +/- 15) °C.
Примечания. 1. Температура окружающего воздуха от минус 15 °C до плюс 35 °C (только при применении установки).
(в ред.
Изменения N 1, введенного в действие Приказом Росстандарта от 17.09.2012 N 308-ст)
2. Допускается нижний предел температуры поверочной жидкости плюс 2 °C - при применении дизельного топлива и воды (только при применении установки).
(в ред.
Изменения N 1, введенного в действие Приказом Росстандарта от 17.09.2012 N 308-ст)
5.3.5.2. Изменение температуры поверочной жидкости в резервуаре и счетчике жидкости за время поверки не должно превышать:
2 °C - при применении в качестве поверочной жидкости воды;
0,5 °C - при применении в качестве поверочной жидкости светлых нефтепродуктов в соответствии с
3.11.
5.3.5.3. При невыполнении требований 5.3.5.2 вводят температурные поправки на объем, измеренный через каждое изменение температуры поверочной жидкости в резервуаре на плюс 2 °C (при применении воды) или 0,5 °C (при применении светлых нефтепродуктов, кроме бензина).
(в ред.
Изменения N 1, введенного в действие Приказом Росстандарта от 17.09.2012 N 308-ст)
5.3.5.4. При применении мерников выбирают их таким образом, чтобы можно было получить дозы жидкости в объемах, достаточных для подъема уровня поверочной жидкости в резервуаре на 10 - 30 мм.
5.3.5.5. При применении счетчика жидкости поверочная жидкость должна соответствовать следующим требованиям:
- вязкость поверочной жидкости должна находиться в пределах поверенного диапазона измерений счетчика жидкости;
- рабочий диапазон расхода поверочной жидкости должен находиться в пределах поверенного диапазона измерений счетчика жидкости. В случае изменения диапазона измерений для счетчика жидкости с импульсным выходным сигналом применяют соответствующий новому диапазону коэффициент преобразования счетчика жидкости.
5.3.5.6. Исключают возможность попадания воздуха в измерительную систему, собранную для поверки резервуара, после наполнения ее поверочной жидкостью.
5.3.5.7. Процесс определения вместимости резервуара при его поверке должен идти непрерывно (без перерывов, приводящих к изменению объема и уровня жидкости в резервуаре), начиная с уровня, равного нулю, до предельного уровня или уровня определенной дозы.
5.3.5.8. Скорость наполнения резервуара в процессе поверки не должна превышать 0,3 мм/с.
5.3.6. Базовую высоту резервуара и уровня поверочной жидкости в резервуаре при объемном методе поверки измеряют через измерительный люк в точке, расположенной на плоскости, проходящей через верхнюю образующую и продольную ось резервуара, или через измерительную трубу.
5.3.7. Резервуары должны быть освобождены и очищены от остатков хранившейся жидкости.
(п. 5.3.7 введен
Изменением N 1, введенным в действие Приказом Росстандарта от 17.09.2012 N 308-ст)
6. Требования к порядку проведения поверки
6.1. Поверку резервуаров осуществляют аккредитованные в установленном порядке в области обеспечения единства измерений юридические лица и индивидуальные предприниматели.
(п. 6.1 в ред.
Изменения N 1, введенного в действие Приказом Росстандарта от 17.09.2012 N 308-ст)
6.2. Поверки резервуара проводят:
- первичную - после завершения строительства резервуара или капитального ремонта и проведения гидравлических испытаний резервуара перед вводом его в эксплуатацию;
- периодическую - по истечении срока межповерочного интервала;
- внеочередную - в случае изменения базовой высоты резервуара более чем на 0,1% по
9.1.14.2; при внесении в резервуар конструктивных изменений, влияющих на его вместимость, и после очередного полного технического диагностирования.
(п. 6.2 в ред.
Изменения N 1, введенного в действие Приказом Росстандарта от 17.09.2012 N 308-ст)
7. Требования к квалификации поверителей
и требования безопасности
7.1. Поверку резервуара проводит физическое лицо, прошедшее курсы повышения квалификации и аттестованное в качестве поверителя и в области промышленной безопасности в установленном порядке
<1>.
(в ред.
Изменения N 1, введенного в действие Приказом Росстандарта от 17.09.2012 N 308-ст)
Примечание. В Российской Федерации физическое лицо проходит курсы повышения квалификации в ГНМЦ-ВНИИР, других ГНМЦ или Академии стандартизации, метрологии и сертификации - по программе ГНМЦ-ВНИИР.
7.1.1. Измерения величин при поверке резервуара проводит группа лиц, включая поверителя организации, указанной в
6.1, и не менее двух специалистов, прошедших курсы повышения квалификации, и других лиц (при необходимости), аттестованных в области промышленной безопасности в установленном порядке <1>.
(п. 7.1.1 введен
Изменением N 1, введенным в действие Приказом Росстандарта от 17.09.2012 N 308-ст)
--------------------------------
<1> На территории Российской Федерации действует
Приказ Ростехнадзора N 37 от 29.01.2007.
(сноска введена
Изменением N 1, введенным в действие Приказом Росстандарта от 17.09.2012 N 308-ст)
7.2. К поверке резервуара допускаются лица, изучившие техническую документацию на резервуар и его конструкцию, средства поверки резервуара и прошедшие обучение по
7.1 и инструктаж по безопасности труда в соответствии с
ГОСТ 12.0.004.
7.3. Лица, выполняющие измерения при поверке резервуара, должны быть одеты в спецодежду.
7.3.1. При геометрическом методе поверки:
| | ИС МЕГАНОРМ: примечание. Постановлением Госстандарта СССР от 10.10.1983 N 4882 с 1 января 1985 года введен в действие ГОСТ 12.4.009-83. | |
7.3.2. При объемном методе поверки:
7.3.3. Лица, выполняющие измерения, должны быть в строительной каске по
ГОСТ 12.4.087.
(п. 7.3.3 введен
Изменением N 1, введенным в действие Приказом Росстандарта от 17.09.2012 N 308-ст)
7.4. Перед началом поверки резервуара проверяют:
- исправность лестниц и перил резервуара;
- исправность заземления резервуара, насоса и установки при объемном методе поверки.
7.5. Избыточное давление внутри резервуара должно быть равно нулю.
7.6. Уровень поверочной жидкости и базовую высоту резервуара измеряют через измерительный люк или измерительную трубу. После измерений крышку измерительного люка или измерительной трубы плотно закрывают.
(в ред.
Изменения N 1, введенного в действие Приказом Росстандарта от 17.09.2012 N 308-ст)
7.7. Средства поверки по
5.2.1.5,
5.2.1.14,
5.2.1.15 при поверке резервуара геометрическим методом, средства поверки по
5.2.2.1,
5.2.2.3,
5.2.2.9 при поверке резервуара объемным методом и по
5.2.4 должны быть во взрывозащищенном исполнении для групп взрывоопасных смесей категории 11 А-Т3 по
ГОСТ 12.1.011 <1> и предназначены для эксплуатации на открытом воздухе. Данное требование по взрывозащищенности не распространяется на средства поверки, если в качестве поверочной жидкости применяют воду".
(п. 7.7 в ред.
Изменения N 1, введенного в действие Приказом Росстандарта от 17.09.2012 N 308-ст)
--------------------------------
(сноска введена
Изменением N 1, введенным в действие Приказом Росстандарта от 17.09.2012 N 308-ст)
7.8. Содержание вредных паров и газов в воздухе вблизи или внутри <*> резервуара в рабочей зоне на высоте 2000 мм не должно превышать санитарных норм, установленных
ГОСТ 12.1.005.
(в ред.
Изменения N 1, введенного в действие Приказом Росстандарта от 17.09.2012 N 308-ст)
--------------------------------
<*> Если проводят измерения внутренних параметров резервуара.
7.9. Для освещения в темное время суток применяют светильники во взрывозащищенном исполнении.
8. Подготовка к проведению поверки
8.1. При подготовке резервуара к поверке проводят следующие работы:
8.1.1. Проверяют на месте соответствие конструкции и внутренних деталей резервуара технической документации на него.
8.1.2. Проверяют состояние наружной поверхности стенки резервуара (на отсутствие деформаций стенки, загрязнений, брызг металлов, наплывов, заусенцев; на наличие необходимых арматуры и оборудования; исправность лестниц и перил) для возможности проведения наружных измерений.
8.1.3. Проверяют состояние фундамента резервуара.
8.1.4. Проверяют комплектность и работоспособность средств поверки.
8.1.5. Резервуар полностью опорожняют и зачищают от остатков хранившейся жидкости.
8.2. Перед поверкой резервуара объемным методом, кроме того, проводят следующие работы:
8.2.1. Проводят сборку измерительной системы (по схемам, приведенным на
рисунках А.6 и
А.7).
8.2.2. Устанавливают уровнемер на горловине резервуара.
8.2.3. Опускают шланг с расширителем струи внутрь резервуара. При этом нижний торец расширителя струи 18
(рисунок А.6) и 4
(рисунок А.7) должен находиться выше нижней образующей резервуара на 2 см.
(п. 8.2.3 в ред.
Изменения N 1, введенного в действие Приказом Росстандарта от 17.09.2012 N 308-ст)
8.2.4. При применении мерников мерники 1, 2, 3 (
рисунок А.6) устанавливают в вертикальное положение над горловиной поверяемого резервуара и контролируют их вертикальность при помощи уровня.
8.2.5. Поверочную жидкость при поверке резервуара подают в мерники или счетчик жидкости следующими способами (
рисунки А.6 и
А.7):
а) из приемного резервуара с помощью насоса;
б) из технологического (при применении нефтепродуктов) трубопровода или водопровода (при применении воды) с помощью насоса или без него.
8.2.6. Наполняют измерительную систему поверочной жидкостью, удаляют из нее воздух и испытывают ее на герметичность под рабочим давлением. При этом вентили 4 - 9 (
рисунок А.6), 5 (
рисунок А.7) закрывают и трехходовой кран 7 переводят в положение "Измерение".
Измерительную систему считают герметичной, если по истечении 15 мин после наполнения ее поверочной жидкостью и создания рабочего давления при визуальном осмотре не обнаруживают в местах соединений уплотнений и на поверхности труб и арматуры наличия течи (каплепадений) и влаги.
8.2.7. При применении счетчика жидкости 9 (
рисунок А.7) дополнительно: промывают измерительную систему и измеряют расход поверочной жидкости в следующей последовательности:
- переводят трехходовой кран 7 в положение "Циркуляция";
- включают насос 11 или открывают вентиль 17;
- одновременно фиксируют показания счетчика жидкости 9 и секундомера;
- после того как стрелка указателя счетчика жидкости 9 сделает не менее одного оборота (ролик счетного механизма поворачивается на один оборот) или число импульсов, зарегистрированное счетчиком импульсов, составит не менее 1000 импульсов, выключают секундомер и одновременно фиксируют показание счетчика жидкости.
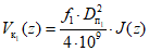
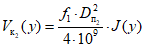
Расход поверочной жидкости Q, дм3/с, через счетчик жидкости рассчитывают по формулам:
1) для счетчиков с непосредственным отсчетом объема жидкости в дм3:

; (1)
2) для счетчиков с импульсным выходным сигналом в импульсах:

, (2)
где

,

- показания счетчика жидкости, соответствующие концу отсчета времени, дм3, имп., соответственно;

,

- показания счетчика, соответствующие началу отсчета времени, дм3, имп., соответственно;

- время, определяемое по секундомеру, с;
K - коэффициент преобразования счетчика, имп./дм3; определяют по шкале счетного механизма конкретного счетчика.
8.2.8. Расход поверочной жидкости, рассчитанный по
формулам (1) или
(2), должен находиться в пределах поверенного диапазона измерений счетчика жидкости по
5.3.5.5. Если это условие не выполняется, то с помощью регулятора расхода (дросселя) 10 (
рисунок А.7) изменяют расход поверочной жидкости, проходящей через счетчик жидкости.
8.2.9. Исключен с 1 июля 2013 года. -
Изменение N 1, введенное в действие Приказом Росстандарта от 17.09.2012 N 308-ст.
9. Проведение поверки резервуара
9.1. Проведение поверки резервуара геометрическим методом
9.1.1. Поверку резервуаров геометрическим методом проводят при соблюдении следующих условий:
- разность диаметров в одном сечении и разных сечениях, бочкообразность и конусность каждого пояса резервуара должны быть не более значений, определенных по
формулам (3) -
(5) или
(6);
- непрямолинейность образующей резервуара (излом образующей) - не более 10 мм;
- диаметр местной отдельной вмятины (выпучины) - не более 100 мм, максимальная ее глубина (выпуклость) - не более 5 мм;
- степень наклона резервуара - не более 0,03 при условии определения вместимости резервуара с учетом его угла наклона.
9.1.2. При поверке резервуара измеряют его линейные размеры. Число измерений каждого линейного размера - не менее двух. Среднее арифметическое результатов двух измерений принимают за действительное значение линейного размера.
Если измерения линейных размеров резервуара производят с помощью измерительной рулетки по
ГОСТ 7502, ее натягивают с усилием:
(100 +/- 10) Н - для рулеток длиной 10 м и более;
(10 +/- 1) Н - для рулеток длиной 1 - 5 м.
Для рулеток с желобчатой лентой - без натяжения.
(в ред.
Изменения N 1, введенного в действие Приказом Росстандарта от 17.09.2012 N 308-ст)
--------------------------------
<*> Сноска исключена с 1 июля 2013 года. -
Изменение N 1, введенное в действие Приказом Росстандарта от 17.09.2012 N 308-ст.
9.1.3. Определение степени наклона резервуара <*>
--------------------------------
<*> Для определения степени наклона резервуара может быть применен нивелир с рейкой по
ГОСТ 10528.
9.1.3.1. Степень наклона резервуара определяют по результатам наружных или внутренних измерений.
9.1.3.2. При наружных измерениях (
рисунок А.8) на верхней образующей резервуара в противоположных концах устанавливают две водомерные трубки, имеющие миллиметровые шкалы и соединенные между собой резиновой трубкой. Уровни воды измеряют в двух водомерных трубках

,

.
9.1.3.3. При внутренних измерениях (
рисунок А.9) в резервуар наливают небольшое количество воды и с помощью двух линеек, имеющих миллиметровые шкалы, измеряют уровни воды в двух сечениях, расположенных в противоположных концах резервуара.
9.1.3.4. Расстояние между трубками (линейками)

измеряют с помощью измерительной рулетки.
9.1.3.5. Показания измерительной рулетки, трубок и линеек отсчитывают с погрешностью до 1 мм.
9.1.3.6. Результаты измерений

,

,

вносят в
протокол, форма которого приведена в Приложении Б (
таблица Б.3).
9.1.4. Измерение параметров вмятины и выпучины
9.1.4.1. Диаметр вмятины и выпучины измеряют металлической линейкой, глубину вмятины и высоту выпучины - штангенциркулем или металлической линейкой.
9.1.5. Измерения непрямолинейности оси резервуара
9.1.5.1. Вдоль цилиндрической части резервуара натягивают измерительную рулетку так, чтобы она касалась поверхности резервуара в наиболее выступающих точках без перегибов.
9.1.5.2. Если образующая резервуара вогнутая, то за непрямолинейность его оси принимают максимальное расстояние a между образующей и рулеткой.
9.1.5.3. Если образующая резервуара выпуклая, то за непрямолинейность его оси принимают половину суммы расстояний

,

между концами образующей резервуара и рулеткой.
9.1.5.4. Расстояние между точками образующей и рулеткой измеряют металлической линейкой или штангенциркулем.
9.1.5.5. Результаты измерений a,

,

вносят в
протокол, форма которого приведена в Приложении Б (
таблица Б.5).
9.1.6. Измерения внутреннего диаметра пояса резервуара
9.1.6.1. Значения внутреннего диаметра пояса резервуара определяют по результатам непосредственных измерений его изнутри резервуара или по результатам измерений наружной длины окружности и толщины стенки пояса.
9.1.6.2. Внутренний диаметр или длину окружности пояса измеряют в трех его сечениях: среднем, находящемся в середине пояса, правом и левом, расположенных на расстоянии от 50 до 100 мм от сварочных швов, причем в каждом сечении - во взаимно перпендикулярных направлениях.
9.1.6.3. Внутренний диаметр

в каждом сечении пояса измеряют микрометрическим нутромером в двух взаимно перпендикулярных направлениях и не менее двух раз в каждом направлении.
Расхождение между результатами двух измерений не должно быть более 1 мм.
9.1.6.4. Длину окружности P в каждом сечении пояса измеряют измерительной рулеткой не менее двух раз. Расхождение между результатами двух измерений не должно быть более 3 мм.
9.1.6.5. Толщины стенки резервуара

и днищ

измеряют ультразвуковым толщиномером с погрешностью в пределах +/- 0,1 мм или берут по рабочим чертежам, толщину слоя краски

измеряют штангенциркулем с погрешностью в пределах +/- 0,1 мм. Расхождение между результатами двух измерений не должно быть более 0,1 мм.
(в ред.
Изменения N 1, введенного в действие Приказом Росстандарта от 17.09.2012 N 308-ст)
9.1.6.6. Для выявления овальности сечения пояса при определении внутреннего диаметра по результатам измерений длины его окружности дополнительно измеряют наружный диаметр пояса

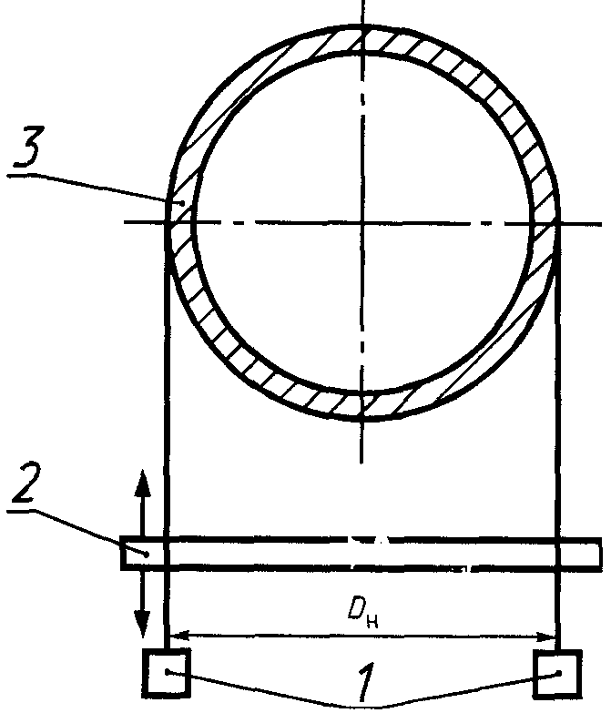
измерительной рулеткой и двойным отвесом (
рисунок А.1).
Измерения проводят в каждом сечении не менее двух раз. Расхождение между результатами двух измерений не должно быть более 2 мм.
9.1.7. Измерения длины поясов
9.1.7.1. Цилиндрическая часть резервуара состоит из основных поясов и из двух поясков, образуемых за счет наличия глубины заложения переднего

и заднего

днищ (
рисунок А.2).
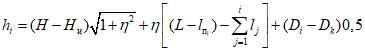
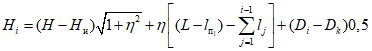
9.1.7.2. Длину i-го пояса резервуара (расстояние между линиями пересечения поясов)

измеряют измерительной рулеткой с наружной стороны по двум образующим пояса. Показания рулетки отсчитывают с погрешностью до 1 мм.
Расхождение между результатами двух измерений не должно быть более 2 мм.
9.1.7.3. Результаты измерений

вносят в
протокол, форма которого приведена в Приложении Б (
таблица Б.9).
9.1.8. Измерения длины выступа или углубления днищ
9.1.8.1. Выступ днища

(
рисунок А.2) - расстояние между торцом пояса и плоскостью, проходящей через основания днища.
9.1.8.2. Углубление днища

(
рисунок А.2) - расстояние между торцом пояса и линией пересечения основания днища с поясом.
9.1.8.3. Длину выступа или углубления днища измеряют штангенциркулем или линейкой по верхней и нижней образующим. Показания штангенциркуля или линейки отсчитывают с погрешностью до 1 мм.
Расхождение между результатами двух измерений выступа или углубления днища не должно быть более 2 мм.
9.1.9.1. Для измерений выпуклости днища (для резервуаров со сферическими днищами) или высоты конуса (для резервуаров с коническими днищами) сверху резервуара по центру днища опускают отвес.
9.1.9.2. Измеряют расстояния от линии пересечения днища (переднего или заднего) с поясом резервуара (вверху и внизу) до нити отвеса

,

(

,

) с помощью линейки. Показания отсчитывают с погрешностью до 1 мм. При отсутствии выступа (углубления) днища это расстояние будет равно выпуклости сферического днища или высоте конического днища (
рисунок А.3). Расхождение между результатами двух измерений не должно быть более 2 мм.
9.1.9.3. Результаты измерений

,

(

,

) вносят в
протокол, форма которого приведена в Приложении Б (
таблица Б.12).
9.1.10. Измерения глубины заложения днищ
9.1.10.1. Глубину заложения днища

измеряют изнутри резервуара штангенциркулем или металлической линейкой не менее двух раз. Расхождение между результатами двух измерений не должно быть более 1 мм.
Примечание. При невозможности измерений глубины заложения днища и отсутствии данных по исполнительным документам на резервуар значение глубины заложения днища принимают равным 100 мм.
9.1.10.2. Результаты измерений

вносят в
протокол, форма которого приведена в Приложении Б (
таблица Б.13).
9.1.11. Измерения малого диаметра усеченно-конического днища
9.1.11.1. Малый диаметр усеченно-конического днища d измеряют с помощью измерительной рулетки во взаимно перпендикулярных направлениях не менее двух раз в каждом направлении. Расхождение между результатами двух измерений не должно быть более 2 мм.
9.1.11.2. Результаты измерений d вносят в
протокол, форма которого приведена в Приложении Б (
таблица Б.15).
9.1.12. Измерения глубины заложения горловины внутрь цилиндрической части резервуара
9.1.12.1. Глубину заложения горловины t (
рисунок А.2) измеряют штангенциркулем или линейкой от нижней кромки горловины до верхней (внутренней) образующей резервуара, проходящей через плоскость симметрии резервуара.
Расхождение между результатами двух измерений глубины заложения не должно быть более 3 мм.
9.1.12.2. Результаты измерений t вносят в
протокол, форма которого приведена в Приложении Б (
таблица Б.16).
9.1.13. Определение объемов внутренних деталей
9.1.13.1. Объемы внутренних деталей, находящихся в резервуаре, определяют по данным измерений их размеров при помощи штангенциркуля, линейки или по рабочим чертежам с указанием их расположения по высоте от плоскости, принятой за начало отсчета.
9.1.13.2. Внутренние детали сложной геометрической формы могут быть заменены эквивалентными по объему и расположению или расчленены на более простые. Об этом делают запись в протоколе поверки.
9.1.14. Измерения базовой высоты и высоты "мертвой" полости наземного резервуара
(п. 9.1.14 в ред.
Изменения N 1, введенного в действие Приказом Росстандарта от 17.09.2012 N 308-ст)
9.1.14.1. Базовую высоту резервуара

измеряют рулеткой с грузом в соответствии с
5.3.6 не менее двух раз. Расхождение между результатами двух измерений не должно быть более 2 мм. Результаты измерений базовой высоты вносят в протокол, форма которого приведена в приложении Б (таблица Б.16).
9.1.14.2. Базовую высоту измеряют ежегодно. Ежегодные измерения базовой высоты резервуара проводит комиссия, назначенная приказом руководителя предприятия владельца резервуара, в состав которой должен быть включен специалист, прошедший курсы повышения квалификации по поверке и калибровке резервуаров.
Примечание. В Российской Федерации специалисты проходят курсы повышения квалификации в соответствии с
7.1.
9.1.14.3. Допускается измерение базовой высоты резервуара при наличии жидкости в нем до произвольного уровня.
Результат измерений базовой высоты резервуара не должен отличаться от ее значения, указанного в протоколе поверки резервуара, более чем на 0,1%.
Если это условие не выполняется, то резервуар освобождают от жидкости и проводят повторное измерение базовой высоты резервуара.
Результаты измерений базовой высоты оформляют актом, форма которого приведена в
Приложении М.
При изменении базовой высоты, по сравнению с ее значением, установленном при поверке резервуара, более чем на 0,1% устанавливают причину и устраняют ее. При отсутствии возможности устранения причины проводят внеочередную поверку резервуара.
9.1.14.4. Для наружных измерений высоты "мертвой" полости наземного резервуара (высоты от нижней образующей резервуара до нижней точки приемно-раздаточного патрубка)

могут быть использованы методы технического, тригонометрического или гидравлического нивелирования.
Измерения проводят не менее двух раз. Расхождение между результатами двух измерений не должно быть более 2 мм.
(п. 9.1.14.1 - 9.1.14.4 в ред.
Изменения N 1, введенного в действие Приказом Росстандарта от 17.09.2012 N 308-ст)
9.1.14.5. Результаты измерений

вносят в протокол, форма которого приведена в Приложении Б
(таблица Б.16.1).
(п. 9.1.14.5 введен
Изменением N 1, введенным в действие Приказом Росстандарта от 17.09.2012 N 308-ст)
9.1.15. По результатам измерений и вычислений непрямолинейности образующей и степени наклона резервуара, овальности сечений, бочкообразности и конусности поясов составляют
опись деформаций резервуара, форма которой приведена в Приложении В, и устанавливают возможность поверки резервуара геометрическим методом.
9.1.15.1. Для проведения поверки геометрическим методом сечения поясов должны удовлетворять следующим условиям:
- овальность сечения i-го пояса

, (3)
- конусность сечения i-го пояса

; (4)
Приказом Росстандарта от 17.09.2012 N 308-ст)
- бочкообразность сечения i-го пояса

(5)
Приказом Росстандарта от 17.09.2012 N 308-ст)
или

, (6)
Приказом Росстандарта от 17.09.2012 N 308-ст)
9.2. Проведение поверки резервуара объемным методом
9.2.1. Измеряют базовую высоту резервуара измерительной рулеткой с грузом в соответствии с
9.1.14.
9.2.2. Объем дозы поверочной жидкости при поверке резервуара измеряют мерниками или счетчиком жидкости.
9.2.3. Поверка резервуара с применением уровнемера и мерников
9.2.3.1. Предварительно вычисляют:
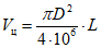
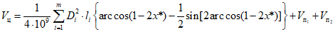
а) полную вместимость цилиндрической части

, дм3, резервуара по формуле

, (7)
где D - внутренний диаметр резервуара, мм;
L - длина цилиндрической части резервуара, мм.
Значения D и L берут из исполнительного документа;
б) объем j-й дозы поверочной жидкости

, дм3, соответствующий изменению уровня жидкости в резервуаре не более чем на 30 мм, по формуле

, (8)
где

,

- коэффициенты наполнения цилиндрической части резервуара при уровнях поверочной жидкости в резервуаре

и

соответственно.
Значение

, соответствующее уровню

, вычисляют по формуле

,
где

.
9.2.3.2. Поверочную жидкость (далее - жидкость) подают (
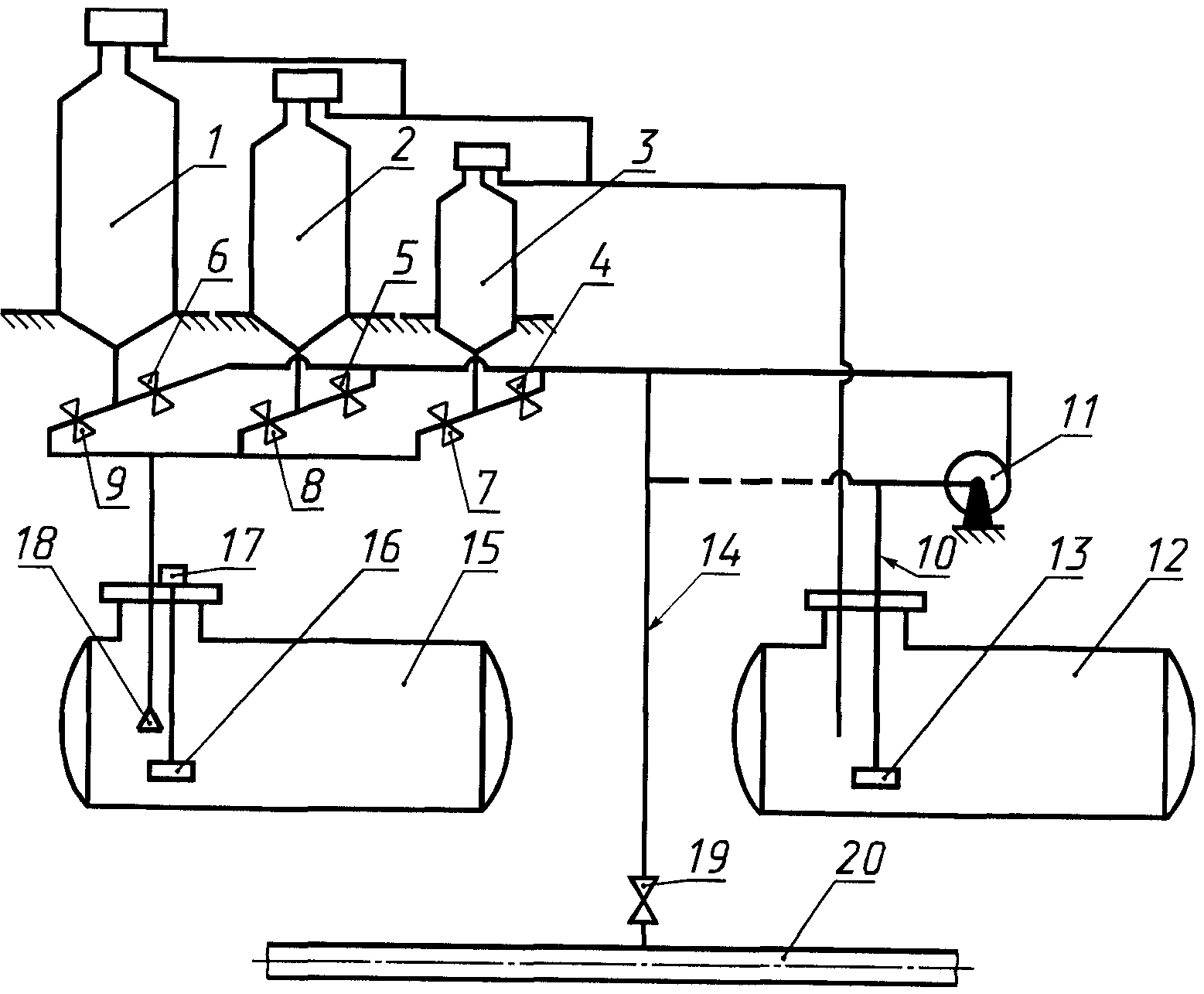
рисунок А.6) в мерники 1, 2, 3 из приемного резервуара 12 с помощью насоса 11 или технологического трубопровода (водопровода) 20, открывая вентиль 19 и регулируя вентилями 4, 5, 6 режим потока жидкости.
При этом вместимость мерника или суммарная вместимость мерников должна соответствовать объему дозы жидкости, вычисленному по
формуле (8).
9.2.3.3. После наполнения измеряют температуру жидкости в мерниках, сливают дозу жидкости в резервуар 15, открывая вентили 7, 8, 9, и снимают показания уровнемера 17.
9.2.3.4. В порядке, указанном в
9.2.3.2 и 9.2.3.3, подают следующие дозы жидкости

в резервуар с одновременным измерением уровня жидкости

и ее температуры

в пробах, отобранных из резервуара по
ГОСТ 2517 после налива в него каждой дозы.
При этом первую пробу отбирают при достижении уровня жидкости в резервуаре 500 мм.
9.2.3.5. В случае применения в качестве поверочной жидкости нефтепродукта измеряют плотность его в лаборатории в соответствии с
ГОСТ 3900.
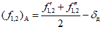
9.2.3.6. Температуру жидкости измеряют в пробоотборнике. При этом термометр погружают в жидкость, находящуюся в пробоотборнике, на глубину, указанную в техническом паспорте на данный термометр, и выдерживают в пробе 1 - 3 мин до принятия столбиком ртути постоянного положения. Не вынимая термометр из жидкости, отсчитывают температуру с погрешностью до 0,1 °C.
9.2.3.7. Допускается отбор проб жидкости из резервуара и измерения температуры проводить через каждое изменение уровня жидкости в резервуаре на 500 мм, как указано в
9.2.3.4.
В этом случае температуру жидкости в резервуаре после поступления в него каждой дозы вычисляют по результатам измерений температур в начале и конце поступления суммарной дозы, объем которой соответствует изменению уровня жидкости в резервуаре на 500 мм.
9.2.3.8. Исключен с 1 июля 2013 года. -
Изменение N 1, введенное в действие Приказом Росстандарта от 17.09.2012 N 308-ст.
9.2.3.9. Резервуар наполняют дозами жидкости до предельного уровня

, мм, вычисляемого по формуле

, (9)
где D - внутренний диаметр резервуара;
t - глубина заложения горловины.
Значение t определяют по результатам измерений глубины заложения горловины в соответствии с
9.1.12.
9.2.3.10. Измеряют измерительной рулеткой с грузом:
- максимальный уровень жидкости в резервуаре

;
- базовую высоту резервуара

.
Максимальный уровень и базовую высоту измеряют два раза. Расхождения между результатами двух измерений максимального уровня и базовой высоты не должны превышать 2 мм. За действительные значения максимального уровня и базовой высоты принимают средние арифметические значения их измерений.
9.2.3.11. Значение базовой высоты, определенное по
9.2.3.10, не должно отличаться от значения, установленного
9.2.1, более чем на 0,1%.
9.2.3.12. Результаты измерений объема

и температуры

жидкости в мерниках, уровня

, температуры

и плотности жидкости

в резервуаре, глубины заложения горловины t, базовой высоты

, максимального уровня

вносят в
протокол, форма которого приведена в Приложении Г.
9.2.4. Поверка резервуара с применением уровнемера и счетчика жидкости
9.2.4.1. Поверку резервуара проводят по схеме, приведенной на
рисунке А.7, в следующей последовательности:
а) открывают вентиль 5;
б) устанавливают указатели шкал приборов (при необходимости) на нулевую отметку;
в) снимают показание счетчика жидкости 9

;
г) переводят трехходовой кран 7 в положение "Измерение";
д) поверочную жидкость подают в резервуар 1 через счетчик жидкости 9 из приемного резервуара 14 или технологического трубопровода (водопровода) 16, открывая вентиль 17, и наполняют резервуар дозой жидкости до появления на дисплее уровнемера 3 значения 10 мм;
е) снимают показание манометра 6

;
ж) снимают показание термометра (измерителя температуры) 8

;
з) выключают насос 11 или закрывают вентиль 17 и снимают показание счетчика жидкости 9

.
9.2.4.2. Включают насос 11 или открывают вентиль 17 и в пределах 1/20 части номинальной вместимости резервуара поверку его проводят статическим методом: при каждом изменении уровня жидкости в пределах до 30 мм прекращают подачу жидкости в резервуар. Одновременно снимают показания счетчика жидкости 9

, уровнемера 3

, манометра 6

и термометра (измерителя температуры) 8

. Отбирают пробу жидкости из резервуара и измеряют ее температуру

и плотность

в соответствии с
9.2.3.5,
9.2.3.6 и
9.2.3.7.
9.2.4.3. При достижении уровня жидкости, соответствующего 1/20 части номинальной вместимости резервуара, наполнение резервуара дозами жидкости может быть осуществлено динамическим или статическим методом.
9.2.4.4. После наполнения резервуара дозами жидкости в пределах 19/20 частей номинальной вместимости резервуара поверку его проводят до предельного уровня по
9.2.3.9 статическим методом в соответствии с
9.2.4.2.
9.2.4.5. Измеряют базовую высоту

и максимальный уровень жидкости в резервуаре

в соответствии с
9.2.3.10,
9.2.3.11.
9.2.4.6. Результаты измерений объема

, температуры

и давления

дозы жидкости, уровня

, температуры

и плотности

жидкости в резервуаре, глубины заложения горловины t, базовой высоты

и максимального уровня

вносят в
протокол, форма которого приведена в Приложении Г.
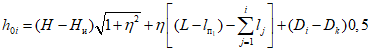
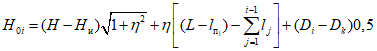
9.2.5. Измерение высоты "мертвой" полости подземного и заглубленного резервуаров
9.2.5.1. Высоту "мертвой" полости резервуара

(расстояния по вертикали от нижней образующей резервуара до нижней точки приемного клапана или приемного устройства расходной трубы) определяют по результатам измерений базовой высоты резервуара, расстояния
(рисунок А.11) - от нижнего края крышки горловины до нижнего края приемного клапана или приемного устройства 6, толщины прокладки 5 и смещения F - по вертикали верхнего края фланца горловины 2 и верхнего края измерительной трубы резервуара.
9.2.5.2. Расстояние

определяют в следующей последовательности:
а) демонтируют расходную трубу с крышкой горловины;
б) на поверхности расходной трубы на расстоянии

, равном 500 мм, от нижнего края крышки горловины наносят чертилкой отметку 7
(рисунок А.11);
в) измеряют расстояние

металлической измерительной линейкой. Отсчитывают показания линейки с точностью до 1 мм;
г) измеряют расстояние

измерительной рулеткой с усилием (10 +/- 1) Н по
ГОСТ 7502. Отсчитывают показания рулетки с точностью до 1 мм;
д) величины

,

по перечислениям в) и г) измеряют не менее двух раз. Расхождения между результатами двух измерений не должны быть более 2 мм. За значения величин

и

принимают средние арифметические значения результатов измерений, округленные до 1 мм.
Расстояние

вычисляют по формуле

.
9.2.5.3. Толщину прокладки 5
(рисунок А.11) 
измеряют штангенциркулем с точностью до 0,1 мм.
9.2.5.4. Смещение F определяют по результатам нивелировки верхнего края фланца горловины 2 и верхнего края измерительной трубы (при наличии) 1
(рисунок А.11) или верхнего края измерительного люка (при наличии) в следующей последовательности:
а) устанавливают нивелир на ровной площадке земли и осуществляют его горизонтирование;
б) рейку устанавливают вертикально на верхний край измерительной трубы или верхний край измерительного люка и снимают показания рейки

с точностью до 1 мм;
в) рейку устанавливают вертикально на верхний край фланца горловины 2 и снимают показания рейки

с точностью до 1 мм. Показания рейки в каждой точке снимают не менее двух раз. Расхождение между результатами двух измерений не должно быть более 2 мм. За значение

или

принимают среднее арифметическое значение результатов двух измерений, округленное до 1 мм.
9.2.5.5. Смещение F, мм, вычисляют по формуле

,
где

,

- показания рейки, определенные по 9.2.5.4, мм.
9.2.5.6. Высоту "мертвой" полости резервуара:
- при наличии измерительной трубы

вычисляют по формуле

; (8а)
- при отсутствии измерительной трубы

вычисляют по формуле

, (8б)
где

- степень наклона резервуара.
9.2.5.7. Результаты вычислений

,

вносят в
таблицу Г.9 (приложение Г).
(п. 9.2.5 введен
Изменением N 1, введенным в действие Приказом Росстандарта от 17.09.2012 N 308-ст)
9.2.6. Измерение расстояния между расходной трубой и поднятым краем цилиндрической части резервуара
9.2.6.1. Расстояние между расходной трубой и поднятым краем цилиндрической части резервуара
(рисунок А.12) измеряют с поднятого (в результате наклона резервуара) конца резервуара измерительной линейкой или измерительной рулеткой не менее двух раз. Расхождение между результатами двух измерений не должно быть более 2 мм.
За значение величины

принимают среднее арифметическое значение результатов измерений, округленное до 1 мм.
9.2.6.2. Результат измерений

вносят в протокол, форма которого приведена в приложении Г
(таблица Г.10).
(п. 9.2.6 введен
Изменением N 1, введенным в действие Приказом Росстандарта от 17.09.2012 N 308-ст)
9.2.7. Измерение расстояния между измерительной трубой и поднятым краем цилиндрической части резервуара
9.2.7.1. Расстояние между измерительной трубой и поднятым краем цилиндрической части резервуара
(рисунок А.12) измеряют с поднятого (в результате наклона резервуара) края резервуара измерительной рулеткой 2-го или 3-го класса точности по
ГОСТ 7502 не менее двух раз.
Расхождение между результатами двух измерений должно быть не более 2 мм.
За значение величины

принимают среднее арифметическое значение результатов измерений, округленное до целого миллиметра.
9.2.7.2. Результаты измерений

вносят в протокол, форма которого приведена в приложении Г
(таблица Г.10).
(п. 9.2.7 введен
Изменением N 1, введенным в действие Приказом Росстандарта от 17.09.2012 N 308-ст)
10. Обработка результатов измерений
10.1. Обработка результатов измерений при поверке резервуара геометрическим методом
10.1.1. Обработку результатов проводят в соответствии с
Приложением Д.
10.1.2. Результаты вычислений вносят в журнал, форма которого приведена в
Приложении Е.
10.2. Обработка результатов измерений при поверке резервуара объемным методом
10.2.1. Обработку результатов проводят в соответствии с
Приложением Ж.
10.2.2. Результаты вычислений вносят в журнал, форма которого приведена в
Приложении И.
10.3. Составление градуировочной таблицы
10.3.1. Составление градуировочной таблицы при поверке резервуара геометрическим методом
10.3.1.1. Градуировочную таблицу составляют, используя
формулы (Д.26),
(Д.33) Приложения Д, с шагом

= 1 см, начиная от плоскости, принятой за начало отсчета, до предельного уровня наполнения

.
10.3.1.2. При наличии внутренней детали градуировочную таблицу составляют вычитанием из посантиметровой вместимости резервуара объема внутренней детали, приходящегося на 1 см уровня наполнения, вычисляемого по
формуле (Д.57) или
формулам (Д.58),
(Д.59), начиная с высоты расположения внутренней детали в пределах ее высоты.
10.3.1.3. Результаты расчетов при составлении градуировочной таблицы вносят в
таблицу Е.2 Приложения Е.
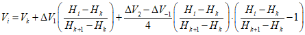
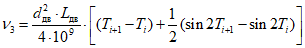
10.3.2. Составление градуировочной таблицы при поверке резервуара объемным методом
10.3.2.1. Градуировочную таблицу составляют (начиная от плоскости, принятой за начало отсчета, до предельного уровня наполнения

) с шагом

= 1 см, используя формулу

, (10)

,

,

,

- дозовые вместимости резервуара при наливе в него k - 1, k, k + 1, k + 2 доз жидкости, соответствующие уровням наполнения

,

,

,

и вычисляемые по
формуле (Ж.17) или
формулам (Ж.18),
(Ж.19) и т.д. Приложения Ж;

- текущий уровень наполнения резервуара.
В
формуле (10) вместимости

,

,

,

выражены в метрах кубических, а уровни

,

,

,

- в сантиметрах.
10.3.2.2. Результаты расчетов при составлении градуировочной таблицы вносят в
журнал, форма которого приведена в Приложении И (
таблица И.3).
10.3.3. При составлении градуировочной таблицы значения сантиметровой вместимости резервуара округляют до целого числа при расчете в дм3, до третьего знака после запятой - при расчете в м3.
10.3.4. В пределах каждого шага (изменения уровня наполнения резервуара на 1 см) вычисляют коэффициент вместимости

, равный вместимости, приходящейся на 1 мм высоты наполнения, по формуле

, (11)
где

,

- вместимости резервуара, соответствующие уровням

,

и вычисленные при:
10.3.5. Значения посантиметровой вместимости резервуара, указанные в градуировочных таблицах, соответствуют температуре 20 °C.
10.3.6. Порядок расчета при составлении градуировочной таблицы
10.3.6.1. Обработка результатов поверки может быть проведена ручным способом или с использованием ЭВМ.
10.3.6.2. Результаты измерений оформляют протоколом поверки.
10.3.6.3. Протокол поверки является входным документом при расчете градуировочной таблицы на ЭВМ.
10.3.6.4. Требования к машинному алгоритму обработки результатов измерений:
- вместимость резервуара, приходящуюся на 1 см высоты наполнения, вычисляют последовательным суммированием значений вместимостей, приходящихся на 1 мм высоты наполнения;
- последовательно суммируя значения вместимостей каждого миллиметра наполнения, вычисляют вместимость резервуара с интервалом 1 см.
11. Оформление результатов поверки
11.1. Положительные результаты поверки резервуара оформляют свидетельством о поверке по форме, установленной национальной (государственной) метрологической службой.
Абзац исключен с 1 июля 2013 года. -
Изменение N 1, введенное в действие Приказом Росстандарта от 17.09.2012 N 308-ст.
11.2. К свидетельству о поверке прилагают:
а) градуировочную таблицу;
б) протокол поверки (оригинал прикладывают к первому экземпляру градуировочной таблицы);
в) эскиз резервуара;
г) журнал обработки результатов измерений при поверке (только в случае проведения расчетов вручную);
(в ред.
Изменения N 1, введенного в действие Приказом Росстандарта от 17.09.2012 N 308-ст)
д) акт измерений базовой высоты (прикладывается ежегодно по результатам измерения базовой высоты);
е) опись деформации.
(в ред.
Изменения N 1, введенного в действие Приказом Росстандарта от 17.09.2012 N 308-ст)
Протокол поверки подписывают поверитель и лица, принявшие участие в проведении измерений параметров резервуара.
(в ред.
Изменения N 1, введенного в действие Приказом Росстандарта от 17.09.2012 N 308-ст)
Титульный лист и последнюю страницу градуировочной таблицы подписывает поверитель. Подписи поверителя заверяют оттисками поверительного клейма, печати (штампа). Документы, указанные в
11.2, в том числе документы, сформированные методом ручных вычислений и ручной обработки данных, пронумеровывают сквозной нумерацией, прошнуровывают, концы шнурка прикрепляют к последнему листу и на месте наклейки наносят оттиск поверительного клейма, печати (штампа).
(абзац введен
Изменением N 1, введенным в действие Приказом Росстандарта от 17.09.2012 N 308-ст)
11.4. Исключен с 1 июля 2013 года. -
Изменение N 1, введенное в действие Приказом Росстандарта от 17.09.2012 N 308-ст.
11.5. Градуировочные таблицы на резервуары утверждает руководитель организации национальной (государственной) метрологической службы или руководитель аккредитованной на право поверки метрологической службы юридического лица.
11.6. Типовые программы расчета градуировочных таблиц на ЭВМ по настоящему стандарту разработаны в ГНМЦ - ВНИИР и ВНИИМС. Программы, разработанные другими организациями, подлежат экспертизе, аттестации и утверждению в ГНМЦ - ВНИИР или ВНИИМС.
(справочное)
СХЕМЫ ИЗМЕРЕНИЙ ПАРАМЕТРОВ РЕЗЕРВУАРОВ ПРИ ПОВЕРКЕ
ГЕОМЕТРИЧЕСКИМ И ОБЪЕМНЫМ МЕТОДАМИ
1 - двойной отвес; 2 - измерительная рулетка;
3 - резервуар;

- наружный диаметр
цилиндрической части резервуара
Рисунок А.1. Схема двойного отвеса
1, 6 - днища; 2, 4, 5 - пояса; 3 - горловина; 7 - отвес;
8 - измерительная металлическая линейка
Рисунок А.2. Схема измерений параметров резервуара
1 - днище; 2 - пояс; 3 - отвес;
4 - измерительная металлическая линейка
Рисунок А.3. Схема измерений параметров
сферического и плоского днищ
1, 4 - подставки; 2, 3 - водомерные трубки
Рисунок А.4. Водомерные трубки
1 - основание; 2 - измерительная металлическая линейка;
3 - магнитный держатель
Рисунок А.5. Линейка измерительная с магнитным держателем
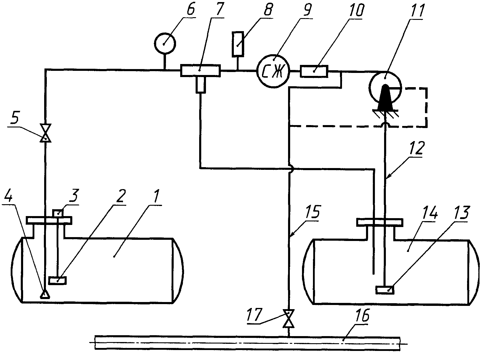
1, 2, 3 - мерники; 4, 5, 6 - вентили наполнения;
7, 8, 9 - вентили опорожнения; 10 - всасывающая линия
насоса; 11 - насос; 12 - приемный резервуар; 13 - фильтр;
14 - линия технологической обвязки; 15 - поверяемый
резервуар; 16 - поплавок уровнемера; 17 - уровнемер;
18 - расширитель струи; 19 - вентиль обвязки;
20 - технологический трубопровод (водопровод)
Рисунок А.6. Измерительная система для поверки резервуара
с применением уровнемера и мерников
1 - поверяемый резервуар; 2 - поплавок уровнемера;
3 - уровнемер; 4 - расширитель струи; 5, 17 - вентили;
6 - манометр; 7 - трехходовой кран; 8 - термометр
(измеритель температуры); 9 - счетчик жидкости;
10 - дроссель; 11 - насос; 12 - всасывающая линия насоса;
13 - фильтр; 14 - приемный резервуар; 15 - линия
технологической обвязки; 16 - технологический трубопровод
(водопровод)
Рисунок А.7. Измерительная система для поверки резервуара
с применением уровнемера и счетчика жидкости
1, 3 - водомерные трубки; 2 - резервуар;
4 - резиновая трубка
Рисунок А.8. Схема измерений угла наклона резервуара
с применением водомерных трубок
1, 4 - измерительные металлические линейки;
2 - резервуар; 3 - вода
Рисунок А.9. Схема измерений угла наклона резервуара
с применением линеек с магнитными держателями
Рисунок А.10. Схема наклоненного резервуара
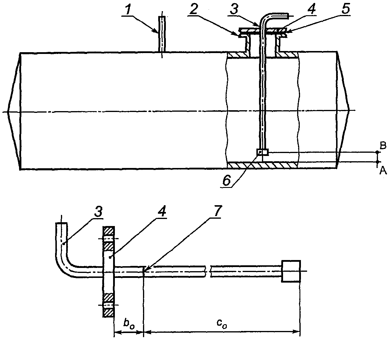
1 - измерительная труба; 2 - фланец горловины;
3 - расходная труба; 4 - крышка горловины; 5 - прокладка;
6 - приемный клапан или приемное устройство; А-В - отрезок,
отсчитываемый от нижней образующей резервуара до нижнего
края приемного клапана или приемного устройства, равный
высоте "мертвой" полости резервуара

; 7 - отметка
на поверхности расходной трубы;

- расстояние
между нижним краем крышки горловины до отметки;

- расстояние от отметки до нижнего края приемного
клапана или приемного устройства
Рисунок А.11. Схема резервуара с расходной трубой
Приказом Росстандарта от 17.09.2012 N 308-ст)
1 - цилиндрическая часть резервуара; 2 - расходная труба;

- расстояние между расходной трубой и поднятым краем
цилиндрической части резервуара;

- расстояние
между измерительной трубой и поднятым краем
цилиндрической части резервуара
Рисунок А.12. Схема измерения параметра

резервуара
с расходной трубой
Приказом Росстандарта от 17.09.2012 N 308-ст)
(обязательное)
ПРОТОКОЛА ПОВЕРКИ РЕЗЕРВУАРА ГЕОМЕТРИЧЕСКИМ МЕТОДОМ
Приказом Росстандарта от 17.09.2012 N 308-ст)
поверки резервуара геометрическим методом
Таблица Б.1. Общие данные
Регистрационный номер | Дата | Основание для проведения поверки |
Число | Месяц | Год |
| | |
Продолжение таблицы Б.1
Место проведения поверки | Средства поверки |
| |
Окончание таблицы Б.1
Резервуар |
Тип | Номер | Форма днища | Назначение | Погрешность определения вместимости резервуара, % |
1-го (переднего) | 2-го (заднего) |
1 | 2 | 3 | 4 | 5 | 6 |
| | | | | |
Примечание. При поверке резервуара геометрическим методом значение погрешности (графа 6) принимают по градуировочной таблице резервуара, исходя из уровня наполнения резервуара. |
Таблица Б.2. Условия проведения измерений
Температура воздуха, °C | Скорость ветра <*>, м/с | Загазованность,  |
| | |
<*> Измеряют при значении диаметра резервуара более 5 м. |
Таблица Б.3. Степень наклона резервуара
Номер измерения | Показания, мм |
1-й линейки (1-й водомерной трубки) -  ,  | 2-й линейки (2-й водомерной трубки) -  ,  | измерительной рулетки (расстояние между линейками или водомерными трубками -  ) |
1 | | | |
2 | | | |
Таблица Б.4. Вмятины (выпучины)
Номер вмятины (выпучины) | Параметр вмятины (выпучины), мм |
Диаметр | Глубина (высота) |
| | |
| | |
Таблица Б.5. Непрямолинейность оси резервуара
Расстояние между образующей резервуара и измерительной рулеткой, мм |
| | |
1 | 2 | 3 |
| | |
Примечание. Графу 1 заполняют при вогнутости образующей резервуара, графы 2, 3 - при выпуклости. |
Таблица Б.6. Внутренние диаметры поясов

В миллиметрах
Сечение пояса | Направление измерения | Номер измерения | Номер пояса |
1 | 2 | 3 | 4 | 5 | 6 | 7 | 8 | 9 | 10 | 11 | 12 |
Левое | горизонтальное | 1 | | | | | | | | | | | | |
2 | | | | | | | | | | | | |
вертикальное | 1 | | | | | | | | | | | | |
2 | | | | | | | | | | | | |
Среднее | горизонтальное | 1 | | | | | | | | | | | | |
2 | | | | | | | | | | | | |
вертикальное | 1 | | | | | | | | | | | | |
2 | | | | | | | | | | | | |
Правое | горизонтальное | 1 | | | | | | | | | | | | |
2 | | | | | | | | | | | | |
вертикальное | 1 | | | | | | | | | | | | |
2 | | | | | | | | | | | | |
Окончание таблицы Б.6
В миллиметрах
Сечение пояса | Направление измерения | Номер измерения | Номер пояса |
13 | 14 | 15 | 16 | 17 | 18 | 19 | 20 | 21 | 22 | 23 | 24 |
Левое | горизонтальное | 1 | | | | | | | | | | | | |
2 | | | | | | | | | | | | |
вертикальное | 1 | | | | | | | | | | | | |
2 | | | | | | | | | | | | |
Среднее | горизонтальное | 1 | | | | | | | | | | | | |
2 | | | | | | | | | | | | |
вертикальное | 1 | | | | | | | | | | | | |
2 | | | | | | | | | | | | |
Правое | горизонтальное | 1 | | | | | | | | | | | | |
2 | | | | | | | | | | | | |
вертикальное | 1 | | | | | | | | | | | | |
2 | | | | | | | | | | | | |
Таблица Б.7. Наружные диаметры поясов (измерения с двумя отвесами)

В миллиметрах
Номер пояса | Левое сечение | Среднее сечение | Правое сечение |
1-е измерение | 2-е измерение | 1-е измерение | 2-е измерение | 1-е измерение | 2-е измерение |
1 | | | | | | |
2 | | | | | | |
3 | | | | | | |
4 | | | | | | |
5 | | | | | | |
6 | | | | | | |
7 | | | | | | |
8 | | | | | | |
9 | | | | | | |
10 | | | | | | |
11 | | | | | | |
12 | | | | | | |
13 | | | | | | |
14 | | | | | | |
15 | | | | | | |
16 | | | | | | |
17 | | | | | | |
18 | | | | | | |
19 | | | | | | |
20 | | | | | | |
21 | | | | | | |
22 | | | | | | |
23 | | | | | | |
24 | | | | | | |
Таблица Б.8. Длины окружности поясов P
В миллиметрах
Номер пояса | Левое сечение | Среднее сечение | Правое сечение |
1-е измерение | 2-е измерение | 1-е измерение | 2-е измерение | 1-е измерение | 2-е измерение |
1 | | | | | | |
2 | | | | | | |
3 | | | | | | |
4 | | | | | | |
5 | | | | | | |
6 | | | | | | |
7 | | | | | | |
8 | | | | | | |
9 | | | | | | |
10 | | | | | | |
11 | | | | | | |
12 | | | | | | |
13 | | | | | | |
14 | | | | | | |
15 | | | | | | |
16 | | | | | | |
17 | | | | | | |
18 | | | | | | |
19 | | | | | | |
20 | | | | | | |
21 | | | | | | |
22 | | | | | | |
23 | | | | | | |
24 | | | | | | |
Таблица Б.9. Другие параметры поясов
Номер пояса | Длина пояса  , мм | Толщина стенки  , мм | Длина нахлеста  , мм | Схема нахлеста (+, -, 0) | Толщина слоя краски  , мм |
1-е измерение | 2-е измерение |
1 | 2 | 3 | 4 | 5 | 6 | 7 |
1 | | | | | | |
2 | | | | | | |
3 | | | | | | |
4 | | | | | | |
5 | | | | | | |
6 | | | | | | |
7 | | | | | | |
8 | | | | | | |
9 | | | | | | |
10 | | | | | | |
11 | | | | | | |
12 | | | | | | |
13 | | | | | | |
14 | | | | | | |
15 | | | | | | |
16 | | | | | | |
17 | | | | | | |
18 | | | | | | |
19 | | | | | | |
20 | | | | | | |
21 | | | | | | |
22 | | | | | | |
23 | | | | | | |
24 | | | | | | |
Примечание. В графе "схема нахлеста" указывают "+", если текущий пояс включает в себя предшествующий; указывают "-", если текущий пояс включается в предшествующий; при сварке встык проставляют "0". |
Таблица Б.10. Длина выступа днищ

Номер днища | Место измерений длины выступа днища | Показание штангенциркуля или линейки  , мм |
1 (переднее) | По верхней образующей | |
По нижней образующей | |
2 (заднее) | По верхней образующей | |
По нижней образующей | |
Таблица Б.11. Длина углубления днищ

Номер днища | Место измерений длины углубления днища | Показание штангенциркуля или линейки  , мм |
1 (переднее) | По верхней образующей | |
По нижней образующей | |
2 (заднее) | По верхней образующей | |
По нижней образующей | |
Таблица Б.12. Выпуклость (высота) днищ

Номер днища | Место измерений выпуклости (высоты) днища | Показание штангенциркуля или линейки, мм |
1 (переднее) | По верхней образующей  | |
По нижней образующей  | |
2 (заднее) | По верхней образующей  | |
По нижней образующей  | |
Таблица Б.13. Глубина заложения днищ

Номер днища | Номер измерения | Показание линейки или штангенциркуля  , мм |
1 (переднее) | 1 | |
2 | |
2 (заднее) | 1 | |
2 | |
Таблица Б.14. Толщина стенки днищ

Номер днища | Номер измерения | Показание толщиномера  , мм |
1 (переднее) | 1 | |
2 | |
2 (заднее) | 1 | |
2 | |
Таблица Б.15. Малые диаметры усеченно-конических днищ d
Номер днища | Направление измерений | Номер измерения | Показание линейки или измерительной рулетки d, мм |
1 (переднее) | Горизонтальное | 1 | |
2 | |
Вертикальное | 1 | |
2 | |
2 (заднее) | Горизонтальное | 1 | |
2 | |
Вертикальное | 1 | |
2 | |
Таблица Б.16. Другие параметры резервуара
Измеряемый параметр | Номер измерения | Показание линейки, измерительной рулетки, мм |
Глубина заложения горловины резервуара t | 1 | |
2 | |
Координата точки измерения базовой высоты резервуара  | 1 | |
2 | |
Базовая высота резервуара  | 1 | |
2 | |
Таблица Б.16.1
Высота "мертвой" полости при геометрическом
методе поверки резервуара
В миллиметрах
Измеряемый параметр | Расположение приемно-раздаточного патрубка | Номер измерения | Показания линейки, измерительной рулетки, мм |
при наличии измерительной трубы | при отсутствии измерительной трубы |
Высота "мертвой" полости | В поднятом крае резервуара | 1 | | |
2 | | |
В опущенном крае резервуара | 1 | | |
2 | | |
Таблица Б.17. Объемы внутренних деталей цилиндрической (прямоугольной) формы
В миллиметрах
Диаметр | Длина | Высота от плоскости, принятой за начало отсчета уровня жидкости |
Нижняя граница | Верхняя граница |
| | | |
| | | |
Таблица Б.18. Объемы внутренних деталей прочей формы
Объем,  | Поперечное сечение детали | Высота от плоскости, принятой за начало отсчета уровня жидкости, мм |
Площадь,  | Высота, мм | Нижняя граница | Верхняя граница |
| | | | |
| | | | |
Должности | Подписи, оттиски поверительных клейм, печатей (штампов) | Инициалы, фамилии |
(обязательное)
ФОРМА ОПИСИ ДЕФОРМАЦИИ РЕЗЕРВУАРА
ОПИСЬ ДЕФОРМАЦИИ РЕЗЕРВУАРА N _______
В.1. Разность диаметров, мм:
в одном сечении (овальность) ______________________________
в разных сечениях (конусность) ____________________________
в разных сечениях (бочкообразность) _______________________
В.2. Непрямолинейность оси резервуара, мм ____________________
В.3. Размеры выпучины или вмятины, мм:
диаметр ___________________________________________________
глубина (выпуклость) ______________________________________
В.4. Степень наклона резервуара ______________________________
Поверитель
_______________________________
подпись, инициалы, фамилия
"___" ________________ ______ г.
(обязательное)
ФОРМА ПРОТОКОЛА ПОВЕРКИ РЕЗЕРВУАРА ОБЪЕМНЫМ МЕТОДОМ
Приказом Росстандарта от 17.09.2012 N 308-ст)
поверки резервуара объемным методом
Таблица Г.1. Общие данные
Регистрационный номер | Дата | Основание для проведения поверки |
Число | Месяц | Год |
| | | | |
Продолжение таблицы Г.1
Место проведения поверки | Средства поверки |
| |
Окончание таблицы Г.1
Резервуар |
Тип | Номер | Форма днища | Назначение | Погрешность определения вместимости резервуара, % |
| | | | |
Таблица Г.2. Условия проведения измерений
Условия проведения измерений |
Температура воздуха, °C | Загазованность, мг/м3 |
| |
Таблица Г.3. Параметры резервуара
Коэффициент объемного расширения материала, 1/°C | Внутренний диаметр D, мм | Длина цилиндрической части L, мм | Глубина заложения горловины t, мм |
мерников  | резервуара  | 1-е измерение | 2-е измерение |
| | | | | |
Таблица Г.4. Параметры (начальные) поверочной жидкости
Наименование | Температура начальная, °C | Коэффициент сжимаемости  , 1/МПа | Плотность  , кг/м3 |
в резервуаре  | в мернике  | в счетчике жидкости  |
1 | 2 | 3 | 4 | 5 | 6 |
| | | | | |
Примечания. 1. Величины  ,  ,  (графы 2, 3, 4) - означают температуры поверочной жидкости, измеренные в момент отбора пробы в соответствии с 9.2.3.6. |
2. Значение  (графа 5) для воды принимают равным  , для нефтепродуктов - по [6]. |
3. За начальную температуру в мернике (графа 3) принимают среднее арифметическое результатов измерений температур в мерниках. |
Таблица Г.5. Измерения при поверке резервуара
Уровень жидкости  , мм | Объем дозы  , или показание счетчика жидкости  (  , имп.) | Температура жидкости, °C | Давление в счетчике жидкости  , МПа | Расход жидкости Q,  |
в мерниках  или счетчике жидкости  | в резервуаре  |
| | | | | |
| | | | | |
| | | | | |
| | | | | |
| | | | | |
| | | | | |
| | | | | |
| | | | | |
| | | | | |
| | | | | |
Таблица Г.6. Базовая высота резервуара
Базовая высота резервуара  |
до определения вместимости резервуара, мм | после определения вместимости резервуара, мм |
1-е измерение | 2-е измерение | 1-е измерение | 2-е измерение |
| | | |
Таблица Г.7. Максимальный уровень жидкости
Показания измерительной рулетки с грузом  , мм | Показание уровнемера  H, мм |
1-е измерение | 2-е измерение | |
| | |
| | |
| | |
Таблица Г.8
Параметры счетчика жидкости со сдвигом
дозирования и проскоком
Наименование параметра | Значение параметра при расходе Q,  |
100 | 150 | 200 | 250 |
Сдвиг дозирования С,  | | | | |
Проскок Пр,  | | | | |
Таблица Г.9
Высота "мертвой" полости при объемном
методе поверки резервуара
Номер измерения | Высота "мертвой" полости  , мм |
при отсутствии измерительной трубы | при наличии измерительной трубы |
1 | | |
2 | | |
Таблица Г.10
Измеряемый параметр | Номер измерения | Показания линейки, измерительной рулетки, мм |
Расстояние между расходной трубой и поднятым краем цилиндрической части резервуара  | 1 | |
2 | |
Расстояние между измерительной трубой и поднятым краем цилиндрической части резервуара  | 1 | |
2 | |
Должности | Подписи, оттиски поверительных клейм, печатей (штампов) | Инициалы, фамилии |
(обязательное)
ОБРАБОТКА РЕЗУЛЬТАТОВ ИЗМЕРЕНИЙ
ПРИ ПОВЕРКЕ РЕЗЕРВУАРА ГЕОМЕТРИЧЕСКИМ МЕТОДОМ
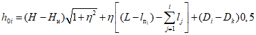
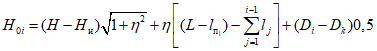
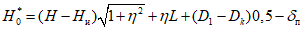
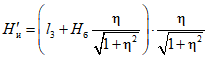
Д.1. Вычисление степени наклона резервуара
Д.1.1. Степень наклона резервуара

вычисляют по формуле
<*>

, (Д.1)
где

,

- средние арифметические значения показаний водомерных трубок или линеек;

- расстояние между водомерными трубками или линейками.
--------------------------------
<*> Все расчеты проводят до 7-й значащей цифры, затем округляют: для длин - до миллиметров, для объемов - до тысячных долей метра кубического. Во всех формулах значения линейных размеров указывают в миллиметрах, объемы - в метрах кубических, массу - в килограммах, температуру - в градусах Цельсия, плотность - в килограммах на метр кубический, давление - в паскалях.
Д.1.2. Допускается степень наклона резервуара до 0,03 при условии определения вместимости резервуара с учетом степени наклона его в пределах от 0,0005 до 0,03.
Д.2. Вычисление внутренних диаметров поясов по результатам внутренних измерений
Д.2.1. Внутренние диаметры i-го пояса резервуара (если цилиндрическая часть резервуара состоит из одного пояса) в каждом из трех сечений во взаимно перпендикулярных направлениях

,

вычисляют по формулам:

; (Д.2)

, (Д.3)
где k - соответствует обозначениям: л, с, п (л - левое, с - среднее, п - правое сечение пояса);

,

- внутренние диаметры i-го пояса в k-м сечении в горизонтальном и вертикальном направлениях соответственно.
Д.2.2. Внутренние диаметры i-го пояса во взаимно перпендикулярных направлениях

,

вычисляются по формулам:

; (Д.4)

, (Д.5)
где

,

,

- диаметры в трех сечениях пояса во взаимно перпендикулярных направлениях, вычисляемые по
формулам (Д.2),
(Д.3).
Д.2.3. Внутренний диаметр i-го пояса вычисляют по формуле

. (Д.6)
Д.3. Вычисление внутренних диаметров поясов по результатам наружных измерений
Д.3.1. Наружный диаметр i-го пояса в каждом (k-м) из трех сечений

при измерении длины его окружности вычисляют по формуле

, (Д.7)
где P', P" - длины окружности при первом и втором измерениях;
k - соответствует обозначениям: л, с, п (л - левое, с - среднее, п - правое сечение пояса).
Д.3.2. Внутренний диаметр i-го пояса

при измерении длины его окружности вычисляют по формуле

, (Д.8)
Приказом Росстандарта от 17.09.2012 N 308-ст)
где

,

,

- наружные диаметры в трех сечениях i-го пояса, вычисленные по
формуле (Д.7);

- толщина стенок поясов, значение которой определяют как среднее арифметическое результатов двух измерений;

- толщина слоя краски.
(абзац введен
Изменением N 1, введенным в действие Приказом Росстандарта от 17.09.2012 N 308-ст)
Д.3.3. Наружный диаметр i-го пояса в каждом (k-м) из трех сечений

при измерении длины его окружности вычисляют по формуле

, (Д.9)
где

,

- наружные диаметры при первом и втором измерениях;
k - соответствует обозначениям: л, с, п (л - левое, с - среднее, п - правое сечение пояса).
Д.3.4. Внутренний диаметр i-го пояса

при измерении его наружного диаметра вычисляют по формуле

, (Д.10)
Приказом Росстандарта от 17.09.2012 N 308-ст)
где

,

,

- наружные диаметры в трех сечениях i-го пояса, вычисляемые по
формуле (Д.9).
Д.3.6. Внутренние диаметры переднего

и заднего

поясков (
рисунок А.2) вычисляют по формулам:

; (Д.11)

, (Д.12)
где

,

- диаметры первого и m-го (последнего) поясов;

- толщина стенки поясков.
Д.4. Вычисление внутренних длин поясов
Д.4.1. Внутреннюю длину первого пояса (
рисунок А.2)

,

вычисляют по формулам:
а) при наличии углубления переднего (не поднятого в результате наклона резервуара) днища

; (Д.13)
б) при наличии выступа переднего днища

, (Д.14)
где

- длина первого пояса, измеренная снаружи;

- глубина заложения переднего днища;

,

- длины углубления и выступа переднего днища;

- длина нахлеста, ее значение берут из рабочего чертежа.
Д.4.2. Внутреннюю длину второго пояса

вычисляют по формуле

. (Д.15)
Внутреннюю длину других промежуточных поясов вычисляют аналогично, но с учетом нахлестов.
Д.4.3. Внутреннюю длину последнего m-го пояса

или

вычисляют по формулам:
а) при наличии углубления заднего (поднятого в результате наклона резервуара) днища

; (Д.16)
б) при наличии выступа заднего днища

, (Д.17)
где

- длина последнего m-го пояса, измеренная снаружи;

- глубина заложения заднего днища;

,

- длины углубления и выступа заднего днища соответственно;
Д.5. Вычисление длины цилиндрической части резервуара
Д.5.1. Длину цилиндрической части резервуара

или

вычисляют по формулам:
а) при наличии выступов днищ (кроме плоских днищ)

; (Д.18)
б) при наличии углубления днищ (кроме плоских днищ)

. (Д.19)
Д.5.2. Длину цилиндрической части резервуара с плоскими днищами

или

вычисляют по формулам:
а) при наличии выступа днищ

; (Д.20)
б) при наличии углубления днищ

, (Д.21)
где

- толщина стенок днищ.
Д.6. Вычисление внутреннего диаметра цилиндрической части резервуара
Д.6.1. Внутренний диаметр цилиндрической части резервуара (далее - диаметр резервуара) D вычисляют по формуле

. (Д.22)
Д.6.2. Результат вычисления D вносят в журнал, форма которого приведена в
Приложении Е.
Д.7. Вычисление внутренних выпуклостей (высот) днищ
Д.7.1. Внутреннюю выпуклость (высоту) переднего

или заднего

днища (
рисунок А.2) вычисляют по формулам:
а) при отсутствии выступов и углублений

; (Д.23)
б) при наличии выступов

; (Д.24)
в) при наличии углублений

, (Д.25)
где

,

,

,

- выпуклости (высоты) переднего (первого) и заднего (второго) днищ, измеренные по верхней и нижней образующим днищ при отсутствии и наличии выступов и углублений днищ;

- толщина стенки днища.
Результаты вычислений

,

вносят в журнал, форма которого приведена в
Приложении Е.
Д.8. Вычисление вместимости резервуара
Д.8.1. Вычисление вместимости наклоненного резервуара
Д.8.1.1. Вместимость резервуара

в пределах исходного уровня его наполнения

(
рисунок А.10) при значениях степени наклона от 0,0005 до 0,03 вычисляют по формуле

, (Д.26)
где

- вместимость цилиндрической части резервуара;

- вместимость переднего днища.
Д.8.1.2. Вместимость цилиндрической части резервуара

вычисляют по формуле

, (Д.27)
m - число поясов резервуара;

- объем внутренних деталей в пределах исходного уровня

;

;

;

;

;
Величины

,

,

,

вычисляют по формулам:
а) для "мертвого" остатка:
(в ред.
Изменения N 1, введенного в действие Приказом Росстандарта от 17.09.2012 N 308-ст)

,

,

,

,

,

;
(в ред.
Изменения N 1, введенного в действие Приказом Росстандарта от 17.09.2012 N 308-ст)
б) для полости в пределах исходного уровня
(рисунок А.10), находящейся выше "мертвого" остатка:
(в ред.
Изменения N 1, введенного в действие Приказом Росстандарта от 17.09.2012 N 308-ст)
- при наполнении k-го пояса

,

,

;

;

,

;
- при наполнении (k + 1)-го пояса

,

,

,

,

,

;
.................................
.................................
- при наполнении m-го (последнего) пояса

,

,

;

,

,

,
где H - уровень жидкости в резервуаре;

- диаметр пояса, на котором смонтированы горловина или измерительный люк резервуара;

- глубина заложения переднего днища;

- диаметр первого пояса;

- толщина стенки пояска.
Д.8.1.3. Исходный уровень жидкости в резервуаре

:
- при отсутствии измерительной трубы

вычисляют по формуле

; (Д.28)
- при наличии измерительной трубы

вычисляют по формуле

, (Д.28а),
(в ред.
Изменения N 1, введенного в действие Приказом Росстандарта от 17.09.2012 N 308-ст)
где

- координата точки измерения базовой высоты (
рисунок А.10);

- базовая высота резервуара.
Результат вычисления

вносят в
журнал, форма которого приведена в Приложении Е.
Д.8.1.4. Вместимость днищ в пределах исходного уровня

;

;

вычисляют по формулам:
а) для сферической формы

; (Д.29)
б) для конической формы

; (Д.30)
в) для усеченно-конической формы

, (Д.31)
где

;

;

; (Д.32)

;

;

;

- малый диаметр первого (переднего) усеченно-конического днища;

- выпуклость (высота) переднего днища.
Д.8.1.5. Вместимость резервуара V(y, z) при уровне H выше исходного уровня вычисляют по формуле

, (Д.33)
где

- вместимость цилиндрической части резервуара выше исходного уровня;

,

- вместимости переднего и заднего днищ выше исходного уровня.
Д.8.1.6. Вместимость цилиндрической части резервуара

при уровне H выше исходного уровня вычисляют по формуле

, (Д.34)
где

;

;

;

;

;

;
Величины

,

,

,

,

,

вычисляют по формулам:

;

; (Д.35)

;

;

; (Д.36)

,
где

- глубина заложения заднего днища.
Величины

,

,

,

,

,

вычисляют:
- для "мертвой" полости резервуара при уровне, соответствующем высоте "мертвой" полости резервуара

, вычисляемом по формуле
(Д.62) или
(Д.63),
(Д.64),
(Д.65).
(абзац введен
Изменением N 1, введенным в действие Приказом Росстандарта от 17.09.2012 N 308-ст)
Д.8.1.7. Вместимости днищ выше исходного уровня

,

,

,

,

,

вычисляют по формулам:
а) для сферической формы

; (Д.37)

; (Д.38)
б) для конической формы

; (Д.39)

; (Д.40)
в) для усеченно-конической формы

; (Д.41)

; (Д.42)
где

;

;

;

;

; (Д.43)

; (Д.44)

; (Д.45)

; (Д.46)

,

- выпуклости (высоты) днищ.
Д.8.1.8. Результаты вычислений

,

,

,

,

,

вносят в
журнал, форма которого приведена в Приложении Е.

;

.
Д.8.1.11. Вместимость резервуара при его поверке и отсутствии измерительной трубы определяют до предельного уровня

, вычисляемого по формуле
(в ред.
Изменения N 1, введенного в действие Приказом Росстандарта от 17.09.2012 N 308-ст)

, (Д.47)
если глубина заложения горловины t удовлетворяет условию

. (Д.48)
Если

, то вместимость резервуара при его поверке и отсутствии измерительной трубы определяют до предельного уровня

, вычисляемого по формуле
(в ред.
Изменения N 1, введенного в действие Приказом Росстандарта от 17.09.2012 N 308-ст)

. (Д.49)
Результаты вычислений

вносят в
журнал, форма которого приведена в Приложении Е.
Д.8.2. Вычисление вместимости ненаклоненного резервуара
Д.8.2.1. Резервуар считают ненаклоненным, если выполняется условие

. (Д.50)
Д.8.2.2. Вместимость резервуара V, соответствующую уровню H, вычисляют по формуле

, (Д.51)
где

- вместимость цилиндрической части резервуара;

,

- вместимости переднего и заднего днищ;

- объем внутренних деталей.
Д.8.2.3. Вместимость цилиндрической части резервуара

вычисляют по формуле

, (Д.52)
где

,

- диаметр и длина i-го пояса;

,

- вместимости переднего и заднего поясков;
m - число поясов резервуара;
x* - рассчитывают по формуле

,
где

- диаметр k-го пояса с горловиной резервуара или измерительным люком;
H - уровень жидкости в резервуаре.
Д.8.2.4. Вместимости поясков

,

вычисляют по формулам:

; (Д.53)

, (Д.54)
где

,

- глубины заложения днищ (длины переднего и заднего поясков);

,

- рассчитывают по формулам:

; (Д.55)

; (Д.56)

,

- диаметры первого и m-го (последнего) поясов;
Д.8.2.6. Вместимость резервуара при его поверке определяют до предельного уровня

, вычисляемого по
формуле (9) настоящего стандарта.
Д.9. Вычисление объемов внутренних деталей, приходящихся на 1 см уровня налива
Д.9.1. Объем вертикальной цилиндрической (прямоугольной) внутренней детали, приходящийся на 1 см уровня налива (далее - объем на 1 см уровня налива),

, м3/см, вычисляют по формуле

, (Д.57)
где

- площадь поперечного сечения детали цилиндрической или прямоугольной (квадратной) формы, м2.
Д.9.2. Объем поперечного силового набора (шпангоута) на 1 см уровня налива

, м3/см, вычисляют по формуле

, (Д.58)
Приказом Росстандарта от 17.09.2012 N 308-ст)
где

- площадь поперечного сечения (профиля) шпангоута, м2;

- высота профиля шпангоута, мм.
Д.9.3. Объем горизонтальной цилиндрической внутренней детали (теплообменника, патрубка и др.) на 1 см уровня налива

, м3/см, вычисляют по формуле

, (Д.59)
где

;

;

- наружный диаметр внутренней детали, мм;

- длина осевой линии внутренней детали, мм;

,

- уровни налива, отсчитываемые с высоты расположения внутренней детали в пределах наружного ее диаметра и соответствующие условию:

= 10 мм.
Д.9.5. Вычисление погрешности определения вместимости резервуара
Д.9.5.1. Относительную погрешность определения вместимости наклоненного резервуара

, %:
а) в пределах уровня от нуля до

, вычисляют по формуле

, (Д.60)
где

,

,

,

,

- относительные погрешности измерений диаметра резервуара, степени наклона резервуара, длины цилиндрической части резервуара, координаты точки измерений базовой высоты резервуара и уровня жидкости в резервуаре, базовой высоты резервуара соответственно, %:
1) величину

, вычисляют по формуле

, (Д.60а)
где

,

,...,

- диаметры поясов, вычисляемые по формуле
(Д.6);

,

,...,

- относительные погрешности измерений диаметров поясов, их значения берут из
таблицы 1 настоящего стандарта;
D - диаметр цилиндрической части резервуара, вычисляемый по формуле
(Д.22);
2) величину

, вычисляют по формуле

,
где

- абсолютная погрешность измерений степени наклона резервуара, вычисляемая по формуле

,
где

- расстояние между водомерными трубками или линейками;

,

- средние арифметические значения показаний водомерных трубок или линеек;

- абсолютная погрешность измерения

, вычисляемая в соответствии с
ГОСТ 7502 по формуле

;
величину

вычисляют по формуле
(Д.1);
3) величину

, вычисляют по формуле

,
где

- абсолютная погрешность измерения длины цилиндрической части резервуара, вычисляемая по формуле

, (Д.60б)
где

- относительная погрешность измерений длины пояса, %. Ее значение берут из
таблицы 1 настоящего стандарта;
4) величину

, вычисляют по формуле

,
где

- абсолютная погрешность измерений длины координаты точки измерений базовой высоты резервуара и уровня жидкости, значение ее берут из
таблицы 1 настоящего стандарта;
5) величину

, вычисляют по формуле

,
где

- абсолютная погрешность измерений базовой высоты резервуара, вычисляемая по формуле

.
Величины

,

,

,

,

вычисляют по формулам:

;

;

;

;

;
б) при уровнях выше уровня

, вычисляют по формуле

. (Д.60в)
Величины

,

,

,

,

вычисляют по формулам:

;

;

;

;

;

;

;

;

;

;

;

;

;

,
где H - уровень наполнения резервуара;

- исходный уровень наполнения резервуара, вычисляемый по формуле
(Д.28) или
(Д.28а).
Примечания.
1. При наличии измерительной трубы в формулах
(Д.60),
(Д.60в) значение базовой высоты

принимают равным нулю.
2. При вычислениях величин

,

,

,

,

,

,

,

удерживают до одиннадцати значащих цифр.
(п. Д.9.5.1 в ред.
Изменения N 1, введенного в действие Приказом Росстандарта от 17.09.2012 N 308-ст)
Д.9.5.2. Исключен с 1 июля 2013 года. -
Изменение N 1, введенное в действие Приказом Росстандарта от 17.09.2012 N 308-ст.
Д.9.5.3. Относительную погрешность определения вместимости ненаклоненного резервуара

, вычисляют по формуле

, (Д.60г)
где

- относительная погрешность измерений диаметра резервуара, вычисляемая по формуле
(Д.60а), %;

- относительная погрешность измерений длины цилиндрической части резервуара, вычисляемая по формуле

,
где

- абсолютная погрешность, вычисляемая по формуле
(Д.60б);
Величину F вычисляют по формуле

. (Д.60д)
Величину

вычисляют по формуле

,
где

рассчитывают по формуле

,
где H - уровень наполнения резервуара;
D - диаметр резервуара, вычисляемый по формуле
(Д.60а).
Примечание. При вычислении числителя и знаменателя формулы
(Д.60д) и величины

удерживают до одиннадцати значащих цифр.
(п. Д.9.5.3 введен
Изменением N 1, введенным в действие Приказом Росстандарта от 17.09.2012 N 308-ст)
(п. Д.9.5.4 введен
Изменением N 1, введенным в действие Приказом Росстандарта от 17.09.2012 N 308-ст)
Д.10. Вычисление базовой высоты
Д.10.1. Базовую высоту резервуара

вычисляют по формуле

, (Д.61)
где

,

- результаты двух измерений базовой высоты резервуара.
Д.10.2. Результаты вычисления

вносят в журнал, форма которого приведена в
Приложении Е.
Д.11. Вычисление уровня, соответствующего высоте "мертвой" полости наземных резервуаров
Д.11.1. Уровень жидкости, соответствующий высоте "мертвой" полости резервуара

, при расположении приемно-раздаточного патрубка ближе к поднятому (в результате наклона резервуара) концу резервуара:
- при отсутствии измерительной трубы

вычисляют по формуле

, (Д.62)
где

- исходный уровень, вычисляемый по формуле
(Д.28), мм;

- степень наклона резервуара, вычисляемая по формуле
(Д.1);
- при наличии измерительной трубы

вычисляют по формуле

, (Д.63)
где

- координата точки изменения базовой высоты и уровня жидкости в резервуаре
(рисунок А.10), мм;
н - обозначение, соответствующее слову "наземный".
Д.11.2. Уровень жидкости, соответствующий высоте "мертвой" полости резервуара

, при расположении приемно-раздаточного патрубка ближе к опущенному (в результате наклона резервуара) концу резервуара:
а) в случае выполнения условия:

;
и отсутствия измерительной трубы

вычисляют по формуле

, (Д.64)
где L - длина цилиндрической части резервуара;
б) в случае выполнения условия:
и наличия измерительной трубы

вычисляют по формуле

; (Д.65)
в) в случае выполнения условий:

,
уровень, соответствующий высоте "мертвой" полости резервуара

, невозможно определить.
(п. Д.11 введен
Изменением N 1, введенным в действие Приказом Росстандарта от 17.09.2012 N 308-ст)
(справочное)
ФОРМА ЖУРНАЛА ОБРАБОТКИ РЕЗУЛЬТАТОВ ИЗМЕРЕНИЙ
ПРИ ПОВЕРКЕ ГЕОМЕТРИЧЕСКИМ МЕТОДОМ
обработки результатов поверки геометрическим методом
Е.1. Вычисление степени наклона резервуара

=...
Е.2. Вычисление внутренних диаметров поясов
Номер пояса | Точка измерений | Внутренние диаметры сечений, мм | Наружные диаметры сечений, мм | Внутренний диаметр пояса, мм |
горизонтальные | вертикальные | горизонтальные | вертикальные |
1 | л | | | | | |
с | | | | | |
п | | | | | |
2 | л | | | | | |
с | | | | | |
п | | | | | |
3 | л | | | | | |
с | | | | | |
п | | | | | |
... | ... | ... | | | | |
... | ... | ... | | | | |
Е.3. Вычисление внутренних диаметров поясков

=..... мм;

=..... мм.
Е.4. Вычисление внутренних длин поясов

=..... мм;

=..... мм;

=..... мм.
Е.5. Вычисление длины цилиндрической части
L =..... мм.
Е.6. Вычисление внутреннего диаметра резервуара
D =..... мм.
Е.7. Вычисление внутренних выпуклостей (высот) днищ

=..... мм;

=..... мм.
Е.8. Вычисление базовой и исходной высот

=..... мм;

=..... мм.
Е.9. Вычисление предельного уровня наполнения резервуара

=..... мм.
Е.10. Вычисление величин

=..... мм;

=..... мм;

=..... мм;

=..... мм.
Е.11. Вычисление объема внутренней детали, приходящегося на
1 см уровня налива,

=..... м3/см.
Е.12. Составление градуировочной таблицы.
Уровень наполнения, см | Вместимость,  | Коэффициент вместимости <*>,  | Погрешность определения вместимости, % |
1 | 0,018 | 0,002 | 3,5 |
2 | 0,038 | 0,003 | |
3 | 0,068 | | |
... | ... | ... | |
| 1,503 | | 0,55 |
... | ... | ... | |
| 48,345 | 0,003 | 0,25 |
| 48,375 | ... | |
<*> Коэффициент вместимости - вместимость одного миллиметра высоты наполнения, равная  . |
Вычисление провел
___________________________________
подпись, инициалы, фамилия
"_____" _____________ _______ г.
(обязательное)
ОБРАБОТКА РЕЗУЛЬТАТОВ ИЗМЕРЕНИЙ
ПРИ ПОВЕРКЕ ОБЪЕМНЫМ МЕТОДОМ
Ж.1. Обработка результатов измерений при поверке резервуара с применением мерников
Ж.1.1. Объем j-й дозы жидкости

, дм3, измеренный мерником (мерниками), вычисляют по формуле

, (Ж.1)
где

,

,...,

- номинальные вместимости мерников, дм3;
n, m,...,

- количества измерений с помощью мерников номинальными вместимостями

,

,...,

.
Значения n, m,...,

выбирают из ряда: 0, 1, 2,...;

- коэффициент объемного расширения материалов мерников, 1/°C;

- средняя температура стенок мерников, принимаемая за температуру j-й дозы жидкости

, вычисляемую по формуле

, (Ж.2)
Приказом Росстандарта от 17.09.2012 N 308-ст)
где

,

,...,

- средние температуры жидкости, определенные по результатам n, m,...,

измерений в мерниках по номинальным вместимостям:

,

,...,

, °C;
j - номер дозы. Его значение выбирают из ряда: 0, 1, 2,....
Ж.1.2. Объем налитой в резервуар j-й дозы жидкости

, м3, соответствующий изменению уровня ее в резервуаре в пределах от 10 до 30 мм, вычисляют по формуле

, (Ж.3)

- коэффициент объемного расширения жидкости, 1/°C.
Его значение принимают для воды равным

1/°C, для нефтепродуктов определяют по инструкции
[6]:

, (Ж.4)
где

- плотность жидкости в резервуаре после поступления в него j-й дозы жидкости, кг/м3;

- температура жидкости в резервуаре после налива в него j-й дозы жидкости, °C;
Ж.1.3. Объем налитой в резервуар начальной дозы жидкости

вычисляют по формуле

, (Ж.5)

- температура жидкости в резервуаре, измеренная в первой пробе ее, отобранной из резервуара, °C;

- коэффициент объемного расширения жидкости, вычисляемый по
формуле (Ж.4) при плотности

, измеренной, как указано в
9.2.3.5 настоящего стандарта.
Ж.1.4. Плотность жидкости в резервуаре после поступления в него j-й дозы

вычисляют по формуле

. (Ж.6)
Ж.1.6. Вычисление температур жидкости в резервуаре по результатам измерений температур доз жидкости
Ж.1.6.1. Температуры жидкости в резервуаре в пределах первой суммарной дозы жидкости

,

,

,...,

, °C, вычисляют по формулам:
где

,

,

,...,

- температуры жидкости в резервуаре при поступлении в него

,

,

,...,

доз;

- среднее температурное изменение, приходящееся на каждую дозу жидкости в пределах первой суммарной дозы, °C, вычисляемое по формуле

, (Ж.8)
где

- температура жидкости в резервуаре при поступлении в него дозы

, °C;

- температура жидкости в резервуаре при поступлении в него дозы

, °C.
Ж.1.6.2. Температуры жидкости в резервуаре в пределах первой и второй суммарных доз жидкости

,

,

,...,

вычисляют по формулам:
где

,

,

,...,

- температуры жидкости в резервуаре при поступлении в него

,

,...,

доз, °C;

- среднее температурное изменение, приходящееся на каждую дозу жидкости в пределах второй суммарной дозы, °C, вычисляемое по формуле

, (Ж.10)
где

- температура жидкости в резервуаре при поступлении в него дозы

.
При наполнении резервуара третьей, четвертой и др. суммарными дозами температуры жидкости в резервуаре после поступления в него каждой дозы определяют аналогично вышеизложенной методике.
Ж.1.7. Вычисление максимального уровня жидкости в резервуаре
Ж.1.7.1. Максимальный уровень жидкости

, измеренный измерительной рулеткой с грузом, вычисляют по формуле

, (Ж.11)
где

,

- результаты двух измерений максимального уровня, мм.
Ж.1.8. Вычисление разности максимальных уровней жидкости в резервуаре
Ж.1.8.1. Разность максимальных уровней жидкости в резервуаре

, мм, измеренных в конце поверки уровнемером и измерительной рулеткой с грузом, вычисляют по формуле

, (Ж.12)
где

,

- максимальные уровни жидкости, измеренные измерительной рулеткой с грузом и уровнемером, мм.
Ж.1.8.2. Значение

, определенное по
формуле (Ж.12), может быть положительным или отрицательным.
Ж.2. Обработка результатов измерений при поверке резервуара с применением счетчика жидкости
Ж.2.1. Объем j-й дозы жидкости

, дм3, прошедший через счетчик жидкости, вычисляют по формуле для счетчиков жидкости:
а) с непосредственным отсчетом объема жидкости в дм3:

; (Ж.13)
б) с импульсным выходным сигналом в импульсах:

, (Ж.14)
в) с непосредственным отсчетом объема жидкости для счетчика жидкости со сдвигом дозирования в дм3:

,
(перечисление в) введено
Изменением N 1, введенным в действие Приказом Росстандарта от 17.09.2012 N 308-ст)
где

,

- показания счетчика жидкости, дм3;

,

- показания счетчика жидкости, имп.;
K - коэффициент преобразования счетчика жидкости, имп./дм3;

- поправочный коэффициент.
(абзац введен
Изменением N 1, введенным в действие Приказом Росстандарта от 17.09.2012 N 308-ст)
Его значение для счетчика жидкости со сдвигом дозирования и проскоком вычисляют по формуле

,
где С - средний сдвиг дозирования, дм3.
(абзац введен
Изменением N 1, введенным в действие Приказом Росстандарта от 17.09.2012 N 308-ст)
Ж.2.2. Объем налитой в резервуар j-й дозы жидкости

, м3, соответствующий изменению уровня ее в резервуаре в пределах от 10 до 30 мм, вычисляют по формуле

, (Ж.15)

- коэффициент объемного расширения жидкости, 1/°C. Его значение определяют по
формуле (Ж.4);

- температура жидкости в резервуаре после поступления в него j-й дозы, °C;

- температура j-й дозы жидкости в трубопроводе, °C;

- коэффициент сжимаемости жидкости, 1/МПа. Его значение принимают: для воды равным

1/МПа, для нефтепродуктов - по инструкции
[6];

- избыточное давление жидкости в счетчике жидкости, МПа;
g - ускорение свободного падения, м/с2;

- уровень жидкости в резервуаре, м.
Ж.2.3. Объем налитой в резервуаре начальной дозы жидкости

, м3, как указано в
9.2.4.1, перечисление д настоящего стандарта вычисляют по формуле

, (Ж.16)
где

- температура жидкости в резервуаре, измеренная в первой пробе ее, отобранной из резервуара, °C;

- температура жидкости в трубопроводе в момент отбора первой пробы жидкости из резервуара, °C;

- коэффициент объемного расширения жидкости, вычисляемый по
формуле (Ж.4) при плотности

, измеренной, как указано в
9.2.3.5 настоящего стандарта.
Ж.2.5. Максимальный уровень жидкости в резервуаре

вычисляют по
формуле (Ж.11).
Ж.2.6. Разность максимальных уровней жидкости в резервуаре вычисляют по
формуле (Ж.12).
Ж.3. Если выполняются условия:
а) при применении воды

0,5 МПа;

10 °C;

2 °C;

2 °C;
(в ред.
Изменения N 1, введенного в действие Приказом Росстандарта от 17.09.2012 N 308-ст)
б) при применении нефтепродуктов

0,3 МПа;

10 °C;

0,5 °C;

0,5 °C,
(в ред.
Изменения N 1, введенного в действие Приказом Росстандарта от 17.09.2012 N 308-ст)
Ж.4. Вычисление дозовой вместимости резервуара
Ж.4.1. Дозовую вместимость резервуара при наливе в него k доз жидкости

, м3, вычисляют по формуле

, (Ж.17)
где k - число налитых в резервуар доз жидкости;
j - номер налитой дозы выбирают из ряда: j = 0, 1, 2,..., k;

- объем j-й дозы, измеренный мерником (мерниками) или счетчиком жидкости при статическом методе поверки и вычисленный по
формулам (Ж.3) или
(Ж.15), м3;

- температура жидкости в резервуаре при наливе в него k доз, °C;

- температура жидкости в резервуаре при наливе в него j-й дозы, °C;

- коэффициент объемного расширения жидкости, 1/°C. Его значение определяют по
формуле (Ж.4);

- коэффициент объемного расширения материала резервуара, 1/°C. Его значение для стали принимают равным

1/°C;

- температура стенки резервуара, принятая за температуру

.
Ж.4.1.1. Значение k принимают равным 0 при наливе в резервуар начальной дозы

;
k = 1 - при наливе дозы

;
k = 2 - при наливе дозы

,...;
k = N - при наливе последней дозы

.
Ж.4.2. При невозможности измерения температуры жидкости в резервуаре при наливе в него каждой дозы в соответствии с
9.2.3,
9.2.4 дозовую вместимость резервуара вычисляют по формулам:
а) при наполнении резервуара первой суммарной дозой

. (Ж.18)
Значения k принимают равными: 0, 1, 2, 3,..., s. Температуры

,

,...,

вычисляют по
формуле (Ж.7), используя результаты измерений температур

и

;
б) при наполнении резервуара второй суммарной дозой

+
+

, (Ж.19)
где

- вместимость резервуара при уровне 500 мм, вычисляемая по
формуле (Ж.18) при k = s. Значения k выбирают из ряда: s + 1, s + 2, s + 3,..., m.
Температуры

,

,...,

вычисляют по
формуле (Ж.9), используя результаты измерений температур

и

;
в) при наполнении резервуара третьей, четвертой и др. суммарными дозами дозовые вместимости его вычисляют аналогично методике, изложенной выше.
а) при применении воды

2 °C;

2 °C;
б) при применении нефтепродуктов

0,5 °C;

0,5 °C;

0,5 °C;

0,5 °C;

0,5 °C.
Ж.5. Вычисление уровня, соответствующего высоте "мертвой" полости подземных резервуаров
Ж.5.1. Уровень жидкости, соответствующий высоте "мертвой" полости резервуара

, при расположении расходной трубы ближе к поднятому (в результате наклона резервуара) краю резервуара вычисляют по формуле

,
где

- расстояние между измерительной трубой и поднятым краем цилиндрической части резервуара
(рисунок А.12);

- расстояние между расходной трубой и поднятым краем цилиндрической части резервуара.
Ж.5.2. Уровень жидкости, соответствующий высоте "мертвой" полости резервуара, при расположении расходной трубы ближе к опущенному (в результате наклона резервуара) краю резервуара:
а) в случае выполнения условия:
уровень жидкости, соответствующий высоте "мертвой" полости

, вычисляют по формуле

;
б) в случае выполнения условия:
уровень жидкости, соответствующий высоте "мертвой" полости

, невозможно определить,
где п - обозначение, соответствующее слову "подземный";

- расстояние между расходной трубой и поднятым краем цилиндрической части резервуара;

- расстояние между измерительной трубой и поднятым краем цилиндрической части резервуара
(рисунок А.12).
(п. Ж.5 введен
Изменением N 1, введенным в действие Приказом Росстандарта от 17.09.2012 N 308-ст)
(справочное)
ФОРМА ЖУРНАЛА ОБРАБОТКИ РЕЗУЛЬТАТОВ ИЗМЕРЕНИЙ
ПРИ ПОВЕРКЕ ОБЪЕМНЫМ МЕТОДОМ
обработки результатов измерений
при поверке резервуаров объемным методом
И.1. Вычисление предельного уровня наполнения резервуара

=... мм
И.2. Вычисление температур жидкости в резервуаре
Таблица И.1
В градусах Цельсия
И.3. Вычисление дозовой вместимости
Таблица И.2
Уровень наполнения, см | Объем дозы,  | Дозовая вместимость,  |
1 | 2 | 3 |
| | |
| | |
| | |
... | ... | ... |
... | ... | ... |
| | |
Примечания. 1. Величины  ,  , ... ,  (графа 1) - уровни жидкости в резервуаре после поступления в него доз  ,  , ... ,  . |
|
|
И.4. Вычисление максимального уровня

=... мм
И.5. Вычисление разности максимальных уровней

=... мм
И.6. Составление градуировочной таблицы
Уровень наполнения, см | Вместимость,  | Коэффициент вместимости <**>,  |
| 10,503 | 0,003 |
| 10,533 | 0,004 |
| 10,575 | ... |
... | ... | ... |
... | ... | ... |
... | ... | |
... | ... | ... |
| 48,345 | 0,003 |
| 48,375 | |
<*> Значение  принимают равным 0, если  ; либо  , если  . <**> Коэффициент вместимости - вместимость одного миллиметра высоты наполнения, равная  . |
И.7. Вычисление базовой высоты

= ... мм
Вычисление провел
_________________________________
подпись, инициалы, фамилия
"____" _________ ______ г.
(обязательное)
ОСНОВНЫЕ ТЕХНИЧЕСКИЕ ТРЕБОВАНИЯ
К СТАЛЬНЫМ ГОРИЗОНТАЛЬНЫМ ЦИЛИНДРИЧЕСКИМ РЕЗЕРВУАРАМ
К.1. Резервуары изготавливают в соответствии с нижеизложенными требованиями по рабочим чертежам, утвержденным в установленном порядке.
К.2 - К.4. Исключены с 1 июля 2013 года. -
Изменение N 1, введенное в действие Приказом Росстандарта от 17.09.2012 N 308-ст.
К.5. Резервуары изготавливают, устанавливают и крепят так, чтобы при наполнении и опорожнении не возникали существенные изменения вместимости, например, вследствие деформации, прогибов или смещений резервуара, меток отсчета и встраиваемых деталей.
К.6. При эксплуатации обеспечивают полное наполнение и полное опорожнение резервуара без образования воздушных мешков.
К.7. Трубы для подвода и вывода жидкости в сочетании с резервуаром изготавливают так, чтобы при измерениях объема была исключена возможность притока или выхода жидкости произвольным образом при наполнении, опорожнении или определении вместимости.
К.8. Исключен с 1 июля 2013 года. -
Изменение N 1, введенное в действие Приказом Росстандарта от 17.09.2012 N 308-ст.
К.9. Резервуары могут быть оснащены стационарно встроенными элементами: змеевиками, пеноотводами, лестницами, мешалками и другими устройствами. Комплектность оборудования резервуара должна соответствовать утвержденному проекту.
(в ред.
Изменения N 1, введенного в действие Приказом Росстандарта от 17.09.2012 N 308-ст)
К.10. Для измерений уровня жидкости резервуары оснащают:
- измерительной трубой со сквозными прорезями в стенке (по высоте и окружности трубы) для установления рабочих и эталонных средств измерений уровня жидкости;
- измерительным люком с планкой, изготовленной из бронзы или латуни для ручных измерений уровня жидкости, или указателями уровня со шкалой для визуального определения уровня жидкости.
К.11. Измерительную трубу изготавливают так, чтобы она обеспечивала установление рабочих и эталонных средств измерения уровня жидкости. Измерительную трубу соединяют с резервуаром в его среднем сечении. При этом продольная ось измерительной трубы должна проходить через вертикальный диаметр резервуара.
По всей длине измерительная труба должна иметь сквозные прорези, обеспечивающие быстрое выравнивание уровня жидкости в измерительной трубе относительно резервуара. Если измерительная труба закрыта снизу, то первые прорези должны начинаться у дна измерительной трубы.
К.12. Внутренний диаметр измерительной трубы выбирают таким образом, чтобы не было искажения результатов измерений при больших скоростях изменения уровня жидкости. Диаметр измерительной трубы должен быть не более 500 мм.
К.13. Измерительная труба должна быть устойчива к деформациям и износу. Она может быть изготовлена из нескольких частей, может быть разборной или сборной, без осевых смещений.
К.14. Измерительный люк с планкой располагают так, чтобы измерения не зависели от изменений положения резервуара, отложений твердой фазы и других факторов. Планку снабжают риской для отсчета уровня жидкости и определения базовой высоты резервуара. Для обеспечения неизменности базовой высоты резервуара болты крышки горловины пломбируют после замены прокладок.
К.15. Исключен с 1 июля 2013 года. -
Изменение N 1, введенное в действие Приказом Росстандарта от 17.09.2012 N 308-ст.
К.16. Базовую высоту резервуара измеряют ежегодно. Ее значение не должно изменяться более чем на +/- 0,1%.
К.17. Пределы допускаемой относительной погрешности измерения уровня жидкости +/- 0,2%.
К.18. Межповерочный интервал для всех типов горизонтальных резервуаров - не более пяти лет.
(в ред.
Изменения N 1, введенного в действие Приказом Росстандарта от 17.09.2012 N 308-ст)
К.19. Техническая документация вновь изготавливаемого резервуара подлежит экспертизе в части выполнения требований метрологического обеспечения в установленном порядке <1>.
(п. К.19 введен
Изменением N 1, введенным в действие Приказом Росстандарта от 17.09.2012 N 308-ст)
--------------------------------
<1> На территории Российской Федерации экспертизу проводит ФГУП "ВНИИР" ГНМЦ или другой ГНМЦ по специализации.
(сноска введена
Изменением N 1, введенным в действие Приказом Росстандарта от 17.09.2012 N 308-ст)
(обязательное)
ФОРМА
ТИТУЛЬНОГО ЛИСТА ГРАДУИРОВОЧНОЙ ТАБЛИЦЫ
И ФОРМА ГРАДУИРОВОЧНОЙ ТАБЛИЦЫ
Приказом Росстандарта от 17.09.2012 N 308-ст)
Л.1. Форма титульного листа градуировочной таблицы <1>
--------------------------------
<1> Форма титульного листа градуировочной таблицы не подлежит изменению.
Титульный лист
УТВЕРЖДАЮ
ГРАДУИРОВОЧНАЯ ТАБЛИЦА
на стальной горизонтальный цилиндрический резервуар
________________, N ___________ с днищами _________________
тип форма днищ
Организация __________________________________________________
Погрешность определения вместимости <2> ______________________
Участок ниже

= .......... мм для государственных учетных и
торговых операций с нефтью и нефтепродуктами, взаимных расчетов
между поставщиком и потребителем не используется.
┌────────────────────────────────────────────────────────────────┐
│ Программа расчета градуировочной таблицы на ПЭВМ │
│ утверждена ГНМЦ-ВНИИР │
│ "______" _____________ ______ г. │
└────────────────────────────────────────────────────────────────┘
Срок очередной поверки _______________________________________
Поверитель
________________________________
подпись
________________________________
должность, инициалы, фамилия
________________________________
подпись
________________________________
должность, инициалы, фамилия
________________________________
подпись
________________________________
должность, инициалы, фамилия
--------------------------------
<2> Вычисляют по формуле (Д.60) или (Д.60а) при поверке резервуара геометрическим методом.
Л.2. Форма градуировочной таблицы <3>
--------------------------------
<3> Форма градуировочной таблицы не подлежит изменению.
ГРАДУИРОВОЧНАЯ ТАБЛИЦА
Организация
__________________________________________________________________
Резервуар N __________________________________________________
Лист ____________
Уровень наполнения, см | Вместимость,  | Коэффициент вместимости,  | Погрешность определения вместимости <*>, % |
1 | 2 | 3 | 4 |
1 | | | |
2 | | | |
3 | | | |
... | | | |
| | | |
... | | | |
... | | | |
... | | | |
| | | |
<*> Определяют только при геометрическом методе поверки. |
(рекомендуемое)
ФОРМА АКТА ИЗМЕРЕНИЙ БАЗОВОЙ ВЫСОТЫ РЕЗЕРВУАРА
Приказом Росстандарта от 17.09.2012 N 308-ст)
УТВЕРЖДАЮ
Руководитель предприятия -
владельца резервуара
(директор, гл. инженер)
АКТ
измерений базовой высоты резервуара
от "_____" _________ _____ года
Составлен в том, что комиссия
<**>, назначенная приказом _________
наименование
__________________________________, в составе председателя _______
предприятия - владельца резервуара
__________________________________________________________________
инициалы, фамилия
и членов: ________________________________________________________
инициалы, фамилии
провела в соответствии с ГОСТ ____________________________________
контрольное измерение базовой высоты резервуара __________________
тип резервуара
N _____________ при температуре окружающего воздуха __________ °C.
--------------------------------
<**> В состав комиссии должен быть включен специалист, прошедший курсы повышения квалификации по поверке и калибровке резервуаров и трубопроводов.
Результаты измерений представлены в таблице.
Базовая высота резервуара | Уровень жидкости в резервуаре |
Среднее арифметическое значение результатов двух измерений  | Значение базовой высоты, установленное при поверке резервуара  |
1 | 2 | 3 |
| | |
Относительное изменение базовой высоты резервуара

, вычисляют по формуле

,
где значения величин

,

приведены в графах 1 и 2 таблицы.
Вывод - требуется (не требуется) внеочередная поверка резервуара.
Председатель комиссии _____________ __________________
подпись инициалы, фамилия
Члены комиссии _____________ __________________
подпись инициалы, фамилия
_____________ __________________
подпись инициалы, фамилия
--------------------------------
<*> Указывают при заполнении.
<**> В состав комиссии должен быть включен специалист,
прошедший курсы повышения квалификации по поверке и калибровке
резервуаров и трубопроводов.
(справочное)
БИБЛИОГРАФИЯ
[1] ТУ 257761.007-87. Толщиномер ультразвуковой УТ-93П
[2] ТУ ДКТЦ 413441.102. Анализатор-течеискатель АНТ-2М
[3] МИ 1974-2004. Государственная система обеспечения единства измерений. Преобразователи расхода турбинные. Методика поверки
(в ред.
Изменения N 1, введенного в действие Приказом Росстандарта от 17.09.2012 N 308-ст)
[4] РД 50-388-83. Методические указания. Уровнемеры жидкости образцовые. Методы и средства поверки
[5] ТУ 25-1819.0021-90. Секундомеры
[6]
РД 153-39-011-97. Инструкция по учету нефтепродуктов на магистральных нефтепродуктопроводах