Главная // Пожарная безопасность СПРАВКА
Источник публикации
"Информационный бюллетень о нормативной, методической и типовой проектной документации", N 4, 2025 (Приказ)
Примечание к документу
Название документа
Приказ Ростехнадзора от 12.02.2025 N 40
"Об утверждении руководства по безопасности "Рекомендации по техническому диагностированию магистральных нефтепроводов, нефтепродуктопроводов и их составных частей"
Приказ Ростехнадзора от 12.02.2025 N 40
"Об утверждении руководства по безопасности "Рекомендации по техническому диагностированию магистральных нефтепроводов, нефтепродуктопроводов и их составных частей"
ФЕДЕРАЛЬНАЯ СЛУЖБА ПО ЭКОЛОГИЧЕСКОМУ, ТЕХНОЛОГИЧЕСКОМУ
И АТОМНОМУ НАДЗОРУ
ПРИКАЗ
от 12 февраля 2025 г. N 40
ОБ УТВЕРЖДЕНИИ РУКОВОДСТВА
ПО БЕЗОПАСНОСТИ "РЕКОМЕНДАЦИИ ПО ТЕХНИЧЕСКОМУ
ДИАГНОСТИРОВАНИЮ МАГИСТРАЛЬНЫХ НЕФТЕПРОВОДОВ,
НЕФТЕПРОДУКТОПРОВОДОВ И ИХ СОСТАВНЫХ ЧАСТЕЙ"
В соответствии с
пунктом 5 статьи 3 Федерального закона от 21 июля 1997 г. N 116-ФЗ "О промышленной безопасности опасных производственных объектов",
пунктом 1 Положения о Федеральной службе по экологическому, технологическому и атомному надзору, утвержденного постановлением Правительства Российской Федерации от 30 июля 2004 г. N 401, приказываю:
1. Утвердить прилагаемое
руководство по безопасности "Рекомендации по техническому диагностированию магистральных нефтепроводов, нефтепродуктопроводов и их составных частей".
2. Признать утратившим силу
приказ Ростехнадзора от 2 августа 2018 г. N 330 "Об утверждении Руководства по безопасности "Техническое диагностирование трубопроводов линейной части и технологических трубопроводов магистральных нефтепроводов и нефтепродуктопроводов".
Руководитель
А.В.ТРЕМБИЦКИЙ
приказом Федеральной службы
по экологическому, технологическому
и атомному надзору
от 12 февраля 2025 г. N 40
ПО БЕЗОПАСНОСТИ "РЕКОМЕНДАЦИИ ПО ТЕХНИЧЕСКОМУ
ДИАГНОСТИРОВАНИЮ МАГИСТРАЛЬНЫХ НЕФТЕПРОВОДОВ,
НЕФТЕПРОДУКТОПРОВОДОВ И ИХ СОСТАВНЫХ ЧАСТЕЙ"
1. Руководство по безопасности "Рекомендации по техническому диагностированию магистральных нефтепроводов, нефтепродуктопроводов и их составных частей" (далее - Руководство) разработано в целях содействия соблюдению требований:
статьи 9 Федерального закона от 21 июля 1997 г. N 116-ФЗ "О промышленной безопасности опасных производственных объектов" в части обеспечения организациями, эксплуатирующими опасные производственные объекты, проведения технического диагностирования и обследования технических устройств и сооружений, применяемых на опасном производственном объекте;
раздела IV федеральных норм и правил в области промышленной безопасности "Правила безопасности для опасных производственных объектов магистральных трубопроводов", утвержденных приказом Ростехнадзора от 11 декабря 2020 г. N 517, зарегистрированным Минюстом России 23 декабря 2020 г., регистрационный N 61745.
2. Руководство содержит рекомендации по выполнению мероприятий, необходимых для обеспечения промышленной безопасности в процессе проведения технического диагностирования трубопроводов линейной части и технологических трубопроводов магистральных нефтепроводов и нефтепродуктопроводов и предполагает единые подходы к:
видам, периодичности выполнения и составу работ по техническому диагностированию магистральных нефтепроводов и нефтепродуктопроводов;
организациям и персоналу, проводящим техническое диагностирование магистральных нефтепроводов и нефтепродуктопроводов;
оборудованию, применяемому при проведении технического диагностирования магистральных нефтепроводов и нефтепродуктопроводов;
соблюдению требований безопасности при выполнении работ по техническому диагностированию магистральных нефтепроводов и нефтепродуктопроводов.
3. Действие Руководства рекомендуется применять в отношении технологических трубопроводов и трубопроводов линейной части магистральных нефтепроводов и нефтепродуктопроводов:
после окончания строительства до ввода в эксплуатацию;
находящихся в эксплуатации;
находящихся в консервации.
4. Используемые в Руководстве сокращения и их расшифровка приведены в
приложении N 1.
5. Используемые в Руководстве термины и их определения приведены в
приложении N 2.
II. ВИДЫ ТЕХНИЧЕСКОГО ДИАГНОСТИРОВАНИЯ
6. В целях обеспечения безопасности, определения фактического технического состояния магистральных нефтепроводов и нефтепродуктопроводов (далее - МТ), возможности их дальнейшей эксплуатации на проектных технологических режимах, для расчета допустимого давления, необходимости снижения разрешенного рабочего давления и перехода на пониженные технологические режимы или необходимости ремонта с точной локализацией мест его выполнения и продления срока службы МТ в процессе эксплуатации рекомендуется применять следующие виды технического диагностирования МТ:
а) на МТ после окончания их строительства до ввода в эксплуатацию:
внутритрубное диагностирование (далее - ВТД), в том числе профилеметрия, линейной части и переходов через естественные и искусственные преграды, включая подводные переходы;
электрометрическое диагностирование (контроль изоляции методом катодной поляризации) линейной части и переходов через естественные и искусственные преграды, включая подводные переходы;
наружное диагностирование методами неразрушающего контроля (далее - НК);
б) на МТ, находящихся в эксплуатации:
ВТД (в том числе профилеметрия и дефектоскопия) линейной части и переходов через естественные и искусственные преграды, включая подводные переходы;
наружное диагностирование методами неразрушающего контроля камеры пуска/приема средств очистки и диагностирования (далее - НК КПП СОД), соединительных, конструктивных деталей, приварных элементов и ремонтных конструкций, емкостей сбора нефти (нефтепродуктов) с КПП СОД, надземных трубопроводов обвязки узла пуска/приема средств очистки и диагностирования (далее - СОД), перемычек между трубопроводами и перемычек между основной и резервной ниткой переходов МТ через водные преграды;
измерение глубины залегания МТ и определение планового положения его конструктивных элементов;
электрометрическое диагностирование линейной части МТ;
в) на трубопроводах, находящихся в консервации:
электрометрическое диагностирование;
определение планово-высотного положения трубопровода;
г) на основных и вспомогательных технологических трубопроводах нефтеперекачивающих (нефтепродуктоперекачивающих) станций (далее - НПС):
измерение планового положения и глубины залегания трубопровода и его конструктивных элементов;
электрометрическое диагностирование подземных трубопроводов;
наружное диагностирование методами НК трубопроводов, соединительных, конструктивных деталей, приварных элементов и ремонтных конструкций, емкостей сбора утечек и дренажа от систем сглаживания волн давления.
III. ТЕХНИЧЕСКОЕ ДИАГНОСТИРОВАНИЕ ЛИНЕЙНОЙ ЧАСТИ
МАГИСТРАЛЬНЫХ ТРУБОПРОВОДОВ, ЗАКОНЧЕННЫХ СТРОИТЕЛЬСТВОМ.
ВИДЫ ТЕХНИЧЕСКОГО ДИАГНОСТИРОВАНИЯ, ВЫПОЛНЯЕМЫЕ
НА ТРУБОПРОВОДАХ, ЗАКОНЧЕННЫХ СТРОИТЕЛЬСТВОМ
7. При техническом диагностировании МТ по завершении строительно-монтажных работ до ввода в эксплуатацию, а также участков с заменой труб после капитального ремонта рекомендуется выполнять:
очистку полости МТ;
контроль геометрических параметров с применением профилемеров и калибровочных устройств;
электрометрическое диагностирование (электрометрия) состояния изоляционного покрытия МТ методом катодной поляризации;
ВТД линейной части МТ и подводных переходов магистрального трубопровода (далее - ППМТ) с помощью внутритрубных инспекционных приборов (при наличии в проектной документации).
8. Контроль геометрических параметров участков линейной части МТ и пойменных участков ППМТ рекомендуется производить путем пропуска профилемера после засыпки трубопровода (для трубопроводов надземной прокладки - после крепления на опорах).
9. Контроль геометрических параметров русловой части переходов трубопровода через водные преграды, вне зависимости от их протяженности, рекомендуется производить путем пропуска профилемера:
для ППМТ, выполненных траншейным методом, после завершения строительно-монтажных работ в границах ППМТ;
для ППМТ, выполненных методом наклонно-направленного бурения, после завершения протаскивания.
10. ВТД ППМТ рекомендуется производить на участках, проложенных через реку или водоем шириной в межень <1> по зеркалу воды более 10 метров и глубиной свыше 1,5 метра или шириной по зеркалу воды в межень 25 метров и более независимо от глубины.
--------------------------------
<1> Межень - фаза водного режима реки, ежегодно повторяющаяся в одни и те же сезоны, характеризующаяся малой водностью, длительным стоянием низкого уровня и возникающая вследствие уменьшения питания реки. Различают летнюю и зимнюю межень (
пункт 78 "ГОСТ 19179-73. Государственный стандарт Союза ССР. Гидрология суши. Термины и определения").
11. Если ППМТ входит в состав линейной части при условии одновременного строительства линейной части и ППМТ, рекомендуется производить ВТД (в том числе профилеметрию и дефектоскопию) в составе участка линейной части.
12. ВТД участка МТ приборами, которыми не было произведено обследование участка МТ до ввода в эксплуатацию, рекомендуется производить после его ввода в эксплуатацию в срок до одного года. Типы внутритрубных приборов, применяемых для диагностирования, как правило, определяет заказчик в задании на диагностирование магистральных трубопроводов.
Состав работ по подготовке к выполнению профилеметрии
13. Рекомендуется следующая последовательность проведения работ по подготовке и выполнению профилеметрии участков МТ, законченных строительством:
проверка состояния изоляции МТ методом катодной поляризации на соответствие сопротивления проектным значениям;
гидроиспытания линейной части МТ и ППМТ;
монтаж КПП СОД (временных или постоянных) для пропуска очистных устройств (далее - ОУ), профилемера, внутритрубного инспекционного прибора (далее - ВИП);
очистка внутренней полости МТ;
проведение профилеметрии.
14. При положительной температуре воздуха работы по очистке и профилеметрии рекомендуется производить согласно проекту производства работ. При отрицательной температуре воздуха эти работы рекомендуется производить по специальной программе, утвержденной главным инженером эксплуатирующей организации, которая содержит:
теплотехнический расчет параметров испытаний;
требования к организации обязательного контроля температуры воды в МТ во время испытаний;
меры по поддержанию положительной температуры воды в МТ;
мероприятия по предохранению надземных частей МТ и линейной арматуры от замораживания, утеплению и укрытию узлов подключения наполнительных и опрессовочных агрегатов, КПП СОД, сливных патрубков и обвязочных трубопроводов с арматурой;
мероприятия по защите от замерзания измерительных приборов, самописцев и узлов присоединений их к МТ;
мероприятия по дополнительной обваловке уложенного и засыпанного МТ;
мероприятия по освобождению МТ от воды в случае возникновения угрозы ее замерзания.
Рекомендации по временным камерам пуска и приема средств
очистки и диагностирования
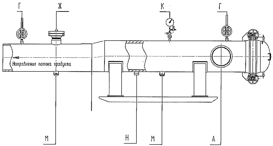
15. Камеру пуска СОД рекомендуется устанавливать в начале обследуемого участка (по ходу воды при пропуске), камеру приема СОД - в конце участка. Рекомендуемая схема временной камеры пуска СОД и схема временной камеры приема СОД приведены на
рисунках 1 и
2 приложения N 3 к Руководству.
16. На временных КПП СОД рекомендуется монтировать технологическую обвязку, обеспечивающую наполнение и слив воды, стравливание воздуха.
17. На патрубках отводов нефти (нефтепродукта) временных КПП СОД рекомендуется устанавливать решетки.
18. На обвязке временных КПП СОД рекомендуется применять фасонные изделия заводского изготовления. Не рекомендуется использование ненормативных элементов.
19. Для устойчивого размещения в месте производства работ временные КПП СОД рекомендуется оборудовать опорной рамой.
20. К временным узлам пуска и приема СОД рекомендуется оборудовать подъезды и разворотные площадки для безопасного доступа автомобильного транспорта и грузоподъемных механизмов к КПП СОД.
21. На КПП СОД рекомендуется предусматривать место для подключения кабеля заземления запасовочного лотка.
22. Временные узлы пуска/приема СОД рекомендуется огораживать сигнальной лентой.
Рекомендации по организации и производству работ по очистке
магистрального трубопровода после окончания
строительно-монтажных работ
23. Очистку полости подземных МТ рекомендуется производить после укладки в траншею и засыпки; надземных - после укладки и крепления на опорах.
Очистку полости ППМТ после проведения контроля качества изоляционного покрытия методом катодной поляризации рекомендуется производить:
для ППМТ, выполненных траншейным методом, - после засыпки МТ;
для ППМТ, выполненных методом наклонно-направленного бурения, - после завершения протаскивания.
24. Рекомендованная длина участка трубопровода при очистке полости - не более 110 км.
25. Перед пропуском ОУ рекомендуется проверить линейные задвижки на полноту открытия.
26. Перед пуском первого ОУ участок МТ рекомендуется заполнять водой в объеме от 0,1 до ОД 5 от объема участка.
27. Рекомендованная скорость движения ОУ при очистке МТ - не менее 0,2 м/с.
28. Очистку полости МТ рекомендуется осуществлять путем последовательного пропуска ОУ. Каждое ОУ рекомендуется оснащать передатчиком для определения положения ОУ в МТ.
29. Пропуск ОУ по МТ рекомендуется контролировать на контрольных пунктах бригадами сопровождения. Последовательность контроля рекомендуется определять графиком прохождения ОУ по МТ.
30. Каждая бригада сопровождения, как правило, укомплектовывается низкочастотным и акустическим локаторами (по одному) для контроля прохождения ОУ по МТ.
31. Контрольные пункты в общем случае размещаются над осью МТ с интервалом не более 1 км и располагаются на узлах запорной арматуры, узлах равнопроходных ответвлений от очищаемого МТ, на узлах неравнопроходных ответвлений диаметром 70% от диаметра очищаемого МТ и больше, на углах поворота МТ, больших 45° - вертикальных, горизонтальных и совмещенных, на границах пойменной, русловой части, границах труднодоступных участков (например, болота, овраги).
Рекомендуемое расстояние между верхней образующей МТ и локаторами в контрольных пунктах - не более 2 м.
32. Количество бригад сопровождения обычно определяется в зависимости от протяженности участка МТ согласно
таблице N 1 приложения N 3 к Руководству.
33. Пуск последующего ОУ рекомендуется осуществлять только после прохождения предыдущим ОУ контрольного пункта на первом километре трассы.
34. Очистку МТ ОУ рекомендуется считать завершенной при выполнении следующих условий:
все запасованные ОУ пришли в камеру приема СОД;
последнее ОУ пришло неразрушенным (без повреждений);
скорость движения ОУ составляла не менее 0,2 м/с;
после ОУ вода выходит без примеси (глины, песка, торфа, другого грунта) и посторонних предметов;
после очистки наличие электродов не более 1 шт. на 10 км;
отсутствует 100% износ манжет и чистящих дисков ОУ;
проходное сечение МТ по результатам пропуска скребка-калибра составляет не менее 85% от DN.
35. Очистку рекомендуется считать незавершенной, если не выполнено хотя бы одно из условий, приведенных в
пункте 34 Руководства. В этом случае рекомендуется проводить дополнительную очистку участка МТ путем повторного пропуска ОУ до получения требуемых результатов очистки.
36. При положительных результатах очистки рекомендуется оформлять акт, удостоверяющий соответствие геометрических параметров проходного сечения МТ проходимости профилемера в соответствии с
приложением N 4 к Руководству.
37. Обнаружение недопустимых сужений по итогам пропуска ОУ принято считать свидетельством о неготовности участка МТ к профилеметрии.
38. Рекомендуемые работы по устранению неготовности участка МТ к профилеметрии включают в себя:
устранение дефекта, других причин неготовности участка;
очистку участка;
пропуск калибровочного устройства для проверки проходного сечения МТ после ремонта.
Организация и производство работ по профилеметрии
39. Протяженность участка для профилеметрии обычно определяется по проектной документации на основании расчета с учетом рельефа местности, но не более 110 км. При этом рекомендуется учитывать потери напора на перемещаемом профилемере (0,2 МПа).
40. Участок МТ рекомендуется считать готовым к проведению профилеметрии при выполнении следующих условий:
проведено первичное обследование состояния изоляции участка методом катодной поляризации и оформлен акт оценки состояния покрытия с участием организации, осуществляющей строительный контроль, и подрядной организации;
проведены гидравлические испытания МТ на прочность и герметичность в соответствии с проектной документацией данного участка трубопровода;
закончена очистка МТ с оформлением акта очистки;
оформлен акт готовности МТ к профилеметрии;
установлены КПП СОД;
установленное насосное оборудование обеспечивает требуемую скорость движения профилемера в МТ - от 0,2 до 3,2 м/с (остановки и движение профилемера со скоростью ниже 0,2 м/с не допускаются);
маркерные пункты для контроля движения профилемера над осью МТ рекомендуется располагать с шагом не более 500 м; при большей глубине залегания МТ требуемую глубину рекомендуется обеспечивать путем устройства шурфа;
линейные задвижки по трассе МТ полностью открыты.
41. Пропуск профилемера по МТ рекомендуется контролировать на маркерных пунктах бригадами сопровождения. Последовательность контроля рекомендуется определять графиком прохождения профилемера по МТ.
42. Каждую бригаду сопровождения рекомендуется укомплектовывать низкочастотным и акустическим локатором (по одному) для контроля прохождения профилемера по МТ.
43. Количество бригад сопровождения рекомендуется определять в зависимости от протяженности участка согласно
таблице N 2 приложения N 3 к Руководству.
44. При застревании профилемера подрядчику (заказчику) рекомендуется проводить его извлечение из МТ под контролем представителей диагностирующей организации.
45. По результатам оценки качества пропуска профилемера рекомендуется оформлять акт приема профилемера и акт оценки качества прогона в соответствии с
приложением N 4 к Руководству.
46. После извлечения профилемера из камеры приема СОД исполнителем профилеметрии в сроки, предусмотренные договором на проведение технического диагностирования (далее - договор), рекомендуется представлять в строительную организацию и эксплуатирующую организацию экспресс-отчет и технический отчет по результатам профилеметрии с указанием выявленных дефектов.
Рекомендации по проведению дополнительного
дефектоскопического контроля
47. С целью уточнения типа и параметров дефектов, обнаруженных по результатам профилеметрии, строительной организации рекомендуется производить вскрытие и дополнительный дефектоскопический контроль (далее - ДДК) выявленных дефектов.
48. ДДК на участках МТ по результатам профилеметрии и разбраковку дефектов по результатам ДДК рекомендуется производить в соответствии с условиями договора.
49. По результатам ДДК рекомендуется оформлять акт о проведении ДДК в соответствии с
приложением N 4 к Руководству.
Рекомендации по контролю качества изоляционного покрытия
магистральных трубопроводов, законченных строительством
50. Контроль качества изоляционного покрытия на законченных строительством участках МТ (в том числе участки ППМТ) протяженностью от 0,2 (0,4 для многолетнемерзлых грунтов) до 50 км (кроме участков МТ надземной прокладки) рекомендуется проводить методом катодной поляризации в соответствии с
ГОСТ Р 51164-98. "Трубопроводы стальные магистральные. Общие требования к защите от коррозии" (далее - ГОСТ Р 51164-98), утвержденным
постановлением Госстандарта Российской Федерации от 23 апреля 1998 г. N 144.
51. Контроль качества изоляционного покрытия на законченных строительством подземных участках МТ протяженностью менее 0,2 км и на участках МТ надземной прокладки рекомендуется проводить по результатам пооперационного контроля.
52. Контроль качества изоляции участков трубопроводов методом катодной поляризации рекомендуется проводить на участках МТ, полностью законченных строительством (с узлами задвижек, контрольно-измерительными пунктами), не ранее чем через 2 недели после засыпки МТ.
53. Если длина законченного строительством участка МТ составляет более 50 км, для выполнения работ по контролю качества изоляционного покрытия методом катодной поляризации МТ рекомендуется разбивать на участки длиной не более 50 км каждый.
54. Проектную документацию на выполнение работ по контролю качества изоляционного покрытия рекомендуется разрабатывать в составе проектной документации на строительство, реконструкцию или капитальный ремонт участка МТ.
55. Контроль качества изоляции методом катодной поляризации рекомендуется производить на подземных МТ, находящихся в грунте, глубина промерзания которого в период контроля изоляции не превышает 0,5 м и когда расстояние между верхней границей глубинной мерзлоты и нижней образующей трубопровода составляет не менее 0,3 м.
56. Контроль качества изоляции при глубине промерзания грунта более 0,5 м проводится в общем случае по результатам пооперационного контроля с последующим контролем методом катодной поляризации после весеннего оттаивания грунта, локализацией дефектов искателем повреждений и ремонта сквозных дефектов в изоляционном покрытии.
57. Оборудование, применяемое для контроля качества изоляционного покрытия методом катодной поляризации, рекомендуется применять в соответствии с
ГОСТ Р 51164-98.
58. При контроле качества изоляционного покрытия МТ методом катодной поляризации состояние изоляционного покрытия предпочтительно оценивать по сопротивлению изоляционного покрытия. Значения сопротивления изоляции на законченных строительством и засыпанных участках МТ приведены в
ГОСТ Р 51164-98 и в
таблице N 3 приложения N 3 к Руководству.
59. При обнаружении по результатам электрометрических замеров на линейной части МТ снижения сопротивления изоляции ниже значений, приведенных в
таблице N 3 приложения N 3 к Руководству, места повреждения защитного покрытия рекомендуется устанавливать при помощи искателя повреждений изоляции, проводить ДДК стенки трубы, ремонт и повторный контроль качества изоляционного покрытия.
60. При обнаружении по результатам электрометрических замеров на ППМТ снижения сопротивления изоляции ниже значений, указанных в
таблице N 3 приложения N 3 к Руководству, с целью определения наличия дефектов металла трубы (царапин, рисок, задиров) в местах повреждения изоляции до ввода ППМТ в эксплуатацию рекомендуется проводить ВТД ППМТ с использованием ВИП.
61. Результаты контроля изоляционного покрытия рекомендуется оформлять актом оценки состояния изоляционного покрытия законченного строительством участка МТ.
Внутритрубное диагностирование подводных переходов
магистральных трубопроводов, законченных строительством
62. Рекомендуемая методика проведения работ по ВТД ППМТ приведена в
приложении N 5 к Руководству.
63. ППМТ рекомендовано считать готовым к проведению ВТД при выполнении следующих условий:
ППМТ оборудован КПП СОД в соответствии с
пунктом 18 Руководства;
очистка закончена и оформлен акт о проведении очистки;
проведена профилеметрия ППМТ в соответствии с
пунктами 42 -
49 Руководства и отсутствуют дефекты, препятствующие пропуску ВИП;
установлено насосное оборудование, обеспечивающее требуемую скорость движения в МТ в соответствии с паспортными техническими характеристиками ВИП;
обеспечен температурный режим в соответствии с требованиями паспортных данных внутритрубного дефектоскопа;
линейные задвижки по трассе МТ полностью открыты;
проходное сечение ППМТ - не менее 85% от номинального диаметра (далее - DN).
Оформление результатов технического диагностирования
магистральных трубопроводов, законченных строительством
64. По результатам технического диагностирования (профилеметрия, ВТД, контроль состояния изоляции, а также по результатам ДДК) рекомендуется оформлять отчет и направлять в строительную и эксплуатирующую организации.
65. Отчетные материалы рекомендуется включать в состав исполнительной документации на законченный строительством участок МТ.
IV. ТЕХНИЧЕСКОЕ ДИАГНОСТИРОВАНИЕ ЛИНЕЙНОЙ ЧАСТИ
МАГИСТРАЛЬНЫХ ТРУБОПРОВОДОВ, НАХОДЯЩИХСЯ В ЭКСПЛУАТАЦИИ.
ВИДЫ ТЕХНИЧЕСКОГО ДИАГНОСТИРОВАНИЯ, ВЫПОЛНЯЕМЫЕ
НА МАГИСТРАЛЬНЫХ ТРУБОПРОВОДАХ, НАХОДЯЩИХСЯ В ЭКСПЛУАТАЦИИ
66. В ходе технического диагностирования МТ, находящихся в эксплуатации, в соответствии с
таблицей N 8 приложения N 6 к Руководству рекомендуется выполнить:
ВТД (в том числе профилеметрии и дефектоскопия) линейной части МТ и переходов через естественные и искусственные преграды, включая ППМТ, проводимое с целью выявления дефектов геометрии МТ, дефектов стенки трубы и сварных швов;
наружное диагностирование методами НК КПП СОД, надземных магистральных трубопроводов обвязки узла КПП СОД, соединительных, конструктивных деталей, приварных элементов и ремонтных конструкций (муфт, приварных патрубков, вантузов, бобышек, чопов), проводимое с целью выявления дефектов металла и сварных швов;
наружное диагностирование методами НК емкостей сбора нефти (нефтепродуктов) с КПП СОД, проводимое с целью выявления дефектов металла;
наружное диагностирование методами НК ППМТ;
измерение глубины залегания МТ и определение планового положения его конструктивных элементов с целью измерения отклонений от проектных значений в процессе эксплуатации;
электрометрическое диагностирование (электрометрия) линейной части МТ, проводимое с целью диагностирования состояния изоляционного покрытия МТ, выявления коррозионно-опасных участков МТ диагностирования состояния системы электрохимической защиты (далее - ЭХЗ).
Сроки проведения первичного и периодического технического
диагностирования магистральных трубопроводов,
находящихся в эксплуатации
67. Сроки проведения технического диагностирования МТ рекомендуется устанавливать в соответствии
таблицей N 8 приложения N 6 к Руководству.
68. Первичное техническое диагностирование МТ внутритрубными дефектоскопами рекомендуется проводить в срок не более 1 года со дня ввода участка МТ в эксплуатацию.
69. Периодическое техническое диагностирование линейной части и ППМТ внутритрубными дефектоскопами рекомендуется проводить:
в сроки, указанные в заключении по оценке технического состояния объектов участка линейной части МТ;
в срок не более 6 лет от даты предыдущего диагностирования - для МТ, оценка технического состояния которых не проводилась;
в соответствии с расчетом периодичности диагностического обследования линейной части и ППМТ;
по специальным программам для отдельных участков.
Если интервалы времени между сроками проведения очередного диагностического обследования ВИП, указанными в техническом отчете по оценке технического состояния объектов участка линейной части МТ на соответствие требованиям нормативных и технических документов, составляют менее 2 лет, рекомендуется проводить одновременное диагностическое обследование участка комбинированными ВИП в ближайший из сроков, указанных в техническом отчете.
Сроки проведения технического диагностирования КПП СОД, соединительных, конструктивных деталей, приварных элементов, ремонтных конструкций и надземных трубопроводов обвязки узла пуска/приема СОД, емкостей сбора нефти (нефтепродуктов) с КПП СОД, перемычек между трубопроводами и перемычек между основной и резервной ниткой, переходов магистрального трубопровода (далее - ПМТ) через водные преграды рекомендуется устанавливать в соответствии с
приложением N 6 к Руководству.
70. Первичное (со дня ввода участка МТ в эксплуатацию) и периодическое измерение глубины залегания МТ (кроме ППМТ) рекомендуется проводить в срок:
не реже одного раза в 5 лет - на непахотных землях;
один раз в год - на пахотных землях.
Рекомендуемые сроки проведения измерения глубины залегания МТ на ППМТ: первичные измерения выполняются через 1 год после ввода ППМТ в эксплуатацию, в дальнейшем периодические - в соответствии с нормативными документами (далее - НД) эксплуатирующей организации.
71. Рекомендуемые сроки проведения электрометрии устанавливаются в соответствии с НД эксплуатирующей организации. На вновь построенных или реконструированных МТ первичную электрометрию рекомендуется проводить в срок не более 3 лет после завершения строительства или реконструкции МТ, в дальнейшем рекомендуется проведение комплексной электрометрии.
Комплексное электрометрическое диагностирование рекомендуется проводить:
на участках МТ высокой коррозионной опасности - не реже одного раза в 5 лет;
на остальных участках МТ - не реже одного раза в 10 лет.
Категорию коррозионной опасности рекомендуется устанавливать на основании проектной и эксплуатационной документации, а также результатов электрометрического обследования и внутритрубной дефектоскопии.
72. На коррозионно-опасных участках трубопроводов (в том числе при длине защитной зоны менее 3 км) и участках, имеющих минимальные (по абсолютной величине) значения защитных потенциалов, дополнительные измерения защитных потенциалов рекомендуется проводить с помощью выносного электрода сравнения, в том числе с использованием метода отключения, непрерывно или с шагом не более 10 м (в соответствии с НД) не менее одного раза в 3 года, в период максимального увлажнения грунта, а также дополнительно в случаях изменения режимов работы установок катодной защиты и при изменениях, связанных с развитием системы электрохимической защиты, источников блуждающих токов и сети подземных трубопроводов. На строящихся трубопроводах эти измерения рекомендуется производить по всей их протяженности, а на ремонтируемых - по всей длине ремонтируемых участков.
Организация и производство работ по подготовке и выполнению
внутритрубного диагностирования
73. Проведение работ по ВТД участков МТ, находящихся в эксплуатации, рекомендуется выполнять в следующем порядке:
подготовка (очистка) участка к пропуску калибровочного устройства;
пропуск калибровочного устройства (при подготовке участка к диагностированию магнитными дефектоскопами) за 32 дня до пуска ВИП;
пропуск профилемера (при подготовке участка к диагностированию ультразвуковыми дефектоскопами) за 32 дня до пуска ВИП;
первичная очистка МТ и повторный пропуск калибровочного устройства;
преддиагностическая очистка МТ;
контроль качества очистки;
пропуск ВИП;
обработка результатов пропуска ВИП, подготовка и выдача технического отчета;
проведение ДДК.
74. Организацию и производство работ по подготовке и выполнению ВТД МТ рекомендуется осуществлять в соответствии с условиями договора.
75. Рекомендуемая методика проведения работ по ВТД участков МТ приведена в
приложении N 5 к Руководству.
Проведение очистки магистрального трубопровода
76. Первичную и преддиагностическую очистку МТ рекомендуется проводить путем пропуска по МТ ОУ (пропуска калибровочного устройства) в соответствии с технологическими схемами, разработанными согласно НД эксплуатирующей организации, с учетом протяженности участка, наличия промежуточных НПС, действующих лупингов и подкачек, характеристик перекачиваемой нефти или нефтепродуктов (вязкости, плотности, содержания парафина), а также с учетом сезонности производства работ.
77. В технологических схемах очистки участка рекомендуется устанавливать типы, количество и последовательность пропуска ОУ, интервалы времени между их пусками.
78. Сроки пропуска калибровочного устройства, первичной очистки участка МТ, повторного пропуска калибровочного устройства и преддиагностической очистки участка МТ следует устанавливать в договоре.
79. Контроль за движением ОУ по МТ рекомендуется осуществлять бригадами сопровождения, укомплектованными оборудованием для контроля прохождения ОУ по МТ - акустическими и низкочастотными локаторами.
Рекомендации по требованиям к очистным устройствам
80. ОУ, предназначенные для очистки МТ и контроля качества очистки, рекомендуется допускать к применению при условии их соответствия требованиям руководства по эксплуатации на данные ОУ. ОУ, как правило, комплектуются паспортами, которые хранятся до момента утилизации. В паспорте желательно указывать:
номер изделия;
дату изготовления;
номинальные и допустимые геометрические размеры изделия, при которых обеспечивается качественная очистка МТ.
81. Все манжеты, чистящие и ведущие диски для ОУ рекомендуется маркировать с указанием их заводского номера и даты изготовления, четко различимыми на протяжении всего периода использования указанных изделий.
82. Перед каждым пуском ОУ по МТ следует заполнять формуляр на ОУ с указанием заводских номеров чистящих дисков и геометрических размеров манжет, щеток, чистящих, ведущих и щеточных дисков, чистящих и щеточных пластин, сведений об установленных расходных материалах и их износе при замене комплектующих материалов.
83. Не рекомендуется пропуск по МТ ОУ, не оснащенных передатчиками для контроля прохождения ОУ по МТ.
84. Проверку технического состояния ОУ рекомендовано производить на камере пуска СОД непосредственно перед началом работ по запасовке ОУ. По результатам проверки рекомендуется оформлять акт готовности оборудования к пропуску.
Рекомендации по подготовке участка трубопровода к проведению
внутритрубного диагностирования
85. Перед проведением ВТД на участке трубопровода рекомендуется устранить дефекты геометрии, соответствующие проходному сечению 85% от DN и менее.
86. Участок трубопровода, диагностируемый с помощью ВИП, следует оснастить КПП СОД.
87. Узлы пуска и приема желательно оборудовать подъездными путями и разворотными площадками для безопасного доступа автомобильного транспорта и грузоподъемных механизмов к КПП СОД.
88. Узлы пропуска СОД на промежуточных НПС и камеру приема СОД на конечном пункте не позднее, чем за 1 ч до пуска ОУ, рекомендуется переключать на пропуск ОУ без его остановки и прием ОУ соответственно.
89. В ходе и после завершения очистки участка трубопровода не рекомендуется:
производить размыв донных отложений резервуаров на НПС технологического участка трубопровода, в состав которого входит диагностируемый участок;
производить очистку и промывку резервных ниток и лупингов на диагностируемом участке трубопровода.
90. Если последнее ОУ, пропущенное в соответствии с технологической схемой преддиагностической очистки участка, принесло в камеру приема СОД более 5 л взвешенных и 0,5 л твердых асфальтосмолопарафиновых отложений, данный участок МТ рекомендуется считать неочищенным и рекомендуется проведение дополнительной очистки участка трубопровода путем повторного пропуска ОУ до получения требуемых результатов очистки.
91. Перед пуском ВИП рекомендуется осуществлять пуск дополнительных очистных щеточных устройств на участках магистральных трубопроводов, которые имеют следующие характеристики:
скорость движения нефти (нефтепродуктов) менее 0,5 м/с;
содержание парафина в перекачиваемой нефти (нефтепродуктов) более 3% объемных частей;
протяженность участка свыше 110 км.
Рекомендации по проведению контроля качества очистки участка
магистрального трубопровода
92. Контроль качества очистки участка МТ следует производить путем последовательного пропуска ОУ с чистящими пластинами и УКО с оформлением акта о результатах контроля качества очистки участка МТ по форме, определенной в договоре.
93. Участок МТ рекомендуется считать неподготовленным к пропуску ВИП, если:
каждое из устройств контрольной пары принесло в камеру приема СОД более 5 л взвешенных либо 0,5 л твердых асфальтосмолопарафиновых отложений, либо более одного электрода на 10 км МТ;
на УКО имеются группы из четырех и более соседних имитаторов датчиков, закрытых твердыми асфальтосмолопарафиновыми отложениями;
общее число имитаторов датчиков УКО, закрытых твердыми асфальтосмолопарафиновыми отложениями, превышает максимально допустимое значение в соответствии с условиями договора.
94. При невыполнении хотя бы одного из условий, установленных в
пункте 93 Руководства, участок МТ рекомендуется считать неподготовленным к пропуску ВИП и рекомендуется производить дополнительную очистку указанного участка путем повторного пропуска ОУ до получения требуемых результатов очистки.
Рекомендации по проведению внутритрубного диагностирования
магистрального трубопровода
95. Диагностирование участка МТ рекомендуется проводить последовательно всеми типами ВИП, предусмотренными в плане диагностического обследования МТ.
96. При планировании и выполнении диагностического обследования участка МТ последовательно несколькими типами ВИП желательна следующая последовательность пропуска ВИП:
профилемер;
магнитный дефектоскоп MFL;
ультразвуковой дефектоскоп CD;
ультразвуковой дефектоскоп WM.
97. Диагностирование участков МТ, входящих в единые технологические коридоры, рекомендуется проводить от начального участка коридора МТ к конечному.
98. На участках технологического коридора, требующих снижения режима перекачки для пропуска ВИП, их пропуск рекомендуется выполнять одновременно по нескольким участкам данного коридора.
Рекомендации по установке маркерных пунктов
99. Установку маркерных пунктов для пропуска ВИП рекомендуется производить с целью точной привязки выявленных дефектов к секциям МТ. План расстановки маркерных пунктов по трассе МТ рекомендуется составлять в процессе подготовки технического задания на проведение ВТД, данный план является его составной частью.
100. Маркерные пункты следует располагать над осью МТ. Расстояние между маркерными пунктами не должно превышать 2 км. Рекомендуется установка маркерных пунктов на ПМТ через реки, каналы, водоемы, железные и автомобильные дороги, на труднодоступных участках (болота, горные участки), на участках вблизи промышленных объектов и населенных пунктов.
101. Рекомендованная глубина верхней образующей МТ в местах расположения маркерных пунктов - не более 2 м. При большей глубине залегания МТ необходимую глубину рекомендуется обеспечивать путем изготовления шурфа.
102. Маркерные пункты на местности следует обозначать опознавательными знаками.
Рекомендации по установке маркерных пунктов на переходах
магистральных трубопроводов через водные преграды
103. На ПМТ через водные преграды маркерные пункты рекомендуется устанавливать на границах переходов и границах русловой части.
104. Маркерные пункты на ПМТ через водные преграды следует наносить на топографический план ПМТ.
105. Рекомендованная схема установки маркерных пунктов на ПМТ через водные преграды приведена на
рисунке 3 приложения N 3 к Руководству.
Рекомендации по установке маркерных пунктов на переходах
магистральных трубопроводов через железные
и автомобильные дороги
106. На оси трассы ПМТ через железные и автомобильные дороги следует устанавливать два постоянных маркерных пункта, расположенных на обеих сторонах дороги. Маркерные пункты рекомендуется располагать на расстоянии от 50 до 100 м от подошвы откоса насыпи, места установки маркерных пунктов указывать знаками на местности. Местоположение маркерных пунктов, как правило, оставляют неизменным при проведении всех ВТД.
107. Каждый маркерный пункт рекомендуется привязывать к постоянным ориентирам: опорам линий электропередачи, задвижкам, вантузам, контрольно-измерительным колонкам и другим ориентирам. Привязку маркерных пунктов на местности рекомендуется отражать в схеме установки маркерных пунктов на ПМТ, которая является приложением к паспорту на МТ.
108. Рекомендованная схема установки маркерных пунктов на переходе МТ через железную дорогу приведена на
рисунке 4 приложения N 3 к Руководству.
Выполнение внутритрубного диагностирования
109. Рекомендации по методике проведения ВТД приведены в
приложении N 5 к Руководству.
Наружное диагностирование магистральных трубопроводов
110. Рекомендуемые виды наружного диагностирования, применяемые на МТ, находящихся в эксплуатации:
а) диагностирование методами НК:
соединительных, конструктивных деталей, приварных элементов, ремонтных конструкций (муфт, приварных патрубков, вантузов, бобышек, чопов);
КПП СОД;
емкостей сбора нефти (нефтепродуктов) с КПП СОД;
надземных трубопроводов обвязки узла пуска/приема СОД;
перемычек между МТ и перемычек между основной и резервной нитками ПМТ через водные преграды;
б) электрометрическое диагностирование (электрометрия) - для диагностирования состояния изоляционного покрытия МТ, выявления коррозионно-опасных участков МТ, диагностирования состояния системы ЭХЗ;
в) наружное диагностирование ПМТ через водные преграды - для определения технического состояния ПМТ через водные преграды.
111. Для идентификации и измерения размеров дефектов после проведения ВТД и электрометрии следует применять ДДК, включающий:
ВИК;
ультразвуковой контроль (далее - УЗК), ультразвуковую дефектоскопию и толщинометрию;
контроль проникающими веществами;
магнитопорошковый контроль;
контроль физико-механических свойств металла, его химического состава.
112. Перед началом полевых диагностических работ заказчику рекомендуется выполнить следующие работы для проведения наружного диагностирования:
предоставление исполнителю диагностирования технического задания на проведение наружного диагностирования участка;
выполнение организационно-технических мероприятий и подготовительных работ в соответствии с
приложением N 9 к Руководству;
проведение инструктажа по технике безопасности персонала исполнителя, выполняющего наружное диагностирование.
113. Исполнителю диагностических работ для проведения наружного диагностирования рекомендуется выполнить следующие подготовительные работы:
разработку и согласование с эксплуатирующей организацией проекта производства работ (далее - ППР) (программы работ) по электрометрии, измерению глубины залегания МТ, диагностированию методами НК на основании методик, приведенных в
приложениях N 8 и
9 к Руководству;
разработку и согласование с эксплуатирующей организацией НИР по проведению наружного диагностирования методами НК ПМТ через водные преграды;
подготовку диагностического оборудования для проведения наружного диагностирования;
обеспечение выполнения вспомогательных и подготовительных работ, предусмотренных в договоре, НИР (программе работ).
114. При выполнении диагностических работ исполнителю наружного диагностирования рекомендовано:
соблюдать установленные в эксплуатирующей организации правила и нормы безопасного ведения работ;
провести наружное диагностирование;
предоставить технические отчеты по результатам наружного диагностирования в сроки, определенные в договоре.
Оборудование, применяемое при наружном диагностировании
115. Средства НК, включая стандартные (контрольные) образцы, следует вносить в паспорт лаборатории НК.
116. Все средства НК в составе лабораторий (дефектоскопы, преобразователи, стандартные образцы и другое оборудование) рекомендуется поверять, калибровать или аттестовать в соответствии с требованиями паспортов на данное оборудование, технических условий на используемое оборудование.
Измерение глубины залегания магистрального трубопровода
117. Измерение глубины залегания МТ рекомендуется проводить для определения фактической глубины залегания МТ и отклонений глубины залегания от проектных отметок.
118. Определение глубины залегания МТ рекомендуется осуществлять трассопоисковой аппаратурой, позволяющей производить измерения глубины залегания МН, или методом вскрытия. Технические характеристики трассопоисковой аппаратуры должны позволять производить измерения глубины залегания трубопроводов с точностью и в пределах значений, заложенных в проектной документации.
119. Фактическую глубину залегания МТ следует контролировать на непахотных землях не реже одного раза в 5 лет, на пахотных - один раз в год. Измерения рекомендуется производить с шагом не менее 100 м и измерением на углах поворота трассы трубопровода и в местах пересечений с другими коммуникациями (трубопроводы, автодороги, кабельные линии).
120. Результаты измерений рекомендуется оформлять в виде отчетов, направляемых в строительную и эксплуатирующую организации, а при наличии технической возможности - в виде выходных форм программы обработки данных трассопоисковой аппаратуры.
Рекомендации по электрометрическому диагностированию
121. Электрометрическое диагностирование, как правило, применяется на действующих МТ подземной прокладки.
122. Электрометрическое диагностирование рекомендуется выполнять в соответствии с
приложением N 8 к Руководству.
123. Рекомендуемый объем и состав работ по электрометрическому диагностированию участка МТ определяется в техническом задании (далее - ТЗ), включающем в себя следующие работы:
изучение и анализ статистических данных об обследуемом участке МТ;
обследование коррозионного состояния МТ;
обследование состояния изоляции МТ;
оценка эффективности работы изолирующих соединений;
определение технического состояния средств ЭХЗ (УКЗ, УДЗ, УПЗ);
определение эффективности ЭХЗ.
124. Содержание отчета о результатах электрометрического диагностирования рекомендуется устанавливать в договоре.
Рекомендации по проведению дополнительного
дефектоскопического контроля
125. ДДК с целью уточнения типа и параметров дефектов, обнаруженных по результатам ВТД и электрометрии, рекомендуется проводить в соответствии с
приложением N 7 к Руководству и условиями договора.
126. По результатам ДДК рекомендуется оформлять акт о проведении ДДК в соответствии с
приложением N 4 к Руководству.
Рекомендации по диагностированию участков магистральных
трубопроводов из спиральношовных труб
127. При диагностировании участков МТ из спиральношовных труб, как правило, применяются следующие виды наружного диагностирования:
ВТД с помощью приборов, позволяющих выявлять дефекты в спиральных сварных швах;
полное электрометрическое диагностическое обследование в соответствии с
приложением N 8 к Руководству.
При проведении ДДК участков МТ из спиральношовных труб по результатам ВТД и электрометрического диагностирования следует проводить:
УЗК спирального сварного шва трубы на участке, назначенном для обследования ВИК;
ультразвуковую толщинометрию основного металла трубы на участке, назначенном для обследования ВИК;
измерение твердости металла шва и околошовной зоны на участке, назначенном для обследования ВИК.
Рекомендации по диагностированию переходов
магистральных трубопроводов
128. При диагностировании ПМТ через водные преграды рекомендуется применять следующие виды диагностирования:
ВТД;
периодическое полное или частичное обследование ППМТ;
нивелировка и периодическое обследование ВПМТ через водные преграды.
129. Виды и объемы работ при проведении наружного диагностирования ПМТ через водные преграды рекомендуется определять в соответствии с
приложением N 9 к Руководству.
130. Для уточнения типа и параметров дефектов, обнаруженных ВТД и электрометрией, рекомендуется проводить ДДК в соответствии с
приложением N 7 к Руководству.
131. Результаты диагностирования рекомендуется вносить в паспорт ППМТ.
Рекомендации по диагностированию камер пуска и приема
средств очистки и диагностирования
132. Методы и объемы работ при проведении технического диагностирования КПП СОД приведены в
таблице N 4 приложения N 3 к Руководству.
При необходимости замены метода контроля следует заменять его на равноценные методы без ограничений по физическим принципам работы (магнитный, акустический и прочие).
В процессе проведения технического диагностирования объем работ по НК, как правило, корректируется в зависимости от результатов ВИК, магнитометрического контроля (далее - ММК).
133. В соответствии с
приложением N 7 к Руководству ВИК рекомендуется проводить снаружи и изнутри КПП СОД.
134. С наружной поверхности КПП СОД рекомендуется проводить ВИК для 100% сварных швов КПП СОД и узлов обвязки на наличие трещин, коррозионных дефектов, царапин, рисок, задиров, находящихся на наружной поверхности КПП СОД.
135. С внутренней поверхности КПП СОД рекомендуется осуществлять ВИК со стороны крышки затвора в зоне доступа визуально с использованием индивидуальных средств защиты оператора и с подводом воздуха.
136. При обнаружении по результатам ВИК трещин, коррозионных дефектов, царапин, рисок, задиров рекомендуется проводить ДДК дефектов.
137. Измерение отклонений осей КПП СОД от проектных значений следует проводить в соответствии со Сводом правил "
СП 11-104-97. Система нормативных документов в строительстве. Инженерно-геодезические изыскания для строительства", одобренным письмом Госстроя России от 17 февраля 2004 г. N 9-20/112 (далее - СП 11-104-97).
138. Трубопроводы обвязки КПП СОД в местах выхода труб на наружную поверхность земли рекомендуется освобождать от грунта на протяжении 700 мм в глубину от границы "воздух-грунт". При обнаружении мест повреждения изоляции желательно произвести контроль основного металла.
139. Толщину металла каждого конструктивного элемента КПП СОД рекомендуется измерять с применением ультразвуковой толщинометрии:
крышка затвора - не менее чем в трех симметричных точках от центра каждого элемента сварной крышки и не менее чем в пяти симметрично расположенных точках;
расширенная часть КПП СОД - не менее чем в трех сечениях по четыре точки в каждом;
переходная часть КПП СОД - не менее чем в трех сечениях по четыре точки в каждом;
элемент КПП СОД от задвижки (входной/выходной) до расширенной части - в одном сечении в четырех точках;
врезки и патрубки диаметром более 100 мм - не менее чем в четырех точках, расположенных равномерно по окружности;
врезки и патрубки диаметром не более 100 мм - не менее чем в двух диаметрально противоположных точках.
140. Рекомендуется подвергать УЗК в объеме 100% следующие сварные швы:
поперечные сварные швы переходной части;
продольные сварные швы цилиндрических и конических деталей;
сварной шов приварки затвора;
сварные швы врезок и патрубков диаметром более DN 100.
141. Размеры дефектов, выявленных по результатам ВИК и УЗК, в случаях затруднения интерпретации рекомендуется уточнять с помощью капиллярного (магнитопорошкового) метода.
142. Врезки патрубков диаметром менее DN 100 следует подвергать капиллярному (магнитопорошковому) контролю.
143. По результатам НК рекомендуется производить оценку качества сварных швов.
Рекомендации по диагностированию соединительных,
конструктивных деталей, приварных элементов
и ремонтных конструкций
144. В состав работ по техническому диагностированию рекомендуется включать:
а) для ремонтных конструкций:
ВИК в объеме 100%;
ультразвуковая толщинометрия (далее - УТ) корпусных деталей и участка МТ в объеме 100%;
УЗК в объеме 100% сварных соединений;
контроль проникающими веществами (далее - ПВК) в объеме 100% угловых и нахлесточных сварных соединений;
б) для соединительных деталей;
ВИК в объеме 100%;
УТ корпусных деталей, патрубков в объеме 100%;
УЗК в объеме 100% сварных соединений;
ПВК в объеме 100% угловых и нахлесточных сварных соединений;
в) для патрубков (вантузов, узлов отбора давления, сигнализаторов прохождения СОД и др.):
ВИК в объеме 100%;
УТ корпусных деталей, патрубков в объеме 100%;
УЗК в объеме 100% сварных соединений;
ПВК в объеме 100% сварных соединений;
г) для бобышек:
ВИК в объеме 100%;
УТ в объеме 100%;
УЗК в объеме 100% сварных соединений;
ПВК в объеме 100% сварных соединений.
145. В процессе проведения технического диагностирования объем работ по НК рекомендуется корректировать в зависимости от результатов ВИК, ММК.
146. При проведении гидравлических испытаний МТ, не подлежащих ВТД в процессе эксплуатации, узлы врезок трубопроводов, отводов, перемычек и другие устройства (тройник основного трубопровода, трубопровод до и после задвижки), не входящие в схему гидравлических испытаний, рекомендуется вскрывать, очищать от изоляционного покрытия и обследовать в следующем объеме:
обследование участков МТ и тройника визуально-измерительным методом в объеме 100%;
обследование сварных соединений УЗК в объеме 100%;
определение толщины стенки участков МТ и тройников УЗК в объеме 100%;
обследование основного металла участков МТ и тройников УЗК в объеме 100%;
обследование угловых сварных соединений и околошовной зоны МТ на наличие трещин ПВК в объеме 100%.
147. При обнаружении по результатам ВИК трещин, коррозионных дефектов, царапин, рисок, задиров рекомендуется проведение ДДК дефектов.
148. Размеры дефектов, выявленные по результатам ВИК, желательно уточнять с помощью ПВК.
Рекомендации по техническому диагностированию емкостей сбора
нефти (нефтепродуктов), камер пуска и приема средств
очистки и диагностирования
149. В техническое диагностирование емкостей сбора нефти (нефтепродуктов) с КПП СОД (далее - емкостей) следует включать:
контроль качества;
техническое освидетельствование.
150. Рекомендуемые методы и объемы работ при проведении технического диагностирования емкостей сбора нефти (нефтепродуктов) приведены в
таблице N 5 приложения N 3 к Руководству.
В процессе проведения технического диагностирования объем работ по НК рекомендуется корректировать в зависимости от результатов ВИК, ММК.
151. При техническом освидетельствовании дополнительно к перечисленному в
таблице N 5 приложения N 3 к Руководству следует выполнять гидравлические испытания емкостей.
152. Перед внутренним осмотром (ВИК) емкость рекомендуется отключить заглушками от всех трубопроводов, освободить от заполняющей ее рабочей среды, провести вентиляцию. Не рекомендуется превышать безопасный уровень концентрации газов в емкости. Стенки емкости с внутренней стороны рекомендуется подвергнуть зачистке.
153. Рекомендуемые объемы применения методов контроля:
а) ВИК:
100% внутренней стороны - для подземных емкостей;
100% внешней и внутренней сторон - для надземных емкостей;
б) УЗК - на каждом шве в объеме 50% от длины шва;
в) УТ:
не менее 30 равноудаленных точек по четырем сечениям обечайки;
не менее пяти точек, симметрично расположенных на каждом днище.
В процессе проведения технического диагностирования объем работ по НК рекомендуется корректировать в зависимости от результатов ВИК, ММК.
154. Измерение планового положения и просадки емкостей сбора нефти (нефтепродуктов) с КПП СОД рекомендуется проводить в соответствии со сводом правил
СП 11-104-97 <2>.
--------------------------------
<2> Свод правил
СП 11-104-97 "Система нормативных документов в строительстве. Инженерно-геодезические изыскания для строительства", одобрен письмом Госстроя России от 14 октября 1997 г. N 9-4/116.
155. Оформление отчетных материалов по техническому диагностированию емкостей следует выполнять в соответствии с условиями договора.
Рекомендации по диагностированию трубопроводов обвязки узла
пуска и приема средств очистки и диагностирования
156. При диагностировании подземных трубопроводов обвязки узла пуска/приема СОД рекомендуется применять электрометрию в соответствии с
приложением N 8 к Руководству.
При необходимости уточнения наличия и размеров дефекта рекомендуется производить локальную шурфовку.
157. При диагностировании надземных трубопроводов обвязки узла пуска/приема СОД рекомендуется применять следующие виды диагностирования:
ВИК основного металла МТ в объеме 100%;
ВИК сварных швов МТ в объеме 100%;
УЗК кольцевых сварных швов в объеме 100%;
УТ стенки трубопроводов в зонах в соответствии со схемой мест обследования по результатам ВИК;
капиллярный контроль в зонах в соответствии со схемой мест обследования, по результатам ВИК и УЗК, в случаях, когда интерпретация затруднена;
магнитопорошковый контроль в объеме 100%.
В процессе проведения технического диагностирования объем работ по НК рекомендуется корректировать в зависимости от результатов ВИК, ММК.
Для уточнения типа и параметров дефектов, обнаруженных электрометрией, рекомендуется проводить ДДК в соответствии с
приложением N 7 к Руководству.
Критерии оценки дефектов, выявленных при внутритрубном
и наружном диагностировании магистральных трубопроводов,
находящихся в эксплуатации
158. Критерии оценки и классификацию дефектов, выявленных при ВТД и наружном диагностировании МТ, включая КПП СОД, емкостей, соединительных, конструктивных деталей, приварных элементов и ремонтных конструкций, трубопроводов обвязки узла пуска/приема СОД, рекомендуется устанавливать в договоре.
Рекомендации по оформлению результатов технического
диагностирования магистральных трубопроводов,
находящихся в эксплуатации
159. Содержание технического отчета по ВТД рекомендуется выполнять в соответствии с условиями договора.
160. По результатам электрометрического диагностирования МТ рекомендуется оформлять заключение в соответствии с
приложением N 8 к Руководству.
161. Результаты работ по методам НК, включая ДДК, рекомендуется оформлять в соответствии с
приложением N 7 к Руководству.
162. Результаты проведения наружного диагностирования ПМТ через водные преграды рекомендуется оформлять по форме, определенной в договоре.
Рекомендации по техническому диагностированию перемычек
между трубопроводами и между основной и резервной нитками
переходов магистральных трубопроводов через водные преграды
163. Техническое диагностирование перемычек между МТ и перемычек между основной и резервной нитками ПМТ через водные преграды следует выполнять следующими видами диагностирования:
ВИК поперечных и продольных сварных соединений трубопровода, соединительных деталей и основного металла;
УЗК поперечных и продольных сварных соединений трубопровода, соединительных деталей и основного металла;
магнитопорошковый контроль поперечных и продольных сварных соединений трубопровода;
контроль сплошности изоляции и адгезии к металлу изоляционного покрытия (после окончания диагностических работ и восстановления изоляционного покрытия).
164. Подготовку поверхности трубы к проведению ДДК следует осуществлять бригадой по устранению дефектов или линейной эксплуатационной службой.
165. Для уточнения типа и параметров обнаруженных дефектов, как правило, проводится ДДК силами исполнителя в присутствии заказчика.
166. Исполнителю рекомендуется документировать информацию о дефектах с указанием расположения дефектов на схеме МТ и учитывать при проведений расчета выявленных дефектов на прочность и долговечность.
167. Ремонт дефектов рекомендовано производить в соответствии с результатами расчетов на прочность и долговечность.
V. ТЕХНИЧЕСКОЕ ДИАГНОСТИРОВАНИЕ ТРУБОПРОВОДОВ, НАХОДЯЩИХСЯ
В КОНСЕРВАЦИИ. ВИДЫ ТЕХНИЧЕСКОГО ДИАГНОСТИРОВАНИЯ,
ПРИМЕНЯЕМЫЕ НА ТРУБОПРОВОДАХ, НАХОДЯЩИХСЯ В КОНСЕРВАЦИИ,
И СРОКИ ИХ ПРОВЕДЕНИЯ
168. Рекомендуемые виды технического диагностирования магистральных трубопроводов, находящихся в консервации, включают в себя:
электрометрию, проводимую с целью выявления дефектов изоляции и определения состояния систем ЭХЗ в соответствии с
приложением N 8 к Руководству;
измерение глубины залегания магистральных трубопроводов в соответствии с
пунктами 117 -
120 Руководства;
измерение отклонений осей КПП СОД от проектных значений в соответствии с
СП 11-104-97;
измерение планового положения и просадки емкостей сбора нефти (нефтепродуктов) с КПП СОД в соответствии с
СП 11-104-97;
частичное обследование ППМТ, находящихся в консервации.
169. Техническое диагностирование МТ, находящихся в консервации, следует произвести перед вводом их в эксплуатацию.
Проведение дополнительного дефектоскопического контроля
по результатам электрометрии
170. Для уточнения типа и параметров дефектов, выявленных при электрометрии, рекомендуется проводить ДДК участков, на которых в ходе электрометрии выявлены дефекты.
171. После завершения ДДК рекомендуется классифицировать дефекты согласно условиям договора и устранить их до ввода трубопровода в эксплуатацию (
пункт 158 Руководства).
Оформление результатов технического диагностирования
172. По результатам электрометрического диагностирования МТ, находящихся в консервации, рекомендуется оформлять заключение в соответствии с
приложением N 8 к Руководству.
173. Результаты ДДК рекомендуется оформлять в соответствии с НД эксплуатирующей организации.
174. Результаты наружного диагностирования ПМТ через водные преграды, находящихся в консервации, рекомендуется оформлять в соответствии с НД эксплуатирующей организации.
VI. ТЕХНИЧЕСКОЕ ДИАГНОСТИРОВАНИЕ ТЕХНОЛОГИЧЕСКИХ
ТРУБОПРОВОДОВ. КЛАССИФИКАЦИЯ ТЕХНОЛОГИЧЕСКИХ ТРУБОПРОВОДОВ
175. К технологическим трубопроводам принято относить внутриплощадочные трубопроводы между точками врезки в МТ на входе и выходе НПС, надземные и надводные трубопроводы морских терминалов, по которым осуществляется транспортировка нефти (нефтепродуктов).
176. Основные технологические трубопроводы по назначению и допустимым рабочим давлениям рекомендовано разделять на следующие участки:
а) для промежуточных станций:
подводящий трубопровод;
коллектор магистральных агрегатов;
напорный трубопровод;
б) для НПС с резервуарным парком:
подводящий трубопровод;
трубопроводы резервуарного парка;
коллектор подпорных насосов;
коллектор магистральных агрегатов;
напорный трубопровод.
177. Вспомогательные технологические трубопроводы рекомендовано разделять по назначению на следующие участки:
трубопроводы откачки утечек;
трубопроводы дренажной системы;
трубопроводы сброса давления.
Виды технического диагностирования, применяемые
на технологических трубопроводах
178. На надземных трубопроводах следует применять следующие виды технического диагностирования:
ВИК основного металла трубопроводов;
ВИК сварных швов трубопроводов в объеме 100%;
УЗК кольцевых сварных швов в объеме 100%;
УТ стенки трубопроводов;
капиллярный контроль;
магнитопорошковый контроль;
измерения ПВП трубопровода и его конструктивных элементов;
ММК;
вибродиагностический контроль.
179. На подземных трубопроводах следует применять следующие виды технического диагностирования:
электрометрическое диагностирование (электрометрия) всех технологических основных и вспомогательных трубопроводов с целью оценки состояния изоляционного покрытия, наличия коррозионных дефектов стенки трубы и определения скорости коррозии, оценки состояния средств ЭХЗ, наличия контакта с защитными кожухами;
измерения планового положения и глубины залегания трубопровода и его конструктивных элементов, проводимые с целью выявления отклонения глубины залегания трубопровода от проектных значений, измерение горизонтальных смещений трубопровода в процессе эксплуатации в соответствии с
пунктами 117 -
120 Руководства;
наружное диагностирование методами НК соединительных, конструктивных деталей, приварных элементов и ремонтных конструкций в соответствии с
пунктами 147 -
149 Руководства.
180. Для идентификации дефектов, обнаруженных электрометрией, рекомендуется проводить ДДК в соответствии с
приложением N 7 к Руководству.
Сроки проведения первичного и периодического технического
диагностирования технологических трубопроводов
181. Рекомендуемые сроки проведения первичного технического диагностирования для вновь построенных основных и вспомогательных технологических трубопроводов - не позднее 3 лет от даты ввода в эксплуатацию.
182. Рекомендуемые сроки проведения очередного технического диагностирования основных и вспомогательных технологических трубопроводов - не позднее чем за 1 год до расчетной даты, определенной в соответствии с
пунктами 67 -
71 Руководства, но не реже:
одного раза в 8 лет - для наружного диагностирования;
сроков, указанных в
пункте 71 Руководства, - для электрометрии.
183. Периодичность работ по контролю качества емкостей сбора утечек и дренажа систем сглаживания волн давления рекомендуется принимать по НД эксплуатирующей организации.
184. Определение прогнозируемого срока безопасной эксплуатации основных и вспомогательных технологических трубопроводов предпочтительно проводить на основе анализа данных по нагруженности внутренним давлением и расчета цикличности по критерию роста трещин в условиях прогнозируемой цикличности нагружения.
Рекомендуемый состав работ по подготовке и выполнению
технического диагностирования технологических трубопроводов
185. Эксплуатирующей организацией при подготовке к проведению технического диагностирования, помимо информации, указанной в
приложении N 7 к Руководству, желательно передать исполнителю диагностирования следующую дополнительную информацию:
схемы технологических основных и вспомогательных трубопроводов;
перечень трубопроводов или их участков, подлежащих техническому диагностированию, с указанием их границ;
перечень мест с застойными и тупиковыми зонами и данные о скорости потока нефти (нефтепродуктов) в застойных зонах для установления мест скопления воды;
данные о техническом освидетельствовании трубопроводной арматуры на диагностируемом участке трубопровода.
186. Применение каждого из видов диагностирования и методов НК следует определять при разработке ТЗ на проведение наружного диагностирования (комплексного или отдельного по каждому из видов наружного диагностирования).
Выполнение технического диагностирования
187. При выполнении работ по техническому диагностированию рекомендуется:
провести анализ технической документации на трубопровод;
выполнить работы по обследованию коррозионного состояния и состояния противокоррозионной защиты;
определить плановое положение и глубину залегания трубопровода и его конструктивных элементов;
определить места шурфовки с учетом расположения тупиковых и застойных зон, возможного нарушения изоляционного покрытия, участков нахождения соединительных деталей, на которые отсутствует документация;
провести 100% ВИК надземных трубопроводов и мест шурфовки подземных трубопроводов;
выполнить 100% УЗК кольцевых сварных швов надземных трубопроводов.
188. В ходе проведения технического диагностирования могут быть выявлены:
дефекты (потери металла) от воздействия внешней коррозии в местах, с недостаточной защитой от коррозии, которыми являются участки трубопроводов с нарушенной изоляцией и участки, на которых величины защитных потенциалов, измеренных на КИП ЭХЗ, не соответствуют нормативным значениям;
дефекты (потери металла) от воздействия внутренней коррозии в тупиковых и застойных зонах трубопроводов;
отклонения глубины залегания трубопровода от проектных значений, измерение горизонтальных смещений трубопровода в процессе эксплуатации;
участки с толщинами стенок трубопроводов, не соответствующими проектной документации;
трубопроводы, на которых имеются ненормативные соединительные детали и приварные элементы (вантузы, патрубки);
трубопроводы, на которых имеются временные ремонтные конструкции;
координаты мест разрушения трубопроводов с выходом нефти (нефтепродуктов). Координаты мест разрушения трубопроводов привязываются к границам подземных участков трубопроводов, предназначенных для шурфовки и проведения визуального и измерительного контроля.
Рекомендации по проведению электрометрии подземных
технологических трубопроводов
189. Технические требования к проведению и оформлению результатов электрометрии подземных основных и вспомогательных технологических трубопроводов следует устанавливать в ТЗ на проведение технического диагностирования.
190. Требования к отчету по результатам электрометрии рекомендуется устанавливать в договоре.
Рекомендации по проведению визуального и измерительного
контроля технологических трубопроводов
191. ВИК рекомендуется проводить на надземных и отшурфованных участках подземных трубопроводов с целью выявления недопустимых видимых дефектов (трещин, задиров, забоин, царапин, рисок, вмятин, прогибов, выпучин, нарушений изоляции, коррозионных дефектов, изменения исходной формы) в соответствии с условиями договора.
192. Результаты ВИК рекомендуется фиксировать в журнале НК и оформлять в виде заключения с приложенной к нему схемой проконтролированного объекта, в которой указано расположение выявленных дефектов.
Рекомендации по проведению ультразвукового контроля
и ультразвуковой толщинометрии технологических трубопроводов
193. УЗК рекомендуется применять в объемах проведения ДДК по результатам ВИК, а также при диагностировании сварных швов трубопроводов наземной прокладки в соответствии с методикой, приведенной в
приложении N 7 к Руководству.
194. С помощью УЗК выявляются непротяженные и протяженные дефекты типа нарушения сплошности, измеряется толщина стенок труб.
195. Критерии оценки допустимости дефектов по результатам УЗК следует оценивать согласно условиям договора.
196. Результаты УЗК рекомендуется оформлять в виде заключения, к которому прикладывается схема проконтролированного соединения с указанием на ней расположения выявленных дефектов.
197. Во всех шурфах желательно проводить измерение толщины стенок в четырех точках одного сечения через 90°, начиная с нижней образующей, ультразвуковыми толщиномерами по
ГОСТ Р 55614-2013. "Национальный стандарт Российской Федерации. Контроль неразрушающий. Толщиномеры ультразвуковые. Общие технические требования", утвержденному
приказом Росстандарта от 6 сентября 2013 г. N 1031-ст.
198. При обнаружении коррозионных повреждений и других дефектов, выявленных по результатам ВИК, рекомендуется проводить дополнительные измерения толщины стенки на расстоянии от 40 до 50 мм от дефектов. В околошовной зоне следует выполнять не менее трех измерений равномерно по кольцевому шву и не менее трех измерений на 1 м продольного шва с каждой стороны шва.
199. В шурфах, расположенных в тупиковых и застойных зонах, в которых происходит накопление воды и возможна внутренняя коррозия стенок трубы, измерение толщины стенок рекомендуется проводить по окружности в четырех точках одной плоскости (через 90°) по верхней, нижней и боковым образующим. Кроме того, измерение рекомендуется проводить не менее чем в двух местах на расстоянии от 0,5 до 1,0 м по горизонтали по обе стороны от точки измерения толщины стенки на нижней образующей.
200. На наружных трубопроводах измерение толщины стенок следует осуществлять во всех дефектных местах и по длине трубопровода не менее чем через каждые 20 м.
201. Измерение толщины стенок на наружных трубопроводах рекомендуется производить в четырех точках одного сечения через 90°, начиная с нижней образующей трубы.
202. Результаты ультразвуковой толщинометрии рекомендуется оформлять в виде заключения с приложением дефектной ведомости и схем контроля.
Рекомендации по проведению магнитометрического
метода контроля
203. Капиллярный, магнитопорошковый и другие виды контроля рекомендуется выполнять в соответствии с методикой, приведенной в
приложении N 7 к Руководству.
204. Техническое диагностирование трубопроводов ММК следует проводить в зонах сварки трубопроводов с патрубками оборудования, арматуры, а также в зонах контакта с фундаментами, опорами на длине не менее одного DN по обе стороны от точек контакта или сварного шва.
В местах, где градиент рассеяния магнитного поля достигает значений 8,5 x 103 А/м2 и более, рекомендуется проводить ДДК для обнаружения возможных дефектов.
Рекомендации по проведению вибродиагностического контроля
205. Технологические трубопроводы, соединенные с патрубками насосов, следует подвергать виброобследованию.
206. Рекомендуемое максимальное виброперемещение трубопровода при частоте вибрации не более 40 Гц - не выше 0,2 мм.
Гидравлические испытания технологических трубопроводов
207. Гидравлические испытания основных и вспомогательных технологических трубопроводов рекомендуется проводить в случае ввода НПС в эксплуатацию после перерыва в работе более 3 лет и выполнять после проведения технического диагностирования.
208. Гидравлические испытания технологических трубопроводов, находящихся в эксплуатации, рекомендуется проводить в соответствии с
пунктом 177 федеральных норм и правил в области промышленной безопасности "Правила безопасной эксплуатации технологических трубопроводов", утвержденных приказом Ростехнадзора от 21 декабря 2021 г. N 444, зарегистрированным Минюстом России 1 июня 2022 г., регистрационный N 68666.
209. Если в процессе эксплуатации трубопроводов НПС произошла авария с выходом нефти (нефтепродуктов), то рекомендуется проводить внеочередное полное техническое диагностирование трубопроводов с применением методов НК в рамках экспертизы промышленной безопасности. Если на этой же НПС произошла вторая авария с выходом нефти (нефтепродуктов), кроме технического диагностирования трубопроводов следует проводить гидравлические испытания той системы трубопроводов, на которой происходили аварии. Внеочередное полное техническое диагностирование рекомендуется выполнять в течение 6-ти месяцев от даты аварии.
210. Гидравлические испытания трубопроводов рекомендуется проводить водой и выполнять по отдельному ППР.
Оформление результатов технического диагностирования
технологических трубопроводов
211. Результаты технического диагностирования основных и вспомогательных технологических трубопроводов, оформленные в соответствии с договором, являются основанием для оформления заключения о техническом состоянии основных и вспомогательных технологических трубопроводов, которое определяет возможности и сроки дальнейшей безопасной эксплуатации.
VII. МЕРОПРИЯТИЯ ПО ПРОМЫШЛЕННОЙ БЕЗОПАСНОСТИ
ПРИ ИСПЫТАНИЯХ, ОЧИСТКЕ И ТЕХНИЧЕСКОМ
ДИАГНОСТИРОВАНИИ ТРУБОПРОВОДОВ
212. Мероприятия по промышленной безопасности при испытаниях (гидравлических, пневматических), очистке и техническом диагностировании трубопроводов рекомендуется указывать в инструкции, в которой рекомендуется отразить порядок допуска персонала и оборудования к выполнению работ, действия персонала во время испытаний, очистки и технического диагностирования в нормальных условиях и при возникновении аварийной ситуации, порядок окончания испытаний, очистки и диагностирования, снятия охранной зоны в соответствии с требованиями НД.
213. При проведении испытаний, очистки и технического диагностирования технологических трубопроводов рекомендуется соблюдать меры безопасности, соответствующие требованиям для испытаний, очистки и технического диагностирования трубопроводов линейной части.
214. Перед проведением испытаний, очистки и технического диагностирования исполнителю рекомендуется своим распоряжением назначить работников, ответственных за:
обеспечение безопасности обслуживающего персонала, населения и сохранности техники и сооружений вдоль трассы трубопровода (в пределах охранной зоны);
перемещение техники в охранной зоне трубопровода;
обозначение опасных зон и установку предупреждающих знаков;
организацию бытовых условий для работников.
215. Работы по проведению испытаний, очистки и технического диагностирования являются работами повышенной опасности и их рекомендуется выполнять по наряду-допуску.
216. Всем работникам, привлекаемым к проведению испытаний, очистки и технического диагностирования, рекомендуется пройти целевой инструктаж по охране труда, ознакомиться с приказом по проведению работ, целями, задачами и особенностями работ на участках трубопровода, а также с порядком действий и своими обязанностями при возникновении аварийных ситуаций. Весь персонал рекомендуется ознакомить под роспись с инструкцией на проведение испытаний, очистки и технического диагностирования.
217. В процессе испытаний, очистки и технического диагностирования участка трубопровода людям, механизмам и оборудованию следует находиться за пределами опасной зоны, движение на пересекающих участок некатегорийных дорогах рекомендуется прекратить. На период работ рекомендуется перекрыть движение транспортных средств по вдольтрассовому проезду. В местах возможного выезда транспортных средств в зону проведения работ рекомендуется установить предупреждающие знаки, приведенные в
приложении N 10 к Руководству, и поперек дороги установить сигнальную ленту.
218. Перед проведением испытаний, очистки и технического диагностирования все открытые участки трубопровода рекомендуется огородить сигнальной лентой, в том числе начальный и конечный участки трубопровода (КПП СОД, вантузы, задвижки, колодцы отбора давления). На огороженных участках рекомендуется установить таблички с указанием строительного пикета и километра по трассе трубопровода, предупреждающие знаки, приведенные в
приложении N 10 к Руководству.
219. Установку предупреждающих знаков рекомендуется оформлять совместным актом представителей организации, проводящей испытания, организации, осуществляющей строительный контроль, и эксплуатирующей организации. Рекомендуемая форма акта на обозначение оборудования и открытых участков трубопровода перед проведением испытаний, очистки и технического диагностирования приведена в
приложении N 11 к Руководству.
220. К акту рекомендуется приложить ситуационный план участка испытания, очистки и технического диагностирования трубопровода с указанием мест установки сигнальной ленты и предупреждающих знаков.
221. Лицу, ответственному за обозначение опасных зон и установку предупреждающих знаков, рекомендуется ежедневно проводить проверку обозначения опасных участков с отметкой в акте.
222. При проведении работ в темное время суток рекомендуется освещать рабочие площадки, посты наблюдателей, приборы.
223. На время испытаний, очистки и технического диагностирования трубопроводов рекомендуется выставлять посты оцепления опасных участков МТ, в том числе на местах пересечений с автомобильными и железными дорогами, для обхода трассы и наблюдения за опасными участками на пересечениях с реками, каналами, действующими коммуникациями.
224. Наблюдающим на постах рекомендуется находиться в пределах видимости, но не более чем через 200 м друг от друга. Снятие оцепления рекомендуется осуществлять по указанию руководителя испытаний.
225. Перед началом работ рекомендуется проверить действие связи и расстановку ремонтно-восстановительных бригад, обходчиков, постов оцепления согласно плану испытаний, очистки и технического диагностирования, обозначению открытых участков. После проверки перед проведением гидравлических испытаний руководителю испытаний рекомендовано отдать распоряжение на подачу воды для испытания.
226. К испытаниям, очистке и техническому диагностированию на МТ рекомендуется привлекать руководителей и специалистов, прошедших аттестацию согласно требованиям промышленной безопасности и после проведения на рабочем месте вводного и первичного инструктажей персонала, участвующего в подготовке и проведении работ, с записью в журнале регистрации инструктажей персонала на рабочем месте, с обеспечением наличия этого журнала (копии) инструктажей и инструкций по охране труда (далее - ОТ) на месте производства работ.
227. Допуск персонала к испытаниям, очистке и техническому диагностированию в охранной зоне линии электропередачи, находящейся под напряжением, а также в пролете пересечения с действующей ВЛ рекомендуется проводить допускающему из числа персонала организации, эксплуатирующей линию электропередачи, и ответственному руководителю работ. При этом допускающий осуществляет допуск ответственного руководителя и исполнителя каждой бригады.
228. Выполнение испытаний, очистки и технического диагностирования МТ в охранной зоне линии электропередачи, находящейся под напряжением, рекомендуется проводить с разрешения ответственного руководителя работ и под надзором наблюдающего из персонала организации, эксплуатирующей линию электропередачи.
229. Выполнение испытаний, очистки и технического диагностирования в охранной зоне отключенной линии электропередачи и на самой отключенной линии рекомендуется проводить с разрешения допускающей организации, эксплуатирующей линию электропередачи, после установки заземлений, выполняемой в соответствии с требованиями
Правил по охране труда при эксплуатации электроустановок, утвержденных приказом Министерства труда и социальной защиты Российской Федерации от 15 декабря 2020 г. N 903н.
230. Обучение и проверку знаний по вопросам промышленной безопасности рабочих основных профессий, участвующих в испытаниях, очистке и техническом диагностировании МТ, рекомендуется осуществлять в порядке, установленном федеральными органами исполнительной власти, осуществляющими деятельность по надзору, и действующими нормативными документами эксплуатирующей организации.
231. Всем работникам организаций, в том числе их руководителям, рекомендуется проходить обучение и проверку знаний в порядке, предусмотренном действующим законодательством в области промышленной безопасности и охраны труда.
232. Работников, принимающих непосредственное участие в испытаниях, очистке и техническом диагностировании на опасных производственных объектах, рекомендуется обеспечивать сертифицированными средствами индивидуальной защиты, а также индивидуальными газоанализаторами-сигнализаторами.
233. Не рекомендуется допускать персонал к объекту контроля без средств индивидуальной защиты: противогазов, респираторов, касок, рукавиц, предохранительных поясов, спецодежды и спецобуви. Персонал на время проведения работ, обеспечивается спецодеждой.
234. Бригады, выполняющие работы по испытанию, очистке и техническому диагностированию, рекомендуется оснастить средствами оказания первой помощи (не менее одной укомплектованной медицинской аптечки).
235. В бригаду, выполняющую работы по испытанию, очистке и техническому диагностированию в шурфах, рекомендуется включать не менее трех человек (один работающий в шурфе и два страхующих). Перед спуском и во время работ в шурфе проводится контроль воздушной среды. Контроль воздушной среды рекомендуется производить перед началом работ и в дальнейшем - каждый час в процессе работы. Лицам, осуществляющим контроль, рекомендуется проходить обучение работе с переносными газоанализаторами, способам отбора проб воздуха с выдачей соответствующего удостоверения. Для проведения анализа воздушной среды рекомендуется использовать газоанализаторы во взрывозащищенном исполнении, включенные в Федеральный информационный фонд по обеспечению единства измерений, имеющие сертификат соответствия требованиям
ТР ТС 012/2011 "Технический регламент Таможенного союза. О безопасности оборудования для работы во взрывоопасных средах", утвержденного решением Комиссии Таможенного союза от 18 октября 2011 г. N 825, и прошедшие государственную поверку.
236. Газоопасные работы в ходе испытания, очистки и технического диагностирования МТ рекомендуется проводить только после оформления наряда-допуска с указанием мер безопасности. Не рекомендуется одновременное нахождение в шурфе всех членов бригады и спуск в шурф без страховочного пояса и фала.
237. Шурфы рекомендуется ограждать и снабжать предупреждающими плакатами, надписями. Рекомендации к выполнению шурфов установлены в
приложении N 12 к Руководству.
238. Производство земляных работ по вскрытию трубопровода в ходе проведения испытаний, очистки и технического диагностирования рекомендуется проводить с оформлением наряда-допуска на газоопасные работы.
239. Инструмент, необходимый для работ в ходе проведения испытаний, очистки и технического диагностирования, укладывается не ближе 0,5 м от бровки шурфа. Не рекомендуется складировать материалы и инструмент на откос отвала земли со стороны шурфа.
240. Не рекомендуется производить разработку шурфа без откосов, при разработке шурфа глубиной до 1,5 м крутизну откосов рекомендуется обеспечить со значением не менее 1:0,25. При разработке шурфа глубиной 1,5 м и более крутизну откосов рекомендуется принимать согласно значениям, указанным в
таблице N 6 приложения N 3 к Руководству.
241. Во время работ по проведению испытаний, очистки и технического диагностирования в шурфе могут находиться только те лица, которые заняты выполнением конкретной работы в данное время. Если в процессе работы в стенках шурфа появятся трещины, грозящие обвалом, то работники покидают шурф и принимают меры против обрушения грунта (укрепление стенок, срезание грунта для увеличения откосов и др.).
242. Работы по техническому диагностированию рекомендуется прекращать при:
сигнале, извещающем об аварии;
внезапном появлении запаха сероводорода;
раздражении глаз или слизистой оболочки дыхательных путей;
появлении признаков отравления; ухудшении собственного самочувствия или обнаружении признаков недомогания у других работников.
Промышленная безопасность при производстве работ
по техническому диагностированию трубопроводов
243. Обеспечение надлежащего уровня промышленной безопасности при производстве работ по техническому диагностированию трубопроводов рекомендуется достигать путем:
выполнения работ на основании лицензий на проведение экспертизы промышленной безопасности, выданных органами, уполномоченными в области промышленной безопасности;
выполнения работ сертифицированным персоналом независимых лабораторий неразрушающего контроля с установленным уровнем квалификации этого персонала в соответствии с
постановлением Правительства Российской Федерации от 28 марта 2001 г. N 241 "О мерах по обеспечению промышленной безопасности опасных производственных объектов на территории Российской Федерации" и
ГОСТ Р ИСО 9712-2023 "Национальный стандарт Российской Федерации. Контроль неразрушающий. Квалификация и сертификация персонала неразрушающего контроля", утвержденным и введенным в действие
приказом Росстандарта от 22 сентября 2023 г. N 922-ст;
применения на опасных производственных объектах только сертифицированных технических устройств, приборов и оборудования, имеющих паспорт завода-изготовителя и сертификат соответствия требованиям технического регламента Таможенного союза;
соблюдения нормативных правовых актов Российской Федерации, ведомственных нормативных документов и применяемых при диагностировании методик;
осуществления в процессе технического диагностирования непрерывного контроля состояния безопасности трубопровода и своевременной выдачей прогноза по его изменению;
своевременного представления владельцу трубопровода необходимых компенсационных мероприятий по повышению уровня промышленной безопасности трубопровода.
244. Организацию и порядок безопасного ведения газоопасных, огневых и ремонтных работ (включая земляные работы) на опасных производственных объектах МТ, с целью предотвращения загазованности воздуха рабочей зоны горючими газами и газами токсического воздействия и образования взрывоопасных смесей газов, способных привести к взрывам, пожарам и вредным воздействиям на организм человека, рекомендуется осуществлять в соответствии с требованиями федеральных
норм и правил в области промышленной безопасности "Правила безопасного ведения газоопасных, огневых и ремонтных работ", утвержденных приказом Ростехнадзора от 15 декабря 2020 г. N 528, зарегистрированным Минюстом России 28 декабря 2020 г., регистрационный N 61847.
Рекомендации по безопасности в аварийных ситуациях
245. При возникновении аварии (аварийной утечки, аварийной ситуации) персоналу, участвующему в производстве работ по техническому диагностированию, рекомендуется:
прекратить работу при возникновении опасной ситуации;
покинуть место работы;
оказать первую медицинскую помощь пострадавшему;
сообщить в районный диспетчерский пункт районного нефтепроводного управления (далее - РДП РНУ).
Мероприятия по обеспечению безопасности производства работ
по внутритрубному диагностированию
246. Для производства работ по техническому диагностированию эксплуатирующей организации и исполнителю диагностирования рекомендуется издать приказы по своим организациям, в соответствии с которыми назначаются:
лицо, ответственное за организацию безопасного производства работ, - руководитель (главный инженер) структурного подразделения ЛПДС;
лицо, ответственное за соблюдение работниками исполнителя диагностирования требований правил и норм промышленной, пожарной безопасности и охраны труда на территории эксплуатирующей организации, - руководитель (главный инженер) исполнителя диагностирования;
специалисты ЛПДС, ответственные за выполнение подготовительных работ;
специалисты исполнителя диагностирования, ответственные за проведение работ по техническому диагностированию.
247. Допуск к работам персонала исполнителя технического диагностирования рекомендуется осуществлять в соответствии с НД эксплуатирующей организации после прохождения инструктажа.
248. До начала выполнения работ по техническому диагностированию трубопроводов следует разработать мероприятия, которые обеспечивают безопасность персонала, предотвращение случайных возгораний, взрывов, повреждений или разрушений.
249. Ответственность за организацию проведения работ по техническому диагностированию возлагается на эксплуатирующую организацию. До начала работ рекомендуется составлять акт готовности трубопровода к проведению технического диагностирования, который подписывается представителем эксплуатирующей организации, представителем организации, выполнявшей работы по подготовке трубопровода к техническому диагностированию, и представителем исполнителя диагностирования.
250. Линейные эксплуатационные службы организаций, эксплуатирующих участки трубопровода, привлекаемые к проведению работ по техническому диагностированию, рекомендуется аттестовать в соответствии с НД эксплуатирующей организации с целью проверки их оснащенности техническими средствами и оборудованием, укомплектованности кадрами в соответствии с выполняемыми функциями по техническому обслуживанию и текущему ремонту линейной части МТ, по охране труда и промышленной безопасности.
251. Персоналу организации, эксплуатирующему участок трубопровода и привлекаемому к проведению диагностических работ, рекомендуется пройти целевой инструктаж по охране труда и пожарной безопасности, ознакомиться с целями, задачами и особенностями предстоящих диагностических и других работ на участке трубопровода, а также с порядком действий и обязанностями при возможном возникновении нештатных и аварийных ситуаций во время проведения работ. Инструктаж рекомендуется оформить документально.
252. Организации, эксплуатирующей участок трубопровода, рекомендуется обеспечить безопасное выполнение работ по:
погрузке и разгрузке ОУ, ВИП и вспомогательных материалов/оборудования в цехе и на узлах пуска/приема СОД;
транспортировке ОУ, ВИП и вспомогательных материалов (оборудования) из цеха на камеру пуска СОД и доставку с камеры приема СОД обратно в цех;
пропуску ОУ и ВИП, включая запасовку, пуску, прохождению по участку трубопровода, сопровождению во время пропуска, приему в камеру и выемке из камеры.
Организации, эксплуатирующей участок трубопровода, в соответствии с действующими нормативно-правовыми актами в том числе в сфере промышленной безопасности рекомендуется контролировать:
соблюдение правил по охране труда при выполнении всех диагностических работ на трубопроводе;
поддержание установленных режимов перекачки;
все действия персонала своей организации по погрузке, разгрузке, и транспортировке ОУ, ВИП и вспомогательных материалов (оборудования) из цеха на камеру пуска и доставку с камеры приема обратно в цех, по запасовке, пуску, сопровождению ОУ и ВИП по трассе трубопровода и работе с оборудованием, устанавливаемым в маркерных пунктах во время его пропуска;
действия персонала при приеме и извлечении прибора из камеры приема СОД.
253. Контроль за персоналом, задействованном в вышеперечисленных работах, рекомендуется осуществлять ответственным представителем организации, эксплуатирующей участок трубопровода, назначенным приказом по организации.
254. Все работы, связанные с запасовкой, пуском, приемом и извлечением ВИП, рекомендуется производить работниками организации, эксплуатирующей участок трубопровода, под наблюдением специалистов исполнителя диагностирования. Запасовка и извлечение ОУ и ВИП производится с оформлением наряда-допуска на газоопасные работы.
255. При проведении диагностических работ не рекомендуется проведение на данном участке трубопровода других работ, не связанных непосредственно с пропуском ОУ и ВИП.
256. При выполнении операций приема ВИП, получивших повреждения в процессе пропуска (нарушение целостности корпуса или токоведущих кабелей), следует принимать специальные меры безопасности, обеспечивающие взрыво безопасность работ, в виде продувки камеры приема СОД инертным газом, анализа газовоздушной среды камеры газоанализатором. Указанные меры рекомендуется принимать при отсутствии звуковых сигналов, подаваемых ВИП при его приходе в камеру в нормальном состоянии (без повреждений). При возникновении аварийных ситуаций при проведении операций запасовки и выемки ВИП рекомендуется действовать согласно плану мероприятий по локализации и ликвидации последствий аварий.
257. Операции по запасовке, приему и извлечению прибора рекомендовано проводить с соблюдением требований безопасности при выполнении газоопасных работ. Персонал и технику, которые не задействованы в работах по запасовке или приему приборов, рекомендуется размещать вне зоны проведения работ.
258. При проведении операций запасовки и выемки ОУ и ВИП рекомендуется принять необходимые меры для предупреждения накапливания статического электричества на приборах и транспортно-запасовочных устройствах (выполнять заземление в соответствии с технологией проведения работ для каждого типа ВИП).
259. Персонал во время проведения работ на площадках КПП СОД рекомендуется обеспечивать специальной одеждой и средствами индивидуальной защиты.
260. При проведении операций по подъему ВИП рекомендуется соблюдать требования инструкций по безопасному ведению грузоподъемных работ.
261. Перед запасовкой ОУ и ВИП, имеющих металлические щетки, для предотвращения при запасовке искрообразования от трения щеток по поверхности камеры пуска начальную часть внутренней поверхности расширенной части камеры длиной не менее 200 мм рекомендуется смазать слоем смазки.
262. При проведении работ с магнитными ОУ и инспекционными приборами, которые создают сильное магнитное поле, рекомендуется соблюдать меры осторожности и не подходить к магнитам приборов ближе 4 м лицам, использующим кардиостимуляторы или аналогичные приборы.
263. В процессе пропуска ВИП не рекомендуется:
проведение на диагностируемом участке иных видов работ;
изменение режимов перекачки по причинам, не связанным с пропуском ВИП;
присутствие у КПП СОД посторонних лиц, непосредственно не участвующих в проведении работ.
Рекомендации по проведению гидравлических испытаний
при производстве работ по техническому
диагностированию трубопроводов
264. При проведении работ по гидравлическим испытаниям трубопроводов рекомендуется:
давление внутри трубопроводов создавать водой или жидкостями, согласно ППР;
для проведения испытания использовать источник воды с уровнем (несмотря на наличие фильтра) и объемом, обеспечивающими подачу чистой воды в трубопровод без механических примесей в достаточном объеме.
265. Если отсутствует возможность использования стационарных водоочистных сооружений для приема опрессовочной воды из трубопровода, после окончания испытаний для приема опрессовочной воды рекомендуется использовать имеющиеся земляные амбары, котлованы, построенные при сооружении трубопроводов и обновленные перед испытанием, или дополнительно сооруженные емкости.
Амбары, котлованы, в которые производится сброс опрессовочной воды, следует оборудовать противо фильтрационными покрытиями (вкладышами).
266. В земляных амбарах рекомендуется проводить отстой опрессовочной воды с целью отделения нефти (нефтепродуктов). Отстоявшуюся нефть (нефтепродукт) с поверхности воды в земляных амбарах собирают в передвижные емкости и доставляют на НПС, где осуществляется окончательное отделение нефти (нефтепродуктов) от воды на очистных сооружениях НПС.
267. При испытаниях трубопроводов в зимнее время водой с добавлением антифризов (метанола, этиленгликоля, диэтиленгликоля, хлористого кальция и др.) рекомендуется предусматривать методы для сбора, утилизации или ликвидации этих вредных веществ и предотвращения их попадания в водоемы.
268. Максимальную предельно допустимую концентрацию (далее - ПДК) антифризов в водах, сбрасываемых в водные объекты различного назначения после проведения гидроиспытаний, рекомендуется устанавливать не выше значений, указанных в
таблице N 7 приложения N 3 к Руководству.
к руководству по безопасности
"Рекомендации по техническому
диагностированию магистральных
нефтепроводов, нефтепродуктопроводов
и их составных частей", утвержденному
приказом Федеральной службы
по экологическому, технологическому
и атомному надзору
от 12 февраля 2025 г. N 40
ПЕРЕЧЕНЬ СОКРАЩЕНИЙ И ИХ РАСШИФРОВКА
ВЛ - воздушная линия электропередачи;
ВИК - визуальный и измерительный контроль;
ВИП - внутритрубный инспекционный прибор;
ВТД - внутритрубное диагностирование;
ДДК - дополнительный дефектоскопический контроль;
КИП ЭХЗ - контрольно-измерительный пункт электрохимической защиты;
КПП СОД - камера пуска/приема средств очистки и диагностирования;
ЛПДС - линейная производственно-диспетчерская станция;
МК - магнитопорошковый контроль;
ММПМ - метод магнитной памяти металла;
ММК - магнитометрический контроль;
МТ - магистральный трубопровод;
НК - неразрушающий контроль;
НД - нормативный документ;
ННБ - наклонно-направленное бурение;
НПС - нефтеперекачивающая (нефтепродуктоперекачивающая) станция;
ОУ - очистное устройство;
ОТ - охрана труда;
ОТС - оценка технического состояния;
ПВП - планово-высотное положение;
ПВК - контроль проникающими веществами;
ПДК - предельно допустимая концентрация;
ПДС - передатчик для скребка;
ПК - пикет;
ПКМ - полимерный композиционный материал;
ПМТ - переход магистрального трубопровода;
ПНУ - передвижная насосная установка;
ППМТ - подводный переход магистрального трубопровода;
ППР - проект производства работ;
ППРР - профиль предельного размыва русла;
РДП - районный диспетчерский пункт;
РНУ - районное нефтепроводное управление;
СОД - средство очистки и диагностирования;
СОП - стандартный образец предприятия;
ТЗУ - транспортно-запасовочное устройство;
ТПиР и КР - техническое перевооружение, реконструкция и капитальный ремонт;
ТУ - технические условия;
УДЗ - установка дренажной защиты;
УЗД - ультразвуковое диагностирование;
УЗК - ультразвуковой контроль;
УКЗ - установка катодной защиты;
УКО - устройство контроля очистки;
УПЗ - установка протекторной защиты;
УТ - ультразвуковая толщинометрия;
ЭО - эксплуатирующая организация;
ЭХЗ - электрохимическая защита;
CD - метод ультразвуковой диагностики, предназначенный для обнаружения и измерения трещин в стенке трубы и в продольных сварных швах;
DN - номинальный диаметр;
MFL - метод магнитной диагностики, основанный на принципе регистрации утечки магнитного потока;
WM - метод ультразвуковой диагностики, предназначенный для измерения толщины стенки.
к руководству по безопасности
"Рекомендации по техническому
диагностированию магистральных
нефтепроводов, нефтепродуктопроводов
и их составных частей", утвержденному
приказом Федеральной службы
по экологическому, технологическому
и атомному надзору
от 12 февраля 2025 г. N 40
В Руководстве применены следующие термины с соответствующими определениями:
Анодное заземление - устройство, обеспечивающее стекание защитного тока в землю (
пункт 6.2.1 ГОСТ Р 58344-2019 "Национальный стандарт Российской Федерации. Заземлители и заземляющие устройства различного назначения. Общие технические требования к анодным заземлениям установок электрохимической защиты от коррозии", утвержденного и введенного в действие
приказом Росстандарта от 29 января 2019 г. N 10-ст).
Визуальный и измерительный контроль - метод неразрушающего контроля, при котором первичная информация воспринимается органами зрения непосредственно или с использованием оптических приборов, не являющихся контрольно-измерительными, а измерения осуществляются средствами измерений геометрических величин.
Примечание. Визуальный контроль - органолептический контроль, осуществляемый органами зрения (
пункт 114 ГОСТ 16504-81 "Межгосударственный стандарт. Система государственных испытаний продукции. Испытания и контроль качества продукции. Основные термины и определения", введенного в действие постановлением Госстандарта СССР от 8 декабря 1981 г. N 5297). Измерительный контроль - контроль, осуществляемый с применением средств измерений (
пункт 111 ГОСТ 16504-81 "Межгосударственный стандарт. Система государственных испытаний продукции. Испытания и контроль качества продукции. Основные термины и определения", введенного в действие постановлением Госстандарта СССР от 8 декабря 1981 г. N 5297). Органолептический контроль - контроль, при котором первичная информация воспринимается органами чувств (
пункт 113 ГОСТ 16504-81 "Межгосударственный стандарт. Система государственных испытаний продукции. Испытания и контроль качества продукции. Основные термины и определения", введенного в действие постановлением Госстандарта СССР от 8 декабря 1981 г. N 5297).
Внутритрубное диагностирование трубопровода - вид технического диагностирования с использованием внутритрубных инспекционных приборов, обеспечивающих получение информации об особенностях трубопровода, наличии, характера и местоположения дефектов основного металла и сварных швов труб (
пункт 3.4 ГОСТ 34181-2017 "Межгосударственный стандарт. Магистральный трубопроводный транспорт нефти и нефтепродуктов. Техническое диагностирование. Основные положения", введенного в действие
приказом Росстандарта от 4 июля 2017 г. N 633-ст).
Внутритрубный инспекционный прибор - устройство, перемещаемое внутри трубопровода потоком среды, снабженное средствами контроля и регистрации информации об особенностях трубопровода, наличии, местоположении и характере дефектов основного металла и сварных швов труб (
пункт 3.5 ГОСТ 34181-2017 "Межгосударственный стандарт. Магистральный трубопроводный транспорт нефти и нефтепродуктов. Техническое диагностирование. Основные положения", введенного в действие
приказом Росстандарта от 4 июля 2017 г. N 633-ст).
Вспомогательный технологический трубопровод - технологический трубопровод, не участвующий в технологических режимах работы магистрального трубопровода (
пункт 41 раздела 3 ГОСТ Р 57512-2017 "Национальный стандарт Российской Федерации. Магистральный трубопроводный транспорт нефти и нефтепродуктов. Термины и определения", утвержденного и введенного в действие
приказом Росстандарта от 29 июня 2017 г. N 600-ст).
Дефект участка трубопровода - потенциально опасное отклонение геометрического или конструктивного параметра, толщины стенки или показателя качества металла трубы, соединительной детали или сварного шва от требований, установленных в действующих документах по стандартизации и/или технических документах (
пункт 149 раздела 3 ГОСТ Р 57512-2017 "Национальный стандарт Российской Федерации. Магистральный трубопроводный транспорт нефти и нефтепродуктов. Термины и определения", утвержденного и введенного в действие
приказом Росстандарта от 29 июня 2017 г. N 600-ст).
Дефект геометрии трубопровода - дефект, вызывающий изменение проходного сечения трубы вследствие изменения ее формы в поперечном сечении (
пункт 3.6 ГОСТ 34181-2017 "Межгосударственный стандарт. Магистральный трубопроводный транспорт нефти и нефтепродуктов. Техническое диагностирование. Основные положения", введенного в действие
приказом Росстандарта от 4 июля 2017 г. N 633-ст).
Дефект - дефектность или несплошность, которая может быть обнаружена методами неразрушающего контроля и которая необязательно является недопустимой (
пункт 2.11 ГОСТ Р 53697-2009 "Национальный стандарт Российской Федерации. Контроль неразрушающий. Основные термины и определения", утвержденного и введенного в действие
приказом Ростехрегулирования от 15 декабря 2009 г. N 1101-ст).
Дефектный участок трубопровода - участок трубопровода, содержащий одно и более отклонений геометрического параметра, толщины стенки или показателя качества материала трубы, соединительной детали или сварного шва (
пункт 3.9 ГОСТ 34182-2017 "Межгосударственный стандарт. Магистральный трубопроводный транспорт нефти и нефтепродуктов. Эксплуатация и техническое обслуживание. Основные положения", введенного в действие
приказом Росстандарта от 4 июля 2017 г. N 634-ст).
Дополнительный дефектоскопический контроль - контроль, проводимый с целью уточнения параметров дефектов участка нефтепровода или нефтепродуктопровода после выполнения внутритрубного диагностирования или электрометрического диагностирования (
пункт 3.8 ГОСТ 34181-2017 "Межгосударственный стандарт. Магистральный трубопроводный транспорт нефти и нефтепродуктов. Техническое диагностирование. Основные положения", введенного в действие
приказом Росстандарта от 4 июля 2017 г. N 633-ст).
Запасовка - комплекс работ, проводимых на площадке узла пуска средств очистки и диагностирования с целью размещения средств очистки и диагностирования в камере пуска (
пункт 3.9 ГОСТ 34181-2017 "Межгосударственный стандарт. Магистральный трубопроводный транспорт нефти и нефтепродуктов. Техническое диагностирование. Основные положения", введенного в действие
приказом Росстандарта от 4 июля 2017 г. N 633-ст).
Интерпретация результатов - расшифровка информации, полученной в электронном виде по результатам пропуска по трубопроводу внутритрубного инспекционного прибора, регистрация дефектов, особенностей, соединительных деталей и сварных швов трубопровода с указанием их параметров и местоположения на трубопроводе (
пункт 3.11 ГОСТ 34181-2017 "Межгосударственный стандарт. Магистральный трубопроводный транспорт нефти и нефтепродуктов. Техническое диагностирование. Основные положения", введенного в действие
приказом Росстандарта от 4 июля 2017 г. N 633-ст).
Исполнитель диагностирования - подрядная организация, прошедшая экспертизу организационно-технической готовности к проведению диагностических работ и принявшая на себя, согласно договору, обязательства по проведению работ по техническому диагностированию на объекте (
пункт 3.12 ГОСТ 34181-2017 "Межгосударственный стандарт. Магистральный трубопроводный транспорт нефти и нефтепродуктов. Техническое диагностирование. Основные положения", введенного в действие
приказом Росстандарта от 4 июля 2017 г. N 633-ст).
Камера приема средств очистки и диагностирования - техническое устройство, обеспечивающее прием внутритрубных очистных, диагностических, разделительных и герметизирующих устройств в потоке перекачиваемого продукта из магистрального трубопровода (
пункт 146 раздела 3 ГОСТ Р 57512-2017 "Национальный стандарт Российской Федерации. Магистральный трубопроводный транспорт нефти и нефтепродуктов. Термины и определения", утвержденного и введенного в действие
приказом Росстандарта от 29 июня 2017 г. N 600-ст).
Камера пуска средств очистки и диагностирования - техническое устройство, обеспечивающее пуск внутритрубных очистных, диагностических и разделительных устройств в потоке перекачиваемого продукта в магистральный трубопровод (
пункт 147 раздела 3 ГОСТ Р 57512-2017 "Национальный стандарт Российской Федерации. Магистральный трубопроводный транспорт нефти и нефтепродуктов. Термины и определения", утвержденного и введенного в действие
приказом Росстандарта от 29 июня 2017 г. N 600-ст).
Капиллярный контроль - метод неразрушающего контроля, основополагающим принципом которого является проникновение специальных жидкостей в несплошности на поверхности объекта контроля с целью их обнаружения (
пункт 3.6 ГОСТ Р 50.05.09-2018 "Национальный стандарт Российской Федерации. Система оценки соответствия в области использования атомной энергии. Оценка соответствия в форме контроля. Унифицированные методики. Капиллярный контроль", утвержденного и введенного в действие
приказом Росстандарта от 28 декабря 2018 г. N 1175-ст).
Линейная часть магистрального трубопровода - объект магистрального трубопровода, предназначенный для перемещения транспортируемых жидких или газообразных углеводородов, включающий в себя собственно трубопровод, вдольтрассовые линии электропередачи, кабельные линии и сооружения связи, устройства электрохимической защиты от коррозии и иные сооружения и технические устройства, обеспечивающие его эксплуатацию (
абзац 9 пункта 5 технического регламента Евразийского экономического союза "О требованиях к магистральным трубопроводам для транспортирования жидких и газообразных углеводородов. (ТР ЕАЭС 049/2020)", принятого Решением Совета Евразийской экономической комиссии от 23 декабря 2020 г. N 121).
Магистральный трубопровод - единый производственно-технологический комплекс, предназначенный для транспортирования жидких или газообразных углеводородов от пунктов приема до пунктов сдачи потребителям или перевалки жидких углеводородов на автомобильный, железнодорожный или водный транспорт, состоящий из конструктивно и технологически взаимосвязанных объектов, включая сооружения и здания, используемые для целей обслуживания и управления объектами магистрального трубопровода (
абзац 10 пункта 5 технического регламента Евразийского экономического союза "О требованиях к магистральным трубопроводам для транспортирования жидких и газообразных углеводородов (ТР ЕАЭС 049/2020)", принятого Решением Совета Евразийской экономической комиссии от 23 декабря 2020 г. N 121).
Магнитопорошковый контроль (магнитопорошковый метод контроля) - метод неразрушающего контроля, основанный на регистрации магнитных полей рассеяния над дефектами с использованием в качестве индикатора ферромагнитного порошка или магнитной суспензии (
пункт 3.16 ГОСТ Р 56512-2015 "Национальный стандарт Российской Федерации. Контроль неразрушающий. Магнитопорошковый метод. Типовые технологические процессы", утвержденного и введенного в действие
приказом Росстандарта от 6 июля 2015 г. N 875-ст).
Маркерный пункт - заранее выбранная точка на поверхности земли над осью трубопровода в месте установления маркерного передатчика, предназначенного для точной привязки к местности данных внутритрубного диагностирования (
пункт 3.20 ГОСТ 34181-2017 "Межгосударственный стандарт. Магистральный трубопроводный транспорт нефти и нефтепродуктов. Техническое диагностирование. Основные положения", введенного в действие
приказом Росстандарта от 4 июля 2017 г. N 633-ст).
Наружное диагностирование трубопровода - техническое диагностирование, проводимое с наружной поверхности трубопровода без введения оборудования в полость трубопровода (
пункт 3.21 ГОСТ 34181-2017 "Межгосударственный стандарт. Магистральный трубопроводный транспорт нефти и нефтепродуктов. Техническое диагностирование. Основные положения", введенного в действие
приказом Росстандарта от 4 июля 2017 г. N 633-ст).
Неразрушающий контроль - область науки и техники, охватывающая исследования физических принципов, разработку, совершенствование и применение методов, средств и технологий технического контроля объектов, не разрушающего и не ухудшающего их пригодность к эксплуатации (
пункт 2.20 ГОСТ Р 53697-2009 "Национальный стандарт Российской Федерации. Контроль неразрушающий. Основные термины и определения", утвержденного и введенного в действие
приказом Ростехрегулирования от 15 декабря 2009 г. N 1101-ст).
В ходе каждого из видов неразрушающего контроля определяется соответствие параметров технических устройств, материалов, изделий, деталей, узлов, сварных соединений требованиям нормативных документов, при котором не нарушается пригодность объекта контроля к применению и эксплуатации.
Остаточный ресурс трубопровода - наработка трубопровода с момента текущего диагностирования до перехода в предельное состояние (
пункт 3.5 ГОСТ Р 55046-2012 "Национальный стандарт Российской Федерации. Техническая диагностика. Оценка остаточного ресурса длительно эксплуатируемых стальных трубопроводов на основе результатов механических испытаний образцов. Общие требования", утвержденного и введенного в действие
приказом Росстандарта от 8 ноября 2012 г. N 700-ст).
Очистное устройство (трубопровода) - внутритрубное устройство, предназначенное для проведения очистки внутренней полости и стенок трубопровода от парафина и асфальтосмолопарафиновых отложений, посторонних предметов, механических примесей (
пункт 3.23 ГОСТ 34181-2017 "Межгосударственный стандарт. Магистральный трубопроводный транспорт нефти и нефтепродуктов. Техническое диагностирование. Основные положения", введенного в действие
приказом Росстандарта от 4 июля 2017 г. N 633-ст).
Подводный переход магистрального трубопровода - участок магистрального трубопровода, проложенный с заглублением в дно пересекаемой водной преграды шириной по зеркалу воды в межень 10 м и более и глубиной 1,5 м и более, или шириной по зеркалу воды в межень 25 м и более независимо от глубины (
пункт 33 раздела 3 ГОСТ Р 57512-2017 "Национальный стандарт Российской Федерации. Магистральный трубопроводный транспорт нефти и нефтепродуктов. Термины и определения", утвержденного и введенного в действие
приказом Росстандарта от 29 июня 2017 г. N 600-ст).
Переход магистрального трубопровода через малый водоток (водоем) - участок магистрального трубопровода, проложенный через малый водоток (водоем) шириной по зеркалу воды в межень менее 25 м и глубиной менее 1,5 м или шириной по зеркалу воды в межень менее 10 м независимо от глубины, за исключением временных водотоков и водоемов (
пункт 34 раздела 3 ГОСТ Р 57512-2017 "Национальный стандарт Российской Федерации. Магистральный трубопроводный транспорт нефти и нефтепродуктов. Термины и определения", утвержденного и введенного в действие
приказом Росстандарта от 29 июня 2017 г. N 600-ст).
Поляризационный потенциал - потенциал металлического сооружения при его катодной защите без омической составляющей, (
пункт 47 ГОСТ 9.108-2023 "Межгосударственный стандарт. Единая система защиты от коррозии и старения. Электрохимическая защита. Термины и определения", принятого Межгосударственным советом по стандартизации, метрологии и сертификации, протокол от 17 ноября 2023 г. N 167-П). Является истинным электрохимическим потенциалом трубопровода (или другого защищаемого от коррозии объекта) относительно окружающей среды.
Примечание. Измерение поляризационного потенциала производится по
ГОСТ 9.602-2016 "Межгосударственный стандарт. Единая система защиты от коррозии и старения. Сооружения подземные. Общие требования к защите от коррозии", введенного в действие
приказом Росстандарта от 7 октября 2016 г. N 1327-ст).
Предельное состояние участка трубопровода - состояние участка трубопровода, при котором его дальнейшая эксплуатация недопустима (
пункт 3.4 ГОСТ Р 55046-2012 "Национальный стандарт Российской Федерации. Техническая диагностика. Оценка остаточного ресурса длительно эксплуатируемых стальных трубопроводов на основе результатов механических испытаний образцов. Общие требования", утвержденного и введенного в действие
приказом Росстандарта от 8 ноября 2012 г. N 700-ст).
Секущие задвижки - задвижки, предназначенные для технологического разделения систем, таких как технологические узлы, перекачивающие станции, линейная часть магистрального нефтепровода или нефтепродуктопровода, соединенных трубопроводами (
пункт 3.26. ГОСТ 34181-2017 "Межгосударственный стандарт. Магистральный трубопроводный транспорт нефти и нефтепродуктов. Техническое диагностирование. Основные положения", введенного в действие
приказом Росстандарта от 4 июля 2017 г. N 633-ст).
Система электрохимической защиты (ЭХЗ) - комплекс средств электрохимической защиты, предусмотренный в составе защищаемого сооружения и предназначенный для снижения уровня коррозионных рисков.
Примечание. Как правило, в систему ЭХЗ входят установки катодной и протекторной защиты, установки дренажной защиты, вставки (муфты электроизолирующие, устройства защиты от наведенных токов, система и средства коррозионного мониторинга (
пункт 3 ГОСТ 9.108-2023 "Межгосударственный стандарт. Единая система защиты от коррозии и старения. Электрохимическая защита. Термины и определения", принятого Межгосударственным советом по стандартизации, метрологии и сертификации, протокол от 17 ноября 2023 г. N 167-П).
Техническое диагностирование - комплекс работ по определению технического состояния объекта диагностирования (
абзац 24 пункта 5 раздела II технического регламента Евразийского экономического союза "О требованиях к магистральным трубопроводам для транспортирования жидких и газообразных углеводородов (ТР ЕАЭС 049/2020)", принятого Решением Совета Евразийской экономической комиссии от 23 декабря 2020 г. N 121).
Техническое освидетельствование - комплекс работ, включающий техническое диагностирование, определение возможности продления срока безопасной эксплуатации, назначение срока безопасной эксплуатации и оформление итогового заключения о продлении срока безопасной эксплуатации технического устройства/оборудования/сооружения (
пункт 151 ГОСТ Р 57512-2017 "Национальный стандарт Российской Федерации. Магистральный трубопроводный транспорт нефти и нефтепродуктов. Термины и определения", утвержденного и введенного в действие
приказом Росстандарта от 29 июня 2017 г. N 600-ст).
Технологический трубопровод - трубопровод для нефти и нефтепродуктов, входящий в состав площадочного объекта магистрального трубопровода.
Примечание. К технологическим нефтепроводам относятся:
трубопроводы между точками врезки в линейную часть магистрального трубопровода на входе и выходе площадочного объекта, включая трубопроводную арматуру;
трубопроводы резервуарных парков, включая обвязку резервуаров;
трубопроводы сброса давления от предохранительных клапанов, системы сглаживания волн давления, обвязки емкостей сброса ударной волны, откачки из емкостей сбора утечек;
трубопроводы сливо-наливных эстакад;
трубопроводы опорожнения стендеров морских терминалов, установок для рекуперации паров нефти;
трубопроводы дренажа и утечек от насосных агрегатов, дренажа фильтров-грязеуловителей, регуляторов давления, узлов учета нефти и нефтепродуктов (
пункт 39 ГОСТ Р 57512-2017 "Национальный стандарт Российской Федерации. Магистральный трубопроводный транспорт нефти и нефтепродуктов. Термины и определения", утвержденного и введенного в действие
приказом Росстандарта от 29 июня 2017 г. N 600-ст).
Узел пуска средств очистки и диагностирования - производственная площадка с комплексом взаимосвязанного оборудования, предназначенного для проведения технологических операций по запасовке и пуску внутритрубных очистных, диагностических и разделительных устройств в потоке перекачиваемого продукта в магистральном нефтепроводе или нефтепродуктопроводе (
пункт 3.33 ГОСТ 34181-2017 "Межгосударственный стандарт. Магистральный трубопроводный транспорт нефти и нефтепродуктов. Техническое диагностирование. Основные положения", введенного в действие
приказом Росстандарта от 4 июля 2017 г. N 633-ст).
Узел приема средств очистки и диагностирования - производственная площадка, входящая в состав магистрального нефтепровода или нефтепродуктопровода и оснащенная комплексом оборудования, предназначенного для проведения технологических операций по приему внутритрубных устройств по очистке, диагностике, разделительных и герметизирующих устройств, находящихся в потоке перекачиваемых жидких продуктов из линейной части магистральных нефтепроводов или нефтепродуктопроводов (
пункт 3.33 ГОСТ 34181-2017 "Межгосударственный стандарт. Магистральный трубопроводный транспорт нефти и нефтепродуктов. Техническое диагностирование. Основные положения", введенного в действие
приказом Росстандарта от 4 июля 2017 г. N 633-ст).
Узел пропуска средств очистки и диагностирования - производственная площадка с комплексом взаимосвязанного оборудования, предназначенного для проведения технологических операций по пропуску внутритрубных очистных, диагностических, разделительных и герметизирующих устройств, минуя перекачивающую станцию магистрального нефтепровода или нефтепродуктопровода (
пункт 3.32 ГОСТ 34181-2017 "Межгосударственный стандарт. Магистральный трубопроводный транспорт нефти и нефтепродуктов. Техническое диагностирование. Основные положения", введенного в действие
приказом Росстандарта от 4 июля 2017 г. N 633-ст).
Ультразвуковой контроль качества - метод неразрушающего контроля качества, использующий для обнаружения дефектов упругие волны ультразвукового диапазона, вводимые в изделие, сварной шов извне и отражающиеся от дефектов или рассеивающиеся на них (
пункт 3.34 ГОСТ 34181-2017 "Межгосударственный стандарт. Магистральный трубопроводный транспорт нефти и нефтепродуктов. Техническое диагностирование. Основные положения", введенного в действие
приказом Росстандарта от 4 июля 2017 г. N 633-ст).
Установка дренажной защиты - комплекс устройств, состоящий из электрического дренажа, дренажной линии и контрольно-измерительных пунктов, обеспечивающий отвод (дренаж) токов из трубопровода в землю или к источнику блуждающих токов (
пункт 3.6 Свода правил СП 424.1325800.2019 "Трубопроводы магистральные и промысловые для нефти и газа. Производство работ по противокоррозионной защите средствами электрохимзащиты и контроль выполнения работ", утвержденного и введенного в действие
приказом Минстроя России от 31 января 2019 г. N 69/пр).
Установка катодной защиты - комплекс устройств, состоящий из источника электроснабжения, станции катодной защиты, дренажной линии, анодного заземления и контрольно-измерительного пункта (
пункт 3.7 Свода правил СП 424.1325800.2019 "Трубопроводы магистральные и промысловые для нефти и газа. Производство работ по противокоррозионной защите средствами электрохимзащиты и контроль выполнения работ", утвержденного и введенного в действие
приказом Минстроя России от 31 января 2019 г. N 69/пр).
Эксплуатирующая организация - юридическое лицо, действующее в порядке, установленном соответствующими законодательными и/или нормативными правовыми актами Российской Федерации, обеспеченное персоналом и техническими средствами, необходимыми для технологического управления, обслуживания и поддержания в безопасном состоянии магистрального трубопровода, которое осуществляет эксплуатацию магистрального трубопровода на праве собственности или на ином законном основании (
пункт 11 ГОСТ Р 57512-2017 "Национальный стандарт Российской Федерации. Магистральный трубопроводный транспорт нефти и нефтепродуктов. Термины и определения", утвержденного и введенного в действие
приказом Росстандарта от 29 июня 2017 г. N 600-ст).
Электрометрическое диагностирование (электрометрия) - вид технического диагностирования, обеспечивающий получение информации о техническом состоянии трубопровода путем измерения и регистрации электрических параметров, напрямую или косвенно характеризующих состояние противокоррозионной защиты металла трубопровода и уровень его защищенности, а также характеризующий степень коррозионной опасности среды, окружающей трубопровод (
пункт 3.36 ГОСТ 34181-2017 "Межгосударственный стандарт. Магистральный трубопроводный транспорт нефти и нефтепродуктов. Техническое диагностирование. Основные положения", введенного в действие
приказом Росстандарта от 4 июля 2017 г. N 633-ст).
Электрохимическая защита - защита металла от коррозии, осуществляемая поляризацией от внешнего источника тока или путем соединения с металлом (протектором), имеющим более отрицательный или более положительный потенциал, чем у защищаемого металла (
пункт 98 ГОСТ 9.106-2021 "Межгосударственный стандарт. Единая система защиты от коррозии и старения. Коррозия металлов. Термины и определения", введенного в действие
приказом Росстандарта от 9 ноября 2021 г. N 1447-ст).
к руководству по безопасности
"Рекомендации по техническому
диагностированию магистральных
нефтепроводов, нефтепродуктопроводов
и их составных частей", утвержденному
приказом Федеральной службы
по экологическому, технологическому
и атомному надзору
от 12 февраля 2025 г. N 40
РИСУНКИ И ТАБЛИЦЫ
А - патрубок подвода продукта;
Г - патрубки для сброса воздуха;
Ж - патрубок для установки запасовочного устройства;
К - патрубок для установки манометра;
М - патрубки для присоединения дренажных трубопроводов;
Н - датчик контроля герметичности
Рисунок 1. Схема временной камеры пуска СОД
Б - патрубки отвода продукта;
Г - патрубок для сброса воздуха;
К - патрубок до установки манометра;
Л - сигнализатор прохождения СОД;
М - патрубки для присоединения дренажных трубопроводов;
Н - датчик контроля герметичности
Рисунок 2. Схема временной камеры приема СОД
Количество бригад сопровождения в зависимости
от протяженности участка МТ
Протяженность участка, км | До 2 | От 2 до 12 | От 12 до 24 | От 24 до 40 | От 40 до 110 |
Количество бригад сопровождения | 1 | 2 | 3 | 4 | 5 |
Количество бригад сопровождения в зависимости
от протяженности участка МТ при пропуске профилемера
Протяженность участка, км | До 2 | От 2 до 12 | От 12 до 24 | От 24 до 40 | От 40 до 110 |
Количество бригад сопровождения | 1 | 2 | 3 | 4 | 5 |
Значения сопротивления изоляции
Тип покрытия | Нормативное сопротивление изоляции, Ом x м2 |
Трех- и двухслойное полимерное покрытие усиленного типа на основе термореактивных смол и полиолефина; покрытие усиленного типа на основе термоусаживающихся материалов | 3-105 |
Все остальные покрытия усиленного типа, кроме мастичных и полимерно-битумных | 105 |
Мастичные и полимерно-битумные покрытия усиленного типа и все покрытия нормального типа | 5-104 |
Рисунок 3. Рекомендуемая схема установки маркерных пунктов
на ПМТ через водные преграды
Рисунок 4. Рекомендуемая схема установки маркерных пунктов
на переходе МТ через железную дорогу
Методы и объемы работ при проведении технического
диагностирования КПП СОД
Элемент КПП СОД | Техническое диагностирование |
Метод НК | Объем работ |
Основной металл корпусов, эксцентрического или конического перехода, патрубков | ВИК | 100% с внешней стороны, контроль видимой части внутренней стороны |
ММПМ | 100% |
Измерение твердости | В зонах в соответствии со схемой мест обследования, по результатам ВИК, ММПМ |
УТ | В зонах в соответствии со схемой мест обследования, по результатам ВИК, ММПМ |
Элемент КПП СОД | Техническое диагностирование |
Метод НК | Объем работ |
УК | В зонах по результатам ВИК, ММПМ |
ПВК или МК | В зонах по результатам ВИК, ММПМ, УЗК |
Затвор камеры | ВИК | 100% с внутренней и внешней стороны |
Измерение твердости | В зонах в соответствии со схемой мест обследования, по результатам ВИК |
КПП СОД (в целом) | Геодезические измерения | В соответствии со схемой мест обследования |
Сварные соединения корпусов, эксцентрического или конического перехода, патрубков камеры | ВИК | 100% |
ММПМ | 100% |
УЗК | 100% контролепригодных сварных соединений обечаек, сварных соединений приварки патрубков диаметром DN 100 и более |
ПВК или МК | В зонах по результатам ВИК, ММПМ, УЗК |
Сварные соединения патрубков диаметром менее DN 100 с корпусом | ВИК | 100% |
ПВК | 100% |
Состояние опор и сварных соединений опор с корпусом | ВИК | 100% |
ПВК | В зонах по результатам ВИК |
Состояние фундамента и крепления опор к фундаменту | ВИК | 100% |
Фланцевые соединения, крепежные детали | ВИК | 100% |
Методы и объемы работ при проведении технического
диагностирования емкостей сбора нефти (нефтепродуктов)
Элемент безнапорной емкости | Техническое диагностирование при эксплуатации |
Метод НК | Объем работ |
Надземные безнапорные емкости (без теплоизоляции) <*> |
Основной металл корпуса (обечаек, днищ), патрубков, крышки горловин | ВИК | 100% с внешней стороны |
Ультразвуковая толщинометрия | В зонах в соответствии со схемой мест обследования по результатам ВИК |
УЗК | В зонах по результатам ВИК |
ПВК или МК | В зонах по результатам ВИК, УЗК |
Сварные соединения корпуса (обечаек, днищ). Сварные соединения патрубков (DN 100 и более) и горловин с корпусом | ВИК | 100% с внешней стороны |
УЗК | Не менее 50% длины всех заводских и монтажных сварных соединений обечаек с внешней стороны; 100% приварки патрубков диаметром DN 100 и более с внешней стороны |
ПВК или ММК | В зонах по результатам ВИК, УЗК |
Сварные соединения патрубков менее DN 100 с корпусом | ВИК | 100% с внешней стороны |
ПВК | 100% с внешней стороны |
Сварные соединения опор с корпусом | ВИК | 100% с внешней стороны |
ПВК | В зонах по результатам ВИК |
Состояние опор и их крепление к фундаменту | ВИК | 100% с внешней стороны |
ПВК | В зонах по результатам ВИК |
Состояние фундамента | ВИК | 100% с внешней стороны |
Подземные безнапорные емкости, надземные безнапорные емкости (с теплоизоляцией) |
Основной металл корпуса (обечаек, днищ), патрубков, крышки горловин | ВИК | Контроль в доступной зоне <*> |
Ультразвуковая толщинометрия | В зонах в соответствии со схемой мест обследования по результатам ВИК |
УЗК | В зонах по результатам ВИК |
ПВК или магнитопорошковый контроль | В зонах по результатам ВИК, УЗК |
Безнапорная емкость (в целом) | Геодезические измерения | В соответствии со схемой мест обследования |
Сварные соединения корпуса (обечаек, днищ). Сварные соединения патрубков (DN 100 и более) и горловин с корпусом | ВИК | Контроль в доступной зоне <*> |
УЗК | 50% длины заводских и монтажных сварных соединений обечаек в доступной зоне <**>; 100% приварки патрубков DN 100 и более в доступной зоне <**> |
ПВК или магнитопорошковый контроль | В зонах по результатам ВИК, УЗК |
Сварные соединения патрубков менее DN 100 с корпусом | ВИК | Контроль в доступной зоне <**> |
ПВК | Контроль в доступной зоне <**> |
Крепление емкости к фундаменту (хомуты, закладные) | ВИК | Контроль в доступной зоне <**> |
ПВК | В зонах по результатам ВИК |
Состояние фундамента | ВИК | Контроль в доступной зоне <**> |
Фланцевые соединения, крепежные детали (для всех типов емкостей) | ВИК | Контроль видимой части |
<*> В том числе техническое диагностирование при проведении ремонтов надземных безнапорных емкостей с заменой теплоизоляции. |
<**> В местах вскрытия емкости на усмотрение заказчика. |
Допустимая крутизна откосов шурфа
Вид грунта | Глубина траншеи, котлована, м |
До 1,5 | От 1,5 до 3,0 | От 3,0 до 5,0 |
Угол откоса | Уклон | Угол откоса | Уклон | Угол откоса | Уклон |
Насыпной | 56° | 1:0,67 | 45° | 1:1,00 | 38° | 1:1,25 |
Песчаные и гравийные | 63° | 1:0,50 | 45° | 1:1,00 | 45° | 1:1,00 |
Супесь | 76° | 1:0,25 | 56° | 1:0,67 | 50° | 1:0,85 |
Суглинок | 76° | 1:0,25 | 63° | 1:0,50 | 53° | 1:0,75 |
Глина | 76° | 1:0,25 | 76° | 1:0,25 | 63° | 1:0,50 |
Лессовидный сухой | 76° | 1:0,25 | 63° | 1:0,50 | 63° | 1:0,50 |
ПДК антифризов, применяемых для гидравлических испытаний
Вид загрязнителя | Водоемы, используемые для рыбохозяйственных целей | Водный объект хозяйственно-питьевого и культурно-бытового пользования |
Метанол, мг/л | 0,10 | 3,0 |
Этиленгликоль, мг/л | 0,25 | 1,0 |
Диэтиленгликоль, мг/л | 0,25 | 1,0 |
Хлористый кальций, мг/л | От 2,0 до 3,0 | - |
к руководству по безопасности
"Рекомендации по техническому
диагностированию магистральных
нефтепроводов, нефтепродуктопроводов
и их составных частей", утвержденному
приказом Федеральной службы
по экологическому, технологическому
и атомному надзору
от 12 февраля 2025 г. N 40
РЕКОМЕНДУЕМЫЕ ФОРМЫ АКТОВ
ПРИ ПРОВЕДЕНИИ ТЕХНИЧЕСКОГО ДИАГНОСТИРОВАНИЯ ТРУБОПРОВОДА
1. Рекомендуемая форма акта на очистку полости трубопровода
Акт N ________ на очистку полости трубопровода
от "__" _________ 20__ г.
Мы, нижеподписавшиеся представители Заказчика, Подрядчика и Органа
строительного контроля, составили настоящий акт о том, что
"__" ____________ ____ г. произведена _____________ кратная очистка полости
трубопровода, диаметром _______ мм на участке от км/ПК __________ до км/ПК
_________ общей протяженностью _______ м.
проектной документации, специальной инструкции, согласованной и
утвержденной "__" ______________ 20__ г. в установленном порядке
способом __________________________________________________________________
промывки, вытеснения загрязнения в потоке жидкости, вид рабочей среды -
вода с пропуском _________________________________ в количестве _______ шт.
указать тип очистного устройства
Дата и время запуска каждого ОУ "__" _________ 20__ г. ____ ч ____ мин.
Дата и время приема каждого ОУ "__" __________ 20__ г. ____ ч ____ мин.
Состояние каждого принятого ОУ ________ (повреждено, %).
Скорость пропуска каждого ОУ _________ (км/ч).
Очистка внутренней полости трубопровода производилась до выхода всех
запасованных ОУ и чистой воды.
Наличие сужений более 85% __________ (нет/да).
Последнее ОУ принесло ___ электродов.
Заключение ________________________________________________________
указать результаты приемки очистки полости трубопровода,
какие последующие работы разрешается производить
От Подрядчика ________________________________________________________
подпись, расшифровка подписи, дата
От Заказчика _________________________________________________________
подпись, расшифровка подписи, дата
От организации, осуществляющей строительный контроль __________________
___________________________________________________________________________
подпись, расшифровка подписи, дата
2. Рекомендуемая форма акта приема профилемера
Акт N ________ приема профилемера
Договор N
___________________________________________________________________________
Заказчик
___________________________________________________________________________
Трубопровод
___________________________________________________________________________
Участок
___________________________________________________________________________
Диаметр
___________________________________________________________________________
Тип снаряда
___________________________________________________________________________
Дата __________________________________________________________
Мы, нижеподписавшиеся представители Заказчика и Исполнителя
внутритрубного диагностирования, составили настоящий акт о том, что на
вышеуказанном участке трубопровода был произведен пропуск внутритрубного
профилемера. Прием профилемера производился в присутствии обеих сторон и
показал следующее:
дата и время приема профилемера _________________________;
наличие посторонних звуков при входе в приемную камеру ____________
___________________________________________________________________;
дата и время выемки снаряда ________________________;
транспортно-запасовочное устройство соединено контактным проводом с
приемной камерой при закрытом затворе;
количество грунта, поступившего вместе с профилемером, литров: ____;
состояние профилемера:
механические повреждения корпуса _________________________
состояние манжет _________________________________________
состояние измерительной системы ___________________________
состояние одометрической системы _________________________
целостность соединительных кабелей ________________________
скорость движения профилемера составила _______ км/ч (_____ м/с), что
соответствует/не соответствует
------------------------------ требованиям ________________________________
(нужное подчеркнуть)
__________________________________________________________________________;
обозначение настоящего документа
дополнительная информация _________________________________
От Подрядчика
______________________________________________
подпись, расшифровка подписи, дата
От Заказчика
_______________________________________________
подпись, расшифровка подписи, дата
От Исполнителя
профилеметрии ______________________________________________
подпись, расшифровка подписи, дата
От организации, осуществляющей строительный контроль __________________
___________________________________________________________________________
подпись, расшифровка подписи, дата
3. Рекомендуемая форма акта оценки качества пропуска
диагностического оборудования
Акт N _______
профилемера/дефектоскопа
оценки качества пропуска ________________________
(ненужное зачеркнуть)
Договор N _________________________________________________________
Трубопровод _________________________________________________________
Участок _________________________________________________________
Диаметр _________________________________________________________
Тип снаряда _________________________________________________________
Дата _________________________________________________________
В результате предварительной обработки данных, полученных после
пропуска профилемера/дефектоскопа, имеется следующая информация:
дистанция по одометру (суммарному) ___________
количество пропущенных маркеров (по результатам сопровождения) ________
наличие сбоев при перезаписи ___________
количество участков с остановками прибора ___________
количество участков с превышением скорости движения ____________
протяженность участков с превышением скорости движения ____________
Выводы
Полученная в результате пропуска профилемера/дефектоскопа информация
соответствует/не соответствует требованиям Технического задания к качеству
проведения работ по диагностированию на трубопроводах.
Данный участок трубопровода считается обследованным.
От Подрядчика ___________________________________________________
подпись, расшифровка подписи, дата
От Заказчика ____________________________________________________
подпись, расшифровка подписи, дата
От организации, осуществляющей строительный контроль __________________
___________________________________________________________________________
подпись, расшифровка подписи, дата
4. Рекомендуемая форма Акта о проведении ДДК
УТВЕРЖДАЮ
Главный инженер ЭО
__________________________
(фамилия, имя, отчество)
"__" _____________ 20__ г.
Акт
о проведении дополнительного дефектоскопического контроля (ДДК)
дефекта N _____, отчет N _____
Заказчик (ЭО) _______________________________________________________
Дистанция по ВИП, ___________ м
РНУ (УМН) _____________________________________________________________
Относительная дистанция, ___________ м
Трубопровод ___________________________________________________________
Тип трубы _____________________________________________________________
Участок (км-км) _______________________________________________________
Тип шва _______________________________________________________________
N секции ________________
Диаметр, мм _____________
1. Методы контроля: ___________________________________________________
___________________________________________________________________________
Метод НК (нормативный документ) ___________________________________________
(в т.ч. на наличие доп. дефектов) _________________________________________
2. Параметры дефекта N _______, обнаруженного ВИП:
N п/п | Параметры дефекта | Результаты по ВИП | Результаты по ДДК |
1 | Описание дефекта | | |
2 | Тип (наружный, внутренний, внутристенный) | | |
3 | Длина, мм | | |
4 | Ширина, мм | | |
5 | Глубина (dmin - для овальности), мм | | |
6 | Глубина, % | | |
7 | Угловое положение (в градусах) | | |
8 | Толщина стенки, мм | | |
9 | Категория дефекта (вырезка, ремонт не требуется, ремонт) | | |
Состояние изоляционного покрытия на дефектном участке (повреждено/не
повреждено)
__________________________________________________________________________.
3. Параметры дефектов, выявленных при ДДК дефектной зоны и не
обнаруженных ВИП:
N п/п | Параметры дефекта | Результаты по ДДК | Результаты по ДДК |
1 | Описание дефекта | | |
2 | Тип (наружный, внутренний, внутристенный) | | |
3 | Длина, мм | | |
4 | Ширина, мм | | |
5 | Глубина (dmin - для овальности), мм | | |
6 | Глубина, % | | |
7 | Угловое положение (в градусах) | | |
8 | Толщина стенки, мм | | |
9 | Категория дефекта (вырезка, ремонт не требуется, ремонт) | | |
4. Схема расположения всех выявленных дефектов в зоне контроля:
5. Приборы и инструменты, применяемые при контроле:
Наименование | Заводской номер | Поверен до (дата) | Средства и параметры контроля | Сокращенное описание выявленных дефектов |
Данные СОП | Класс чувствительности | Условия проведения контроля |
Состояние поверхности (шероховатость) | Освещенность, лк | Температура, C° |
| | | | | | | | |
| | | | | | | | |
ДДК провел:
Специалист НК _____________________________________________________________
(фамилия, инициалы, должность, место работы, подпись)
Удостоверение N ___________ от _________________ Срок действия до _________
Выдано ___________________________________________ "__" ___________ 20__ г.
(организация, выдавшая удостоверение)
Специалист НК _____________________________________________________________
(фамилия, инициалы, должность, место работы, подпись)
Удостоверение N ___________ от _________________ Срок действия до _________
Выдано ___________________________________________ "__" ___________ 20__ г.
(организация, выдавшая удостоверение)
Проведенный ДДК дефекта N ________ соответствует требованиям НД и ТД
Ответственный за производство работ:
___________________________________________________________________________
(должность, фамилия, инициалы, подпись)
"__" ____________ 20__ г.
Представитель организации,
выполняющей диагностирование __________________________________________
должность фамилия, инициалы подпись
"__" ____________ 20__ г.
Представитель организации, выполняющей диагностирование:
___________________________________________________________________________
(должность, фамилия, инициалы, подпись)
"__" ____________ 20__ г.
Вывод представителя ЭО, о ремонте дефекта N _____ по результатам ДДК:
ремонт требуется/не требуется.
___________________________________________________________________________
(должность, фамилия, инициалы, подпись)
"__" ____________ 20__ г.
к руководству по безопасности
"Рекомендации по техническому
диагностированию магистральных
нефтепроводов, нефтепродуктопроводов
и их составных частей", утвержденному
приказом Федеральной службы
по экологическому, технологическому
и атомному надзору
от 12 февраля 2025 г. N 40
ПРОВЕДЕНИЯ ВНУТРИТРУБНОГО ДИАГНОСТИРОВАНИЯ
1. Запасовка внутритрубного инспекционного прибора
1.1. До начала запасовки ВИП рекомендуется:
проверить исправность всех узлов и устройств камеры пуска СОД, положение задвижек и сигнализатора;
проверить работоспособность и закрытие задвижки на дренажной линии камеры пуска СОД;
проверить наличие патрубков для удаления воздуха на камере пуска СОД и в конце прямолинейного участка до секущей задвижки;
произвести опробование задвижек камеры пуска СОД на полное открытие и закрытие;
проверить работоспособность сигнализаторов на узле пуска СОД;
убедиться в отсутствии нефти (нефтепродуктов) в камере пуска через дренажную задвижку;
проверить герметичность задвижек на обводных линиях камер пуска, приема СОД;
проверить работу средств телемеханики;
провести контрольное обследование участка трассы с целью проверки состояния готовности трубопровода к пропуску;
проверить работоспособность передатчика, низкочастотного и акустического локаторов, маглоггеров (наземных переносных приборов, заранее размещаемых по трассе трубопровода в маркерных пунктах и регистрирующих время прохождения магнитного дефектоскопа для последующей привязки к местности данных внутритрубной инспекции), магнитометра;
проверить наличие связи с диспетчером РНУ по трассе резервной нитки;
закрыть все задвижки трубопроводов обвязки камеры пуска;
освободить камеру пуска от продукта.
1.2. Перед транспортировкой ВИП к камере пуска СОД, ВИП рекомендуется подготавливать к работе в соответствии с эксплуатационной документацией на данный прибор.
1.3. Программирование пропуска ВИП желательно выполнять за пределами взрывоопасной зоны и при закрытой камере пуска.
1.4. Рекомендуется снять с транспортного средства при помощи крана транспортно-запасовочное устройство (далее - ТЗУ) с находящимся в нем ВИП и установить ТЗУ рядом с камерой пуска СОД.
1.5. Далее рекомендуется подключить кабель заземления между камерой пуска и лотком ТЗУ, установив зажимы кабеля на участках металла, свободных от защитного покрытия.
Не рекомендуется подключать или отключать кабель ТЗУ при открытой крышке камеры пуска.
Перед началом запасовки ВИП находится во взрывобезопасном режиме.
1.6. Затем рекомендуется открыть крышку камеры пуска и провентилировать ее в течение не менее 15 мин. При необходимости (если это требование есть в нормативной и технической документации, действующей в организации, эксплуатирующей трубопровод) продуть камеру пуска инертным газом.
1.7. Рекомендуется поднять краном ТЗУ с ВИП и расположить таким образом, чтобы его передняя часть находилась вплотную к открытой камере приема, а дно лотка и нижняя часть камеры находились на одном уровне. Переднюю часть ВИП направить к камере пуска СОД.
1.8. Пока ТЗУ висит на стропах, рекомендуется опустить опоры ТЗУ до грунта и зафиксировать их на лотке стопорными пальцами. Установить ТЗУ на грунт. Отсоединить стропы от лотка и отвести стрелу крана в сторону. Снять штатную заглушку с фланца запасовочного патрубка камеры пуска и установить вместо нее запасовочное устройство с роликами, закрепив болтами и гайками.
1.9. Через ролик запасовочного устройства рекомендуется пропустить внутрь камеры трос, длинным крючком через открытый затвор камеры зацепить его и вытащить наружу до головы прибора, затем пропустить трос через проушину на бампере прибора и протянуть его обратно через запасовочное устройство. Соединить два конца троса хомутом.
1.10. Рекомендуется закрепить петлю троса на крюке подъемного крана, затем выбрать слабину троса, проверить прохождение троса через ролик запасовочного устройства.
1.11. Медленно, без рывков, втянуть прибор в камеру пуска до момента, когда первая манжета войдет в часть камеры с номинальным диаметром. Затягивание прибора в камеру пуска приведено на рисунке 5.
Рисунок 5. Затягивание прибора в камеру пуска
ВИП желательно вводить в камеру пуска таким образом, чтобы передняя манжета ведущей секции вошла в часть камеры с номинальным диаметром, что обеспечит его перемещение потоком продукта из камеры пуска СОД в трубопровод.
1.12. Рекомендуется освободить один конец троса, сняв хомут, и извлечь трос из камеры, потянув другой его конец тяговым устройством. Снять запасовочное устройство и установить на фланец запасовочного патрубка штатную заглушку.
1.13. Рекомендуется краном отвести ТЗУ от камеры пуска СОД для обеспечения закрытия крышки камеры пуска СОД.
1.14. Рекомендуется закрыть крышку камеры пуска СОД. Отсоединить кабель заземления от камеры пуска.
1.15. Рекомендуется собрать и погрузить ТЗУ на автотранспорт и перевезти его на площадку камеры приема.
2. Пуск очистного устройства и внутритрубного инспекционного
прибора из стационарных узлов пуска средств очистки
и диагностирования
2.1. Рекомендуемая технологическая схема узла пуска СОД на линейной части МТ (лупинги, отводы и резервные нитки подводных переходов) приведена на рисунке 6.
Рисунок 6. Технологическая схема узла пуска СОД
на линейной части МТ
2.2. Рекомендованная технологическая схема узла пуска СОД на линейной части МТ (лупинги, отводы и резервные нитки подводных переходов) обеспечивает выполнение следующих операций:
перекачку нефти (нефтепродукта), минуя камеру пуска, при открытой задвижке номера 4 и закрытой арматуре номеров 8, 10, 12, 14, 16, 18, 20 - 26;
заполнение нефтью (нефтепродуктом) камеры пуска из МТ, до начала пуска СОД, через систему дренажных и вспомогательных трубопроводов при открытой арматуре номеров 12, 14, 16, 18, 20, 26, обеспечивая малую подачу арматурой номеров 25.1, 25.2, и закрытой арматуре номеров 8, 10, 21 - 25. Контроль заполнения камеры проводится по изменению уровня в дренажной емкости. При изменении уровня в емкости более чем на 0,3 м камера считается заполненной. Контроль изменения уровня в емкости осуществляется с применением переносного уровнемера (ленточная рулетка, электронный уровнемер);
пуск СОД при открытой арматуре номеров 8, 10, закрытии задвижки номера 4 и закрытой арматуре номеров 12, 14 - 26;
дренаж нефти (нефтепродукта) из камеры пуска СОД и прилегающих надземных участков трубопроводов в дренажную подземную емкость при открытом воздушнике на газовоздушной линии и открытой арматуре номеров 14, 16, 18, 20, 21 и закрытой арматуре номеров 8, 10, 12, 22 - 26;
откачку нефти (нефтепродукта) из дренажной подземной емкости в МТ при открытой арматуре номеров 12, 22а, 22, 25 и закрытой арматуре номеров 14, 16, 18, 20, 23, 24, 25.1, 25.2, 26;
откачку нефти (нефтепродукта) в передвижную емкость при открытой арматуре номеров 22а, 23 и закрытой арматуре номеров 12, 14, 16, 18, 20 - 22, 24, 25.1, 25.2, 26;
подачу откачиваемой нефти (нефтепродукта) погружным насосом во всасывающую линию передвижной насосной установки (ПНУ) с последующей закачкой нефти (нефтепродукта) передвижной насосной установкой (ПНУ) в МТ при открытой арматуре номеров 12, 22а, 23, 24 и закрытой арматуре номеров 14, 16, 18, 20 - 22, 25, 25.1, 25.2, 26;
дренаж нефти (нефтепродукта) из гибкого рукава подсоединения передвижной насосной установки (ПНУ) в подземную дренажную емкость при открытой арматуре номеров 21, 24, 25, 26 и закрытой арматуре номеров 12, 14, 16, 18, 20, 22, 23, 25.1, 25.2;
одновременный дренаж нефти (нефтепродукта) из камеры пуска СОД и прилегающих надземных участков трубопроводов в дренажную подземную емкость и откачку нефти (нефтепродукта) из дренажной емкости в МТ и при открытом воздушнике на газовоздушной линии и открытой арматуре номеров 12, 14, 16, 18, 20, 21, 22, 22а, 25 и закрытой арматуре номеров 8, 10, 23, 24, 25.1, 25.2, 26;
подачу пара или инертного газа во внутреннюю полость камеры пуска СОД через патрубок Д при открытом воздушнике на газовоздушной линии и открытой арматуре номеров 14, 16.
2.3. Технические рекомендации по использованию камер пуска СОД.
2.3.1. Заполнение нефтью (нефтепродуктом) камеры пуска СОД до DN 250 включительно из МТ рекомендуется осуществлять с производительностью не более 10 м3/ч, от DN 300 до DN 500 включительно - с производительностью не более 25 м3/ч, от DN 700 до DN 1200 - с производительностью не более 50 м3/ч.
2.3.2. Скорость заполнения камеры из МТ регулируется регулирующим органом номеров 25.1, 25.2. Степень регулировки рекомендуется определять с помощью пробного заполнения подземной дренажной емкости в период пусконаладочных работ. Изменение уровня в дренажной емкости во время пробного заполнения рекомендуется определять с помощью переносного уровнемера (ленточная рулетка, электронный уровнемер). При достижении уровня 2/3 от максимального заполнение подземной емкости рекомендуется прекратить путем закрытия задвижки номера 12. Повторное заполнение желательно производить после полной откачки нефти из емкости.
2.3.3. Воздушники на газовоздушной линии рекомендуется использовать только для подачи воздуха во внутреннюю полость камеры пуска СОД при дренаже.
2.3.4. В период между пропусками СОД по МТ узел пуска находится в следующем состоянии:
камера пуска, дренажная подземная емкость и трубопроводы технологической обвязки опорожнены от нефти (нефтепродукта);
арматура номеров 8, 10, 12, 14, 16, 18, 20 - 26 закрыта.
2.3.5. Последовательность открытия и закрытия задвижек при производстве всех технологических операций рекомендуется устанавливать в Инструкции по пуску и приему СОД, которая утверждается главным инженером ЭО.
3. Рекомендации по пуску очистного устройства
и внутритрубного инспекционного прибора из временных узлов
пуска средств очистки и диагностирования
3.1. Рекомендуемая технологическая схема временного узла пуска СОД на линейной части МТ приведена на рисунке 7.
Рисунок 7. Рекомендуемая технологическая схема временного
узла пуска СОД на линейной части МТ
3.2. Технологическая схема временного узла пуска СОД на линейной части МТ обеспечивает выполнение следующих операций:
перекачку нефти (воды), минуя камеру пуска, при открытой задвижке номера 1 и закрытых задвижках номеров 2, 3, 4;
заполнение нефтью (водой) камеры пуска из МТ, до начала пуска СОД передвижной насосной установкой (ПНУ), через систему дренажных и вспомогательных трубопроводов при открытых задвижках номеров 3, 7, 8, 9 и закрытых задвижках номеров 2, 4, контроль заполнения камеры проводится визуально при открытии воздушников номеров 5, 6;
пуск СОД при открытых задвижках номеров 2, 4, закрытии задвижки номера 1, и закрытых задвижках номеров 3, 5, 6, 7, 8, 9;
дренаж нефти (воды) из камеры пуска СОД и прилегающих надземных участков трубопроводов в МТ с помощью передвижной насосной установки (ПНУ) при открытых воздушниках номеров 5, 6, открытых задвижках номеров 3, 7, 8, 9 и закрытых задвижках номеров 2, 4.
3.3. Технические рекомендации по применению временного узла пуска СОД.
3.3.1. После проведения технологических операций пуска СОД и дренажа нефти (воды) из камеры, временный узел пуска СОД, включая задвижки номеров 2, 4, рекомендуется демонтировать.
3.3.2. По завершении демонтажа временного узла пуска СОД рекомендуется заглушить трубопроводы со стороны МТ в местах демонтажа задвижек номеров 2, 4.
3.3.3. Последовательность открытия и закрытия задвижек при производстве всех технологических операций рекомендуется отразить в Инструкции по пуску и приему СОД, которая утверждается главным инженером ЭО.
4. Сопровождение очистного устройства и внутритрубного
инспекционного прибора по трассе
4.1. Для контроля за движением ВИП и ОУ служат приемопередатчики, устанавливаемые на ВИП и ОУ, и наземные приборы сопровождения, в состав которых входят низкочастотные локаторы и наземные маркерные передатчики. Приемопередатчики генерируют низкочастотные электромагнитные сигналы, которые улавливаются антенной локатора на поверхности земли с расстояния до 2,5 м от передатчика прибора, находящегося в трубопроводе.
4.2. Локаторы для слежения за ВИП и ОУ при их движении по трубопроводу и маркерные передатчики, сигналы которых улавливаются приемниками ВИП, необходимы для привязки диагностической информации к конкретным точкам трассы трубопровода и устанавливаются в местах размещения маркерных пунктов.
4.3. Контроль прохождения ВИП по характерному акустическому шуму, создаваемому им при движении по трубопроводу, может осуществляться с применением акустических локаторов, а также на слух в местах расположения трубной арматуры (задвижки, вантузы) и в местах открытого залегания трубопровода.
4.4. Для контроля за движением ВИП также рекомендуется использовать штатные системы телеметрии, установленные на трубопроводах. Для расчета времени прохождения ВИП рекомендуется применение методики расчета параметров движения СОД по трубопроводу с использованием компьютерной программы расчета параметров движения СОД по трубопроводу.
4.5. Для контроля за движением магнитных ОУ и магнитного дефектоскопа рекомендуется применение приборов типа "маглоггер <3>". Обнаружить остановившееся магнитное ОУ или магнитный дефектоскоп в трубопроводе можно по магнитному полю, создаваемому вокруг местонахождения прибора. Для этого рекомендуется использовать прибор, показывающий наличие магнитных полей, в том числе магнитный компас.
--------------------------------
<3> Маглоггер - наземный переносной прибор, заранее размещаемый по трассе трубопровода в маркерных пунктах и регистрирующий время прохождения магнитного дефектоскопа для последующей привязки к местности данных внутритрубной инспекции.
4.6. Порядок работы с приборами сопровождения приводится в соответствующем руководстве по эксплуатации.
5. Обнаружение очистного устройства или внутритрубного
инспекционного прибора, оснащенного передатчиком
Обнаружение неподвижного ВИП или ОУ, оснащенного ПДС, рекомендуется проводить следующим образом:
перемещаться вдоль оси МТ с включенным локатором, располагая его антенну вдоль оси трубопровода;
останавливаться через каждые 2 - 3 м, удерживая антенну в горизонтальном положении параллельно трассе. Для лучшего подавления помех антенну размещают на земле;
при приближении к передатчику ВИП слышен звуковой сигнал пьезоизлучателя локатора, который сопровождается периодическим высвечиванием светодиодного индикатора. При приближении к ВИП мощность сигнала передающего устройства возрастает и вместе с этим увеличивается количество высвечиваемых разрядов светодиодного индикатора.
6. Определение точного положения очистного устройства
и внутритрубного инспекционного прибора
Для определения точного положения передатчика ВИП антенну локатора рекомендуется удерживать в вертикальном положении. Постепенно перемещая ее вдоль трубопровода, устанавливается место с минимальным уровнем сигнала, при этом антенна локатора будет находиться непосредственно над передатчиком. Точность определения положения может быть увеличена путем увеличения усиления приемника локатора.
7. Определение глубины нахождения очистного устройства
и внутритрубного инспекционного прибора
Для определения глубины нахождения передатчика ВИП рекомендуется измерять расстояние между двумя местами с минимальным уровнем сигнала при горизонтальном положении антенны локатора. Глубина нахождения передатчика составляет приблизительно 0,8 от этого расстояния.
8. Рекомендованный порядок работы на маркерном пункте
8.1. По прибытии к маркерному пункту рекомендуется найти отмечающий его ориентир и установить передатчик маркера в соответствии с рисунком 8. Установить две катушки маркерного передатчика в вертикальное положение над трубопроводом (если трубопровод располагается над землей, катушки передатчика устанавливают наверху трубопровода) на расстоянии приблизительно 70 см друг от друга вдоль оси трубопровода и соединить их кабелями с передатчиком. Маркерный передатчик остается выключенным.
8.2. Рекомендуется установить локатор над трубопроводом на расстоянии от 10 до 20 м выше по течению продукта, положить катушку локатора над осью трубы на землю так, чтобы ее ось была параллельна оси трубопровода, и включить локатор.
Рисунок 8. Размещение локатора и маркерного передатчика
8.3. Рекомендуется кратковременно включить маркерный передатчик, при этом светодиодный индикатор локатора показывает наличие сигнала, а в динамике локатора звучит периодический звуковой сигнал пьезоизлучателя локатора. Выключить маркерный передатчик.
8.4. Рекомендовано следить за индикатором локатора. При появлении звукового сигнала и сигнала на светодиодном индикаторе о прибытии ВИП, дать команду оператору маркерного передатчика на его включение. Подождать, пока ВИП не пройдет маркерный пункт. Если этот момент не может быть точно определен, выждать некоторое время, которое зависит от скорости ВИП (примерно 3 мин при скорости 1 м/с).
8.5. Выключить локатор и маркерный передатчик, собрать оборудование, зафиксировать время прохождения ВИП и сообщить его следующей группе сопровождения и диспетчеру.
9. Прохождение очистного устройства и внутритрубного
инспекционного прибора через узлы пропуска средств очистки
и диагностирования
9.1. Рекомендуемая технологическая схема узла пропуска СОД приведена на рисунке 9.
Рисунок 9. Рекомендуемая технологическая схема узла пропуска
СОД на НПС
9.2. Рекомендуемая технологическая схема узла пропуска СОД на НПС обеспечивает выполнение следующих операций:
перекачку нефти (нефтепродукта) через НПС при открытых задвижках номеров 1 - 6 и закрытых задвижках номеров 7 - 11;
пропуск СОД через отключенную НПС при открытых задвижках номеров 5 - 8 и закрытых задвижках номеров 1 - 4, 9 - 11;
перекачку нефти (нефтепродукта), минуя НПС через байпасный трубопровод с обратным затвором при открытых задвижках номеров 5, 6, и закрытых задвижках номеров 1 - 4, 7 - 11;
прием СОД в камеру пропуска при открытых задвижках номеров 5, 6, 7 и закрытых задвижках номеров 8 - 11;
пуск СОД из камеры пропуска при открытых задвижках номеров 3, 5, 6, 8, 9 и закрытых задвижках номеров 4, 7, 10, 11.
9.3. Последовательность открытия и закрытия задвижек при производстве всех технологических операций рекомендуется установить в Инструкции по пропуску СОД, которая утверждается главным инженером ЭО.
10. Прием очистного устройства и внутритрубного
инспекционного прибора в стационарные узлы приема средств
очистки и диагностирования
10.1. Рекомендуемая технологическая схема узла приема СОД на линейной части МТ приведена на рисунке 10.
Рисунок 10. Рекомендуемая технологическая
схема узла приема СОД на линейной части МТ
10.2. Рекомендуемая технологическая схема узла приема СОД на линейной части МТ (лупинги, отводы и резервные нитки подводных переходов) обеспечивает выполнение следующих операций:
перекачку нефти (нефтепродукта), минуя камеру приема, при открытой задвижке номера 3 и закрытой арматуре номеров 7, 9, 12, 15, 17, 19, 21 - 26;
заполнение нефтью (нефтепродуктом) камеры из МТ, до начала приема СОД, через систему дренажных и вспомогательных трубопроводов при открытой арматуре номеров 12, 15, 17, 19, 26, обеспечивая малую подачу арматурой номеров 25.1, 25.2, и закрытой арматуре номеров 7, 9, 21 - 25. Контроль заполнения камеры проводится по изменению уровня в дренажной емкости. При изменении уровня в емкости более чем на 0,3 м камера считается заполненной. Контроль изменения уровня в емкости осуществляется с применением переносного уровнемера (ленточная рулетка, электронный уровнемер);
прием СОД при открытой арматуре номеров 7, 9 и закрытой арматуре номера 3, 12, 15, 17, 19, 21 - 26;
дренаж нефти (нефтепродукта) из камеры приема СОД и прилегающих надземных участков трубопроводов в дренажную подземную емкость при открытом воздушнике на газовоздушной линии и открытой арматуре номеров 15, 17, 19, 21 и закрытой арматуре номеров 7, 9, 12, 22 - 26;
откачку нефти (нефтепродукта) из дренажной подземной емкости в МТ при открытой арматуре номеров 12, 22а, 22, 25 и закрытой арматуре номеров 15, 17, 19, 21, 23, 24, 25.1, 25.2, 26;
откачку нефти (нефтепродукта) в передвижную емкость при открытой арматуре номеров 22а, 23 и закрытой арматуре номеров 12, 15, 17, 19, 21, 22, 24, 25.1, 25.2, 26;
подачу откачиваемой нефти (нефтепродукта) погружным насосом во всасывающую линию передвижной насосной установки (ПНУ) с последующей закачкой нефти (нефтепродукта) передвижной насосной установкой (ПНУ) в МТ при открытой арматуре номеров 12, 22а, 23, 24 и закрытой арматуре номеров 15, 17, 19, 21, 22, 25, 25.1, 25.2, 26;
дренаж нефти (нефтепродукта) из гибкого рукава подсоединения передвижной насосной установки (ПНУ) в подземную дренажную емкость при открытой арматуре номеров 21, 24, 25, 26 и закрытой арматуре номеров 12, 15, 17, 19, 22а, 22, 23, 25.1, 25.2;
одновременный дренаж нефти (нефтепродукта) из камеры приема СОД и прилегающих надземных участков трубопроводов в дренажную подземную емкость и откачку нефти (нефтепродукта), из дренажной емкости в МТ при открытых воздушниках на газовоздушной линии и открытой арматуре номеров 12, 15, 17, 19, 21, 22, 22а, 25 и закрытой арматуре номеров 7, 9, 23, 24, 25.1, 25.2, 26;
подачу пара или инертного газа во внутреннюю полость камеры приема СОД через патрубок Д при открытом воздушнике на газовоздушной линии и открытой арматуре номера 15.
10.3. Технические рекомендации по использованию камер приема СОД.
10.3.1. Заполнение нефтью (нефтепродуктом) камеры приема СОД до DN 250 включительно из МТ рекомендуется осуществлять с производительностью не более 10 м3/ч, от DN 300 до DN 500 включительно не более 25 м3/ч, от DN 700 до DN 1200 - с производительностью не более 50 м3/ч.
10.3.2. Регулирование скорости заполнения камеры из МТ осуществляется регулирующим органом номеров 25.1, 25.2. Степень регулировки рекомендуется определять с помощью пробного заполнения подземной дренажной емкости в период пусконаладочных работ. Изменение уровня в дренажной емкости во время пробного заполнения определяется с помощью переносного уровнемера (ленточная рулетка, электронный уровнемер). При достижении уровня 2/3 от максимального заполнение подземной емкости рекомендуется прекратить путем закрытия задвижки номера 12. Повторное заполнение производить после полной откачки нефти из емкости.
10.3.3. Воздушник на газовоздушной линии рекомендуется использовать только для подачи воздуха во внутреннюю полость камеры приема СОД при дренаже.
10.3.4. В период между пропусками СОД по МТ узел приема находится в следующем состоянии:
камера приема, дренажная подземная емкость и трубопроводы технологической обвязки опорожнены от нефти (нефтепродукта);
арматура номеров 7, 9, 12, 15, 17, 19, 21 - 26 закрыта;
камера приема, поддон и дренажная подземная емкость зачищены от шлама.
10.3.5. Последовательность открытия и закрытия задвижек при производстве всех технологических операций устанавливается Инструкцией по пуску и приему СОД, которая обычно утверждается главным инженером ЭО.
11. Прием очистного устройства и внутритрубного
инспекционного прибора во временные узлы приема
средств очистки и диагностирования
11.1. Рекомендуемая технологическая схема временного узла приема СОД на линейной части МТ приведена на рисунке 11.
Рисунок 11. Рекомендуемая технологическая схема временного
узла приема СОД на линейной части МТ
11.2. Рекомендуемая технологическая схема временного узла приема СОД на линейной части МТ обеспечивает выполнение следующих операций:
перекачку нефти (воды), минуя камеру приема, при открытой задвижке номера 1 и закрытых задвижках номеров 2, 4, 5;
заполнение нефтью (водой) камеры из МТ, до начала приема СОД передвижной насосной установкой (ПНУ), через систему дренажных и вспомогательных трубопроводов при открытых задвижках номеров 5, 6, 7, 8 и закрытых задвижках номеров 2, 4, контроль заполнения камеры проводится визуально при открытии воздушника номера 3;
прием СОД при открытых задвижках номеров 2, 4 и закрытых задвижках номеров 1, 3, 6, 7, 8;
дренаж нефти (воды) из камеры приема СОД и прилегающих надземных участков трубопроводов в МТ с помощью передвижной насосной установки (ПНУ) при открытом воздушнике номера 3, открытых задвижках номеров 5, 6, 7, 8 и закрытых задвижках номеров 2, 4.
11.3. После проведения технологических операций приема СОД и дренажа нефти (воды) из камеры временный узел приема СОД, включая задвижки номеров 2, 4, подлежит демонтажу.
11.4. По завершении демонтажа временного узла приема СОД рекомендуется заглушить трубопроводы со стороны МТ в местах демонтажа задвижек номеров 2, 4.
11.5. Последовательность открытия и закрытия задвижек при производстве всех технологических операций устанавливается Инструкцией по пуску и приему СОД, которая утверждается главным инженером ЭО.
12. Рекомендуемые действия при извлечении внутритрубного
инспекционного прибора из камеры приема
12.1. При помощи крана снять лоток с транспортного средства и установить рядом с закрытой камерой.
12.2. Подключить кабель заземления между лотком и камерой, обеспечив надежный контакт кабеля с металлом с обеих сторон.
Зажимы устанавливаются на участках металла, свободного от защитного покрытия.
Не рекомендуется присоединять или отсоединять кабель заземления при открытой крышке камеры приема.
Если по истечении запрограммированного времени после поступления дефектоскопа в камеру приема и сброса давления в ней (при условии, что мастер-система дефектоскопа правильно запрограммирована) звуковой сигнал взрывобезопасности не появился, рекомендуется предпринять следующие меры взрывозащиты, согласованные с ответственным представителем организации, выполняющей диагностирование: если есть такая возможность, дождаться разрядки литиевых батарей дефектоскопа до уровня ниже минимального рабочего напряжения, после чего появляется звуковой сигнал взрывобезопасности.
Если прибор должен быть извлечен во взрывоопасном состоянии (звуковой сигнал взрывобезопасности не появился), рекомендуется предпринять первичные меры взрывобезопасности, предусмотренные в организации, эксплуатирующей трубопровод (вытеснение продукта и продувка камеры инертным газом, газоанализ воздуха на рабочей площадке).
12.3. Освободить камеру от продукта.
12.4. Открыть крышку приемной камеры и удалить остатки продукта.
12.5. Подождать 15 мин для того, чтобы улетучились испарения из приемной камеры или продуть камеру инертным газом.
12.6. Краном поднять лоток и расположить его непосредственно перед проемом приемной камеры таким образом, чтобы его задняя часть была вплотную к открытой камере приема, а дно лотка было не выше дна камеры. Отрегулировать опоры по высоте и зафиксировать их. Зафиксировать лоток прибора на камере от сдвига.
12.7. Закрепить трос за проушину бампера в передней части прибора. Лебедкой или тягачом плавно вытянуть прибор из приемной камеры, пока он полностью не окажется в лотке. Закрепить прибор в лотке от сдвига.
12.8. Отвести лоток с прибором от камеры для обеспечения закрытия крышки камеры.
12.9. Закрыть крышку камеры.
12.10. Отключить кабель заземления между камерой и лотком.
12.11. Переместить лоток с прибором за пределы опасной зоны приемной камеры (за ограждение). После извлечения ВИП из приемной камеры руководитель бригады организации, проводящей диагностирование, и представители эксплуатирующей организации проводят внешний осмотр ВИП и оформляют акт по результатам осмотра ВИП после пропуска по трубопроводу.
к руководству по безопасности
"Рекомендации по техническому
диагностированию магистральных
нефтепроводов, нефтепродуктопроводов
и их составных частей", утвержденному
приказом Федеральной службы
по экологическому, технологическому
и атомному надзору
от 12 февраля 2025 г. N 40
ПО ВИДАМ И СРОКАМ ПРОВЕДЕНИЯ ТЕХНИЧЕСКОГО ДИАГНОСТИРОВАНИЯ
МАГИСТРАЛЬНЫХ ТРУБОПРОВОДОВ, НАХОДЯЩИХСЯ В ЭКСПЛУАТАЦИИ
Виды, область применения, последовательность и сроки
проведения технического диагностирования МТ,
находящихся в эксплуатации
Объект | Вид технического диагностирования | Условие и последовательность проведения технического диагностирования | Срок проведения первичного технического диагностирования | Периодичность проведения очередного технического диагностирования |
Магистральные трубопроводы, находящиеся в эксплуатации | ВТД | Профилеметрия, WM, CD | После очистки полости трубопровода и пропуска калибровочного устройства | Не позднее 3 лет с даты ввода в эксплуатацию | В сроки, определенные заключением по оценке технического состояния трубопровода, но не менее одного раза в 6 лет |
MFL | Рассчитывается в соответствии с НД эксплуатирующей организации |
Наружные | | - | Не позднее 10 лет с даты ввода в эксплуатацию | Не реже одного раза в 10 лет |
Соединительные, конструктивные детали, приварные элементы, надземные трубопроводы обвязки узлов КПП СОД |
Ремонтные конструкции | - | Не позднее 30 лет с даты установки | Не реже одного раза в 30 лет |
Емкости сбора нефти (нефтепродуктов) с КПП СОД | Имеющие доступ вовнутрь | Через 10 лет с даты ввода в эксплуатацию, совместно с проведением ТР КПП СОД | Не реже одного раза в 10 лет при проведении ТР |
Не имеющие доступ вовнутрь | Не позднее 10 лет с даты ввода в эксплуатацию |
Измерение глубины залегания трубопровода | - | На непахотных землях - не реже одного раза в 5 лет, на пахотных землях - один раз в год с даты ввода в эксплуатацию | На непахотных землях не реже одного раза в 5 лет, на пахотных землях - одного раза в год |
| Электрометрия | - | Не позднее 3 лет с даты ввода в эксплуатацию | Не реже одного раза в 5 лет - на участках с высокой коррозионной активностью |
- | Не реже одного раза в 10 лет - на прочих участках |
Не реже одного раза в 3 года - при длине защитной зоны УКЗ менее 3-х км |
Обследование ПМТ периодическое полное | - | В период не ранее, чем через 1 год, но не позднее чем через 2 года после ввода ПМТ в эксплуатацию | В соответствии с НД эксплуатирующей организации |
Обследование ПМТ периодическое частичное | - | - | В соответствии с НД эксплуатирующей организации |
Обследование ВПМТ | - | В период не ранее, чем через 1 год, но не позднее чем через 2 года после ввода ПМТ в эксплуатацию | В соответствии с НД эксплуатирующей организации |
Обследование перемычек между трубопроводами и перемычек между основной и резервной нитками ПМТ через водные преграды | - | Не позднее 20 лет с даты ввода в эксплуатацию | Не реже одного раза в 20 лет |
--------------------------------
<*> Допустимые сроки эксплуатации КПП СОД, смонтированных по проектной документации из труб и соединительных деталей заводского изготовления, введенных в эксплуатацию до 2005 года, определять в соответствии с предельными сроками эксплуатации, установленными при диагностировании и рассчитанными в соответствии с НД эксплуатирующей организации.
к руководству по безопасности
"Рекомендации по техническому
диагностированию магистральных
нефтепроводов, нефтепродуктопроводов
и их составных частей",
утвержденному приказом Федеральной
службы по экологическому,
технологическому и атомному надзору
от 12 февраля 2025 г. N 40
ПО МЕТОДИКЕ ВЫПОЛНЕНИЯ НЕРАЗРУШАЮЩЕГО КОНТРОЛЯ
МАГИСТРАЛЬНЫХ ТРУБОПРОВОДОВ
1.1. Методику и последовательность применения методов НК при диагностировании трубопроводов, в том числе при проведении ДДК, рекомендуется выполнять в соответствии с НД эксплуатирующей организации.
1.2. Визуальный и измерительный контроль следует проводить в соответствии с
ГОСТ 34181-2017 "Межгосударственный стандарт. Магистральный трубопроводный транспорт нефти и нефтепродуктов. Техническое диагностирование. Основные положения", введенным в действие
приказом Росстандарта от 4 июля 2017 г. N 633-ст,
ГОСТ Р 51164-98 "Государственный стандарт Российской Федерации. Трубопроводы стальные магистральные. Общие требования к защите от коррозии", утвержденным
постановлением Госстандарта России от 23 апреля 1998 г. N 144,
ГОСТ 9.602-2016 "Межгосударственный стандарт. Единая система защиты от коррозии и старения. Сооружения подземные. Общие требования к защите от коррозии", введенным в действие
приказом Росстандарта от 7 октября 2016 г. N 1327-ст, с целью обнаружения и определения размеров дефектов изоляционного покрытия и наружной поверхности металла и сварных швов конструктивных элементов объектов контроля и их геометрических размеров.
1.3. При контроле изоляционного покрытия рекомендуется определять его тип, выполнить измерение толщины, сплошности.
1.4. Толщину изоляционного покрытия следует измерять с помощью толщиномера покрытий (магнитного, ультразвукового, электромагнитного). Измерения рекомендуется проводить не менее чем в четырех точках сечения объекта контроля.
1.5. Сплошность покрытия обычно контролируется искровым дефектоскопом в объеме 100% от площади покрытия в шурфе и на открытых участках.
1.6. Рекомендуется проведение УЗК сварного стыка (кольцевой, продольный, спиральный), если он находится в зоне обследования. Параметры контроля устанавливаются в соответствии с
ГОСТ Р 55724-2013 "Национальный стандарт Российской Федерации. Контроль неразрушающий. Соединения сварные. Методы ультразвуковые", утвержденным и введенным в действие
приказом Росстандарта от 8 ноября 2013 г. N 1410-ст, и учитывают наличие нефти (нефтепродуктов) в полости контролируемого изделия. При этом выявляются дефекты типа нарушения сплошности (раковины, поры, неметаллические включения, трещины, непровары, прочее), а также дефекты геометрической формы сварного шва - смещения кромок, разнотолщинность.
1.7. При ультразвуковой толщинометрии рекомендуется проводить измерение толщины стенок объектов (ультразвуковая толщинометрия) в околошовной зоне сварных швов не менее четырех измерений равномерно по кольцевому шву и не менее четырех измерений на 1 м продольного (спирального) шва с каждой стороны шва. Толщину стенок рекомендуется измерять также в местах с обнаруженными коррозионными повреждениями и рядом с выявленными дефектами на расстоянии от 40 до 50 мм от них на четырех равномерно охватывающих дефектную зону контактных площадках.
1.8. Магнитопорошковый контроль рекомендуется производить в соответствии с
ГОСТ Р 56512-2015 "Национальный стандарт Российской Федерации. Контроль неразрушающий. Магнитопорошковый метод. Типовые технологические процессы", утвержденным
приказом Федерального агентства по техническому регулированию и метрологии от 6 июля 2015 г. N 875-ст. При этом за счет обнаружения магнитных полей рассеяния, возникающих вблизи дефектов после намагничивания объекта контроля, выявляются поверхностные и подповерхностные дефекты металла (трещины, закаты, включения, расслоения и т.п.).
1.9. Капиллярный контроль рекомендуется производить в соответствии с
ГОСТ 18442-80* "Государственный стандарт Союза ССР. Контроль неразрушающий. Капиллярные методы. Общие требования", утвержденным постановлением Госстандарта СССР от 15 мая 1980 г. N 2135. При этом за счет проникновения индикаторных жидкостей в полости поверхностных и сквозных несплошностей металла объекта контроля и регистрации образующихся индикаторных следов визуальным способом выявляются поверхностные несплошности (трещины, закаты, расслоения и т.п.).
1.10. Измерения твердости металла рекомендуется проводить в соответствии с
ГОСТ 2999-75* (СТ СЭВ 470-77) "Металлы и сплавы. Метод измерения твердости по Виккерсу", утвержденным постановлением Госстандарта СССР от 28 июля 1975 г. N 1956. Измерения твердости следует выполнять на каждой второй контактной площадке, подготовленной для ультразвуковой толщинометрии. Механические характеристики основного металла и сварных швов соответствуют нормам, установленным в действующей нормативной и технической документации на металл изделия (трубы, емкости).
1.11. Если по результатам твердометрии установлено несоответствие механических характеристик основного металла и сварных швов установленным нормам, то рекомендуется дополнительно назначать вырезку образцов для проведения лабораторных механических испытаний.
1.12. Определение химического состава металла рекомендуется производить для уточнения фактической марки стали и установления ее соответствия паспортным данным, а также в случае отсутствия в паспорте данных о марке стали, из которой выполнен трубопровод (изделие). Установление химического состава сталей и их марок при техническом диагностировании на трубопроводе рекомендуется выполнять экспресс-методами с применением анализаторов химического состава или дополнительно на вырезанных из трубопровода (изделия) образцах металла с применением стационарного лабораторного оборудования.
1.13. Результаты НК рекомендуется оформлять по каждому виду отдельно протоколами и заключениями.
2. Особенности выполнения визуального
и измерительного контроля
2.1. Рекомендуется проводить ВИК изоляционных покрытий, сварных соединений, основного металла, конструктивных элементов объектов контроля в местах доступа, шурфах.
2.2. Работы по ВИК выполняются в объеме, определяемом в техническом задании.
2.3. Для измерительного контроля рекомендуется использовать поверенные и откалиброванные средства измерений.
2.4. Рекомендуется выполнять контроль всех конструкционных элементов трубопровода для получения информации об их фактических геометрических размерах и составляется перечень элементов, которые исследуются прочими видами НК или вырезаются.
2.5. Овальность цилиндрических элементов рекомендуется определять путем измерения максимального и минимального наружного диаметра в двух взаимно перпендикулярных направлениях контрольных сечений.
2.6. ВИК наружной поверхности металла конструктивных элементов рекомендуется производить после удаления изоляционного покрытия и очистки поверхности. Визуальный контроль выполняется до проведения контроля другими методами неразрушающего или разрушающего контроля.
2.7. При ВИК КПП СОД следует:
внутренний осмотр КПП СОД осуществлять со стороны крышки затвора в зоне, доступной для визуального осмотра, а вне ее - с применением оптических приборов с соблюдением необходимых мер безопасности;
при наружном осмотре КПП СОД в первую очередь контролировать сварные швы крышки затвора и узлов обвязки в объеме 100% сварных швов, находящихся на дневной поверхности земли, и металл в местах доступа;
участки трубопровода в местах выхода труб на наружную поверхность освобождать от грунта и контролируются на протяжении 60 - 70 см вглубь от границы "воздух-грунт". При обнаружении мест повреждения изоляции следует произвести контроль основного металла.
2.8. При ВИК запорной арматуры рекомендуется:
осматривать снаружи фланцевые и резьбовые соединения;
при наружном осмотре арматуры в первую очередь контролировать места радиусных переходов наружных и внутренних поверхностей, уплотнительных поверхностей, а также состояние штока, его резьбы, прокладок, шпилек, болтов.
2.9. При применении запорной арматуры с сальниковым уплотнителем шпинделя рекомендуется обратить внимание на состояние набивочного материала, его качество, размеры, правильность укладки в сальниковую пробку.
2.10. При ВИК емкостей изнутри рекомендуется:
контролировать зону по нижней образующей емкости;
осматривать места приварки штуцеров, патрубков, люков, днищ.
2.11. При обнаружении зон коррозионно-эрозионного износа, деформаций и других повреждений следует определить границу дефектного участка и провести их дополнительные исследования средствами неразрушающего контроля. Все выявленные дефекты, выходящие за пределы допустимых, принято схематично отображать на эскизе (схеме) объекта контроля и вносить в дефектную ведомость.
2.12. Результаты работ рекомендуется оформлять в соответствии с
РД 34.10.130-96 "Инструкция по визуальному и измерительному контролю", утвержденным Минтопэнерго России 15 августа 1996 г., и
ГОСТ Р 51164-98.
3. Особенности выполнения ультразвуковой толщинометрии
3.1. Целью контроля толщины стенок трубопровода является определение утончения стенок объекта контроля в процессе его эксплуатации относительно номинальной. На основании результатов толщинометрии принято определять соответствие толщины стенки изделия нормативному значению, а также скорость коррозионного или эрозионного износа стенок.
3.2. УТ рекомендуется выполнять в соответствии с техническим заданием и НД эксплуатирующей организации.
3.3. Рекомендуется применять средства измерений, соответствующие требованиям
ГОСТ Р 55614-2013 "Национальный стандарт Российской Федерации. Контроль неразрушающий. Толщиномеры ультразвуковые. Общие технические требования", утвержденного и введенного в действие
приказом Росстандарта от 6 сентября 2013 г. N 1031-ст, имеющие сертификат о внесении средств измерений в Федеральный информационный фонд по обеспечению единства измерений и свидетельство (сертификат) о плановой поверке. Настройка и проверка чувствительности производится на аттестованных стандартных образцах. Все действия по настройке и контролю рекомендуется документировать. Допускается использование приборов с ручной и автоматической регистрацией данных.
3.4. Для каждой контактной площадки рекомендуется регистрировать минимальное значение толщины из трех измерений. Для выявления ручейковой коррозии контактная площадка в зоне нижней образующей изделия должна позволять выполнение сканирования стенки от 5 до 7 ч с интервалом не более 30 мм. Для тупиковых и застойных зон объектов контроля проводится дополнительное измерение толщин стенок не менее чем в двух местах на расстоянии 0,5 м по горизонтали по обе стороны от точки измерения по нижней образующей.
3.5. При обнаружении зон расслоений и зон уменьшения номинальной толщины более 15% рекомендуется устанавливать их границы. Измерения в зонах дефектов выполняются по сетке со стороной не более 30 мм.
3.6. На участках поверхности трубопровода, на которых измеренные толщины стенок различаются более чем на 15%, следует выполнять повторные измерения по сетке с шагом 20 мм. Если толщина стенки по данным измерений в какой-нибудь точке окажется меньше паспортной, то вокруг этой точки выполняются замеры не менее чем в четырех точках.
3.7. При ультразвуковой толщинометрии металла на КПП СОД:
основным элементом работ является выполнение измерений толщины стенки трубопровода в местах выхода труб на наружную поверхность, освобожденных от грунта на протяжении 60 - 70 см вглубь от границы "воздух-грунт";
рекомендуется проводить контроль всех элементов КПП СОД и узлов обвязки, находящиеся на дневной поверхности.
3.8. При УТ емкостей рекомендуется выполнение:
измерения толщины стенки обечайки не менее чем по четырем равноудаленным сечениям;
измерения толщины стенки обечайки и днищ для каждого составляющего их листа металла;
измерения толщины штуцеров, патрубков, люков-лазов в местах доступа. Врезки и патрубки диаметром более 100 мм контролируются не менее чем в четырех точках, расположенных равномерно по окружности. Врезки и патрубки диаметром не более 100 мм - не менее чем в двух диаметрально противоположных точках;
измерения толщины стенки обечайки по нижней образующей емкости.
3.9. Все выявленные дефекты, выходящие за пределы допустимых, рекомендуется отображать на прилагаемой схеме и вносить в дефектную ведомость.
3.10. Результаты работ рекомендуется оформлять протоколом.
4. Особенности проведения ультразвуковой дефектоскопии
4.1. Целью проведения ультразвуковой дефектоскопии является определение наличия и местоположения внутренних дефектов (трещин, непроваров, пор, шлаковых включений) в сварных соединениях объекта контроля.
4.2. Места проведения ультразвуковой дефектоскопии устанавливаются при выявлении дефектов различными методами технического диагностирования (ВТД, электрометрии). Рекомендуется предусмотреть УЗД сварных соединений на потенциально-опасных участках трубопровода, сварных соединений спиральношовных труб, сварных швов труб с подкладными кольцами.
4.3. Ультразвуковую дефектоскопию рекомендуется проводить в соответствии с техническим заданием,
ГОСТ Р 55724-2013 "Национальный стандарт Российской Федерации. Контроль неразрушающий. Соединения сварные. Методы ультразвуковые", утвержденным
приказом Росстандарта от 8 ноября 2013 г. N 1410-ст,
ГОСТ Р 55809-2013 "Национальный стандарт Российской Федерации. Контроль неразрушающий. Дефектоскопы ультразвуковые. Методы измерений основных параметров", утвержденным
приказом Росстандарта от 22 ноября 2013 г. N 1693-ст, а также с методиками ультразвуковой дефектоскопии, разработанными для конкретного типа применяемого дефектоскопического оборудования.
4.4. Рекомендуется применение средств измерений, отвечающих требованиям
ГОСТ Р 55725-2013 "Национальный стандарт Российской Федерации. Контроль неразрушающий. Преобразователи ультразвуковые пьезоэлектрические. Общие технические требования", утвержденного
приказом Росстандарта от 8 ноября 2013 г. N 1411-ст, и имеющих свидетельства об утверждении типа средств измерений, свидетельство о плановой метрологической поверке. Настройка и проверка чувствительности следует производить на аттестованных стандартных образцах. Все действия по настройке и контролю рекомендуется документировать. Допускается использование приборов:
с визуальной регистрацией данных;
с автоматической регистрацией данных.
4.5. Ультразвуковую дефектоскопию рекомендуется производить с идентификацией типа регистрируемых отклонений.
4.6. Кроме зон контроля, определяемых в техническом задании, рекомендуется выполнять контроль стенок в местах с обнаруженными локально деформированными участками. В этом случае деформированная зона и прилегающая к ней зона недеформированного металла шириной от 100 до 150 мм по периметру подвергается контролю на отсутствие трещин.
4.7. При исследовании кольцевых сварных швов желательно проверить и примыкающие продольные и спиральные швы на протяжении не менее 250 мм.
4.8. При автоматической (компьютерной) регистрации данных сохраняется первичная информация, допускающая ее проверку путем повторения контроля или с помощью альтернативного метода контроля.
Настройку чувствительности ультразвуковых дефектоскопов рекомендуется осуществлять на СОП с искусственными отражателями, размеры которых приведены в таблице N 9.
Таблица N 9
Размеры искусственных отражателей в СОП
Номинальный наружный диаметр трубы DN, мм | Номинальная толщина стенки трубы S, мм | Эквивалентная площадь отверстия с плоским дном, мм2 | Ширина отражающей грани зарубки b, мм | Высота отражающей грани зарубки h, мм | Диаметр отверстия в СОП dэ, мм |
До 325 | 2,0 <= S <= 4.0 | 0,8 | - | - | 1,0 |
4,0 <= S <= 6,0 | 1,1 | 2,0 | 0,8 | 1,2 |
6,0 < S <= 9,0 | 1,7 | 2,0 | 1,0 | 1,5 |
Свыше 325 до 1220 | 4,0 <= S <= 6,0 | - | 2,0 | 0,8 | - |
6,0 < S < 8,0 | - | 2,0 | 1,0 | - |
8,0 < S <= 12,0 | - | 2,0 | 1,5 | - |
12,0 < S <= 15,0 | - | 2,0 | 2,0 | - |
15,0 < S <= 20,0 | - | 2,5 | 2,0 | - |
20,0 < S <= 26,0 | - | 3,0 | 2,0 | - |
26,0 < S <= 40,0 | - | 3,0 | 2,5 | - |
4.9. Для проведения контроля сварных соединений трубопроводов, заполненных нефтью (нефтепродуктом), настройку чувствительности рекомендуется производить на СОП, нижняя поверхность которых (соответствующая внутренней поверхности трубы) погружена в нефть (нефтепродукт). При этом по отношению к браковочной чувствительности, соответствующей контролю сварных соединений незаполненных трубопроводов, устанавливается поправка, составляющая от 10% до 12%, что соответствует увеличению чувствительности на 1,0 - 1,5 дБ.
4.10. Дефекты в трубопроводах и сварных соединениях по результатам УЗК рекомендуется классифицировать по следующим видам:
непротяженные (одиночные поры, компактные шлаковые включения, одиночные коррозионные язвы);
протяженные (трещины, непровары, несплавления, шлаки, коррозионные повреждения);
цепочки и скопления (цепочки и скопления пор и шлака, коррозионных язв).
4.11. К непротяженным относятся дефекты, условная протяженность которых не превышает значений, приведенных в таблице N 10. Этими дефектами могут быть одиночные поры, неметаллические включения, коррозионные язвы.
Таблица N 10
Условная протяженность компактных дефектов
Толщина стенки контролируемого соединения S, мм | Условная протяженность одиночного непротяженного дефекта, мм |
2,0 <= S <= 3.0 | 3 |
3,0 < S <= 4,0 | 4 |
4,0 < S <= 6,0 | 5 |
6,0 < S <= 9,0 | 7 |
9,0 < S <= 12,0 | 10 |
12,0 < S <= 15,0 | 12 |
S > 15,0 | 15 |
4.12. К протяженным относятся дефекты, условная протяженность которых превышает значения, приведенные в таблице N 10. К этим дефектам относятся одиночные удлиненные неметаллические включения и поры, непровары (несплавления), трещины, коррозионные повреждения.
4.13. Все выявленные дефекты, выходящие за пределы допустимых, рекомендуется отображать на прилагаемой схеме и вносить в дефектную ведомость.
4.14. Результаты работ рекомендуется оформлять заключением, актом ДДК.
к руководству по безопасности
"Рекомендации по техническому
диагностированию магистральных
нефтепроводов, нефтепродуктопроводов
и их составных частей",
утвержденному приказом Федеральной
службы по экологическому,
технологическому и атомному надзору
от 12 февраля 2025 г. N 40
ПО МЕТОДИКЕ ПРОВЕДЕНИЯ РАБОТ
ПО ЭЛЕКТРОМЕТРИЧЕСКОМУ ДИАГНОСТИРОВАНИЮ
1.1. Для проведения электрометрического диагностирования на всех эксплуатируемых трубопроводах рекомендуется выделять:
участки, относящиеся к высокой коррозионной опасности;
участки, относящиеся к повышенной коррозионной опасности;
коррозионно-опасные участки.
1.2. Категорию коррозионной опасности рекомендуется устанавливать на основании технических документов, а также результатов предыдущего технического диагностирования трубопровода.
1.3. Категорию участков по коррозионной опасности рекомендуется определять по критериям
ГОСТ Р 51164-98.
1.4. При подготовке к работам по электрометрическому диагностированию рекомендуется следующее:
эксплуатирующая организация предоставляет исполнителю диагностирования исходную информацию по каждому диагностируемому участку, перечень и сроки предоставления которой определяются в техническом задании;
исполнитель диагностирования разрабатывает и согласовывает с эксплуатирующей организацией ППР на основе анализа полученной исходной информации.
1.5. Работы по электрометрии рекомендуется выполнять в соответствии с НД эксплуатирующей организации.
1.6. Объем работ по электрометрии участка МТ рекомендуется определять в техническом задании, при этом в состав работ рекомендуется включать:
изучение и анализ статистических данных об обследуемом участке трубопровода;
анализ результатов ВТД;
обследование коррозионного состояния трубопровода;
обследование состояния изоляции трубопровода;
оценку эффективности работы изолирующих соединений;
определение технического состояния средств ЭХЗ (установки катодной защиты, установки дренажной защиты, установки протекторной защиты);
определение эффективности ЭХЗ.
1.7. Изучение и анализ данных об обследуемом участке трубопровода рекомендуется проводить по проектной, рабочей и эксплуатационной документации. Данные об обследуемом участке трубопровода и об условиях эксплуатации имеют состав, определенный в договоре. Результаты анализа данных рекомендуется заносить на план-схему участка и в соответствующие формы отчета.
2. Обследование коррозионного состояния трубопровода
2.1. При обследовании коррозионного состояния трубопровода следует выполнить следующие работы:
установить участки на трубопроводе с ненормативным уровнем защитных потенциалов. Определить суммарный период времени простоя средств ЭХЗ;
измерить удельное электрическое сопротивление грунта на глубине укладки трубопровода;
установить наличие блуждающих токов источников постоянного тока и определить места с максимальной коррозионной опасностью;
в местах пересечения или сближения трубопровода с линиями электропередачи или другими источниками переменного тока определить наличие или отсутствие опасности коррозии под воздействием переменных токов;
определить категорию участков МТ по коррозионной опасности;
определить места с наибольшей коррозионной опасностью для шурфования МТ и провести ВИК состояния изоляции и металла трубы в шурфах;
выполнить оценку скорости коррозии трубопроводов при существующем уровне защитных потенциалов;
определить скорость коррозии и глубину коррозионного повреждения по данным ВТД (прогнозирование развития коррозионных повреждений проводится при двух и более ВТД).
2.2. Вскрытие трубопровода шурфами рекомендуется выполнять в зависимости от категории участка по коррозионной опасности по нормам, определенным в НД эксплуатирующей организации.
3. Обследование состояния изоляции трубопровода
3.1. При обследовании состояния изоляционного покрытия трубопровода следует выполнить следующие работы:
поиск сквозных повреждений изоляции МТ с фиксацией координат мест повреждения изоляции;
определение сопротивления изоляции по параметрам ЭХЗ в пределах каждой установки ЭХЗ на обследуемом участке;
ВИК изоляции в шурфах и установление типа изоляционного покрытия, его конструкции, толщины, характера и размеров повреждений изоляции, а также адгезию изоляции к поверхности трубы;
оценку состояния изоляционного покрытия и соответствие его качества требованиям
ГОСТ Р 51164-98.
3.2. Изолирующие соединения рекомендуется оценивать на:
работоспособность;
работоспособность токоотводов или шунтирующих перемычек.
Если изолирующее соединение (фланец) имеет шунтирующую перемычку, то это устройство перестает быть изолирующим и работы, предусмотренные в настоящем пункте, не рекомендуется проводить.
4. Определение технического состояния средств
электрохимической защиты
4.1. При УКЗ рекомендуется:
измерить рабочие режимы УКЗ (напряжение и ток). Определить запас по току и напряжению;
измерить сопротивление растеканию анодного заземления;
измерить сопротивление защитного заземления УКЗ;
проверить по журналу периодичность контроля и профилактических работ.
4.2. При УДЗ рекомендуется:
измерить рабочий ток УДЗ. Определить запас по току;
измерить сопротивление защитного заземления УДЗ;
проверить по журналу периодичность контроля и профилактических работ.
4.3. При УПЗ рекомендуется:
измерить ток УПЗ и потенциал протектора(ов) при разомкнутой цепи;
измерить сопротивление УПЗ;
проверить по журналу периодичность контроля и профилактических работ.
5. Определение эффективности электрохимической защиты
5.1. При определении эффективности ЭХЗ следует выполнить следующие работы:
измерить естественный потенциал на всех КИП ЭХЗ;
измерить разность потенциалов "труба-земля" на всех КИП ЭХЗ;
измерить поляризационный потенциал на всех КИП ЭХЗ, который рекомендуется измерять также в местах выявленных крупных повреждений изоляции;
определить зону защиты каждого средства ЭХЗ;
определить защищенность обследуемого участка МТ по протяженности и по времени на основании выполненных измерений при обследовании и по эксплуатационной документации;
в зоне действия блуждающих токов источников постоянного тока выполнить синхронные измерения разности потенциалов "труба-земля" и поперечного градиента напряжения около трубы с целью выявления длительности и амплитуды анодной составляющей блуждающего тока, а также измерить силу тока в цепи "труба-вспомогательный электрод", используемую для измерения поляризационного потенциала по
ГОСТ Р 51164-98;
в случае отсутствия совместной ЭХЗ МТ и других подземных металлических сооружений (пересечения, параллельное следование) проверить наличие или отсутствие вредного влияния на МТ путем прерывания тока установок ЭХЗ этих сооружений и измерением изменения разности потенциалов "труба-земля" на трубопроводе;
на переходах через автомобильные и железные дороги определить отсутствие или наличие металлического контакта кожуха и трубы и определить эффективность защиты трубы и кожуха;
на переходах через искусственные и естественные преграды установить утечку тока на переходе и уровень катодной поляризации, на основе которых определить состояние изоляционного покрытия перехода.
5.2. Результаты выполненных измерений рекомендуется оформлять по формам и протоколам, приведенным в НД эксплуатирующей организации.
6. Оценка результатов электрометрии
6.1. При оценке результатов электрометрии рекомендуется руководствоваться
ГОСТ Р 51164-98.
6.2. При обследовании коррозионного состояния трубопровода в шурфах окончательную идентификацию типа дефекта и измерение его размеров рекомендуется производить по результатам ДДК в соответствии с НД эксплуатирующей организации.
6.3. При этом по результатам последовательного применения электрометрии и ДДК дефектным рекомендуется признавать участок трубопровода, на котором по результатам ДДК обнаружены дефекты, признанные недопустимыми в соответствии с критериями согласно
пункту 6.4.
6.4. Состояние изоляционного покрытия рекомендуется оценивать по следующим критериям:
соответствие материала и конструкции покрытия проектному решению;
соответствие толщины изоляционного покрытия его типу;
величина адгезии изоляции к трубопроводу, наличие, место расположения, размеры и характер отслоения изоляции;
интегральная величина сопротивления изоляции в пределах (обследуемого) участка трубопровода;
фактическая скорость старения изоляции за прошедший период ее эксплуатации;
наличие (или отсутствие) сквозных повреждений изоляции, их место расположения на аттестуемом трубопроводе, линейные размеры и общая площадь этих повреждений.
6.5. Состояние систем ЭХЗ рекомендуется оценивать по следующим критериям:
перерыв в действии каждой установки систем ЭХЗ допускается при проведении регламентных и ремонтных работ не более одного раза в квартал (до 80 ч). При проведении опытных или исследовательских работ допускается отключение ЭХЗ на суммарный срок не более 10 суток в год;
сопротивление растеканию анодного заземления УКЗ трехэлектродной установкой не превышает значений, установленных в НД эксплуатирующей организации;
сопротивление дренажного кабеля УКЗ и УДЗ, определенное путем прямого измерения или путем измерения падения напряжения в них с одновременной фиксацией протекающего защитного тока, находится в интервале от 0 до 1 Ом (при этом фиксируется длина, сечение и материал дренажного кабеля).
6.6. При несоответствии средств ЭХЗ нормативным требованиям рекомендуется выполнить переналадку, ремонт, реконструкцию или обустройство дополнительных (временных или постоянных) систем ЭХЗ.
6.7. Средства ЭХЗ следует приводить в соответствие с НД эксплуатирующей организации и в сроки, указанные в НД. При обосновании невозможности приведения средств ЭХЗ в соответствие с НД рекомендуется их включение в планы ТПиР и КР.
7. Оформление результатов электрометрии
7.1. По результатам электрометрии рекомендуется сделать заключение о возможности дальнейшей эксплуатации обследованных трубопроводов, указать несоответствия текущего технического состояния требованиям нормативной и технической документации, а также составить рекомендации по совершенствованию комплексной защиты от коррозии, обеспечивающей безопасную эксплуатацию трубопроводов.
7.2. Рекомендации по совершенствованию комплексной защиты от коррозии разрабатываются на основании анализа полученных данных о функционировании всех составляющих противокоррозионной защиты.
7.3. На основании анализа данных о состоянии изоляционного покрытия и расчетов остаточного ресурса изоляции выделяются участки ремонта изоляции.
7.4. На основании данных о работе средств ЭХЗ и расчетов по остаточному ресурсу выдаются рекомендации по совершенствованию системы ЭХЗ и ее приведению в нормативное состояние.
7.5. Результаты электрометрического диагностирования трубопроводов и заключение, сделанное на их основании, рекомендуется оформлять в виде отчета в соответствии с условиями договора.
7.6. Рекомендуемые требования к отчету по результатам электрометрии устанавливаются в НД эксплуатирующей организации.
8. Критерии для принятия решения о необходимости
ремонта изоляционного покрытия трубопровода
по результатам электрометрии
8.1 Решение о необходимости ремонта или замены изоляции на обследуемом участке трубопровода рекомендуется принимать в соответствии с
ГОСТ Р 51164-98 на основании сопоставления расчетной величины сопротивления обследуемой изоляции R
и с сопротивлением эталона качества изоляции R
э, где сопротивление эталона качества изоляции

с учетом срока эксплуатации обследуемого участка трубопровода:
Rэ = 0,33 · Rо при 5 <= t < 10 лет,
Rэ = 0,125 · Rо при 15 <= t < 20 лет,
Rэ = 0,043 · Rо при 20 <= t < 30 лет,
Rэ = 0,025 · Rо при 30 <= t < 35 лет,
где Rо - начальная величина сопротивления изоляции;
t - срок эксплуатации.
8.2. Если Rи < Rэ, то ремонт изоляции рекомендуется провести в следующие сроки:
- не позднее 5 лет с момента обследования при запасе мощности установки ЭХЗ, защищающей обследуемый участок, не менее 30%;
- не позднее 2 лет с момента обследования при запасе мощности установки ЭХЗ, защищающей обследуемый участок, от 30% до 10%.
8.3. Если Rи < 0,85 · Rэ, то рекомендуется провести замену изоляции в следующие сроки:
- не позднее 3 лет с момента обследования при запасе номинальной токоотдачи установки ЭХЗ, защищающей обследуемый участок трубопровода, не менее 30%;
- не позднее, чем на следующий год после обследования, при запасе номинальной токоотдачи установки ЭХЗ, защищающей обследуемый участок трубопровода, менее 30%.
к руководству по безопасности
"Рекомендации по техническому
диагностированию магистральных
нефтепроводов, нефтепродуктопроводов
и их составных частей",
утвержденному приказом Федеральной
службы по экологическому,
технологическому и атомному надзору
от 12 февраля 2025 г. N 40
РЕКОМЕНДУЕМЫЕ ВИДЫ РАБОТ,
ПРОВОДИМЫЕ ПРИ НАРУЖНОМ ДИАГНОСТИРОВАНИИ ПЕРЕХОДОВ
МАГИСТРАЛЬНЫХ ТРУБОПРОВОДОВ ЧЕРЕЗ ВОДНЫЕ ПРЕГРАДЫ
1. При проведении наружного диагностирования ПМТ через водные преграды рекомендуется проводить следующий комплекс работ:
а) периодическое частичное обследование ППМТ;
б) периодическое полное обследование ППМТ;
в) контрольное обследование - в период реконструкции, строительства и капитального ремонта;
г) нивелировка ВПМТ через водные преграды;
д) обследование ВПМТ через водные преграды.
2. При периодическом частичном обследовании ППМТ рекомендуется выполнять следующие полевые работы:
а) определение состояния русловых и береговых участков на предмет наличия и развития процессов эрозии: размывов берегов, развитие оврагов, промоин, оползней на береговых склонах и склонах долин, наличия провалов и пучения грунта, состояния и надежности берегоукрепления;
б) определение состояния пунктов планово-высотной геодезической основы, состояния информационных и опознавательных знаков, указателей маркерных пунктов и оборудования ППМТ;
в) организация временного водомерного поста и наблюдение на водомерном посту на период обследования русловой части ПМТ;
г) отдельные измерения скоростей течения;
д) топографическая съемка текущих изменений пойменных (береговых) участков;
е) определение планово-высотного положения трубопровода на русловых и пойменных (береговых) участках с выявлением участков заглубления трубопровода с отклонениями от нормативных показателей, оголениями и провисами;
ж) водолазное обследование участков с оголениями и провисами, уточнение их размеров, определение состояния балластировки, футеровки и изоляции на оголенных участках трубопровода.
3. При периодическом частичном обследовании рекомендуется выполнять следующие камеральные работы:
а) сбор и анализ материалов предыдущих полных и частичных периодических обследований, ремонтных работ, выполненных на ППМТ за последний период, анализ проектной и исполнительной документации;
б) анализ данных ВТД;
в) анализ технического состояния береговых участков, информационных и опознавательных знаков, пунктов планово-высотного обоснования, берегоукрепительных сооружений, береговых защитных сооружений;
г) анализ и обобщение результатов проведенного периодического частичного обследования, окончательная камеральная обработка материалов с составлением топографического плана ППМТ и профиля;
д) нанесение на топографический план текущих изменений в коридоре трассы МТ;
е) составление профиля ПМТ и нанесение на него оборудования ПМТ, номеров трубных секций, указателей береговых маркерных пунктов ВТД, границ участков недозаглублений, провисов, оголений с указанием пикетажа, ППРР по материалам последнего полного обследования, линий дна предыдущих трех обследований с указанием даты обследования и исполнителя, максимальных уровней воды 1% и 10% обеспеченности (по данным последнего полного обследования), дефектов с предельным сроком эксплуатации менее 8 лет от даты проведения обследования, выявленных внутритрубным диагностированием;
ж) определение технического состояния русловых и береговых участков, берегоукрепления, обваловок запорной арматуры, КПП СОД, наличие и состояние информационных знаков, наличие и состояние постоянных геодезических знаков (реперов), наличие и размеры оголений и провисов трубопровода;
з) составление рекомендаций по приведению ППМТ в нормативное состояние;
и) составление технического отчета по обследованию.
4. При периодическом полном обследовании рекомендуется выполнять следующие работы:
а) определение состояния русловых и береговых участков на предмет возникновения и активизации процессов эрозии: размывов берегов, развития оврагов, промоин, оползней на береговых склонах и склонах долины, наличия провалов и пучения грунта, состояния и надежности берегоукрепления;
б) определение состояния пунктов планово-высотной геодезической основы, состояния информационных и опознавательных знаков, указателей маркерных пунктов и оборудование ППМТ;
в) топографическая съемка пойменных (береговых) участков в границах охранной зоны перехода;
г) организация временного водомерного поста и наблюдение на водомерном посту на период обследования русловой части;
д) определение ПВП трубопровода на русловых и пойменных (береговых) участках с выявлением участков заглубления трубопровода с отклонениями от нормативных показателей;
е) водолазное обследование участков с оголениями и провисами, уточнение их размеров, определение состояния балластировки, футеровки и изоляции на оголенных и провисающих участках трубопровода;
ж) гидрографическая съемка дна водотока (водоема) и гидролокационная съемка дна на судоходных водотоках (водоемах);
з) гидрологические измерения параметров водотока:
- определение уклонов водной поверхности (на открытой воде);
- измерения скоростей и направления течения воды (поверхностных и по горизонтам в зависимости от ширины и глубины водотока) и вычисление расхода воды;
- изучение грунтов дна и берегов русла (при подмывах и обрушениях) с отбором донных и береговых проб;
и) гидроморфометрические исследования русла и поймы:
- определение преобладающего типа руслового процесса, деформаций дна и берегов;
- обследование и/или сбор исходных данных о гидротехнических сооружениях, оказывающих влияние на гидрологический режим на участке перехода;
к) камеральная обработка результатов полевых работ полного обследования, подготовка отчетных материалов.
5. При периодическом полном обследовании рекомендуется выполнять следующие камеральные работы:
а) сбор и анализ материалов предыдущих полных и частичных периодических обследований, ремонтных работ, выполненных на ППМТ за последние 5 лет, анализ проектной и исполнительной документации;
б) сбор, систематизация и анализ материалов исследований гидрологического режима реки прошлых лет, режимной гидрометеорологической информации;
в) анализ данных ВТД;
г) анализ технического состояния береговых участков, информационных и опознавательных знаков, пунктов планово-высотного обоснования, берегоукрепительных сооружений, защитных сооружений;
д) анализ и обобщение результатов проведенного периодического полного обследования, окончательная камеральная обработка материалов;
е) составление топографического плана, совмещенного с русловой съемкой, с нанесенными съемочными и промерными точками, береговой линией, линией тальвега, водомерным постом, гидроствором, морфоствором, водоохранной зоной, трассой МТ с указанием пикетажа и глубины залегания трубопровода, указателями маркерных пунктов ВТД, информационными и предупреждающими знаками, пунктами планово-высотной геодезической основы, оборудованием ППМТ, технологических трубопроводов и перемычек;
ж) составление профиля ПМТ, нанесение на него проектного и фактического положения трубопровода, номеров трубных секций, пикетажа указателей береговых маркерных пунктов ВТД, границ участков недозаглублений, провисов, оголений с указанием пикетажа, ППРР, линий дна предыдущих трех обследований с указанием даты обследования и исполнителя, уровни воды 1% и 10% обеспеченности, дефектов с предельным сроком эксплуатации менее восьми лет от даты проведения обследования, выявленных внутритрубным диагностированием;
з) составление раздела о гидрометеорологических исследованиях. При эксплуатации ППМТ следует производить проверочный расчет профиля предельного размыва русла и уровней воды 1% и 10% обеспеченности. При значительных деформациях берегов (более 2 м/год) и дна русла, профиль предельного размыва корректируется или рассчитывается заново. Пересчет 1% и 10% уровней обеспеченности выполняется с учетом данных последних лет наблюдений по мере накопления режимной гидрометрической информации, обновляемой не реже одного раза в 5 - 10 лет (в зависимости от природных условий);
и) составление чертежа-плана направлений и скоростей течений в границах руслового участка ППМТ (эпюры поверхностных, средних и донных скоростей на средних и больших реках, поверхностных - на малых реках (при средних глубинах до 1,5 м) при средних скоростях течения более 0,1 м/с);
к) составление чертежей распределения скоростей потока в поперечных сечениях русла по створам измеренных расходов (при максимальной глубине в гидрометрическом створе более 0,75 м);
л) составление совмещенного продольного профиля дна русла по тальвегу в границах русловой съемки;
м) графические приложения, обосновывающие расчеты уровней и расходов воды;
н) определение типа руслового процесса, тенденции его развития и интенсивности деформаций русла и поймы;
о) совмещенные планы деформаций русла и (или) берегов, выполненные за период с интервалом между съемками от пяти до семи лет и более, при необходимости, при скорости планового смещения русла более 2 м/год;
п) определение гранулометрического состава характерных проб донных и береговых отложений;
р) составление рекомендаций по приведению перехода в исправное состояние;
с) определение технического состояния русловых и береговых участков, берегоукрепления, обваловок запорной арматуры, КПП СОД, наличие и состояние информационных знаков, наличие и состояние постоянных геодезических знаков (реперов), наличие и размеры оголений и провисов трубопровода;
т) составление технического отчета по обследованию.
6. При проведении нивелировки ВПМТ через водные преграды рекомендуется выполнять следующие виды полевых работ:
а) организация временного водомерного поста и наблюдение за уровнем воды на водомерном посту в период обследования русловой части ПМТ;
б) отдельные измерения скоростей течения;
в) топографическая съемка текущих изменений береговых и пойменных участков перехода. Топографическая съемка текущих изменений выполняется в масштабе ранее выполненной съемки при последнем обследовании ПМТ;
г) определение ПВП трубопровода на пойменных участках с выявлением участков заглубления трубопровода с отклонениями от нормативных показателей. Определение глубины залегания трубопровода на пойменных участках производится в точках, расположенных друг от друга на расстоянии не более 10 м в масштабе топографической съемки М 1:500;
д) нивелировка конструкций ПМТ, определение действительных основных геометрических размеров ПМТ: длины пролета перехода L, стрелы прогиба трубопровода f
(рисунок 12);
е) определение состояния береговых участков на предмет наличия и развития процессов эрозии: размывов берегов, оврагов, промоин, оползней на береговых склонах и склонах долины, наличия провалов и пучения грунта, состояния и надежности берегоукрепления;
ж) определение состояния опор ВПМТ, пунктов планово-высотной геодезической основы, состояния информационных и опознавательных знаков, указателей маркерных пунктов и оборудование ВПМТ;
з) определение отклонений действительных положений элементов конструкций воздушных переходов от нормативных (проектных) значений;
и) камеральная обработка результатов полевых работ нивелировки, выпуск технического отчета.
7. При проведении нивелировки ВПМТ через водные преграды рекомендуется выполнять следующие виды камеральных работ:
а) сбор и анализ имеющихся материалов нивелировки прошлых лет (не менее последних 3 лет);
б) обработка результатов нивелирования, определение планово-высотных деформаций;
в) составление схемы ВПМТ с указанием расположения и координат контролируемых точек (при необходимости);
г) разработка рекомендаций по приведению ВПМТ в нормативное состояние;
д) нанесение на топографический план текущих изменений в коридоре трассы ВПМТ;
е) составление профиля ВПМТ и нанесение на него оборудования ВПМТ, номеров трубных секций, указателей береговых маркерных пунктов ВТД, ППРР по материалам последнего обследования, линий дна предыдущих трех обследований с указанием даты обследования и исполнителя, максимальных уровней воды 1%, 5% и 10% обеспеченности (по данным последнего обследования), дефектов с предельным сроком эксплуатации менее 8 лет от даты проведения обследования, выявленных ВТД;
ж) составление технического отчета.
8. При обследовании ВПМТ через водные преграды рекомендуется выполнять следующие виды полевых работ:
а) определение состояния пунктов планово-высотной геодезической основы, состояния информационных и опознавательных знаков, указателей маркерных пунктов, оборудования и защитных сооружений ВПМТ;
б) определение состояния береговых участков на предмет наличия и развития процессов эрозии: размывов берегов, оврагов, промоин, оползней на береговых склонах и склонах долины, наличия провалов и пучения грунта, состояния берегоукрепления;
в) определение состояния опор ВПМТ;
г) топографическая съемка пойменных участков в границах обследования. Топографическую съемку береговых (пойменных) участков в пределах границ охранной зоны ВПМТ следует выполнять в масштабе гидрографической съемки водотока (водоема);
д) гидрографическая съемка дна водотока (водоема). Гидрографическая съемка дна водотока (водоема) следует выполнять в масштабе 1:500;
е) гидрологические измерения параметров водотока:
- определение уклонов водной поверхности (в период открытого русла);
- измерения скоростей и направления течения воды (поверхностных и по горизонтам в зависимости от ширины и глубины водотока) и вычисление расхода воды;
ж) изучение грунтов дна и берегов русла (при подмывах и обрушениях) с отбором донных и береговых проб;
з) гидроморфометрические исследования русла и поймы;
и) определение преобладающего типа руслового процесса, деформаций дна и берегов;
к) обследование и/или сбор исходных данных о гидротехнических сооружениях, оказывающих влияние на гидрологический режим водотока на участке ПМТ;
л) технический контроль (ВИК) надземной части трубопровода, мест входа-выхода, несущих конструкций, опор;
м) приборное обследование технического состояния несущих конструкций ПМТ;
н) определение ПВП подземного участка трубопровода на пойменных участках с выявлением участков заглубления трубопровода с отклонениями от нормативных показателей. Определение глубины залегания трубопровода на пойменных участках производится в точках, расположенных на расстоянии друг от друга не более 10 м в масштабе топографической съемки 1:500;
о) нивелировка конструкций ПМТ, определение действительных основных геометрических размеров ПМТ;
п) водолазное обследование подводных частей несущих конструкций, опор берегоукрепления;
р) камеральная обработка результатов полевых работ.
9. При обследовании ВПМТ через водные преграды рекомендуется выполнять следующие виды камеральных работ:
а) сбор и анализ имеющихся материалов нивелировки и обследований прошлых лет;
б) составление топографического плана, нанесение трассы МТ, оборудования ВПМТ, промерных точек, указателей маркерных пунктов ВТД, информационно-предупреждающих знаков и дополнительного оборудования ВПМТ с указанием начала пикетажа, исходных реперов, водоохранной зоны;
в) составление профиля ПМТ с нанесением на него проектного и фактического положения трубопровода, номеров трубных секций, пикетажа указателей береговых маркерных пунктов ВТД, линий дна предыдущих трех обследований с указанием даты обследования и исполнителя, уровней воды 1%, 5% и 10% обеспеченности, дефектов с предельным сроком эксплуатации менее восьми лет от даты проведения обследования, выявленных ВТД;
г) анализ данных обследования несущих конструкций; расчет и анализ их напряженного состояния; построение эпюры напряжения;
д) разработка рекомендаций по приведению ВПМТ в нормативное состояние;
е) определение технического состояния русловых и береговых участков, берегоукрепления, защитных сооружений, наличие и состояние информационных знаков, наличие и состояние постоянных геодезических знаков (реперов), наличие и размеры оголений и провисов трубопровода;
ж) составление технического отчета.
Схемы воздушных переходов и основные контролируемые геометрические параметры приведены на
рисунке 12.
Контролируемые точки и допускаемые отклонения действительных положений элементов конструкций ВПМТ от значений, зафиксированных в исполнительной документации, рекомендуется указывать в паспорте ВПМТ.
Места расположения контролируемых точек на элементах конструкции рекомендуется маркировать с внесением их в технологическую схему ВПМТ, где указывается расположение и координаты маркеров контролируемых точек.
Рисунок 12. Схемы воздушных переходов и основные
контролируемые геометрические параметры
10. При контрольном обследовании ППМТ рекомендуется проводить следующие виды работ:
а) строительство ППМТ или его участка с заменой трубы траншейным методом;
б) капитальный ремонт ППМТ методом подбивки, засыпки;
в) выборочный ремонт дефектов на МТ в русловой части ППМТ.
11. Этапы и виды работ, рекомендуемые при проведении контрольного обследования при строительстве ППМТ через водную преграду.
11.1. Первый этап: до начала земляных работ в русле рекомендуется контролировать отметки земли, дна водоема для уточнения объемов необходимых земляных работ на соответствие проектным данным. При производстве первого этапа рекомендуется выполнение следующих видов полевых работ:
а) топографическая съемка участка планируемой замены трубы шириной 50 м (по 25 м от оси трубопровода) и по 25 м за границы участка по длине в масштабе гидрографической съемки;
б) организация временного поста и наблюдения на водомерном посту на период выполнения гидрографической съемки русловой части ППМТ;
в) гидрографическая съемка русловой части ППМТ в границах согласно
таблице N 15 в масштабе 1:500 для рек шириной до 300 м; в масштабе 1:1000 для рек шириной от 300 до 1000 м; в масштабе 1:2000 для рек шириной более 1000 м.
При производстве первого этапа рекомендуется выполнение следующих видов камеральных работ:
а) составление топографического плана, совмещенного с русловой съемкой участка;
б) составление продольного профиля по оси трассы проектируемого трубопровода;
в) оформление промежуточных отчетных материалов (план, профиль, акт, ведомость).
11.2. Второй этап: перед укладкой трубы рекомендуется контролировать соответствие фактических отметок дна траншеи и ее геометрии (ширина по дну, заложение откосов) требованиям проектной документации. При производстве второго этапа рекомендуется выполнение следующих видов полевых работ:
а) наблюдения на водомерном посту на период выполнения гидрографической съемки;
б) гидрографическая съемка разработанной траншеи в масштабе 1:500 для рек шириной до 300 м; в масштабе 1:1000 для рек шириной от 300 до 1000 м; в масштабе 1:2000 для рек шириной более 1000 м;
в) гидролокационная съемка траншеи;
г) водолазное обследование (при необходимости).
При производстве второго этапа рекомендуется выполнение следующих видов камеральных работ:
а) составление топографического плана, совмещенного с русловой съемкой участка;
б) составление продольного профиля по оси разработанной траншеи;
в) составление поперечных профилей разработанной траншеи;
г) оформление промежуточных отчетных материалов (план, профиль, акт, ведомость).
11.3. Третий этап: после протаскивания (укладки) дюкера рекомендуется контролировать соответствие фактических отметок верхней образующей трубы, уложенной в траншею, проектным отметкам, состояние футеровки и балластировки. При производстве третьего этапа рекомендуется выполнение следующих видов полевых работ:
а) наблюдения на водомерном посту на период выполнения промерных работ;
б) промеры глубин до верхней образующей трубы уложенного трубопровода. Определение глубины залегания трубопровода в интервале от 2 до 5 м, от 5 до 10 м и от 10 до 20 м при масштабах топографической съемки 1:500, 1:1000 и 1:2000 соответственно;
в) плановая и высотная привязка точек определения глубин залегания трубопровода в русле реки;
г) гидролокационная съемка траншеи с уложенным трубопроводом;
д) водолазное обследование трубопровода на предмет соответствия состояния футеровки и балластировки трубопровода требованиям проектной документации (при необходимости).
При производстве третьего этапа рекомендуется выполнение следующих видов камеральных работ:
а) составление топографического плана, совмещенного с русловой съемкой участка;
б) составление продольного профиля по оси уложенного трубопровода;
в) составление поперечных профилей траншеи с уложенным трубопроводом;
г) оформление промежуточных отчетных материалов (план, профиль, акт, ведомость).
11.4. Четвертый этап: после засыпки траншеи и проведения берегоукрепительных работ подводной части рекомендуется контролировать соответствие фактических отметок дна проектным отметкам, соответствие объемов и качества работ по берегоукреплению подводной части требованиям проектной документации.
При производстве четвертого этапа рекомендуется выполнение следующих видов полевых работ:
а) гидрографическая съемка руслового участка;
б) наблюдения на водомерном посту на период выполнения гидрографической съемки русловой части ППМТ;
в) гидрографическая съемка русловой части подводного перехода с уложенным и засыпанным трубопроводом в масштабе 1:500 для рек шириной до 300 м; в масштабе 1:1000 для рек шириной от 300 до 1000 м; в масштабе 1:2000 для рек шириной более 1000 м.
При производстве четвертого этапа рекомендуется выполнение следующих видов камеральных работ:
а) оформление топографического плана, совмещенного с русловой съемкой, с уложенным и засыпанным трубопроводом на участке работ и участке проведения берегоукрепительных работ подводной части;
б) оформление продольного профиля по оси уложенного и засыпанного трубопровода;
в) 3D-визуализация русловой части ППМТ в двух проекциях (по оси трубопровода и по направлению течения водотока);
г) оформление окончательного отчета.
12. Этапы и виды работ, рекомендуемые при проведении контрольного обследования при капитальном ремонте ППМТ методом подбивки, засыпки.
12.1. Первый этап: до начала земляных работ в русле рекомендуется контролировать отметки трубопровода, земли, дна водоема в месте проведения работ для уточнения объемов земляных работ на соответствие проектным данным.
При производстве первого этапа рекомендуется выполнение следующих видов полевых работ:
а) организация временного водомерного поста и наблюдения на водомерном посту на период выполнения гидрографической съемки русловой части подводного перехода;
б) гидрографическая съемка русловой части ППМТ в границах согласно
таблице N 15 в масштабе 1:500 для рек шириной до 300 м; в масштабе 1:1000 для рек шириной от 300 до 1000 м; в масштабе 1:2000 для рек шириной более 1000 м.
При производстве первого этапа рекомендуется выполнение следующих видов камеральных работ:
а) составление топографического плана, совмещенного с русловой съемкой на участке работ;
б) составление продольного профиля по оси трассы ремонтируемого трубопровод;
в) составление промежуточных отчетных материалов.
12.2. Второй этап: после укладки (отсыпки) банкетной призмы рекомендуется контролировать соответствие уложенной (отсыпанной) призмы требованиям проектной документации (при выполнении подбивки провисающего участка трубопровода).
При производстве второго этапа рекомендуется выполнение следующих видов полевых работ:
а) наблюдения на водомерном посту на период выполнения гидрографической съемки;
б) гидрографическая съемка уложенной (отсыпанной) призмы в масштабе 1:500;
в) водолазное обследование.
При производстве второго этапа рекомендуется выполнение следующих видов камеральных работ:
а) составление топографического плана руслового участка;
б) составление продольного профиля по оси уложенной (отсыпанной) призмы;
в) составление промежуточных отчетных материалов.
12.3. Третий этап: после засыпки трубопровода и проведения берегоукрепительных работ подводной части рекомендуется контролировать отметки дна водоема и соответствие требованиям проектной документации толщины защитного слоя над верхней образующей трубы.
При производстве третьего этапа рекомендуется выполнение следующих видов полевых работ:
а) наблюдения на водомерном посту на период выполнения гидрографической съемки русловой части ППМТ;
б) гидрографическая съемка русловой части участка ППМТ с засыпанным трубопроводом, в масштабе 1:500 для рек шириной до 300 м; в масштабе 1:1000 для рек шириной от 300 до 1000 м; в масштабе 1:2000 для рек шириной более 1000 м.
При производстве третьего этапа рекомендуется выполнение следующих видов камеральных работ:
а) составление топографического плана, совмещенного с русловой съемкой с засыпанным трубопроводом на участке работ и участка проведения берегоукрепительных работ подводной части;
б) составление продольного профиля по оси засыпанного трубопровода;
в) составление окончательного отчета.
13. Этапы и виды работ, рекомендуемые при проведении контрольного обследования при выборочном ремонте дефектов на МТ в русловой части ПМТ.
13.1. Первый этап: до начала земляных работ в русле рекомендуется контролировать отметки трубопровода, дна водоема в месте проведения работ для уточнения объемов планируемых земляных работ на соответствие проектным данным.
При производстве первого этапа рекомендуется выполнение следующих видов полевых работ:
а) топографическая съемка ремонтируемого участка трубопровода шириной 50 м (по 25 м от оси трубопровода) и по 25 м за границы участка по длине, в масштабе гидрографической съемки;
б) организация временного поста и наблюдения на водомерном посту на период выполнения гидрографической съемки русловой части ППМТ;
в) гидрографическая съемка русловой части ППМТ в масштабе 1:500.
При производстве первого этапа рекомендуется выполнение следующих видов камеральных работ:
а) составление топографического плана, совмещенного с русловой съемкой на участке работ;
б) составление продольного профиля по оси трассы ремонтируемого трубопровода;
в) оформление промежуточных отчетных материалов (план, профиль, акт, ведомость).
13.2. Второй этап: после разработки ремонтного котлована рекомендуется контролировать геометрические размеры котлована на соответствие проектным данным.
При производстве второго этапа рекомендуется выполнение следующих видов полевых работ:
а) наблюдения на водомерном посту на период выполнения гидрографической съемки;
б) гидрографическая съемка разработанного котлована в масштабе 1:500;
в) водолазное обследование.
При производстве второго этапа рекомендуется выполнение следующих видов камеральных работ:
а) составление продольного профиля по оси трубопровода;
б) составление профилей поперечных сечений котлована;
в) оформление промежуточных отчетных материалов (план, профиль, акт, ведомость).
13.3. Третий этап: после засыпки котлована и проведения дноукрепительных работ рекомендуется контролировать отметки дна водоема и соответствие требованиям проекта толщины защитного слоя над верхней образующей трубы.
При производстве третьего этапа рекомендуется выполнение следующих видов полевых работ:
а) наблюдения на водомерном посту на период выполнения гидрографической съемки русловой части подводного перехода;
б) гидрографическая съемка русловой части зоны ремонта ППМТ с засыпанным трубопроводом в масштабе 1:500.
При производстве третьего этапа рекомендуется выполнение следующих видов камеральных работ:
а) оформление топографического плана, совмещенного с русловой съемкой с засыпанным трубопроводом на участке работ и участка проведения дноукрепительных работ;
б) оформление продольного профиля по оси засыпанного трубопровода;
в) оформление окончательного отчета.
14. Рекомендуемые периодичность и продолжительность проведения обследований ПМТ.
Периодичность проведения обследований ПМТ через водные преграды рекомендуется установить в соответствии с таблицей N 11 и
таблицей N 12, в зависимости от ширины водной преграды в межень, судоходности и способа строительства ПМТ. Если при строительстве, замене или ремонте ПМТ выполнялись земляные работы в русле, первичное обследование рекомендуется выполнить в объеме полного обследования в период не ранее чем через один год, но не позднее чем через два года после ввода ПМТ в эксплуатацию.
Таблица N 11
Периодичность проведения обследования ППМТ
через водные преграды
Характеристика ППМТ | Периодичность обследования |
Характер русловых процессов | При отсутствии отклонений ПВП трубопровода от нормативного состояния по данным обследования | При наличии отклонений ПВП трубопровода от нормативного состояния по данным обследования |
Переходы МТ, построенные способом траншейной укладки, ННБ и микротоннелирования | Интенсивный | 1 раз в 2 года | Ежегодно |
Умеренный | 1 раз в 4 года | 1 раз в 2 года, но не более срока, назначенного ОТС по анализу русловых процессов и планово-высотного положения трубопровода |
Стабильный | 1 раз в 6 лет | 1 раз в 3 года, но не более срока, назначенного ОТС по анализу русловых процессов и планово-высотного положения трубопровода |
Переходы МТ через малые водотоки | 1 раз в 6 лет | 1 раз в 3 года |
Переходы МТ, выведенные из эксплуатации (консервация) | 1 раз в 6 лет и перед вводом в эксплуатацию |
Обследование проводится в указанный период, но не позднее, чем за 6 месяцев до окончания срока безопасной эксплуатации. Срок безопасной эксплуатации назначается по ОТС. Характер русловых процессов определяется по следующим значениям: интенсивный - Ср > 2, или Ам > 2, или Вм > 1,5; умеренный - 0,5 < Ср < 2, или 1 < Ам < 2, или 0,5 < Вм < 1,5; стабильный - Ср < 0,5, Ам < 1, Вм < 0,5, где Ср - скорость планового смещения русла реки, м/год. Ам - амплитуда отметок дна русла реки в пределах исследуемого участка, м. Вм - высота подвижных микроформ, м. |
Таблица N 12
Периодичность проведения обследования ПМТ
через водные преграды
Виды воздушных переходов | Периодичность обследования (нивелировки) |
Нивелировка | Обследование |
Воздушные переходы МТ через водные преграды | | 1 раз в 3 года, но не позднее 6 месяцев до окончания срока безопасной эксплуатации по результатам анализа технического состояния надземной части трубопровода, несущих конструкций, опор |
Воздушные переходы МТ через малые водотоки | | 1 раз в 5 лет |
<*> За исключением года проведения обследования ВПМТ. |
<**> Проводится силами эксплуатирующей организации. |
Продолжительность выполнения обследования ППМТ через водную преграду зависит от ширины водной преграды в межень, от вида обследования, объемов работ и приведена в таблице N 13.
Таблица N 13
Продолжительность выполнения обследования ППМТ
через водные преграды
Категория обследования | Продолжительность выполнения обследования (в рабочих днях) в зависимости от ширины водной преграды в межень, м |
От 10 до 30 | От 30 до 100 | От 100 до 200 | От 200 до 500 | От 500 до 1000 | От 1000 до 2000 | От 2000 до 3000 | Более 3000 |
Обследование перехода МТ через водную преграду | 2 | 3 | 5 | 8 | 10 | 12 | 15 | 18 |
Обследование перехода МТ через малый водоток | 1 | 2 | - | - | - | - | - | - |
Примечания. 1. На каждую дополнительно обследуемую нитку время работ увеличивается на 15%. 2. При выполнении топографической съемки время работ увеличивается из расчета 2 дня на 1 км пойменных участков. 3. При выполнении работ по определению планово-высотного положения КПП СОД, задвижек основной и резервной ниток и перемычки время работ увеличивается из расчета 0,5 дня на каждую площадку КПП СОД с запорной арматурой. |
15. Продолжительность выполнения обследования ВПМТ через водную преграду зависит от ширины водной преграды в межень, от вида обследования, объемов работ и приведена в таблице N 14.
Таблица N 14
Продолжительность выполнения обследования ВПМТ
через водные преграды
Категория обследования | Продолжительность выполнения обследования (в рабочих днях) в зависимости от ширины водной преграды в межень, м |
До 10 | От 10 до 20 | От 20 до 50 | От 50 до 100 | От 100 до 200 | Более 200 |
Нивелирование | 1 | 2 | 4 | 6 | 8 | 10 |
Обследование | 2 | 4 | 6 | 8 | 10 | 13 |
Примечание. При выполнении работ по обследованию имеющихся опор воздушного перехода время работ увеличивается из расчета 1 день на одну опору. |
16. Рекомендованные границы обследования ППМТ через водную преграду принимаются в соответствии с таблицей N 15 и
рисунками 13 -
16.
Таблица N 15
Границы обследования ППМТ через водные преграды
Вид обследования ППМТ | Русловая часть | Береговая часть |
выше створа перехода | ниже створа перехода |
Периодическое обследование ППМТ через водную преграду | 100 м | 100 м | Ширина полосы обследования - береговая полоса шириной 25 м в пределах охранной зоны. Полоса шириной 25 м от оси крайних ниток ППМТ в границах ППМТ, включая КПП СОД резервных ниток |
Обследование ППМТ через малый водоток | 25 м | 25 м | Полоса шириной 25 м от оси крайних ниток ППМТ через малый водоток в границах по 100 м выше и ниже по течению продукта в МТ от уреза воды |
Рисунок 13. Границы обследования основной нитки
однониточного ППМТ, не оборудованного запорной арматурой
Рисунок 14. Границы обследования основной нитки
однониточного ППМТ, оборудованного запорной арматурой
Рисунок 15. Границы обследования основной и резервной ниток
многониточного ППМТ
Рисунок 16. Границы обследования основной и резервной ниток
многониточного ППМТ (резервная нитка оборудована КПП СОД)
17. Рекомендуемые границы проведения обследования ВПМТ через водные преграды:
полоса шириной 50 м (по 25 м от оси нитки в обе стороны);
длина полосы обследования - в границах перехода (длина надземной части и участки подземной части по 50 м от мест выхода трубопровода из земли).
18. Состав, объемы и периодичность работ по обследованию, обслуживанию и ремонту ППМТ, выведенных из эксплуатации, приведены в таблице N 16.
Таблица N 16
Состав, объемы и периодичность работ на ППМТ,
выведенных из эксплуатации
Вид перехода | Состав работ | Периодичность выполнения работ |
Подводные переходы | Осмотр береговых и пойменных участков переходов трубопроводов через водные преграды, а также русловой части переходов, не требующих водолазного осмотра | Один раз в месяц |
Частичное обследование с промером глубины дна в створе переходов | |
Осмотр и восстановление предупреждающих знаков и сигнальных устройств на переходах через судоходные реки | Один раз в месяц |
Ликвидация обнаруженных оголенных участков | По необходимости |
Проверка состояния откосов и укрепления берегов | Один раз в два года |
Воздушные переходы | Осмотр состояния ВПМТ, береговых и промежуточных опор, креплений трубопровода к опорам, ограждений, водоотливных канав | Один раз в месяц |
Осмотр и ликвидация размывов, планировка откосов берегов, исправление береговых укреплений | Один раз в год |
Очистка от снега и льда водоотводных канав | По необходимости |
Осмотр и ремонт, окраска ограждений, предупреждающих знаков, восстановление надписей | Один раз в год |
19. По результатам обследований ПМТ через водную преграду рекомендуется составлять первичную и окончательную отчетную документацию.
Первичная документация:
а) при проведении частичного или полного обследования ПМТ через водную преграду:
- акт обследования ППМТ;
- акт обследования (нивелировки) воздушного перехода МТ через водную преграду;
б) при проведении контрольного обследования ПМТ через водную преграду:
- акт гидрографической съемки и водолазного обследования в створе ППМТ (до начала земляных работ в русле);
- акт гидрографической съемки и водолазного обследования (готовой подводной траншеи);
- акт гидрографической съемки и водолазного обследования в створе ППМТ (после укладки трубопровода);
- акт гидрографической съемки и водолазного обследования в створе ППМТ после укладки и замыва трубопровода;
в) при проведении нивелировки КПП СОД рекомендуется составлять акт проведения контроля геодезических отметок и нивелировки оси КПП СОД.
В окончательную документацию рекомендуется включать технический отчет по ПМТ через водную преграду с приложениями (в бумажном и электронном виде).
Технический отчет рекомендуется составлять и утверждать организацией, проводившей обследование, и согласовывать с организацией, выполняющей функции генеральной подрядной организации.
Технический отчет по результатам обследования состоит из текстовой и графической частей (картографические материалы, профили, фотографии).
В рекомендованную текстовую часть технического отчета входит:
а) месторасположение ПМТ, название водоема, дата проведения и объем выполненных работ по обследованию;
б) наименование организации, выполнившей обследование ПМТ, фамилии и должности исполнителей;
в) перечень нормативных документов, на основании которых проводилось обследование перехода МТ;
г) перечень используемого оборудования, приборов и инструмента со сроками метрологической аттестации;
д) краткая техническая характеристика ПМТ, данные о проведенных ремонтных работах, данные трех предыдущих обследований;
е) состав, объем и методы производства работ при выполнении обследований (нивелировки);
ж) гидрометеорологическая характеристика и планово-высотные деформации русла (при периодическом полном обследовании):
- физико-географическая характеристика района ПМТ;
- метеорологическая характеристика района ПМТ;
- гидрологическая характеристика реки;
- гидрологические работы и измерения на участке;
- расчетные гидрологические характеристики;
- русловые процессы и планово-высотные деформации русла.
Техническое состояние обследованного ППМТ по результатам периодического полного и частичного обследования рекомендуется определять по следующим параметрам:
а) техническое состояние русловых и береговых участков, берегоукрепления;
б) наличие и состояние информационных знаков;
в) наличие и состояние постоянных геодезических знаков (реперов);
г) наличие и размеры участков с недозаглублением, оголениями и провисами трубопровода;
д) состояние защитных обваловок запорной арматуры, КПП СОД:
- анализ данных нивелировки, расчет и анализ напряженного состояния трубопровода (для воздушного перехода);
- анализ данных обследования несущих конструкций; расчет и анализ их напряженного состояния (для воздушного перехода);
- рекомендации по приведению технического состояния ПМТ через водную преграду в нормативное состояние.
к руководству по безопасности
"Рекомендации по техническому
диагностированию магистральных
нефтепроводов, нефтепродуктопроводов
и их составных частей",
утвержденному приказом Федеральной
службы по экологическому,
технологическому и атомному надзору
от 12 февраля 2025 г. N 40
РЕКОМЕНДУЕМЫЕ ФОРМЫ ПРЕДУПРЕЖДАЮЩИХ ЗНАКОВ
Размеры знаков 200 x 400 мм. Цвет фона знаков белый. Цвет каймы знаков черный, толщина каймы 10 мм, расстояние от края знаков до края каймы 5 мм.
Цвет надписей "ОПАСНО - ВЫСОКОЕ ДАВЛЕНИЕ ВОЗДУХА!" и "ОПАСНО - ВЫСОКОЕ ДАВЛЕНИЕ ВОДЫ!" красный, размер шрифта на 25% больше, чем надпись черного цвета.
Цвет надписей "Испытания!" и "Вытеснение воды!" черный.
Цвет знака в соответствии с
ГОСТ 12.4.026-2015 "Межгосударственный стандарт. Система стандартов безопасности труда. Цвета сигнальные, знаки безопасности и разметка сигнальная. Назначение и правила применения. Общие технические требования и характеристики. Методы испытаний", введенным в действие
приказом Росстандарта от 10 июня 2016 г. N 614-ст. Длина стороны треугольника 150 мм.
к руководству по безопасности
"Рекомендации по техническому
диагностированию магистральных
нефтепроводов, нефтепродуктопроводов
и их составных частей",
утвержденному приказом Федеральной
службы по экологическому,
технологическому и атомному надзору
от 12 февраля 2025 г. N 40
(рекомендуемый образец)
на обозначение оборудования и открытых участков трубопровода
перед проведением испытаний
"__" _________ 20__ г.
Нами, представителями:
от организации, проводящей испытания
________________________________ _________________________;
(должность и организация) (фамилия, имя, отчество)
от организации, осуществляющей строительный контроль
________________________________ _________________________;
(должность и организация) (фамилия, имя, отчество)
от эксплуатирующей организации
________________________________ _________________________;
(должность и организация) (фамилия, имя, отчество)
составлен акт на установку предупреждающих знаков, вешек, сигнальной
ленты на участках/участке трубопровода _______________ с _______________ км
по ____ км (ПК ________ по ПК ________):
N п/п | Наименование обозначенного участка трубопровода (вантуз, задвижка, КПП СОД, выезд на вдольтрассовый проезд) | Привязка участка | Соответствие обозначения участка трубопровода требованиям НД (соответствует/ не соответствует) |
км | ПК |
| | | | |
| | | | |
| | | | |
Открытые участки трубопровода полностью обозначены, трубопровод готов к
проведению испытаний.
Приложение: Ситуационный план с обозначением мест установки
предупреждающих знаков, вешек с указанием строительного пикета и километра
трассы, сигнальной ленты на участке трубопровода __________________________
с _________ км по ________ км (ПК _______ по ПК _________).
Подписи:
________________________;
(фамилия, имя, отчество)
________________________;
(фамилия, имя, отчество)
________________________;
(фамилия, имя, отчество)
Сведения
о ежедневной проверке на обозначение оборудования
и открытых участков трубопровода перед проведением испытаний
N п/п | Наименование обозначенного участка трубопровода | Привязка участка | Соответствие обозначения участка трубопровода требованиям НД (соответствует/не соответствует) | Дата | Подпись | Должность, фамилия, инициалы |
км | ПК |
| | | | | | | |
| | | | | | | |
| | | | | | | |
| | | | | | | |
| | | | | | | |
| | | | | | | |
к руководству по безопасности
"Рекомендации по техническому
диагностированию магистральных
нефтепроводов, нефтепродуктопроводов
и их составных частей",
утвержденному приказом Федеральной
службы по экологическому,
технологическому и атомному надзору
от 12 февраля 2025 г. N 40
ОСНОВНЫЕ РЕКОМЕНДАЦИИ К ВЫПОЛНЕНИЮ ШУРФОВ
1. До начала работ по рытью шурфов трассу трубопровода следует обозначать на местности вешками ("провешена") на всей длине шурфа. Одновременно обозначают все другие коммуникации, проходящие параллельно, включая параллельные (резервные) нитки трубопровода, или пересекающие трубопровод в месте рытья шурфа, а также в зоне работы землеройных механизмов или стоянки техники.
2. Рытье шурфа рекомендуется производить по наряду-допуску в присутствии назначенного приказом лица (представителя эксплуатирующей организации), несущего ответственность за правильность определения местоположения трубопроводов и других коммуникаций.
3. Рытье механизированным способом (экскаватор, бульдозер) следует производить на расстоянии не менее 0,5 м от боковой образующей трубы МТ при условии отсутствия утечек нефти (нефтепродуктов). В случае наличия утечек рытье шурфа производится вручную без применения ударных инструментов (кирка, лом, кувалда) или с применением искробезопасного инструмента.
4. Доработку грунта на расстоянии 0,2 м от трубопровода до его поверхности рекомендуется производить только вручную без применения ударных инструментов во избежание повреждения трубы.
5. Глубину шурфа рекомендуется определять его назначением: шурфы, предназначенные для выполнения работ по ДДК, отрывают до необходимой для выполнения работ глубины (место обнаружения дефектов - на верхней, боковой или нижней образующей).
6. Ремонтные (подварку, вышлифовку) работы или работы по дефектоскопии рекомендуется вести на нижней образующей трубопровода. Изоляционные работы или ремонт с применением ПКМ следует вести при глубине шурфа не менее чем на 0,5 м ниже нижней образующей трубопровода.
7. При любой глубине шурф рекомендовано оборудовать двумя выходами в противоположные стороны. Выходы оснащаются инвентарными приставными лестницами шириной не менее 75 см и длиной не менее 1,25 глубины котлована, из расчета по две лестницы на каждую сторону торца котлована.
8. Крутизну откосов шурфа рекомендуется выполнять в зависимости от структуры и вида грунта для исключения опасности обрушения грунта. В случае если подобная опасность имеет место, рекомендуется укрепление стенок шурфа инвентарными щитами, шпунтовой доской или иными средствами, предохраняющими от обрушения грунта.
9. При рытье шурфа в обводненной местности или в местности с высоким уровнем грунтовых вод в шурфе следует предусматривать водоотвод (приямок, из которого механической помпой или вручную ведется постоянная или по мере его наполнения откачка воды).
10. После выравнивания дна шурфа рекомендуется обустраивать настил, обеспечивающий защиту от влаги и возможность свободно передвигаться.
11. Рекомендуется (для защиты от осадков, прямых солнечных лучей или пыли) защищать шурф палаткой или тентом.
12. Шурф принято ограждать по всему периметру. Ограждение изготавливается из ярких, хорошо заметных элементов. В ночное время на ограждении устанавливаются предупредительные сигнальные фонари. Сигнальное освещение ограждения шурфов рекомендуется обеспечивать в населенных пунктах, а также в других местах возможного нахождения людей.
13. Снятие ограждения рекомендуется производить после полной засыпки шурфа и восстановления защитного валика над трубопроводом или выполнения рекультивации в полном объеме.