Скачать ГОСТ 19792-87 Мед натуральный. Технические условия

Дата актуализации: 01.01.2021

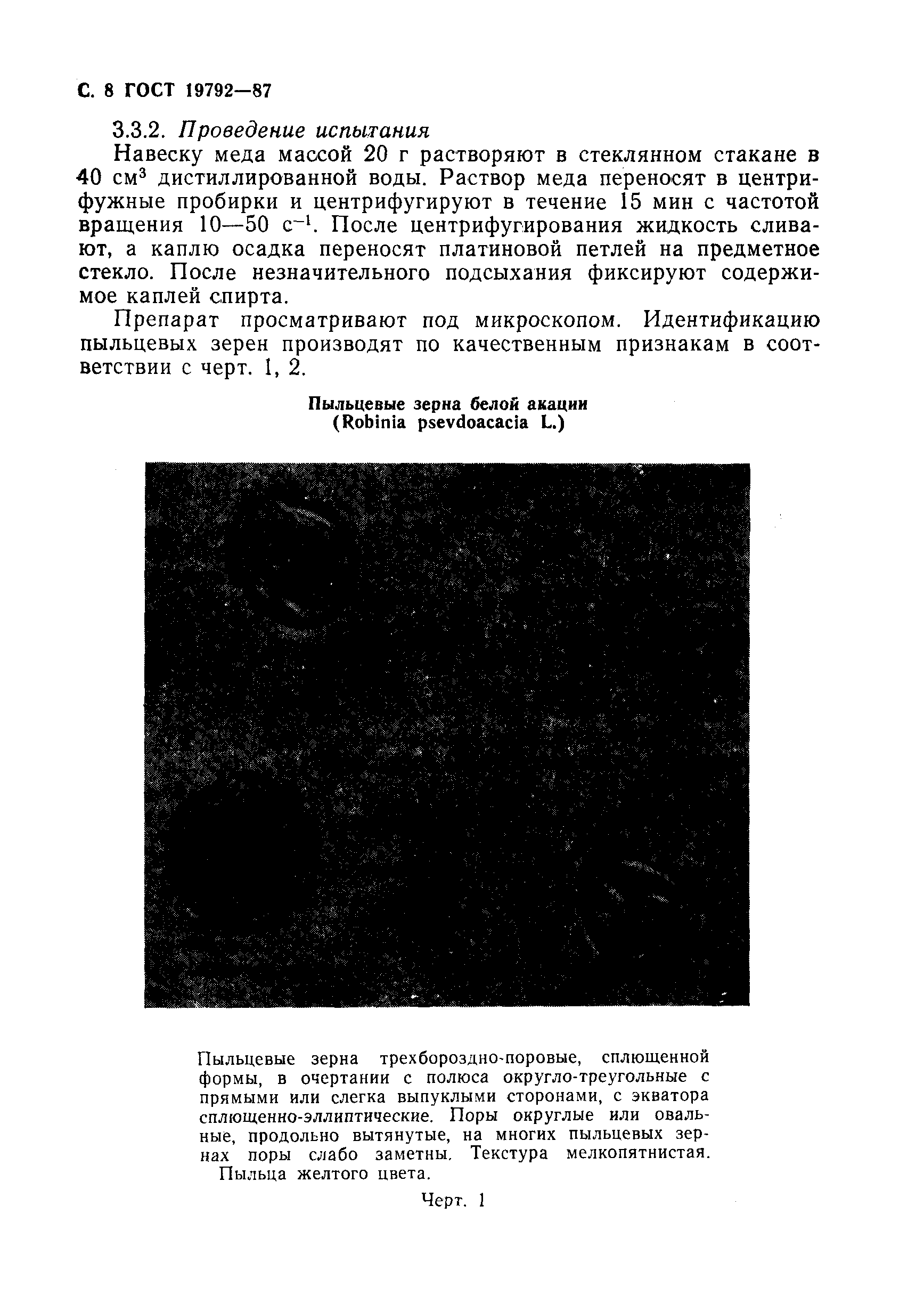
ГОСТ 19792-87

Мед натуральный. Технические условия

Обозначение: ГОСТ 19792-87
Обозначение англ: GOST 19792-87
Статус:заменен
Название рус.:Мед натуральный. Технические условия
Название англ.:Honey natural. Specifications
Дата добавления в базу:01.10.2014
Дата актуализации:01.01.2021
Дата введения:01.01.1989
Дата окончания срока действия:01.07.2002
Область применения:Стандарт распространяется на натуральный мед - продукт переработки медоносными пчелами нектара или пади, представляющий собой сиропообразную жидкость или закристаллизованную массу различной консистенции и размера кристаллов, бесцветную (белого цвета) или с окраской желтых, коричневых или бурых тонов, заготовляемый, прошедший товарную подработку и реализуемый.
Оглавление:1. Технические требования
2. Приёмка
3. Методы испытаний
4. Транспортирование и хранение
Приложение (справочное) Термины и пояснения
Разработан: Госагропром СССР
Утверждён:30.12.1987 Госстандарт СССР (USSR Gosstandart 5105)
Издан: Издательство стандартов (1988 г. )
Список изменений:
Заменяет собой:
  • ГОСТ 19792-74 «Мед натуральный. Технические условия»
Нормативные ссылки:
ГОСТ 19792-87ГОСТ 19792-87ГОСТ 19792-87ГОСТ 19792-87ГОСТ 19792-87ГОСТ 19792-87ГОСТ 19792-87ГОСТ 19792-87ГОСТ 19792-87ГОСТ 19792-87ГОСТ 19792-87ГОСТ 19792-87ГОСТ 19792-87ГОСТ 19792-87ГОСТ 19792-87ГОСТ 19792-87ГОСТ 19792-87ГОСТ 19792-87ГОСТ 19792-87ГОСТ 19792-87ГОСТ 19792-87ГОСТ 19792-87ГОСТ 19792-87ГОСТ 19792-87ГОСТ 19792-87ГОСТ 19792-87ГОСТ 19792-87ГОСТ 19792-87

Текстовое изменение № 1 от 01.05.1989

№ 1№ 1№ 1

Текстовое изменение № 2 от 01.10.1990

№ 2№ 2