Скачать ГОСТ 25930-83 Крышки пластмассовые для цилиндрических соединителей. Технические условия

Дата актуализации: 01.01.2021

ГОСТ 25930-83

Крышки пластмассовые для цилиндрических соединителей. Технические условия

Обозначение: ГОСТ 25930-83
Обозначение англ: GOST 25930-83
Статус:введен впервые
Название рус.:Крышки пластмассовые для цилиндрических соединителей. Технические условия
Название англ.:Plastic covers for cylindrical connectors. Specifications
Дата добавления в базу:01.09.2013
Дата актуализации:01.01.2021
Дата введения:01.01.1985
Область применения:Стандарт распространяется на пластмассовые крышки, предназначенные для защиты контактных частей электрических цилиндрических соединителей от загрязнений, механических повреждений при транспортировании, хранении и эксплуатации изделий.
Оглавление:1 Классификация
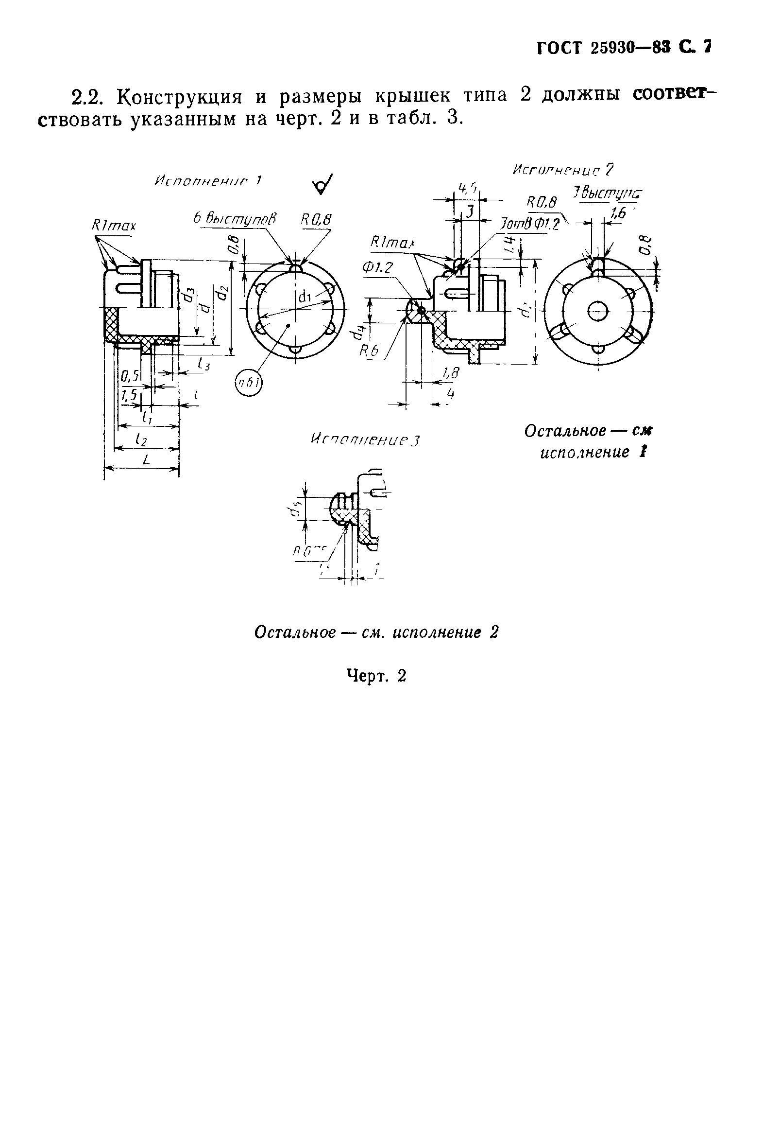
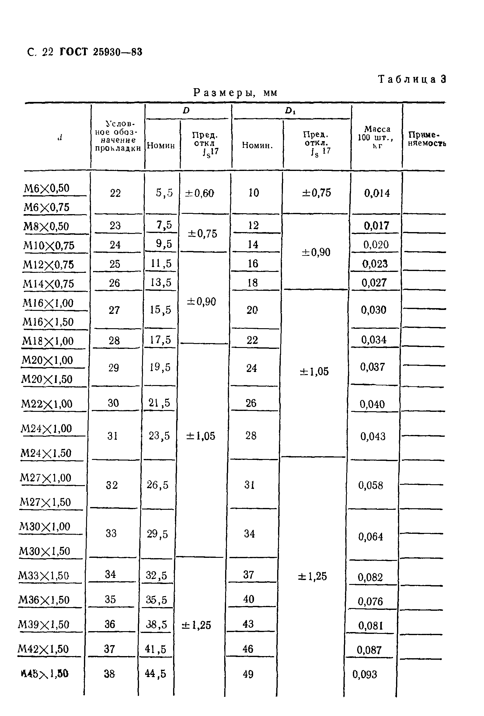
2 Конструкция и размеры
3 Технические требования
4 Правила приемки
5 Методы контроля
6 Маркировка, упаковка, транспортирование и хранение
Приложение 1 (обязательное) Конструкция и размеры деталей крепления и уплотнительных прокладок
Приложение 2 (обязательное) Примеры установки крышек на соединители
Разработан: Министерство общего машиностроения
Утверждён:30.09.1983 Госстандарт СССР (USSR Gosstandart 4751)
Издан: Издательство стандартов (1983 г. )
Издательство стандартов (1989 г. )
Нормативные ссылки:
ГОСТ 25930-83ГОСТ 25930-83ГОСТ 25930-83ГОСТ 25930-83ГОСТ 25930-83ГОСТ 25930-83ГОСТ 25930-83ГОСТ 25930-83ГОСТ 25930-83ГОСТ 25930-83ГОСТ 25930-83ГОСТ 25930-83ГОСТ 25930-83ГОСТ 25930-83ГОСТ 25930-83ГОСТ 25930-83ГОСТ 25930-83ГОСТ 25930-83ГОСТ 25930-83ГОСТ 25930-83ГОСТ 25930-83ГОСТ 25930-83ГОСТ 25930-83ГОСТ 25930-83ГОСТ 25930-83ГОСТ 25930-83ГОСТ 25930-83ГОСТ 25930-83ГОСТ 25930-83ГОСТ 25930-83ГОСТ 25930-83