Скачать Р 50.2.033-2004 Государственная система обеспечения единства измерений. Электроды сравнения для электрохимических измерений. Методика поверкиДата актуализации: 01.01.2021
|
| Обозначение: | Р 50.2.033-2004 |
| Обозначение англ: | R 50.2.033-2004 |
| Статус: | действует |
| Название рус.: | Государственная система обеспечения единства измерений. Электроды сравнения для электрохимических измерений. Методика поверки |
| Дата добавления в базу: | 01.09.2013 |
| Дата актуализации: | 01.01.2021 |
| Дата введения: | 01.03.2004 |
| Область применения: | Рекомендации распространяются на эталонные электроды сравнения 2-го разряда (далее — эталонные электроды сравнения), в том числе электрод сравнения хлорсеребряный насыщенный образцовый 2-го разряда ЭСО-01 по ГОСТ 17792, промышленные и лабораторные электроды сравнения (далее — рабочие электроды сравнения), в том числе вспомогательные промышленные по ГОСТ 16286, и устанавливают методы и средства первичной и периодических поверок. Электроды сравнения предназначены для создания опорного потенциала при проведении потенциометрических, вольтамперометрических и других электрохимических измерений. Рекомендуемый межповерочный интервал — один год. |
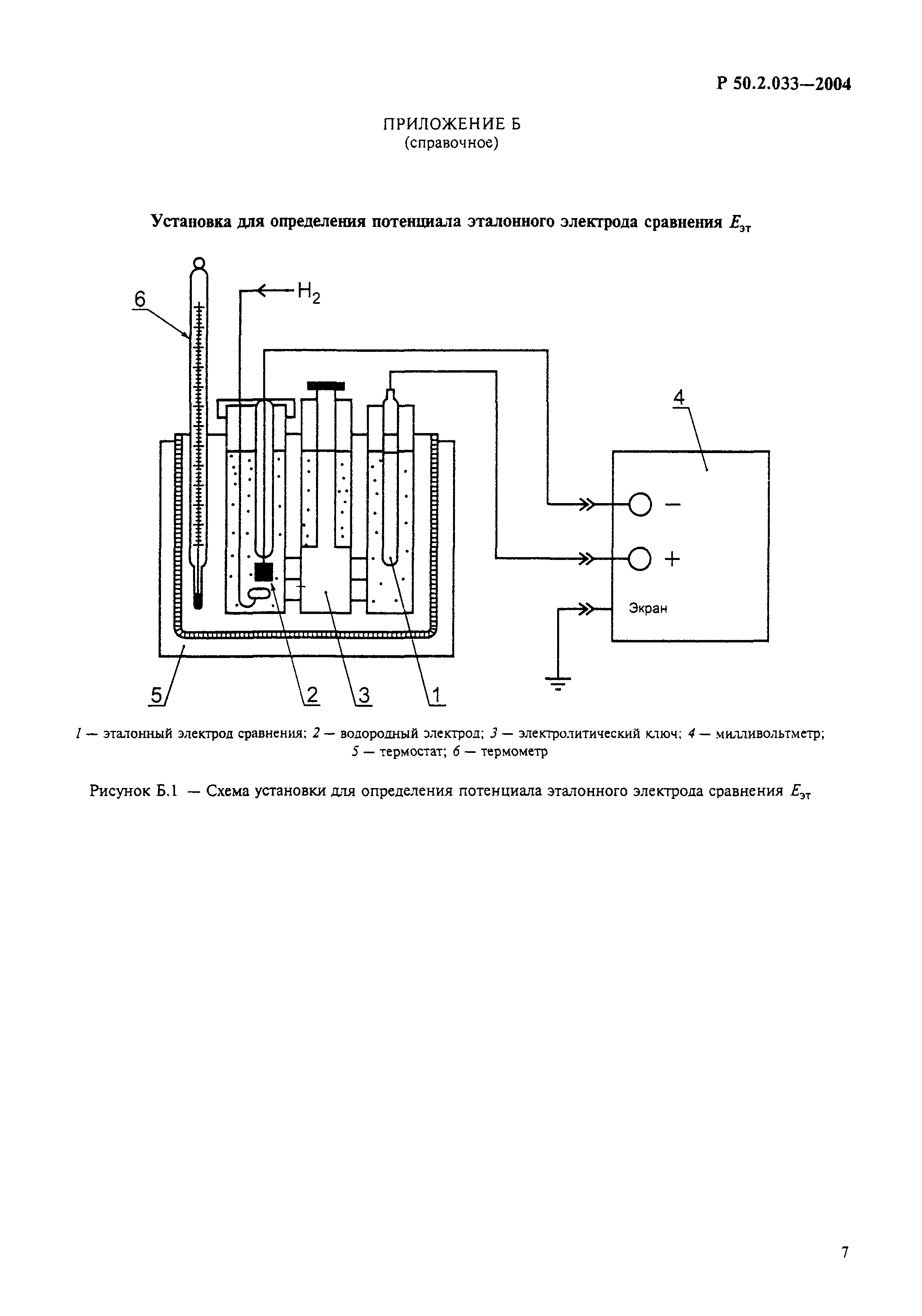
| Оглавление: | 1 Область применения 2 Нормативные ссылки 3 Термины и определения 4 Операции поверки 5 Средства поверки 6 Требования к квалификации поверителей 7 Требования безопасности 8 Условия поверки и подготовка к ней 9 Проведение поверки 10 Оформление результатов поверки Приложение А Методика приготовления растворов хлорида калия Приложение Б Установка для определения потенциала эталонного электрода сравнения Еэт Приложение В Методика подготовки водородных электродов Приложение Г Электрохимическая ячейка для определения потенциала эталонного электрода Еэт Приложение Д Установка для определения потенциала рабочего электрода сравнения Еср Приложение Е Библиография |
| Разработан: | ГП ВНИИФТРИ |
| Утверждён: | 30.01.2004 Госстандарт России (Russian Federation Gosstandart 45-ст) |
| Издан: | ФГУП ВНИИОФИ (2004 г. ) |
| Заменяет собой: |
|
| Нормативные ссылки: |
|














