Скачать Методические рекомендации Методические рекомендации по применению объемной георешетки типа ГЕОВЕБ при сооружении автомобильных дорог в районах вечной мерзлоты Западной Сибири (для опытного строительства)Дата актуализации: 01.01.2021
|
| Обозначение: | Методические рекомендации |
| Обозначение англ: | Recommended Practice |
| Статус: | действует |
| Название рус.: | Методические рекомендации по применению объемной георешетки типа "ГЕОВЕБ" при сооружении автомобильных дорог в районах вечной мерзлоты Западной Сибири (для опытного строительства) |
| Дата добавления в базу: | 01.09.2013 |
| Дата актуализации: | 01.01.2021 |
| Дата введения: | 05.11.2003 |
| Область применения: | Предназначены для проектирования и строительства в условиях зоны вечной мерзлоты Западносибирского региона опытных участков автомобильных дорог с применением в конструкциях дорожных одежд, элементах земляного полотна и защитных укреплений поверхности прилегающих территорий объемных георешеток типа "Геовеб" |
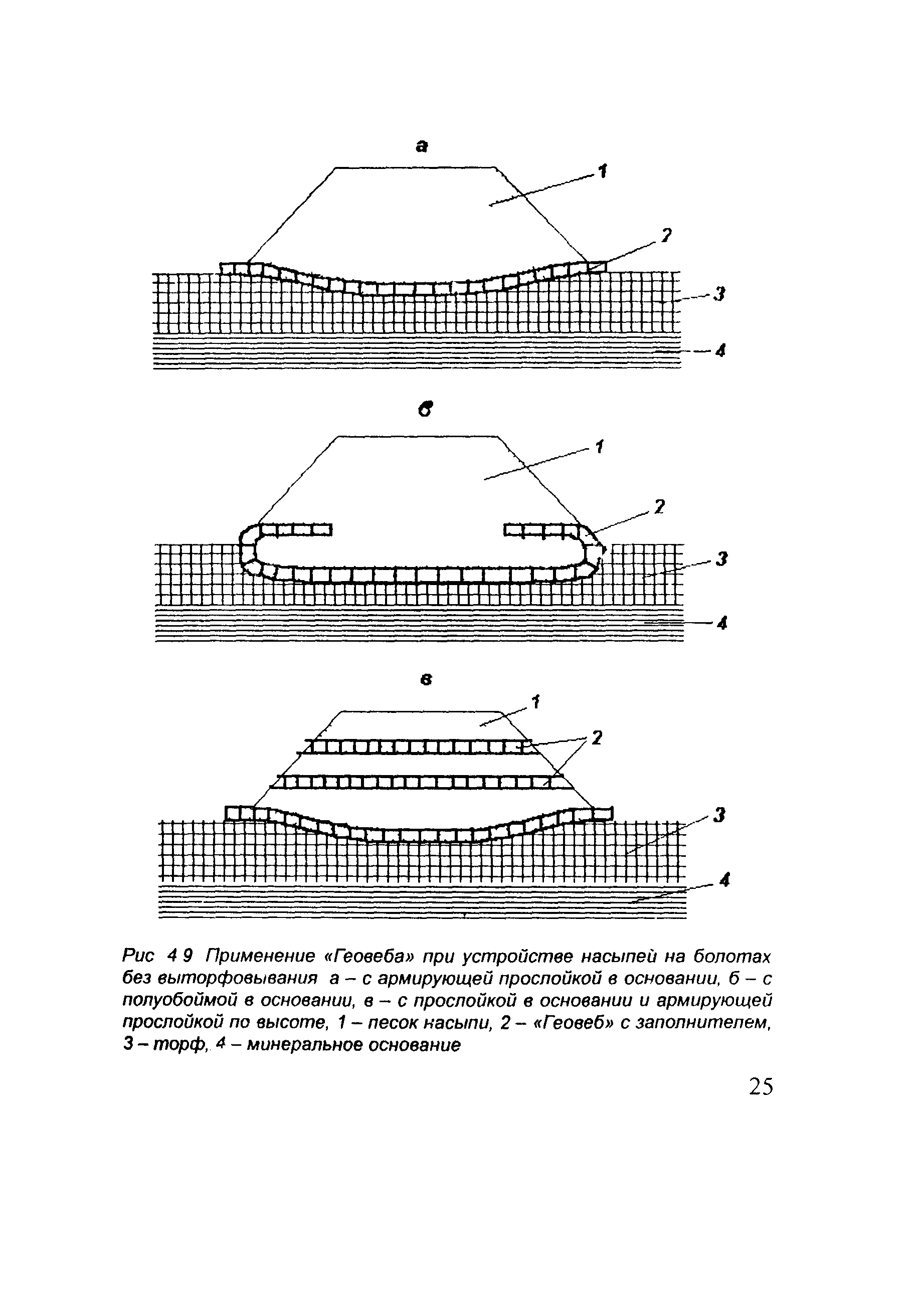
| Оглавление: | Предисловие 1 Общие положения 2 Номенклатура объемных георешеток "Геовеб" 3 Особенности инженерно-геокриологических условий районов вечной мерзлоты Западной Сибири, учитываемые при использовании "Геовеба" 4 Варианты схем конструктивных решений с использованием объемной георешетки "Геовеб" 5 Особенности расчета на прочность дорожных одежд с конструктивными слоями на основе "Геовеба" с заполнителями 6 Учет геокриологических процессов при проектировании дорожных конструкций с использованием "Геовеба" 7 Особенности расчета устойчивости откосов, укрепленных при помощи георешетки "Геовеб" 8 Технология и организация работ по устройству конструктивных слоев на основе "Геовеба" Приложение 1 Основы методики определения упругой характеристики конструктивного композитного слоя, включающего "Геовеб" Приложение 2 Номенклатура георешеток "Геовеб" Приложение 3 Физико-механические характеристики георешетки "Геовеб" |
| Разработан: | СоюздорНИИ |
| Утверждён: | 05.11.2003 Союздорнии (Soyuzdornii ) |
| Издан: | Союздорнии (2003 г. ) |
| Нормативные ссылки: |
|

















































