Скачать ОСТ 45.170-2000 Системы дистанционного управления и контроля таксофонов. Общие технические требования, методы испытаний и контроля

Дата актуализации: 01.01.2021

ОСТ 45.170-2000

Системы дистанционного управления и контроля таксофонов. Общие технические требования, методы испытаний и контроля

Обозначение: ОСТ 45.170-2000
Обозначение англ: OST 45.170-2000
Статус:не определен законодательством
Название рус.:Системы дистанционного управления и контроля таксофонов. Общие технические требования, методы испытаний и контроля
Дата добавления в базу:01.09.2013
Дата актуализации:01.01.2021
Дата введения:01.05.2001
Дата окончания срока действия:30.06.2003
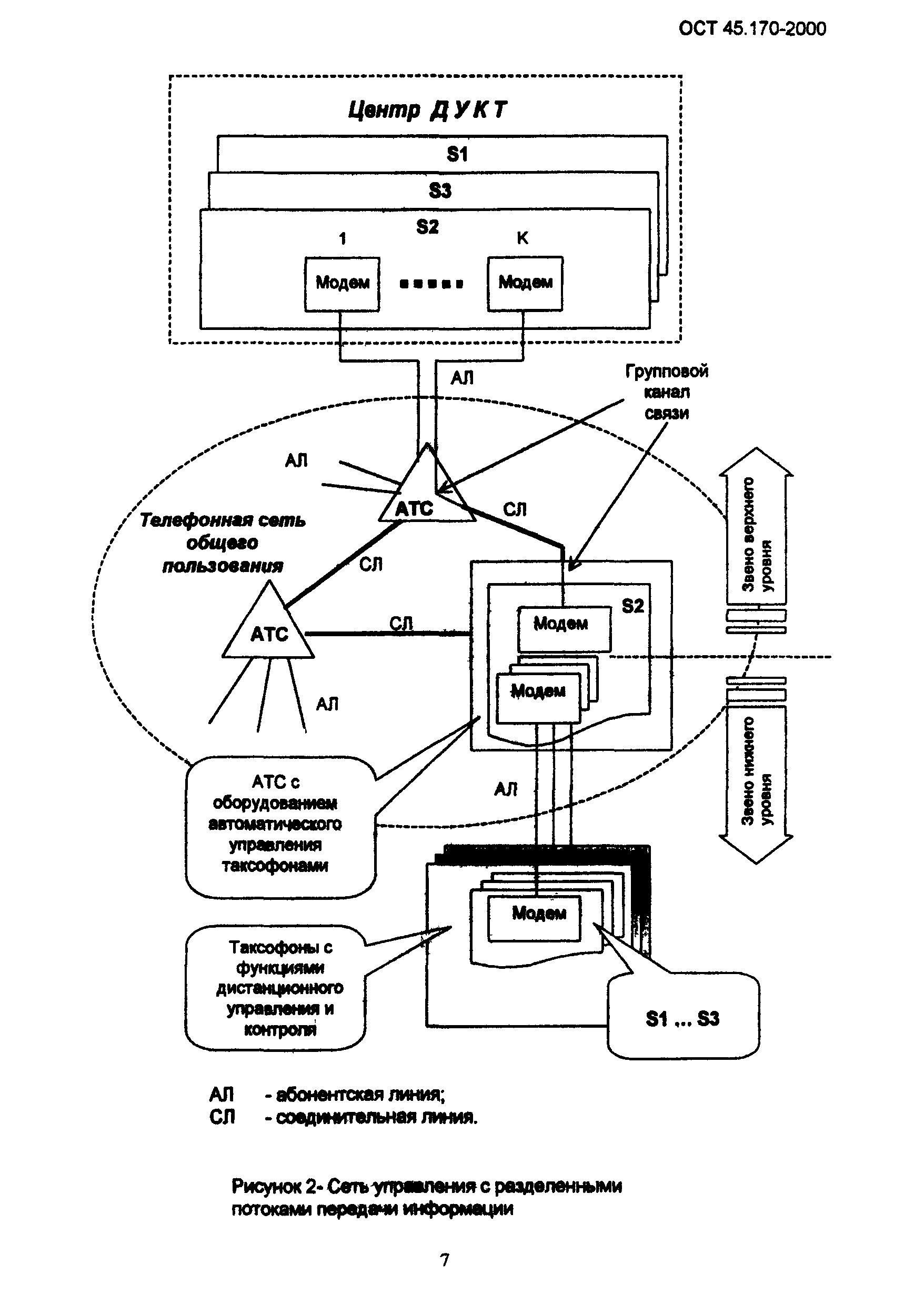
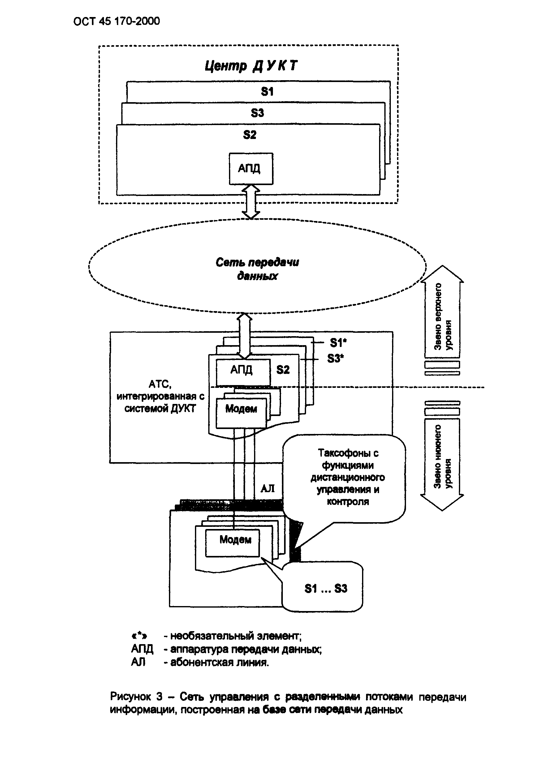
Область применения:Стандарт распространяется на системы дистанционного управления и контроля таксофонов (системы ДУКТ). Стандарт устанавливает общие технические требования, методы испытаний и контроля систем ДУКТ. Стандарт предназначен для использования при разработке, модернизации, эксплуатации и сертификации систем ДУКТ, оборудования центров дистанционного управления и контроля таксофонов (центров ДУКТ), оборудования АТС и таксофонов с функциями дистанционного управления и контроля.
Оглавление:1 Область применения
2 Нормативные ссылки
3 Определения, обозначения и сокращения
4 Классификация
5 Общие технические требования
6 Методы испытаний и контроля
Разработан: ЛОНИИС
Утверждён:29.01.2001 Минсвязи России (Russian Federation Minsvyazi 521)
Издан: ЦНТИ Информсвязь (2001 г. )
Нормативные ссылки:
ОСТ 45.170-2000ОСТ 45.170-2000ОСТ 45.170-2000ОСТ 45.170-2000ОСТ 45.170-2000ОСТ 45.170-2000ОСТ 45.170-2000ОСТ 45.170-2000ОСТ 45.170-2000ОСТ 45.170-2000ОСТ 45.170-2000ОСТ 45.170-2000ОСТ 45.170-2000ОСТ 45.170-2000ОСТ 45.170-2000ОСТ 45.170-2000ОСТ 45.170-2000ОСТ 45.170-2000ОСТ 45.170-2000ОСТ 45.170-2000ОСТ 45.170-2000ОСТ 45.170-2000ОСТ 45.170-2000