МИНИСТЕРСТВО РОССИЙСКОЙ
ФЕДЕРАЦИИ ПО СВЯЗИ И ИНФОРМАТИЗАЦИИ

 

СТАНДАРТ ОТРАСЛИ

СИСТЕМЫ ДИСТАНЦИОННОГО УПРАВЛЕНИЯ И
КОНТРОЛЯ ТАКСОФОНОВ

Общие технические требования,
методы испытаний и контроля

ОСТ 45.170-2000

 

 

 

 

ЦНТИ «ИНФОРМСВЯЗЬ»

Москва - 2001

 

 

 

ПРЕДИСЛОВИЕ

1 РАЗРАБОТАН Ленинградским Отраслевым Научно-исследовательским Институтом Связи (ЛОНИИС)

ВНЕСЕН Научно-техническим управлением Минсвязи России

2 УТВЕРЖДЕН Минсвязи России

3 ВВЕДЕН В ДЕЙСТВИЕ информационным письмом от 29.01.2001 г. № 521

4 ВВЕДЕН ВПЕРВЫЕ

 

ОСТ 45.170-2000

СТАНДАРТ ОТРАСЛИ

СИСТЕМЫ ДИСТАНЦИОННОГО
УПРАВЛЕНИЯ И КОНТРОЛЯ ТАКСОФОНОВ

Общие технические требования, методы испытаний и контроля

Дата введения 2001-05-01

1 Область применения

Настоящий стандарт распространяется на системы дистанционного управления и контроля таксофонов (системы ДУКТ).

Стандарт устанавливает общие технические требования, методы испытаний и контроля систем ДУКТ.

Стандарт предназначен для использования при разработке, модернизации, эксплуатации и сертификации систем ДУКТ, оборудования центров дистанционного управления и контроля таксофонов (центров ДУКТ), оборудования АТС и таксофонов с функциями дистанционного управления и контроля.

2 Нормативные ссылки

В настоящем стандарте использованы ссылки на следующие стандарты:

ГОСТ 12.0.003-74 ССБТ. Опасные и вредные производственные факторы. Классификация

ГОСТ 12.2.003-91 ССБТ. Общие требования безопасности

ГОСТ 12.2.032-78 ССБТ. Рабочее место при выполнении работ сидя. Общие эргономические требования

ГОСТ 19.101-77. ЕСПД. Виды программ и программных документов

ГОСТ 27.310-95 Надежность в технике. Анализ видов, последействий и критичности отказов. Основные положения

ГОСТ 34.201-89 Информационная технология. Комплекс стандартов и руководящих документов на автоматизированные системы. Виды, комплектность и обозначение документов при создании автоматизированных систем

ГОСТ 34.601-89 Информационная технология. Комплекс стандартов на автоматизированные системы. Автоматизированные системы. Стадии создания

ГОСТ 34.602-89 Информационная технология. Комплекс стандартов и руководящих документов на автоматизированные системы. Техническое задание на создание автоматизированной системы

ГОСТ 34.603-92 Информационная технология. Виды испытаний автоматизированных систем

ГОСТ 5237-83 Аппаратура электросвязи. Напряжения литания и методы измерений

ГОСТ 13109-87 Электрическая энергия. Требования к качеству электрической энергии в электрических сетях общего назначения

ГОСТ 15150-69 Машины, приборы и другие технические изделия. Исполнения для различных климатических районов. Категории, условия эксплуатации, хранения и транспортирования в части воздействия климатических факторов внешней среды

ГОСТ 21552-84 Средства вычислительной техники. Общие технические требования, правила приемки, методы испытаний, маркировка, упаковка, транспортирование и хранение

ГОСТ 25861-83 Машины вычислительные и системы обработки данных. Требования электрической и механической безопасности испытаний

ГОСТ 26557-85 Сигналы передачи данных, поступающие в каналы связи Энергетические параметры

ГОСТ 27049-86 Защита оборудования проводной связи и обслуживающего персонала от атмосферных разрядов

ГОСТ 28195-89 Оценка качества программных средств. Общие положения

ГОСТ 29216-91 Совместимость технических средств электромагнитная Радиопомехи индустриальные от оборудования информационной техники. Нормы и методы испытаний

ГОСТ 30428-96 Совместимость технических средств электромагнитная. Радиопомехи индустриальные от аппаратуры проводной связи. Нормы и методы испытаний

ГОСТ Р 50628-93 Совместимость электромагнитная машин электронных вычислительных персональных. Устойчивость к электромагнитным помехам. Технические требования и методы испытаний

ГОСТ Р 50739-95 Средства вычислительной техники Защита от несанкционированного доступа к информации. Общие технические требования

ГОСТ Р 50839-95 Совместимость технических средств электромагнитная Устойчивость средств вычислительной техники и информатики к электромагнитным помехам. Требования и методы испытаний

ГОСТ Р 50923-96 Дисплеи. Рабочее место оператора. Общие эргономические требования и требования к производственной среде. Методы измерения

ГОСТ Р 50932-96 Устойчивость оборудования проводной связи к электромагнитным помехам. Требования и методы испытаний

ОСТ 4.209.007-82 Элементы заземления. Технические условия

ОСТ 45.36-86 Линии кабельные, воздушные и смешенные городских телефонных сетей

ОСТ 45.54-95 Стыки оконечных абонентских телефонных устройств и автоматических телефонных станций

ОСТ 45.58-96 Таксофонное оборудование для дебетной системы оплаты разговоров. Составные части и стыки. Основные параметры и общие технические требования

3 Определения, обозначения и сокращения

3.1 В стандарте использованы следующие термины с соответствующими определениями.

3.1.1 Система дистанционного управления и контроля таксофонов -автоматизированная система управления, включающая в себя комплекс программных и аппаратных средств центров эксплуатации таксофонов, АТС, таксофонного оборудования, обеспечивающих автоматический контроль и управление таксофонами телефонной сети общего пользования.

3.1.2 Система защиты информации - подсистема управления информацией, предназначенная для защиты информации от несанкционированного доступа при ее передаче, хранении и обработке.

3.1.3 Центр дистанционного управления и контроля (центр эксплуатации) таксофонов - центральный или узловой элемент сети управления таксофонов, включающий в себя комплекс оборудования для дистанционного автоматизированного управления и контроля таксофонами.

3.1.4 Сеть управления (таксофонов) - вторичная сеть передачи данных между таксофонами и центром (центрами) дистанционного управления и контроля таксофонов.

3.1.5 Архитектура системы ДУКТ - общая логическая организация системы ДУКТ, определяющая состав, функции и принципы взаимодействия ее элементов.

3.1.6 Таксофон с функциями дистанционного управления и контроля - таксофон, содержащий аппаратные и программные средства системы ДУКТ.

3.1.7 Оборудование автоматического управления таксофонами - оборудование системы ДУКТ, размещаемое на АТС и центре (центрах) дистанционного управления и контроля таксофонов.

3.1.8 Аутентификация - процесс оперативного сбора и обработки информации о средствах безналичной оплаты с целью подтверждения их подлинности.

3.1.9 Аппаратные и программные средства (системы ДУКТ) - совокупность технических средств, представляющих собой одно или несколько изделий, или их часть, обеспечивающих выполнение определенных функций (системы ДУКТ) в соответствии с их топологией и загруженной в них программой.

3.1.10 Обслуживание таксофона в реальном времени - способ организации передачи информации в системе ДУКТ между таксофоном и центром ДУКТ, при котором для передачи одного пакета информации осуществляется один сеанс связи.

3.1.11 Обслуживание таксофона с отложенным доступом - способ организации передачи информации в системе ДУКТ между таксофоном и центром ДУКТ, при котором для передачи одного пакета информации осуществляются два или более сеанса связи, производимых на разных уровнях иерархической сети управления с задержкой относительно друг друга.

3.2 В стандарте приняты следующие сокращения:

АЗТ - аппаратура защиты таксофонов;

АТС - автоматическая телефонная станция;

ДУКТ - дистанционное управление и контроль таксофонов.

4 Классификация

4.1 Классификация систем ДУКТ приведена в таблице 1. Классификация устанавливает четыре класса систем ДУКТ. Класс системы ДУКТ определяет ее архитектуру, производительность, условия применения и технический уровень

4.1.1 Система ДУКТ класса I имеет простую радиально-узловую структуру сети управления, где каждый таксофон непосредственно соединен с центром ДУКТ. Фрагмент сети управления с непосредственной связью центра ДУКТ и таксофонов приведен на рисунке 1. Для осуществления связи таксофонов с центром ДУКТ используются аналоговые коммутируемые каналы связи телефонной сети общего пользования. Оборудование автоматического управления таксофонами, размещаемое в центре ДУКТ, включается в аналоговые абонентские линии как оконечное оборудование телефонной сети общего пользования (по ОСТ 45.54). Количество абонентских линий, используемых центром ДУКТ, определяется суммарной пропускной способностью каналов связи, необходимой для передачи в течение одного цикла обслуживания таксофонов информации, накопленной за установленный период времени в системе ДУКТ.

Таблица 1

Классификационный параметр

Класс системы ДУКТ

I

II

III

IV

1 Схема построения сети управления

Рисунок 1

Рисунок 2,3

Рисунок 2

Рисунок 3

2 Режим обслуживания таксофонов в реальном времени

+

+

-

-

3 Режим обслуживания с отложенным доступом к таксофонам

-

-

+

+

4 Производительность

низкая

средняя

высокая

высокая

5 Аппаратная независимость перераспределения таксофонов в сети управления

+

-

-

-

6 Количество уровней передачи данных

один

два

два и более

два и более

7 Типы используемых каналов связи

аналоговые

аналоговые, цифровые

аналоговые, цифровые

аналоговые *, цифровые

8 Возможность интеграции услуг (функции защиты от несанкционированного подключения, управление телефонными соединениями, тарификация, аутентификация и другие дополнительные функции)

-

+

+

+

«+» - функция реализована;

«-» - функция не реализована;

«*» - только для каналов связи между таксофонами и оборудованием автоматического управления таксофонами в АТС.

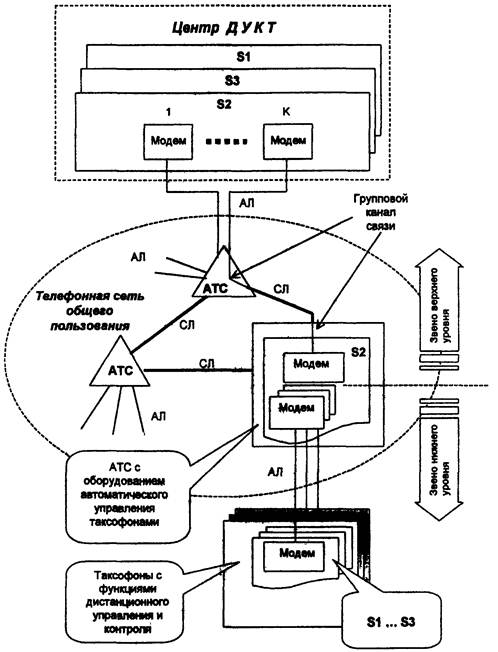
4.1.2 Системы ДУКТ классов II, III и IV имеют иерархическую радиально-узловую структуру сети управления с разделенными потоками передачи информации по уровням. Фрагмент сети управления с разделенными потоками передачи информации приведен на рисунках 2 и 3. В этих системах ДУКТ таксофоны соединены с оборудованием автоматического управления таксофонами, размещаемым на АТС. Для осуществления связи таксофонов с этим оборудованием используются аналоговые каналы связи, образующие звено передачи информации нижнего уровня. Для осуществления связи между оборудованием автоматического управления таксофонами, размещаемом на АТС и центре (центрах) ДУКТ, используются аналоговые или цифровые коммутируемые каналы связи телефонной сети общего пользования, образующие звено передачи информации верхнего уровня.

4.1.3 Система ДУКТ класса II имеет оборудование автоматического управления таксофонами, размещаемое на АТС и обеспечивающее одновременное обслуживание всех таксофонов подключенных к ней в реальном времени. Это оборудование осуществляет объединение потоков информации, при передаче ее от таксофонов в центр ДУКТ и разделение, при передаче ее в обратном направлении. В системе ДУКТ класса II информация, передаваемая от таксофона в центр ДУКТ, собирается в пакеты в таксофоне. При этом таксофон обеспечивает формирование и хранение этой информации.

4.1.4 Системы ДУКТ классов III и IV имеют оборудование автоматического управления таксофонами, размещаемое на АТС и обеспечивающее одновременное обслуживание всех таксофонов, подключенных к ней в режиме отложенного доступа, Это оборудование обеспечивает объединение и разделение потоков передачи информации. В системах ДУКТ классов III и IV информация, передаваемая от таксофонов в центр ДУКТ, собирается в пакеты не в таксофонах, а в оборудовании автоматического управления таксофонами, размещаемом на АТС. При этом обеспечивается сбор и хранение информации, принятой от таксофонов до момента передачи ее в центр ДУКТ.

4.2 Классификация служебной информации таксофонов системы ДУКТ представлена в таблице 2. Представленная классификация допускает внесение изменений в состав и содержание информации при реализации конкретной системы ДУКТ.

АЛ - абонентская линия;

СЛ - соединительная линия.

Рисунок 1 - Сеть управления с непосредственной связью центра ДУКТ и таксофонов

АЛ - абонентская линия;

СЛ - соединительная линия.

Рисунок 2 - Сеть управления с разделенными потоками передачи информации

«*» - необязательный элемент;

АПД - аппаратура передачи данных;

АЛ - абонентская линия.

Рисунок 3 - Сеть управления с разделенными потоками передачи информации, построенная на базе сети передачи данных

Таблица 2

Тип (наименование) служебной информации, группы служебной информации

Направление передачи

Примечание

Таксофон

центр ДУКТ

1

Статистическая информация

1.1

Обобщенные данные

1.1.1

Данные по исходящей нагрузке таксофона по каждому виду телефонных соединений (местных, междугородных и международных)

 

1.1.2

Данные по входящей нагрузке таксофона

 

1.1.3

Данные о заполнении копилки

Только для Монетных таксофонов

1.1.4

Сумма платежного актива, списанного со средств безналичной оплаты для каждого вида телефонного соединения (местных, междугородных и международных), каждой группы платежных средств

Только для таксофонов с картой оплаты

1.1.5

Суммарные данные по оплате для каждого вида телефонного соединения (местных, междугородных и международных)

Только для Монетных таксофонов

1.2

Индивидуальные данные

1.2.1

Данные о безналичных средствах оплаты (тип, серия, количество единиц и т.д.) по каждому вызову

Только для таксофонов с картой оплаты

1.2.2

Данные по каждому исходящему вызову

 

2

Системные данные

2.1

Данные о конфигурации таксофона

 

2.2

Данные о неисправностях таксофона

 

2.3

Тарифы

 

2.4

Данные о безналичных средствах оплаты (список разрешенных карт)

Только для таксофонов с картой оплаты

25

Данные об аварийном состоянии таксофона

 

2.6

Управляющие данные для таксофона

 

3

Программное обеспечение

3.1

Программный модуль подсистемы S1

 

3.2

Программный модуль, подсистемы S2

 

3.3

Программный модуль подсистемы S3

Только для таксофонов с картой оплаты

5 Общие технические требования

5.1 Общие положения

5.1.1 Аппаратные и программные средства системы ДУКТ должны быть продуктом серийного производства.

5.1.2 Стадии и этапы создания системы ДУКТ должны соответствовать ГОСТ 34.601.

5.1.3 Основанием на поставку системы ДУКТ является техническое задание на ее создание.

Порядок разработки, согласования и утверждения технического задания на создание системы ДУКТ должен быть определен в договоре между заказчиком и поставщиком (изготовителем) на его создание и должен соответствовать требованиям ГОСТ 34.602.

5.1.4 Комплектность, вид и содержание документов на систему ДУКТ должны удовлетворять требованиям ГОСТ 34.201.

5.1.5 Комплектность, вид и содержание документов на программные средства вычислительной техники системы ДУКТ должны удовлетворять требованиям ГОСТ 19.101.

5.1.6 Средства вычислительной техники, входящие в систему ДУКТ должны отвечать общим техническим требованиям ГОСТ 21552.

5.1.7 В техническом проекте на систему ДУКТ должны быть составлены:

- схема построения сети управления таксофонов;

- расчет и техническое обоснование распределения телефонной нагрузки по абонентским линиям, используемых системой ДУКТ (только для системы ДУКТ классов I, II, III);

- перечень программных средств автоматической настройки (с документацией по ее использованию) для ввода системы ДУКТ в эксплуатацию.

5.1.8 Сеть управления таксофонов системы ДУКТ должна проектироваться в соответствии с нормами, установленными для телефонной сети общего пользования.

5.2 Архитектура системы ДУКТ 5.2.1 Сеть управления таксофонов

5.2.1.1 Система ДУКТ должна использовать физические линии и каналы взаимоувязанной сети связи.

5.2.1.2 Система ДУКТ должна удовлетворять требованиям настоящего стандарта при эксплуатации на телефонной сети общего пользования с абонентскими линиями, удовлетворяющими требованиям ОСТ 45.36.

5.2.1.3 Сеть управления должна быть спроектирована и построена так, чтобы было обеспечено необходимое качество работы системы ДУКТ. Контроль качества работы сети управления должен осуществляться по следующим параметрам:

- среднее время прохождения одного пакета информации по каналу связи в заданном направлении;

- вероятность превышения установленного времени прохождения одного пакета информации по каналу связи в заданном направлении;

- вероятность потери одного пакета информации при передаче по каналу связи;

- коэффициент ошибок при передаче по каналу связи;

- вероятность неправильной адресации при установлении соединения по коммутируемым каналам связи.

Значения этих параметров должны быть определены в технических условиях на конкретную реализацию системы ДУКТ.

5.2.1.4 Длина канала связи между центром ДУКТ и таксофоном системы ДУКТ класса I не должна превышать значения, установленного в нормах на тип каналообразующей аппаратуры, используемой в них.

5.2.1.5 Таксофон с функциями дистанционного управления и контроля должен иметь один общий стык для передачи данных и речи.

5.2.1.6 Система ДУКТ должна обеспечивать возможность расширения сети управления двумя методами:

- объединением простых сетей управления (по рисункам 1 .. 3) в многоуровневую сеть управления с несколькими центрами ДУКТ;

- установкой дополнительного станционного оборудования автоматического управления таксофонами (для систем ДУКТ II, III, IV классов).

5.2.2 Контроль и управление

5.2.2.1 Контроль и управление таксофоном в системе ДУКТ должны осуществляться централизованно, дистанционной периодически посредством организации сеансов связи между центром ДУКТ и таксофоном.

При отсутствии контроля и управления, или в промежутках времени между сеансами связи, таксофон должен работать автономно. Время, в течение которого таксофон должен обеспечивать автономную работу, должно быть указано в общих технических условиях на конкретную реализацию системы ДУКТ.

5.2.2.2 Система ДУКТ должна иметь производительность, достаточную для того, чтобы обеспечить контроль и управление всеми таксофонами сети управления (по 5.2.2.1) в течение суток.

5.2.2.3 Система ДУКТ, при вводе ее в эксплуатацию, должна иметь запас производительности не менее 10 % (от проектной емкости сети управления) Запас производительности должен быть указан в общих технических условиях на конкретную реализацию системы ДУКТ.

5.2.2.4 Обмен информацией между центром ДУКТ и таксофонами должен быть регулярным, в соответствии с установленными правилами (расписанием).

5.2.2.5 Контроль таксофонов в системе ДУКТ должен осуществляться так, чтобы в любой момент времени оператор сети управления мог получить от системы ДУКТ полную и достоверную информацию о техническом состоянии таксофонов, статистическую информацию по использованным средствам оплаты и вызовам, служебную информацию по отдельно взятому таксофону, обобщенную и детализированную информацию по управлению и контролю таксофонами.

5.2.2.6 Система ДУКТ должна обеспечивать возможность группового управления таксофонами, распределенных по группам произвольно или в соответствии с их типами, распределением по тарифным зонам, группами технической эксплуатации и типами технического состояния, включая аварийные.

5.2.2.7 Системы ДУКТ классов I и II должны обеспечивать групповое управление таксофонами в соответствии с общей для всех таксофонов программой (расписанием) сеансов связи, осуществляемых предпочтительно в ночное время суток.

5.2.2.8 Система ДУКТ должна обеспечить контроль и управление таксофонами так, чтобы независимо от состояния системы в целом и конкретного таксофона, пользователь мог в любой момент воспользоваться таксофоном для осуществления доступа к услугам связи телефонной сети общего пользования. При этом, если таксофон был исправен и занят обменом информацией с оборудованием автоматического управления, канал связи должен быть освобожден и предоставлен для установления телефонного соединения, а информация, передаваемая между центром ДУКТ и таксофоном не была потеряна или искажена.

5.2.3 Состав и основные функции системы ДУКТ

5.2.3.1 Система ДУКТ должна состоять из следующих подсистем:

- обработки и управления информации (подсистема - S1),

- связи (подсистема - S2);

- защиты информации (подсистема - S3).

5.2.3.2 Подсистема обработки и управления информации должна обеспечивать:

- автоматическое формирование служебной информации в таксофонах и центре (центрах) ДУКТ с заданным объемом и качеством (функция - S1F1);

- представление служебной информации в форме, необходимой для передачи в подсистему связи (функция - S1F2);

- представление служебной информации в виде, необходимом для ее отображения и документирования в печатной или электронной форме с заданным качеством (функция - S1F3);

- управление обменом служебной информации (функция - S1F4);

- управление подсистемами связи и защиты информации (функция - S1F5);

- хранение служебной информации с заданным объемом и качеством (функция -S1F6);

- доступ к ресурсам системы ДУКТ и ввод данных через интерфейс «человек-машина» (функция - S1F7).

5.2.3.3 Подсистема связи должна обеспечивать:

- передачу информации с заданным качеством (функция - S2F1);

- управление соединениями и каналами связи в пределах сети управления (функция - S2F2);

5.2.3.4 Подсистема защиты информации должна обеспечивать с заданным качеством защиту служебной информации от несанкционированного доступа в процессе ее обработки, хранения и передами по каналам связи.

Подсистема защиты информации должна обеспечивать:

- кодирование и декодирование информации для защиты при передаче ее по каналам связи (функция - S3F1);

- кодирование информации для защиты ее при хранении на внешних носителях (функция - S3F2);

- разграничение и учет доступа к подсистеме обработки и управления информации по ГОСТ Р 50739 (функция - S3F3);

- автоматический контроль использования и состояния программных и аппаратных средств управления информацией системы ДУКТ (функция - S3F4);

- автоматический контроль и регистрацию информации, при ее обмене в системе ДУКТ, передаче и приеме извне (функция - S3F5);

- защиту от несанкционированного копирования и изменения программных средств системы ДУКТ (функция - S3F6).

5.2.3.5 В системе ДУКТ должны быть реализованы все подсистемы и функции приведенные в 5.2.3.1 ... 5.2.3.4.

5.2.3.6 Система ДУКТ должна иметь интерфейс «человек-машина» Интерфейс «человек-машина» должен обеспечивать доступ к ресурсам системы ДУКТ для управления, приема и анализа информации, определенной в 5.2.2.5. Управление системой ДУКТ должно осуществляться только посредством этого интерфейса в соответствии с установленными правилами и требованиями по безопасности 5.2.3.4.

5.2.3.7 Система ДУКТ в процессе эксплуатации должна обеспечивать оператору возможность посредством интерфейса «человек-машина» оперативно изменять ее характеристики в соответствии с потребностями:

- перераспределить таксофоны по группам (5.2.2.6);

- расширить сеть управления подключением к ней новых таксофонов, в пределах, установленных 5.2.2.3;

- обеспечить взаимодействие между центрами ДУКТ, при организации иерархической сети управления в соответствии с 5.2.1.6;

- изменить правила и параметры (пароль, уровень защиты) доступа к ресурсам системы ДУКТ;

- переопределить круг и статус лиц, имеющих доступ к ресурсам системы ДУКТ;

- изменить тарифы;

- изменить режимы работы таксофонов.

5.2.3.8 Оборудование автоматического управления таксофонами центра ДУКТ, подключаемое к абонентским линиям, должно обеспечивать автоматическое ограничение телефонной нагрузки для каждой абонентской линии в соответствии с нормами, установленными для оконечного оборудования телефонной сети общего пользования.

5.2.3.9 Система ДУКТ в процессе эксплуатации должна обеспечивать:

- автоматический функциональный контроль за состоянием оборудования автоматического управления таксофонами и таксофонов с функциями дистанционного управления и контроля с индикацией информации о сбоях и отказах;

- тестовый контроль технического состояния оборудования автоматического управления таксофонами, таксофонов с функциями дистанционного управления и контроля и абонентских линий таксофонов с использованием программных и аппаратных средств системы ДУКТ;

- измерение и контроль параметров телефонной нагрузки по каждой абонентской линии, используемой системой ДУКТ;

- статистический контроль для получения обобщенной оценки качества работы системы ДУКТ;

- накопление статистических контрольных данных системы ДУКТ в виде, удобном для машинной обработки и хранение;

- представление статистических контрольных данных системы ДУКТ в виде, удобном для визуального восприятия и передачи по каналам связи (посредством функций S1F2 и S1F3).

5.3 Требования по эксплуатации

5.3.1 В процессе эксплуатации система ДУКТ, при совместном использовании станционного или каналообразующего оборудования или включении ее оборудования в телефонные каналы связи, не должна вносить дополнительные потери по вызовам для абонентов телефонной сети общего пользования (включая пользователей таксофонов) из-за неготовности или ненадежности оборудования системы ДУКТ.

5.3.2 Оборудование дистанционного управления таксофонами, размещаемое на АТС, с питанием от станционных источников постоянного тока должно удовлетворять требованиям ГОСТ 5237.

5.3.3 Питание таксофонов с функциями дистанционного управления и контроля должно осуществляться постоянным током от АТС по электрическим цепям абонентских линий в соответствии с ОСТ 45.54.

5.3.4 Оборудование дистанционного управления таксофонами с питанием от электрической сети переменного тока частотой 50 Гц должно удовлетворять требованиям настоящего стандарта при качестве потребляемой электроэнергии в соответствии с ГОСТ 13109.

5.3.5 Система ДУКТ, в случае пропадания напряжения питания, должна обеспечить переход оборудования дистанционного управления таксофонами в аварийный режим работы. При этом система ДУКТ должна обеспечить автономную работоспособность таксофонов и корректное завершение всех процессов, происходящих в оборудовании дистанционного управления таксофонами, с последующим автоматическим возвратом его в нормальный режим работы, при восстановлении питания, без потери информации.

5.3.6 Оборудование дистанционного управления таксофонами, размещаемое на АТС и подключаемое к стыку СТф-2, должно обеспечить взаимодействие с АТС в соответствии с требованиями ОСТ 45.54.

5.4 Электромагнитная совместимость

5.4.1 Уровни излучения радиопомех от оборудования дистанционного управления таксофонами в окружающее пространство и по проводам не должны превышать значений, установленных в ГОСТ 30428.

5.4.2 Оборудование дистанционного управления таксофонами, подключаемое к аналоговым стыкам телефонной сети общего пользования, должно обеспечивать передачу сигналов, мощность и спектр которых удовлетворяет требованиям по электромагнитной совместимости ОСТ 45.36.

5.4.3 Энергетические параметры сигналов, формируемых оборудованием системы ДУКТ при передаче данных по коммутируемым и некоммутируемым каналам связи тональной частоты и первичным широкополосным каналам связи, должны удовлетворять требованиям ГОСТ 26557.

5.5 Надежность

5.5.1 Обеспечение надежности системы ДУКТ является комплексной задачей и должно осуществляться на всех этапах ее создания. Анализ надежности системы ДУКТ и входящих в нее элементов является обязательным пунктом всех технических решений, принимаемых при разработке и производстве системы ДУКТ (при формировании требований к системе ДУКТ, разработке концепции системы ДУКТ, разработке ТЗ, разработке эскизного и технического проектов, разработке или адаптации программ, подготовки персонала, комплектации системы ДУКТ поставляемыми изделиями и т.д.).

5.5.2 Средняя наработка на отказ, среднее время восстановления работоспособности, срок службы оборудования системы ДУКТ должны быть определены в общих технических условиях на конкретную реализацию системы ДУКТ или частных технических условиях на оборудование, входящего в нее.

5.6 Устойчивость к внешним воздействиям

5.6.1 Климатические воздействия

В зависимости от размещения, условий эксплуатации, транспортирования и хранения оборудование системы ДУКТ должно быть устойчиво к климатическим воздействиям, определенных в ГОСТ 15150.

5.6.2 Механические воздействия

5.6.2.1 Оборудование системы ДУКТ должно быть устойчивым при эксплуатации, хранении и транспортировании к воздействию:

- синусоидальной вибрации с частотой 25 Гц и амплитудой виброускорения 19,6 м/с2;

- многократных ударов с пиковым ускорением 147 м/с2 и общим числом ударов до 15000.

Оборудование системы ДУКТ должно выдерживать механические нагрузки без повреждений, выполнять свои функции и сохранять параметры после их воздействия.

5.6.2.2 Таксофоны с функциями дистанционного управления и контроля, должны выдерживать механические нагрузки в соответствии с требованиями ОСТ 45.58.

5.6.3 Электромагнитные воздействия

5.6.3.1 Оборудование системы ДУКТ должно быть устойчивым к воздействию электромагнитных помех в соответствии с ГОСТ Р 50839 и ГОСТ Р 50628.

5.6.3.2 Оборудование системы ДУКТ должно быть устойчивым к воздействию перенапряжений и избыточных токов, импульсных помех, динамических изменений напряжения сети электропитания, радиочастотных электромагнитных полей и электростатических разрядов в соответствии с ГОСТ Р 50932.

5.6.3.3 Оборудование системы ДУКТ на стыке с абонентской линией должно иметь защиту от атмосферных разрядов в соответствии с ГОСТ 27049

5.7 Требования безопасности

5.7.1 Система ДУКТ должна отвечать общим требованиям безопасности в соответствии с ГОСТ 12.2.003 и ГОСТ 25861.

5.7.2 Конструкция оборудования системы ДУКТ должна обеспечивать защиту обслуживающего персонала и пользователя от поражения электрическим током. Металлические нетоковедущие конструкции оборудования системы ДУКТ, к которым возможен доступ человека, должны иметь элементы заземления соответствующие требованиям ОСТ 4.209.007.

5.7.3 Оборудование системы ДУКТ должно обеспечивать защиту обслуживающего персонала и пользователя от атмосферных разрядов и опасных влияний систем электропередач в соответствии с ГОСТ 27049.

5.7.4 Рабочие места операторов системы ДУКТ должны отвечать общим требованиям эргономики ГОСТ 12.2.032 и ГОСТ Р 50923 и действующим санитарным нормам для объектов народного хозяйства с нормальными условиями труда, при учете воздействий на человека внешних факторов по ГОСТ 12.0.003. Производственная среда рабочих местах операторов, снабженных средствами отображения информации должна удовлетворять требованиям ГОСТ Р 50923.

6. Методы испытаний и контроля

6.1 Виды испытаний системы ДУКТ

6.1.1 Испытания системы ДУКТ должны осуществляться поэтапно и включать в себя следующие виды испытаний:

- заводские испытания;

- опытная эксплуатация (по ГОСТ 34.601 и ГОСТ 34.603);

- приемочные испытания (по ГОСТ 34.601 и ГОСТ 34.603).

Примечание - Допускается дополнительно проведение других видов испытаний системы ДУКТ и ее частей.

6.1.2 Заводские испытания должны включать в себя - входной контроль комплектующих изделий серийного и единичного производства, автономные заводские испытания изделий производства (аппаратные и программные средства системы ДУКТ), не изготавливаемые серийно; предварительные испытания системы ДУКТ перед вводом в опытную эксплуатацию (по ГОСТ 34.601 и ГОСТ 34.603).

6.1.3 Автономные заводские испытания изделий, не изготавливаемых серийно, должны производиться в соответствии с техническими условиями на эти изделия методом сплошного контроля до проведения предварительных испытаний системы ДУКТ. Результаты испытаний должны быть оформлены актами приемки службами технического контроля предприятия-изготовителя.

6.1.4 Комплектующие изделия серийного и единичного производства должны иметь технические условия (индивидуальные или групповые) и сертификаты (в соответствии с правилами и нормами, установленными в России на конкретный вид изделия).

6.1.5 Все испытания системы ДУКТ должны проводиться в соответствии с утвержденными программами и методиками испытаний. Порядок разработки, утверждения и согласования программ и методик испытаний системы ДУКТ должен быть определен в техническом задании на ее создание.

6.1.6 Правила приемки средств вычислительной техники, входящих в состав системы ДУКТ, должны быть определены в технических условиях на конкретный вид изделия и соответствовать требованиям ГОСТ 21552.

6.2 Методы испытаний

6.2.1 Виды и методы испытаний системы ДУКТ должны быть определены в общих технических условиях на конкретную реализацию системы ДУКТ.

6.2.2 Виды и методы испытаний средств вычислительной техники системы ДУКТ должны соответствовать требованиям ГОСТ 21552.

6.2.3 Виды и методы контроля качества программных средств системы ДУКТ должны соответствовать требованиям ГОСТ 28195.

6.2.4 При разработке и производстве системы ДУКТ в комплекс мероприятий по обеспечению ее надежности должны входить работы по анализу видов, последействий и критичности отказов системы ДУКТ в соответствии с ГОСТ 27 310.

6.2.5 Оборудование системы ДУКТ должно пройти испытание на соответствие требованиям безопасности в соответствии с ГОСТ 25861.

6.2.6 Оборудование системы ДУКТ должно пройти испытания на устойчивость к электромагнитным помехам в соответствии ГОСТ Р 50839 и ГОСТ Р 50628, установленные для группы II средств вычислительной техники, ПЭВМ и периферийных устройств.

6.2.7 Средства вычислительной техники системы ДУКТ должны пройти испытания на электромагнитную совместимость в соответствии с ГОСТ 29216.

6.2.8 Рабочие места операторов системы ДУКТ (обслуживающего персонала), снабженные средствами отображения информации, должны пройти проверку по ГОСТ Р 50923 на соответствие эргономическим требованиям и требованиям к производственной среде.

 

Ключевые слова: система ДУКТ, центр ДУКТ, таксофоны, служебная информация, сеть управления, передача данных, классификация, методы испытаний и контроля.

СОДЕРЖАНИЕ

1 Область применения. 1

2 Нормативные ссылки. 2

3 Определения, обозначения и сокращения. 3

4 Классификация. 4

5 Общие технические требования. 9

6. Методы испытаний и контроля. 14