Скачать ОСТ 45.54-95 Стыки оконечных абонентских телефонных устройств и автоматических телефонных станций. Характеристики и параметры электрических цепей и сигналов на стыкахДата актуализации: 01.01.2021
|
| Обозначение: | ОСТ 45.54-95 |
| Обозначение англ: | OST 45.54-95 |
| Статус: | не определен законодательством |
| Название рус.: | Стыки оконечных абонентских телефонных устройств и автоматических телефонных станций. Характеристики и параметры электрических цепей и сигналов на стыках |
| Дата добавления в базу: | 01.09.2013 |
| Дата актуализации: | 01.01.2021 |
| Дата введения: | 03.04.1996 |
| Дата окончания срока действия: | 30.06.2003 |
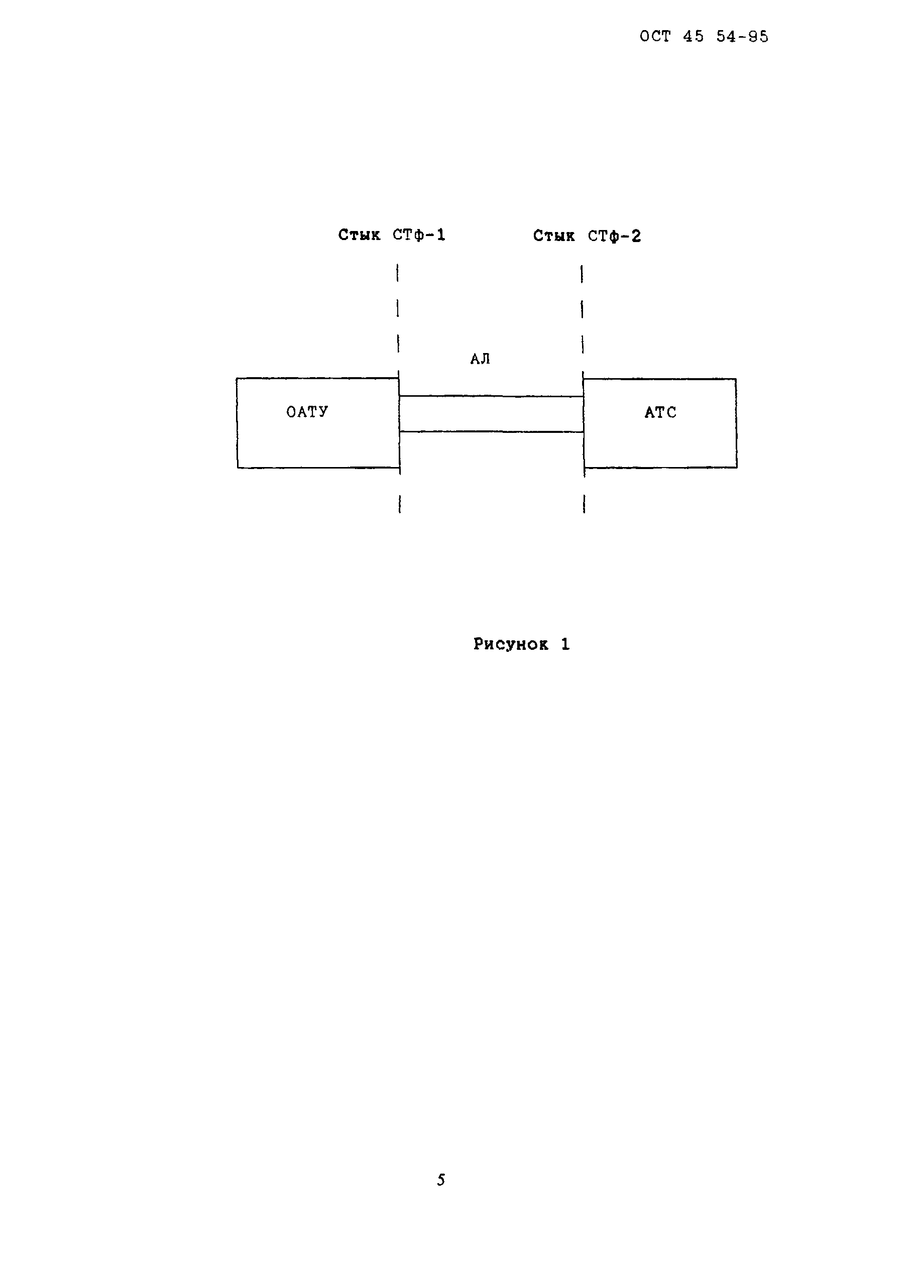
| Область применения: | Стандарт распространяется на стыковочные параметры оконечных абонентских телефонных устройств и автоматических телефонных станций. Является обязательным при разработке, модернизации и сертификации ОАТУ и АТС, проектировании, развитии и эксплуатации местных телефонных сетей. |
| Оглавление: | 1 Область применения 2 Нормативные ссылки 3 Определения и сокращения 4 Общие положения 5 Параметры стыков СТФ-1 и СТФ-2 Приложение А Параметры абонентских линий Приложение Б Функции и сигналы при взаимодействии ОАТУ и АТС Приложение В Библиография |
| Разработан: | ЛОНИИС |
| Утверждён: | 03.04.1996 Министерство связи Российской Федерации (Russian Federation Ministry of Communications 1717) |
| Издан: | ЦНТИ Информсвязь (1998 г. ) |
| Нормативные ссылки: |





































