Скачать Серия 3.400.2-14.93 Выпуск 1. Материалы для проектирования и рабочие чертежиДата актуализации: 01.01.2021
|
| Обозначение: | Серия 3.400.2-14.93 |
| Обозначение англ: | Series 3.400.2-14.93 |
| Статус: | не определен законодательством |
| Название рус.: | Выпуск 1. Материалы для проектирования и рабочие чертежи |
| Дата добавления в базу: | 01.09.2013 |
| Дата актуализации: | 01.01.2021 |
| Дата введения: | 01.01.1994 |
| Дата окончания срока действия: | 30.06.2003 |
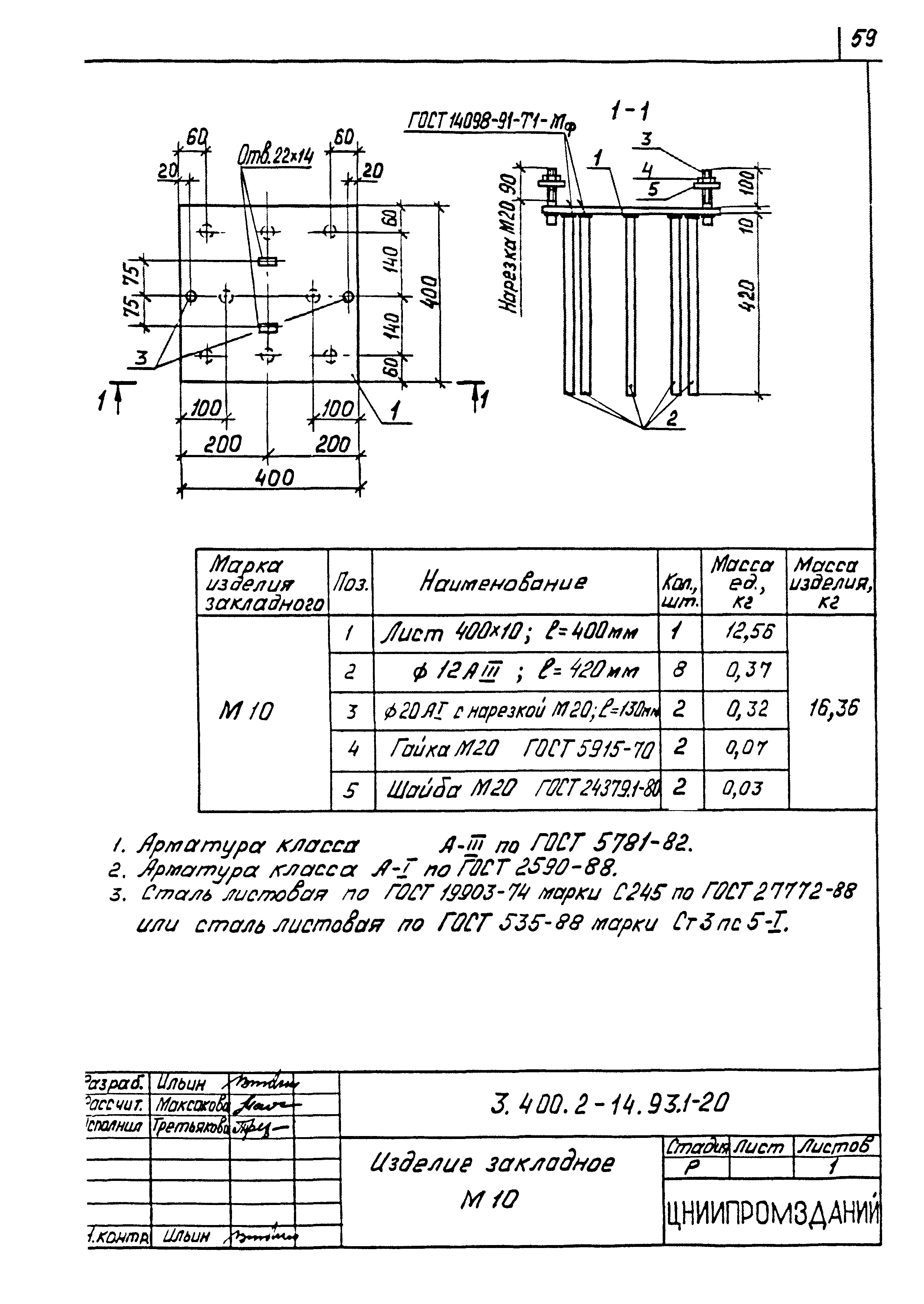
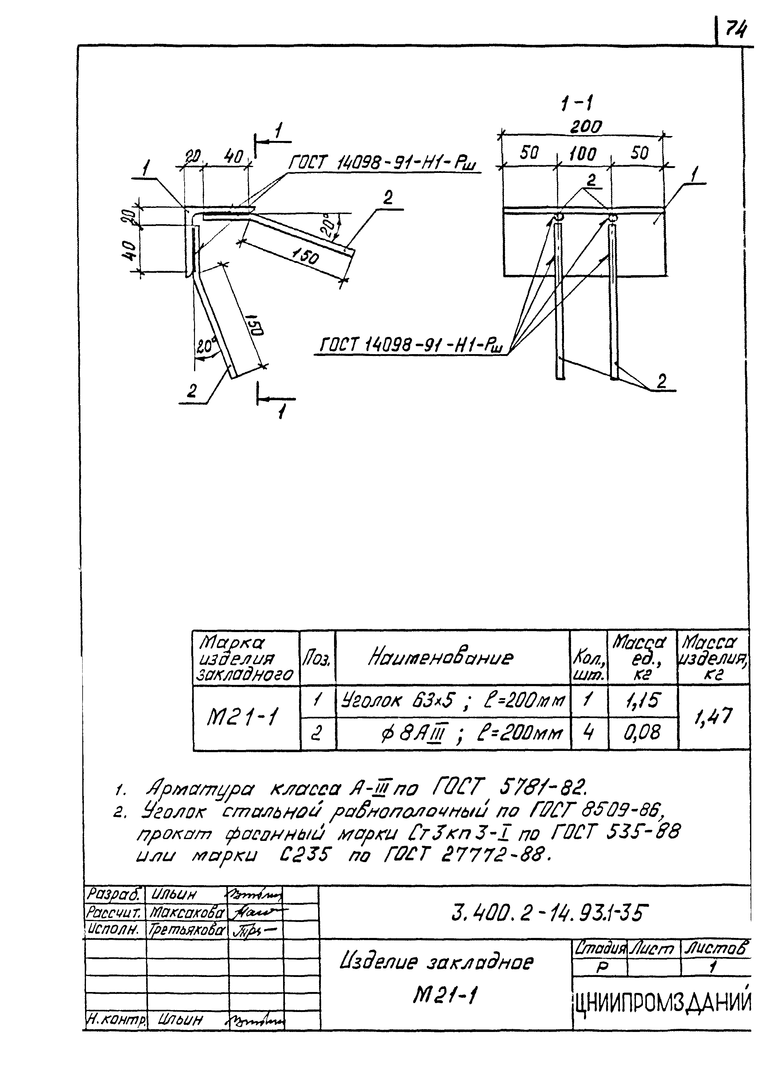
| Оглавление: | 3.400.2-14.93.1-ПЗ Пояснительная записка: 3.400.2-14.93.1-ПЗ 1. Общая часть 3.400.2-14.93.1-ПЗ 2. Конструктивные решения 3.400.2-14.93.1-ПЗ 3. Нагрузки и расчет 3.400.2-14.93.1-ПЗ 4. Область применения закладных изделий 3.400.2-14.93.1-ПЗ 5. Антикоррозионная защита закладных изделий 3.400.2-14.93.1-ПЗ 6. Изготовление закладных изделий 3.400.2-14.93.1-ПЗ 7. Рекомендаций по способам фиксации закладных изделий в опалубочных формах 3.400.2-14.93.1-1 Изделие закладное М1-1;М1-2;МТ-3;M1-4 3.400.2-14.93.1-2 Изделие закладное М2-1;М2-2 3.400.2-14.93.1-3 Изделие закладное М3 3.400.2-14.93.1-4 Изделие закладное М4 3.400.2-14.93.1-5 Изделие закладное М5-1;М5-2 3.400.2-14.93.1-6 Изделие закладное М5-3;М5-4 3.400.2-14.93.1-7 Изделие закладное М5-5 3.400.2-14.93.1-8 Изделие закладное М5-6 3.400.2-14.93.1-9 Изделие закладное М5-7 3.400.2-14.93.1-10 Изделие закладное М5-8;М5-9 3.400.2-14.93.1-11 Изделие закладное М6-1;М6-2 3.400.2-14.93.1-12 Изделие закладное М6-3;М6-4 3.400.2-14.93.1-13 Изделие закладное М6-5 3.400.2-14.93.1-14 Изделие закладное М6-6;М6-7 3.400.2-14.93.1-15 Изделие закладное М7-1;М7-2 3.400.2-14.93.1-16 Изделие закладное М7-3 3.400.2-14.93.1-17 Изделие закладное М8 3.400.2-14.93.1-18 Изделие закладное M9-1;M9-2 3.400.2-14.93.1-19 Изделие закладное М9-3 3.400.2-14.93.1-20 Изделие закладное М10 3.400.2-14.93.1-21 Изделие закладное М11-1;М11-2;M11-3 3.400.2-14.93.1-22 Изделие закладное М12 3.400.2-14.93.1-23 Изделие закладное M13-1 3.400.2-14.93.1-24 Изделие закладное M13-2 3.400.2-14.93.1-25 Изделие закладное M14-1;M14-2 3.400.2-14.93.1-26 Изделие закладное M14-3 3.400.2-14.93.1-27 Изделие закладное M15 3.400.2-14.93.1-28 Изделие закладное M16 3.400.2-14.93.1-29 Изделие закладное M17 3.400.2-14.93.1-30 Изделие закладное M18 3.400.2-14.93.1-31 Изделие закладное M19 3.400.2-14.93.1-32 Изделие закладное M20-1 3.400.2-14.93.1-33 Изделие закладное М20-2 3.400.2-14.93.1-34 Изделие закладное М20-3 3.400.2-14.93.1-35 Изделие закладное M21-1 3.400.2-14.93.1-36 Изделие закладное M21-2 3.400.2-14.93.1-37 Изделие закладное M21-3 3.400.2-14.93.1-38 Изделие закладное M22-1 3.400.2-14.93.1-39 Изделие закладное М22-2 3.400.2-14.93.1-40 Изделие закладное М23 3.400.2-14.93.1-41 Изделие закладное M24-1 3.400.2-14.93.1-42 Изделие закладное М24-2 3.400.2-14.93.1-43 Изделие закладное М24-3 3.400.2-14.93.1-44 Изделие закладное М24-4 3.400.2-14.93.1-45 Изделие закладное M25-1 3.400.2-14.93.1-46 Изделие закладное М25-2 3.400.2-14.93.1-47 Изделие закладное М26 3.400.2-14.93.1-48 Изделие закладное М27 3.400.2-14.93.1-49 Изделие закладное М28 3.400.2-14.93.1-50 Изделие закладное М29 3.400.2-14.93.1-51 Изделие закладное М30 3.400.2-14.93.1-52 Изделие закладное М31 3.400.2-14.93.1-53 Изделие закладное М32 3.400.2-14.93.1-54 Изделие закладное М33 3.400.2-14.93.1-55 Изделие закладное М34 3.400.2-14.93.1-56 Изделие закладное M35-1 3.400.2-14.93.1-57 Изделие закладное М35-2 |
| Разработан: | ЦНИИпромзданий |
| Утверждён: | 23.07.1993 Госстрой России (Russian Federation Gosstroy 9-3-2/157) |
| Заменяет собой: | |
| Нормативные ссылки: |
|
































































































