Скачать Серия 3.400-6/76 Унифицированные закладные детали сборных железобетонных конструкций инженерных сооружений промышленных предприятий. Рабочие чертежиДата актуализации: 01.01.2021
|
| Обозначение: | Серия 3.400-6/76 |
| Обозначение англ: | Series 3.400-6/76 |
| Статус: | не действует |
| Название рус.: | Унифицированные закладные детали сборных железобетонных конструкций инженерных сооружений промышленных предприятий. Рабочие чертежи |
| Дата добавления в базу: | 01.09.2013 |
| Дата актуализации: | 01.01.2021 |
| Дата окончания срока действия: | 01.10.1993 |
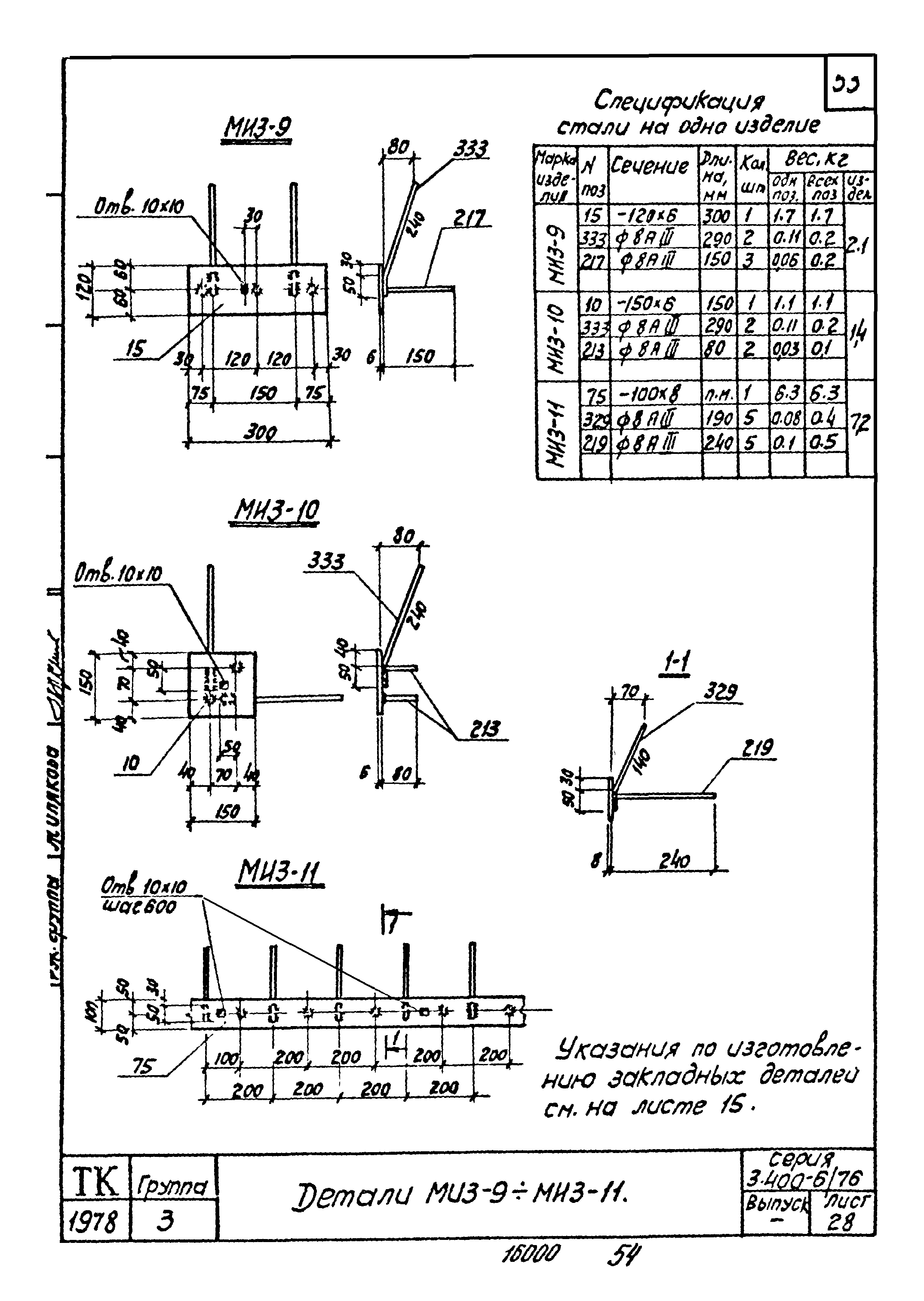
| Оглавление: | 3.400-6/76 Содержание 3.400-6/76 Пояснительная записка 3.400-6/76-1-14 Таблица 6. Номенклатура унифицированных закладных деталей 3.400-6/76-15 Указания по изготовлению закладных деталей 3.400-6/76-16 Детали МИ1-1÷МИ1-6 3.400-6/76-17 Детали МИ1-7÷МИ1-14 3.400-6/76-18 Детали МИ1-15÷МИ1-17,МИ1-17-1 3.400-6/76-19 Детали МИ1-18÷МИ1-25 3.400-6/76-20 Детали МИ1-26÷МИ1-32 3.400-6/76-21 Детали МИ1-33÷МИ1-38 3.400-6/76-22 Детали МИ1-39÷МИ1-42 3.400-6/76-23 Детали МИ1-43÷МИ1-46 3.400-6/76-24 Детали МИ2-1÷МИ2-3 3.400-6/76-25 Детали МИ2-4÷МИ2-6 3.400-6/76-26 Детали МИ3-1÷МИ3-5 3.400-6/76-27 Детали МИ3-6÷МИ3-8 3.400-6/76-28 Детали МИ3-9÷МИ3-11 3.400-6/76-29 Детали МИ3-12÷МИ3-14 3.400-6/76-30 Детали МИ4-1÷МИ4-4 3.400-6/76-31 Детали МИ4-5÷МИ4-8 3.400-6/76-32 Детали МИ4-9÷МИ4-13 3.400-6/76-33 Детали МИ4-14,МИ4-16,МИ4-18÷МИ4-20 3.400-6/76-34 Детали МИ4-17,МИ4-21÷МИ4-25 3.400-6/76-35 Детали МИ4-26÷МИ4-28,МИ4-30÷МИ4-32 3.400-6/76-36 Детали МИ4-29,МИ4-33÷МИ4-37 3.400-6/76-37 Детали МИ4-38÷МИ4-42 3.400-6/76-38 Детали МИ4-43÷МИ4-45 3.400-6/76-39 Детали МИ4-46÷МИ4-49 3.400-6/76-40 Детали МИ4-50÷МИ4-53 3.400-6/76-41 Детали МИ5-1÷МИ5-4 3.400-6/76-42-44 Таблица 7. Унифицированные пластины закладных деталей 3.400-6/76-45,46 Унифицированные пластины с отверстиями 3.400-6/76-47,48 Таблица 8. Унифицированные прямые анкеры закладных деталей 3.400-6/76-49 Таблица 9. Унифицированные гнутые анкеры закладных деталей 3.400-6/76-50 Таблица 10. Унифицированные элементы фасонного проката 3.400-6/76-51 Таблица 11 и 12. Унифицированные стержни с нарезкой. Гайки, шайбы 3.400-6/76-52-58 Таблица 13. Ключ для замены закладных деталей типовых конструкций на унифицированные |
| Разработан: | Харьковский Промстройниипроект НИИЖБ |
| Утверждён: | 01.01.1978 Госстрой СССР (Государственный комитет Совета Министров СССР по делам строительства) (USSR Gosstroy ) |
| Заменяет собой: |



















































































