Скачать Каталог конструктивных решений по усилению и восстановлению строительных конструкций зданий и сооруженийДата актуализации: 01.01.2021 |
| Статус: | справочные материалы, мп, тпр |
| Название рус.: | Каталог конструктивных решений по усилению и восстановлению строительных конструкций зданий и сооружений |
| Дата добавления в базу: | 01.09.2013 |
| Дата актуализации: | 01.01.2021 |
| Область применения: | Материалами каталога являются решения по усилению и восстановлению плит покрытий, перекрытий, ферм, колонн, подкрановых балок и узлов их соединений, а также виды повреждений каменных конструкций и способы их устранения. Материалы предназначаются для использования инженерно-техническими работниками проектных, производственных, ремонтно-строительных организаций министерств и ведомств в качестве проектного пособия при решении вопросов усиления и восстановления строительных конструкций, при текущих и капитальных ремонтах, реконструкции объектов, включая действующие производства. |
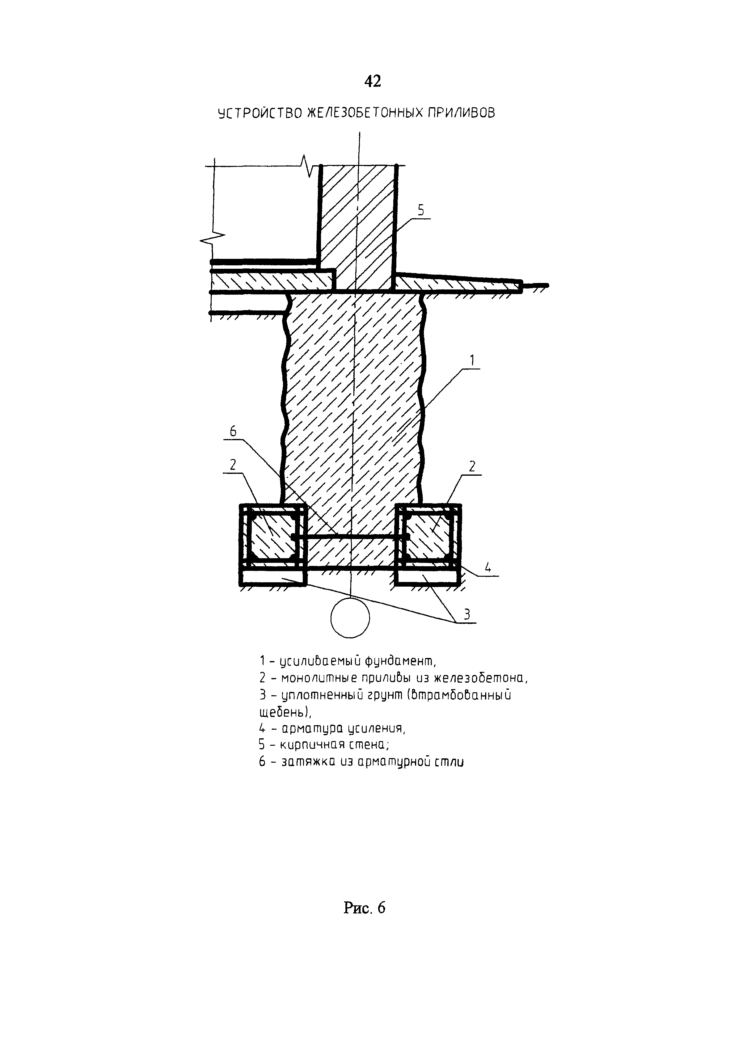
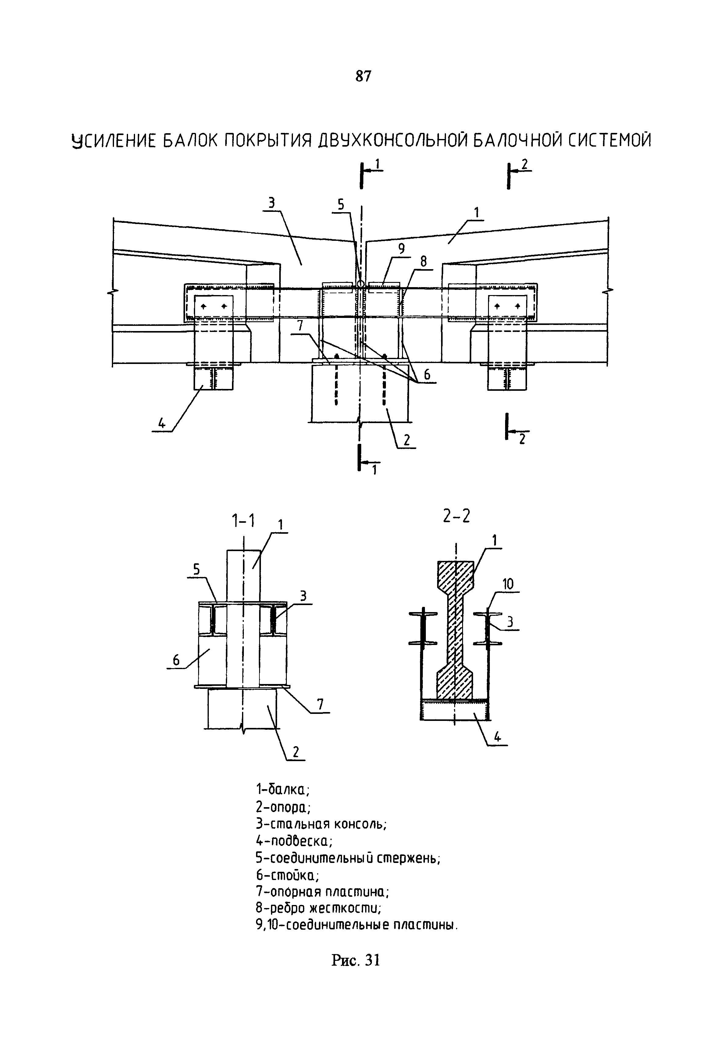
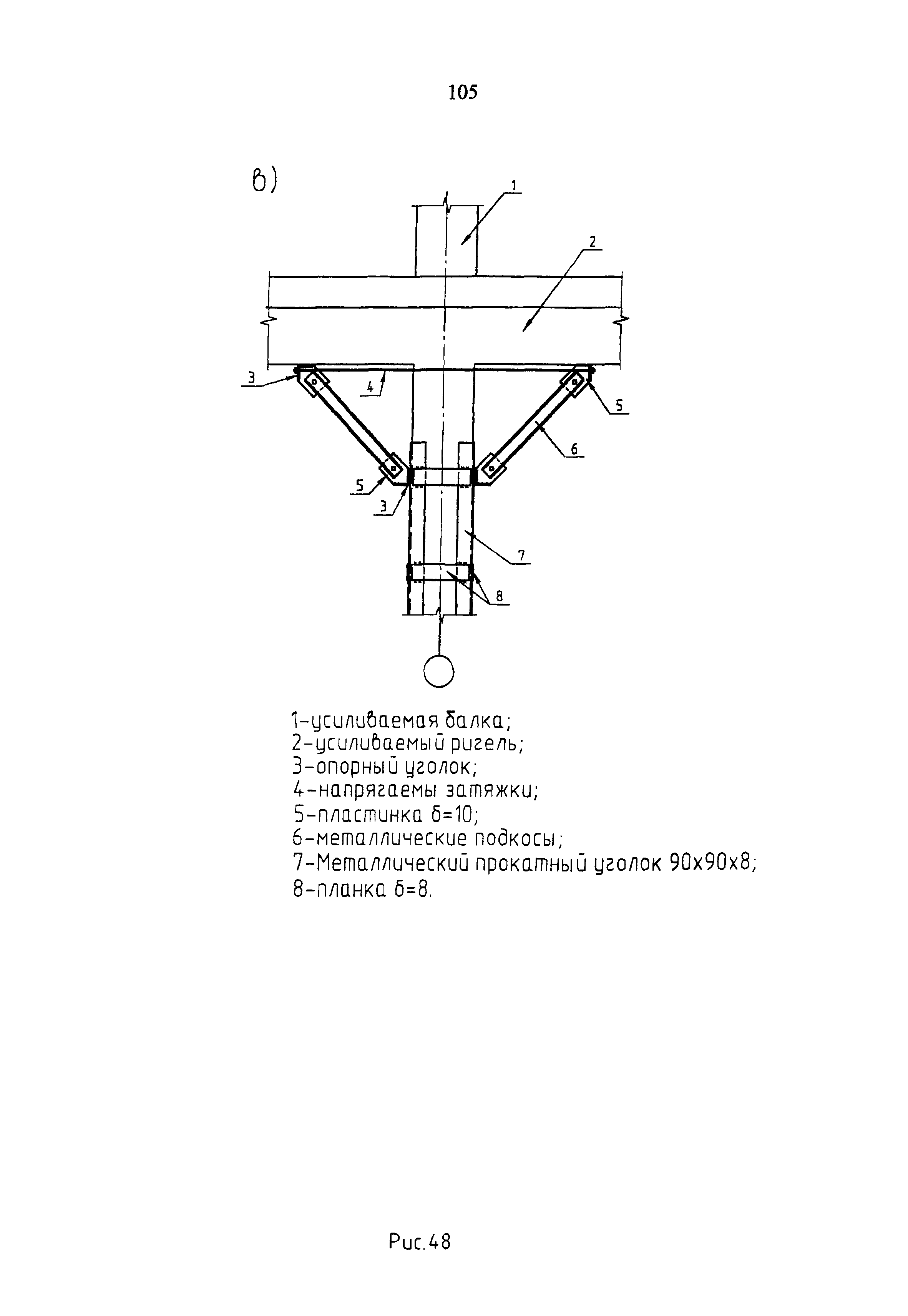
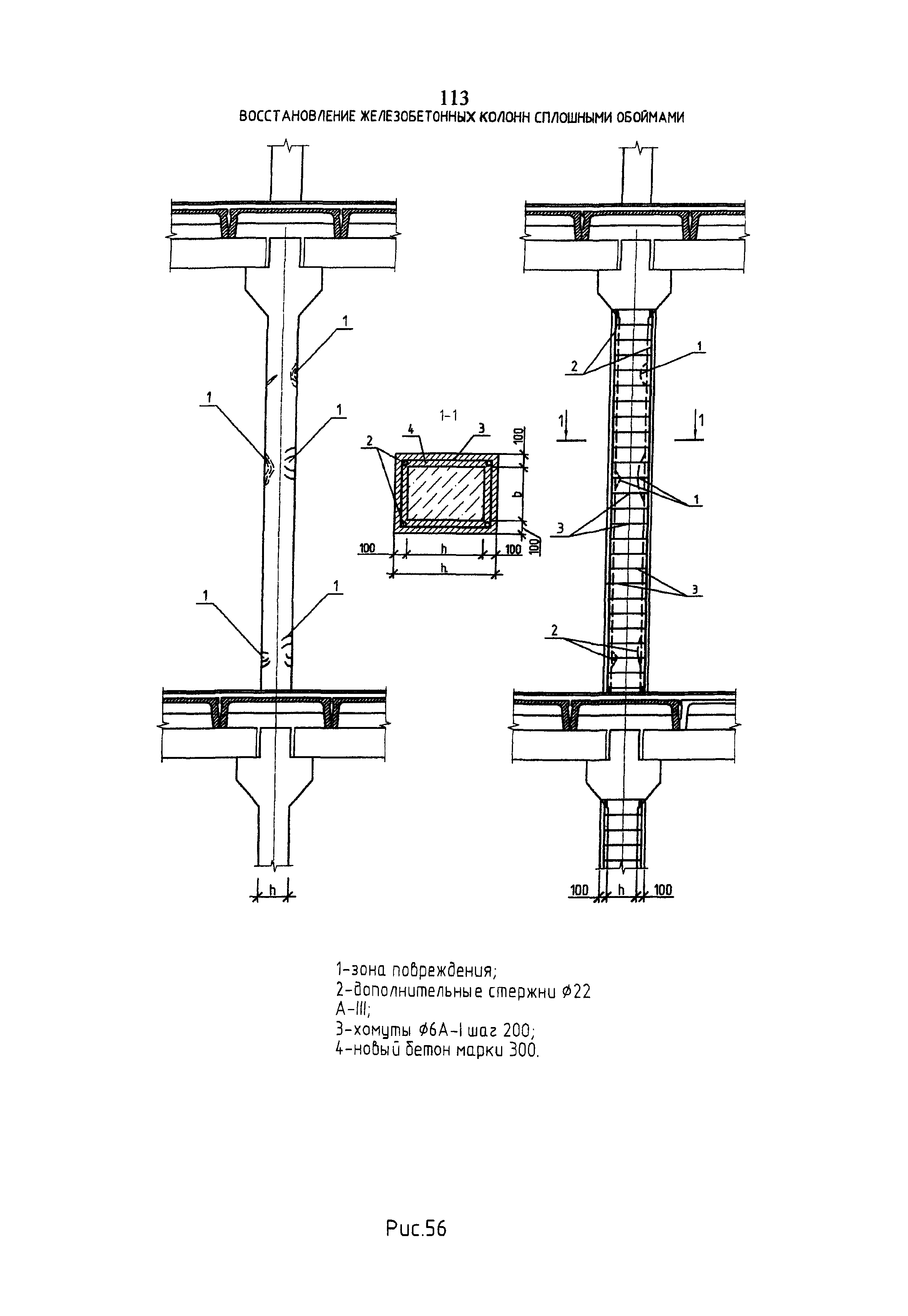
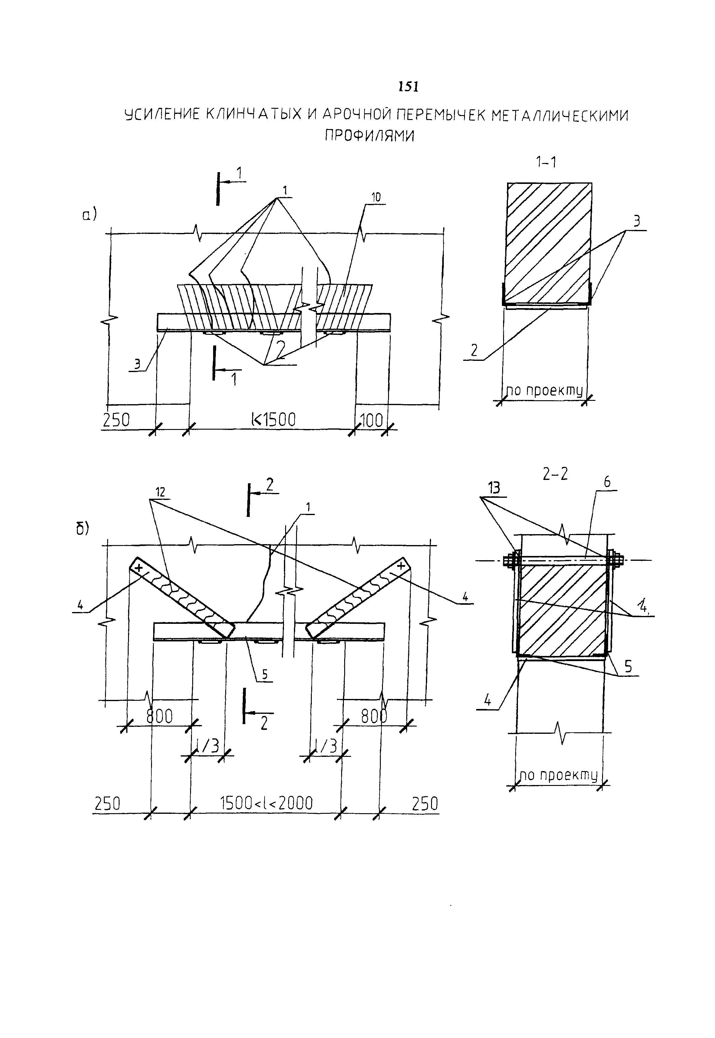
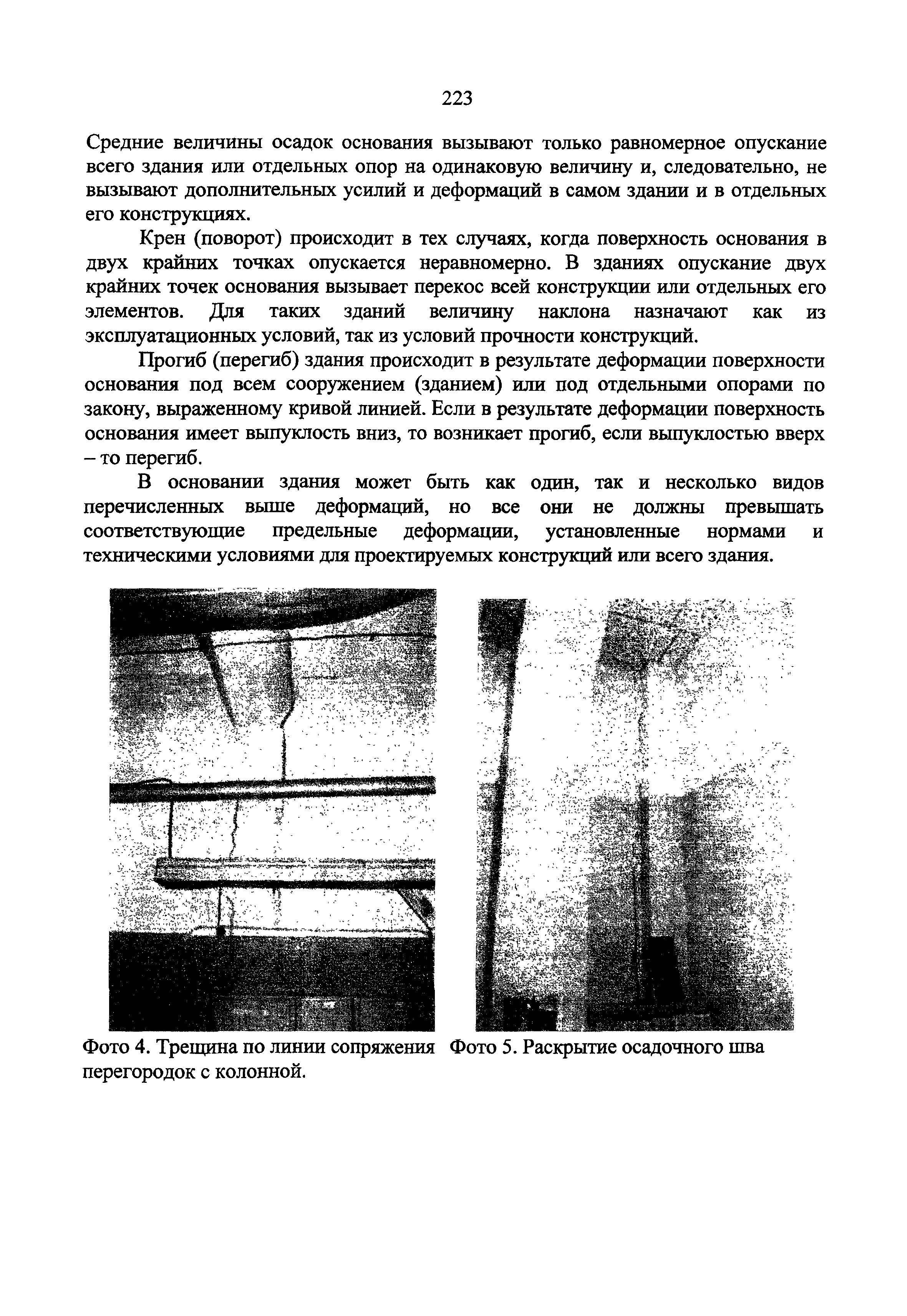
| Оглавление: | 1. Введение 2. Общие сведения 2.1 Термины и определения 2.2 Основные положения по усилению конструкций 2.3 Оценка несущей способности железобетонных конструкций 2.4 Основные положения по расчету и конструированию усилений 2.5 Основные материалы для усиления и восстановления существующих железобетонных конструкций и требования к ним 2.6 Требования к материалам для приготовления быстротвердеющих ремонтных составов 2.7 Составы бетонов и растворов, предназначенных для усиления и восстановления строительных конструкций 2.8 Указания по проведению ремонтных работ 2.9 Технический надзор (контроль) за качеством ремонтов зданий 2.10 Порядок приемки в эксплуатацию после капитального или текущего ремонтов 3. Методика определения целесообразности ремонта, реконструкции или сноса здания 4. Усиление железобетонных конструкций композитными материалами 4.1 Общие сведения 4.2 Технология производства работ 4.3 Раскрой лент или ламината 4.4 Приготовление адгезива 4.5 Наклейка лент (ткани) 4.6 Наклейка ламината 5. Усиление и восстановление фундаментов 5.1 Общая часть 5.2 Способы восстановления несущей способности фундаментов 5.2.1 Закрепление бутовой кладки фундамента цементацией 5.2.2 Закрепление бетонных (железобетонных)( фундаментов, имеющих трещины, синтетическими смолами 5.2.3 Устройство воздушных каналов с наружной стороны стены (от замачивания) 5.2.4 Устройство воздушных каналов с внутренней стороны стены (защита от замачивания) 5.2.5 Уширение подошвы для ленточного сборного фундамента (устройство железобетонной обоймы) 5.2.6 Устройство железобетонных приливов 5.2.7 Уширение подошвы для отдельного фундамента (устройство железобетонной рубашки) 5.2.8 Устройство обоймы из фибробетона 5.2.9 Передача нагрузки от стены на буроинъекционные сваи 5.2.10 Передача нагрузки от фундамента на буронабивные сваи 5.2.11 Передача нагрузки от фундамента на буроинъекционные сваи 5.2.12 Устройство шпунтовой стенки снаружи здания 5.2.13 Устройство шпунтовых стенок в подвале здания 5.2.14 Упрочнение пылевато-глинистых грунтов высоконапорной инъекцией (цементным, илоцементным, цементно-песчаным раствором) 5.2.15 Установка продольных разгружающих балок 6. Усиление и восстановление железобетонных конструкций 6.1 Рекомендации по усилению ребристых плит покрытия наращиванием 6.2 Рекомендации по усилению ребристых плит покрытия при повреждении ребер 6.3 Рекомендации по усилению сборной железобетонной плиты покрытия металлической балкой с подклинкой 6.4 Рекомендации по восстановлению опирания ребристых плит покрытия на опоры 6.5 Рекомендации по усилению ребер плит покрытия с помощью двухконсольных балок 6.6 Рекомендации по увеличению длины опирания плит покрытия 6.7 Рекомендации по усилению сборных балок покрытия наращиванием сверху 6.8 Рекомендации по усилению стропильных балок наращиванием снизу 6.9 Рекомендации по усилению балок покрытия обоймой и дополнительными хомутами 6.10 Рекомендации по усилению сжатой зоны стропильной балки обоймами 6.11 Рекомендации по усилению сборной балки покрытия шарнирно-стержневой цепью 6.12 Рекомендации по усилению сборной балки покрытия шпренгелем 6.13 Рекомендации по усилению железобетонной балки покрытия с помощью двухветвевой шпренгельной затяжки (а.с. СССР N 922257) 6.14 Рекомендации по усилению стропильных балок подпружными системами 6.15 Рекомендации по усилению опорных участков балок покрытия хомутами 6.16 Рекомендации по усилению балок покрытия двухконсольной балочной системой 6.17 Рекомендации по усилению верхнего пояса фермы 6.18 Рекомендации по усилению нижнего пояса фермы 6.19 Рекомендации по усилению стойки фермы 6.20 Рекомендации по усилению раскоса и стойки фермы 6.21 Рекомендации по усилению ребер сборных плит перекрытия с помощью дополнительной арматуры 6.22 Рекомендации по усилению сборных плит перекрытия при помощи наклонных хомутов 6.23 Рекомендации по усилению приопорных участков многопустотных плит перекрытий 6.24 Рекомендации по усилению сборной многопустотной плиты перекрытия замоноличиванием каналов пустот 6.25 Рекомендации по восстановлению железобетонной балки путем подвешивания ее к металлической балке 6.26 Рекомендации по восстановлению железобетонной балки с косыми трещинами при помощи уголков и хомутов 6.27 Рекомендации по усилению железобетонной плиты с помощью закрепленных сверху металлических полос (патент Японии N 52-42950) 6.28 Рекомендации по усилению железобетонной плиты монолитного перекрытия металлическими полосами, закрепленными с двух сторон (патент Японии N 57-10261) 6.29 Рекомендации по усилению железобетонной балки монолитного перекрытия преднапряженной металлической балкой, подвешенной на хомутах 6.30 Рекомендации по усилению железобетонной балки перекрытия шпренгелем 6.31 Рекомендации по усилению железобетонной балки монолитного перекрытия дополнительной предварительно-напряженной комбинированной затяжкой 6.32 Рекомендации по усилению железобетонной балки перекрытия преднапряженной арматурой 6.33 Рекомендации по усилению балки перекрытия дополнительной жесткой опорой 6.34 Рекомендации по усилению железобетонной балки с помощью подведенной металлической стойки 6.35 Рекомендации по усилению балок перекрытия на восприятие поперечных сил 6.36 Рекомендации по усилению подкрановых балок на восприятие поперечных сил 6.37 Рекомендации по усилению креплений подкрановой балки к колонне 6.38 Рекомендации по усилению подкрановой балки с помощью стальных консолей и обойм 6.39 Рекомендации по усилению ствола колонн металлическими уголками 6.40 Рекомендации по восстановлению железобетонных колонн местными обоймами 6.41 Рекомендации по восстановлению железобетонных колонн сплошными обоймами 6.42 Рекомендации по восстановлению железобетонных колонн, имеющих остаточное отклонение, сплошными обоймами 6.43 Рекомендации по усилению железобетонных колонн набетонкой 6.44 Рекомендации по восстановлению железобетонных колонн сплошными металлическими корсетами 6.45 Рекомендации по усилению железобетонной колонны двухсторонними преднапряженными распорками 6.46 Рекомендации по усилению консолей колонн с помощью наклонных горизонтальных тяжей 7. Усиление и восстановление стальных конструкций 7.1 Общая часть 7.2 Усиление подведением новых конструкций и элементов 7.3 Усиление постановкой дополнительных связей, ребер, диафрагм и распорок 7.4 Усиление соединений элементов 7.5 Увеличение сечений элементов 7.6 Усиление изменением конструктивной схемы 7.7 Конструктивные решения по защите металлоконструкций от воздействия огня 7.8 Рекомендации по усилению верхнего пояса металлической фермы 7.9 Рекомендации по усилению нижнего пояса металлической фермы 7.10 Рекомендации по усилению раскосов и стоек металлической фермы 7.11 Рекомендации по усилению ферм устройством несущей конструкции фонаря 7.12 Рекомендации по усилению металлических главных балок перекрытий постановкой ребер жесткости 7.13 Рекомендации по усилению металлических главных балок перекрытий накладными полосами 7.14 Рекомендации по усилению центрально-сжатых колонн сквозного сечения способом увеличения сечения 8. Усиление и восстановление каменных и армокаменных конструкций 8.1 Общие сведения 8.2 Оценка несущей способности каменных конструкций 8.3 Крепление стен с помощью системы тяжей 8.4 Рекомендации по усилению рядовых и клинчатых перемычек 8.5 Рекомендации по усилению угла стены здания металлическими балками 8.6 Рекомендации по усилению стен армированной растворной обоймой 8.7 Рекомендации по усилению простенков железобетонными и металлическими сердечниками 8.8 Рекомендации по усилению поврежденных простенков металлическими обоймами и бандажами 8.9 Рекомендации по перекладке поврежденных простенков с использованием временных стоек 8.10 Рекомендации по усилению клинчатых и арочных перемычек металлическими профилями 8.11 Усиление столбов обоймами 8.12 Усиление пилястр обоймами 8.13 Усиление стальными тяжами пересечения стен, ослабленного трещиной или швом 9. Рекомендации по применению материалов и конструкций для ограждающих элементов зданий 9.1 Характеристика теплоизоляционных материалов 9.2 Прогрессивные конструкции стен 9.3 Многослойные конструкции стен с эффективной теплоизоляцией и вентилируемой воздушной прослойкой 9.4 Способы восстановления наружных ограждающих конструкций 10. Примеры конструктивных решений по ремонту и усилению строительных конструкций 10.1 Наиболее характерные повреждения конструкций 10.2 Защита строительных металлических конструкций от коррозии 10.3 Усиление ригелей и балок перекрытий многоэтажных зданий и железобетонных этажерок 10.4 Отдельные положения организации работ по усилению строительных конструкций стальных каркасов производственных зданий 10.5 Усиление сварных подкрановых конструкций в зданиях, оборудованных мостовыми кранами тяжелого и весьма тяжелого режимов работы 10.6 Усиление железобетонных колонн одноэтажных промышленных зданий устройством стоек усиления 10.7 Новый тип подкрановых конструкций 10.8 Способы закрытия отверстий 10.9 Восстановление промышленного здания с кирпичными несущими стенами 10.10 Техническое состояние панелей наружных стен 10.11 Ограждающие конструкции 10.12 Метод ремонта многослойных кровель и оборудование для его осуществления 10.13 Содержание и ремонт полов 10.14 Техническое состояние конструкций балконов и их ремонт 10.15 Определение просадки пола 10.16 Осадки оснований зданий при устройстве рядом расположенных котлованов 10.17 Отделка внутренних помещений 10.18 Материалы серии "ЭМАКО" для ремонта бетонных и железобетонных конструкций 11. Перечень конструктивных решений усиления и восстановления строительных конструкций по материалам технической литературы и патентной библиотеки 12. Список литературы |
| Разработан: | ОАО ЦНИИпромзданий |
| Утверждён: | 24.12.2008 ОАО ЦНИИпромзданий (TsNIIpromzdaniy OAO ) |
| Нормативные ссылки: |
|



































































































































































































































































