Скачать Пособие по проектированию несущих и ограждающих конструкций промышленных зданий для взрывоопасных производствДата актуализации: 01.01.2021 |
| Статус: | заменен |
| Название рус.: | Пособие по проектированию несущих и ограждающих конструкций промышленных зданий для взрывоопасных производств |
| Дата добавления в базу: | 01.09.2013 |
| Дата актуализации: | 01.01.2021 |
| Дата введения: | 26.05.1993 |
| Дата окончания срока действия: | 20.07.2000 |
| Область применения: | Указания содержат материалы для проектирования несущих и ограждающих конструкций зданий и помещений взрывоопасных производств при аварийных взрывах газо-паро-пылевоздушных горючих смесей (ГС). |
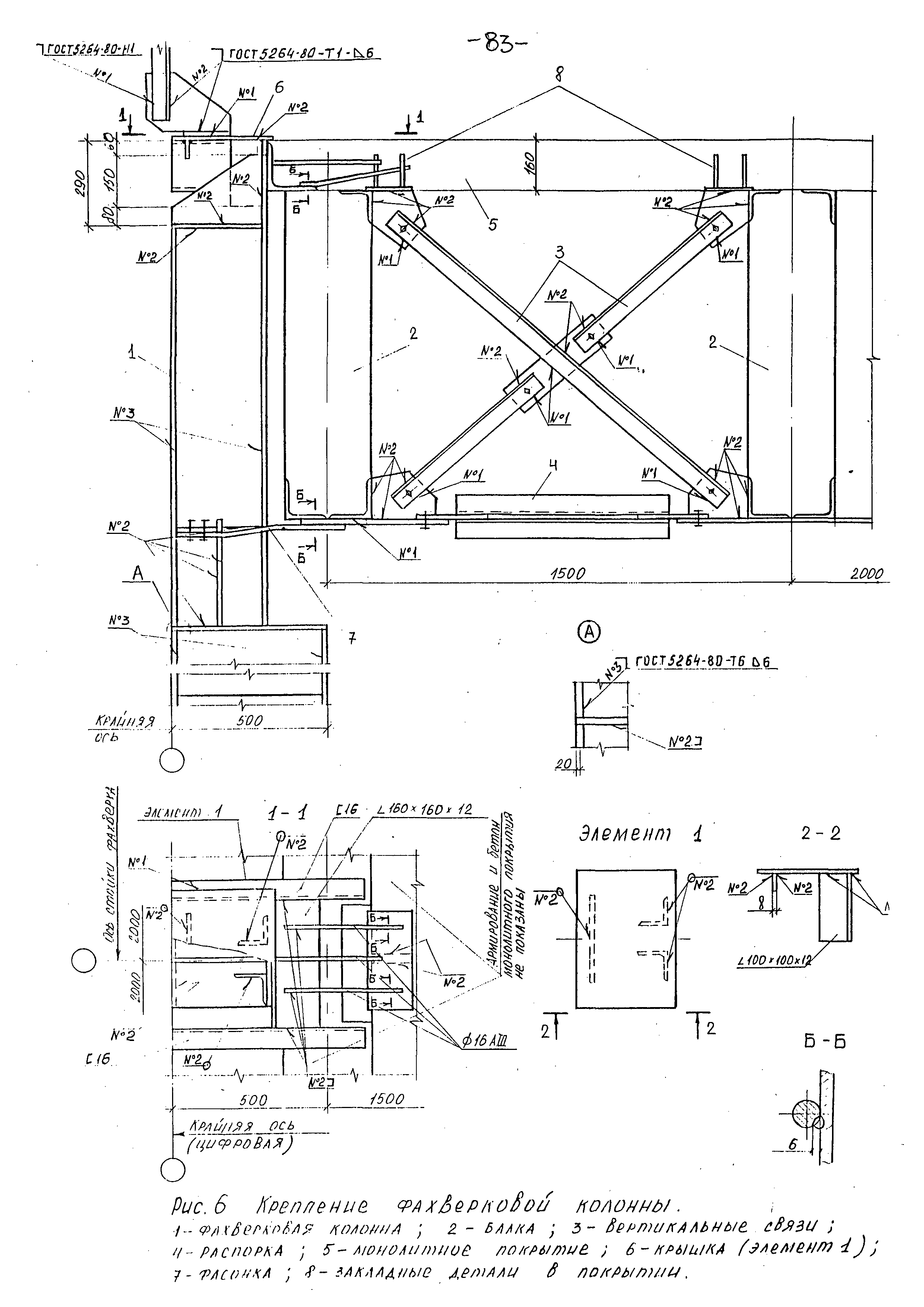
| Оглавление: | 1. Введение Часть 1. Внешний взрыв 2. Общие положения 3. Объемно-планировочные решения 4. Конструктивные решения 5. Расчет конструкций зданий и сооружений 5.1 Нагрузки и воздействия 5.2 Расчетные схемы 5.3 Бетонные и железобетонные конструкции 5.4 Стальные конструкции 5.5 Основания и фундаменты Часть 2. Внутренний взрыв 6. Общие положения 7. Объемно-планировочные и конструктивные решения 8. Предохранительные конструкции 8.1 Особенности использования стекол в остеклении зданий взрывоопасных производств 8.2 Использование элементов стен в качестве предохранительных конструкций 8.3 Использование легкосбрасываемых покрытий в качестве предохранительных конструкций 8.4 Использование элементов светоаэрационных и аэрационных фонарей в качестве предохранительных конструкций 9. Определение требуемой площади проемов, перекрываемых предохранительными конструкциями 10. Расчет конструкций зданий и сооружений 10.1 Нагрузки и воздействия 10.2 Расчетные схемы 10.3 Бетонные и железобетонные конструкции Список литературы Приложение 1. Таблицы для определения площади предохранительных конструкций Приложение 2. Пример расчета остекления и предохранительных конструкций Приложение 3. Пример расчета конструкций здания при внутреннем взрыве Приложение 4. Рисунки |
| Разработан: | ЦНИИпромзданий |
| Утверждён: | 26.05.1993 Госстрой России (Russian Federation Gosstroy 4.2-09-131/93) |
| Нормативные ссылки: |
|






























































































