Скачать СП 40.13330.2012 Плотины бетонные и железобетонные

Дата актуализации: 01.01.2021

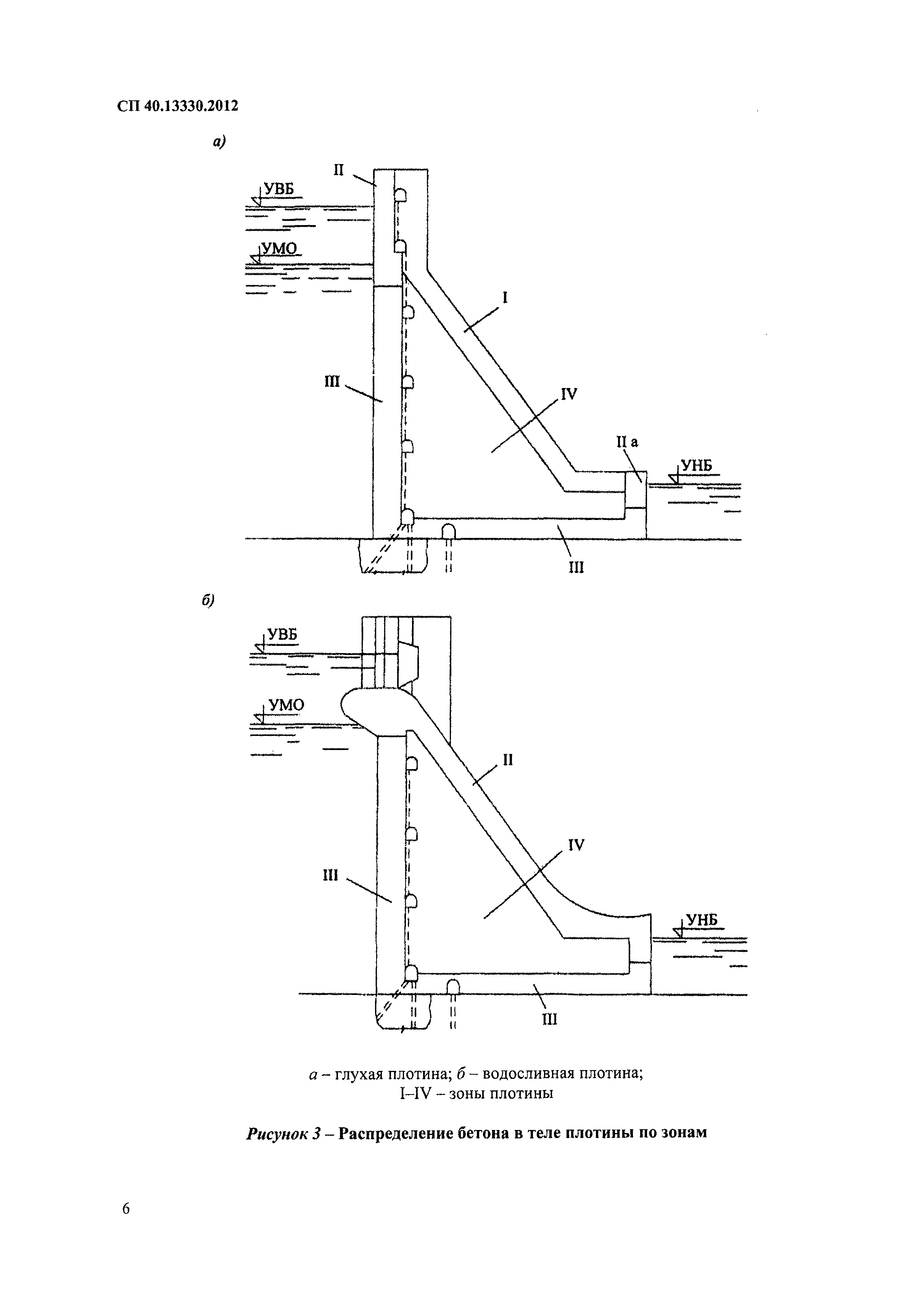
СП 40.13330.2012

Плотины бетонные и железобетонные

Обозначение: СП 40.13330.2012
Обозначение англ: SP 40.13330.2012
Статус:действует
Название рус.:Плотины бетонные и железобетонные
Название англ.:Concrete and reinforced concrete dams
Дата добавления в базу:01.09.2013
Дата актуализации:01.01.2021
Дата введения:01.01.2013
Область применения:Свод правил распространяется на проектирование строящихся и реконструируемых бетонных и железобетонных плотин, входящих в состав энергетических, воднотранспортных и мелиоративных гидроузлов, систем водоснабжения, водоочистки, переброски стока и борьбы с наводнениями, а также гидроузлов комплексного назначения. При проектировании бетонных и железобетонных плотин, предназначенных для строительства в сейсмических районах, в условиях распространения просадочных, набухающих и закарстованных грунтов, в северной строительно-климатической зоне (ССКЗ) и приравненных к ней по природно-климатическим условиям районам (например, высокогорные районы) надлежит соблюдать дополнительные требования, предъявляемые к таким сооружениям в соответствующих нормативных документах.
Оглавление:1 Область применения
2 Нормативные ссылки
3 Термины и определения
4 Общие положения
5 Требования к строительным материалам
6 Общие конструктивные требования
7 Нагрузки, воздействия и их сочетания
8 Основные положения по расчетам плотин
9 Бетонные и железобетонные плотины на нескальных основаниях
10 Гравитационные плотины на скальных основаниях
11 Контрфорсные плотины на скальных основаниях
12 Арочные и арочно-гравитационные плотины
13 Обеспечение безопасности плотин
Приложение А (обязательное). Перечень нормативных документов
Приложение Б (обязательное). Основные буквенные обозначения
Библиография
Разработан: ОАО ВНИИГ им. Веденеева
Утверждён:29.12.2011 Минрегион России (618)
Издан: Минрегион России (2011 г. )
Список изменений:
Нормативные ссылки:
СП 40.13330.2012СП 40.13330.2012СП 40.13330.2012СП 40.13330.2012СП 40.13330.2012СП 40.13330.2012СП 40.13330.2012СП 40.13330.2012СП 40.13330.2012СП 40.13330.2012СП 40.13330.2012СП 40.13330.2012СП 40.13330.2012СП 40.13330.2012СП 40.13330.2012СП 40.13330.2012СП 40.13330.2012СП 40.13330.2012СП 40.13330.2012СП 40.13330.2012СП 40.13330.2012СП 40.13330.2012СП 40.13330.2012СП 40.13330.2012СП 40.13330.2012СП 40.13330.2012СП 40.13330.2012СП 40.13330.2012СП 40.13330.2012СП 40.13330.2012СП 40.13330.2012СП 40.13330.2012СП 40.13330.2012СП 40.13330.2012СП 40.13330.2012СП 40.13330.2012СП 40.13330.2012СП 40.13330.2012СП 40.13330.2012СП 40.13330.2012СП 40.13330.2012СП 40.13330.2012СП 40.13330.2012СП 40.13330.2012СП 40.13330.2012СП 40.13330.2012СП 40.13330.2012СП 40.13330.2012СП 40.13330.2012СП 40.13330.2012СП 40.13330.2012СП 40.13330.2012СП 40.13330.2012СП 40.13330.2012СП 40.13330.2012СП 40.13330.2012СП 40.13330.2012СП 40.13330.2012СП 40.13330.2012СП 40.13330.2012СП 40.13330.2012СП 40.13330.2012СП 40.13330.2012СП 40.13330.2012СП 40.13330.2012СП 40.13330.2012СП 40.13330.2012СП 40.13330.2012СП 40.13330.2012СП 40.13330.2012

Текстовое изменение № 1 от 31.05.2019

№ 1№ 1№ 1№ 1