Скачать ГОСТ Р 54770-2011 Подъемники с рабочими платформами. Подъемники мачтового типа. Расчеты конструкции, требования безопасности, методы испытанийДата актуализации: 01.01.2021
|
| Обозначение: | ГОСТ Р 54770-2011 |
| Обозначение англ: | GOST R 54770-2011 |
| Статус: | введен впервые |
| Название рус.: | Подъемники с рабочими платформами. Подъемники мачтового типа. Расчеты конструкции, требования безопасности, методы испытаний |
| Название англ.: | Elevating work platforms. Mast-climbing work platforms. Calculating of the structure, safely requirements, testing methods |
| Дата добавления в базу: | 01.10.2014 |
| Дата актуализации: | 01.01.2021 |
| Дата введения: | 01.01.2013 |
| Область применения: | Стандарт распространяется на подъемники с рабочими платформами мачтового типа (ПРПМ), предназначенные для перемещения рабочего персонала с инструментом и материалами, размещенными на рабочей платформе, и проведения работ в пределах рабочей зоны. Стандарт устанавливает: - требования к проектированию и расчетам ПРПМ; - перечень опасных факторов, возникающих на различных этапах эксплуатации ПРПМ; - требования безопасности, предотвращающие или сводящие к минимуму опасные факторы, и методы их испытаний. |
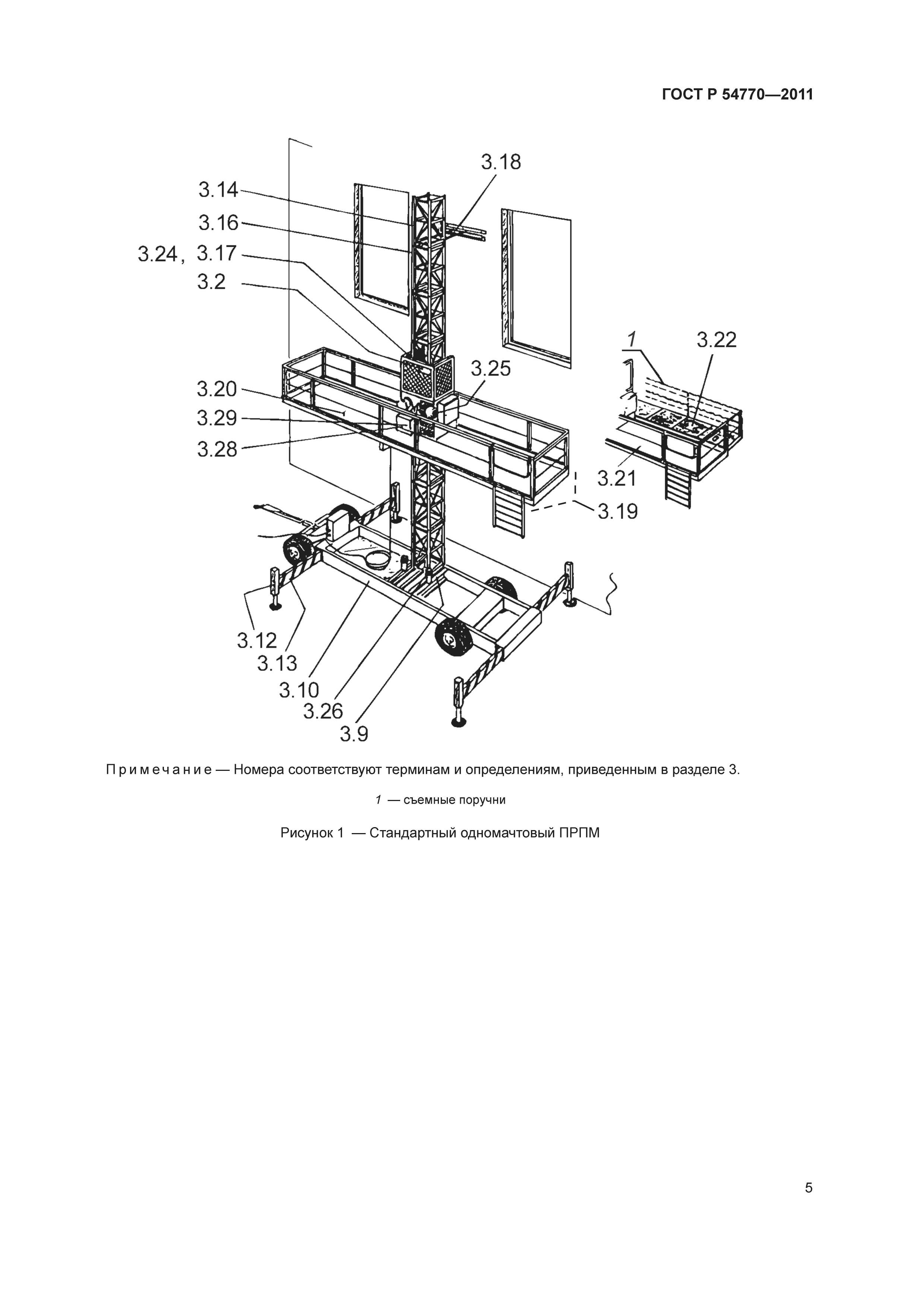
| Оглавление: | 1 Область применения 2 Нормативные ссылки 3 Термины и определения 4 Перечень опасных факторов 5 Требования и/или мероприятия по обеспечению безопасности 5.1 Расчеты конструкции ПРПМ на прочность и общую устойчивость 5.2 Общие требования к ПРПМ, несущему основанию, шасси и мачте 5.3 Рабочая платформа 5.4 Спускоподъемные приводные механизмы 5.5 Устройства или средства, не допускающие падения рабочей платформы с высокой скоростью 5.6 Устройства аварийного спуска и подъема рабочей платформы 5.7 Ограничитель предельного груза/превышения момента сил 5.8 Электрические системы 5.9 Приводные механизмы с двигателем внутреннего сгорания 5.10 Гидравлическая система 5.11 Специальные требования к защитным устройствам, работающим от вспомогательных цепей, и датчикам перегрузки/превышения момента сил 5.12 Концевые выключатели ограничения хода 5.13 Органы управления 6 Проверка и испытания ПРПМ на соответствие требованиям безопасности 6.1 Проверка конструкции 6.2 Испытания 7 Представляемая информация 7.1 Эксплуатационные документы 7.2 Маркировка Приложение А (справочное) Расчеты металлоконструкции Приложение В (обязательное) Специальные требования к многоуровневым рабочим платформам Приложение С (обязательное) Требования к электрическим и электронным свойствам устройств обнаружения перегрузки Приложение ДА (справочное) Сведения о соответствии ссылочных национальных и межгосударственных стандартов международным и европейским региональным стандартам, использованным в качестве ссылочных в примененном международном стандарте Библиография |
| Разработан: | ПТОУ-Фонд |
| Утверждён: | 13.12.2011 Федеральное агентство по техническому регулированию и метрологии (982-ст) |
| Издан: | Стандартинформ (2013 г. ) |
| Нормативные ссылки: |
|
































































