Скачать ОСТ 95 10440-2002 Оборудование для работы с радиоактивными средами. Сварные соединения. Типы, конструктивные элементы и размерыДата актуализации: 01.01.2021 ОСТ 95 10440-2002
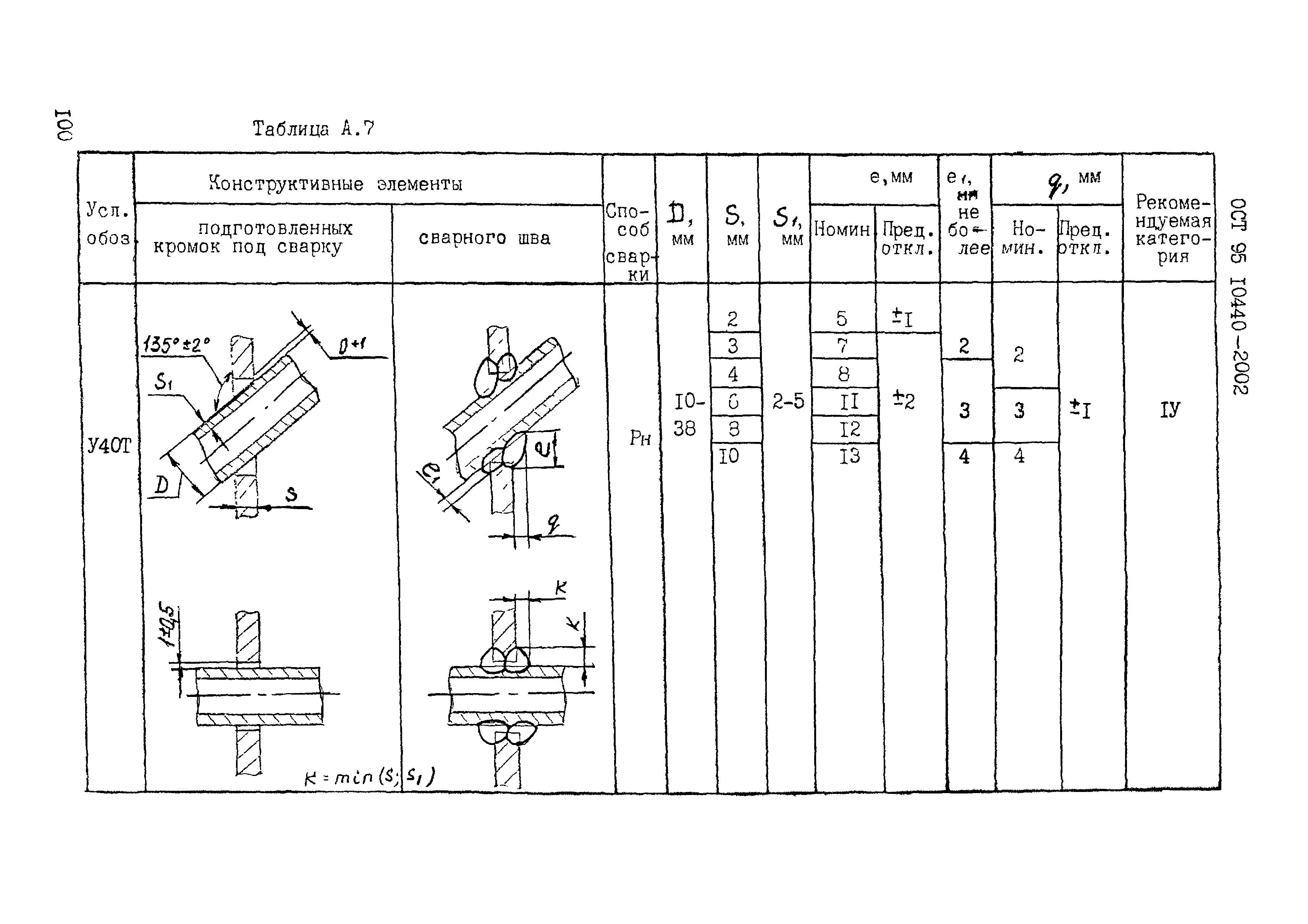
Оборудование для работы с радиоактивными средами. Сварные соединения. Типы, конструктивные элементы и размеры| Обозначение: | ОСТ 95 10440-2002 | | Обозначение англ: | OST 95 10440-2002 | | Статус: | справочные материалы, мп, тпр | | Название рус.: | Оборудование для работы с радиоактивными средами. Сварные соединения. Типы, конструктивные элементы и размеры | | Дата добавления в базу: | 01.10.2014 | | Дата актуализации: | 01.01.2021 | | Дата введения: | 01.06.2002 | | Дата окончания срока действия: | 01.01.2008 | | Область применения: | Стандарт устанавливает основные типы, конструктивные элементы и размеры швов сварных соединений из коррозионно-стойких сталей и сплавов, применяемых для изготовления оборудования, предназначенного для работы с радиоактивными средами в производствах, на которые распространяются требования "Норм радиационной безопасности НРБ-99" и "Основных санитарных правил обеспечения радиационной безопасности ОСПОРБ-99. Допускается применение данных типов сварных соединений для оборудования, предназначенного для переработки низко- и среднеактивных отходов АЭС по согласованию с главным конструктором по оборудованию для переработки и отверждения радиоактивных отходов. Контроль сварных соединений в этом случае должен проводиться по ОСТ 95 39. | | Оглавление: | 1 Область применения 2 Нормативные ссылки 3 Общие положения 4 Технологические рекомендации к сварным соединениям Приложение А. Конструктивные элементы и размеры швов сварных соединений для ремонтных работ | | Разработан: | ОАО СвердНИИхиммаш
| | Утверждён: | 08.02.2002 Минатом Российской Федерации
| | Список изменений: | | | Заменяет собой: | | | Нормативные ссылки: | |
                                                                                                          
Текстовое изменение № 1 от 01.06.2005
   
Текстовое изменение № 2 от 01.10.2007

|