Скачать СТБ 1831-2008 Насосы шестеренные объемного гидропривода. Технические условия

Дата актуализации: 01.01.2021

СТБ 1831-2008

Насосы шестеренные объемного гидропривода. Технические условия

Обозначение: СТБ 1831-2008
Обозначение англ: 1831-2008
Статус:применяется в еаэс
Название рус.:Насосы шестеренные объемного гидропривода. Технические условия
Название англ.:Gear pumps with fluid power drives. Technical requirements
Дата добавления в базу:01.01.2019
Дата актуализации:01.01.2021
Дата введения:01.08.2008
Область применения:Стандарт распространяется на одно- и двухсекционные шестеренные насосы объемного гидропривода климатических исполнений У, УХЛ, Т, ХЛ категории размещения I по ГОСТ 15150, предназначенные для нагнетания рабочей жидкости в гидравлические системы тракторов, сельскохозяйственных и других машин.
Оглавление:1 Область применения
2 Нормативные ссылки
3 Технические требования
4 Требования безопасности и охраны окружающей среды
5 Правила приемки
6 Методы испытаний
7 Транспортирование и хранение
8 Указания по эксплуатации
9 Гарантии изготовителя
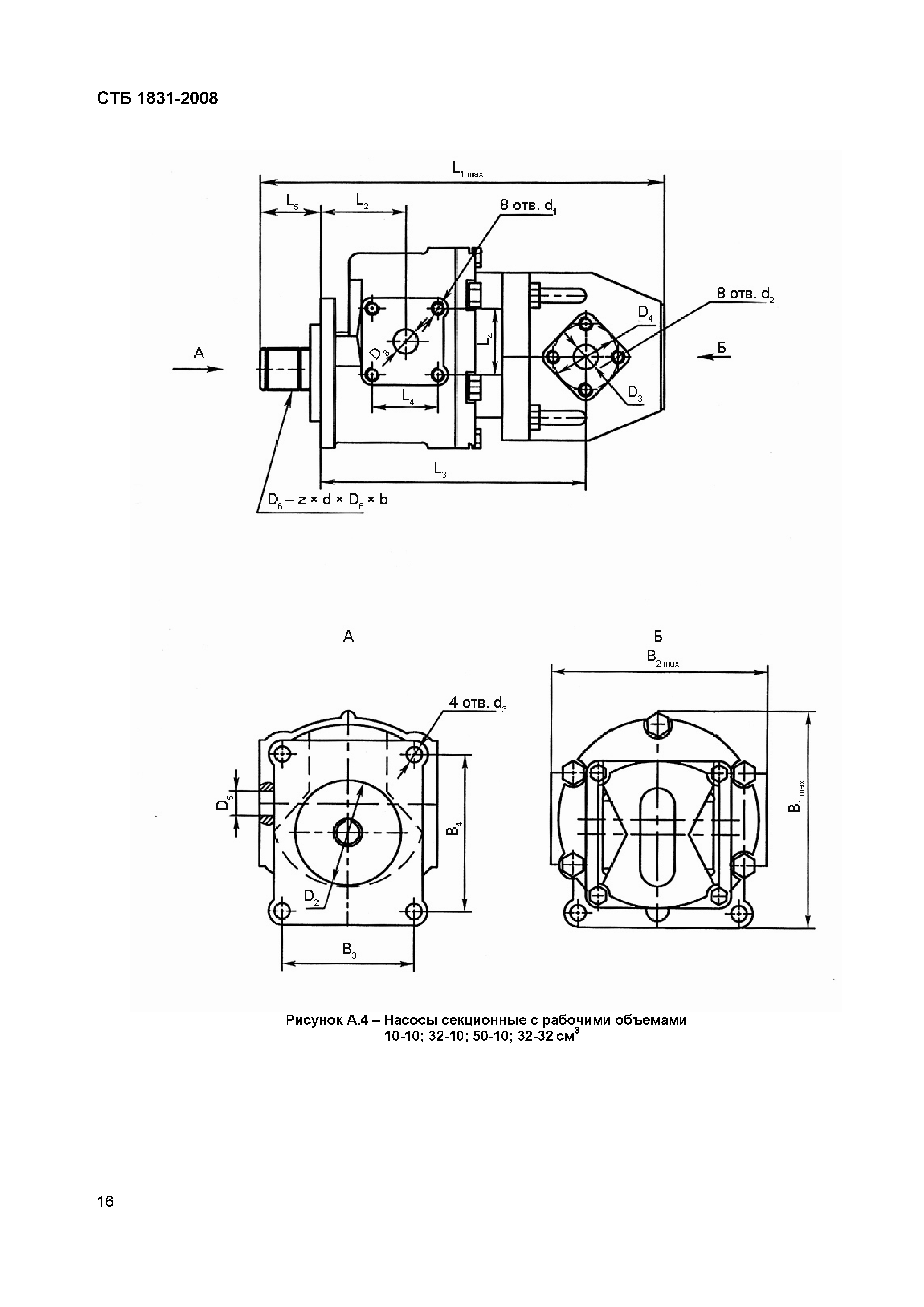
Приложение А (справочное) Габаритные и присоединительные размеры насосов
Разработан: Научно-инновационное республиканское УП Промстандарт
Утверждён:21.01.2008 Госстандарт Республики Беларусь (3)
Издан: БелГИСС (2008 г. )
Нормативные ссылки:
СТБ 1831-2008СТБ 1831-2008СТБ 1831-2008СТБ 1831-2008СТБ 1831-2008СТБ 1831-2008СТБ 1831-2008СТБ 1831-2008СТБ 1831-2008СТБ 1831-2008СТБ 1831-2008СТБ 1831-2008СТБ 1831-2008СТБ 1831-2008СТБ 1831-2008СТБ 1831-2008СТБ 1831-2008СТБ 1831-2008СТБ 1831-2008СТБ 1831-2008СТБ 1831-2008СТБ 1831-2008СТБ 1831-2008СТБ 1831-2008СТБ 1831-2008СТБ 1831-2008СТБ 1831-2008СТБ 1831-2008