Скачать ГОСТ 14658-86 Насосы объемные гидроприводов. Правила приемки и методы испытаний

Дата актуализации: 01.01.2021

ГОСТ 14658-86

Насосы объемные гидроприводов. Правила приемки и методы испытаний

Обозначение: ГОСТ 14658-86
Обозначение англ: GOST 14658-86
Статус:взамен
Название рус.:Насосы объемные гидроприводов. Правила приемки и методы испытаний
Название англ.:Positive-displacement pumps for hydraulic drives. Acceptance rules and methods of testing
Дата добавления в базу:01.09.2013
Дата актуализации:01.01.2021
Дата введения:01.01.1988
Область применения:Стандарт распространяется на объемные насосы для объемных гидроприводов и устанавливает правила приемки и методы испытаний.
Оглавление:1 Правила приемки
2 Методы испытаний
3 Требования безопасности
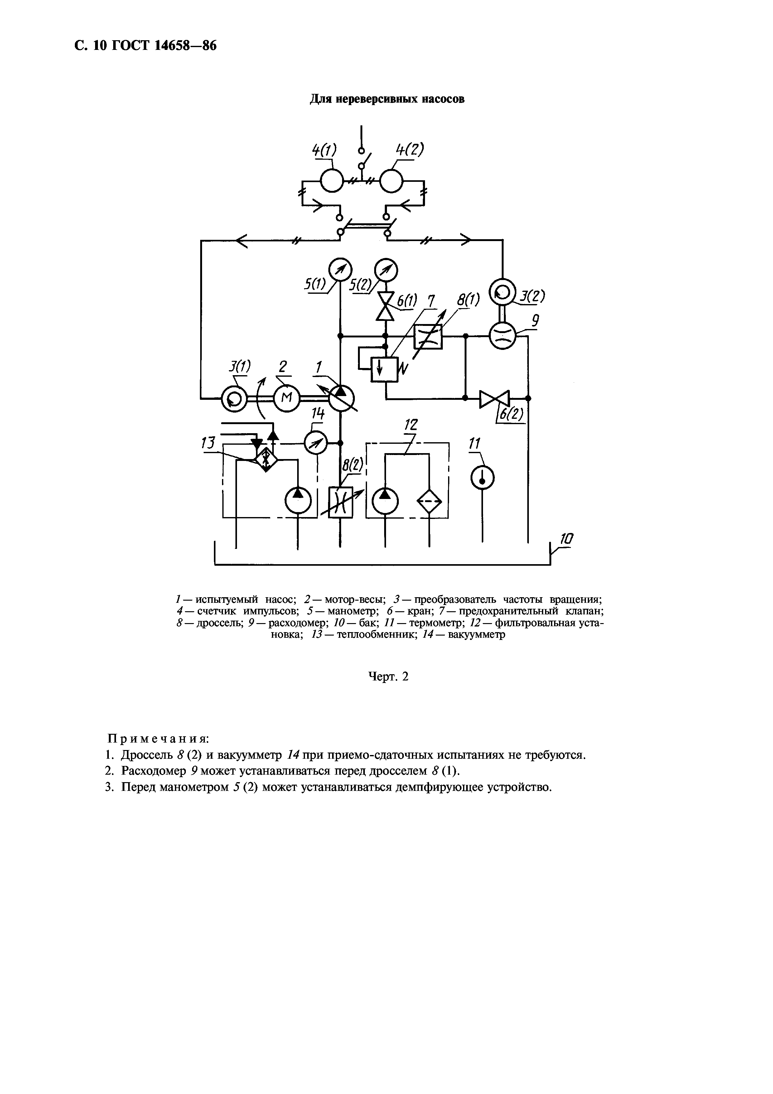
Приложение 1 Типовые схемы стендов для испытаний насосов
Приложение 2 Типовые диаграммы характеристик насосов
Разработан: Министерство станкостроительной и инструментальной промышленности
Утверждён:30.10.1986 Государственный комитет СССР по стандартам (USSR National Committee on Standards 3330)
Издан: Издательство стандартов (1986 г. )
ИПК Издательство стандартов (1999 г. )
Заменяет собой:
  • ГОСТ 14658-75 «Насосы объемные гидроприводов. Правила приемки и методы испытаний»
Нормативные ссылки:
ГОСТ 14658-86ГОСТ 14658-86ГОСТ 14658-86ГОСТ 14658-86ГОСТ 14658-86ГОСТ 14658-86ГОСТ 14658-86ГОСТ 14658-86ГОСТ 14658-86ГОСТ 14658-86ГОСТ 14658-86ГОСТ 14658-86ГОСТ 14658-86ГОСТ 14658-86