Скачать 732-ЦВ-ЦЛ Общее руководство по ремонту оборудования вагоновДата актуализации: 01.01.2021
|
| Обозначение: | 732-ЦВ-ЦЛ |
| Обозначение англ: | 732-ЦВ-ЦЛ |
| Статус: | действует |
| Название рус.: | Общее руководство по ремонту оборудования вагонов |
| Дата добавления в базу: | 01.01.2019 |
| Дата актуализации: | 01.01.2021 |
| Дата введения: | 01.08.2011 |
| Область применения: | Руководство устанавливает основные требования на ремонт, приемку и испытание после ремонта тормозного оборудования и тормозов грузовых и пассажирских вагонов, курсирующих в межгосударственном сообщении государств-участников Содружества, Грузии, Латвийской республики, Литовской республики и Эстонской республики. Требования Руководства являются обязательными для всех предприятий, производящих ремонт тормозного оборудования и тормозов, а также владельцев вышеназванного подвижного состава. Конструкторская и технологическая документация, относящаяся к ремонту, приемке и испытанию после ремонта тормозного оборудования, а также к приемке и испытанию тормозов вышеназванного подвижного состава, должна соответствовать требованиям Руководства. |
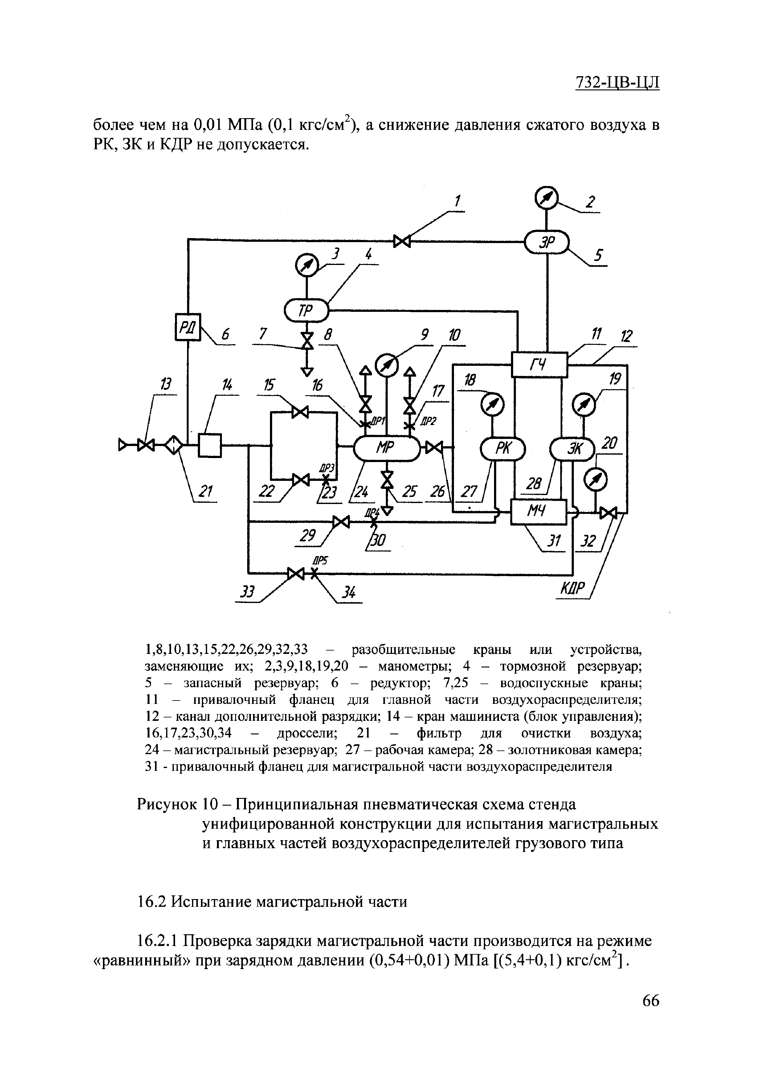
| Оглавление: | 1 Основные положения 2 Объем ремонта тормозного оборудования грузовых вагонов 2.1 Объем ремонта тормозного оборудования при текущем отцепочном ремонте грузовых вагонов 2.2 Объем ремонта тормозного оборудования при деповском ремонте грузовых вагонов 2.3 Объем ремонта тормозного оборудования при капитальном ремонте грузовых вагонов 3 Общие технические требования к тормозному оборудованию и монтажу его на вагонах при всех видах ремонта грузовых вагонов 4 Технические требования на ремонт тормозной рычажной передачи грузовых вагонов 5 Технические требования на ремонт тормозного воздухопровода грузовых вагонов 6 Технические требования на ремонт и испытание запасных резервуаров грузовых вагонов 7 Технические требования на ремонт и испытание камер воздухораспределителей грузового типа 8 Технические требования на ремонт и испытание тормозных цилиндров грузовых вагонов 9 Технические требования на ремонт и испытание концевых и разобщительных кранов 9.1 Концевые краны 190, 4304, 4304М 9.2 Концевые краны 4314 и 4314Б 9.3 Шаровые разобщительные краны грузовых вагонов 9.4 Разобщительный кран пробкового типа грузового вагона (кран 372) 9.5 Шаровой трехходовой кран 4325Б 10 Технические требования на ремонт, комплектование и испытание соединительных рукавов Р17Б и Р36 10.1 Ремонт соединительных рукавов 10.2 Комплектование соединительных рукавов 10.3 Испытание соединительных рукавов 11 Технические требования на ремонт и испытание регуляторов тормозных рычажных передач 12 Технические требования на ремонт и испытание авторежимов грузовых вагонов 13 Испытание авторежимов грузовых вагонов на стенде унифицированной конструкции 13.1 Характеристика стенда 13.2 Методика испытания 14 Установка и регулировка авторежима на грузовых вагонах 15 Технические требования на ремонт и испытание магистральных и главных частей воздухораспределителей грузового типа 16 Испытание магистральных и главных частей воздухораспределителей грузового типа на стенде унифицированной конструкции 16.1 Характеристика стенда 16.2 Испытание магистральной части 16.3 Испытание главной части 17 Регулировка тормозной рычажной передачи грузовых вагонов 17.1 Регулировка тормозной рычажной передачи грузовых вагонов при производстве деповского и капитального ремонта 17.2 Регулировка тормозной рычажной передачи грузовых вагонов при производстве текущего отцепочного ремонта 18 Приемка тормозного оборудования на грузовых вагонах 19 Испытание тормоза грузовых вагонов на типовой установке 19.1 Общие положения 19.2 Характеристика установки 19.3 Подготовка к испытанию тормоза вагона 19.4 Проверка плотности пневматической тормозной системы вагона 19.5 Проверка действия тормоза вагона 19.6 Проверка действия выпускного клапана воздухораспределителя 19.7 Завершение испытаний 20 Ремонт и испытание крана машиниста, применяемого в стендах для испытания воздухораспределителей грузового типа и установках для испытан я тормоза грузовых вагонов 21 Объем ремонта тормозного оборудования пассажирских вагонов 21.1 Объем ремонта тормозного оборудования при текущем отцепочном ремонте пассажирских вагонов 21.2 Ревизия тормозного оборудования пассажирских вагонов 21.3 Единовременная осенне-весенняя ревизия тормозного оборудования пассажирских вагонов 21.4 Объем ремонта тормозного оборудования при деповском ремонте пассажирских вагонов 21.5 Объем ремонта тормозного оборудования при капитальном ремонте первого объема пассажирских вагонов 21.6 Объем ремонта тормозного оборудования при капитальном ремонте второго объема пассажирских вагонов 21.7 Объем ремонта тормозного оборудования при капитально-восстановительном ремонте пассажирских вагонов 22 Общие технические требования к тормозному оборудованию и монтажу его на вагонах при всех видах планового ремонта и технического обслуживания пассажирских вагонов 23 Технические требования на ремонт тормозной рычажной передачи пассажирских вагонов 24 Технические требования на ремонт воздухопровода пассажирских вагонов 25 Технические требования на ремонт резервуаров пассажирских вагонов 26 Технические требования на ремонт тормозных цилиндров пассажирских вагонов 27 Испытание тормозных цилиндров пассажирских вагонов 28 Технические требования на ремонт и испытание кранов и клапанов пассажирских вагонов 28.1 Концевые краны 28.2 Разобщительный кран пробкового типа (края 377) 28.3 Краны шаровые разобщительные 28.4 Стоп-кран 28.5 Клапан выпускной 31Б 28.6 Клапан выпускной 4315 28.7 Клапан обратный 176 29 Технические требования на ремонт, комплектование и испытание резинокордового рукава высокого давления РВД 20 29.1 Ремонт рукавов 29.2 Комплектование соединительных рукавов 29.3 Испытание соединительных рукавов 30 Ремонт и испытание соединительного рукава с электроконтактом 369А 30.1 Ремонт соединительных рукавов 30.2 Комплектование соединительных рукавов 30.3 Испытание соединительных рукавов 31 Технические требования на ремонт реле давления 404 32 Испытание реле давления 404 32.1 Характеристика стенда 32.2 Методика испытания 33 Технические требования на ремонт сигнализаторов давления 115,115а 34 Испытание сигнализаторов давления 115,115а 34.1 Характеристика стенда 34.2 Методика испытания 35 Технические требования на ремонт клапана сбрасывающего трехпозиционного 182, 182-01, 182-04, 182-06, 182-08, 182-09 36 Испытание клапана сбрасывающего трехпозиционного 182, 182-01, 182-04, 182-06, 182-08, 182-09 36.1 Характеристика стенда 36.2 Методика испытания 37 Технические требования на ремонт и испытание противоюзного устройства "БАРС-4" ( "БАРС-4МОС", "БАРС-4МО") и осевых датчиков ОДМ-2М, ОДМ-3 37.1 Общие требования 37.2 Меры безопасности 37.3 Ремонт электронного блока 37.4 Ремонт осевых датчиков ОДМ-2М 37.5 Ремонт осевых датчиков ОДМ-3 38 Технические требования на ремонт и испытания воздухораспределителей и электровоздухораспределителей пассажирского типа 38.1 Общие требования 38.2 Ремонт и проверка воздухораспределителя 292 38.3 Ремонт и проверка воздухораспределителя 292М 38.4 Ремонт и проверка электровоздухораспределителя 305 38.5 Ремонт и проверка воздухораспределителей 242 38.6 Порядок приемки отремонтированных воздухораспределителей и электровоздухораспределителей 39 Испытание воздухораспределителей и электровоздухораспределителей пассажирского типа на стенде унифицированной конструкции 39.1 Характеристика стенда 39.2 Методика испытания воздухораспределителей 242, 292 и 292М 39.3 Методика испытания электровоздухораспределителя 305 40 Технические требования на ремонт дискового тормоза 41 Испытание дискового тормоза 41.1 Характеристика установки 41.2 Методика испытания 42 Регулировка тормозной рычажной передачи пассажирских вагонов 43 Приемка тормозного оборудования на пассажирских вагонах 43.2 Проверка электрических цепей ЭПТ 43.3 Проверка электрических цепей противоюзного устройства 43.4.Проверка электрических цепей магниторельсового тормоза 43.5 Проверка плотности воздухопровода 43.6 Проверка плотности обратных клапанов 43.7 Проверка действия пневматического тормоза 43.8 Проверка ЭПТ 43.9 Проверка действия противоюзного устройства 43.10 Проверка действия магниторельсового тормоза |
| Разработан: | ПКБ ЦВ ОАО РЖД ОАО ВНИИЖТ |
| Утверждён: | 18.05.2011 Совет по железнодорожному транспорту Государств - участников Содружества (54) |
| Принят: | 25.08.2010 Комиссия Совета по железнодорожному транспорту полномочных специалистов вагонного хозяйства железнодорожных администраций (27.2) 08.09.2010 Комиссия по пассажирскому хозяйству Совета по железнодорожному транспорту государств-участников Содружества (4.3) |
| Список изменений: |
|
| Заменяет собой: | |
| Нормативные ссылки: |
|






















































































































































































Текстовое изменение № от 01.01.2013

Текстовое изменение № 

















Текстовое изменение № 
















Текстовое изменение № от 01.01.2015





Текстовое изменение № от 01.01.2016





Текстовое изменение № от 01.07.2018

Текстовое изменение № от 01.01.2017























Текстовое изменение № от 01.07.2017






Текстовое изменение № от 01.01.2018




Текстовое изменение № от 01.07.2017




