Скачать ГОСТ 11679.1-2018 Амортизаторы резинометаллические приборные. Технические условия

Дата актуализации: 01.01.2021

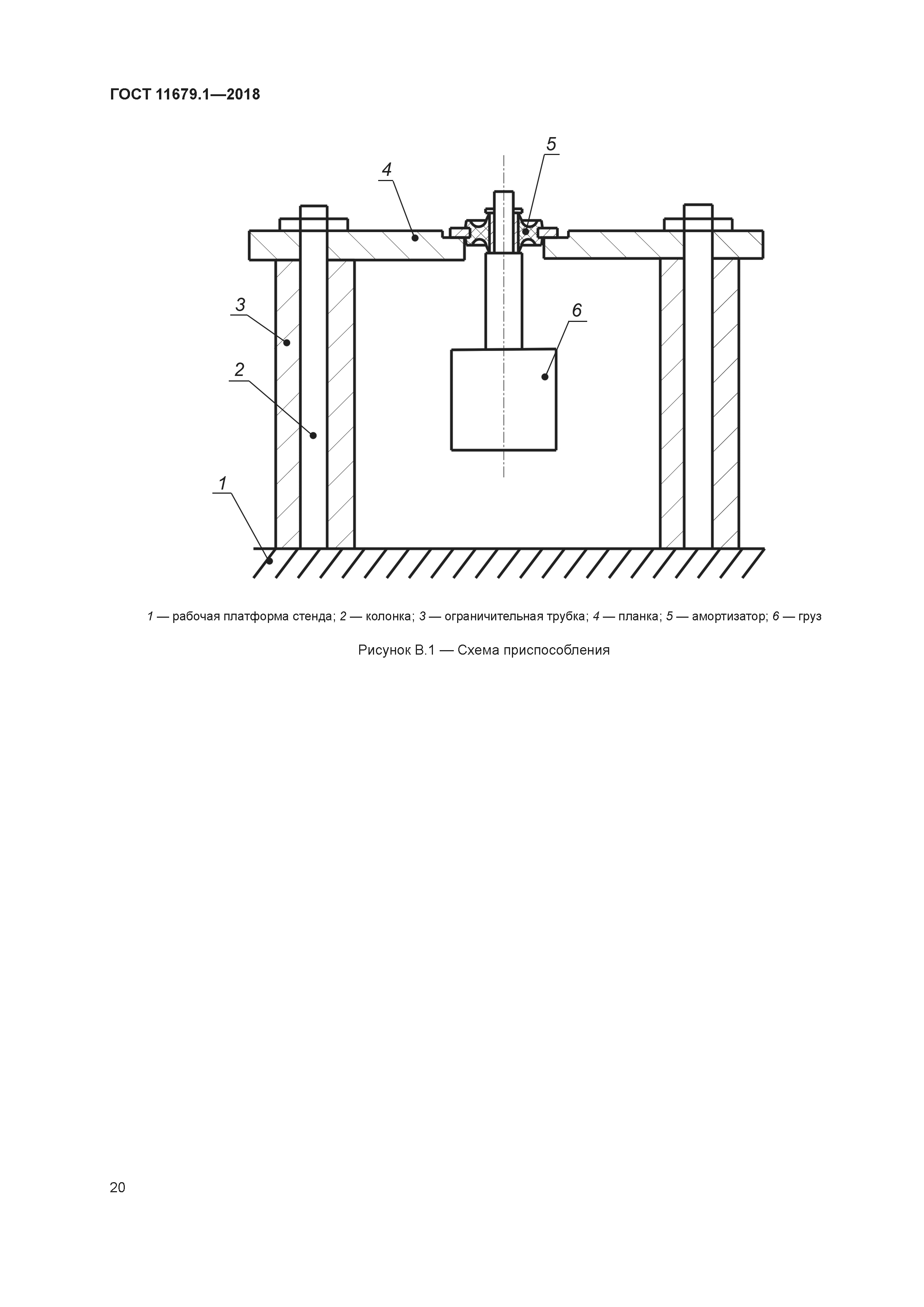
ГОСТ 11679.1-2018

Амортизаторы резинометаллические приборные. Технические условия

Обозначение: ГОСТ 11679.1-2018
Обозначение англ: GOST 11679.1-2018
Статус:взамен
Название рус.:Амортизаторы резинометаллические приборные. Технические условия
Название англ.:Rubber-metal instrument shock-absorbers. Specifications
Дата добавления в базу:01.01.2019
Дата актуализации:01.01.2021
Дата введения:01.07.2019
Область применения:Стандарт распространяется на резинометаллические приборные пластинчатые и чашечные амортизаторы, предназначенные для виброизоляции и защиты от ударных воздействий оборудования. Амортизаторы, изготовленные из резин на основе натурального каучука (НК), работоспособны при температуре окружающей среды от минус 45 °С до плюс 80 °С в различных климатических условиях. Амортизаторы, изготовленные из резин на основе синтетического каучука (СК), работоспособны при температуре окружающей среды от минус 55 °С до плюс 80 °С в различных климатических условиях. Амортизаторы работоспособны в условиях сухого и влажного тропического климата и соответствуют группе II по ГОСТ 15152.
Оглавление:1 Область применения
2 Нормативные ссылки
3 Классификация, основные параметры и размеры
4 Технические требования
5 Требования безопасности
6 Требования охраны окружающей среды
7 Правила приемки
8 Методы испытаний
9 Транспортирование и хранение
10 Указания по монтажу и эксплуатации
11 Гарантии изготовителя
Приложение А (рекомендуемое) Методика измерения контролируемых размеров амортизаторов с применением специального приспособления
Приложение Б (обязательное) Методика определения деформации амортизаторов вдоль оси Y при статическом сжатии под воздействием максимальной рабочей нагрузки
Приложение В (обязательное) Методика определения вибропрочности амортизаторов под воздействием максимальной рабочей нагрузки
Приложение Г (обязательное) Методика определения ударной прочности амортизаторов под воздействием максимальной рабочей нагрузки
Приложение Д (рекомендуемое) Рекомендации по применению амортизаторов, изготовленных из резин на основе НК и СК
Приложение Е (рекомендуемое) Физико-механические показатели резины, применяемой для изготовления прокладок ударного стенда
Разработан: ООО НИИЭМИ
МТК 542 Продукция нефтехимического комплекса
Утверждён:27.06.2018 Межгосударственный Совет по стандартизации, метрологии и сертификации (Inter-Governmental Council on Standardization, Metrology, and Certification 53)
09.10.2018 Федеральное агентство по техническому регулированию и метрологии (728-ст)
Издан: Стандартинформ (2018 г. )
Заменяет собой:
Нормативные ссылки:
ГОСТ 11679.1-2018ГОСТ 11679.1-2018ГОСТ 11679.1-2018ГОСТ 11679.1-2018ГОСТ 11679.1-2018ГОСТ 11679.1-2018ГОСТ 11679.1-2018ГОСТ 11679.1-2018ГОСТ 11679.1-2018ГОСТ 11679.1-2018ГОСТ 11679.1-2018ГОСТ 11679.1-2018ГОСТ 11679.1-2018ГОСТ 11679.1-2018ГОСТ 11679.1-2018ГОСТ 11679.1-2018ГОСТ 11679.1-2018ГОСТ 11679.1-2018ГОСТ 11679.1-2018ГОСТ 11679.1-2018ГОСТ 11679.1-2018ГОСТ 11679.1-2018ГОСТ 11679.1-2018ГОСТ 11679.1-2018ГОСТ 11679.1-2018ГОСТ 11679.1-2018ГОСТ 11679.1-2018ГОСТ 11679.1-2018ГОСТ 11679.1-2018ГОСТ 11679.1-2018ГОСТ 11679.1-2018ГОСТ 11679.1-2018